Movatterモバイル変換


[0]ホーム

URL:


CN110716060A - Novel material element detection and analysis system - Google Patents

Novel material element detection and analysis system
Download PDF

Info

Publication number
CN110716060A
CN110716060ACN201810757155.8ACN201810757155ACN110716060ACN 110716060 ACN110716060 ACN 110716060ACN 201810757155 ACN201810757155 ACN 201810757155ACN 110716060 ACN110716060 ACN 110716060A
Authority
CN
China
Prior art keywords
sample
crucible
controller
dimensional code
sample test
Prior art date
Legal status (The legal status is an assumption and is not a legal conclusion. Google has not performed a legal analysis and makes no representation as to the accuracy of the status listed.)
Pending
Application number
CN201810757155.8A
Other languages
Chinese (zh)
Inventor
刘伟
周海膺
Current Assignee (The listed assignees may be inaccurate. Google has not performed a legal analysis and makes no representation or warranty as to the accuracy of the list.)
Sichuan Saiensi Instrument Co Ltd
Original Assignee
Sichuan Saiensi Instrument Co Ltd
Priority date (The priority date is an assumption and is not a legal conclusion. Google has not performed a legal analysis and makes no representation as to the accuracy of the date listed.)
Filing date
Publication date
Application filed by Sichuan Saiensi Instrument Co LtdfiledCriticalSichuan Saiensi Instrument Co Ltd
Priority to CN201810757155.8ApriorityCriticalpatent/CN110716060A/en
Publication of CN110716060ApublicationCriticalpatent/CN110716060A/en
Pendinglegal-statusCriticalCurrent

Links

Images

Classifications

Landscapes

Abstract

The invention discloses a novel material element detection and analysis system, which comprises a carbon and sulfur analyzer, a sampling device, a sample test board and a computer, wherein the carbon and sulfur analyzer comprises a combustion furnace and an analysis host, the analysis host is connected with the computer, a crucible support is arranged below the combustion furnace, the sample test board is used for placing a crucible containing a sample to be detected, and the sampling device is arranged between the crucible support and the sample test board and is used for conveying the crucible on the sample test board to the crucible support; the analysis host is provided with a first two-dimensional code scanner, and the first two-dimensional code scanner is connected with the computer. The two-dimensional code scanner is arranged on the analysis host, the two-dimensional code label on the detection sample is read through the two-dimensional code scanner during detection, the information of the detection sample is obtained, the information is automatically stored in the computer, and the problem caused by manual entry in the detection process is reduced.

Description

Novel material element detection and analysis system
Technical Field
The invention relates to the technical field of material detection equipment, in particular to a detection and analysis system for detecting the content of material elements.
Background
With the continuous development and progress of science and technology, various advanced technical means are widely applied to various fields. The processing quality of the product is the development foundation of enterprises, and the quality traceability system is more important in the production and operation of the enterprises. In the product processing process, the whole-flow information acquisition and monitoring are realized from each link of raw material purchasing, processing, inspection and packaging. In the purchasing process, the raw materials are often required to be detected to be qualified and then can be stored in a warehouse, and in order to effectively monitor the purchasing quality of the raw materials, raw material purchasing personnel can input relevant purchasing information and raw material information into a material database.
In the existing detection process of raw materials, a paper submission form is often adopted to send a detection sample and a submission form to a detection department for detection, so that the content of the submission form is often required to be repeatedly input into a computer in the detection of the detection department, each project is required to be repeatedly input, and the operation efficiency is low; the detected data needs to be manually input into a corresponding database, so that the detection workload is greatly increased; meanwhile, the problem of mixing of detection samples caused by manual operation errors is easy to occur, and effective tracing of detection quality is difficult to form.
Disclosure of Invention
The invention aims to solve the technical problems in the existing material detection process, and provides a novel material element detection analysis system which can realize automatic reading of detection sample information, enables the sample information and detection result data to correspond one to one, and avoids quality hidden troubles caused by manual operation.
In order to solve the technical problems, the technical scheme adopted by the invention is as follows:
a novel material element detection and analysis system comprises a carbon and sulfur analyzer, a sampling device, a sample test board and a computer, wherein the carbon and sulfur analyzer comprises a combustion furnace and an analysis host, the analysis host is connected with the computer, a crucible support is arranged below the combustion furnace, the sample test board is used for placing a crucible containing a sample to be detected, and the sampling device is arranged between the crucible support and the sample test board and is used for conveying the crucible on the sample test board to the crucible support; the analysis host is provided with a first two-dimensional code scanner which is connected with a computer; be provided with sample platform, drying cabinet and automatic pushing mechanism on the sample test platform, automatic pushing mechanism and sample platform set up respectively in the drying cabinet both sides, automatic pushing mechanism includes second two-dimensional code scanner, first controller and electric putter, electric putter drives through step motor, first controller is connected respectively to second two-dimensional code scanner and step motor, electric putter one end is stretched into in the drying cabinet, lies in sample platform one side on the drying cabinet and is provided with the automatically-controlled door, and the automatically-controlled door is connected to the automatically-controlled door, opening and closing of first controller control automatically-controlled door.
In the above technical solution, further, the sampling device includes a second controller, a rotating motor, a rotating seat disposed on a rotating shaft of the rotating motor, and a sampling mechanism disposed on the rotating seat; the sampling mechanism comprises a main arm, two support arms symmetrically arranged on the main arm and clamping jaws respectively arranged on the two support arms, wherein a driving cylinder is arranged on the main arm, one ends of the two support arms are respectively hinged with the main arm, the middle parts of the support arms are respectively hinged with a push rod, the other end of the push rod is provided with a pin shaft, two parallel sliding grooves are arranged on the main arm along the axis direction of the main arm, one end of the pin shaft extends into the sliding grooves, the other end of the pin shaft is connected with a push plate, and the push plate is connected with a piston rod of the driving cylinder; the second controller is respectively connected with the rotating motor and the driving cylinder.
In the above technical scheme, a flux adding device is further arranged above the sample test platform and used for adding flux into the crucible, the flux adding device comprises a transmission belt arranged above the sample test platform and a storage pipe arranged on the transmission belt, a feeding pipe with a downward opening is arranged on the storage pipe, and a switch control valve is arranged on the feeding pipe.
Among the above-mentioned technical scheme, furtherly, driving motor is connected to the drive belt, and driving motor drive belt motion, be provided with the fixed bolster on the drive belt, the storage pipe is fixed to be set up on the fixed bolster, is provided with weighing transducer between storage pipe and the fixed bolster, the fluxing agent adds the device and still includes the third controller, weighing transducer, on-off control valve and driving motor are connected to the third controller respectively.
The invention has the following beneficial effects:
1) the two-dimensional code scanner is arranged on the analysis host, the two-dimensional code label on the detection sample is read by the two-dimensional code scanner during detection, the information of the detection sample is obtained, and the information is automatically stored in the computer, so that the problem caused by manual entry in the detection process is reduced;
2) a two-dimensional code scanner is arranged on the sample detection table, and when the two-dimensional code scanner reads two-dimensional code label information on a detected sample, the first controller starts the stepping motor to push the crucible in the drying box out of the sample table on the sample detection table; after the sample to be detected and the fluxing agent are respectively added into the crucible, the sample to be detected and the fluxing agent are sent into a carbon-sulfur analyzer through a sampling device for detection, the continuity of the whole process is guaranteed, and the problem that the detected sample is mixed due to human errors in the detection process is solved.
Drawings
FIG. 1 is a schematic view of the structure of the present invention.
FIG. 2 is a block diagram of a system control architecture according to the present invention.
FIG. 3 is a schematic diagram of a sample testing table according to the present invention.
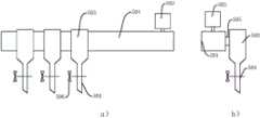
FIG. 4 is a schematic view of a sampling device according to the present invention; wherein a) is a front view of the sampling device and b) is a top view of the sampling device.
FIG. 5 is a schematic view of a flux adding apparatus according to the present invention; wherein a) is a front view of the flux adding apparatus, and b) is a left view of the flux adding apparatus.
In the figure: 1. a carbon-sulfur analyzer 2, a computer 3, a sampling device 4, a sample test board 5 and a fluxing agent adding device;
101. a combustion furnace 102, an analysis host machine 103, a crucible support 104, a first two-dimensional code scanner 105 and a crucible;
301. the device comprises a rotatingmotor 302, a rotatingbase 303, amain arm 304, asupport arm 305, aclaw 306, a drivingcylinder 307, a drivingcylinder piston rod 308, apush rod 309, apin shaft 310, asliding groove 311 and a push plate;
401. the device comprises a sample table 402, adrying box 403, anelectric push rod 404, a second two-dimensional code scanner 405 and an automatic door;
501. the device comprises atransmission belt 502, atransmission motor 503, astorage pipe 504, afeeding pipe 505, abracket 506 and an on-off control valve.
Detailed Description
The invention is further described with reference to the following figures and specific embodiments.
As shown in fig. 1 and 3, the material element detecting and analyzing system in the present embodiment includes a carbon sulfur analyzer 1, a sampling device 3, a sample testing station 4, a flux adding device 5, and a computer 2.
The carbon-sulfur analyzer 1 comprises a combustion furnace 101 and an analysis host 102, wherein the analysis host 102 is connected with a computer 2, and a crucible support 103 is arranged below the combustion furnace 101. The sample test bench 4 is used for placing acrucible 105 filled with a sample to be detected, and the sampling device 3 is arranged between the crucible support 103 and the sample test bench 4 and is used for conveying the crucible on the sample test bench to the crucible support. In this embodiment, the analysis host is provided with a first two-dimensional code scanner 104, and the first two-dimensional code scanner 104 is connected to the computer 2, and is configured to read two-dimensional code information of the detection sample and transmit the two-dimensional code information to the computer.
As shown in fig. 3, in the present embodiment, the sample testing platform 4 is provided with asample platform 401, adrying oven 402 and an automatic pushing mechanism, and the automatic pushing mechanism and thesample platform 401 are respectively disposed on two sides of thedrying oven 402. The automatic pushing mechanism comprises a second two-dimensional code scanner 404, a first controller and anelectric push rod 403, theelectric push rod 403 is driven by a stepping motor, and the displacement of the electric push rod is controlled by the stepping motor; the second two-dimensional code scanner 404 and the stepping motor are respectively connected with a first controller; one end of theelectric push rod 403 extends into thedrying oven 402, anautomatic door 405 is arranged on one side, located on the sample table 401, of thedrying oven 402, theautomatic door 405 is connected with a first controller, and the first controller controls the automatic door to be opened and closed. A second two-dimensional code scanner is arranged on the sample detection table, when the second two-dimensional code scanner reads two-dimensional code label information on a detected sample, the first controller starts the stepping motor and the automatic door, the automatic door is opened at the moment, and the electric push rod pushes the crucible in the drying oven out to the sample table on the sample detection table; respectively adding a sample to be detected and a fluxing agent into the crucible, and then sending the sample and the fluxing agent into a carbon-sulfur analyzer through a sampling device for detection; by adopting the control mode, the continuity of the whole process is ensured, and the problem that the detection sample is mixed due to human errors in the detection process is prevented. The control of the opening and closing of the automatic door by the controller is prior art and the specific structure and implementation thereof will not be described here.
As shown in fig. 4, the sampling device of the present invention includes a second controller, a rotating motor 301, a rotatingbase 302 disposed on a rotating shaft of the rotating motor, and a sampling mechanism disposed on the rotating base; the sampling mechanism comprises amain arm 303, twosupport arms 304 symmetrically arranged on the main arm and clampingjaws 305 respectively arranged on the two support arms, adriving cylinder 306 is arranged on themain arm 303, one ends of the twosupport arms 304 are respectively hinged with themain arm 303, the middle parts of thesupport arms 304 are respectively hinged with apush rod 308, apin shaft 309 is arranged at the other end of thepush rod 308, two parallel slidinggrooves 310 are arranged on themain arm 303 along the axis direction of the main arm, one end of thepin shaft 309 extends into thesliding groove 310, the other end of the pin shaft is connected with apush plate 311, and thepush plate 311 is connected with apiston rod 307 of the driving cylinder. The second controller is respectively connected with the rotating motor and the driving cylinder. The second controller control drives actuating cylinder action, when driving actuating cylinder piston rod and stretching out right, it promotes the push pedal to move right to drive actuating cylinder piston rod, the push pedal drives two round pin axles and moves right along the spout, the push rod opens and makes two support arms open this moment, the crucible that will wait to detect on the crucible sample presentation platform pushes away to the assigned position, it moves left to drive actuating cylinder piston rod, two round pin axles of push pedal drive move left along the spout, the push rod inwards draws in this moment, two support arms draw in under the effect of push rod and press from both sides the crucible on the crucible sample presentation platform through the jack catch and press from both sides tightly. The second controller starts the rotating motor, the rotating motor controls the rotating seat to rotate 180 degrees leftwards, the crucible is conveyed to the position of the crucible support, the starting cylinder repeats the operation, and the crucible can be placed on the crucible support, so that automatic sampling operation is realized.
As shown in fig. 5, a flux adding device 5 is disposed above the sample test platform, and the flux adding device is used for adding flux into the crucible, and in the embodiment, specifically, the flux adding device includes aconveyor belt 501 disposed above the sample test platform and astorage tube 503 disposed on theconveyor belt 501, afeeding tube 504 with a downward opening is disposed on thestorage tube 503, and an on-off control valve 506 is disposed on thefeeding tube 504. Preferably, thetransmission belt 501 is connected with atransmission motor 502, thetransmission motor 502 drives thetransmission belt 501 to move, thetransmission belt 501 is provided with afixed bracket 505, thestorage pipe 503 is fixedly arranged on thefixed bracket 505, a weight sensor is arranged between thestorage pipe 503 and thefixed bracket 505, the fluxing agent adding device 5 further comprises a third controller, and the weight sensor, the on-off control valve and the transmission motor are respectively connected to the third controller. When the fluxing agent is added into the crucible, the third controller controls the movement of the transmission belt according to the type of the added fluxing agent so that the storage pipe filled with the corresponding fluxing agent moves to the upper part of the crucible, meanwhile, the opening and closing of the switch control valve are controlled according to the fluxing agent adding amount set in the third controller, the weight of the storage pipe is detected through the weight sensor, and the adding amount of the fluxing agent is controlled.
Fig. 2 is a block diagram of a system control structure of the present invention, in which a first controller, a second controller and a third controller are respectively connected to a computer, and program control of the first controller, the second controller and the third controller is realized through a control program of the computer, so as to sequentially realize an automatic control process of pushing, loading a sample and a fluxing agent, sampling and detecting a crucible, the process can be set and controlled through test software of the computer, and the process can be realized under the control of the test software, the present invention does not relate to the content of the test software, and even if the test software is not adopted, the detection process of the present invention can be realized by separately controlling the first controller, the second controller and the third controller; the block diagram of the system control architecture shown in fig. 2 is only one preferred way for the system to implement the detection analysis control.
The present specification and figures are to be regarded as illustrative rather than restrictive, and it is intended that all such alterations and modifications that fall within the true spirit and scope of the invention, and that all such modifications and variations are included within the scope of the invention as determined by the appended claims without the use of inventive faculty.

Claims (4)

1. A novel material element detection and analysis system is characterized in that: the carbon and sulfur analysis device comprises a carbon and sulfur analyzer, a sampling device, a sample test board and a computer, wherein the carbon and sulfur analyzer comprises a combustion furnace and an analysis host, the analysis host is connected with the computer, a crucible support is arranged below the combustion furnace, the sample test board is used for placing a crucible containing a sample to be detected, and the sampling device is arranged between the crucible support and the sample test board and is used for conveying the crucible on the sample test board to the crucible support; the analysis host is provided with a first two-dimensional code scanner which is connected with a computer; be provided with sample platform, drying cabinet and automatic pushing mechanism on the sample test platform, automatic pushing mechanism and sample platform set up respectively in the drying cabinet both sides, automatic pushing mechanism includes second two-dimensional code scanner, first controller and electric putter, electric putter drives through step motor, first controller is connected respectively to second two-dimensional code scanner and step motor, electric putter one end is stretched into in the drying cabinet, lies in sample platform one side on the drying cabinet and is provided with the automatically-controlled door, and the automatically-controlled door is connected to the automatically-controlled door, opening and closing of first controller control automatically-controlled door.
2. The novel material element detection and analysis system according to claim 1, wherein: the sampling device comprises a second controller, a rotating motor, a rotating seat arranged on a rotating shaft of the rotating motor and a sampling mechanism arranged on the rotating seat; the sampling mechanism comprises a main arm, two support arms symmetrically arranged on the main arm and clamping jaws respectively arranged on the two support arms, wherein a driving cylinder is arranged on the main arm, one ends of the two support arms are respectively hinged with the main arm, the middle parts of the support arms are respectively hinged with a push rod, the other end of the push rod is provided with a pin shaft, two parallel sliding grooves are arranged on the main arm along the axis direction of the main arm, one end of the pin shaft extends into the sliding grooves, the other end of the pin shaft is connected with a push plate, and the push plate is connected with a piston rod of the driving cylinder; the second controller is respectively connected with the rotating motor and the driving cylinder.
CN201810757155.8A2018-07-112018-07-11Novel material element detection and analysis systemPendingCN110716060A (en)

Priority Applications (1)

Application NumberPriority DateFiling DateTitle
CN201810757155.8ACN110716060A (en)2018-07-112018-07-11Novel material element detection and analysis system

Applications Claiming Priority (1)

Application NumberPriority DateFiling DateTitle
CN201810757155.8ACN110716060A (en)2018-07-112018-07-11Novel material element detection and analysis system

Publications (1)

Publication NumberPublication Date
CN110716060Atrue CN110716060A (en)2020-01-21

Family

ID=69208917

Family Applications (1)

Application NumberTitlePriority DateFiling Date
CN201810757155.8APendingCN110716060A (en)2018-07-112018-07-11Novel material element detection and analysis system

Country Status (1)

CountryLink
CN (1)CN110716060A (en)

Cited By (2)

* Cited by examiner, † Cited by third party
Publication numberPriority datePublication dateAssigneeTitle
CN110716062A (en)*2018-07-112020-01-21四川赛恩思仪器有限公司Automatic sampling device for metal material detection
CN112611879A (en)*2020-11-202021-04-06广西玉柴机器股份有限公司Analysis method of control system applied to material element analysis of internal combustion engine parts

Citations (8)

* Cited by examiner, † Cited by third party
Publication numberPriority datePublication dateAssigneeTitle
CN101960312A (en)*2008-03-072011-01-26希森美康株式会社Analysis apparatus and measurement unit
CN104493832A (en)*2014-12-122015-04-08重庆强达力科技发展有限公司Workpiece grabbing mechanism provided with elastic body
CN105486879A (en)*2015-11-302016-04-13钢研纳克检测技术有限公司Vertical-type tubular furnace infrared carbon sulfur analyzer
CN106643164A (en)*2016-12-142017-05-10南京麒麟科学仪器集团有限公司Novel electric-arc furnace and infrared carbon sulfur analysis meter
CN106766913A (en)*2016-12-302017-05-31南京麒麟科学仪器集团有限公司Novel high-frequency stove and infrared carbon sulfur analyzer
CN206248676U (en)*2016-12-162017-06-13宁波美康盛德生物科技有限公司Multiple sample introduction propulsive mechanism
CN206399824U (en)*2016-12-302017-08-11南京麒麟科学仪器集团有限公司Coreless induction furnace and infrared carbon sulfur analyzer
CN207066983U (en)*2017-08-142018-03-02四川赛恩思仪器有限公司A kind of combustion furnace of fast assembling-disassembling burner

Patent Citations (8)

* Cited by examiner, † Cited by third party
Publication numberPriority datePublication dateAssigneeTitle
CN101960312A (en)*2008-03-072011-01-26希森美康株式会社Analysis apparatus and measurement unit
CN104493832A (en)*2014-12-122015-04-08重庆强达力科技发展有限公司Workpiece grabbing mechanism provided with elastic body
CN105486879A (en)*2015-11-302016-04-13钢研纳克检测技术有限公司Vertical-type tubular furnace infrared carbon sulfur analyzer
CN106643164A (en)*2016-12-142017-05-10南京麒麟科学仪器集团有限公司Novel electric-arc furnace and infrared carbon sulfur analysis meter
CN206248676U (en)*2016-12-162017-06-13宁波美康盛德生物科技有限公司Multiple sample introduction propulsive mechanism
CN106766913A (en)*2016-12-302017-05-31南京麒麟科学仪器集团有限公司Novel high-frequency stove and infrared carbon sulfur analyzer
CN206399824U (en)*2016-12-302017-08-11南京麒麟科学仪器集团有限公司Coreless induction furnace and infrared carbon sulfur analyzer
CN207066983U (en)*2017-08-142018-03-02四川赛恩思仪器有限公司A kind of combustion furnace of fast assembling-disassembling burner

Cited By (2)

* Cited by examiner, † Cited by third party
Publication numberPriority datePublication dateAssigneeTitle
CN110716062A (en)*2018-07-112020-01-21四川赛恩思仪器有限公司Automatic sampling device for metal material detection
CN112611879A (en)*2020-11-202021-04-06广西玉柴机器股份有限公司Analysis method of control system applied to material element analysis of internal combustion engine parts

Similar Documents

PublicationPublication DateTitle
CN106955847B (en)Test tube classification collecting equipment
CN110095621B (en)Full-automatic fluorescence immunoassay appearance
CN109633186A (en)Full-automatic fluorescence immunity analyzer
CN208621629U (en)A kind of blood cell sample analysis system
WO2016107495A1 (en)Fully automatic fecal occult blood detection and analysis device
CN110716060A (en)Novel material element detection and analysis system
JP3704570B2 (en) Chucking device and sample inspection device provided with the same
CN114689464B (en)Cement paste fluidity automatic test detection device
CN211785568U (en)Colloidal gold test paper strip detection analyzer
CN209388323U (en) An automatic scanning device for reagent production
CN209542532U (en)A kind of chromatograph of automatic sample
CN110716063A (en)Material detection integrated equipment
CN110459086A (en) A simulated automobile assembly line
CN219870335U (en)Sampling detection equipment is used in fertilizer production
CN109406653B (en)Chromatograph with automatic sample adding function
CN216847155U (en)Full-automatic test tube mixing mechanism
CN114235569B (en)Automatic breaking force testing system for medicine glass ampoule
CN108627663A (en)A kind of sampling apparatus of Urine Analyzer
CN210953056U (en)Automatic weighing system for solid particle or powder materials
CN208350818U (en)A kind of sampling apparatus of Urine Analyzer
JP2593684Y2 (en) Test piece transport device
CN218567245U (en)Fluorescent X-ray analysis device for household appliances
CN219602252U (en) Storage tube transmission mechanism, analyte loading device and nucleic acid detection all-in-one machine
CN219224710U (en) A sulfur measuring instrument with an automatic weighing mechanism
CN216050649U (en)Plastic garbage bin gyro wheel fatigue test device

Legal Events

DateCodeTitleDescription
PB01Publication
PB01Publication
SE01Entry into force of request for substantive examination
SE01Entry into force of request for substantive examination
WD01Invention patent application deemed withdrawn after publication

Application publication date:20200121

WD01Invention patent application deemed withdrawn after publication

[8]ページ先頭

©2009-2025 Movatter.jp