Movatterモバイル変換


[0]ホーム

URL:


CN110711014B - An incision edge skin excisor - Google Patents

An incision edge skin excisor
Download PDF

Info

Publication number
CN110711014B
CN110711014BCN201910998190.3ACN201910998190ACN110711014BCN 110711014 BCN110711014 BCN 110711014BCN 201910998190 ACN201910998190 ACN 201910998190ACN 110711014 BCN110711014 BCN 110711014B
Authority
CN
China
Prior art keywords
fixing
plate
fixing plate
needle
parts
Prior art date
Legal status (The legal status is an assumption and is not a legal conclusion. Google has not performed a legal analysis and makes no representation as to the accuracy of the status listed.)
Active
Application number
CN201910998190.3A
Other languages
Chinese (zh)
Other versions
CN110711014A (en
Inventor
张凤
陈静
吴璠
柏婷
王苏容
成静
Current Assignee (The listed assignees may be inaccurate. Google has not performed a legal analysis and makes no representation or warranty as to the accuracy of the list.)
Nantong University
Original Assignee
Nantong University
Priority date (The priority date is an assumption and is not a legal conclusion. Google has not performed a legal analysis and makes no representation as to the accuracy of the date listed.)
Filing date
Publication date
Application filed by Nantong UniversityfiledCriticalNantong University
Priority to CN201910998190.3ApriorityCriticalpatent/CN110711014B/en
Publication of CN110711014ApublicationCriticalpatent/CN110711014A/en
Application grantedgrantedCritical
Publication of CN110711014BpublicationCriticalpatent/CN110711014B/en
Activelegal-statusCriticalCurrent
Anticipated expirationlegal-statusCritical

Links

Images

Classifications

Landscapes

Abstract

Translated fromChinese

本发明公开了一种切口边缘皮肤切除器,包括第一固定部、与第一固定部滑移连接的第二固定部、第一固定针、第二固定针、辅助组件,第一固定针及第二固定针用于插入患者皮肤内进行固定,第一固定针与第一固定板底部垂直连接,第二固定针与第二固定板垂直连接,且第一固定针及第二固定针分别位于第一固定板及第二固定板相互远离一端;辅助组件包括多组能够与第一固定板上表面卡接的限位板,每组限位板为两个,用于过渡第一定位板与第二定位板之间间隙,且每组两个限位板相邻一侧分别与第一导向槽两侧齐平,且均沿第一固定板长度方向设置,每个限位板厚度与第一定位板厚度相同,实现对患者切口边缘皮肤进行美观整齐切除的效果。

Figure 201910998190

The invention discloses an incision edge skin excisor, comprising a first fixing part, a second fixing part slidingly connected with the first fixing part, a first fixing needle, a second fixing needle, an auxiliary component, the first fixing needle and the The second fixation needle is used for inserting into the skin of the patient for fixation, the first fixation needle is vertically connected to the bottom of the first fixation plate, the second fixation needle is vertically connected to the second fixation plate, and the first fixation needle and the second fixation needle are respectively located at The first fixing plate and the second fixing plate are at one end away from each other; the auxiliary component includes a plurality of sets of limit plates that can be clamped with the upper surface of the first fixing plate, and each set of limit plates is two for the transition between the first positioning plate and the upper surface of the first fixing plate. There is a gap between the second positioning plates, and the adjacent sides of each set of two limit plates are flush with both sides of the first guide groove, and are arranged along the length of the first fixed plate. The thickness of each limit plate is the same as that of the first fixed plate The thickness of a positioning plate is the same, which can achieve the effect of beautiful and neat excision of the skin at the edge of the incision of the patient.

Figure 201910998190

Description

Skin cutter at cut edge
Technical Field
The invention relates to the technical field of medical instruments, in particular to a skin cutter for an incision edge.
Background
In the operation of an orthopedic lumbar patient, when skin is incised by using an electric knife, an incision with the length of 10-15cm is formed, meanwhile, the situations of insufficient blood supply, skin tissue necrosis and the like occur at the edge of the incision, medical workers need to debride before the incision is sewn, and skin tissue with the edge of the incision being 3-5mm is excised.
At present, the conventional solution in clinic is that medical care personnel use a common scalpel to perform excision, and the defects of unattractive incision, irregular incision, jagged incision and the like exist.
Disclosure of Invention
Aiming at the defects in the prior art, the invention aims to provide a skin exciser with an incision edge, which has the characteristic of attractive and tidy incision.
In order to achieve the purpose, the invention provides the following technical scheme:
an incision edge skin excider, includes first fixed part, with second fixed part, first fixed needle, second fixed needle, auxiliary assembly that first fixed part slided and is connected, first fixed needle and the fixed needle of second are used for inserting patient's skin and fix, wherein:
the first fixing part comprises a rectangular first fixing plate and a first positioning plate fixedly connected with the first fixing plate, the upper surface of the first fixing plate is attached to the lower surface of the first positioning plate, a rectangular strip-shaped first guide groove is formed in the first fixing plate along the length direction of the first fixing plate, the first guide groove penetrates through one end of the first fixing plate, the end part of the other end of the first fixing plate is in a pointed angle shape, and the first guide groove extends upwards to penetrate through the first positioning plate;
the second fixing part comprises a rectangular second fixing plate and a second positioning plate fixedly connected with the second fixing plate, the lower surface of the second positioning plate is flush with the upper surfaces of the first fixing plate and the second fixing plate respectively, the second positioning plate is connected to the first fixing plate in a sliding mode and slides along the length direction of the second positioning plate, a rectangular strip-shaped second guide groove is formed in the length direction of the second positioning plate, the second guide groove penetrates through one end, close to the first positioning plate, of the second positioning plate, the second guide groove is as wide as the first guide groove, two sides of the second guide groove are flush, the second guide groove extends downwards to penetrate through the second fixing plate, and a locking part used for enabling the second positioning plate to be in a position opposite to the first fixing plate is arranged on the second positioning plate;
the first fixing pin is vertically connected with the bottom of the first fixing plate, the second fixing pin is vertically connected with the second fixing plate, and the first fixing pin and the second fixing pin are respectively positioned at one ends, far away from each other, of the first fixing plate and the second fixing plate;
the auxiliary assembly comprises a plurality of groups of limiting plates which can be clamped with the upper surface of the first fixing plate, each group of limiting plates is two and used for transition between the first locating plate and the second locating plate, each group of limiting plates is two, one side, adjacent to each limiting plate, of each limiting plate is flushed with the two sides of the first guide groove respectively and is arranged along the length direction of the first fixing plate, and each limiting plate is as thick as the first locating plate.
By adopting the technical scheme, after a medical worker performs orthopedic lumbar vertebra patient operation on a patient, the relative position between the first fixing plate and the second positioning plate is adjusted according to the incision length actually generated by the skin incision of the electrotome, so that the distance between the far end of the first guide groove and the far end of the second guide groove is the same as the incision length, the relative position between the first fixing plate and the second positioning plate is fixed by using the locking part, a group of limiting plates with corresponding lengths are selected to be clamped on the first fixing plate according to the gap between the adjacent ends of the first positioning plate and the second positioning plate, so as to play a role in transiting the gap between the first positioning plate and the second positioning plate, the first fixing needle and the second fixing needle are inserted into the skin of the patient and are positioned at the front end and the rear end of the incision, the medical worker extends the scalpel into the first guide groove and the second guide groove, the scalpel completes circle cutting along the first guide groove and the second guide groove, thereby realizing the excision of the skin at the edge of the incision.
Further, still including the cutter portion that is used for excision patient's incision edge skin, cutter portion is two, is located respectively first guide way both sides, every group cutter portion include with first guide way reaches the sliding block that the second guide way slided and is connected to and vertical setting and with the blade that the sliding block is connected, the blade lower extreme with first fixed needle bottom direction of height distance difference is 2mm, just first fixed needle bottom is lower.
Through adopting above-mentioned technical scheme, realize the blade through the sliding block and remove along first guide way and second guide way border, and because the blade is vertical to be set up, the blade is at the removal in-process, can be with the skin at patient's incision edge along the set direction excision, and because two tip of first guide way and second guide way are the chamfer, consequently set up two sliding blocks, realize all can carrying out the effect of excision in first guide way and second guide way both sides.
Furthermore, the second fixing pin is connected with the second fixing plate in a sliding mode, and the sliding direction is arranged along the length direction of the second fixing plate.
Through adopting above-mentioned technical scheme, after first fixed needle and the fixed needle of second inserted patient's skin, because the fixed needle of second slides with the second fixed plate and is connected to can adjust the distance between first fixed needle and the fixed needle of second, reach the effect of taut patient incision skin, more be favorable to medical personnel's excision to incision marginal skin.
Furthermore, a moving groove is formed in the lower surface of the second fixing plate along the length direction of the second fixing plate, a moving block is connected to the moving groove in a sliding mode, the second fixing pin is connected with the moving block, a second screw rod arranged along the length of the first fixing plate is connected to one end face, far away from the first fixing plate, of the second fixing plate in a threaded mode, and the second screw rod extends into one end of the moving groove and is connected with the moving block in a rotating mode.
By adopting the technical scheme, the moving block moves towards the direction away from the first fixing needle by rotating the second screw, the distance between the first fixing needle and the second fixing needle is increased, and the position of the moving block is changed by the threaded connection between the second screw and the second fixing plate, so that the moving block has a self-locking function, and after the medical staff stops rotating the second screw, the relative position between the second fixing plates can be kept by the moving block.
Furthermore, the locking portion comprises a first screw, a first threaded hole in threaded connection with the first screw is formed in the second positioning plate, and the bottom of the first screw can abut against the upper surface of the first fixing plate.
Through adopting above-mentioned technical scheme, when removing second locating plate and first fixed plate relative position to needs position, make first screw rod bottom can support tightly on first fixed plate through rotating first screw rod, realize the relatively fixed of first fixed plate and second locating plate.
Further, two first chutes arranged along the length direction of the first fixing plate are formed in the upper surface of the first fixing plate, the two first chutes are located on two sides of the first guide groove respectively, two first sliding blocks matched with the first chutes are arranged on the lower surface of the second positioning plate, and a plurality of second sliding blocks matched with the first chutes are arranged on the lower surface of the limiting plate.
Through adopting above-mentioned technical scheme, through the cooperation setting of first spout and first slider, realize sliding between first fixed plate and the second locating plate and be connected, through with first spout complex second fixture block, realized the joint between limiting plate and the first fixed plate, limiting plate and the first spout of second locating plate sharing play the effect with simple structure.
Furthermore, the outer walls of the first fixing needle and the second fixing needle are fixedly sleeved with limiting circular plates, and the lower surfaces of the limiting circular plates are 3mm away from the bottoms of the first fixing needle and the second fixing needle.
Through adopting above-mentioned technical scheme, set up spacing plectane at first fixed needle and the fixed needle outer wall of second for use first fixed needle and the fixed needle in-process of inserting patient's skin of second, can guarantee that the degree of depth of inserting at every turn is 3mm, when control the depth of insertion, 3 mm's degree of depth can play fixed effect, can reduce the injury to the patient again.
Furthermore, the upper surface of the first fixing plate is provided with scales along the length direction.
Through adopting above-mentioned technical scheme, set up the scale on first fixed plate upper surface for can be accurate or the concrete distance that the second locating plate slided, thereby can accurately learn the overall length of first guide way and second guide way, be favorable to excision work.
Further, antibacterial coatings are coated on the outer surface of the first fixing needle, the outer surface of the second fixing needle and the lower surface of the limiting circular plate, and the antibacterial coatings are composed of 12-15 parts by weight of nano silver, 2-3 parts by weight of nano titanium dioxide, 5-6 parts by weight of nano iridium, 25-30 parts by weight of tannin, 2-5 parts by weight of bamboo vinegar, 120 parts by weight of silicone-acrylic emulsion, 10-15 parts by weight of ethanol, 5-10 parts by weight of propylene glycol alginate, 5-6 parts by weight of ethylene glycol monomethyl ether, 5-6 parts by weight of sodium polyacrylate, 2-4 parts by weight of sodium formate, 3-5 parts by weight of sodium carboxymethylcellulose, 8-10 parts by weight of rosin and 10-12 parts by weight of shellac.
In conclusion, the invention has the following beneficial effects:
1. the first fixing plate, the second fixing plate, the first positioning plate, the second positioning plate, the first fixing needle and the second fixing needle are used for fixing the incision skin edge of the patient and cutting off the incision skin edge of the patient along the first guide groove and the second guide groove;
2. the effect of adjusting the relative distance between the first fixing needle and the second fixing needle to tighten the skin of the incision of the patient is achieved by arranging the moving block and the second screw rod;
3. through the limiting plate that sets up and first fixed plate joint, the realization communicates first guide way and second guide way and is convenient for the sliding block to carry out the effect that slides.
Drawings
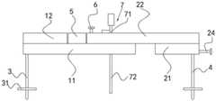
FIG. 1 is a schematic view of the overall construction of an incision edge skin exciser in accordance with one embodiment of the present invention;
FIG. 2 is a schematic top view of the construction of an incision edge dermectomy device in accordance with one embodiment of the present invention;
FIG. 3 is a schematic cross-sectional view of an exploded structure of an incision edge skin exciser in accordance with one embodiment of the present invention.
In the figure: 1. a first fixed part; 11. a first fixing plate; 111. a first guide groove; 112. a first chute; 12. a first positioning plate; 2. a second fixed part; 21. a second fixing plate; 211. a moving groove; 22. a second positioning plate; 221. a second guide groove; 222. a first slider; 23. a moving block; 24. a second screw; 3. a first fixing pin; 31. a limiting circular plate; 4. a second fixing pin; 5. a limiting plate; 51. a second fixture block; 6. a first screw; 7. a cutter part; 71. a sliding block; 72. a blade.
Detailed Description
Example (b):
the present invention is described in further detail below with reference to figures 1-3.
An incision edge skin excider, as shown in fig. 1-3, comprises afirst fixing part 1, asecond fixing part 2 connected with the first fixingpart 1 in a sliding manner, a first fixing needle 3, a second fixing needle 4 and an auxiliary component, wherein the first fixing needle 3 and the second fixing needle 4 are used for being inserted into the skin of a patient for fixing, and wherein:
thefirst fixing portion 1 includes a rectangular first fixingplate 11 and afirst positioning plate 12 fixedly connected to thefirst fixing plate 11, the upper surface of thefirst fixing plate 11 is attached to the lower surface of thefirst positioning plate 12, thefirst fixing plate 11 is as wide as thefirst positioning plate 12, and both sides of thefirst fixing plate 11 and both sides of thefirst positioning plate 12 are flush. Thefirst fixing plate 11 is provided with a rectangular strip-shapedfirst guide groove 111 along the length direction, thefirst guide groove 111 penetrates through one end of thefirst fixing plate 11, the end part of the other end of the first fixing plate is in a pointed shape, the penetrating end is the end of thefirst fixing plate 11 which is not flush with thefirst positioning plate 12, and thefirst guide groove 111 extends upwards to penetrate through thefirst positioning plate 12; therefore, thefirst guide groove 111 also penetrates one end of thefirst positioning plate 12 and coincides with one end of thefirst fixing plate 11.
Thesecond fixing portion 2 includes a rectangular second fixingplate 21 and asecond positioning plate 22 fixedly connected to thesecond fixing plate 21, and a lower surface of thesecond positioning plate 22 is flush with upper surfaces of thefirst fixing plate 11 and thesecond fixing plate 21, thesecond positioning plate 22 is slidably connected to thefirst fixing plate 11 and slides along a length direction of thesecond positioning plate 22, thesecond fixing plate 21 is as wide as thesecond positioning plate 22, and two sides of thesecond fixing plate 22 are flush with each other, in this embodiment, the length of thesecond fixing plate 21 is smaller than that of thesecond positioning plate 22, and both ends of thesecond fixing plate 22 far away from thefirst fixing plate 11 are flush with each other, an upper surface of thefirst positioning plate 12 is flush with an upper surface of thesecond positioning plate 22, the thickness of thesecond fixing plate 21 is as thick as the adjacent ends of thefirst positioning plate 12 and thesecond positioning plate 22 are in contact with each other, and the adjacent ends of the. Thesecond positioning plate 22 is provided with a rectangular strip-shapedsecond guide groove 221 along the length direction, thesecond guide groove 221 penetrates through one end, close to thefirst positioning plate 12, of thesecond positioning plate 22, thesecond guide groove 221 is as wide as thefirst guide groove 111, two sides of the second guide groove are flush, thesecond guide groove 221 extends downwards to penetrate through thesecond fixing plate 21, one penetrating end is the end, close to thefirst positioning plate 12, of thesecond fixing plate 21 and thesecond positioning plate 22, and thesecond positioning plate 22 is provided with a locking portion for enabling thesecond positioning plate 22 to be opposite to thefirst fixing plate 11; the relative position fixation between thesecond positioning plate 22 and thefirst fixing plate 11 is achieved by the locking portion.
The first fixing pin 3 is vertically connected with the bottom of thefirst fixing plate 11, the second fixing pin 4 is vertically connected with thesecond fixing plate 21, and the first fixing pin 3 and the second fixing pin 4 are respectively positioned at one ends, far away from each other, of thefirst fixing plate 11 and thesecond fixing plate 21; the first fixing needle 3 and the second fixing needle 4 are arranged at one ends, far away from each other, of thefirst fixing plate 11 and thesecond fixing plate 21, so that when the first fixing needle 3 and the second fixing needle 4 are inserted into the skin of a patient, the first fixing needle 3 and the second fixing needle 4 can be respectively positioned at the front end and the rear end of the incision of the patient.
The auxiliary assembly includes the limitingplate 5 that the multiunit can with 11 upper surface joints of first fixed plate, and every limitingplate 5 of group is two for the clearance between first limitingplate 12 of transition and thesecond locating plate 22, and the adjacent one side of two limitingplates 5 of every group flushes withfirst guide way 111 both sides respectively, and all sets up along 11 length direction of first fixed plate, and 5 thickness of every limiting plate are the same with 12 thickness of first locating plate. The longest group of limitingplates 5 is 50mm in length, the length difference of each group of limitingplates 5 is 5mm, and the shortest group of limitingplates 5 is 5mm in length. After thesecond positioning plate 22 moves to a desired position relative to thefirst positioning plate 12, the limitingplates 5 with corresponding lengths are selected and clamped on thefirst fixing plate 11 according to the gap between thesecond positioning plate 22 and thefirst positioning plate 12, and because the distance between the two limitingplates 5 is the same as the width of thefirst guide groove 111, a transition groove is formed between thefirst guide groove 111 and thesecond guide groove 221 to communicate thefirst guide groove 111 with thesecond guide groove 221.
Still including the cutter portion 7 that is used for excision patient's incision edge skin, cutter portion 7 is two, is located first guideway 111 both sides respectively, every group cutter portion 7 includes the slidingblock 71 of being connected withfirst guide way 111 andsecond guide way 221 slide to and thevertical blade 72 that just is connected with slidingblock 71 that sets up, the difference ofblade 72 lower extreme and the 3 bottom direction of height distance of first fixed needle is 2mm, and it is lower for 3 bottoms of first fixed needle, theblade 72 upper ends is provided with the handle. Generally, the first fixing needle 3 and the second fixing needle 4 are inserted into the skin of a patient by 2-3mm, so that theblade 72 can cut off the skin of an incision, a medical worker moves theblade 72 through a handle, and due to the sliding connection between the slidingblock 71 and thefirst guide groove 111 and thesecond guide groove 221, theblade 72 can move along the contour of thefirst guide groove 111 and thesecond guide groove 221 to cut off the skin of the edge of the incision of the patient. Since the length difference of thestopper plate 5 is 5mm, theslide block 71 can smoothly shift and slide between thefirst guide groove 111 and thesecond guide groove 221.
The second fixing pin 4 is connected with thesecond fixing plate 21 in a sliding manner, and the sliding direction is arranged along the length direction of thesecond fixing plate 21. The lower surface of thesecond fixing plate 21 is provided with a movinggroove 211 along the length direction thereof, the movingblock 23 is connected in the movinggroove 211 in a sliding manner, the second fixing pin 4 is connected with the movingblock 23, one end face, far away from thefirst fixing plate 11, of thesecond fixing plate 21 is in threaded connection with asecond screw 24 arranged along the length of thefirst fixing plate 11, and thesecond screw 24 extends into one end of the movinggroove 211 to be rotatably connected with the movingblock 23. In this embodiment, the movingblock 23 is connected to one end surface of thesecond screw 24 and provided with an annular plate, an annular groove is formed in an end portion of thesecond screw 24, the annular groove is matched with an inner wall of the annular plate, and the thickness of the annular groove is the same, so that the movingblock 23 and thesecond screw 24 rotate relatively and the relative position of the movingblock 23 and the movingblock 23 does not change.
The locking part comprises a first screw rod 6, a first threaded hole in threaded connection with the first screw rod 6 is formed in thesecond positioning plate 22, the first threaded hole is located at one end, close to thefirst positioning plate 12, of thesecond positioning plate 22, the bottom of the first screw rod 6 can abut against the upper surface of thefirst fixing plate 11, and relative fixing between thesecond positioning plate 22 and thefirst fixing plate 11 is achieved by rotating the first screw rod 6.
Two first slidinggrooves 112 are formed in the upper surface of thefirst fixing plate 11 and are arranged along the length direction of the first fixing plate, the two first slidinggrooves 112 are located on two sides of thefirst guide groove 111 respectively, two first slidingblocks 222 matched with the two first slidinggrooves 112 are arranged on the lower surface of thesecond positioning plate 22, and second clamping blocks 51 matched with the first slidinggrooves 112 are arranged on the lower surfaces of the multiple groups of limitingplates 5. In this embodiment, the first threaded hole is located one side of thesecond positioning plate 22, and is staggered with thesecond guide groove 221 and the first slidinggroove 112, the cross section of the first slidinggroove 112 is T-shaped, thesecond fixture block 51 arranged on the lower surface of each limitingplate 5 is matched with the upper end cross section of the first slidinggroove 112 in T-shaped, so that the limitingplate 5 can be conveniently inserted into the first slidinggroove 112 and pulled out from the first slidinggroove 112, and the stability of sliding connection between thefirst fixing plate 11 and thesecond positioning plate 22 is ensured.
The outer walls of the first fixing needle 3 and the second fixing needle 4 are fixedly sleeved with a limitingcircular plate 31, and the lower surface of the limitingcircular plate 31 is 3mm away from the bottoms of the first fixing needle 3 and the second fixing needle 4. Set up spacingplectane 31 at first fixed needle 3 and the fixed needle 4 outer wall of second for use first fixed needle 3 and the fixed needle 4 in-process of inserting patient's skin of second, can guarantee that the degree of depth of inserting at every turn is 3mm, in the control depth of insertion, 3 mm's degree of depth can play fixed effect, can reduce the injury to the patient again.
The upper surface of thefirst fixing plate 11 is provided with scales along the length direction thereof. The scales are arranged on the upper surface of thefirst fixing plate 11, so that the specific sliding distance of thesecond positioning plate 22 can be accurately determined, the total length of thefirst guide groove 111 and thesecond guide groove 221 can be accurately known, and the cutting operation is facilitated.
The outer surface of the first fixing needle 3, the outer surface of the second fixing needle 4 and the lower surface of the limitingcircular plate 31 are coated with antibacterial coating, and the antibacterial coating is composed of 12-15 parts by weight of nano silver, 2-3 parts by weight of nano titanium dioxide, 5-6 parts by weight of nano iridium, 25-30 parts by weight of tannin, 2-5 parts by weight of bamboo vinegar, 120 parts by weight of silicone-acrylic emulsion, 10-15 parts by weight of ethanol, 5-10 parts by weight of propylene glycol alginate, 5-6 parts by weight of ethylene glycol monomethyl ether, 5-6 parts by weight of sodium polyacrylate, 2-4 parts by weight of sodium formate, 3-5 parts by weight of sodium carboxymethylcellulose, 8-10 parts by weight of rosin and 10-12 parts by weight of shellac. The preparation method of the antibacterial coating comprises the following steps:
firstly, pouring 10-12 parts of shellac and 8-10 parts of rosin into a heating and stirring tank for heating and stirring treatment, wherein the heating temperature is 120-;
and secondly, pouring 12-15 parts of nano silver, 2-3 parts of nano titanium dioxide, 5-6 parts of nano iridium, 25-30 parts of tannin, 2-5 parts of bamboo vinegar liquid, 100 parts of silicone-acrylic emulsion, 10-15 parts of ethanol, 5-10 parts of propylene glycol alginate, 5-6 parts of sodium polyacrylate, 2-4 parts of sodium formate and 3-5 parts of sodium carboxymethylcellulose into the liquid prepared in thestep 1, and then stirring, wherein the stirring speed is 250-300r/min, and the stirring time is 5-6h, so as to obtain the antibacterial coating.
The antibacterial coating has excellent antibacterial effect, and can provide good corrosion resistance and improve durability after a coating is formed on the surface of a coated object.
The characteristics of the raw materials of the antibacterial coating are as follows:
nano silver: the antibacterial agent has strong inhibition and killing effects on dozens of pathogenic microorganisms such as escherichia coli, gonococcus, chlamydia trachomatis and the like, does not generate drug resistance, and is used as a bacteriostatic agent;
nano titanium dioxide: the nano-TiO 2 can be used in the fields of cosmetics, functional fibers, plastics, coatings, paints and the like as an ultraviolet screening agent to prevent the invasion of ultraviolet rays, and the nano-TiO 2 can be added into the coatings to produce antibacterial and antifouling coatings with the functions of sterilization, antifouling, deodorization and self-cleaning, and can play a good antibacterial effect by matching with nano-silver;
nano iridium: the product is prepared by nano-crushing the metal iridium, and common corrosive agents cannot corrode the iridium, so that a good corrosion prevention effect can be provided for the whole product;
tannin: the tannin has the function of absorbing ultraviolet rays, can effectively prevent the negative influence of the ultraviolet rays on a coated object by compounding with the nano titanium dioxide, and has obvious inhibition effect on various bacteria, fungi and microorganisms;
bamboo vinegar liquid: the bamboo vinegar liquid can play a role in preventing and sterilizing bacteria and is used as a bacteriostatic agent;
silicone-acrylic emulsion: combines the high temperature resistance, weather resistance, chemical resistance, hydrophobicity, low surface energy and difficult pollution of organosilicon and the high color retention, flexibility and adhesiveness of acrylic resin. Is an environment-friendly emulsion with high weather resistance, high water resistance and pollution resistance;
ethanol: volatile colorless transparent liquid as solvent;
propylene glycol alginate: the appearance is white or light yellow powder, and the powder becomes sticky colloid after being dissolved in water. The product is often used as thickening, stabilizing and emulsifying agent of beverage products;
ethylene glycol monomethyl ether: a colorless transparent liquid, having a pleasant odor, used as a coating solvent and penetrant;
sodium polyacrylate: the surfactant can prevent the negative effect of metal ions on products, has multiple special properties and plays a role in dispersing in the coating;
sodium formate: is easily soluble in water and slightly soluble in ethanol, and can be used as antiseptic;
sodium carboxymethylcellulose: as a thickening agent and an anti-redeposition agent, the water-based anti-redeposition agent can play a role in protecting the protective colloid;
rosin: rosin is an important chemical raw material, is widely applied to industries such as soap, papermaking, paint, rubber and the like, can be dissolved in ethanol, has excellent performances such as tackifying, emulsifying, softening, moisture-proof, anticorrosion, insulation and the like, and is one of basic raw materials of paint and coating. The rosin has the function of enabling the paint to be bright in color and luster, fast in drying and smooth in paint film and not easy to fall off;
shellac: the paint has the advantages of strong adhesion, good gloss, stability to ultraviolet rays, good electrical insulation performance, thermoplasticity and thermosetting property, capability of being dissolved in alcohol and alkali, oil resistance and acid resistance, no toxicity or stimulation to people, and can be used as varnish.
The working principle is as follows:
according to the length of the incision of the patient, thesecond positioning plate 22 is moved in a sliding mode to adjust the relative position between thesecond positioning plate 22 and thefirst fixing plate 11, the length of one end, away from each other, of thefirst guide groove 111 and thesecond guide groove 221 is matched with the length of the incision, thefirst fixing plate 11 and thesecond positioning plate 22 are fastened by rotating the first screw 6, the corresponding group of limitingplates 5 are selected according to the distance between thefirst positioning plate 12 and thesecond positioning plate 22, the two limitingplates 5 are clamped with thefirst fixing plate 11, the first fixing needle 3 and the second fixing needle 4 are respectively inserted into the skin of the patient, thesecond screw 24 is rotated, the movingblock 23 is moved towards the direction away from the first fixing needle 3 to tension the skin, and the skin at the edge of the incision of the patient is cut off by moving the moving handle.
The present embodiment is only for explaining the present invention, and it is not limited to the present invention, and those skilled in the art can make modifications of the present embodiment without inventive contribution as needed after reading the present specification, but all of them are protected by patent law within the scope of the claims of the present invention.

Claims (9)

Translated fromChinese
1.一种切口边缘皮肤切除器,其特征在于:包括第一固定部(1)、与所述第一固定部(1)滑移连接的第二固定部(2)、第一固定针(3)、第二固定针(4)、辅助组件,所述第一固定针(3)及所述第二固定针(4)用于插入患者皮肤内进行固定,其中:1. An incision edge skin excisor, characterized in that it comprises a first fixing part (1), a second fixing part (2) slidingly connected with the first fixing part (1), a first fixing needle ( 3), a second fixation needle (4), an auxiliary component, the first fixation needle (3) and the second fixation needle (4) are used to be inserted into the skin of a patient for fixation, wherein:所述第一固定部(1)包括矩形状的第一固定板(11)以及与所述第一固定板(11)固定连接的第一定位板(12),所述第一固定板(11)上表面与所述第一定位板(12)下表面贴合,所述第一固定板(11)沿其长度方向开设有矩形条状的第一导向槽(111),所述第一导向槽(111)贯穿所述第一固定板(11)一端设置,且另一端端部呈尖角状,且所述第一导向槽(111)向上延伸贯穿所述第一定位板(12)设置;The first fixing part (1) comprises a rectangular first fixing plate (11) and a first positioning plate (12) fixedly connected with the first fixing plate (11), the first fixing plate (11) ) and the lower surface of the first positioning plate (12). The first fixing plate (11) is provided with a rectangular strip-shaped first guide groove (111) along its length direction. A groove (111) is provided through one end of the first fixing plate (11), and the other end is in the shape of a sharp angle, and the first guide groove (111) extends upward and is provided through the first positioning plate (12) ;所述第二固定部(2)包括矩形状的第二固定板(21)以及与所述第二固定板(21)固定连接的第二定位板(22),且所述第二定位板(22)的下表面分别与所述第一固定板(11)及所述第二固定板(21)的上表面齐平,所述第二定位板(22)滑移连接于所述第一固定板(11),且沿所述第二定位板(22)长度方向滑移,所述第二定位板(22)沿其长度方向开设有矩形条状的第二导向槽(221),所述第二导向槽(221)贯穿所述第二定位板(22)靠近所述第一定位板(12)一端,所述第二导向槽(221)与所述第一导向槽(111)宽度相同且两侧齐平,所述第二导向槽(221)向下延伸贯穿所述第二固定板(21)设置,所述第二定位板(22)上设有用于所述第二定位板(22)与所述第一固定板(11)相对位置的锁定部;The second fixing part (2) comprises a rectangular second fixing plate (21) and a second positioning plate (22) fixedly connected with the second fixing plate (21), and the second positioning plate ( 22) The lower surfaces are flush with the upper surfaces of the first fixing plate (11) and the second fixing plate (21) respectively, and the second positioning plate (22) is slidably connected to the first fixing plate (22). The plate (11) slides along the length direction of the second positioning plate (22), the second positioning plate (22) is provided with a rectangular strip-shaped second guide groove (221) along the length direction, The second guide groove (221) runs through the second positioning plate (22) and is close to one end of the first positioning plate (12), and the second guide groove (221) has the same width as the first guide groove (111). and the two sides are flush, the second guide groove (221) extends downward through the second fixing plate (21) and is provided on the second positioning plate (22) for the second positioning plate (221). 22) a locking portion relative to the first fixing plate (11);所述第一固定针(3)与所述第一固定板(11)底部垂直连接,所述第二固定针(4)与所述第二固定板(21)垂直连接,且所述第一固定针(3)及所述第二固定针(4)分别位于所述第一固定板(11)及所述第二固定板(21)相互远离一端;The first fixing pin (3) is vertically connected to the bottom of the first fixing plate (11), the second fixing pin (4) is vertically connected to the second fixing plate (21), and the first The fixing needle (3) and the second fixing needle (4) are respectively located at one end of the first fixing plate (11) and the second fixing plate (21) away from each other;所述辅助组件包括多组能够与所述第一固定板(11)上表面卡接的限位板(5),每组所述限位板(5)为两个,用于过渡所述第一定位板(12)与所述第二定位板(22)之间间隙,且每组两个所述限位板(5)相邻一侧分别与所述第一导向槽(111)两侧齐平,且均沿所述第一固定板(11)长度方向设置,每个所述限位板(5)厚度与所述第一定位板(12)厚度相同。The auxiliary assembly includes a plurality of sets of limit plates (5) that can be snapped with the upper surface of the first fixing plate (11), and each set of limit plates (5) is two, for transitioning the first fixing plate (11). There is a gap between a positioning plate (12) and the second positioning plate (22), and two adjacent sides of the two positioning plates (5) in each group are respectively on both sides of the first guide groove (111). are flush, and all are arranged along the length direction of the first fixing plate (11), and the thickness of each limiting plate (5) is the same as the thickness of the first positioning plate (12).2.根据权利要求1所述的切口边缘皮肤切除器,其特征在于:还包括用于切除患者切口边缘皮肤的切刀部(7),所述切刀部(7)为两个,分别位于所述第一导向槽(111)两侧,每组所述切刀部(7)包括与所述第一导向槽(111)及所述第二导向槽(221)滑移连接的滑移块(71),以及竖直设置且与所述滑移块(71)连接的刀片(72),所述刀片(72)下端与所述第一固定针(3)底部高度方向距离差为2mm,且所述第一固定针(3)底部较低。2. The incision edge skin excisor according to claim 1, characterized in that it further comprises a cutter portion (7) for excising the skin at the incision edge of a patient, wherein the cutter portions (7) are two, respectively located at On both sides of the first guide groove (111), each set of the cutter parts (7) includes a sliding block slidably connected to the first guide groove (111) and the second guide groove (221). (71), and a blade (72) vertically arranged and connected to the sliding block (71), the distance difference between the lower end of the blade (72) and the bottom of the first fixing needle (3) in the height direction is 2mm, And the bottom of the first fixing needle (3) is lower.3.根据权利要求2所述的切口边缘皮肤切除器,其特征在于:所述第二固定针(4)与所述第二固定板(21)滑移连接,滑移方向沿所述第二固定板(21)长度方向设置。3 . The incision edge skin excisor according to claim 2 , wherein the second fixing needle ( 4 ) is slidably connected to the second fixing plate ( 21 ), and the sliding direction is along the second The fixing plate (21) is arranged in the length direction.4.根据权利要求3所述的切口边缘皮肤切除器,其特征在于:第二固定板(21)下表面沿其长度方向开设有移动槽(211),所述移动槽(211)内滑移连接有移动块(23),所述第二固定针(4)与所述移动块(23)连接,所述第二固定板(21)远离所述第一固定板(11)一端面螺纹连接有沿所述第一固定板(11)长度设置的第二螺杆(24),所述第二螺杆(24)伸入所述移动槽(211)一端与所述移动块(23)转动连接。4. The incision edge skin excisor according to claim 3, characterized in that: a moving groove (211) is formed on the lower surface of the second fixing plate (21) along its length direction, and the moving groove (211) slides inside the moving groove (211). A moving block (23) is connected, the second fixing pin (4) is connected with the moving block (23), and the second fixing plate (21) is screwed on one end face away from the first fixing plate (11). There is a second screw (24) arranged along the length of the first fixing plate (11), and one end of the second screw (24) extending into the moving slot (211) is rotatably connected to the moving block (23).5.根据权利要求1所述的切口边缘皮肤切除器,其特征在于:所述锁定部包括第一螺杆(6),所述第二定位板(22)上开设有与所述第一螺杆(6)螺纹连接的第一螺纹孔,所述第一螺杆(6)底部能够抵紧在所述第一固定板(11)上表面。5. The incision edge skin excisor according to claim 1, characterized in that: the locking portion comprises a first screw (6), and the second positioning plate (22) is provided with a connection with the first screw (6). 6) The first threaded hole for threaded connection, the bottom of the first screw (6) can abut against the upper surface of the first fixing plate (11).6.根据权利要求4所述的切口边缘皮肤切除器,其特征在于:所述第一固定板(11)上表面开设有两个沿其长度方向设置的第一滑槽(112),两个所述第一滑槽(112)分别位于所述第一导向槽(111)两侧,所述第二定位板(22)下表面设有两个分别与两个所述第一滑槽(112)配合的第一滑块(222),多组所述限位板(5)下表面均设置有与所述第一滑槽(112)配合的第二卡块(51)。6 . The incision edge skin excisor according to claim 4 , characterized in that: the upper surface of the first fixing plate ( 11 ) is provided with two first chute ( 112 ) arranged along its length direction, and the two The first sliding grooves (112) are respectively located on both sides of the first guiding groove (111), and the lower surface of the second positioning plate (22) is provided with two first sliding grooves (112) respectively connected to the two first sliding grooves (112). ) matched with the first sliding block (222), the lower surfaces of the plurality of sets of the limiting plates (5) are all provided with second locking blocks (51) matched with the first chute (112).7.根据权利要求1所述的切口边缘皮肤切除器,其特征在于:所述第一固定针(3)及所述第二固定针(4)外壁均固定套设有限位圆板(31),所述限位圆板(31)下表面距离所述第一固定针(3)及所述第二固定针(4)底部3mm。7 . The incision edge skin excisor according to claim 1 , wherein the outer walls of the first fixing needle ( 3 ) and the second fixing needle ( 4 ) are fixedly sleeved with a limiting disc ( 31 ). 8 . , the lower surface of the limiting circular plate (31) is 3 mm away from the bottom of the first fixing pin (3) and the bottom of the second fixing pin (4).8.根据权利要求1所述的切口边缘皮肤切除器,其特征在于:所述第一固定板(11)上表面沿其长度方向设置有刻度。8 . The incision edge skin excisor according to claim 1 , characterized in that: the upper surface of the first fixing plate ( 11 ) is provided with a scale along its length direction. 9 .9.根据权利要求7所述的切口边缘皮肤切除器,其特征在于:所述第一固定针(3)外表面、所述第二固定针(4)外表面及所述限位圆板(31)下表面均涂有抑菌涂料,所述抑菌涂料由按重量份数配比的纳米银12-15份、纳米二氧化钛2-3份、纳米铱5-6份、单宁25-30份、竹醋液2-5份、硅丙乳液100-120份、乙醇10-15份、藻酸丙二醇酯5-10份、乙二醇单甲醚5-6份、聚丙烯酸钠5-6份、甲酸钠2-4份、羧甲基纤维素钠3-5份、松香8-10份和虫胶10-12份组成。9 . The incision edge skin excisor according to claim 7 , wherein: the outer surface of the first fixing needle ( 3 ), the outer surface of the second fixing needle ( 4 ) and the limiting circular plate ( 9 . 31) The lower surface is coated with antibacterial paint, and the antibacterial paint is composed of 12-15 parts of nano silver, 2-3 parts of nano titanium dioxide, 5-6 parts of nano iridium, and 25-30 parts of tannin in proportion by weight. parts, 2-5 parts of bamboo vinegar, 100-120 parts of silicone acrylic emulsion, 10-15 parts of ethanol, 5-10 parts of propylene glycol alginate, 5-6 parts of ethylene glycol monomethyl ether, 5-6 parts of sodium polyacrylate parts, 2-4 parts of sodium formate, 3-5 parts of sodium carboxymethyl cellulose, 8-10 parts of rosin and 10-12 parts of shellac.
CN201910998190.3A2019-10-212019-10-21 An incision edge skin excisorActiveCN110711014B (en)

Priority Applications (1)

Application NumberPriority DateFiling DateTitle
CN201910998190.3ACN110711014B (en)2019-10-212019-10-21 An incision edge skin excisor

Applications Claiming Priority (1)

Application NumberPriority DateFiling DateTitle
CN201910998190.3ACN110711014B (en)2019-10-212019-10-21 An incision edge skin excisor

Publications (2)

Publication NumberPublication Date
CN110711014A CN110711014A (en)2020-01-21
CN110711014Btrue CN110711014B (en)2021-04-13

Family

ID=69213862

Family Applications (1)

Application NumberTitlePriority DateFiling Date
CN201910998190.3AActiveCN110711014B (en)2019-10-212019-10-21 An incision edge skin excisor

Country Status (1)

CountryLink
CN (1)CN110711014B (en)

Citations (10)

* Cited by examiner, † Cited by third party
Publication numberPriority datePublication dateAssigneeTitle
CN200991313Y (en)*2006-12-292007-12-19亓秀丽Combined cerrva-removal cutter
CN201595903U (en)*2010-02-022010-10-06赵志胜Positioning scalpel
CN101904765A (en)*2009-06-032010-12-08苏州天臣国际医疗科技有限公司 surgical cutter stapler
CN202151371U (en)*2011-06-102012-02-29翁博文Flat and straight cutting scalpel
CN202179578U (en)*2011-08-052012-04-04石艳Scalpel fixing device
WO2015021132A1 (en)*2013-08-092015-02-12Ambitus Medical LlcWire-guided surgical instrument
CN104546070A (en)*2015-01-072015-04-29杜学军Skin incising and suturing device and application method thereof
CN104546069A (en)*2014-12-192015-04-29中国科学院深圳先进技术研究院Soft tissue cutter
CN105188561A (en)*2013-02-142015-12-23保罗·威博 Systems, devices and methods for biological tissue dissection
DE202017103219U1 (en)*2017-05-292017-06-22Heinz Kurz Gmbh Medical cutting device with rotating knife

Patent Citations (10)

* Cited by examiner, † Cited by third party
Publication numberPriority datePublication dateAssigneeTitle
CN200991313Y (en)*2006-12-292007-12-19亓秀丽Combined cerrva-removal cutter
CN101904765A (en)*2009-06-032010-12-08苏州天臣国际医疗科技有限公司 surgical cutter stapler
CN201595903U (en)*2010-02-022010-10-06赵志胜Positioning scalpel
CN202151371U (en)*2011-06-102012-02-29翁博文Flat and straight cutting scalpel
CN202179578U (en)*2011-08-052012-04-04石艳Scalpel fixing device
CN105188561A (en)*2013-02-142015-12-23保罗·威博 Systems, devices and methods for biological tissue dissection
WO2015021132A1 (en)*2013-08-092015-02-12Ambitus Medical LlcWire-guided surgical instrument
CN104546069A (en)*2014-12-192015-04-29中国科学院深圳先进技术研究院Soft tissue cutter
CN104546070A (en)*2015-01-072015-04-29杜学军Skin incising and suturing device and application method thereof
DE202017103219U1 (en)*2017-05-292017-06-22Heinz Kurz Gmbh Medical cutting device with rotating knife

Also Published As

Publication numberPublication date
CN110711014A (en)2020-01-21

Similar Documents

PublicationPublication DateTitle
WO2013133823A1 (en)Zwitterionic lignin derivatives for marine antifouling coatings
TWI394532B (en)Biocide composition comprising pyrithione and pyrrole derivatives
US20070167508A1 (en)Synergistic antifouling compositions comprising 4-bromo-2-(4-chlorophenyl)-5-(trifluoromethyl)-1H-pyrrole-3-carbonitrile
KR100304476B1 (en)Gel-free paint containing zinc pyrithione
JP6603495B2 (en) Antibacterial and antiviral coating agent
CN110711014B (en) An incision edge skin excisor
JP6154275B2 (en) Antibacterial / antiviral coating and method for forming antibacterial / antiviral coating
EP1056338A1 (en)Gel-type disinfectant having a low alcohol content
US11059982B2 (en)Fluid compositions that can form a coating having antiviral properties
JP2007084823A (en)Composition for fungicidal and algicidal finishing for alkaline coating composition
JP5718092B2 (en) Antibacterial, bactericidal or antiviral composition
BRPI1107139A2 (en) synergistic antimicrobial composition, method for inhibiting the growth of, or for controlling the growth of microorganisms in a building material, coating composition, dry film, and method for preparing zinc glyphosate
CN105073094A (en)Artificial nail composition, artificial nail, method for forming artificial nail, method for removing artificial nail, and nail art kit
WO2011023465A3 (en)Antimicrobial ether guanidines
JP5433017B2 (en) Antifouling combination comprising 4-bromo-2- (4-chlorophenyl) -5- (trifluoromethyl) -1H-pyrrole-3-carbonitrile
JP2011520825A (en) Antimicrobial agents and compositions derived from polyols
SG171847A1 (en)Biocidal compositions comprising thiol group modulating enzyme inhibitors and pyrion compounds
AU2009247593B2 (en)Novel environmental friendly anti-microbial adhesion agents for anti-fouling paints and anti-fouling paints containing them
NO327214B1 (en) Coated bis (2-pyridinethiol-1-oxide) copper salt and the use of certain compounds for coating bis (2-pyridinethiol-1-oxide) copper salt.
CN208799325U (en)A kind of operating room equipment classification device
CN109640662B (en)Synergistic combinations of lenacil and 1, 2-benzisothiazol-3 (2H) -one
KR102327484B1 (en)Adhesive magnetic blackboard harmless to human body and its manufacturing method
RU192673U1 (en) Sliding surgical mirror
EP2755474A1 (en)Anhydrous suspensions and antimicrobial gels comprising bioactive glasses and applications thereof
JP2022166054A (en)Antimicrobial composition

Legal Events

DateCodeTitleDescription
PB01Publication
PB01Publication
SE01Entry into force of request for substantive examination
SE01Entry into force of request for substantive examination
GR01Patent grant
GR01Patent grant
EE01Entry into force of recordation of patent licensing contract

Application publication date:20200121

Assignee:Nantong Wenci Ophthalmology Hospital Co.,Ltd.

Assignor:NANTONG University

Contract record no.:X2023980053310

Denomination of invention:A type of incision edge skin remover

Granted publication date:20210413

License type:Common License

Record date:20231221

EE01Entry into force of recordation of patent licensing contract

[8]ページ先頭

©2009-2025 Movatter.jp