Movatterモバイル変換


[0]ホーム

URL:


CN110708693B - User routing method, device and computer readable storage medium - Google Patents

User routing method, device and computer readable storage medium
Download PDF

Info

Publication number
CN110708693B
CN110708693BCN201810753546.2ACN201810753546ACN110708693BCN 110708693 BCN110708693 BCN 110708693BCN 201810753546 ACN201810753546 ACN 201810753546ACN 110708693 BCN110708693 BCN 110708693B
Authority
CN
China
Prior art keywords
user
user data
udr
routing
home
Prior art date
Legal status (The legal status is an assumption and is not a legal conclusion. Google has not performed a legal analysis and makes no representation as to the accuracy of the status listed.)
Active
Application number
CN201810753546.2A
Other languages
Chinese (zh)
Other versions
CN110708693A (en
Inventor
郑国斌
吕培元
Current Assignee (The listed assignees may be inaccurate. Google has not performed a legal analysis and makes no representation or warranty as to the accuracy of the list.)
Zte Intelligent Technology Nanjing Co ltd
Original Assignee
ZTE Corp
Priority date (The priority date is an assumption and is not a legal conclusion. Google has not performed a legal analysis and makes no representation as to the accuracy of the date listed.)
Filing date
Publication date
Application filed by ZTE CorpfiledCriticalZTE Corp
Priority to CN201810753546.2ApriorityCriticalpatent/CN110708693B/en
Publication of CN110708693ApublicationCriticalpatent/CN110708693A/en
Application grantedgrantedCritical
Publication of CN110708693BpublicationCriticalpatent/CN110708693B/en
Activelegal-statusCriticalCurrent
Anticipated expirationlegal-statusCritical

Links

Images

Classifications

Landscapes

Abstract

The embodiment of the application discloses a user routing method, a device and a computer readable storage medium, wherein the method comprises the following steps: receiving an operation request sent by a user access Network Function (NF); determining an attribution Unified Data Repository (UDR) of user data; and acquiring user data from the home UDR, and returning an operation response to the user access NF according to the user data. The embodiment of the application automatically maintains the user data routing information in a HPLMN in a centralized way without configuring the user data routing information in a plurality of UDMs; the operation and maintenance are simplified, the inconsistency between the user data routing information and the user data is avoided, the success rate of service operation is ensured, and the utilization rate of number resources is improved.

Description

User routing method, device and computer readable storage medium
Technical Field
Embodiments of the present application relate to the field of communications technologies, and in particular, to a user routing method, device, and computer-readable storage medium.
Background
In a Mobile communication Network, whether a 2G/3G/4G/5G user is in a Home Public Land Mobile Network (HPLMN) or a Virtual Public Land Mobile Network (VPLMN), mobility Management operations such as user authentication, user registration, user Location information acquisition, user Location state information modification, etc. are all processed back to a certain HLR (Home Location Register)/HSS (Home Subscriber Server) or Universal Data Management (UDM) of the HPLMN.
The existing 5G mobile communication network has the problems of large workload of user data routing information operation and maintenance, inconsistent user data routing information and waste of number resources.
Disclosure of Invention
In view of this, embodiments of the present application provide a user routing method, a device, and a computer-readable storage medium, so as to solve the problems of a large workload of user data routing information, inconsistent user data routing information, and a waste of number resources in the existing 5G mobile communication network.
The technical scheme adopted by the embodiment of the application for solving the technical problems is as follows:
according to an aspect of an embodiment of the present application, there is provided a user routing method, including:
receiving an operation request sent by a user access Network Function (NF);
determining an attribution Unified Data Repository (UDR) of user data;
and acquiring user data from the home UDR, and returning an operation response to the user access NF according to the user data.
According to another aspect of the embodiments of the present application, there is provided a user routing method, including:
according to address information of a Unified Data Management (UDM), sending an operation request to the UDM; so that the UDM receives an operation request sent by the user access NF; determining a home UDR of user data; acquiring user data from the home UDR, and returning an operation response to a user access NF (network controller) according to the user data;
and acquiring the operation response returned by the UDM.
According to another aspect of the embodiments of the present application, there is provided a user routing device, the device includes a memory, a processor, and a user routing program stored on the memory and operable on the processor, and the user routing program, when executed by the processor, implements the steps of the user routing method described above.
According to another aspect of the embodiments of the present application, there is provided a computer-readable storage medium having a user routing program stored thereon, the user routing program, when executed by a processor, implementing the steps of the user routing method described above.
According to the user routing method, the user routing equipment and the computer readable storage medium, the user data routing information is centralized in the HPLMN for automatic maintenance, and the user data routing information does not need to be configured in a plurality of UDMs; the operation and maintenance are simplified, the inconsistency between the user data routing information and the user data is avoided, the success rate of service operation is ensured, and the utilization rate of number resources is improved.
Drawings
Fig. 1 is a schematic diagram of a network architecture of a 5G core network according to an embodiment of the present application;
fig. 2 is a schematic diagram of a mobility management operation timing structure of a conventional 5G mobile communication network;
fig. 3 is a schematic flow chart of a user routing method according to a first embodiment of the present application;
fig. 4 is a schematic structural diagram of a user routing system according to an embodiment of the present application;
fig. 5 is a schematic diagram illustrating a mobile subscriber routing process according to an embodiment of the present application;
fig. 6 is a schematic diagram illustrating a mobile roaming user routing process according to an embodiment of the present application;
FIG. 7 is a flow chart illustrating a mobile subscriber routing in a home network according to an embodiment of the present application;
fig. 8 is a schematic diagram illustrating a user data routing information updating process according to an embodiment of the present application;
fig. 9 is a schematic flow chart illustrating a process of caching user data routing information by the UDM according to the embodiment of the present application;
fig. 10 is a flowchart illustrating a user routing method according to a second embodiment of the present application;
fig. 11 is a schematic structural diagram of a user routing device according to a third embodiment of the present application.
The implementation, functional features and advantages of the objectives of the present application will be further explained with reference to the accompanying drawings.
Detailed Description
In order to make the technical problems, technical solutions and advantageous effects to be solved by the present application clearer and clearer, the present application is further described in detail below with reference to the accompanying drawings and embodiments. It should be understood that the specific embodiments described herein are merely illustrative of the present application and are not intended to limit the present application.
First embodiment
To better illustrate the present embodiment, the following describes the problems of the prior art with reference to fig. 1 and 2:
as shown in fig. 1, a schematic diagram of a network architecture of a 5G core network is defined in a 3GPP (3rd Generation Partnership Project) TS 23.501 protocol, and the UDM is located in the HPLMN and has functions of calculating a user authentication vector, user mobility management, and user subscription data management.
Fig. 2 is a schematic diagram of a mobility management operation timing structure of a conventional 5G mobile communication network, which specifically includes:
step 101, each UDM configures user data routing information, when the UDM registers a service to an NRF (Network discovery Function), the UDM carries the user data routing information, the NRF caches the user data routing information to the local, the user data routing information refers to a corresponding relationship between a user number segment or number and a user attribution UDM, and the NRF provides the service registration and service discovery functions;
step 102, a user accesses an NF (Network Function), such as an AMF (Access Management Function)/SMF (Session Management Function), and queries an NRF for UDM address information (e.g., IP address and port) according to a user identifier, such as IMSI (International Mobile Subscriber identity), MSISDN (Mobile Subscriber identity), etc.
Step 103, NRF returns user routing data home UDM address to user access NF.
And step 104, the user access NF sends an operation request to the user data attribution UDM.
And 105, after the UDM processes the operation request, returning an operation response to the NF accessed by the user.
The existing mobility management operation of the 5G mobile communication network has the following problems:
1) the operation and maintenance personnel need to configure user data routing information in a plurality of UDMs, the maintenance workload is large, the configuration of user number sections among the UDMs can be overlapped and collided, in order to reduce the workload of configuring the user data routing information, operators generally adopt the corresponding relation of the user number sections and the UDMs to be planned in advance, the user number sections with large range are configured in the user data routing information, but precious number resources are wasted, and when users change cards/numbers across the UDMs, the user data routing information needs to be changed or the user number sections need to be reserved for changing cards/numbers. The routing information of the user data is inaccurate, the user can not find the accurate UDM when accessing NF, the service operation fails, and the complaint of the user is caused.
2) Before the user access NF processes the mobility management operation related to the UDM, the user access NF and the NRF need to be inquired according to the user number to acquire the UDM, and the processing performance of the user access NF and the NRF is reduced.
Based on the problem of the mobility management operation of the existing 5G mobile communication network, as shown in fig. 3, a first embodiment of the present application provides a user routing method, where the method is used in a UDM, and the method includes:
step S21: and receiving an operation request sent by a user access network function NF.
In this embodiment, the user access NF is a network element of a user access class, such as AMF or SMF. And the user access NF sends an operation request to the UDM according to the address information of the UDM.
The user access NF can inquire the address information of the UDM nearby the network from the NRF, and the NRF returns the address information of the UDM. The address information of the UDM nearby the local network can be acquired from the local configuration, and the UDM does not need to be inquired to the NRF.
In this embodiment, the UDM is a network function defined by the 3GPP TS 23.501 protocol, and provides user authentication and user mobility management functions. The UDM provides all user mobility management services of the network, and determines the UDR where the user data is located, namely the home UDR, according to the automatically maintained user data routing information. The UDMs may be arranged in plurality on a capacity scale or regional basis.
Step S22: and determining an attribution Unified Data Repository (UDR) of the user data.
In this embodiment, the determining the home UDR of the user data includes:
determining the attribution UDR according to User Data Routing information stored in a User Routing Data Center (URDC) queried by a User identifier; or querying the user data routing information cached locally according to the user identification to determine the attribution UDR.
It can be understood that querying locally cached user data routing information can further improve UDM performance.
In this embodiment, the URDC is used to store user data routing information of the correspondence between the user identification and the UDR address (e.g., IP address, port number). The URDC can be independently deployed or can be deployed together with the UDM.
In this embodiment, the user data routing information includes a correspondence between a user identifier and a home UDR.
Step S23: and acquiring user data from the home UDR, and returning an operation response to the user access NF according to the user data.
In this embodiment, the UDR is a unified data storage function defined by the 3GPP TS 23.501 protocol, providing user data storage and management functions. Multiple UDRs may be deployed on a user capacity scale or regional basis. It should be noted that the UDR may be deployed in conjunction with the UDM, and the UDR may also be deployed separately from the UDM, which is not specifically limited herein.
In this embodiment, the acquiring user data from the home UDR includes:
accessing user data of the home UDR; and receiving the user data returned by the home UDR.
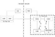
To better illustrate the present embodiment, the following describes the user routing process in conjunction with fig. 4-7:
as shown in fig. 4, the user routing system deployed in the HPLMN includes URDC31, UDM32, UDR33, andprovvision 34.
URDC31 for storing user data routing information for the correspondence of user identities and UDR addresses (e.g. IP addresses, port numbers).
UDM32 for providing user authentication, user mobility management functions.
UDR33 for providing user data storage and management functions.
The PROVISION34 is a user data acceptance subsystem, requests to create and store user data in the UDR33, and updates user data routing information in the URDC after successful operations of user number allocation, number selling, card changing and number changing.
Fig. 5 is a schematic diagram of a mobile subscriber routing process, in which:
step 401, the proxy executes service acceptance, and writes user data in the UDR.
Step 402, the proxy accepts successful operations of number allocation, number cancellation, card change and number change services, and notifies the URDC to change the user data routing information. For example: and (4) adding the corresponding relation between the IMSI/MSISDN number of the user and the UDR address when the number is released, deleting the user data routing information when the number is cancelled, and changing the user data routing information when the card is changed or the number is changed.
Step 403, the user accesses the NF to inquire the address information of the UDM of the local network to the NRF.
In step 404, the NRF returns the address information of the UDM of the home network.
In step 405, the user access NF sends an operation request to the local UDM.
And step 406, the UDM queries the URDC according to the user identifier to acquire a home UDR of the user data.
In step 407, the UDM accesses the user data of the home UDR.
In step 408, the UDR returns the user data access results to the UDM.
In step 409, the UDM returns the operation result to the user access NF.
Fig. 6 is a schematic diagram of a mobile roaming user routing process, in which:
step 501, a user accesses a VPLMN network; a user accesses NF to obtain a local network UDM nearby from NRF or local configuration; the user access NF sends an operation request to the local UDM.
Step 502, the UDM queries the URDC according to the user identifier to obtain the UDR to which the user data belongs.
In step 503, the UDM accesses the user data of the home UDR.
In step 504, the UDR returns the user data access results to the UDM.
And step 505, the UDM returns an operation result to the NF accessed by the user.
Fig. 7 is a schematic diagram illustrating a routing process of a mobile subscriber in a home network, wherein:
step 601, accessing a user to an HPLMN network; a user accesses NF to obtain a local network UDM nearby from NRF or local configuration; the user access NF sends an operation request to the local UDM.
Step 602, the UDM queries the URDC according to the user identifier, and obtains the UDR to which the user data belongs.
In step 603, the UDM accesses the user data of the home UDR.
In step 604, the UDR returns the user data access results to the UDM.
In step 605, the UDM returns the operation result to the user access NF.
In one embodiment, the determining a home UDR for user data further comprises:
sending an operation request for changing user data to the attributive UDR through a user data acceptance subsystem; and when the operation of changing the user data is successful, sending a user data routing information updating request to the URDC through the user data receiving subsystem.
In this embodiment, the operation of changing the user data includes at least one of a user number allocation operation, a user number cancellation operation, a user card exchange operation, and a user number exchange operation.
Illustratively, for the user number assignment operation, the URDC needs to add user data routing information; for user number cancellation operation, the URDC needs to delete user data routing information; for a card/number change operation, the URDC needs to modify the user data routing information.
For a better understanding of this embodiment, it is explained below with reference to fig. 8. Fig. 8 is a schematic diagram of a user data routing information updating process, where:
in step 701, the proxy (i.e., the user data acceptance subsystem) writes user data into the UDR, i.e., initiates an operation request (place number, pin number, card change, number change) for changing the user data.
In step 702, the UDR returns a change user data operation response to the proxy.
Step 703, proxy updates the user data routing information of the URDC.
For the number allocation operation, the URDC adds user data routing information;
for the pin operation, the URDC deletes the user data routing information;
for a card/number swap operation, the URDC modifies the user data routing information.
In another embodiment, the determining a home UDR for user data further comprises:
receiving a user data routing information update notification broadcast by the URDC; acquiring the updated user data routing information of the URDC according to the user data routing information updating notice; and storing the acquired user data routing information updated by the URDC to the local cache.
For a better understanding of this embodiment, it is explained below with reference to fig. 9. Fig. 9 is a schematic flow chart of routing information of UDM cache user data, where:
in step 801, after changing the user routing data information, the URDC broadcasts a user routing information change notification to the UDM of the home network.
In step 802, the UDM obtains the latest user routing data information to the URDC.
In step 803, the URDC returns the latest user routing data information to the UDM, which stores the latest user routing data information in a local cache.
According to the user routing method, the user data routing information is centralized in the HPLMN for automatic maintenance, and the user data routing information does not need to be configured in a plurality of UDMs; the operation and maintenance are simplified, the inconsistency between the user data routing information and the user data is avoided, the success rate of service operation is ensured, and the utilization rate of number resources is improved.
Second embodiment
As shown in fig. 10, a second embodiment of the present application provides a user routing method, where the method is used in a user access NF, and the method includes:
step S31: and sending an operation request to the UDM according to the address information of the UDM.
In this embodiment, the UDM is a network function defined by the 3GPP TS 23.501 protocol, and provides user authentication and user mobility management functions. The UDM provides all user mobility management services of the network, and determines the UDR where the user data is located, namely the home UDR, according to the automatically maintained user data routing information. The UDMs may be arranged in plurality on a capacity scale or regional basis.
In one embodiment, the sending an operation request to the UDM according to the address information of the UDM further includes:
acquiring address information of the UDM from NRF; or obtaining the address information of the UDM from local configuration.
Specifically, the user access NF may query the NRF for address information of the UDM in the vicinity of the home network, and the NRF returns the address information of the UDM. The address information of the UDM nearby the local network can be acquired from the local configuration, and the UDM does not need to be inquired to the NRF.
According to the user routing method, the user data routing information is centralized in the HPLMN for automatic maintenance, and the user data routing information does not need to be configured in a plurality of UDMs; the operation and maintenance are simplified, the inconsistency between the user data routing information and the user data is avoided, the success rate of service operation is ensured, and the utilization rate of number resources is improved.
Third embodiment
As shown in fig. 11, a third embodiment of the present application provides a mobile switching center MSC server, which includes: amemory 91, aprocessor 92 and a user routing program stored on thememory 91 and operable on theprocessor 92, wherein the user routing program, when executed by theprocessor 92, is configured to implement the following steps of the user routing method:
receiving an operation request sent by a user access Network Function (NF);
determining an attribution Unified Data Repository (UDR) of user data;
and acquiring user data from the home UDR, and returning an operation response to the user access NF according to the user data.
The user routing program, when executed by theprocessor 92, is further configured to implement the steps of the user routing method described below:
inquiring user data routing information stored in a User Routing Data Center (URDC) according to the user identification to determine the attribution UDR; or querying the user data routing information cached locally according to the user identification to determine the attribution UDR.
The user routing program, when executed by theprocessor 92, is further configured to implement the steps of the user routing method described below:
sending an operation request for changing user data to the attributive UDR through a user data acceptance subsystem; and when the operation of changing the user data is successful, sending a user data routing information updating request to the URDC through the user data receiving subsystem.
The user routing program, when executed by theprocessor 92, is further configured to implement the steps of the user routing method described below:
the operation of changing the user data comprises at least one of user number allocation operation, user number cancellation operation, user card changing operation and user number changing operation.
The user routing program, when executed by theprocessor 92, is further configured to implement the steps of the user routing method described below:
receiving a user data routing information update notification broadcast by the URDC; acquiring the updated user data routing information of the URDC according to the user data routing information updating notice; and storing the acquired user data routing information updated by the URDC to the local cache.
The user routing program, when executed by theprocessor 92, is further configured to implement the steps of the user routing method described below:
accessing user data of the home UDR; and receiving the user data returned by the home UDR.
Alternatively, the user routing program, when executed by theprocessor 92, is configured to implement the following steps of the user routing method:
according to address information of a Unified Data Management (UDM), sending an operation request to the UDM; so that the UDM receives an operation request sent by the user access NF; determining a home UDR of user data; acquiring user data from the home UDR, and returning an operation response to a user access NF (network controller) according to the user data;
and acquiring the operation response returned by the UDM.
The user routing program, when executed by theprocessor 92, is further configured to implement the steps of the user routing method described below:
acquiring address information of the UDM from a network discovery function (NRF); or obtaining the address information of the UDM from local configuration.
The user routing equipment of the embodiment of the application automatically maintains the user data routing information in a HPLMN in a centralized manner without configuring the user data routing information in a plurality of UDMs; the operation and maintenance are simplified, the inconsistency between the user data routing information and the user data is avoided, the success rate of service operation is ensured, and the utilization rate of number resources is improved.
Fourth embodiment
A fourth embodiment of the present application provides a computer-readable storage medium, which stores a user routing program, and the user routing program is used for implementing the steps of the user routing method according to the first embodiment or the second embodiment when being executed by a processor.
It should be noted that the computer-readable storage medium of this embodiment belongs to the same concept as the method of the first embodiment or the second embodiment, and specific implementation processes thereof are detailed in the method embodiment, and technical features in the method embodiment are applicable in this embodiment, which is not described herein again.
The computer-readable storage medium of the embodiment of the application automatically maintains the user data routing information by centralizing the user data routing information in the HPLMN without configuring the user data routing information in a plurality of UDMs; the operation and maintenance are simplified, the inconsistency between the user data routing information and the user data is avoided, the success rate of service operation is ensured, and the utilization rate of number resources is improved.
It will be understood by those of ordinary skill in the art that all or some of the steps of the methods, systems, functional modules/units in the devices disclosed above may be implemented as software, firmware, hardware, and suitable combinations thereof. In a hardware implementation, the division between functional modules/units mentioned in the above description does not necessarily correspond to the division of physical components; for example, one physical component may have multiple functions, or one function or step may be performed by several physical components in cooperation. Some or all of the physical components may be implemented as software executed by a processor, such as a central processing unit, digital signal processor, or microprocessor, or as hardware, or as an integrated circuit, such as an application specific integrated circuit. Such software may be distributed on computer readable media, which may include computer storage media (or non-transitory media) and communication media (or transitory media). The term computer storage media includes volatile and nonvolatile, removable and non-removable media implemented in any method or technology for storage of information such as computer readable instructions, data structures, program modules or other data, as is well known to those of ordinary skill in the art. Computer storage media includes, but is not limited to, RAM, ROM, EEPROM, flash memory or other memory technology, CD-ROM, Digital Versatile Disks (DVD) or other optical disk storage, magnetic cassettes, magnetic tape, magnetic disk storage or other magnetic storage devices, or any other medium which can be used to store the desired information and which can accessed by a computer. In addition, communication media typically embodies computer readable instructions, data structures, program modules or other data in a modulated data signal such as a carrier wave or other transport mechanism and includes any information delivery media as known to those skilled in the art.
The preferred embodiments of the present application have been described above with reference to the accompanying drawings, and are not intended to limit the scope of the claims of the application accordingly. Any modifications, equivalents and improvements which may occur to those skilled in the art without departing from the scope and spirit of the present application are intended to be within the scope of the claims of the present application.

Claims (9)

Translated fromChinese
1.一种用户路由方法,所述方法包括:1. A user routing method, the method comprising:接收用户接入网络功能NF发送的操作请求;Receive an operation request sent by the user access network function NF;确定用户数据的归属统一数据仓储UDR;用户数据路由信息集中在本地公用陆地移动网络HPLMN;Determine the attribution of user data to the unified data warehouse UDR; user data routing information is concentrated in the local public land mobile network HPLMN;从所述归属UDR中获取用户数据,并根据所述用户数据向所述用户接入NF返回操作响应;Obtain user data from the home UDR, and return an operation response to the user access NF according to the user data;所述确定用户数据的归属UDR包括:The determining the home UDR of the user data includes:根据用户标识查询用户路由数据中心URDC存储的用户数据路由信息确定所述归属UDR;或者根据用户标识查询本地缓存的用户数据路由信息确定所述归属UDR。The home UDR is determined by querying the user data routing information stored in the user routing data center URDC according to the user ID; or the home UDR is determined by querying the locally cached user data routing information according to the user ID.2.根据权利要求1所述的方法,其特征在于,所述确定用户数据的归属UDR,之前还包括:2. The method according to claim 1, wherein before the determining the home UDR of the user data, the method further comprises:通过用户数据受理子系统向所述归属UDR发送变更用户数据操作请求;在变更用户数据操作成功的情况下,通过所述用户数据受理子系统向所述URDC发送用户数据路由信息更新请求。Send a user data change operation request to the home UDR through the user data acceptance subsystem; if the user data change operation is successful, send a user data routing information update request to the URDC through the user data acceptance subsystem.3.根据权利要求2所述的方法,其特征在于,所述变更用户数据操作包括用户放号操作、用户销号操作、用户换卡操作、用户换号操作中的至少一种。3 . The method according to claim 2 , wherein the operation of changing user data comprises at least one of an operation of assigning a number by a user, an operation of pinning a number by a user, an operation of changing a card by a user, and an operation of changing a user number. 4 .4.根据权利要求1所述的方法,其特征在于,所述确定用户数据的归属UDR,之前还包括:4. The method according to claim 1, wherein the determining the home UDR of the user data further comprises:接收所述URDC广播的用户数据路由信息更新通知;根据所述用户数据路由信息更新通知,获取所述URDC更新的用户数据路由信息;将获取到的所述URDC更新的用户数据路由信息存储到所述本地缓存。Receive the user data routing information update notification broadcasted by the URDC; obtain the user data routing information updated by the URDC according to the user data routing information update notification; store the obtained user data routing information updated by the URDC in the local cache.5.根据权利要求1所述的方法,其特征在于,所述从所述归属UDR中获取用户数据包括:5. The method according to claim 1, wherein the obtaining user data from the home UDR comprises:访问所述归属UDR的用户数据;接收所述归属UDR返回的用户数据。Access the user data of the home UDR; receive the user data returned by the home UDR.6.一种用户路由方法,所述方法包括:6. A user routing method, the method comprising:根据统一数据管理UDM的地址信息,向所述UDM发送操作请求;以使得所述UDM接收所述用户接入NF发送的操作请求;确定用户数据的归属UDR;从所述归属UDR中获取用户数据,并根据所述用户数据向用户接入NF返回操作响应;用户数据路由信息集中在本地公用陆地移动网络HPLMN;获取所述UDM返回的操作响应;Send an operation request to the UDM according to the address information of the unified data management UDM; so that the UDM receives the operation request sent by the user access NF; determine the home UDR of the user data; obtain the user data from the home UDR , and return an operation response to the user access NF according to the user data; the user data routing information is concentrated in the local public land mobile network HPLMN; obtain the operation response returned by the UDM;所述确定用户数据的归属UDR包括:根据用户标识查询用户路由数据中心URDC存储的用户数据路由信息确定所述归属UDR;或者根据用户标识查询本地缓存的用户数据路由信息确定所述归属UDR。The determining the home UDR of the user data includes: querying the user data routing information stored in the user routing data center URDC according to the user ID to determine the home UDR; or querying locally cached user data routing information to determine the home UDR according to the user ID.7.根据权利要求6所述的方法,其特征在于,所述根据统一数据管理UDM的地址信息,向所述UDM发送操作请求,之前还包括:7. The method according to claim 6, characterized in that, sending an operation request to the UDM according to the address information of the unified data management UDM, further comprising:从网络发现功能NRF中获取所述UDM的地址信息;或者从本地配置中获取所述UDM的地址信息。The address information of the UDM is obtained from the network discovery function NRF; or the address information of the UDM is obtained from the local configuration.8.一种用户路由设备,其特征在于,所述设备包括存储器、处理器及存储在所述存储器上并可在所述处理器上运行的用户路由程序,所述用户路由程序被所述处理器执行时实现如权利要求1至5中任一项所述的用户路由方法的步骤或者所述用户路由程序被所述处理器执行时实现如权利要求6至7中任一项所述的用户路由方法的步骤。8. A user routing device, characterized in that the device comprises a memory, a processor, and a user routing program stored on the memory and running on the processor, the user routing program being processed by the processing The steps of implementing the user routing method according to any one of claims 1 to 5 when the processor is executed or the user routing program according to any one of claims 6 to 7 is realized when the user routing program is executed by the processor. The steps of the routing method.9.一种计算机可读存储介质,其特征在于,所述计算机可读存储介质上存储有用户路由程序,所述用户路由程序被处理器执行时实现如权利要求1至5中任一项所述的用户路由方法的步骤或者所述用户路由程序被处理器执行时实现如权利要求6至7中任一项所述的用户路由方法的步骤。9. A computer-readable storage medium, characterized in that a user routing program is stored on the computer-readable storage medium, and when the user routing program is executed by a processor, any one of claims 1 to 5 is implemented. When the steps of the user routing method described above or the user routing program is executed by the processor, the steps of the user routing method according to any one of claims 6 to 7 are implemented.
CN201810753546.2A2018-07-102018-07-10User routing method, device and computer readable storage mediumActiveCN110708693B (en)

Priority Applications (1)

Application NumberPriority DateFiling DateTitle
CN201810753546.2ACN110708693B (en)2018-07-102018-07-10User routing method, device and computer readable storage medium

Applications Claiming Priority (1)

Application NumberPriority DateFiling DateTitle
CN201810753546.2ACN110708693B (en)2018-07-102018-07-10User routing method, device and computer readable storage medium

Publications (2)

Publication NumberPublication Date
CN110708693A CN110708693A (en)2020-01-17
CN110708693Btrue CN110708693B (en)2022-03-01

Family

ID=69192511

Family Applications (1)

Application NumberTitlePriority DateFiling Date
CN201810753546.2AActiveCN110708693B (en)2018-07-102018-07-10User routing method, device and computer readable storage medium

Country Status (1)

CountryLink
CN (1)CN110708693B (en)

Families Citing this family (3)

* Cited by examiner, † Cited by third party
Publication numberPriority datePublication dateAssigneeTitle
CN113709749B (en)*2020-05-202024-09-13中国移动通信集团陕西有限公司Service processing method, device, system and computing equipment
CN114374963B (en)*2020-10-152025-01-07中国移动通信有限公司研究院 Information verification method, device and service registration method and device
CN114285736A (en)*2021-12-222022-04-05中国电信股份有限公司SUPI number segment configuration system, method, apparatus, network device and medium

Citations (3)

* Cited by examiner, † Cited by third party
Publication numberPriority datePublication dateAssigneeTitle
CN103796190A (en)*2012-10-312014-05-14华为技术有限公司Method and system for distinguishing users
CN107172099A (en)*2017-07-122017-09-15济南浪潮高新科技投资发展有限公司Key can configure system and method in a kind of MMtel application servers
CN107580324A (en)*2017-09-222018-01-12中国电子科技集团公司第三十研究所 A method for privacy protection of IMSI in mobile communication system

Patent Citations (3)

* Cited by examiner, † Cited by third party
Publication numberPriority datePublication dateAssigneeTitle
CN103796190A (en)*2012-10-312014-05-14华为技术有限公司Method and system for distinguishing users
CN107172099A (en)*2017-07-122017-09-15济南浪潮高新科技投资发展有限公司Key can configure system and method in a kind of MMtel application servers
CN107580324A (en)*2017-09-222018-01-12中国电子科技集团公司第三十研究所 A method for privacy protection of IMSI in mobile communication system

Non-Patent Citations (3)

* Cited by examiner, † Cited by third party
Title
26th Feb–02nd Mar 2018》.2018,*
China Mobile."Discussion on context data stored in UDR".《3GPP TSG CT4 Meeting #83 C4-182061,Montreal, CANADA*
Qualcomm Incorporated." UE capability related to integrity protection of DRBs for signalling of the maximum supported data rate per UE for integrity protection".《3GPP TSG-WG2 Meeting #127 S2-183139,Sanya, China, Apr 16 - 20 2018》.2018,*

Also Published As

Publication numberPublication date
CN110708693A (en)2020-01-17

Similar Documents

PublicationPublication DateTitle
US11018971B2 (en)Methods, systems, and computer readable media for distributing network function (NF) topology information among proxy nodes and for using the NF topology information for inter-proxy node message routing
US11991145B2 (en)Device and method for providing information of application server in mobile communication system
KR102442911B1 (en) Selection of Network Slice Identifiers
CN113225242B (en)Cross-region communication method, device and storage medium
EP3701735B1 (en)Methods and apparatus for use in reducing signal latency in a mobile network with use of localized unified data management (udm) entities
EP3747173A1 (en)Service based p-cscf discovery
WO2018161803A1 (en)Method and device for selecting network slices
US11849506B2 (en)Methods, systems, and computer readable media for routing inter-public land mobile network (inter-PLMN) messages related to existing subscriptions with network function (NF) repository function (NRF) using security edge protection proxy (SEPP)
WO2020088600A1 (en)Method and apparatus for migrating user data, and user data evolution system
CN110708693B (en)User routing method, device and computer readable storage medium
WO2017075757A1 (en)Method, device and system for selecting network function service
CN112399553A (en)Network element registration method and system, and network function storage
CN105472597B (en)Application registration method and device
US10038997B2 (en)Storing profile data in data repository local to a regional service area
CN104469734A (en) International roaming registration method and system based on dual-card terminal
US20080165943A1 (en)Method and Apparatus For Controlling a Provisioning Process In a Telecommunications System
CN102523315A (en)Method and apparatus for determining MTC-IWF entity
CN102547658A (en)Method and device for transmitting data
WO2008080903A1 (en)Mobile telecommunications system and method
US20220255996A1 (en)Systems and methods for exposing user equipment identities to applications
WO2022170510A1 (en)Method, device and computer program product for wireless communication
US20180262901A1 (en)Roaming solution
US9961061B2 (en)Node for use by a network, a system for interconnecting multiple networks and methods of operating the node and system
CN101472266B (en) Method, device and system for updating location of mobile terminal
JP2025519829A (en) COMMUNICATION METHOD, COMMUNICATION DEVICE, COMMUNICATION EQUIPMENT, AND COMPUTER STORAGE MEDIUM

Legal Events

DateCodeTitleDescription
PB01Publication
PB01Publication
SE01Entry into force of request for substantive examination
SE01Entry into force of request for substantive examination
GR01Patent grant
GR01Patent grant
TR01Transfer of patent right

Effective date of registration:20250821

Address after:No. 1, Mulong Middle Road, Jiangning Street, Jiangning District, Nanjing, Jiangsu 210000

Patentee after:ZTE Intelligent Technology Nanjing Co.,Ltd.

Country or region after:China

Address before:518000 Zhongxing building, science and technology south road, Nanshan District hi tech Industrial Park, Guangdong, Shenzhen

Patentee before:ZTE Corp.

Country or region before:China


[8]ページ先頭

©2009-2025 Movatter.jp