Movatterモバイル変換


[0]ホーム

URL:


CN110694810A - Adjustable efficient nozzle for ship desulfurization system - Google Patents

Adjustable efficient nozzle for ship desulfurization system
Download PDF

Info

Publication number
CN110694810A
CN110694810ACN201910876384.6ACN201910876384ACN110694810ACN 110694810 ACN110694810 ACN 110694810ACN 201910876384 ACN201910876384 ACN 201910876384ACN 110694810 ACN110694810 ACN 110694810A
Authority
CN
China
Prior art keywords
nozzle
nozzle pipe
wall
inlet
desulfurization system
Prior art date
Legal status (The legal status is an assumption and is not a legal conclusion. Google has not performed a legal analysis and makes no representation as to the accuracy of the status listed.)
Pending
Application number
CN201910876384.6A
Other languages
Chinese (zh)
Inventor
姚皓
王伟
黄建元
程宏
Current Assignee (The listed assignees may be inaccurate. Google has not performed a legal analysis and makes no representation or warranty as to the accuracy of the list.)
Shanghai Blue Sky Environmental Protection Technology Co Ltd
Original Assignee
Shanghai Blue Sky Environmental Protection Technology Co Ltd
Priority date (The priority date is an assumption and is not a legal conclusion. Google has not performed a legal analysis and makes no representation as to the accuracy of the date listed.)
Filing date
Publication date
Application filed by Shanghai Blue Sky Environmental Protection Technology Co LtdfiledCriticalShanghai Blue Sky Environmental Protection Technology Co Ltd
Priority to CN201910876384.6ApriorityCriticalpatent/CN110694810A/en
Publication of CN110694810ApublicationCriticalpatent/CN110694810A/en
Pendinglegal-statusCriticalCurrent

Links

Images

Classifications

Landscapes

Abstract

The invention belongs to the technical field of ship desulfurization, and particularly relates to an adjustable high-efficiency nozzle for a ship desulfurization system, which comprises a nozzle pipe and a liquid inlet, wherein the liquid inlet is connected to the upper side of the right side wall of the nozzle pipe and is communicated with the nozzle pipe; the falling seawater can be rotated through the arrangement of the spiral dispersion plate, so that the rotated seawater is dispersed through the nozzle, the rotating dispersion effect is achieved, and the contact effect with the tail gas is improved; through the cooperation between spacing ring, closing plate, the supporting spring, can make the sea water get into in the shower nozzle pipe from the inlet, and can not the backward flow.

Description

Adjustable efficient nozzle for ship desulfurization system
Technical Field
The invention relates to the technical field of ship desulfurization, in particular to an adjustable efficient nozzle for a ship desulfurization system.
Background
The wastewater treatment is to treat the wastewater by physical, chemical and biological methods, so that the wastewater is purified, the pollution is reduced, the wastewater is recycled and reused, and water resources are fully utilized.
The sewage treatment process is an effective process method for various economic, reasonable, scientific and industrial waste water of urban domestic sewage. Sewage treatment is widely applied to various fields such as buildings, agriculture, traffic, energy, petrifaction, environmental protection, urban landscape, medical treatment, catering and the like. The urban sewage treatment process is preferably determined after comprehensive technological and economic comparison according to the treatment scale, the water quality characteristics, the environmental function of the receiving water body and the local actual conditions and requirements.
The seawater flue gas desulfurization is a desulfurization process for absorbing SO2 in flue gas by using natural alkalinity of seawater. As rainwater brings alkaline substances (carbonate) of the land rock stratum into the sea, natural seawater is alkaline generally, the pH value is generally more than 7, the main components of the seawater are chloride, sulfate and a part of soluble carbonate, and the natural alkalinity is about 1.2-2.5 mmol/L in terms of bicarbonate (HCO3-), SO that the seawater has natural acid-base buffering capacity and capacity of absorbingSO 2. One basic theoretical basis for seawater desulfurization is that most of the natural sulfur is present in the ocean, sulfate is one of the main components of seawater, and most of the sulfur dioxide in the environment is finally discharged into the sea in the form of sulfate.
Need contact between sea water and the tail gas at boats and ships sea water desulfurization in-process to make the sea water react to the sulphur thing that contains in the tail gas, reach desulfurated effect, the contact that current equipment sea water got into desulfurizing tower and tail gas when using is not abundant, and the reaction effect is not good, and efficiency is lower, and the different inner chamber diameters of desulfurizing tower need different shower nozzles to make the jet surface satisfy and be full of the desulfurizing tower, thereby guarantee the effect of sea water and tail gas contact.
Disclosure of Invention
The invention aims to provide an adjustable efficient nozzle for a ship desulfurization system, and aims to solve the problems that when the existing equipment provided in the background art is used, seawater enters a desulfurization tower and is not in sufficient contact with tail gas, the reaction effect is poor, the efficiency is low, different spray heads are required for different diameters of inner cavities of the desulfurization tower, the spray surface is full of the desulfurization tower, and the contact effect of the seawater and the tail gas is guaranteed.
In order to achieve the purpose, the invention provides the following technical scheme: an adjustable high-efficiency nozzle for a ship desulfurization system comprises a nozzle pipe and a liquid inlet, wherein the liquid inlet is connected to the upper side of the right side wall of the nozzle pipe, the liquid inlet is communicated with the nozzle pipe, a nozzle is arranged at the bottom end of the nozzle pipe, a dispersion stop block is arranged on the lower side of an inner cavity of the nozzle, a support column is connected to the upper end of the dispersion stop block, the upper end of the support column extends to the upper side of the nozzle pipe, an installation support is sleeved on the outer wall of the support column and positioned on the upper side of the nozzle pipe, the bottom end of the installation support is fixedly connected to the top end of the nozzle pipe through a screw, spiral dispersion plates are arranged on the middle lower side of the outer wall of the support column, the spiral dispersion plates are positioned in the inner cavity of the nozzle pipe, positioning screws are connected to the installation support frame through screw threads, positioning holes are uniformly, the utility model discloses a shower nozzle, including nozzle pipe, inlet, mounting panel, outer wall, support spring, pivot pin, two centre gripping nuts, the left side wall middle part of nozzle pipe has branch through the round pin hub connection, the left end welding of branch has the mounting panel, it has fastening screw to peg graft on the mounting panel, the outer wall right side of inlet is provided with the external screw thread, the outer wall right side of inlet has two centre gripping nuts through the external screw thread spiro union, the inner chamber left side of inlet is provided with the spacing ring, the left side of spacing ring has the closing plate through the round pin hub connection.
Preferably, the spout is in a flaring shape with a large lower part and a small upper part, and the dispersion stop block is in a large lower part and a small upper part matched with the spout.
Preferably, the outer wall of the strut is sleeved with a sealing ring, and the sealing ring is arranged at the upper end of the inner cavity of the nozzle pipe.
Preferably, the spiral dispersion plate is positioned at the lower side of the liquid inlet.
Preferably, the outer wall of the pillar is provided with a limiting slide rail along the axial direction of the pillar, and the upper end of the nozzle pipe is provided with a sliding groove matched with the limiting slide rail.
Preferably, the edge of the left side wall of the limit ring is bonded with a sealing check ring through an adhesive, the sealing check ring is a rubber sealing check ring, and the right side wall of the sealing plate is supported on the left side of the sealing check ring.
Preferably, the outer wall of the support post is sleeved with a linear bearing, and the linear bearing is embedded in the upper surface of the spray head pipe.
Preferably, the top end of the strut is in threaded connection with a limiting baffle.
Compared with the prior art, the invention has the beneficial effects that:
1) the distance between the dispersing stop block and the nozzle can be adjusted through the adjusting function of the positions of the dispersing stop block and the support relative to the mounting support, so that the adjusting function of the spraying range of the seawater is realized, and the smaller the distance between the dispersing stop block and the nozzle is, the larger the pressure of the sprayed seawater is, so that the spraying range of the seawater is increased; the larger the distance between the dispersion stop block and the nozzle is, the smaller the pressure of the sprayed seawater is, so that the spraying range of the seawater is reduced, and the targeted adjustment effect can be performed according to different desulfurization tower bodies;
2) the falling seawater can be rotated through the arrangement of the spiral dispersion plate, so that the rotated seawater is dispersed through the nozzle, the rotating dispersion effect is achieved, and the contact effect with the tail gas is improved;
3) through the cooperation between spacing ring, closing plate, the supporting spring, can make the sea water get into in the shower nozzle pipe from the inlet, and can not the backward flow.
Drawings
FIG. 1 is a schematic structural view of the present invention;
FIG. 2 is a schematic view of the internal structure of the nozzle tube according to the present invention;
FIG. 3 is an enlarged view of portion A of FIG. 2 according to the present invention;
FIG. 4 is a schematic view of the internal structure of the liquid inlet of the present invention.
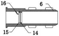
In the figure: 1 nozzle pipe, 2 nozzles, 3 dispersing stop blocks, 4 pillars, 5 mounting brackets, 6 liquid inlets, 7 clamping nuts, 8 support rods, 9 fastening screws, 10 spiral dispersing plates, 11 positioning holes, 12 positioning screws, 13 limiting slide rails, 14 limiting rings, 15 sealing plates and 16 supporting springs.
Detailed Description
The technical solutions in the embodiments of the present invention will be clearly and completely described below with reference to the drawings in the embodiments of the present invention, and it is obvious that the described embodiments are only a part of the embodiments of the present invention, and not all of the embodiments. All other embodiments, which can be derived by a person skilled in the art from the embodiments given herein without making any creative effort, shall fall within the protection scope of the present invention.
In the description of the present invention, it is to be understood that the terms "upper", "lower", "front", "rear", "left", "right", "top", "bottom", "inner", "outer", and the like, indicate orientations or positional relationships based on the orientations or positional relationships shown in the drawings, are merely for convenience in describing the present invention and simplifying the description, and do not indicate or imply that the device or element being referred to must have a particular orientation, be constructed and operated in a particular orientation, and thus, should not be construed as limiting the present invention.
Example (b):
referring to fig. 1-4, the present invention provides a technical solution: an adjustable high-efficiency nozzle for a ship desulfurization system comprises anozzle pipe 1 and aliquid inlet 6, wherein theliquid inlet 6 is connected to the upper side of the right side wall of thenozzle pipe 1, theliquid inlet 6 is communicated with thenozzle pipe 1, and seawater enters thenozzle pipe 1 through theliquid inlet 6;
anozzle 2 is arranged at the bottom end of thenozzle pipe 1, a dispersingstop block 3 is arranged on the lower side of an inner cavity of thenozzle 2, asupport column 4 is connected to the upper end of the dispersingstop block 3, the upper end of thesupport column 4 extends to the upper side of thenozzle pipe 1, aninstallation support 5 is sleeved on the outer wall of thesupport column 4 and located on the upper side of thenozzle pipe 1, and seawater in thenozzle pipe 1 is sprayed out through thenozzle 2;
the bottom end of themounting support 5 is fixedly connected to the top end of thenozzle pipe 1 through a screw, the lower side of the outer wall of thesupport column 4 is provided with a spiral dispersion plate 10, the spiral dispersion plate 10 is positioned in the inner cavity of thenozzle pipe 1, themounting support 5 is in threaded connection with apositioning screw 12, the upper side of the outer wall of thesupport column 4 is uniformly provided with positioningholes 11 from top to bottom, thepositioning screws 12 are inserted in thepositioning holes 11, thesupport column 4 can drive the dispersingstop blocks 3 to move up and down, so that the effect of changing the distance between thenozzle 2 and the dispersingstop blocks 3 is realized, the pressure of discharged water can be adjusted, the spraying range of seawater can be adjusted, and thesupport column 4 with the height adjusted can be subjected to position positioning effect through the matching;
the middle part of the left side wall of thespray head pipe 1 is connected with a supportingrod 8 through a pin shaft, the left end of the supportingrod 8 is welded with a mounting plate, a fasteningscrew 9 is inserted on the mounting plate, and the mounting plate is connected with the inner wall of the desulfurizing tower through the fasteningscrew 9 to fix thespray head pipe 1;
the right side of the outer wall of theliquid inlet 6 is provided with an external thread, the right side of the outer wall of theliquid inlet 6 is in threaded connection with twoclamping nuts 7 through the external thread, and the twoclamping nuts 7 are respectively screwed between the inner wall and the outer wall of the desulfurization tower to achieve the fastening effect;
the inner chamber left side ofinlet 6 is provided withspacing ring 14, and there is aclosing plate 15spacing ring 14's left side through round pin hub connection, and the left side wall upside ofclosing plate 15 is connected with supportingspring 16, and supportingspring 16's left end and the inner chamber upper surface left side fixed connection ofinlet 6, sea water can be through 14 departments of spacing ring withclosing plate 15 break and make supportingspring 16 compress to arrange the sea water into inshower nozzle pipe 1.
SO in tail gas2Contact with seawater takes place for the following main reactions:
SO2(gaseous) + H2O→H2SO3→H++HSO3-
HSO3-→H++SO32-
SO32-+1/2O2→SO42-
The reaction is absorption and oxidation process, and the seawater absorbs gaseous SO in the tail gas2Generation of H2SO3,H2SO3Will not be stable and will decompose into H+And HSO3-,HSO3-Instability will continue to decompose into H+With SO32-。SO32-Can be combined with dissolved oxygen in water to be oxidized into SO42-. However, the dissolved oxygen in water is very little, generally about 7-8 mg/l, and is far from absorbing SO2SO produced32-By oxidation to SO42-
Absorption of SO2H in the seawater+The concentration is increased to enhance the acidity of the seawater, the pH value is generally about 3, the seawater is strong in acidity, fresh alkaline seawater is needed to neutralize and improve the pH value, and H in the desulfurized seawater+The following reactions with carbonate in fresh seawater occur:
HSO3-+H+→H2CO3→CO2↑+H2O
while the neutralization reaction is carried out, a large amount of air is blown into the seawater for aeration, and the functions of the method mainly comprise: (1) adding SO32-Oxidized to SO42-(ii) a (2) Uses the mechanical force thereof to neutralize a large amount of CO generated in the reaction2Driving out of the water surface; (3) improve the dissolved oxygen of the desulfurized seawater and discharge the desulfurized seawater after reaching the standard.
As can be seen from the above reaction, seawater desulfurization does not add any chemical desulfurizing agent except seawater and air, and seawater is recovered to increase SO42-However, the salt content of seawater is usually 2700mg/l, and the sulfate content increased by desulfurization is about 70-80 mg/l, which belongs to the normal fluctuation range of natural seawater.
Thespout 2 is in a flaring shape with a large lower part and a small upper part, and the dispersingstop block 3 is in a large lower part and a small upper part which are matched with thespout 2, so that the seawater can be diffused to the periphery.
The outer wall of thesupport column 4 is sleeved with a sealing ring, and the sealing ring is arranged at the upper end of the inner cavity of thenozzle pipe 1, so that a sealing effect is achieved.
The helical dispersion plate 10 is located on the lower side of theliquid inlet 6.
The outer wall of thepillar 4 is provided with a limitingslide rail 13 along the axial direction of thepillar 4, the upper end of thenozzle pipe 1 is provided with a slide groove matched with the limitingslide rail 13 and does not pass through the matching effect of the limitingslide rail 13 and the slide groove, so that thepillar 4 can only longitudinally move relative to thenozzle pipe 1 and cannot rotate.
The left side wall edge ofspacing ring 14 has the sealing washer through the bonding of adhesive, and the sealing washer is rubber sealing washer, and the right side wall ofclosing plate 15 supports in the left side of sealing washer, through the setting of sealing washer, can play sealed effect.
The outer wall of thesupport column 4 is sleeved with a linear bearing, and the linear bearing is embedded into the upper surface of thespray head pipe 1, so that thesupport column 4 can move smoothly.
The top end of thestrut 4 is screwed with a limit baffle.
While there have been shown and described the fundamental principles and essential features of the invention and advantages thereof, it will be apparent to those skilled in the art that the invention is not limited to the details of the foregoing exemplary embodiments, but is capable of other specific forms without departing from the spirit or essential characteristics thereof; the present embodiments are therefore to be considered in all respects as illustrative and not restrictive, the scope of the invention being indicated by the appended claims rather than by the foregoing description, and all changes which come within the meaning and range of equivalency of the claims are therefore intended to be embraced therein, and any reference signs in the claims are not intended to be construed as limiting the claim concerned.
Although embodiments of the present invention have been shown and described, it will be appreciated by those skilled in the art that changes, modifications, substitutions and alterations can be made in these embodiments without departing from the principles and spirit of the invention, the scope of which is defined in the appended claims and their equivalents.

Claims (8)

1. The utility model provides an adjustable high efficiency nozzle that boats and ships desulfurization system used, includes shower nozzle pipe (1) and inlet (6), right side wall upside at shower nozzle pipe (1) is connected in inlet (6), and inlet (6) and shower nozzle pipe (1) intercommunication, its characterized in that: the bottom of the nozzle pipe (1) is provided with a nozzle (2), the lower side of an inner cavity of the nozzle (2) is provided with a dispersing stop block (3), the upper end of the dispersing stop block (3) is connected with a support column (4), the upper end of the support column (4) extends to the upper side of the nozzle pipe (1), an installation support (5) is sleeved on the outer wall of the support column (4) and positioned on the upper side of the nozzle pipe (1), the bottom end of the installation support (5) is fixedly connected to the top end of the nozzle pipe (1) through screws, spiral dispersing plates (10) are arranged on the middle lower side of the outer wall of the support column (4), the spiral dispersing plates (10) are positioned in the inner cavity of the nozzle pipe (1), the installation support (5) is in threaded connection with positioning screws (12), uniform positioning holes (11) are formed in the upper side of the outer wall of the support column (4) from top to bottom, and the positioning screws (, the utility model discloses a sprayer, including nozzle pipe (1), inlet (6), outer wall, support spring (16), the left side wall middle part of nozzle pipe (1) has branch (8) through round pin hub connection, the left end welding of branch (8) has the mounting panel, it has fastening screw (9) to peg graft on the mounting panel, the outer wall right side of inlet (6) is provided with the external screw thread, the outer wall right side of inlet (6) has two centre gripping nut (7) through the external screw thread spiro union, the inner chamber left side of inlet (6) is provided with spacing ring (14), the left side of spacing ring (14) has closing plate (15) through round pin hub connection, the left side wall upside of closing plate (15) is connected with supporting spring (16), the.
CN201910876384.6A2019-09-172019-09-17Adjustable efficient nozzle for ship desulfurization systemPendingCN110694810A (en)

Priority Applications (1)

Application NumberPriority DateFiling DateTitle
CN201910876384.6ACN110694810A (en)2019-09-172019-09-17Adjustable efficient nozzle for ship desulfurization system

Applications Claiming Priority (1)

Application NumberPriority DateFiling DateTitle
CN201910876384.6ACN110694810A (en)2019-09-172019-09-17Adjustable efficient nozzle for ship desulfurization system

Publications (1)

Publication NumberPublication Date
CN110694810Atrue CN110694810A (en)2020-01-17

Family

ID=69196199

Family Applications (1)

Application NumberTitlePriority DateFiling Date
CN201910876384.6APendingCN110694810A (en)2019-09-172019-09-17Adjustable efficient nozzle for ship desulfurization system

Country Status (1)

CountryLink
CN (1)CN110694810A (en)

Cited By (2)

* Cited by examiner, † Cited by third party
Publication numberPriority datePublication dateAssigneeTitle
CN113620030A (en)*2021-08-132021-11-09江西冠溢陶瓷有限公司 A water washing device for coal ash treatment
CN119472460A (en)*2025-01-092025-02-18上海蓝魂环保科技有限公司 A control system for a closed ship exhaust gas desulfurization device

Citations (8)

* Cited by examiner, † Cited by third party
Publication numberPriority datePublication dateAssigneeTitle
US5853129A (en)*1997-03-251998-12-29Spitz; Albert W.Spray nozzle
EP2647828A1 (en)*2012-04-062013-10-09Cummins Cal Pacific, LLCFluid injector
RU2563744C1 (en)*2014-10-162015-09-20Олег Савельевич КочетовAtomiser with active spreader
CN106895167A (en)*2015-12-182017-06-27纽威阀门有限公司A kind of hydraulic pressure cast steel gate valve
CN206626216U (en)*2017-04-072017-11-10浙江长兴宏盈建设工程有限公司A kind of water conservancy pipeline for possessing check function
CN206924909U (en)*2017-07-062018-01-26长沙瑞熙环保设备制造有限公司A kind of nozzle
CN207308145U (en)*2017-09-302018-05-04沈祖达One kind injection calcium hydroxide deacidification device
CN109139990A (en)*2018-11-082019-01-04盐城市景盛石化机械有限公司A kind of axial flow type check valve compound seal valve seat construction

Patent Citations (8)

* Cited by examiner, † Cited by third party
Publication numberPriority datePublication dateAssigneeTitle
US5853129A (en)*1997-03-251998-12-29Spitz; Albert W.Spray nozzle
EP2647828A1 (en)*2012-04-062013-10-09Cummins Cal Pacific, LLCFluid injector
RU2563744C1 (en)*2014-10-162015-09-20Олег Савельевич КочетовAtomiser with active spreader
CN106895167A (en)*2015-12-182017-06-27纽威阀门有限公司A kind of hydraulic pressure cast steel gate valve
CN206626216U (en)*2017-04-072017-11-10浙江长兴宏盈建设工程有限公司A kind of water conservancy pipeline for possessing check function
CN206924909U (en)*2017-07-062018-01-26长沙瑞熙环保设备制造有限公司A kind of nozzle
CN207308145U (en)*2017-09-302018-05-04沈祖达One kind injection calcium hydroxide deacidification device
CN109139990A (en)*2018-11-082019-01-04盐城市景盛石化机械有限公司A kind of axial flow type check valve compound seal valve seat construction

Cited By (2)

* Cited by examiner, † Cited by third party
Publication numberPriority datePublication dateAssigneeTitle
CN113620030A (en)*2021-08-132021-11-09江西冠溢陶瓷有限公司 A water washing device for coal ash treatment
CN119472460A (en)*2025-01-092025-02-18上海蓝魂环保科技有限公司 A control system for a closed ship exhaust gas desulfurization device

Similar Documents

PublicationPublication DateTitle
CN110694810A (en)Adjustable efficient nozzle for ship desulfurization system
CN105236609A (en)Efficient ammonia nitrogen blowoff and hexamethylenetetramine synthesis closed loop treatment system
CN103977692A (en)Seawater desulfurization device applicable to ships
CN203564953U (en)Acid mist purification tower
CN209254479U (en)A kind of prewashing device of flue gas dechlorination
CN214598225U (en)Liquid sputtering mixing device for wet desulphurization
CN110227336A (en)A kind of biological sequestration flue gas purification system and its method
CN106115858A (en)A kind of high efficiency electrochemical waste water treatment device and control method thereof and application
CN207734822U (en)Coking system acid tail gas cleanup unit
CN209917625U (en)Spray set of sea water desulfurizing tower
CN221244614U (en)Desulfurizing device with circulation spraying function
CN211098370U (en)Novel spray desulfurizing tower
CN206295798U (en)A kind of wet desulphurization device with float valve sieve aperture combined tray
CN1177755C (en)Preparation device and process of high-purity chlorine dioxide stable liquid
CN110548367A (en)High-efficient nozzle that boats and ships desulfurization system used
CN201880464U (en)Seawater desulfurizer
CN207418449U (en)Novel desulfurization seawater aeration device
CN212476300U (en)Forced flowing aeration tank of seawater desulfurization system
CN214319733U (en)High stability flue gas desulfurization device
CN110054251B (en)Ultraviolet light catalytic device for treating organic pollutants in river channel
CN108889098B (en)Energy-saving ammonia process modified by gypsum-process desulfurization device
CN201211462Y (en)High pressure fine water mist desulfurizing-dusting apparatus with prepositive dry dust collector
CN110721585A (en)Collision formula boats and ships sea water sweetener
CN206168199U (en)Desulfurizing tower with hold one's breath and aeration equipment
CN212999301U (en)Integrated desulfurization and denitrification device

Legal Events

DateCodeTitleDescription
PB01Publication
PB01Publication
SE01Entry into force of request for substantive examination
SE01Entry into force of request for substantive examination
RJ01Rejection of invention patent application after publication
RJ01Rejection of invention patent application after publication

Application publication date:20200117


[8]ページ先頭

©2009-2025 Movatter.jp