Movatterモバイル変換


[0]ホーム

URL:


CN110653489B - A fast calibration method for multi-galvo mirrors - Google Patents

A fast calibration method for multi-galvo mirrors
Download PDF

Info

Publication number
CN110653489B
CN110653489BCN201910880933.7ACN201910880933ACN110653489BCN 110653489 BCN110653489 BCN 110653489BCN 201910880933 ACN201910880933 ACN 201910880933ACN 110653489 BCN110653489 BCN 110653489B
Authority
CN
China
Prior art keywords
galvanometer
calibration method
target
target array
origin
Prior art date
Legal status (The legal status is an assumption and is not a legal conclusion. Google has not performed a legal analysis and makes no representation as to the accuracy of the status listed.)
Active
Application number
CN201910880933.7A
Other languages
Chinese (zh)
Other versions
CN110653489A (en
Inventor
范美极
杨东辉
袁佐鹏
Current Assignee (The listed assignees may be inaccurate. Google has not performed a legal analysis and makes no representation or warranty as to the accuracy of the list.)
Xian Bright Laser Technologies Co Ltd
Original Assignee
Xian Bright Laser Technologies Co Ltd
Priority date (The priority date is an assumption and is not a legal conclusion. Google has not performed a legal analysis and makes no representation as to the accuracy of the date listed.)
Filing date
Publication date
Application filed by Xian Bright Laser Technologies Co LtdfiledCriticalXian Bright Laser Technologies Co Ltd
Priority to CN201910880933.7ApriorityCriticalpatent/CN110653489B/en
Publication of CN110653489ApublicationCriticalpatent/CN110653489A/en
Application grantedgrantedCritical
Publication of CN110653489BpublicationCriticalpatent/CN110653489B/en
Activelegal-statusCriticalCurrent
Anticipated expirationlegal-statusCritical

Links

Images

Classifications

Landscapes

Abstract

Translated fromChinese

本发明公开了一种多振镜快速校准方法振镜控制系统的多个振镜控制光路发射器发出的光束在振镜校正板上打出标靶阵列;将振镜校正板放置在接触式扫描仪上,运行接触式扫描仪采集标靶阵列图像;图像处理模块利用采集的标靶阵列图像获取到多个振镜的标靶阵列的相对坐标值及其旋转和平移量;本发明提供的一种多振镜快速校准方法一次性打出多个振镜的标靶阵列,然后使用低廉的接触式扫描仪采集标靶阵列图像,通过图像处理模块对采集的图像处理,输出多个单振镜补偿文件和多振镜之间的拼接信息,低成本、高效率、高精度地实现对振镜的校准,同时适用任意形式的振镜排布。

Figure 201910880933

The invention discloses a multi-galvanometer rapid calibration method. The beams emitted by a plurality of galvanometer-controlled optical path transmitters of a galvanometer control system are used to create a target array on a galvanometer correction plate; the galvanometer correction plate is placed on a contact scanner. , run the contact scanner to collect the image of the target array; the image processing module uses the collected image of the target array to obtain the relative coordinate values of the target arrays of multiple galvanometers and their rotation and translation; the invention provides a The multi-galvanometer rapid calibration method prints a target array of multiple galvanometers at one time, and then uses an inexpensive contact scanner to collect images of the target array, processes the collected images through the image processing module, and outputs multiple single-galvanometer compensation files It can realize the calibration of the galvanometer with low cost, high efficiency and high precision, and it is suitable for any form of galvanometer arrangement.

Figure 201910880933

Description

Multi-galvanometer rapid calibration method
Technical Field
The invention belongs to the technical field of additive manufacturing, and particularly relates to a quick calibration method for a multi-galvanometer.
Background
In the technical field of additive manufacturing, a vibrating mirror is generally used for controlling a light (laser and the like) path to irradiate powder (metal, resin and the like) to solidify so as to realize the formation of complex parts; environmental changes such as temperature, humidity and vibration, mechanical abrasion of a motor and the like cause the step loss of the vibrating mirror motor, deviation is generated after a certain time, and the forming quality of parts is influenced, so that error compensation needs to be performed on the vibrating mirror in time to reduce the deviation.
In the process of using the galvanometer to perform high-precision laser processing, strict requirements on the processing precision of the galvanometer are often required, so that the galvanometer needs to be corrected in precision. In the technical field of additive manufacturing, in order to achieve the purposes of high efficiency and large breadth, a plurality of galvanometers are adopted to control optical path equipment; the galvanometer calibration of the multi-galvanometer equipment has the problems of complex operation, long time consumption and the need of an expensive measuring instrument for assistance.
Disclosure of Invention
The invention aims to provide a method for quickly calibrating a multi-galvanometer, which solves the problems of complex operation and long consumed time in the splicing calibration process of the multi-galvanometer in the prior art.
The technical scheme adopted by the invention is a quick calibration method for a multi-galvanometer, which is implemented according to the following steps:
step 1: a plurality of galvanometer control light path emitters of the galvanometer control system emit light beams which strike a target array on a galvanometer correction plate;
all the galvanometers use the target positions of respective light-emitting original points as original points, and the scanning X, Y directions of the respective galvanometers as X and Y axes to form a plurality of cross coordinate systems, and the working range of the multi-galvanometer is the collection of the areas covered by the target arrays in the plurality of cross coordinate systems;
one of the vibrating mirrors is selected as a reference vibrating mirror, and the coordinates of the original points of the other vibrating mirrors in the coordinate system of the reference vibrating mirror are marked as p0、p1、p2… …, standard coordinates of the target arrays of the galvanometers in the respective cross coordinate systems are marked as m0、m1、m2… …, the maximum allowable target array deviation is designated as L, the maximum allowable galvanometer translation deviation is designated as M, and the maximum allowable galvanometer rotation deviation is designated as A.
Step 2, placing the galvanometer correction plate on a contact scanner, and operating the contact scanner to acquire a target array image;
step 3, the image processing module acquires relative coordinate values and rotation and translation quantities of the target arrays of the vibrating mirrors by using the target array images acquired in thestep 2;
step 3.1: and identifying the positions of all the cross points of the parallel oblique lines in the image, simultaneously selecting any point as an origin, taking the lower right direction as the positive direction of an X axis, taking the upper right direction as the positive direction of a Y axis, taking the interval length of the parallel oblique lines as a unit to form a grid coordinate system, and storing all the integral point coordinates and the image pixels to a set S.
Step 3.2: identifying the target array (target array) of each galvanometer in the imageRow preset interval is between 5mm and 10 mm), the position of the target of the light-emitting original point of the target array of each vibrating mirror is taken as the original point, the scanning X, Y direction of the vibrating mirror is taken as the positive direction of an X axis and the positive direction of a Y axis, the interval of the target array is taken as a unit to form a plurality of target array coordinate systems, and all integral point coordinates and image pixels of the vibrating mirrors in the target array coordinate systems are respectively stored to a set S00、S01、S02……。
Step 3.3: calculating set S from set S00、S01、S02… … in the grid coordinate system, and converting the actual coordinates into coordinate values in the cross coordinate system with the target position of the light-emitting origin of each galvanometer as the origin, and storing in the set S0、S1、S2… …, respectively.
Step 3.4: calculate the set S0、S1、S2… … and the angle between the positive X-axis direction of the grid coordinate system is denoted as A00、A01、A02… …, the angle relative to the reference galvanometer is denoted A0、A1、A2……;
Step 3.5: calculating the coordinate of the origin of each galvanometer in the coordinate system of the reference galvanometer, and combining the coordinate with the coordinate p0、p1、p2… … calculate the coordinate of each galvanometer to be shifted, and is marked as P0、P1、P2……
Wherein p is0、p1、p2… … is the coordinate of the origin of each galvanometer in the coordinate system of the reference galvanometer;
step 4, go through S0、S1、S2… …, respectively and m0、m1、m2… …, performing deviation value operation, if the deviation value is larger than the maximum allowable deviation value L, indicating that the current galvanometer needs to be corrected, and generating a current galvanometer coordinate compensation file.
Traverse P0、P1、P2… …, if the component of the offset of a galvanometer in the X-axis direction or the Y-axis direction is larger than the maximum value M of the allowed translation deviation, it indicates that the galvanometer needs to be moved currentlyAnd translating to generate a current galvanometer translation compensation file.
Traverse A0、A1、A2… …, if the rotation angle of a vibrating mirror is larger than the allowable rotation deviation A, indicating that the current vibrating mirror is rotating to generate a current vibrating mirror angle compensation file;
step 5, if the generated compensation file is not modified in thestep 4, ending the process; and if the compensation file is generated, thegalvanometer control system 2 leads each compensation file in thestep 4 into an image processing module.
The present invention is also characterized in that,
the contact type scanner comprises a light-transmitting glass flat plate, wherein two groups of parallel oblique lines fixed at intervals are arranged on outer side lines of the light-transmitting glass flat plate, and the two groups of parallel oblique lines are vertically intersected to form a plurality of uniformly arranged cross points.
The target arrays are equally spaced.
The target arrays are preset at intervals of between 5mm and 10 mm.
The maximum allowable deviation L of the target array ranges from 0.03 mm to 0.08 mm.
The maximum value M range of the allowed translation deviation of the galvanometer is 0.02-0.05 mm.
The maximum allowable rotation deviation value A of the galvanometer is within the range of 0.002-0.005 degrees.
The resolution of the contact scanner is between 600dpi and 2400 dpi.
The method for rapidly calibrating the multi-galvanometer provided by the invention can be used for shooting the target arrays of the multi-galvanometer at one time, then collecting the target array images by using a low-cost contact scanner, processing the collected images by using the image processing module, outputting splicing information between a plurality of single-galvanometer compensation files and the multi-galvanometer, and realizing the calibration of the galvanometers at low cost, high efficiency and high precision. Any mode of arrangement of the galvanometers is applicable, including but not limited to 1 x 2, 2 x 3 and other arrangements of the galvanometers.
Drawings
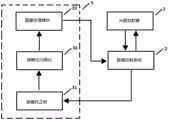
FIG. 1 is a schematic diagram of a module structure of a galvanometer calibration system in a multi-galvanometer fast calibration method of the present invention;
FIG. 2 is a schematic view of a scanner transparent glass plate in the multi-galvanometer rapid calibration method of the present invention;
FIG. 3 is a schematic diagram of a workflow of a multi-galvanometer fast calibration method of the present invention;
FIG. 4 is a schematic diagram of a galvanometer target array in a multi-galvanometer fast calibration method of the present invention;
FIG. 5 is a detailed image of an embodiment of a multi-galvanometer fast calibration method of the present invention.
In the figure, 1, an optical path emitter, 2, a galvanometer control system, 3, a galvanometer correction system, 31, a galvanometer correction plate, 32, a contact scanner and 33, an image processing module.
Detailed Description
The multi-galvanometer calibration method provided by the invention uses a contact scanner to acquire images of target arrays on a calibration plate projected by a plurality of galvanometers, and outputs compensation information of the plurality of galvanometers and splicing information among the galvanometers to calibrate the galvanometers after the acquired target arrays are processed by an image processing module; the galvanometer can be corrected with low cost, high efficiency and high precision without auxiliary measuring equipment.
Fig. 1 shows a module structure of the galvanometer correction system provided by the invention, and the working principle of the module structure is detailed as follows.
Thegalvanometer correction system 3 comprises agalvanometer correction plate 31, a contact scanner 32 and animage processing module 33, wherein thelight path emitter 1 emits light paths, and thegalvanometer control system 2 controls a plurality of galvanometer light paths to emit target arrays to be sintered on thegalvanometer correction plate 31; a contact scanner 32 (with a resolution of 600dpi to 2400 dpi) is used to acquire images of the target array on thegalvanometer calibration plate 31; theimage processing module 33 is configured to process the acquired image and generate a galvanometer compensation file and stitching information.
Thegalvanometer correcting plate 31 is used as a hardware carrier of the galvanometer target array, and is required to be a flat-plate-shaped material which has good flatness and is not easy to deform, and the material has obvious color change after receiving irradiation of a light path controlled by the galvanometer.
The contact scanner 32 is used as an image acquisition module in the system, and a commercially available contact scanner is selected, wherein the scanner is provided with a light-transmitting glass flat plate for placing an object to be scanned; as part of the system of the present invention, the transparent glass plate of the contact scanner 32 needs to be modified to some extent, and two groups of parallel oblique lines fixed at intervals are arranged on the outer side (the side contacting with the object to be scanned) of the transparent glass plate, and the two groups of parallel lines are intersected vertically, and fig. 2 is a schematic diagram of the parallel oblique lines of the patterns on the transparent glass plate of the scanner.
Fig. 3 shows a flowchart of a method for fast calibrating a galvanometer according to the present invention, which is detailed as follows:
step 1: the plurality of galvanometer control optical path emitters 1 of thegalvanometer control system 2 direct the plurality of optical paths onto thegalvanometer correction plate 31. FIG. 4 is a schematic diagram of a target array on a galvanometer calibration plate, with equal spacing of the target arrays of each galvanometer, and with the target arrays of multiple galvanometers intersecting but not coincident; all the galvanometers form a plurality of cross coordinate systems by taking the positions of the targets of the respective light-emitting origins as the origins and the scanning X, Y directions of the respective galvanometers as X and Y axes, and the working range of the multi-galvanometer is the collection of the areas covered by the target arrays in the coordinate systems.
One of the vibrating mirrors is selected as a reference vibrating mirror, and the coordinates of the original points of the other vibrating mirrors in the coordinate system of the reference vibrating mirror are marked as p0、p1、p2… …, the standard coordinate of the target arrays of the galvanometers in the respective cross coordinate systems is marked as m0、m1、m2… …, marking the maximum allowable deviation of the target array as L (generally 0.03-0.08 mm), marking the maximum allowable translational deviation of the galvanometer as M (0.02-0.05mm), and marking the maximum allowable rotational deviation of the galvanometer as A (0.002-0.005 deg);
generally, a galvanometer at the bottom right corner is selected as a reference galvanometer;
step 2: placing thegalvanometer correction plate 31 on a contact scanner 32, and operating the scanner to acquire images by using software; figure 5 shows an image of a case of the invention in which the target array and parallel diagonal lines are clearly visible.
And step 3: theimage processing module 33 acquires the relative coordinate values and the rotation and translation values of the target arrays of the galvanometers by using the image acquired in step S2, and the specific steps are as follows:
1. and identifying the positions of all parallel oblique line cross points in the image, simultaneously selecting any point as an origin, taking the lower right direction as the positive direction of an X axis, taking the upper right direction as the positive direction of a Y axis, forming a parallel oblique line cross point coordinate system by taking the interval length of the parallel oblique lines as a unit, and storing all integral point coordinates and image pixels to a set S.
2. Respectively identifying a target array of each galvanometer in the image, forming a plurality of target array coordinate systems by taking the X, Y direction of scanning the galvanometer as the positive X-axis direction and the positive Y-axis direction and taking the interval of the target arrays as a unit by taking the position of the target of the light-emitting origin of each galvanometer as the origin, and respectively storing all integral point coordinates and image pixels of the galvanometers in the target array coordinate systems to a set S00、S01、S02……。
3. Calculating set S from set S00、S01、S02… … in the grid coordinate system, converting into coordinate values in the cross coordinate system with the central point of each galvanometer as the origin, and storing in the set S0、S1、S2… …, respectively.
4. Calculate the set S0、S1、S2… … and the angle between the positive X-axis direction of the grid coordinate system is denoted as A00、A01、A02… …, the angle relative to the reference galvanometer is denoted A0、A1、A2……。
5. Calculating the coordinate of the origin of each galvanometer in the coordinate system of the reference galvanometer, and combining the coordinate with the coordinate p0、p1、p2… … calculate the coordinate of each galvanometer to be shifted, and is marked as P0、P1、P2……。
And 4, step 4: traverse S0、S1、S2… …, respectively and m0、m1、m2… … calculating deviation value, if the deviation value is larger than the maximum allowable deviation value L, indicating the current mirrorAnd (5) correcting coordinates to generate a current galvanometer coordinate compensation file.
Traverse P0、P1、P2… …, if the component of the offset of a galvanometer in the X-axis direction or the Y-axis direction is larger than the maximum value M of the allowed translation deviation, it indicates that the galvanometer needs to be translated currently, and generates a current galvanometer translation compensation file.
Traverse A0、A1、A2… …, if the rotation angle of a vibrating mirror is larger than the allowable rotation deviation A, indicating that the current vibrating mirror is rotating to generate a current vibrating mirror angle compensation file;
step 5, if the generated compensation file is not modified in thestep 4, ending the process; and if the compensation file is generated, thegalvanometer control system 2 leads each compensation file in thestep 4 into an image processing module.
In step S6, thegalvanometer control system 2 is caused to import a newly generated galvanometer compensation file
The above is a method for rapidly calibrating a multi-galvanometer provided by the invention, and an embodiment of the invention in the field of metal additive manufacturing is provided below.
The optical path emitter 1 adopts two lasers, the correctingplate 31 adopts a glass plate pasted with photographic paper, the contact scanner 32 adopts a common flat-plate scanner, the resolution ratio of the common flat-plate scanner is between 600dpi and 2400dpi, parallel oblique lines on a glass part of the scanner are engraved by laser, and the interval is between 5mm and 10 mm; fig. 5 shows that the difference between the actual coordinates of the extracted target array and the measurement result using the high-precision measurement instrument is no greater than 0.05mm for the acquired image of the dual-galvanometer using an embodiment of the present invention.
The advantages of using this calibration method to calibrate multiple galvanometers are as follows:
1) the price is low: expensive auxiliary measuring equipment is not needed to be purchased, only a common scanner is needed to be purchased,
2) the precision is high: compared with high-precision optical imaging instrument, the error is not more than 0.05mm
3) The operation is simple: except for the usual scanner, no other mechanical structure,
4) the operation is quick: the correction is performed for no more than 30 minutes once.

Claims (7)

Translated fromChinese
1.一种多振镜快速校准方法,其特征在于,具体操作步骤如下:1. a multi-galvanometer rapid calibration method, is characterized in that, the concrete operation steps are as follows:步骤1:振镜控制系统(2)的多个振镜控制光路发射器(1)发出的光束在振镜校正板(31)上打出标靶阵列;Step 1: the beams emitted by the multiple galvanometer-controlled optical path transmitters (1) of the galvanometer control system (2) hit the target array on the galvanometer correction plate (31);所有振镜以各自出光原点的标靶位置为原点、以各自振镜的扫射X、Y方向为X和Y轴组成的多个十字坐标系,多个十字坐标系内的标靶阵列覆盖的区域的合集,就是多振镜的工作范围;All galvanometers take the target position of their respective light-emitting origin as the origin, and take the scanning X and Y directions of the respective galvanometers as the X and Y axes to form multiple cross coordinate systems, and the area covered by the target arrays in the multiple cross coordinate systems The collection is the working range of the multi-galvo mirror;选取其中一个振镜作为基准振镜,其余各振镜的原点在基准振镜坐标系中的坐标记作p0、p1、p2......,振镜的标靶阵列在各自十字坐标系中的标准坐标记作m0、m1、m2......,标靶阵列允许偏差最大值记作L,振镜允许的平移偏差最大值记作M,振镜允许的旋转偏差最大值记作A;Select one of the galvanometers as the reference galvanometer, and the coordinates of the origin of the other galvanometers in the reference galvanometer coordinate system are denoted as p0 , p1 , p2 . . . The target arrays of the galvanometers are in their respective The standard coordinates in the cross coordinate system are denoted as m0 , m1 , m2 ......, the maximum allowable deviation of the target array is denoted as L, the maximum allowable translation deviation of the galvanometer is denoted as M, and the allowable The maximum value of the rotation deviation is recorded as A;步骤2,将振镜校正板(31)放置在接触式扫描仪(32)上,运行接触式扫描仪(32)采集标靶阵列图像;Step 2, placing the galvanometer correction plate (31) on the contact scanner (32), and running the contact scanner (32) to collect the target array image;步骤3,图像处理模块(33)利用步骤2采集的标靶阵列图像获取到多个振镜的标靶阵列的相对坐标值及其旋转和平移量Step 3, the image processing module (33) uses the target array image collected in step 2 to obtain the relative coordinate values of the target arrays of multiple galvanometers and their rotation and translation amounts.步骤3.1:识别出所有平行斜线交叉点在图像中的位置,同时选取任意一点为原点,右下方向为X轴正方向,右上方向为Y轴正方向,平行斜线间隔长度为一个单元形成网格坐标系,保存所有整点坐标和图像像素到集合S;Step 3.1: Identify the positions of all the intersections of parallel oblique lines in the image, and select any point as the origin, the lower right direction is the positive direction of the X axis, the upper right direction is the positive direction of the Y axis, and the interval length of the parallel oblique lines is formed by a unit. Grid coordinate system, save all integer coordinates and image pixels to set S;所述接触式扫描仪包括透光玻璃平板,在透光玻璃平板的外侧纹有间隔固定的两组平行斜线,两组平行斜线垂直相交形成若干个均匀排列的交叉点;The contact scanner includes a light-transmitting glass flat plate, and two sets of parallel oblique lines with fixed intervals are patterned on the outside of the light-transmitting glass flat plate, and the two sets of parallel oblique lines intersect vertically to form a number of evenly arranged intersections;步骤3.2:分别识别出图像中每个振镜的标靶阵列,每个振镜的标靶阵列的出光原点的标靶的位置为原点,以振镜的扫射X、Y方向为X轴正方向、Y轴正方向,以标靶阵列的间隔为一个单位形成多个标靶阵列坐标系,分别保存多个振镜在标靶阵列坐标系的所有整点坐标和图像像素到集合S00、S01、S02......;Step 3.2: Identify the target array of each galvanometer in the image, the target position of the light-emitting origin of each galvanometer target array is the origin, and the scanning X and Y directions of the galvanometer are the positive direction of the X axis , in the positive direction of the Y-axis, take the interval of the target array as a unit to form multiple target array coordinate systems, respectively save all the coordinates and image pixels of multiple galvanometers in the target array coordinate system to the sets S00 , S01 , S02 ......;步骤3.3:根据集合S计算出集合S00、S01、S02......在网格坐标系中的实际坐标、并将其转化为以各个振镜的出光原点的标靶位置为原点的十字坐标系中的坐标值,保存到集合S0、S1、S2......中;Step 3.3: Calculate the actual coordinates of the sets S00 , S01 , S02 . . . in the grid coordinate system according to the set S, and convert them into the target position of the light-emitting origin of each galvanometer as The coordinate values in the cross coordinate system of the origin are stored in the sets S0 , S1 , S2 ......;步骤3.4:计算出集合S0、S1、S2......的X轴正方向和与网格坐标系X轴正方向的夹角,记作A00、A01、A02......,相对于基准振镜的角度记作A0、A1、A2......;Step 3.4: Calculate the positive direction of the X axis of the set S0 , S1 , S2 . . . and the included angle with the positive direction of the X axis of the grid coordinate system, denoted as A00 , A01 , A02 . ....., the angle relative to the reference galvanometer is denoted as A0 , A1 , A2 ......;步骤3.5:计算每个振镜的原点实际在基准振镜坐标系中的坐标,结合p0、p1、p2......计算出每个振镜需要偏移的坐标,记作P0、P1、P2......Step 3.5: Calculate the actual coordinates of the origin of each galvanometer in the reference galvanometer coordinate system, and combine p0 , p1 , p2 ...... to calculate the coordinates that each galvanometer needs to offset, denoted as P0 , P1 , P2 ......其中,p0、p1、p2......为各振镜的原点在基准振镜坐标系中的坐标;Among them, p0 , p1 , p2 ...... are the coordinates of the origin of each galvanometer in the reference galvanometer coordinate system;步骤4,遍历S0、S1、S2......,分别和m0、m1、m2......做偏差值运算,如果存在偏差值大于允许偏差最大值L,说明当前振镜需要校正坐标,生成当前振镜坐标补偿文件;Step 4, traverse S0 , S1 , S2 ...... and perform deviation value calculation with m0 , m1 , m2 ...... respectively, if there is a deviation value greater than the maximum allowable deviation L , indicating that the current galvanometer needs to correct the coordinates, and generate the current galvanometer coordinate compensation file;遍历P0、P1、P2......,如果某个振镜的偏移在X轴方向或Y轴方向的分量大于允许的平移偏差最大值M,说明当前振镜需要平移,生成当前振镜平移补偿文件;Traverse P0 , P1 , P2 ......, if the component of the offset of a galvanometer in the X-axis direction or the Y-axis direction is greater than the maximum allowable translation deviation M, it means that the current galvanometer needs to be translated, Generate the current galvanometer translation compensation file;遍历A0、A1、A2......,如果某个振镜的旋转角度大于允许的旋转偏差A,说明当前振镜需要做旋转操作,生成当前振镜角度补偿文件;Traverse A0 , A1 , A2 ......, if the rotation angle of a galvanometer is greater than the allowable rotation deviation A, it means that the current galvanometer needs to be rotated, and the current galvanometer angle compensation file is generated;步骤5,若步骤4未修改生成补偿文件,则结束;若有生成补偿文件则令振镜控制系统(2)将步骤4所述各个补偿文件导入图像处理模块中。Step 5, if the compensation file is not modified and generated in step 4, the process ends; if the compensation file is generated, the galvanometer control system (2) is instructed to import each compensation file described in step 4 into the image processing module.2.如权利要求1所述的一种多振镜快速校准方法的校正方法,其特征在于,所述标靶阵列间隔相等。2 . The calibration method for a multi-galvo mirror rapid calibration method according to claim 1 , wherein the target arrays are at equal intervals. 3 .3.如权利要求2所述的一种多振镜快速校准方法的校正方法,其特征在于,所述标靶阵列预设间隔在5mm到10mm之间。3 . The calibration method for a multi-galvo mirror rapid calibration method according to claim 2 , wherein the preset interval of the target array is between 5 mm and 10 mm. 4 .4.如权利要求1所述的一种多振镜快速校准方法的校正方法,其特征在于,所述标靶阵列允许偏差最大值L范围是0.03~0.08mm。4 . The calibration method for a multi-galvo mirror rapid calibration method according to claim 1 , wherein the maximum allowable deviation L of the target array ranges from 0.03 mm to 0.08 mm. 5 .5.如权利要求1所述的一种多振镜快速校准方法的校正方法,其特征在于,所述振镜允许的平移偏差最大值M范围是0.02~0.05mm。5 . The calibration method for a multi-galvo mirror rapid calibration method according to claim 1 , wherein the maximum value M of translation deviation allowed by the galvanometer is 0.02 to 0.05 mm. 6 .6.如权利要求1所述的一种多振镜快速校准方法的校正方法,其特征在于,所述振镜允许的旋转偏差最大值A范围是0.002~0.005°。6 . The calibration method for a multi-galvo mirror rapid calibration method according to claim 1 , wherein the maximum allowable rotation deviation value A of the galvanometer mirrors ranges from 0.002° to 0.005°. 7 .7.如权利要求1所述的一种多振镜快速校准方法的校正方法,其特征在于,所述接触式扫描仪的分辨率在600dpi到2400dpi之间。7 . The calibration method for a multi-galvo-mirror rapid calibration method according to claim 1 , wherein the resolution of the contact scanner is between 600dpi and 2400dpi. 8 .
CN201910880933.7A2019-09-182019-09-18 A fast calibration method for multi-galvo mirrorsActiveCN110653489B (en)

Priority Applications (1)

Application NumberPriority DateFiling DateTitle
CN201910880933.7ACN110653489B (en)2019-09-182019-09-18 A fast calibration method for multi-galvo mirrors

Applications Claiming Priority (1)

Application NumberPriority DateFiling DateTitle
CN201910880933.7ACN110653489B (en)2019-09-182019-09-18 A fast calibration method for multi-galvo mirrors

Publications (2)

Publication NumberPublication Date
CN110653489A CN110653489A (en)2020-01-07
CN110653489Btrue CN110653489B (en)2021-06-29

Family

ID=69038124

Family Applications (1)

Application NumberTitlePriority DateFiling Date
CN201910880933.7AActiveCN110653489B (en)2019-09-182019-09-18 A fast calibration method for multi-galvo mirrors

Country Status (1)

CountryLink
CN (1)CN110653489B (en)

Families Citing this family (12)

* Cited by examiner, † Cited by third party
Publication numberPriority datePublication dateAssigneeTitle
CN112077451B (en)*2020-08-312023-03-07广州新可激光设备有限公司Segmentation splicing correction method of laser marking system
CN112414674A (en)*2020-10-202021-02-26天津镭明激光科技有限公司Rapid processing method for multi-galvanometer laser splicing calibration
CN113146055B (en)*2021-02-242023-12-08芜湖伦丰电子科技有限公司Laser engraving method of capacitive touch screen
CN113560602B (en)*2021-08-092023-06-13中国航空制造技术研究院Splicing area forming precision compensation method for multi-laser powder bed material-increasing workpiece
CN114054941B (en)*2021-10-292024-07-09西安铂力特增材技术股份有限公司Vibrating mirror calibration plate, device and vibrating mirror calibration method
CN114119540B (en)*2021-11-242025-03-21西安铂力特增材技术股份有限公司 Printing defect recognition method and printing defect recognition system
CN114211003B (en)*2021-12-032023-06-30湖南华曙高科技股份有限公司Multi-laser system overlap correction method for additive manufacturing equipment
CN114379081A (en)*2021-12-162022-04-22华南理工大学Double-laser double-vibrating-mirror same-breadth calibration platform and calibration method thereof
CN114485482B (en)*2022-03-042023-06-16南京铖联激光科技有限公司Calibration module of galvanometer scanning system
CN115041705B (en)*2022-08-162022-11-11季华实验室 Multi-laser three-axis galvanometer calibration method, system, device and readable storage medium
CN115922069B (en)*2023-03-152023-06-02镭神泰克科技(苏州)有限公司Vibrating mirror local correction compensation method based on double vibrating lenses
CN118123288B (en)*2024-05-102024-08-06江苏元夫半导体科技有限公司Galvanometer correction system and galvanometer correction method

Citations (13)

* Cited by examiner, † Cited by third party
Publication numberPriority datePublication dateAssigneeTitle
JPS6264488A (en)*1985-09-171987-03-23Nec CorpLaser beam machine
JPH0335892A (en)*1989-06-301991-02-15Nec CorpLaser beam machine
JP2001147399A (en)*1999-11-182001-05-29Nec CorpLaser beam machining device and adjusting method therefor
CN1484190A (en)*2002-09-182004-03-24中国人民解放军国防科学技术大学 Scanner Accurate Calibration and Correction Method Using Ordinary Scanner for Precision Measurement
CN101513693A (en)*2009-03-172009-08-26深圳市大族激光科技股份有限公司Oscillating mirror correcting system and correcting method thereof
CN102152007A (en)*2011-03-152011-08-17北京金橙子科技有限公司Precision vibration mirror correction system and method
CN104259656A (en)*2014-08-202015-01-07湖南华曙高科技有限责任公司Laser galvanometer calibration system and calibration method thereof
CN104475970A (en)*2014-12-012015-04-01大族激光科技产业集团股份有限公司Laser equipment and laser scanning galvanometer array calibrating method
CN108406095A (en)*2018-01-152018-08-17大族激光科技产业集团股份有限公司A kind of bearing calibration of laser galvanometer and means for correcting
CN109732228A (en)*2018-12-122019-05-10武汉帝尔激光科技股份有限公司A kind of laser galvanometer accuracy correcting method, apparatus and system
CN109738164A (en)*2019-01-182019-05-10深圳市鹏鼎自动化技术有限公司A kind of laser index carving galvanometer high-precision correction system and method
CN109773332A (en)*2018-12-292019-05-21大族激光科技产业集团股份有限公司A kind of bearing calibration and more galvanometers correction system of more galvanometer systems
CN109877319A (en)*2018-12-292019-06-14西安铂力特增材技术股份有限公司 A multi-galvo mirror laser precision splicing calibration method

Patent Citations (13)

* Cited by examiner, † Cited by third party
Publication numberPriority datePublication dateAssigneeTitle
JPS6264488A (en)*1985-09-171987-03-23Nec CorpLaser beam machine
JPH0335892A (en)*1989-06-301991-02-15Nec CorpLaser beam machine
JP2001147399A (en)*1999-11-182001-05-29Nec CorpLaser beam machining device and adjusting method therefor
CN1484190A (en)*2002-09-182004-03-24中国人民解放军国防科学技术大学 Scanner Accurate Calibration and Correction Method Using Ordinary Scanner for Precision Measurement
CN101513693A (en)*2009-03-172009-08-26深圳市大族激光科技股份有限公司Oscillating mirror correcting system and correcting method thereof
CN102152007A (en)*2011-03-152011-08-17北京金橙子科技有限公司Precision vibration mirror correction system and method
CN104259656A (en)*2014-08-202015-01-07湖南华曙高科技有限责任公司Laser galvanometer calibration system and calibration method thereof
CN104475970A (en)*2014-12-012015-04-01大族激光科技产业集团股份有限公司Laser equipment and laser scanning galvanometer array calibrating method
CN108406095A (en)*2018-01-152018-08-17大族激光科技产业集团股份有限公司A kind of bearing calibration of laser galvanometer and means for correcting
CN109732228A (en)*2018-12-122019-05-10武汉帝尔激光科技股份有限公司A kind of laser galvanometer accuracy correcting method, apparatus and system
CN109773332A (en)*2018-12-292019-05-21大族激光科技产业集团股份有限公司A kind of bearing calibration and more galvanometers correction system of more galvanometer systems
CN109877319A (en)*2018-12-292019-06-14西安铂力特增材技术股份有限公司 A multi-galvo mirror laser precision splicing calibration method
CN109738164A (en)*2019-01-182019-05-10深圳市鹏鼎自动化技术有限公司A kind of laser index carving galvanometer high-precision correction system and method

Also Published As

Publication numberPublication date
CN110653489A (en)2020-01-07

Similar Documents

PublicationPublication DateTitle
CN110653489B (en) A fast calibration method for multi-galvo mirrors
CN110681990A (en) A galvanometer correction system and its correction method
CN109773332B (en)Multi-galvanometer system correction method and multi-galvanometer correction system
CN108072319B (en)Rapid calibration system and calibration method for motion platform
CN111077668A (en)Correction method of large-format laser scanning system
CN104259656B (en)Laser galvanometer calibration system and calibration steps thereof
CN110497075B (en)Galvanometer correction system and galvanometer correction method
CN112371998B (en)Error calibration system and method for laser galvanometer of selective laser melting equipment
JP5515432B2 (en) 3D shape measuring device
CN109396657B (en)More Laser correctives and joining method for increasing material manufacturing equipment
JP2012225700A (en)Shape measuring device
CN210451366U (en)Galvanometer correction system
WO2018168757A1 (en)Image processing device, system, image processing method, article manufacturing method, and program
CN111981979A (en) A galvanometer laser splicing calibration device and splicing calibration method
US5291392A (en)Method and apparatus for enhancing the accuracy of scanner systems
CN109685744A (en)A kind of scanning galvanometer accuracy correcting method
CN115041705A (en) Multi-laser three-axis galvanometer calibration method, system, device and readable storage medium
CN114260560A (en)Large-breadth galvanometer correction system for regional scanning based on A3 breadth scanner
WO2024239477A1 (en)Method for correcting distortion of optical engine of dlp printer
CN116423084A (en)Automatic correction method and system for 2D vibrating mirror without additional equipment
CN106891099B (en) Automatic laser scanning galvanometer correction equipment and laser galvanometer equipment
CN114054941B (en)Vibrating mirror calibration plate, device and vibrating mirror calibration method
CN1667377A (en) Method and device for measuring beam spot of scanning light
JP5722784B2 (en) Method for adjusting a scanner and the scanner
TW202006867A (en)Calibrated laser printing method

Legal Events

DateCodeTitleDescription
PB01Publication
PB01Publication
SE01Entry into force of request for substantive examination
SE01Entry into force of request for substantive examination
GR01Patent grant
GR01Patent grant

[8]ページ先頭

©2009-2025 Movatter.jp