Movatterモバイル変換


[0]ホーム

URL:


CN110646343B - A device and method for testing the pullout force of an anchor rod specimen with adjustable confining pressure - Google Patents

A device and method for testing the pullout force of an anchor rod specimen with adjustable confining pressure
Download PDF

Info

Publication number
CN110646343B
CN110646343BCN201910828596.7ACN201910828596ACN110646343BCN 110646343 BCN110646343 BCN 110646343BCN 201910828596 ACN201910828596 ACN 201910828596ACN 110646343 BCN110646343 BCN 110646343B
Authority
CN
China
Prior art keywords
confining pressure
bolt
specimen
test piece
anchor rod
Prior art date
Legal status (The legal status is an assumption and is not a legal conclusion. Google has not performed a legal analysis and makes no representation as to the accuracy of the status listed.)
Active
Application number
CN201910828596.7A
Other languages
Chinese (zh)
Other versions
CN110646343A (en
Inventor
许振浩
王朝阳
许广璐
熊悦
谢辉辉
林鹏
Current Assignee (The listed assignees may be inaccurate. Google has not performed a legal analysis and makes no representation or warranty as to the accuracy of the list.)
Shandong University
Original Assignee
Shandong University
Priority date (The priority date is an assumption and is not a legal conclusion. Google has not performed a legal analysis and makes no representation as to the accuracy of the date listed.)
Filing date
Publication date
Application filed by Shandong UniversityfiledCriticalShandong University
Priority to CN201910828596.7ApriorityCriticalpatent/CN110646343B/en
Publication of CN110646343ApublicationCriticalpatent/CN110646343A/en
Application grantedgrantedCritical
Publication of CN110646343BpublicationCriticalpatent/CN110646343B/en
Activelegal-statusCriticalCurrent
Anticipated expirationlegal-statusCritical

Links

Images

Classifications

Landscapes

Abstract

Translated fromChinese

本发明公开了一种围压可调的锚杆试件抗拔力试验装置及方法,它解决了现有技术中锚杆抗拔力试验装置只能施加单向围压或大小相同的双向围压的问题,其方案如下:一种围压可调的锚杆试件抗拔力试验装置,包括围压施加机构,包括能够设于锚杆试件周侧的撑板,相邻两撑板之间设置支撑柱,锚杆试件每一侧面的两根支撑柱与该侧面的撑板通过连接件连接,连接件能够调整向锚杆试件施加的围压大小,以对锚杆试件相邻两侧实现不同或相同大小的围压力;锚杆试件夹持机构,包括用于支撑围压施加机构及锚杆试件的框体,框体顶部设置拉杆,底部开有开孔以用于钢筋穿过;拉力施加机构,拉力施加机构能够与拉杆、穿过开孔的钢筋分别单独连接。

Figure 201910828596

The invention discloses a test device and method for the pull-out force of an anchor rod test piece with adjustable confining pressure, which solves the problem that the bolt-rod pull-out force test device in the prior art can only apply one-way confining pressure or two-way confinement with the same size. The solution is as follows: a pull-out force test device for bolt specimens with adjustable confining pressure, including a confining pressure applying mechanism, including a brace that can be arranged on the periphery of the bolt specimen, and two adjacent braces A supporting column is arranged between the two supporting columns on each side of the bolt specimen and the support plate on the side is connected by a connecting piece. The connecting piece can adjust the confining pressure applied to the bolt specimen so that the Confining pressures of different or the same size are achieved on the adjacent two sides; the anchor rod specimen clamping mechanism includes a frame body used to support the confining pressure application mechanism and the anchor rod specimen. Used for steel bars to pass through; tension application mechanism, the tension application mechanism can be separately connected with the tie rods and the steel bars passing through the openings.

Figure 201910828596

Description

Confining pressure adjustable anchor rod test piece uplift resistance test device and method
Technical Field
The invention relates to the field of anchor rod tensile strength tests, in particular to a confining pressure adjustable anchor rod test piece pullout resistance test device and method.
Background
The laboratory anchor rod withdrawal resistance test is used as an important research means for researching anchor rods, and the main aim is to obtain the ultimate withdrawal resistance and the distribution rule of interface shear stress. In the traditional test process, a jack is often only adopted to apply unidirectional confining pressure or a liquid pressurizing device is adopted to apply confining pressure with the same magnitude in two main stress directions, so that the working condition of the anchor rod in the actual stratum can not be really simulated (the surrounding pressure of the periphery of the anchor rod is different in most cases), the shearing damage is not the main form of anchor rod damage, and correspondingly obtained data are not accurate enough; in addition, the existing device has the problems that the tension value and the displacement value of the anchor rod reinforcing steel bar need to be recorded manually, the recording is inconvenient, and large errors exist.
Disclosure of Invention
In order to overcome the defects of the prior art, the invention provides the anchor rod test piece uplift force test device with adjustable confining pressure, the structure is small in occupied volume, the whole anchor rod test piece can be subjected to confining pressure application with different or same lateral parts, and the actual working condition in the stratum is met.
The concrete scheme of a confining pressure adjustable anchor rod test piece uplift force test device is as follows:
the utility model provides a confined pressure adjustable stock test piece withdrawal resistance test device, includes:
the confining pressure applying mechanism comprises supporting plates which can be arranged on the peripheral side of the anchor rod test piece, a supporting column is arranged between every two adjacent supporting plates, two supporting columns on each side surface of the anchor rod test piece are connected with the supporting plates on the side surface through connecting pieces, the connecting pieces on the two adjacent side surfaces are mutually vertical, the connecting pieces can adjust the confining pressure applied to the anchor rod test piece, and the connecting pieces on each side surface of the anchor rod test piece are mutually independent, so that the confining pressures with different or the same size can be realized on the two adjacent sides of the anchor rod test piece;
the anchor rod test piece clamping mechanism comprises a frame body for supporting the confining pressure applying mechanism and the anchor rod test piece, the top of the frame body is provided with a pull rod, and the bottom of the frame body is provided with an opening for the steel bar of the anchor rod test piece to pass through;
the tension applying mechanism can be respectively and independently connected with the pull rod and the steel bar penetrating through the open hole.
Foretell testing device, the stock test piece includes mortar block and reinforcing bar, the mortar block is the cuboid, reinforcing bar one end anchor is in the mortar block, and the side contact all around of mechanism and mortar block is applyed to the confining pressure, the mortar block of stock test piece is arranged in simulating the soil body or the rock mass of stock anchor in the existing situation, reinforcing bar simulation stock, confining pressure is applyed the mechanism and can be realized different or the same size confining pressure to the adjacent both sides of stock test piece through the connecting piece, stock test piece fixture supports the stock test piece, the pulling force is applyed the mechanism and is applyed the pulling force to the stock reinforcing bar to be convenient for, in order to test.
Further, for the installation of mechanism is applyed in the convenient confined pressure, also guarantee the stability to stock test piece block, the confined pressure is applyed in the mechanism fagging and support column and is constituted a hollow cuboid, and the length of each fagging is less than the width of the corresponding side of stock test piece, and the stock test piece is rectangular shape usually, and the support column inboard is equipped with L type concave surface like this in order to cooperate with the stock test piece, can guarantee like this that the confined pressure is applyed the inseparable laminating of mechanism and stock test piece.
Furthermore, the connecting piece is a screw rod, the screw rod penetrates through the support column, the support plate and the other support column in sequence in each side face of the anchor rod test piece, nuts are arranged at two ends of the screw rod respectively, a gasket is arranged between the nut and the side face of the support column, and the adjustment of confining pressure is realized through the adjustment of the nut relative to the position of the screw rod.
Furthermore, in order to avoid the mutual interference of the screw rods, each support column is provided with 4 through holes, wherein 2 through holes penetrate through one vertical surface, the other 2 through holes penetrate through the other vertical surface, the through holes on the two adjacent side surfaces of the support column are arranged in a staggered manner, namely from top to bottom, the two adjacent through holes of the support column are vertically arranged, and the inner side of the support plate is also provided with 2 through holes for the screw rods to pass through.
Furthermore, in order to determine the applied magnitude of the confining pressure, stress strain gauges are installed on the inner sides of the supporting plates, the stress strain gauges are arranged on the inner sides of the two adjacent supporting plates, and the stress strain gauges are connected with a computer.
Furthermore, in order to facilitate the installation of the stress strain gauge, a clamping groove for arranging the stress strain gauge is formed in the inner side of the supporting plate, and the depth of the clamping groove is smaller than the thickness of the stress strain gauge.
Further, stock test piece fixture's framework is horizontal triangular prism framework, and open one side of framework has the draw bar hole, the pull rod pass the draw bar hole setting, the pull rod bottom is equipped with spacing button head, the size of spacing button head is greater than the size of draw bar hole, the width of stock test piece fixture suits with the width that the confined pressure exerted the mechanism with the stock test piece. In order to adapt to the size of the anchor rod test piece, the width of the anchor rod test piece clamping mechanism is adjustable, the bottom surface of the specific frame body and the two sides of the top of the specific frame body are respectively provided with a sliding rod, the side part of the frame body is provided with a sliding groove, and the size of the frame body is matched with the size of the anchor rod test piece through the matching of the sliding rod sliding grooves.
Further, in order to better support the confining pressure applying mechanism and the anchor rod test piece, the bottom side of the triangular prism frame body is provided with a bottom surface, and the opening is formed in the center of the bottom surface.
Furthermore, the tension applying mechanism is an electro-hydraulic servo press machine, the electro-hydraulic servo press machine can automatically record a tension value and a displacement value, the tension value and an anchor rod steel bar displacement value can be automatically recorded, and errors of manual measurement are reduced. The electro-hydraulic servo press machine is provided with an upper clamp and a lower clamp, the upper clamp is used for being connected with a pull rod, the lower clamp is used for being connected with a steel bar of an anchor rod test piece, the electro-hydraulic servo press machine provides tension force for an anchor rod test piece clamping mechanism through the upper clamp, and the tension force is applied to the steel bar through the lower clamp, so that the tension force is transmitted to the anchor rod test piece.
The use method of the confining pressure adjustable anchor rod test piece uplift force test device comprises the following steps:
arranging supporting plates on each side of the anchor rod test piece with the reinforcing steel bars, arranging supporting columns between adjacent supporting plates, and enabling a connecting piece on each side of the anchor rod test piece to sequentially penetrate through the supporting columns, the supporting plates and the supporting columns to enable the confining pressure applying mechanism to wrap the anchor rod test piece;
the confining pressure of the confining pressure applying mechanism acting on the anchor rod test piece is adjusted through the connecting piece, and the confining pressures with the same or different sizes are applied to different side surfaces of the anchor rod test piece according to the test requirements;
the reinforcing steel bar of the anchor rod test piece passes through the anchor rod test piece clamping mechanism, and the confining pressure applying mechanism and the anchor rod test piece are supported by the anchor rod test piece clamping mechanism;
a top pull rod of the anchor rod test piece clamping mechanism and a steel bar of the anchor rod test piece are connected with the tension applying mechanism;
the tension applying mechanism applies tension to the pull rod and the steel bar in a step-by-step loading mode until the anchor rod test piece is damaged, and the maximum tension value in the test process is obtained through the tension applying mechanism and is used as the limit anti-pulling force.
By the use method, the confining pressure can be adjusted, so that the pulling resistance of the anchor rod test piece under different confining pressures can be obtained.
Compared with the prior art, the invention has the beneficial effects that:
1) according to the invention, through the arrangement of the confining pressure applying mechanism, the confining pressures with different or the same size can be realized on the two adjacent sides of the anchor rod test piece through the connecting piece, so that the simulation of the real environment condition of the anchor rod in the practical application is facilitated, and the actual working condition is better met.
2) According to the invention, through the arrangement of the anchor rod test piece clamping mechanism, the confining pressure applying mechanism and the anchor rod test piece can be conveniently supported, the steel bar can conveniently penetrate through the confining pressure applying mechanism, and the tension applying mechanism can conveniently apply tension to the steel bar so as to carry out a test.
3) By using the electro-hydraulic servo press, the invention can conveniently and rapidly measure the relationship between the tension value and the displacement value in the tension applying process, and solves the problem of overlarge error of the traditional manual mechanical measuring method.
4) According to the invention, through the arrangement of the triangular prism frame body, the steel bar can conveniently pass through, the pull rod can be conveniently arranged, and the damage process of the anchor rod test piece in the drawing process can be conveniently observed.
5) The device is simple in structure, small in occupied space and easy to operate, and can be used for increasing confining pressure of a laboratory anchor rod test piece and carrying out a related uplift force test.
Drawings
The accompanying drawings, which are incorporated in and constitute a part of this specification, are included to provide a further understanding of the invention, and are incorporated in and constitute a part of this specification, illustrate exemplary embodiments of the invention and together with the description serve to explain the invention and not to limit the invention.
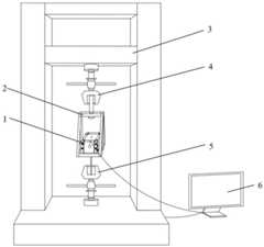
FIG. 1 is a front view of an anchor rod test piece pullout resistance testing device with adjustable confining pressure in an embodiment of the invention;
FIG. 2 is a schematic view of a confining pressure applying mechanism arranged on the periphery of a test piece of an anchor rod in the embodiment of the invention;
FIG. 3 is a schematic view of an anchor specimen clamping mechanism in an embodiment of the invention;
in the figure: the device comprises a confining pressure applying mechanism 1, an anchor rod testpiece clamping mechanism 2, an electro-hydraulic servo press 3, an upper clamp 4, alower clamp 5, acomputer 6, an anchor rod test piece 7, asupport column 8, a support plate 9, alead screw nut 10, astress strain gauge 11, alead screw 12, a strain gaugedata transmission line 13, asteel bar 14, apull rod 15 and anopening 16.
Detailed Description
It is to be understood that the following detailed description is exemplary and is intended to provide further explanation of the invention as claimed. Unless defined otherwise, all technical and scientific terms used herein have the same meaning as commonly understood by one of ordinary skill in the art to which this invention belongs.
It is noted that the terminology used herein is for the purpose of describing particular embodiments only and is not intended to be limiting of exemplary embodiments according to the invention. As used herein, the singular forms "a", "an" and "the" are intended to include the plural forms as well, and it should be understood that when the terms "comprises" and/or "comprising" are used in this specification, they specify the presence of stated features, steps, operations, devices, components, and/or combinations thereof, unless the context clearly indicates otherwise.
As described in the background art, the shortcomings in the prior art exist, and in order to solve the technical problems, the invention provides a confining pressure adjustable anchor rod test piece pullout resistance test device, which is further explained in the following by combining with the attached drawings of the specification.
In a typical embodiment of the invention, as shown in fig. 1, the confining pressure adjustable anchor rod test piece pullout resistance test device comprises a confining pressure applying mechanism 1, an anchor rod testpiece clamping mechanism 2 and a pulling force applying mechanism, wherein the pulling force applying mechanism comprises an electro-hydraulicservo press machine 3, an upper clamp 4 arranged above the anchor rod test piece clamping mechanism and alower clamp 5 arranged below the anchor rod test piece clamping mechanism.
The confining pressure applying mechanism 1 comprises four supportingcolumns 8 and four supporting plates 9, the supporting plates 9 are steel plates, the supportingcolumns 8 are steel columns, the supportingcolumns 8 and the supporting plates 9 require high rigidity, and deformation is not easy to occur. Four sides of stock test piece 7 can be located to fagging 9, and foursupport columns 8 are located between two adjacent fagging 9, and fagging 9 is opened has two through holes that are parallel to each other and all are on a parallel with fagging 9 long limit, and everysupport column 8 is opened has four through-holes, and wherein two holes are in a side, and two other holes are in another side, and the hole dislocation set of 8 both sides of support column to guarantee that two fagging 9 are connected to 8accessible lead screws 12 of support column.
In addition, as shown in fig. 2, the length of each fagging 9 is less than the width of the corresponding side of anchor rod test piece 7, and the anchor rod test piece includes mortar block and reinforcing bar, and reinforcing bar one end anchor is in the mortar block, and the mortar block is the cuboid, and 8 inboards of support column are equipped with L type concave surface like this in order to cooperate with the anchor rod test piece, can guarantee like this that the confining pressure applies the mechanism and closely laminate with the mortar block in the anchor rod test piece.
Meanwhile, a confining pressure measuring component is arranged on the inner side of the supporting plate inside the confining pressure applying mechanism 1, the confining pressure measuring component is astress strain gauge 11, the stress strain gauge 17 is arranged between the supporting plate 9 and the anchor rod test piece 7, pressure is provided for the anchor rod test piece 7 and thestress strain gauge 11 through an adjustingscrew nut 10, the confining pressure of the anchor rod test piece 7 is obtained through data processing, and thestress strain gauge 11 is connected with thecomputer 6 through adata line 13.
Anchor rodtest piece fixture 2 is hollow horizontal triangular prism framework, as shown in fig. 3, a side of triangular prism framework is last, this side is opened there is the draw bar hole, the draw bar bottom is equipped with spacing button head, the size of spacing button head is greater than the size of draw bar hole, drawbar 15 passes the draw bar hole setting,draw bar 15 is used for being connected with the upper portion anchor clamps 4 of pulling force application mechanism, the bottom side of triangular prism framework is equipped with the bottom surface, the center in the bottom surface is opened intrompil 16, make anchor rod testpiece reinforcing bar 14 stretch out throughtrompil 16 and apply mechanism lowerpart anchor clamps 5 with the cooperation pulling force. Meanwhile, the anchor rod testpiece clamping mechanism 2 needs to have enough space to accommodate the anchor rod test piece 7 and the confining pressure applying mechanism 1.
In order to adapt to different sizes of the anchor rod test piece, the width of the anchor rod test piece clamping mechanism is adjustable, the bottom surface and the two sides of the top of the specific triangular prism frame body are respectively provided with a sliding rod, the side part of the frame body is provided with a sliding groove matched with the sliding rod, and the width of the frame body is matched with the size of the anchor rod test piece through the matching of the sliding rod sliding grooves.
The anchor rod test piece mortar block is used for simulating soil or rock anchored by an anchor rod in the existing condition, and the reinforcing steel bar simulates the anchor rod and is formed after cast-in-place maintenance is carried out for specified time.
The mechanism is applyed to pulling force for electricliquid servo press 3, and electricliquid servo press 3 is equipped with upper portion anchor clamps 4 and lowerpart anchor clamps 5, and the upperportion pull rod 15 of stocktest piece fixture 2 is connected to upper portion anchor clamps, and lowerpart anchor clamps 5 are connected with stock testpiece reinforcing bar 14, and upper portion anchor clamps 4 and lowerpart anchor clamps 5 set up from top to bottom, and these two anchor clamps are the part of electricliquid servo press 3, and electricliquid servo press 3 is prior art.
The use method of the confining pressure adjustable anchor rod test piece uplift force test device comprises the following steps:
the method comprises the following steps: connecting thesupport column 8 with the support plate 9 through ascrew rod 12, so that the confining pressure applying mechanism wraps the anchor rod test piece 7, and the support plate of the confining pressure applying mechanism is in contact with the outer side surface of the mortar block body;
step two: thestress strain gauge 11 is arranged between the anchor rod test piece 7 and the supporting plate 9, the confining pressure to be applied is adjusted by adjusting thelead screw nut 10, and the magnitude of the confining pressure applied is transmitted to thecomputer 6 through thestress strain gauge 11;
step three: one end of theanchor specimen rebar 14 is passed through the anchor clamping mechanismlower rebar hole 16.
Step four: connecting anupper pull rod 15 of the anchor rod testpiece clamping mechanism 2 with an upper clamp 4 of a tension applying mechanism, connecting one end of an anchor rod steel bar with alower clamp 5 of the tension applying mechanism, and starting an electro-hydraulicservo press machine 3 to perform an anti-pulling force test;
step five: the electro-hydraulicservo press machine 3 applies tension to thepull rod 15 and the reinforcingsteel bar 14 in a step-by-step loading mode until the anchor rod test piece is damaged, and the maximum tension value in the test process is obtained through the tension applying mechanism and is used as the limit anti-pulling force; the damage form of the anchor rod test piece comprises the fracture of the mortar test block or the displacement of the reinforcing steel bar exceeding a specified value, so that the electro-hydraulic servo press 3 obtains the tension borne by the anchor rod test piece and the displacement of the reinforcing steel bar, generates a graph corresponding to the tension and the displacement, and obtains the maximum tension value when the anchor rod test piece is damaged, thereby being used for guiding engineering practice.
The above description is only a preferred embodiment of the present invention and is not intended to limit the present invention, and various modifications and changes may be made by those skilled in the art. Any modification, equivalent replacement, or improvement made within the spirit and principle of the present invention should be included in the protection scope of the present invention.

Claims (7)

Translated fromChinese
1.一种围压可调的锚杆试件抗拔力试验装置,其特征在于,包括:1. an adjustable confining pressure bolt test piece pullout force test device, is characterized in that, comprises:围压施加机构,包括能够设于锚杆试件周侧的撑板,相邻两撑板之间设置支撑柱,锚杆试件每一侧面的两根支撑柱与该侧面的撑板通过连接件连接,相邻两侧面的连接件相互垂直,连接件能够调整向锚杆试件施加的围压大小,由于锚杆试件每一侧面的连接件相互独立,能够对锚杆试件相邻两侧实现不同或相同大小的围压;The confining pressure applying mechanism includes a support plate that can be arranged on the peripheral side of the bolt test piece, a support column is arranged between two adjacent support plates, and the two support columns on each side of the bolt test piece are connected with the support plate on the side. The connecting pieces on the adjacent two sides are perpendicular to each other, and the connecting pieces can adjust the confining pressure applied to the bolt specimen. Different or the same size of confining pressure is achieved on both sides;所述围压施加机构中撑板与支撑柱构成一个中空的矩形体,每一撑板的长度小于锚杆试件相应侧面的宽度,支撑柱内侧设有L型凹面以与锚杆试件配合;The support plate and the support column in the confining pressure applying mechanism form a hollow rectangular body, the length of each support plate is less than the width of the corresponding side of the rock bolt specimen, and the inner side of the support column is provided with an L-shaped concave surface to match the rock bolt test piece ;每一所述支撑柱开有4个通孔,其中2个通孔贯通一对立面,另2个通孔贯通另一对立面,且支撑柱相邻两侧面的通孔错位设置;Each of the support columns is provided with 4 through holes, wherein 2 through holes pass through a pair of vertical faces, and the other two through holes pass through another opposite face, and the through holes on the adjacent two sides of the support column are arranged in dislocation;所述撑板内侧安装有应力应变片,应力应变片与计算机连接;A stress strain gauge is installed on the inner side of the support plate, and the stress strain gauge is connected with the computer;锚杆试件夹持机构,包括用于支撑围压施加机构及锚杆试件的框体,框体顶部设置拉杆,底部开有开孔以用于锚杆试件的钢筋穿过;The bolt specimen clamping mechanism includes a frame for supporting the confining pressure applying mechanism and the bolt specimen, the top of the frame is provided with a tie rod, and the bottom is provided with openings for the reinforcement of the bolt specimen to pass through;拉力施加机构,拉力施加机构能够与拉杆、穿过开孔的钢筋分别单独连接。The tensile force application mechanism can be separately connected with the tie rod and the steel bar passing through the opening.2.根据权利要求1所述的一种围压可调的锚杆试件抗拔力试验装置,其特征在于,所述连接件为丝杆,锚杆试件每一侧面中丝杆依次穿过支撑柱、撑板和另一支撑柱设置,丝杆的两端分别设置螺母。2. A kind of bolt test piece with adjustable confining pressure anti-pullout force test device according to claim 1, characterized in that, the connecting piece is a screw rod, and the screw rod in each side of the bolt test piece passes through in turn. It is arranged through a support column, a support plate and another support column, and nuts are respectively arranged at both ends of the screw rod.3.根据权利要求1所述的一种围压可调的锚杆试件抗拔力试验装置,其特征在于,所述撑板内侧开有用于设置应力应变片的卡槽,卡槽的深度小于应力应变片的厚度。3 . The pullout force test device for an anchor rod specimen with adjustable confining pressure according to claim 1 , wherein the inner side of the support plate is provided with a slot for setting the stress strain gauge, and the depth of the slot is 3. 4 . less than the thickness of the stress strain gauge.4.根据权利要求1所述的一种围压可调的锚杆试件抗拔力试验装置,其特征在于,所述锚杆试件夹持机构的框体为横置的三棱柱框体,框体的一侧开有拉杆孔,所述的拉杆穿过拉杆孔设置,拉杆底端设有限位圆头。4 . The pull-out force test device for an anchor rod specimen with adjustable confining pressure according to claim 1 , wherein the frame of the anchor rod specimen clamping mechanism is a horizontal triangular prism frame. 5 . A pull rod hole is opened on one side of the frame body, the pull rod is arranged through the pull rod hole, and the bottom end of the pull rod is provided with a limiting round head.5.根据权利要求4所述的一种围压可调的锚杆试件抗拔力试验装置,其特征在于,所述三棱柱框体的底侧设有底面,所述开孔开于底面的中心。5 . The pullout resistance test device of an anchor rod specimen with adjustable confining pressure according to claim 4 , wherein the bottom side of the triangular prism frame is provided with a bottom surface, and the opening is opened on the bottom surface. 6 . center of.6.根据权利要求1所述的一种围压可调的锚杆试件抗拔力试验装置,其特征在于,所述拉力施加机构为电液伺服压力机。6 . The pull-out force test device for a bolt specimen with adjustable confining pressure according to claim 1 , wherein the pulling force applying mechanism is an electro-hydraulic servo press. 7 .7.根据权利要求1-6中任一项所述的一种围压可调的锚杆试件抗拔力试验装置的使用方法,其特征在于,包括如下内容:7. The method for using the pullout force test device for an adjustable bolt specimen with confining pressure according to any one of claims 1-6, characterized in that, it includes the following content:对带有钢筋的锚杆试件的每一侧设置撑板,相邻撑板之间设置支撑柱,对锚杆试件的每一侧连接件依次穿过支撑柱、撑板和支撑柱,实现围压施加机构包裹锚杆试件;A brace plate is set on each side of the bolt specimen with steel bars, a support column is arranged between adjacent brace plates, and the connecting piece on each side of the anchor bolt specimen passes through the support column, the brace plate and the support column in sequence, Realize that the confining pressure applying mechanism wraps the bolt specimen;通过连接件调整围压施加机构作用于锚杆试件的围压,且根据试验要求对锚杆试件的不同侧面施加相同或不同大小的围压力;Adjust the confining pressure applied to the bolt specimen by the confining pressure applying mechanism through the connector, and apply the same or different confining pressures to different sides of the bolt specimen according to the test requirements;所述围压施加机构中撑板与支撑柱构成一个中空的矩形体,每一撑板的长度小于锚杆试件相应侧面的宽度,支撑柱内侧设有L型凹面以与锚杆试件配合;The support plate and the support column in the confining pressure applying mechanism form a hollow rectangular body, the length of each support plate is less than the width of the corresponding side of the rock bolt specimen, and the inner side of the support column is provided with an L-shaped concave surface to match the rock bolt test piece ;每一所述支撑柱开有4个通孔,其中2个通孔贯通一对立面,另2个通孔贯通另一对立面,且支撑柱相邻两侧面的通孔错位设置;Each of the support columns is provided with 4 through holes, wherein 2 through holes pass through a pair of vertical faces, and the other two through holes pass through another opposite face, and the through holes on the adjacent two sides of the support column are arranged in dislocation;所述撑板内侧安装有应力应变片,应力应变片与计算机连接;A stress strain gauge is installed on the inner side of the support plate, and the stress strain gauge is connected with the computer;锚杆试件的钢筋穿过锚杆试件夹持机构设置,将围压施加机构及锚杆试件通过锚杆试件夹持机构进行支撑;The reinforcing bars of the bolt specimen are set through the bolt specimen clamping mechanism, and the confining pressure applying mechanism and the bolt specimen are supported by the bolt specimen clamping mechanism;锚杆试件夹持机构的顶部拉杆、锚杆试件的钢筋均与拉力施加机构连接;The top tie rod of the bolt specimen clamping mechanism and the reinforcement bars of the bolt specimen are connected with the tension applying mechanism;拉力施加机构向拉杆和钢筋以逐级荷载的方式施加拉力,直至锚杆试件发生破坏,通过拉力施加机构获得试验过程中的最大拉力值作为极限抗拔力。The tension application mechanism applies tension to the tie rods and steel bars in a step-by-step manner until the bolt specimen fails, and the maximum tension value during the test is obtained through the tension application mechanism as the ultimate pullout resistance.
CN201910828596.7A2019-09-032019-09-03 A device and method for testing the pullout force of an anchor rod specimen with adjustable confining pressureActiveCN110646343B (en)

Priority Applications (1)

Application NumberPriority DateFiling DateTitle
CN201910828596.7ACN110646343B (en)2019-09-032019-09-03 A device and method for testing the pullout force of an anchor rod specimen with adjustable confining pressure

Applications Claiming Priority (1)

Application NumberPriority DateFiling DateTitle
CN201910828596.7ACN110646343B (en)2019-09-032019-09-03 A device and method for testing the pullout force of an anchor rod specimen with adjustable confining pressure

Publications (2)

Publication NumberPublication Date
CN110646343A CN110646343A (en)2020-01-03
CN110646343Btrue CN110646343B (en)2021-07-27

Family

ID=69010072

Family Applications (1)

Application NumberTitlePriority DateFiling Date
CN201910828596.7AActiveCN110646343B (en)2019-09-032019-09-03 A device and method for testing the pullout force of an anchor rod specimen with adjustable confining pressure

Country Status (1)

CountryLink
CN (1)CN110646343B (en)

Families Citing this family (4)

* Cited by examiner, † Cited by third party
Publication numberPriority datePublication dateAssigneeTitle
CN111678769B (en)*2020-07-132022-12-13南京理工大学 A gas impact type composite material crack simulation test device and method
CN112985989B (en)*2021-02-192022-08-30三峡大学Verification device and method for load platform effect of self-expansion anchoring system
CN114594001A (en)*2022-05-092022-06-07武汉工程大学 Auxiliary equipment and experimental instrument for bolt pulling experiment
CN115655845A (en)*2022-11-092023-01-31青岛理工大学Anchoring performance test device capable of adjusting confining pressure and anchoring depth of anchor rod

Family Cites Families (9)

* Cited by examiner, † Cited by third party
Publication numberPriority datePublication dateAssigneeTitle
US4379407A (en)*1981-05-011983-04-12Mobil Oil CorporationSystem for conducting resonance measurements of rock materials under confining pressure
CN202522483U (en)*2011-11-282012-11-07柴新军Confining-pressure-controlling miniature soil nail anchor rod pulling-drawning test device
CN103226068B (en)*2013-03-182015-08-19北京工业大学Mechanical rock breaking test platform confining pressure device
CN104344997B (en)*2014-11-042017-01-11同济大学Passive type restraint loading device for triaxial test
CN105738200B (en)*2016-02-012018-05-25山东科技大学The visual experimental rig of soil layer anchoring body stress transfer mechanism and its test method
CN106198255B (en)*2016-06-222018-11-06西安科技大学Soil body shearing test device and shearing test method under a kind of confining pressure state
CN208026601U (en)*2018-02-232018-10-30深圳市市政设计研究院有限公司Armored concrete pull device
CN108844894B (en)*2018-09-102020-06-26成都理工大学 Kinetic friction coefficient meter and method for measuring the kinetic friction coefficient of granules
CN110186760A (en)*2019-06-132019-08-30河北建筑工程学院A kind of soil property anchor rod drawing test method for considering to change confining pressure condition

Also Published As

Publication numberPublication date
CN110646343A (en)2020-01-03

Similar Documents

PublicationPublication DateTitle
CN110646343B (en) A device and method for testing the pullout force of an anchor rod specimen with adjustable confining pressure
CN104269088B (en)Mechanical experimental device and method for conducting experiment by applying same
CN206974826U (en)Test the experimental rig of Creep of Geosynthetics performance
CN204882240U (en)A test device that is used for test piece to press cutting experiment
CN108169124A (en)Armored concrete pull device and method
CN103411831B (en)Intelligent detector for detecting compressive strength of concrete, and detection method thereof
CN103344480A (en)Device for testing crack growth and residual strength of thin-wall plate with stringers
CN108195680A (en)A kind of experimental rig for applying different constraints to native unit
CN111982674A (en) A height-adjustable soil uniaxial tensioning device with sliding rod
CN204495702U (en)The proving installation of adhesive property is extracted from cement-based material for checking single fiber
CN205228948U (en)Portable concrete compressive strength tester
CN203069456U (en)Multifunctional concrete sample splitting and pulling device
CN211816479U (en)Mechanical property test device for enclosure pipe pile and underground pipe curtain
CN220708900U (en)UHPC test piece tensile stress-strain full curve test fixture and test device
CN208026601U (en)Armored concrete pull device
CN111323292A (en)Composite cross arm structure test device and test method thereof
CN206975911U (en) A demonstration model of steel plate tensile stress test failure
CN216926416U (en)Creep shearing instrument
CN216247570U (en) A device for testing the shear fatigue strength of concrete joint surfaces
CN110044738A (en)The fatigue experimental device and its application method that weld seam Multiaxial stress controllably applies
CN205374163U (en)Realize direct tensile test bench of rock sample
CN210376088U (en) A pull test connection device
CN208109581U (en) A test device for imposing different constraints on soil elements
CN216386560U (en)Reinforcing bar mechanical properties field test equipment
CN114659899A (en)Dynamic and static multidirectional loading triaxial fatigue testing machine

Legal Events

DateCodeTitleDescription
PB01Publication
PB01Publication
SE01Entry into force of request for substantive examination
SE01Entry into force of request for substantive examination
GR01Patent grant
GR01Patent grant

[8]ページ先頭

©2009-2025 Movatter.jp