Movatterモバイル変換


[0]ホーム

URL:


CN110623734B - High-precision surgical robot - Google Patents

High-precision surgical robot
Download PDF

Info

Publication number
CN110623734B
CN110623734BCN201810650674.4ACN201810650674ACN110623734BCN 110623734 BCN110623734 BCN 110623734BCN 201810650674 ACN201810650674 ACN 201810650674ACN 110623734 BCN110623734 BCN 110623734B
Authority
CN
China
Prior art keywords
power
connection
disc
land
connecting disc
Prior art date
Legal status (The legal status is an assumption and is not a legal conclusion. Google has not performed a legal analysis and makes no representation as to the accuracy of the status listed.)
Active
Application number
CN201810650674.4A
Other languages
Chinese (zh)
Other versions
CN110623734A (en
Inventor
王建辰
高元倩
Current Assignee (The listed assignees may be inaccurate. Google has not performed a legal analysis and makes no representation or warranty as to the accuracy of the list.)
Shenzhen Edge Medical Co Ltd
Original Assignee
Shenzhen Edge Medical Co Ltd
Priority date (The priority date is an assumption and is not a legal conclusion. Google has not performed a legal analysis and makes no representation as to the accuracy of the date listed.)
Filing date
Publication date
Application filed by Shenzhen Edge Medical Co LtdfiledCriticalShenzhen Edge Medical Co Ltd
Priority to CN201810650674.4ApriorityCriticalpatent/CN110623734B/en
Publication of CN110623734ApublicationCriticalpatent/CN110623734A/en
Application grantedgrantedCritical
Publication of CN110623734BpublicationCriticalpatent/CN110623734B/en
Activelegal-statusCriticalCurrent
Anticipated expirationlegal-statusCritical

Links

Images

Classifications

Landscapes

Abstract

The present invention relates to a high-precision surgical robot comprising: the system comprises a main operating platform and a slave operating device, wherein the main operating platform is used for sending a control command to the slave operating device according to the operation of a doctor so as to control the slave operating device, and the slave operating device is used for responding to the control command sent by the main operating platform and carrying out corresponding operation; the slave operation equipment is provided with a power mechanism, a connecting mechanism and an operation arm which are connected in sequence, the power mechanism drives the operation arm through the connecting mechanism, the power mechanism is provided with a power connecting disc which is arranged in a rotating mode and used for supporting the first connecting disc of the connecting mechanism, at least one of the power connecting disc and the first connecting disc is movable relative to the body of the connecting mechanism along a first direction, and an included angle is formed between the first direction and a rotating shaft of the power connecting disc.

Description

High-precision surgical robot
Technical Field
The invention relates to the field of minimally invasive surgery, in particular to a high-precision surgical robot.
Background
The minimally invasive surgery is a surgery mode for performing surgery in a human body cavity by using modern medical instruments such as a laparoscope, a thoracoscope and the like and related equipment. Compared with the traditional minimally invasive surgery, the minimally invasive surgery has the advantages of small wound, light pain, quick recovery and the like.
With the progress of science and technology, the minimally invasive surgery robot technology is gradually mature and widely applied. The minimally invasive surgery robot generally comprises a main operation table and a slave operation device, wherein the main operation table is used for sending control commands to the slave operation device according to the operation of a doctor so as to control the slave operation device, and the slave operation device is used for responding to the control commands sent by the main operation table and carrying out corresponding surgery operation.
The slave operation device generally comprises a power mechanism, a connecting mechanism and an operation arm which are connected in sequence, wherein the power mechanism drives the operation arm through the connecting mechanism, and the operation arm is used for extending into a body and executing operation. When the conventional power mechanism drives the operating arm through the connecting mechanism, the error is large, and the control and operation accuracy of the operating arm is poor.
Disclosure of Invention
Accordingly, there is a need for a high-precision surgical robot with better control and operation accuracy of the operation arm.
A high precision surgical robot comprising: a main operating platform and a slave operating device,
the main operating platform is used for sending a control command to the slave operating equipment according to the operation of a doctor so as to control the slave operating equipment, and the slave operating equipment is used for responding to the control command sent by the main operating platform and carrying out corresponding operation;
the slave operation equipment is provided with a power mechanism, a connecting mechanism and an operation arm which are connected in sequence, the power mechanism drives the operation arm through the connecting mechanism, the power mechanism is provided with a power connecting disc which is arranged in a rotating mode and used for supporting the first connecting disc of the connecting mechanism, at least one of the power connecting disc and the first connecting disc is movable relative to the body of the connecting mechanism along a first direction, and an included angle is formed between the first direction and a rotating shaft of the power connecting disc.
Drawings
FIG. 1 is a schematic structural diagram of a surgical robot according to an embodiment of the present invention;
FIG. 2 is a partial schematic view of an embodiment of a slave operation device of the present invention;
FIG. 3 is a partial schematic view of an embodiment of a slave operation device of the present invention;
FIG. 4 is a partial cross-sectional structural view of an embodiment of the present invention;
FIG. 5 is a schematic structural diagram of an embodiment of a connecting mechanism body according to the present invention;
FIG. 6 is a schematic structural diagram of an embodiment of a connecting mechanism of the present invention;
FIG. 7 is a schematic structural diagram of an embodiment of a connecting mechanism of the present invention;
FIG. 8 is a schematic structural diagram of an embodiment of a coupling mechanism according to the present invention;
FIG. 9 is a schematic structural diagram of an embodiment of a coupling mechanism according to the present invention;
FIG. 10 is a schematic structural view of a connection unit cooperatively connected with a power connection disc and a driving connection disc according to an embodiment of the present invention;
FIG. 11 is a schematic view of the structure of FIG. 10 from another perspective;
FIG. 12 is a schematic structural diagram of an embodiment of a coupling mechanism according to the present invention;
FIG. 13 is a schematic structural diagram of a connection unit according to an embodiment of the present invention;
FIG. 14 is a schematic structural view of a first embodiment of a splice tray of the present invention;
FIG. 15 is a schematic structural diagram of a slave operation device according to an embodiment of the present invention;
FIG. 16 is a schematic structural diagram of a slave operation device according to an embodiment of the present invention;
FIG. 17 is a schematic structural diagram of a slave operation device according to an embodiment of the present invention;
FIG. 18 is a schematic structural diagram of a slave operation device according to an embodiment of the present invention;
fig. 19 is a schematic structural diagram of a slave operation device according to an embodiment of the present invention.
Detailed Description
To facilitate an understanding of the invention, the invention will now be described more fully with reference to the accompanying drawings. Preferred embodiments of the present invention are shown in the drawings. This invention may, however, be embodied in many different forms and should not be construed as limited to the embodiments set forth herein. Rather, these embodiments are provided so that this disclosure will be thorough and complete.
It will be understood that when an element is referred to as being "disposed on" another element, it can be directly on the other element or intervening elements may also be present. When an element is referred to as being "connected" to another element, it can be directly connected to the other element or intervening elements may also be present. When an element is referred to as being "coupled" to another element, it can be directly coupled to the other element or intervening elements may also be present. The terms "vertical," "horizontal," "left," "right," and the like as used herein are for illustrative purposes only and do not represent the only embodiments. As used herein, the terms "distal" and "proximal" are used as terms of orientation that are conventional in the art of interventional medical devices, wherein "distal" refers to the end of the device that is distal from the operator during a procedure, and "proximal" refers to the end of the device that is proximal to the operator during a procedure.
Unless defined otherwise, all technical and scientific terms used herein have the same meaning as commonly understood by one of ordinary skill in the art to which this invention belongs. The terminology used herein in the description of the invention is for the purpose of describing particular embodiments only and is not intended to be limiting of the invention. As used herein, the term "and/or" includes any and all combinations of one or more of the associated listed items.
Fig. 1 to 3 are schematic structural diagrams of an embodiment of a surgical robot according to the present invention, and partial schematic diagrams of different embodiments of a slave operation device, respectively.
The surgical robot includes a master operation table 1 and aslave operation device 2. The main console 1 is configured to transmit a control command to theslave operating device 2 according to a doctor's operation to control theslave operating device 2, and is configured to display an image acquired by theslave operating device 2. Theslave operation device 2 is used for responding to the control command sent by the master operation table 1 and performing corresponding operation, and theslave operation device 2 is also used for acquiring the images in the body.
Specifically, theslave manipulation apparatus 2 includes a robot arm 21, apower mechanism 22 provided on the robot arm 21, amanipulation arm 23 provided on thepower mechanism 22, and asleeve 24 that sleeves themanipulation arm 23. The robot arm 21 is used to adjust the position of theoperation arm 23; thepower mechanism 22 is used for driving theoperating arm 23 to execute corresponding operation;manipulator arm 23 is configured to extend into the body and perform surgical procedures, and/or acquire in vivo images, with its distally located end instrument 20. Specifically, as shown in fig. 2 and 3, theoperation arm 23 is inserted through thesleeve 24, and the distal end instrument thereof extends out of thesleeve 24 and is driven to perform operation by thepower mechanism 22. In fig. 2, the region of theoperating arm 23 located within thesleeve 24 is a rigid region; in fig. 3, the region of theoperating arm 23 located within thesleeve 24 is a flexible region, with which the sleeve bends. In other embodiments, thesleeve 24 may be omitted, in which case the sleeve is not required.
In one embodiment, a plurality ofoperation arms 23 are disposed on thesame power mechanism 22, and distal ends of the plurality ofoperation arms 23 extend into the body through an incision on the body, so that the distal end instrument 20 is moved to the vicinity of thelesion 3 for performing the surgical operation. Specifically, the power mechanism is provided with a plurality of power parts, and each power part is correspondingly connected with one operation arm. In other embodiments, there are multiple power mechanisms, eachpower mechanism 22 has oneoperating arm 23, and multiple operating arms extend into the body from one notch, and at this time,multiple power mechanisms 22 may be disposed on one robot arm 21 or on multiple robot arms 21. It should be noted that a plurality ofmanipulation arms 23 may also extend into the body from a plurality of incisions, e.g., two manipulation arms in each incision, and e.g., one manipulation arm in each incision.
In an embodiment, theslave operation device 2 further includes a poking card, the poking card is used for penetrating through an incision on a human body and is fixedly arranged in an incision area, and the operation arm extends into the human body through the poking card.
Fig. 4 is a partial cross-sectional view of the structure of an embodiment of the present invention.
Theslave manipulator 2 further comprises aconnecting mechanism 10 for connecting themanipulator arm 23 to thepower mechanism 22, so that thepower mechanism 22 drives themanipulator arm 23 to operate. Theconnecting mechanism 10 includes: abody 100 and aconnection unit 200. The connectingunit 200 is rotatably disposed on thebody 100 and is connected to thedriving connecting pad 203 of theoperating arm 23 and thepower connecting pad 202 of thepower mechanism 22, so that thepower mechanism 22 drives thedriving connecting pad 203 of theoperating arm 23 to rotate by rotating thedriving connecting unit 200, and further drives theoperating arm 23 to perform corresponding operations.
It should be noted that, when the power mechanism adopts a linear driving manner rather than a rotational driving manner, the power mechanism can move along the driving direction and does not need to be rotatably disposed on the body, but it can still be adjusted by the manner of the embodiments described below.
Please refer to fig. 5, which is a schematic structural diagram of abody 100 of the connectingmechanism 10 according to an embodiment of the present invention.
Thebody 100 has a first mountingwall 110 and asecond mounting wall 120 for abutting against thepower mechanism 22 and theoperating arm 23, respectively. In one embodiment, thebody 100 has a mountinggroove 130 penetrating the first mountingwall 110 and the second mountingwall 120 for receiving theconnection unit 200. In this embodiment, the number of the mountingslots 130 is plural, and thepower mechanism 22 has pluralpower connection pads 202 to drive the correspondingdriving connection pads 203, and the mounting slots are distributed along the periphery of thebody 100. In other embodiments, the mountingslot 130 may be other sections, such as a straight section. Alternatively, only one mountinggroove 130 may be provided.
In one embodiment, thebody 100 is provided with apositioning unit 140 for positioning theoperation arm 23 and/or thepower mechanism 22. I.e. when theoperating arm 23 and/or thepower mechanism 22 are connected. Specifically, the positioningunits 140 are three positioning holes, which are distributed in a triangular shape, wherein the positioning holes may be through holes or blind holes. In other embodiments, thepositioning unit 140 may have other structures, such as a positioning column. In addition, thepositioning unit 140 may be omitted, and thepositioning unit 140 is not required.
In one embodiment, thebody 100 is further provided with a mounting unit (not shown) for fixing theoperation arm 23 and/or thepower mechanism 22. For example, the mounting unit is a snap structure, which is snapped with theoperating arm 23 and theactuating mechanism 22, so that theactuating mechanism 22 and theoperating arm 23 are both fixedly connected with thebody 100; for another example, the mounting unit is a screw fastening structure, which is screwed with theoperating arm 23 and thepower mechanism 22; for another example, the mounting unit is an electromagnet assembly, so that the three are magnetically connected.
Fig. 6 to fig. 10 are a schematic structural diagram of a different embodiment of the connectingmechanism 10 and a partial schematic diagram of an embodiment of the slave operating device, respectively.
In one embodiment, theconnection unit 200 includes afirst connection pad 210 and asecond connection pad 220, thefirst connection pad 210 is used for abutting against thepower connection pad 202 on thepower mechanism 22, and thesecond connection pad 220 is used for abutting against the drivingconnection pad 203 on theoperation arm 23, so that thepower mechanism 22 drives theoperation arm 23 through theconnection unit 200. At least one of the first connectingplate 210 and thepower connecting plate 202 is movable along the abutting direction, and at least one of the second connectingplate 220 and thedriving connecting plate 203 is movable along the abutting direction, so that the mounting gap between the connectingunit 200 and theoperating arm 23 and thepower mechanism 22 is reduced. For example, thefirst connection disc 210 and thesecond connection disc 220 are both movable relative to thebody 100 in the holding direction. For another example, thefirst land 210 and the drivingland 203 are both movable relative to thebody 100 in the holding direction. For another example, thepower connection disc 202 and thesecond connection disc 220 are both movable relative to thebody 100 along the abutting direction. For another example, the first connection disc and the second connection disc are immovable in the abutting direction, and the power connection disc and the driving connection disc move in the abutting direction. The movable connection plate along the abutting direction is movable along the abutting direction when thebody 100 of theconnection mechanism 10 abuts against or is adjacent to theoperating arm 23 and/or thepower mechanism 22, that is, when thebody 100 is basically stationary relative to theoperating arm 23 and/or thepower mechanism 22, theconnection mechanism 10 moves through the connection plate to reduce the installation gap, and the connection plate includes afirst connection plate 210, asecond connection plate 220, a drivingconnection plate 203 and apower connection plate 202.
When the connectingmechanism 10 having the connectingunit 200 is connected to thecorresponding operating arm 23 and theactuating mechanism 22, at least one of the connecting plates abutting against each other is movable relative to themain body 100, so as to reduce the installation gap and the driving error, and to make the operation and control of theoperating arm 23 more accurate.
In an embodiment, thefirst connection pad 210 and thesecond connection pad 220 are both movable relative to thebody 100 along the abutting direction, and thefirst connection pad 210 and thesecond connection pad 220 are disposed opposite to each other. In the embodiment shown in fig. 4, 6, 8, and 9, the edge regions of the first connectingdisc 210 and the second connectingdisc 220 are respectively used for abutting against the inner surfaces of the first mountingwall 110 and the second mountingwall 120, so that the connectingunit 200 is accommodated in the mountinggroove 130 and the movement of the first connectingdisc 210 and the second connectingdisc 220 is limited. In the embodiment shown in fig. 7, theconnection unit 200 is disposed through the mountinggroove 130, and both ends of the connection unit extend out of the mountinggroove 130, i.e. protrude out of the first mountingwall 110 and the second mountingwall 120, respectively. In other embodiments, theconnection unit 200 may also have one end extending out of the mountinggroove 130 and the other end located in the mountinggroove 130.
In the embodiment shown in fig. 6 to 9, the rotation axes of the first connectingdisc 210 and the second connectingdisc 220 in the connectingunit 200 substantially coincide, i.e. the center lines of the first connecting disc and the second connecting disc substantially coincide. In other embodiments, the rotation axes of the first connectingdisc 210 and the second connectingdisc 220 may form an acute angle or a right angle, that is, the first connecting disc and the second connecting disc form an acute angle or a right angle. At this time, theconnection unit 200 is of a bent structure, the two connection discs form an acute angle or a right angle, and thefirst connection disc 210 and thesecond connection disc 220 are connected through the transmission unit, so that thefirst connection disc 210 and thesecond connection disc 220 rotate synchronously.
As shown in fig. 8, in an embodiment, thefirst pad 210 and thesecond pad 220 of theconnection unit 200 move independently relative to thebody 100, that is, when thefirst pad 210 moves, the state of thesecond pad 220 is not affected, and vice versa. Specifically, theconnection unit 200 further includes anelastic unit 230, two ends of theelastic unit 230 respectively abut against thefirst connection disc 210 and thesecond connection disc 220, so that edge areas of the two connection discs respectively abut against inner surfaces of thefirst installation wall 110 and thesecond installation wall 120, that is, when theoperation arm 23 and thepower mechanism 22 are not connected, theelastic unit 230 is in a compressed state, so as to ensure that thefirst connection disc 210, thesecond connection disc 220 and the two installation walls abut against each other. In other embodiments, theelastic unit 230 may be omitted, and in this case, the elastic unit may be replaced by using a connection pad having elasticity.
In other embodiments, theconnection unit 200 may have other structures to allow the two connection pads to move independently. As shown in fig. 9, in an embodiment, theconnection unit 200 further includes amain body 240, and thefirst connection pad 210 and thesecond connection pad 220 are connected to themain body 240 through theelastic unit 230. Specifically, themain body 240 is rotatably disposed on thebody 100, two sides of the main body are both provided with theelastic units 230, and the other side of theelastic units 230 is connected with thefirst connection disc 210 or thesecond connection disc 220, wherein themain body 240 is immovable along the abutting direction, so that the two connection discs connected thereto move independently. At this time, theelastic unit 230 only abuts against thefirst land 210 or thesecond land 220, so that thefirst land 210 abuts against thepower land 202, or thesecond land 220 abuts against the drivingland 203.
In other embodiments, the first connectingdisc 210 and the second connectingdisc 220 in the connectingunit 200 can also move synchronously with respect to thebody 100. At this time, thedriving pad 203 and/or thepower pad 202 may also move in the abutting direction, and theelastic unit 230 is disposed on thedriving pad 203 and/or thepower pad 202 to abut the corresponding pads against each other. For example, the connection unit includes an elastic unit to be abutted against the power connection pad through the first connection pad, and at this time, the elastic unit is also provided on the driving connection pad to be abutted against the second connection pad when being connected to theconnection mechanism 10.
Theelastic unit 230 of theconnection unit 200 may have various structures. As shown in fig. 8, in an embodiment, theelastic unit 230 includes afirst connection post 231 and asecond connection post 232 that are elastically connected, and thefirst connection post 231 and thesecond connection post 232 are respectively used for abutting against two connection pads that are oppositely disposed. Specifically, thesecond land 220 is provided with a receivinghole 250 for receiving the first connectingpost 231, the first connectingpost 231 is received in the receivinghole 250 and abuts against the bottom surface of the receivinghole 250, so that theelastic unit 230 is more stably connected with thesecond land 220, and the second connectingpost 232 abuts against thefirst land 210. In other embodiments, the receiving holes may be opened on the first connectingtray 210, or both the receiving holes are opened on the first connectingtray 210, wherein the receiving holes are used for receiving the first connectingposts 231 or the second connectingposts 232. For example, thefirst land 210 has a receiving hole, one end of the first connectingpost 231 or the second connectingpost 232 is received in the receiving hole, and the other end abuts against thesecond land 220. For another example, thefirst land 210 and thesecond land 220 are both provided with receiving holes for receiving the first connectingposts 231, at this time, the first connectingposts 231 of part of the connectingunit 200 are received in the receiving holes of thefirst land 210, the second connectingposts 232 abut against thesecond land 220, the first connectingposts 231 of part of the connectingunit 200 are received in the receiving holes of thesecond land 220, and the second connectingposts 232 abut against thefirst land 210. For another example, thefirst connection pad 210 has a receiving hole for receiving thefirst connection post 231 and thesecond connection post 232, thefirst connection post 231 of a part of theelastic unit 230 is received in the connection hole, thesecond connection post 232 abuts against thesecond connection pad 220, thefirst connection post 231 of a part of theelastic unit 230 abuts against thesecond connection pad 220, and thesecond connection post 232 is received in the receiving hole. In other embodiments, the receiving hole may be omitted. Alternatively, theelastic unit 230 may have another structure, for example, theelastic unit 230 is a spring.
As shown in fig. 6, afirst mounting position 211 is provided on the first connectingplate 210, and asecond mounting position 221 is provided on the second connectingplate 220, for connecting with corresponding structures of thepower connecting plate 202 of the power mechanism and thedriving connecting plate 203 of the operating arm, respectively. As shown in fig. 10 and fig. 11, they are schematic structural diagrams of the connection unit, the power connection disc and the driving connection disc in different view angles. In one embodiment, the first mountinglocations 211 and the second mountinglocations 221 are hole structures, and thepower land 202 and the drivingland 203 have mountingposts 214 corresponding to the hole structures to connect with the corresponding mounting locations. In other embodiments, only one of the two mounting locations may be configured as a hole, and the connecting pad connected thereto is correspondingly disposed.
Thefirst mounting position 211 and/or thesecond mounting position 221 may be a through hole or a blind hole. For example, both mounting positions are blind hole structures, and thepower land 202 and the drivingland 203 are provided with mounting posts and are respectively accommodated in the corresponding hole structures. In an embodiment, thefirst mounting position 211 and/or thesecond mounting position 221 are tapered holes, so that the mounting gap between the plurality of connecting pads can be further reduced.
In one embodiment, the mountingposts 214 may be tapered post structures to further reduce the mounting gap between the plurality of lands. The free end of the post structure may also have a rounded chamfer structure, e.g., a chamfer connecting with the inner wall of the mounting location to form a line contact.
Further, as shown in fig. 10 and 11, after thepower connection disc 202 is connected to thefirst connection disc 210, the mountingpost 214 and thefirst mounting position 211 form a self-locking structure, specifically, an included angle is formed between an inner wall of thefirst mounting position 211 and the mountingpost 214 on thepower connection disc 202, so that the two are locked; and/or the mountingpost 214 and thesecond mounting position 221 form a self-locking structure, that is, the inner wall of thesecond mounting position 221 and the connecting post of thedriving connecting disc 203 form an included angle. In one embodiment, the included angle is 2 to 30 degrees, for example, 8 degrees. In other embodiments, the included angle may be in other ranges.
In other embodiments, the first mountinglocations 211 and/or the second mountinglocations 221 may also be pillar structures, and the corresponding connecting pads have hole structures for connecting with the corresponding mounting locations. The structure may be the same as in the above embodiments, and will not be repeated here.
It should be noted that, when the mounting position or the structure mounted corresponding to the mounting position is a column structure, the column structure may include a first connection portion and a second connection portion (not shown) connected to each other, wherein the first connection portion is configured to be mounted in cooperation with the hole structure so as to enable the two connection pads to be connected in cooperation, and the second connection portion is configured to swing with respect to the first connection portion, for example, the second connection portion is a flexible structure so as to enable a certain adjustment space to be provided between the two connected mechanisms.
The cross-section of thefirst mounting position 211 and/or thesecond mounting position 221 in the above embodiments may have various shapes, such as a rectangle, a circle, etc.
It should be noted that, when the power connection disc of the power mechanism and the driving connection disc of the operating arm are movable in the abutting direction, the power mechanism and the driving connection disc may have substantially the same structure as the connection disc of the connection mechanism and the related structure.
For example, the power connection plate of the power mechanism is movable in the holding direction. Specifically, the power mechanism is provided with a power body and an elastic unit, wherein the power body is provided with a power installation groove, the power connection disc is accommodated in the power installation groove, and the edge area of the power connection disc is abutted against the power body so as to limit the movement of the power connection disc; the elastic unit comprises a first connecting column and a second connecting column which are elastically connected, and the first connecting column and the second connecting column respectively support against the bottom surfaces of the power connecting disc and the power mounting groove. Furthermore, the bottom surface of the power connecting disc and/or the power mounting groove is provided with a containing hole for containing the first connecting column and/or the second connecting column. In other embodiments, the power connection disc may also extend out of the power installation slot.
For another example, the drive link plate of the operation arm is movable in the holding direction. Specifically, the operating arm is provided with a driving body and an elastic unit, a driving installation groove is formed in the driving body, the driving connecting disc is accommodated in the driving installation groove, and the edge area of the driving connecting disc is abutted against the driving body so as to limit the movement of the driving connecting disc; the elastic unit comprises a first connecting column and a second connecting column which are elastically connected, and the first connecting column and the second connecting column respectively support against the bottom surfaces of the driving connecting disc and the driving mounting groove. Furthermore, the bottom surface of the driving connecting disc and/or the driving mounting groove is provided with a containing hole for containing the first connecting column and/or the second connecting column. In other embodiments, the drive connection pad may also extend out of the drive mounting slot.
In one embodiment, the connection mechanism comprises a first connection pad and a second connection pad, wherein at least one of thefirst connection pad 210 and thepower connection pad 202 is movable relative to the body along a first direction, and at least one of thesecond connection pad 220 and thedriving connection pad 203 is movable relative to the body along a second direction, so as to adjust the coaxiality of thepower connection pad 202 and thedriving connection pad 203. The first direction and the rotating shaft of the first connecting disc form an included angle, the second direction and the rotating shaft of the second connecting disc form an included angle, and the first connecting disc and the second connecting disc rotate synchronously. For example, thefirst interface disc 210, thedrive interface disc 203 are movable relative to the body in a direction perpendicular to the rotation axis; for another example, thesecond interface disc 220, thepower interface disc 202, is movable relative to the body in a direction perpendicular to the axis of rotation.
The connecting discs can move relative to the body, and the two connecting discs connected with each other can be relatively static or can move relatively. In one embodiment, the first connecting plate is movable relative to the body, and the power connecting plates can be either stationary relative to the first connecting plate, i.e. movable therewith, or movable relative to each other, e.g. as shown in fig. 10 and 11, the power connecting plates can slide along the first mounting position to adjust the coaxiality. In one embodiment, the first interface disc is non-translatable relative to the body, and the power interface disc is moveable relative to the body and the first interface disc. For example, the power connection disc is non-translatable relative to the power body, and it slides along the first mounting location to be movable relative to the body and the first connection disc. For another example, the power connection disc is movable relative to the body and is slidable along the first mounting location.
When the connectingmechanism 10 having the connectingunit 200 is connected to thecorresponding operating arm 23 and thepower mechanism 22, at least one of the connecting plates abutting against each other is movable relative to the body, so as to adjust the coaxiality between thedriving connecting plate 203 and thepower connecting plate 202, thereby enabling the operation and control of theoperating arm 23 to be more accurate and prolonging the service life.
It should be noted that, when the first connection disc and the second connection disc of the connection mechanism are respectively movable along the first direction and the second direction relative to the body, thefirst connection disc 210 and thesecond connection disc 220 can move independently or synchronously. For example, the first connectingplate 210 and the second connectingplate 220 are slidably connected in the adjusting direction so that they can move relatively. In this case, the first mounting position and the second mounting position may be tapered grooves. In other embodiments, the first connectingplate 210 and the second connectingplate 220 may also move synchronously, and the connecting unit moves in the mounting slot for adjustment.
Fig. 12 to fig. 14 are schematic structural diagrams of an embodiment of a connectingmechanism 10 and a connectingunit 200 according to the present invention.
In an embodiment, thefirst connection pad 210 and thesecond connection pad 220 are both movable relative to the body, specifically, thefirst connection pad 210 is movable along a first direction limited by thefirst installation position 211, thesecond connection pad 220 is movable relative to the body along a second direction limited by thesecond installation position 221, both the first direction and the second direction are perpendicular to the rotation axis, and projections of both directions on thefirst connection pad 210 or thesecond connection pad 220 intersect, that is, both directions are arranged in a non-parallel manner.
As shown in fig. 12, in an embodiment, thefirst connection pad 210 and thesecond connection pad 220 of the connection unit are both received in the mountinggroove 130 of the body and are movable in the mountinggroove 130 along a direction perpendicular to the rotation axis thereof, specifically, a gap is provided between each connection pad and a side wall of the mounting groove so as to be movable. For example, the first connecting disc and the second connecting disc can translate along the plane of the surfaces, the rotating shaft of the first connecting disc is perpendicular to the first connecting disc, and the rotating shaft of the second connecting disc is perpendicular to the second connecting disc. When theconnection unit 200 is connected to thedriving connection pad 203, theconnection unit 200 can only move in the first direction and the second direction due to the limitation of thefirst installation position 211 and thesecond installation position 221.
In other embodiments, the mounting position may be at least a partial disk region on the connecting disk, in which case a plurality of connecting disks may be magnetically connected, and the coaxiality is adjusted by a gap between the connecting disk and the body.
The first connecting disc and the second connecting disc can also be static relative to the body along the plane where the first connecting disc and the second connecting disc are located, namely the two connecting discs cannot translate along the plane where the first connecting disc and the second connecting disc are located, and at the moment, the power connecting disc and the driving connecting disc can translate relative to the body. In one embodiment, the first connecting disc is provided with a first mounting position so that the first connecting disc and the power connecting disc connected with the first connecting disc can move relatively along a first direction; the second connecting disc is provided with a second mounting position so that the second connecting disc and the driving connecting disc connected with the second connecting disc can move relatively along a second direction.
In the embodiment shown in fig. 13, the first mountinglocations 211 and the second mountinglocations 221 are strip-shaped holes, wherein the first direction is an extending direction of the first mounting locations, and the second direction is an extending direction of the second mounting locations. At this time, thepower connection pad 202 and thedriving connection pad 203 are provided with corresponding column structures, such as the mountingcolumns 214, to be correspondingly connected with the first mounting position and the second mounting position, and the column structures are movable along the strip holes in the strip holes to adjust the coaxiality, that is, the first connection pad and the power connection pad are relatively movable, and the second connection pad and the driving connection pad are relatively movable. In other embodiments, only one of the mounting locations may be a strip-shaped hole, or the two mounting locations may also be in other shapes, for example, a columnar structure, where the power connection disc and the driving connection disc are provided with corresponding strip-shaped holes.
In other embodiments, for example, the body may have a plurality of connection units, and in this case, the coaxiality is adjusted mainly by moving the driving land and the power land in the mounting position, and the gap between the connection unit and the side wall of the mounting groove of the body is adjusted mainly when the plurality of connection units are connected so that the plurality of connection units are connected to the corresponding land. That is, the gap between the connection unit and the mounting groove can be adjusted for coaxiality, and the position between the connection units can be adjusted, so that the connection units are correspondingly arranged and connected with the corresponding driving connection disc and the corresponding power connection disc.
In one embodiment, the first mountinglocations 211 and the second mountinglocations 221 penetrate through the side surface of the periphery of thefirst land 210 or thesecond land 220 where the mounting locations are disposed, so as to facilitate processing. In other embodiments, only the first mounting position may extend through the side of the first land, or only the second mounting position may extend through the side of the periphery of thesecond land 220. Alternatively, the two mounting locations may not extend through the side of the connecting pad.
In addition, in an embodiment, thefirst mounting position 211 and thesecond mounting position 221 are tapered holes, so that mounting gaps among the plurality of connecting discs can be further reduced, and the first mounting position and the second mounting position can be more tightly mounted with the power connecting disc and the driving connecting disc. In other embodiments, the two mounting locations may be non-tapered holes, or only the first mounting location or the second mounting location may be tapered holes.
In an embodiment, thefirst land 210 and thesecond land 220 are disposed opposite to each other, and the first mountinglocation 211 and the second mountinglocation 221 are respectively located on surfaces of thefirst land 210 and thesecond land 220 opposite to each other. The first mountingpositions 211 include two, and the first direction is an arrangement direction of the two first mountingpositions 211; the second mountinglocations 221 include two, and the second direction is an arrangement direction of the two second mountinglocations 221. In other embodiments, the first direction and the second direction may be other directions. For example, the first direction is a direction perpendicular to the arrangement direction of the plurality of first mountinglocations 211, and similarly, the second direction is a direction perpendicular to the arrangement direction of the plurality of second mountinglocations 221.
In an embodiment, an intersection point of the first direction and the second direction projected on thefirst land 210 or thesecond land 220 is located on thefirst land 210 or thesecond land 220. For example, the intersection point is located in a central region of thefirst land 210 and/or thesecond land 220; for another example, thefirst land 210 and thesecond land 220 are both centrosymmetric, and the intersection point is located at the symmetric center of thefirst land 210 and/or thesecond land 220. In other embodiments, the intersection point may be located outside thefirst land 210 or thesecond land 220.
In one embodiment, the first direction and the second direction are disposed non-parallel, for example, the first direction and the second direction are orthogonal. For another example, the first direction forms an acute angle with the second direction. In other embodiments, the first direction may be the same as the second direction.
In one embodiment, the first direction is perpendicular to the rotation axis of the first connecting disc, and/or the second direction is perpendicular to the rotation axis of the second connecting disc. I.e. the connection disc, which is translatable relative to the body, is movable in a direction perpendicular to the axis of rotation. In other embodiments, the first direction may form an acute angle with the first land, and the second direction may form an acute angle with the second land. It should be noted that the first direction and the second direction are both non-holding directions.
Please refer to fig. 14, which is a schematic structural diagram of thefirst connection pad 210 according to an embodiment of the present invention.
In one embodiment, thefirst land 210 and thesecond land 220 are connected to each other. Specifically, protrudingportions 260 extend from the first connectingdisc 210 and the second connectingdisc 220, at least two protrudingportions 260 are disposed on the first connectingdisc 210 and/or the second connectingdisc 220 at intervals, and a recessedarea 270 is formed by two adjacent protrudingportions 260. Theconvex part 260 of the first connectingdisc 210 is accommodated in theconcave region 270 of the second connectingdisc 220, and theconvex part 260 abuts against two adjacentconvex parts 260 forming theconcave region 270 for accommodating theconvex part 260; and/or the protrudingportion 260 of thesecond land 220 is received in the recessedarea 270 of thefirst land 210, and the protrudingportion 260 abuts against two adjacent protrudingportions 260 forming the recessedarea 270 for receiving the protrudingportion 260. In an embodiment, when the first land and/or the second land has/have the receivinghole 250, the receivinghole 250 is opened on theprotrusion 260.
In this embodiment, thefirst connection disc 210 and thesecond connection disc 220 each have twoprotrusions 260 and are each formed with two recessedregions 270, for example, the two protrusions are oppositely disposed. The two protrudingportions 260 of the first connectingdisc 210 are respectively accommodated in the second connectingdisc 220 and the two corresponding recessedareas 270 thereof, and the two protrudingportions 260 of the second connectingdisc 220 are respectively accommodated in the first connectingdisc 210 and the two corresponding recessedareas 270 thereof. And the first mounting position and the second mounting position are positioned in the area of the connecting disc with the convex part. In other embodiments, the number of the protrudingportions 260 and the number of the recessedareas 270 may be different, for example, two protrudingportions 260 are provided on thefirst land 210 to form a recessedarea 270, and one protrudingportion 260 is provided on thesecond land 220 and is received in the recessedarea 270 of thefirst land 210. Note that, when the land has theconvex portion 260, the mounting site is located in a region of the land having theconvex portion 260.
Further, theconcave region 270 for receiving theprotrusion 260 is matched with theprotrusion 260, so that thefirst connection disc 210 and thesecond connection disc 220 are buckled. That is, the protrudingportion 260 of thefirst land 210 matches the corresponding recessedregion 270 of thesecond land 220, and the recessedregion 270 matches the corresponding protrudingportion 260 of thesecond land 220. When the protrudingportion 260 is plural, at least one protrudingportion 260 matches with the corresponding recessedregion 270. Thus, the first connectingplate 210 and the second connectingplate 220 can be connected without other connecting parts.
In one embodiment, theprotrusion 260 has afirst side surface 261 and two second side surfaces 262 adjacent to thefirst side surface 261. Wherein thefirst side surface 261 of the protrudingportion 260 of the first connectingdisc 210 is adjacent to and extends along the periphery of the first connectingdisc 210, and thefirst side surface 261 is flush with the corresponding area of the periphery of the first connectingdisc 210. In this embodiment, the first connecting disc is a circular disc, and the first side surface is an arc surface at this time. The two second side surfaces 262 are both located on the same side of thefirst side surface 261, and an included angle is formed between the two second side surfaces 262 or between the two second side surfaces 262, and the included angle is not 0 degree or 360 degrees, that is, the planes of the two second side surfaces 262 are not overlapped. It should be noted that, in other embodiments, two second side surfaces may be located on two sides of the first side surface. In this embodiment, the protrudingportion 260 of the second connectingpad 220 is the same as the first connectingpad 210, and will not be repeated here. In other embodiments, the protrudingportion 260 of the second connectingpad 220 and the first connectingpad 210 may have different structures.
Further, two opposite second side surfaces 262 of the twoprotrusions 260 forming the recessedarea 270 on thefirst connection disc 210 are correspondingly abutted with two second side surfaces 262 of theprotrusions 260 on thesecond connection disc 220 received in the recessedarea 270, so that the two connection discs are fastened. I.e. the second side surfaces 262 of the two coupling discs abut correspondingly.
In one embodiment, the protrudingportions 260 and the recessedregions 270 of thefirst land 210 and/or thesecond land 220 are circumferentially distributed. For example, the protrudingportions 260 of the first connectingdisc 210 and the second connectingdisc 220 are both disposed oppositely. The connecting discs that are circumference distribution make two connecting discs more accurate when installing, and then when the connecting disc removed through the installation position that is located above that, the shift position was more accurate,improved operating arm 23 and power unit's axiality. In other embodiments, theprotrusions 260 on the connecting disc may also be distributed in a central symmetry manner, for example, the connecting disc has a central symmetry structure.
In one embodiment, thefirst land 210 and thesecond land 220 are identical in structure. When the two connecting discs are connected in a buckling manner, the protrudingpart 260 of one connecting disc is accommodated in the recessedarea 270 of the other connecting disc, and an included angle is formed between the first direction limited by thefirst mounting position 211 and the second direction limited by thesecond mounting position 221. Thus, not only the structure of the connectingmechanism 10 is simplified, but also the production efficiency can be improved.
In other embodiments, thefirst connection pad 210 and thesecond connection pad 220 may not be connected to theconcave region 270 through theprotrusions 260 matching with each other. For example, the first andsecond connection discs 210, 220 are connected to each other and by threaded fasteners, at which time the two connection discs may still have theprotrusions 260 and theprotrusions 260 of the two connection discs abut each other for positioning. For another example, the connecting discs are provided with a buckling structure so that the two connecting discs are buckled.
It should be noted that when the power connection disc of the power mechanism is movable relative to the body in the first direction and the driving connection disc of the operating arm is movable relative to the body in the second direction, the power mechanism may have substantially the same structure as the connection disc of the connection mechanism and its related structure.
For example, the power coupling plate of the power mechanism is movable relative to the body in a first direction. The power mechanism is provided with a power body, the power body is abutted against the body of the connecting mechanism, the power connecting disc is arranged on the power body and provided with a first mounting position, and the power connecting disc is movable relative to the power body along a first direction limited by the first mounting position; and/or the power connecting disc and the first connecting disc can move relatively along the first direction limited by the first mounting position. Further, the power connection disc comprises two first installation positions, and the first direction is the arrangement direction of the first installation positions. Or the first mounting position is a strip-shaped hole, and the extending direction of the first mounting position is the first direction. In one embodiment, the first mounting location is a hole structure and penetrates through the side surface of the periphery of the power connecting disc where the mounting location is arranged. In one embodiment, the first direction is perpendicular to the axis of rotation of the power connection pad.
For another example, the drive interface plate of the operating arm is movable relative to the body in the second direction. The operation arm is provided with a driving body, the driving body is abutted against the body of the connecting mechanism, the driving connecting disc is arranged on the driving body, the driving connecting disc is provided with a second mounting position, and the driving connecting disc is movable relative to the driving body along a second direction limited by the second mounting position; and/or the driving connecting disc and the second connecting disc are relatively movable along a second direction of a second positioning limit. Further, the driving connecting disc comprises two second mounting positions, and the second direction is the arrangement direction of the second mounting positions. Or the second mounting position is a strip-shaped hole, and the extending direction of the second mounting position is the second direction. In one embodiment, the second mounting location is a hole structure and penetrates through a side surface of the periphery of the driving connecting disc where the mounting location is arranged. In one embodiment, the second direction is perpendicular to the rotation axis of the driving land.
The above embodiments describe specific schemes for adjusting the coaxiality and the installation clearance when the connecting mechanism is connected with the operating arm and the power mechanism. In other embodiments, at least one of the connection mechanism, the operation arm, and the power mechanism may be capable of adjusting the coaxiality and the installation gap when the connection mechanism, the operation arm, and the power mechanism are connected. For example, the first connection plate and/or the second connection plate can move along the abutting direction and can move relative to the body along the first direction and/or the second direction. For another example, the first connecting disc can move along the abutting direction, and the second connecting disc can move along the second direction relative to the body; or the second connecting disc can move along the abutting direction, and the first connecting disc can move along the first direction relative to the body. For another example, the first connecting plate and the second connecting plate are both movable along the abutting direction and movable relative to the body along a direction perpendicular to the rotating shaft. For another example, the first connection disc and/or the power connection disc is movable along the abutting direction and is movable relative to the body along a direction perpendicular to the rotation axis; the second connecting disc and/or the driving connecting disc can move along the abutting direction and can move relative to the body along the direction vertical to the rotating shaft.
In this case, the first land and the second land may move independently or synchronously in the moving direction. For example, the first and second connection plates move independently in the holding direction and move synchronously in a direction perpendicular to the rotation axis. For another example, the first and second connection plates move independently in the abutting direction and in the direction perpendicular to the rotation axis.
The structure of each land is the same as that of the land and the related structure in the above embodiments, and will not be repeated here.
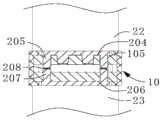
Fig. 15 is a partial schematic structural diagram of a slave operating device according to an embodiment of the present invention.
Theslave operation device 2 includes: a connectingmechanism 10, anoperating arm 23 and apower mechanism 22. Wherein, the connectingmechanism 10 is provided with a through hole 150; thepower mechanism 22 has a first connectingsurface 204 abutting against the connectingmechanism 10, and the first connectingsurface 204 is provided with a first detectingpart 205; theoperating arm 23 has a second connectingsurface 206 abutting against the connectingmechanism 10, the second connectingsurface 206 is provided with a second detectingportion 207, and the first detectingportion 205 and/or the second detectingportion 207 are/is accommodated in the through hole 150 and are disposed adjacent to or abut against each other. Thefirst detection portion 205 and/or thesecond detection portion 207 are further provided with asensor 208 for detecting a distance between thefirst detection portion 205 and thesecond detection portion 207 to obtain an abutting state of thefirst connection surface 204, thesecond connection surface 206 and the connection mechanism. Wherein, the power connection pad is disposed on thefirst connection face 204, and the driving connection pad is disposed on the second connection pad.
When theoperation arm 23 and thepower mechanism 22 are connected to the connection mechanism, if the distance between thefirst detection portion 205 and thesecond detection portion 207, which is detected by thesensor 208, is within a preset range, thefirst connection surface 204 abuts against the first installation wall, and thesecond connection surface 206 abuts against the second installation wall, at this time, thesensor 208 sends abutting information to perform subsequent operations; if thefirst connection surface 204 and/or thesecond connection surface 206 are not abutted against the corresponding mounting wall of the connection mechanism, the distance detected by thesensor 208 is out of the preset range, and at this time, thesensor 208 is not triggered to send the abutting information.
The slave operation device having theoperation arm 23 and thepower mechanism 22 can detect the connection condition between thepower mechanism 22 and thefirst connection surface 204 and thesecond connection surface 206 by thesensor 208 penetrating the through hole 150, without providing asensor 208 near each connection surface to detect the contact condition between thefirst connection surface 204 and the first mounting wall and between thesecond connection surface 206 and the second mounting wall. Therefore, the design is simplified, and the production efficiency and the stability are further improved.
In one embodiment, the first detectingportion 205 and the second detectingportion 207 are both accommodated in the through hole 150. Specifically, thefirst detection portion 205 and thesecond detection portion 207 are both of a columnar structure, and end surfaces of free ends thereof are disposed opposite to each other and are both accommodated in the through hole 150, wherein the free ends refer to end portions connected to thesensor 208 or used for approaching thesensor 208. At this point, thesensor 208 is positioned within the through-hole 150.
In other embodiments, the first detectingportion 205 may also be disposed through the through hole 150, the second detectingportion 207 may be a groove structure, specifically, the free end of the first detectingportion 205 extends out of the through hole 150, or is located in the through hole 150 and is close to the edge area of the through hole 150, thesensor 208 is disposed on the first detectingportion 205 and extends out of the through hole 150, or is located in the through hole 150 and is used for detecting the distance between thesensor 208 and the bottom surface of the groove structure, or thesensor 208 is disposed on the bottom surface of the groove structure and is used for detecting the distance between thesensor 208 and the first detectingportion 205. The second detectingportion 207 may also be disposed through the through hole 150, and the first detectingportion 205 is a groove structure, which is similar to the above embodiments and will not be repeated here.
In one embodiment, the first detectingportion 205 includes a plurality of through holes 150, the second detectingportion 207, and thesensor 208. For example, the number of the first detectingportions 205 is three, and the number of the through holes 150 and the number of the second detectingportions 207 are three, and the through holes 150 are also distributed in a triangular shape, so that the first detectingportions 205 and/or the second detectingportions 207 are inserted into the through holes 150. In the case where there are a plurality of first detectingportions 205, the lengths of the plurality of first detectingportions 205 may be different, that is, the distances between the end surfaces of the free ends of the plurality of first detectingportions 205 and the first connectingsurface 204 are different, and the second detectingportions 207 are correspondingly provided. For example, one of the first detectingportions 205 is located in the through hole 150, and one of the first detectingportions 205 protrudes from the through hole 150.
In one embodiment, the first detectingportion 205 and/or the second detectingportion 207 are matched with the through hole 150 for positioning during installation, and in this case, the positioning hole can be omitted and replaced by the through hole 150.
In one embodiment, thesensor 208 is adistance sensor 208 and/or apressure sensor 208. For example, the number of thesensors 208 is multiple, and all thesensors 208 aredistance sensors 208, and when the abutting information fed back by thesensors 208 is within the preset range, theoperation arm 23, thepower mechanism 22, and the connection mechanism meet the connection requirement, so as to perform the subsequent operation. For another example, thesensors 208 may be partially pressuresensors 208 and partially distancesensors 208, and when the abutting information fed back by thepressure sensors 208 and thedistance sensors 208 are both within the preset range, theoperating arm 23, thepower mechanism 22, and the connecting mechanism meet the connection requirement. As another example,sensor 208 may detect both pressure information and distance information.
Please refer to fig. 16, which is a partial structural diagram of a slave operation device according to an embodiment of the present invention.
In an embodiment, thepower mechanism 22 and theoperating arm 23 are further provided with an electromagnet assembly 209, which is used for connecting thepower mechanism 22, the connecting mechanism and theoperating arm 23 according to the information fed back by thesensor 208. When the fed-back butting information is in the preset range, the electromagnet assembly is triggered, so that thepower mechanism 22, the connecting mechanism and theoperating arm 23 are connected.
Specifically, in one embodiment, the electromagnet assembly includes amagnetic portion 209A and anattraction portion 209B, and theattraction portion 209B is made of a material that can be attracted by the magnetic portion. Themagnetic portion 209A is disposed on thefirst connection surface 204 or thesecond connection surface 206, and themagnetic portion 209A and/or theattraction portion 209B are disposed through theconnection mechanism 10 and magnetically connected to each other. For example, the connection mechanism has a receiving throughhole 160, and both themagnetic portion 209A and theattraction portion 209B are received in the receiving throughhole 160, that is, the magnetic portion and the attraction portion are magnetically connected in the receiving throughhole 160. For another example, the magnetic portion is disposed on the first connectingsurface 204 and penetrates the receiving throughhole 160, and the attracting portion is disposed on the second connectingsurface 206 and is flush with the second connectingsurface 206.
In other embodiments, thepower mechanism 22, theoperating arm 23, and the connecting mechanism may be provided with an electromagnet assembly for connecting thepower mechanism 22, the connecting mechanism, and theoperating arm 23 according to the information fed back by thesensor 208. Specifically, the electromagnet assembly includes a plurality of magnetic portions and a plurality of attracting portions, wherein the magnetic portions are disposed on the connecting mechanism, and the attracting portions are disposed on the first connectingsurface 204 and the second connectingsurface 206, respectively, so as to magnetically connect theoperating arm 23, the connecting mechanism, and the driving mechanism. For example, the connection mechanism has a receiving throughhole 160, and the magnetic portion is disposed in the receiving throughhole 160, and two surfaces of the magnetic portion facing thefirst connection surface 204 and thesecond connection surface 206 are respectively magnetically connected to the attraction portions on thefirst connection surface 204 and thesecond connection surface 206, so as to connect theoperation arm 23, thepower mechanism 22, and the connection mechanism to each other.
In one embodiment, the plurality ofsensors 208 is distributed around the electromagnet assembly. For example, the magnetic portion is disposed in the middle region of the connection mechanism, the attraction portion is disposed on thefirst connection surface 204 and thesecond connection surface 206, thefirst detection portion 205 is disposed on thefirst connection surface 204 around the attraction portion, and thesensor 208 is disposed on thefirst detection portion 205.
In each of the above embodiments, thesensor 208 may be used to detect the contact state of the connection surface, and thepower mechanism 22, the connection mechanism, and theoperation arm 23 may be connected by an electromagnet assembly, which will not be described again.
As shown in fig. 17 to 19, the plurality of lands may be connected in other manners.
In one embodiment, theslave operation device 2 includes: a connectingmechanism 10, apower mechanism 22 and anoperating arm 23. Specifically, thepower mechanism 22 has apower connection disc 202; theoperation arm 23 has adrive land 203; theconnection mechanism 10 has abody 100 and aconnection unit 200 provided on thebody 100, theconnection unit 200 has afirst land 210, asecond land 220, apower land 202 connected to thefirst land 210, a drivingland 203 connected to thesecond land 220, and thepower land 202 magnetically connected to the drivingland 203 so that thepower land 202 drives the drivingland 203 and thus theoperating arm 23 to perform a desired operation.
It should be noted that thepower connection pad 202 may rotatably drive the drivingconnection pad 203, and theconnection unit 200 may be rotatable with respect to thebody 100, and thepower connection pad 202 may also linearly drive the drivingconnection pad 203, and theconnection unit 200 may be movable with respect to thebody 100 in a driving direction. The connecting pads and the connectingunit 200 can also move along the abutting direction and/or move along the first direction/the second direction in the above embodiments, for example, the first connectingpad 210 and the second connectingpad 220 can move relatively to reduce the installation gap.
Thepower land 202 is magnetically connected to the drivingland 203, and thepower land 202 may be directly magnetically connected to the drivingland 203, or thepower land 202 may be magnetically connected to the drivingland 203 via theconnection unit 200. Specifically, at least one of the drivingland 203, thepower land 202, and theconnection unit 200 has magnetism so that thepower land 202 drives the drivingland 203.
As shown in fig. 17, in one embodiment,power land 202 is magnetically coupled to driveland 203 viacoupling unit 200. Theconnection unit 200 has magnetism, and thefirst connection pad 210 and thesecond connection pad 220 are respectively magnetically connected with thepower connection pad 202 and thedriving connection pad 203. In other embodiments, thedriving pad 203 may be magnetic to magnetically couple with thesecond pad 220, and/or thepower pad 202 may be magnetic to magnetically couple with thefirst pad 210.
In one embodiment, the first connectingplate 210 is in communication with the second connectingplate 220, and thedriving connecting plate 203 and thepower connecting plate 202 are disposed in abutting or adjacent to each other through a communication area to be magnetically connected. As shown in fig. 18, the drivingland 203 is inserted through thesecond land 220 to protrude out of thesecond land 220 and magnetically connected with thepower land 202. Thepower connection pad 202 is inserted into thefirst connection pad 210 and connected to thedriving connection pad 203 in theconnection unit 200. In other embodiments, thepower connection pad 202 may not be disposed through thefirst connection pad 210, and thedriving connection pad 203 is disposed through thesecond connection pad 220, thefirst connection pad 210, and thepower connection pad 202 in sequence. In other embodiments, thepower connection pad 202 is disposed through thefirst connection pad 210 to protrude out of thefirst connection pad 210 and magnetically connect with thedriving connection pad 203. Similarly, thedriving connecting disc 203 may or may not penetrate the second connectingdisc 220 at this time. For another example, thepower connection pad 202 is disposed through thefirst connection pad 210, thedriving connection pad 203 is disposed through thesecond connection pad 220, and the two are disposed adjacent to each other for magnetic connection.
In one embodiment, the first connectingplate 210 is provided with a first mounting position, and the second connectingplate 220 is provided with a second mounting position communicated with the first mounting position. Thepower connection disc 202 is arranged in thefirst connection disc 210, thedriving connection disc 203 is arranged in thesecond connection disc 220, and the first installation position and the second installation position which are communicated through thefirst connection disc 210 and thesecond connection disc 220 are abutted or adjacent to each other to be magnetically connected. In other embodiments, the two mounting locations may be arranged in a non-communicating manner, as long as the magnetic connection between thepower land 202 and the drivingland 203 is ensured.
In an embodiment, the first mounting position is located in a middle region of the first connectingdisc 210, and the second mounting position is located in a middle region of the second connectingdisc 220, wherein the first mounting position may be one or more. When the mounting positions are multiple, the multiple mounting positions can also be distributed along the periphery of the connecting disc provided with the mounting positions.
In one embodiment, thefirst mounting position 211 and thesecond mounting position 221 are both hole structures, thepower connection disc 202 is accommodated in thefirst mounting position 211, thedriving connection disc 203 is accommodated in thesecond mounting position 221, wherein bottom surfaces of the two mounting positions are communicated, and thepower connection disc 202 and thedriving connection disc 203 are abutted or adjacently arranged through a communication area to be magnetically connected. For example, in the embodiment shown in fig. 18, the bottom surfaces of the two mounting locations are all in communication, that is, the bottom surface regions of the two mounting locations are completely in communication, and thepower land 202 and thedrive land 203 are in contact with each other through the communication regions. For another example, in the embodiment shown in fig. 19, a partial area of the bottom surface of at least one mounting position is communicated with another mounting position, and in this embodiment, thepower connecting disc 202 and thedriving connecting disc 203 are arranged adjacently at a distance and are magnetically connected. In other embodiments, the power land and the drive land may also abut through the communication area.
Furthermore, the two mounting positions are both conical holes, and the axes of the two conical holes are overlapped. In other embodiments, the axes of the two installation positions may not coincide, as long as the connection is ensured.
In one embodiment, when thepower connection pad 202 is magnetically connected to thedriving connection pad 203 through theconnection unit 200, one of thepower connection pad 202 and thefirst connection pad 210 is provided with a groove, and the end of the other connection pad is accommodated in the groove, and/or one of thedriving connection pad 203 and thesecond connection pad 220 is provided with a groove, and the end of the other connection pad is accommodated in the groove. In one embodiment, when thepower connection pad 202 directly abuts against the drivingconnection pad 203 and is magnetically connected, one of thepower connection pad 202 and thedriving connection pad 203 is provided with a groove, and the end of the other connection pad is accommodated in the groove.
In one embodiment, the first connectingdisc 210 and/or thepower connecting disc 202 is provided with a positioning unit, and the second connectingdisc 220 and/or thedriving connecting disc 203 is provided with a positioning unit for positioning when being installed. For example, the positioning unit is located on the periphery of the connecting disc. Specifically, the positioning units on thefirst land 210 and thepower land 202 are distributed along the peripheries of thefirst land 210 and thepower land 202, respectively, and are matched convex structures and concave structures, and the positioning units on thesecond land 220 and the drivingland 203 are distributed along the peripheries of thesecond land 220 and the drivingland 203, respectively, and are matched convex structures and concave structures. The positioning unit can be an annular positioning unit continuously distributed along the periphery of the connecting disc, or a plurality of annular positioning units are arranged at intervals. For another example, thefirst land 210 and thesecond land 220 have positioning units, and the positioning units are concave or convex structures for respectively accommodating thepower land 202 and the drivingland 203, and at this time, thepower land 202 and the drivingland 203 are accommodated in the concave structures or the areas limited by the convex structures. In other embodiments, the positioning unit may be provided only between thefirst land 210 and thepower land 202, or between thesecond land 220 and the drivingland 203. When thepower land 202 and thedrive land 203 are directly in contact with each other, thepower land 202 and/or thedrive land 203 are provided with positioning units.
In one embodiment, at least one of thepower connection pad 202, thedriving connection pad 203 and theconnection mechanism 10 has an electromagnet structure. For example, thepower land 202 has an electromagnet structure, and both the drivingland 203 and theconnection mechanism 10 can be attracted by a magnet, and at this time, thepower land 202 penetrates theconnection mechanism 10 and is magnetically connected to the drivingland 203.
Furthermore, at least one of thepower mechanism 22, theoperating arm 23 and the connectingmechanism 10 has a sensor to trigger the electromagnet structure of thepower connecting plate 202, so that thepower mechanism 22, theoperating arm 23 and the connectingmechanism 10 are connected.
The technical features of the embodiments described above may be arbitrarily combined, and for the sake of brevity, all possible combinations of the technical features in the embodiments described above are not described, but should be considered as being within the scope of the present specification as long as there is no contradiction between the combinations of the technical features.
The above-mentioned embodiments only express several embodiments of the present invention, and the description thereof is more specific and detailed, but not construed as limiting the scope of the invention. It should be noted that, for a person skilled in the art, several variations and modifications can be made without departing from the inventive concept, which falls within the scope of the present invention. Therefore, the protection scope of the present patent shall be subject to the appended claims.

Claims (4)

CN201810650674.4A2018-06-222018-06-22High-precision surgical robotActiveCN110623734B (en)

Priority Applications (1)

Application NumberPriority DateFiling DateTitle
CN201810650674.4ACN110623734B (en)2018-06-222018-06-22High-precision surgical robot

Applications Claiming Priority (1)

Application NumberPriority DateFiling DateTitle
CN201810650674.4ACN110623734B (en)2018-06-222018-06-22High-precision surgical robot

Publications (2)

Publication NumberPublication Date
CN110623734A CN110623734A (en)2019-12-31
CN110623734Btrue CN110623734B (en)2021-07-09

Family

ID=68967125

Family Applications (1)

Application NumberTitlePriority DateFiling Date
CN201810650674.4AActiveCN110623734B (en)2018-06-222018-06-22High-precision surgical robot

Country Status (1)

CountryLink
CN (1)CN110623734B (en)

Families Citing this family (2)

* Cited by examiner, † Cited by third party
Publication numberPriority datePublication dateAssigneeTitle
CN114762621A (en)*2021-09-152022-07-19科弛医疗科技(北京)有限公司Connection structure, operation execution assembly and operation robot
CN114469353A (en)*2022-04-182022-05-13湖南科迈森医疗科技有限公司Robot-assisted hysteroscopic surgery system

Citations (7)

* Cited by examiner, † Cited by third party
Publication numberPriority datePublication dateAssigneeTitle
CN102630154A (en)*2009-09-232012-08-08伊顿株式会社 Sterile adapter, connection structure of rotating wheel and connection structure of surgical instruments
CN105636543A (en)*2013-08-152016-06-01直观外科手术操作公司Instrument sterile adapter drive interface
CN106102638A (en)*2014-03-172016-11-09直观外科手术操作公司 Signal connectors for a sterile barrier between surgical instruments and teleoperated actuators
US20170065365A1 (en)*2013-10-242017-03-09Auris Surgical Robotics, Inc.Instrument Device Manipulator with Surgical Tool De-Articulation
US20170367782A1 (en)*2015-09-092017-12-28Auris Surgical Robotics, Inc.Instrument device manipulator with back-mounted tool attachment mechanism
US20180168752A1 (en)*2016-12-202018-06-21Verb Surgical Inc.Sterile adapters with a shifting plate for use in a robotic surgical system
CN110623746A (en)*2018-06-222019-12-31深圳市精锋医疗科技有限公司Surgical robot

Patent Citations (7)

* Cited by examiner, † Cited by third party
Publication numberPriority datePublication dateAssigneeTitle
CN102630154A (en)*2009-09-232012-08-08伊顿株式会社 Sterile adapter, connection structure of rotating wheel and connection structure of surgical instruments
CN105636543A (en)*2013-08-152016-06-01直观外科手术操作公司Instrument sterile adapter drive interface
US20170065365A1 (en)*2013-10-242017-03-09Auris Surgical Robotics, Inc.Instrument Device Manipulator with Surgical Tool De-Articulation
CN106102638A (en)*2014-03-172016-11-09直观外科手术操作公司 Signal connectors for a sterile barrier between surgical instruments and teleoperated actuators
US20170367782A1 (en)*2015-09-092017-12-28Auris Surgical Robotics, Inc.Instrument device manipulator with back-mounted tool attachment mechanism
US20180168752A1 (en)*2016-12-202018-06-21Verb Surgical Inc.Sterile adapters with a shifting plate for use in a robotic surgical system
CN110623746A (en)*2018-06-222019-12-31深圳市精锋医疗科技有限公司Surgical robot

Also Published As

Publication numberPublication date
CN110623734A (en)2019-12-31

Similar Documents

PublicationPublication DateTitle
JP6831013B2 (en) Aseptic adapter for use in robotic surgical systems
US9987096B2 (en)System and method for MRI-guided breast interventions
CN110623734B (en)High-precision surgical robot
CN110623736B (en) Connection mechanism, power mechanism, operating arm and slave operating equipment
CN109330689B (en)Slave operation equipment assembly capable of adjusting operation arm and operation robot
CN110448382B (en)Indicator mechanism for actuator controlled surgical instrument
CN110623746B (en)Surgical robot
CN110623745B (en)Surgical robot with high precision
CN110623743A (en)Surgical robot with detection part
KR101633618B1 (en)Adapter for surgical robot
CN110623740B (en)Surgical robot
CN110623739B (en)Adjustable surgical robot
CN110623741B (en)Operation robot with accurate operation
CN110623748B (en)Slave operation equipment capable of being quickly installed, operation arm, power mechanism and connecting mechanism
CN110623738B (en)Connection unit and connection mechanism
CN110623735B (en)Connecting mechanism, power mechanism, operating arm and slave operating equipment
CN110623742B (en)High-precision slave operation equipment
CN110623733B (en)Slave operating device
CN110623747B (en)Connecting mechanism, power mechanism, operating arm and slave operating equipment
CN110623737B (en)Connecting unit and connecting mechanism with simple structure
CN110623744A (en)High-stability connecting mechanism, power mechanism, operating arm and slave operating equipment
CN213283326U (en)Tracer assembly and surgical robot operating system
US11759274B2 (en)Surgical device and method thereof
CN114483808A (en)Connection adapter, mechanical arm assembly and surgical robot system

Legal Events

DateCodeTitleDescription
PB01Publication
PB01Publication
SE01Entry into force of request for substantive examination
SE01Entry into force of request for substantive examination
GR01Patent grant
GR01Patent grant

[8]ページ先頭

©2009-2025 Movatter.jp