Movatterモバイル変換


[0]ホーム

URL:


CN110538384B - Health-care luminous cap - Google Patents

Health-care luminous cap
Download PDF

Info

Publication number
CN110538384B
CN110538384BCN201910861216.XACN201910861216ACN110538384BCN 110538384 BCN110538384 BCN 110538384BCN 201910861216 ACN201910861216 ACN 201910861216ACN 110538384 BCN110538384 BCN 110538384B
Authority
CN
China
Prior art keywords
led lamp
power supply
gear
pcb
lower cover
Prior art date
Legal status (The legal status is an assumption and is not a legal conclusion. Google has not performed a legal analysis and makes no representation as to the accuracy of the status listed.)
Active
Application number
CN201910861216.XA
Other languages
Chinese (zh)
Other versions
CN110538384A (en
Inventor
黄斌
Current Assignee (The listed assignees may be inaccurate. Google has not performed a legal analysis and makes no representation or warranty as to the accuracy of the list.)
Individual
Original Assignee
Individual
Priority date (The priority date is an assumption and is not a legal conclusion. Google has not performed a legal analysis and makes no representation as to the accuracy of the date listed.)
Filing date
Publication date
Application filed by IndividualfiledCriticalIndividual
Priority to CN201910861216.XApriorityCriticalpatent/CN110538384B/en
Publication of CN110538384ApublicationCriticalpatent/CN110538384A/en
Application grantedgrantedCritical
Publication of CN110538384BpublicationCriticalpatent/CN110538384B/en
Activelegal-statusCriticalCurrent
Anticipated expirationlegal-statusCritical

Links

Images

Classifications

Landscapes

Abstract

The invention provides a health-care luminous cap which comprises a lower cover matched with the shape of a head and an upper cover detachably assembled with the lower cover, wherein a plurality of light holes are formed in the lower cover, and transparent plates are integrally formed at the light holes; the upper cover comprises a shell and a PCB (printed circuit board) matched with the shell in shape, at least one clamping plate is arranged on the inner wall of the shell, and a bayonet for the clamping plate to be inserted into is formed in the PCB; the PCB is also provided with an LED lamp group and a proximity sensor, and the LED lamp group flickers at a preset frequency when the proximity sensor detects that a person wears the LED lamp group; the PCB is characterized in that a control device and a power supply are further arranged between the upper cover and the lower cover, and the control device is respectively connected with the power supply and the PCB.

Description

Health-care luminous cap
Technical Field
The invention relates to a health-care product, in particular to a health-care luminous cap.
Background
Alzheimer's Disease (AD), also known as senile dementia, is a neurodegenerative Disease with irreversible progressive memory impairment and cognitive, speech dysfunction as the main clinical manifestations. The pathological changes are characterized by atrophy of cerebral cortex, accompanied by deposition of β -amyloid (β -AP), neurofibrillary tangles (NFT), a decrease in the number of large memory neurons, and the formation of Senile Plaques (SP). Because the suffering period of AD is long, huge economic burden is brought to the society and families. At present, no specific therapeutic medicine for treating or reversing the disease progression exists.
It has been shown that the stroboscopic lamp irradiates the eyes of the mouse 40 times per second, and the sound energy of hum with similar frequency is added to effectively improve the alzheimer disease of the experimental subject and restore the brain cognition, and no medical apparatus for treating diseases such as senile dementia by using LED light irradiation is available at present.
In order to solve the above problems, people are always seeking an ideal technical solution.
Disclosure of Invention
The invention aims to overcome the defects of the prior art, and provides a health-care luminous cap.
In order to achieve the purpose, the invention adopts the technical scheme that: a health care luminous cap comprises a lower cover matched with the shape of a head and an upper cover detachably assembled with the lower cover, wherein a plurality of light holes are formed in the lower cover, and transparent plates are integrally formed at the light holes; a PCB (printed Circuit Board) which is matched with the shell in shape is arranged between the upper cover and the lower cover, a proximity sensor and a plurality of LED lamps are arranged on the PCB, and the LED lamps flicker at a preset frequency when the proximity sensor detects that a person wears the LED lamps; a control device and a power supply are also arranged between the upper cover and the lower cover, and the control device is respectively connected with the power supply and the PCB;
the LED lamp comprises an installation base fixedly arranged on the PCB and an LED lamp holder detachably arranged on the installation base, the LED lamp holder comprises a pressing slider, a luminous body arranged in the pressing slider and an installation shaft arranged below the pressing slider, a cylindrical gear is arranged at the lower end of the installation shaft, a half tooth wall of the cylindrical gear is a bulge protruding out of the outer wall of the installation shaft, concave gears meshed with the bulge are arranged at the upper part of the inner wall of the installation base at intervals, convex sawteeth are arranged at the lower part of the inner wall of the installation base, and a spring is further arranged at the bottom in the installation base;
the concave part of the concave gear is provided with a metal sheet connected with the PCB through a conducting wire, and the top of the bulge is provided with a metal sheet electrically connected with the luminous body of the LED lamp through a conducting wire.
Based on the above, a radiator is further arranged behind the upper cover and is connected with the power supply and the control device through wires.
Based on the above, still be provided with bee calling organ between the upper cover with the lower cover, bee calling organ respectively with controlling means with the power supply battery is connected.
Based on the above, power supply includes power supply battery and battery power detection circuitry, power supply battery with controlling means connects, battery power detection circuitry respectively with power supply battery with controlling means connects, detects power supply battery's power and send to controlling means.
Based on the above, upper cover front end is provided with display screen and starting switch, the display screen with starting switch equally divide respectively with controlling means with the power supply battery is connected.
Based on the above, a timer is further arranged between the upper cover and the lower cover, and the timer is respectively connected with the control device and the power supply battery.
Based on the above, the lower cover bottom still is provided with the interface that charges, charge the interface with power supply battery connects.
Compared with the prior art, the invention has outstanding substantive characteristics and remarkable progress, and particularly discloses a hat, wherein a PBC board, an LED lamp and a proximity sensor are arranged in the hat, the LED lamp group and the proximity sensor are respectively connected with the PCB board, and most of the area of the lower cover of the hat is made of transparent materials so as to be convenient for light irradiation; when the proximity sensor is used, after the proximity sensor detects that a user wears the hat, the LED lamp set is controlled to emit light at a specific frequency, so that a gamma-oscillated brain wave (gamma wave) is excited to help the brain to inhibit the generation of beta-amyloid plaques, and the activity of cells capable of expelling the plaques is excited, so that the occurrence of senile dementia (Alzheimer's disease) is prevented and improved; the invention also provides an LED mounting structure, so that the LED lamp can be replaced simply and quickly.
Drawings
Fig. 1 is a front view of the structure of the present invention.
Fig. 2 is a bottom view of the structure of the present invention.
Fig. 3 is a schematic structural diagram of the LED lamp cap according to the present invention.
Fig. 4 is a schematic structural view of the mounting base of the present invention.
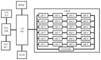
Fig. 5 is a circuit connection block diagram.
Fig. 6 is a circuit connection block diagram ofembodiment 2.
Fig. 7 is a circuit connection block diagram of embodiment 3.
In the figure, 1, an upper cover; 2. a lower cover; 3. a light-transmitting hole; 4. a display screen; 5. starting a switch; 6. a charging interface; 7. pressing the slider; 8. installing a shaft; 9. a cylindrical gear; 10. a protrusion; 11. installing a base; 12. a spring; 13. a male gear; 14. a concave gear; 15. a charging interface; 16. a heat sink.
Detailed Description
The technical solution of the present invention is further described in detail by the following embodiments.
As shown in fig. 1-2, a health-care light-emitting cap comprises alower cover 2 adapted to the shape of a head and an upper cover 1 detachably assembled with thelower cover 2, preferably, the inner wall of the upper cover 1 is provided with four convex columns, and thelower cover 2 is provided with four fixing columns corresponding to the convex columns; thelower cover 2 is provided with a plurality of light holes, and transparent plates are integrally formed at the light holes 3; a PCB (printed Circuit Board) matched with the shape of the shell is arranged between the upper cover 1 and thelower cover 2; preferably, the inner wall of the upper cover 1 is further provided with at least one clamping plate, and the PCB is provided with a bayonet for inserting the clamping plate; the PCB is provided with a proximity sensor and a plurality of LED lamps, and the LED lamps flicker at a preset frequency when the proximity sensor detects that a person wears the LED lamps; a control device and a power supply are further arranged between the upper cover 1 and thelower cover 2, and the control device is respectively connected with the power supply and the PCB;
the PCB is also provided with a plurality of LED lamps and proximity sensors, and the LED lamps flicker at a preset frequency when theproximity sensors 14 detect that a person wears the LED lamps; preferably, the predetermined frequency is 35-40Hz, with 40Hz being the best choice.
Specifically, as shown in fig. 3-4, the LED lamp includes aninstallation base 11 fixedly installed on the PCB and an LED lamp holder detachably installed on theinstallation base 11, the LED lamp holder includes a pressing slider 7, a light emitter disposed inside the pressing slider 7, and aninstallation shaft 8 disposed below the pressing slider 7, the lower end of theinstallation shaft 8 is acylindrical gear 9, a half of the tooth wall of thecylindrical gear 9 is a protrusion 10 protruding from the outer wall of theinstallation shaft 8,concave gears 14 engaged with the protrusion 10 are disposed at intervals on the upper portion of the inner wall of theinstallation base 11,convex saw teeth 13 are disposed on the lower portion of the inner wall of theinstallation base 11, and aspring 12 is further disposed at the bottom inside theinstallation base 11;
the concave part of theconcave gear 14 is provided with a metal sheet connected with the PCB through a conducting wire, and the top of the protrusion 10 is provided with a metal sheet electrically connected with the luminous body of the LED lamp through a conducting wire.
When the LED lamp head needs to be mounted, thecylindrical gear 9 at the lower part of themounting shaft 8 of the LED lamp head is aligned to the interval of theconcave gears 14 on themounting base 11, then the pressing slider 7 of the LED lamp head is pressed, so that themounting shaft 8 slides into themounting base 11 along the interval between theconcave gears 14, when thecylindrical gear 9 at the lower part of themounting shaft 8 contacts with the convexgear 13 in themounting base 11, under the action of external force, thecylindrical gear 9 slides down along the gear slope of theconvex gear 13, thereby driving themounting shaft 8 to rotate, when the pressing slider 7 is pressed to the bottom, after the tooth tip of thecylindrical gear 9 is aligned to the tooth socket of the convexgear 13, the LED lamp head is loosened at this time, and under the action of the spring force of thespring 12, themounting shaft 8 moves upwards, so that the convex part 10 of the outer wall of themounting shaft 8 is clamped into theconcave gear 14 on the upper part of themounting base 11, and the LED lamp cap is mounted. The metal sheet at the concave part of theconcave gear 14 is butted with the metal sheet at the top part of the protrusion 10, so that the electrical connection between the PCB and the luminous body of the LED lamp holder is realized.
When the LED lamp holder needs to be taken down, the pressing sliding block 7 of the LED lamp holder is pressed again, so that themounting shaft 8 of the LED lamp holder slides downwards along the gear gradient of theconvex gear 13 at the lower part of themounting base 11, themounting shaft 8 is driven to rotate, after the pressing sliding block 7 is pressed to the bottom, the tooth tips of thecylindrical gear 9 are just aligned with the intervals between theconcave gears 14, the pressing sliding block 7 is loosened at the moment, and themounting shaft 8 can move upwards along the intervals between theconcave gears 14, so that the LED lamp holder can be taken out.
A control device and a power supply are further arranged between the upper cover 1 and thelower cover 2, and as shown in fig. 5, the control device is respectively connected with the power supply and the PCB board. Preferably, the control device and the power supply are arranged at the front end of the annular base.
The power supply comprises a power supply battery and a battery power detection circuit, the power supply battery is connected with the control device, and the battery power detection circuit is respectively connected with the power supply battery and the control device and detects the power of the power supply battery and sends the power to the control device.
When the proximity sensor is used, after the proximity sensor detects that a user wears the hat, the LED lamp set is controlled to emit light at a specific frequency, so that a gamma-oscillated brain wave (gamma wave) is excited to help the brain to inhibit the generation of beta-amyloid plaques, and meanwhile, the activity of cells capable of expelling the plaques is excited, so that the occurrence of senile dementia (Alzheimer's disease) is prevented and improved.
In other embodiments, a timer is further disposed at the front end of the annular base, the timer is respectively connected to the control device and the power supply battery, and the timer is used for timing so as to enable the LED lamp set to emit light at a specific frequency for a preset time, such as 15-30 minutes each time.
In other embodiments, a display screen 4 and astarting switch 5 are arranged at the front end of the outer wall of the upper cover 1, and the display screen 4 and thestarting switch 5 are respectively connected with the control device and the power supply battery and used for displaying the current electric quantity and the remaining service time of the power supply battery and the light emitting duration of the LED lamp set.
In other embodiments, the lower shell base is further provided with acharging interface 15, and thecharging interface 15 is connected with the power supply battery to charge the power supply battery.
Example 2
This embodiment is different from embodiment 1 in that: the upper cover with still be provided with bee calling organ between the lower cover, as shown in fig. 6, bee calling organ respectively with controlling means with supply battery connects when proximity sensor detects someone and wears, controlling means control bee calling organ is with presetting the frequency sound production, simultaneously the LED lamp is in proximity sensor detects someone and flashes with presetting the frequency when wearing.
Preferably, the preset frequency is 40 Hz.
The gamma-oscillating brain waves (gamma waves) can be excited more efficiently by a combination of light stimulation and sound stimulation.
Example 3
This embodiment is different fromembodiment 2 in that: as shown in fig. 7, aheat sink 16 is further disposed behind the upper cover, and theheat sink 16 is connected to the power supply and the control device through wires.
The heat generated by the PCB inside the cap and the LED lamp is dissipated through theradiator 16, so that the effect of reducing the temperature inside the cap is achieved, and the service lives of the LED lamp and the PCB are prolonged.
Finally, it should be noted that the above examples are only used to illustrate the technical solutions of the present invention and not to limit the same; although the present invention has been described in detail with reference to preferred embodiments, those skilled in the art will understand that: modifications to the specific embodiments of the invention or equivalent substitutions for parts of the technical features may be made; without departing from the spirit of the present invention, it is intended to cover all aspects of the invention as defined by the appended claims.

Claims (6)

1. A health care luminous cap is characterized in that: the multifunctional toothbrush comprises a lower cover matched with the head in shape and an upper cover detachably assembled with the lower cover, wherein a plurality of light holes are formed in the lower cover, and transparent plates are integrally formed at the light holes; a PCB board matched with the shell in shape is arranged between the upper cover and the lower cover, a proximity sensor and a plurality of LED lamps are arranged on the PCB board, and the LED lamps flicker at a preset frequency when the proximity sensor detects that a person wears the LED lamps; a control device and a power supply are also arranged between the upper cover and the lower cover, and the control device is respectively connected with the power supply and the PCB;
when the LED lamp holder is installed, a cylindrical gear on the lower portion of an installation shaft of the LED lamp holder is aligned to the concave gear on the installation base at intervals, then a pressing sliding block of the LED lamp holder is pressed, so that the installation shaft slides into the installation base along the intervals between the concave gears, when the cylindrical gear on the lower portion of the installation shaft is contacted with the convex gear in the installation base, under the action of external force, the cylindrical gear slides downwards along the gradient of the convex gear, so that the installation shaft is driven to rotate, when the pressing sliding block is pressed to the bottom, after the tooth tips of the cylindrical gear are aligned with the tooth grooves of the convex gear, the LED lamp holder is loosened, under the action of spring force of a spring, the installation shaft moves upwards, so that the bulge on the outer wall of the installation shaft is clamped into the concave gear on the upper portion of the installation base, the LED lamp cap is mounted at the moment; the metal sheet at the concave part of the concave gear is butted with the metal sheet at the top part of the protrusion, so that the PCB is electrically connected with the luminous body of the LED lamp holder;
CN201910861216.XA2019-09-122019-09-12Health-care luminous capActiveCN110538384B (en)

Priority Applications (1)

Application NumberPriority DateFiling DateTitle
CN201910861216.XACN110538384B (en)2019-09-122019-09-12Health-care luminous cap

Applications Claiming Priority (1)

Application NumberPriority DateFiling DateTitle
CN201910861216.XACN110538384B (en)2019-09-122019-09-12Health-care luminous cap

Publications (2)

Publication NumberPublication Date
CN110538384A CN110538384A (en)2019-12-06
CN110538384Btrue CN110538384B (en)2022-08-09

Family

ID=68713345

Family Applications (1)

Application NumberTitlePriority DateFiling Date
CN201910861216.XAActiveCN110538384B (en)2019-09-122019-09-12Health-care luminous cap

Country Status (1)

CountryLink
CN (1)CN110538384B (en)

Citations (5)

* Cited by examiner, † Cited by third party
Publication numberPriority datePublication dateAssigneeTitle
CN202118167U (en)*2011-05-242012-01-18扬州市明瑞气弹簧有限公司Compression-type air spring capable of locking itself and jumping out
KR20140147215A (en)*2013-06-192014-12-30주식회사 네오닥터A alopecia-healing device
CN104373905A (en)*2014-11-072015-02-25王伟Automatic lock catch type lamp base
CN107617166A (en)*2017-09-062018-01-23吴文育A kind of headgear system for being used to treat skin of head
CN108136199A (en)*2015-07-282018-06-08光子医疗设备公司For the phototherapy apparatus of the treating skin disease of scalp

Patent Citations (5)

* Cited by examiner, † Cited by third party
Publication numberPriority datePublication dateAssigneeTitle
CN202118167U (en)*2011-05-242012-01-18扬州市明瑞气弹簧有限公司Compression-type air spring capable of locking itself and jumping out
KR20140147215A (en)*2013-06-192014-12-30주식회사 네오닥터A alopecia-healing device
CN104373905A (en)*2014-11-072015-02-25王伟Automatic lock catch type lamp base
CN108136199A (en)*2015-07-282018-06-08光子医疗设备公司For the phototherapy apparatus of the treating skin disease of scalp
CN107617166A (en)*2017-09-062018-01-23吴文育A kind of headgear system for being used to treat skin of head

Also Published As

Publication numberPublication date
CN110538384A (en)2019-12-06

Similar Documents

PublicationPublication DateTitle
KR102427652B1 (en) Device for transdermal electrical stimulation of the trigeminal nerve
JP6126591B2 (en) Dental fixture
CN113476741A (en)Transcranial direct current stimulation device and working method
EP4201367A1 (en)Orthodontics assisting device
WO2014150090A1 (en)Oral neural stimulator
CN112891748B (en) A magnetic shock therapy device
CN110538384B (en)Health-care luminous cap
JP5595562B1 (en) Voltage output device and voltage output unit
CN216823743U (en)Visual electric toothbrush
CN117598891A (en)Amblyopia treatment and myopia prevention and control instrument utilizing sound and light combination multiple training
CN114849080A (en)Laser physiotherapy device
CN205198696U (en)Be provided with multi -functional sleep therapeutic instrument of display screen
CN105327452A (en)Multifunctional sleep device with display screen
KR200155229Y1 (en) Gold / Silver Solution Maker
CN114432473A (en)Sterilization device
CN215136028U (en)Novel eye treatment equipment
CN218165615U (en)Electronic pot moxibustion device
CN212965761U (en)Medical timing reminding equipment
CN105381539A (en)Adjustable sleep treatment device provided with display screen
CN105413056A (en)Electronic anti-drowsy device
CN111134665A (en)Wearable epilepsy monitoring facilities
CN205198698U (en)Multi -functional sleep therapeutic instrument with adjustable
CN219614090U (en)Electric toothbrush with a plurality of working modes
CN209933449U (en)Multifunctional vibration massage brush
KR20190048672A (en)Low-frequency therapeutic apparatus

Legal Events

DateCodeTitleDescription
PB01Publication
PB01Publication
SE01Entry into force of request for substantive examination
SE01Entry into force of request for substantive examination
GR01Patent grant
GR01Patent grant

[8]ページ先頭

©2009-2025 Movatter.jp