Movatterモバイル変換


[0]ホーム

URL:


CN110493686B - Composite speaker module and speaker unit - Google Patents

Composite speaker module and speaker unit
Download PDF

Info

Publication number
CN110493686B
CN110493686BCN201810462427.1ACN201810462427ACN110493686BCN 110493686 BCN110493686 BCN 110493686BCN 201810462427 ACN201810462427 ACN 201810462427ACN 110493686 BCN110493686 BCN 110493686B
Authority
CN
China
Prior art keywords
sound
fixed
speaker
composite
sound guide
Prior art date
Legal status (The legal status is an assumption and is not a legal conclusion. Google has not performed a legal analysis and makes no representation as to the accuracy of the status listed.)
Active
Application number
CN201810462427.1A
Other languages
Chinese (zh)
Other versions
CN110493686A (en
Inventor
卓宗延
Current Assignee (The listed assignees may be inaccurate. Google has not performed a legal analysis and makes no representation or warranty as to the accuracy of the list.)
Chicony Electronics Co Ltd
Original Assignee
Chicony Electronics Co Ltd
Priority date (The priority date is an assumption and is not a legal conclusion. Google has not performed a legal analysis and makes no representation as to the accuracy of the date listed.)
Filing date
Publication date
Application filed by Chicony Electronics Co LtdfiledCriticalChicony Electronics Co Ltd
Priority to CN201810462427.1ApriorityCriticalpatent/CN110493686B/en
Publication of CN110493686ApublicationCriticalpatent/CN110493686A/en
Application grantedgrantedCritical
Publication of CN110493686BpublicationCriticalpatent/CN110493686B/en
Activelegal-statusCriticalCurrent
Anticipated expirationlegal-statusCritical

Links

Images

Classifications

Landscapes

Abstract

Translated fromChinese

一种复合式喇叭模块包括减振片体、第一导音组件、第一喇叭单体、第二导音组件以及第二喇叭单体。减振片体包括相对的第一表面与第二表面。第一导音组件包括第一导音体与第一支架,第一导音体具有第一底部,第一底部固定在减振片体的第一表面上,第一支架连接于第一导音体并朝远离减振片体的方向延伸。第一喇叭单体固定在第一支架上。第二导音组件包括第二导音体与第二支架,第二导音体具有第二底部,第二底部固定在减振片体之第二表面上,第二支架连接于第二导音体并朝远离减振片体的方向延伸。第二喇叭单体固定在第二支架上。

Figure 201810462427

A composite speaker module includes a vibration-damping plate, a first sound guide component, a first speaker unit, a second sound guide component and a second speaker unit. The vibration-damping plate includes a first surface and a second surface that are opposite to each other. The first sound guide component includes a first sound guide body and a first bracket, the first sound guide body has a first bottom, the first bottom is fixed on the first surface of the vibration-damping plate, and the first bracket is connected to the first sound guide body and extends in a direction away from the vibration-damping plate. The first speaker unit is fixed on the first bracket. The second sound guide component includes a second sound guide body and a second bracket, the second sound guide body has a second bottom, the second bottom is fixed on the second surface of the vibration-damping plate, and the second bracket is connected to the second sound guide body and extends in a direction away from the vibration-damping plate. The second speaker unit is fixed on the second bracket.

Figure 201810462427

Description

Combined horn module and horn device
[ technical field ] A method for producing a semiconductor device
The present invention relates to a sound playing device, and more particularly, to a composite speaker module and a speaker device.
[ background of the invention ]
The loudspeaker is a common sound playing device at present, and has the function of converting an electrical signal of an amplifier into mechanical vibration of a vibrating diaphragm, so that surrounding air is changed in density to generate sound for surrounding people to listen to.
Generally, a speaker has a housing and a sound box located in the housing, wherein a corresponding assembly mechanism is provided between the sound box and the housing, for example, the sound box and the housing are provided with a mechanism for screws to lock and fix each other by screws. In addition, in order to avoid the problem of resonance generated by the sound box, an anti-vibration mechanism is additionally arranged between the sound box and the shell. However, for a speaker having a plurality of sound boxes, an assembly mechanism and a vibration isolation mechanism are required to be separately disposed between each sound box and the housing, which results in an excessively complicated structural design and an excessively large overall volume of the speaker.
[ summary of the invention ]
In view of the above, in one embodiment, a composite speaker module is provided, which includes a vibration reduction sheet, a first sound guide assembly, a first speaker unit, a second sound guide assembly, and a second speaker unit. The damping sheet body comprises a first surface and a second surface which are opposite. First leading sound subassembly includes first leading sound body and first support, and first leading sound body has first bottom, and first bottom is fixed on the first surface of damping lamellar body, and first support is connected in first leading sound body and is extended towards the direction of keeping away from the damping lamellar body. The first loudspeaker monomer is fixed on the first support and faces the first sound guide body, and a first distance is arranged between the first loudspeaker monomer and the first sound guide body. The second leads the sound subassembly and includes that the second leads the sound body and second support, and the second leads the sound body and has the second bottom, and the second bottom is fixed on the second surface of damping lamellar body, and the second leg joint leads the sound body and extends towards the direction of keeping away from the damping lamellar body in the second. The second loudspeaker monomer is fixed on the second support and faces the second sound guide body, and a second distance is arranged between the second loudspeaker monomer and the second sound guide body.
In summary, according to the composite speaker module of the embodiment of the invention, the first sound guiding assembly and the first speaker unit are mounted on the first surface of the vibration reduction sheet, and the second sound guiding assembly and the second speaker unit are mounted on the second surface of the vibration reduction sheet, so that the occupied volume of the composite speaker module can be reduced, and the composite speaker module can be assembled in advance and can be used for performing product testing independently. In addition, after the test is finished, the combined type horn module can be correspondingly assembled in the product shell only through the assembling part of the vibration reduction sheet body, so that the manufacturing and assembling working hours and working procedures are reduced, and the yield of products is improved.
[ description of the drawings ]
Fig. 1 is a perspective view of a first embodiment of a speaker unit according to the present invention.
Fig. 2 is a sectional view of a first embodiment of the speaker unit of the present invention.
Fig. 3 is an exploded perspective view of a first embodiment of the speaker unit of the present invention.
Fig. 4 is a partial sectional view of a first embodiment of the speaker unit of the present invention.
Fig. 5 is a partial sectional view of a second embodiment of the speaker unit of the present invention.
Fig. 6 is a partial sectional view of a third embodiment of the speaker unit of the present invention.
FIG. 7 is a schematic diagram of the operation of the speaker device according to the first embodiment of the present invention.
Fig. 8 is a sectional view of a fourth embodiment of the speaker unit of the present invention.
Fig. 9 is a side view of a fifth embodiment of the speaker unit of the present invention.
[ detailed description ] embodiments
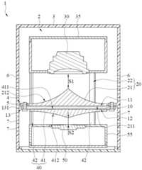
Fig. 1 is a perspective view of a first embodiment of a speaker unit according to the present invention, fig. 2 is a sectional view of the first embodiment of the speaker unit according to the present invention, and fig. 3 is an exploded perspective view of the first embodiment of the speaker unit according to the present invention. As shown in fig. 1 and 2, the speaker device 1 includes acomposite speaker module 2 and ahousing 3, in the embodiment, the speaker device 1 is a vertical speaker, for example, and can be placed on a surface of an object (such as a table or a floor), but the invention is not limited thereto. In some embodiments, the horn device 1 may also be a built-in horn, a suspended horn or other different types of horns.
As shown in fig. 2 and 3, thecomposite speaker module 2 is installed inside thehousing 3, and thecomposite speaker module 2 includes avibration reduction sheet 10, a firstsound guiding assembly 20, afirst speaker unit 30, a secondsound guiding assembly 40, and asecond speaker unit 50. Thedamping sheet 10 is a sheet with a certain thickness, and is disposed between thefirst speaker unit 30 and thesecond speaker unit 50 to reduce the mutual cancellation of the sound generated by the two speaker units. In the embodiment, thedamping sheet 10 is a circular sheet, but thedamping sheet 10 can be a sheet with other shapes (such as square, rectangular or other irregular shapes), which can be determined according to the shape of the actual product. In some embodiments, thedamping sheet 10 may be an elastic sheet and have a damping function, for example, thedamping sheet 10 may be a foamed sheet, a rubber sheet or a plastic sheet made of Thermoplastic Polyurethane (TPU), Thermoplastic Elastomers (TPE), Thermoplastic Polyester Elastomers (TPEE), polystyrene Elastomers (TPEE) or Polycarbonate (PC).
As shown in fig. 2 and 3, in the present embodiment, thedamping sheet 10 has afirst surface 11 and asecond surface 12 opposite to each other, that is, thefirst surface 11 and thesecond surface 12 are opposite sides of thedamping sheet 10. The firstsound guiding element 20 includes a firstsound guiding body 21 and afirst support 22, and in some embodiments, the firstsound guiding body 21 may be a cone made of a hard material (e.g., plastic, metal, ceramic, acrylic, etc.) or a soft material (e.g., plastic, rubber, etc.) for guiding the direction of the sound waves output by thefirst speaker unit 30. In addition, the firstsound guiding body 21 may be a solid cone or a hollow cone, which is not limited. The firstsound guiding body 21 has afirst bottom 211, and thefirst bottom 211 is fixed on thefirst surface 11 of thedamping sheet body 10. For example, thefirst bottom 211 of the firstsound guiding body 21 can be fixed on thefirst surface 11 by adhesion, locking, buckling, embedding, or integral molding. Similarly, the secondsound guiding assembly 40 includes a secondsound guiding body 41 and asecond bracket 42, and thesecond bottom 411 of the secondsound guiding body 41 is fixed on thesecond surface 12 of thevibration damping sheet 10, and the way of fixing the secondsound guiding body 41 on thesecond surface 12 may be the same as or different from the way of fixing the firstsound guiding body 21 on thefirst surface 11, and the way of combining thevibration damping sheet 10 with the firstsound guiding body 21 and the secondsound guiding body 41 will be further described below.
As shown in fig. 4, in the present embodiment, thefirst surface 11 and thesecond surface 12 of thedamping sheet 10 of thecomposite speaker module 2 are respectively provided with anadhesive layer 111, 121, for example, theadhesive layer 111, 121 may be formed by an acrylic type (such as cyanoacrylate), a polysulfide type, a polyurethane type, or a silicone adhesive. Thefirst bottom 211 of the first sound guiding body 21 (i.e. the bottom of the first sound guiding body 21) can be adhered and fixed on thefirst surface 11 of thedamping sheet 10 corresponding to theadhesive layer 111. Thesecond bottom 411 of the secondsound guiding body 41 can be adhered and fixed on thesecond surface 12 corresponding to theadhesive layer 121.
Alternatively, as shown in fig. 5, in another embodiment, thevibration damping sheet 10 of thecomposite speaker module 2A is provided with at least one first fastening hole 101 (here, a plurality of first fastening holes 101) and at least one second fastening hole 102 (here, a plurality of second fastening holes 102), thefirst bottom 211 of the firstsound guiding body 21 is provided with a plurality offirst fasteners 214 corresponding to thefirst fastening holes 101, and thesecond bottom 411 of the secondsound guiding body 41 is provided with a plurality ofsecond fasteners 414 corresponding to thesecond fastening holes 102, wherein thefirst fasteners 214 and thesecond fasteners 414 may be barbs or bolts, but this is not limited. The firstsound guiding body 21 is fixed in thevibration damping sheet 10 by thefirst fasteners 214 being fastened in thefirst fastening holes 101, and the secondsound guiding body 41 is fixed in thevibration damping sheet 10 by thesecond fasteners 414 being fastened in thesecond fastening holes 102. In the embodiment, when the firstsound guiding body 21 and the secondsound guiding body 41 are both fastened and fixed on thevibration damping sheet 10, thefirst fastening holes 101 and thesecond fastening holes 102 on thevibration damping sheet 10 can be disposed in a staggered manner, so as to avoid the resonance problem caused by the interference or contact between the firstsound guiding body 21 and the secondsound guiding body 41 after fastening.
Alternatively, as shown in fig. 6, in another embodiment, the firstsound guiding body 21 and the secondsound guiding body 41 of thecomposite speaker module 2B can be fixed on thefirst surface 11 and thesecond surface 12 of thevibration damping sheet 10 by two-material injection molding, so as to further reduce the manufacturing and assembling time and process steps and improve the structural strength.
The above embodiments of fig. 4, 5 and 6 are only examples, and actually, the firstsound guiding body 21 can also be fixed on thedamping sheet 10 by other means (e.g. locking or clipping). In other embodiments, the firstsound guiding body 21 and the secondsound guiding body 41 can be fixed on thevibration damping sheet 10 by different methods. For example, in some embodiments, thefirst sound conductor 21 is fixed to thevibration damping sheet 10 in a snap-fit manner, and thesecond sound conductor 41 is fixed to thevibration damping sheet 10 in an adhesive manner. Alternatively, thefirst sound guide 21 is fixed to thevibration reduction sheet 10 by injection molding, and thesecond sound guide 41 is fixed to thevibration reduction sheet 10 by snap-fitting.
As shown in fig. 2 and fig. 3, thefirst support 22 of the firstsound guiding assembly 20 of thecomposite speaker module 2 is connected to the firstsound guiding body 21 and extends in a direction away from thevibration damping sheet 10, i.e. the extending direction of thefirst support 22 is perpendicular to thevibration damping sheet 10. Thefirst speaker unit 30 is fixed on thefirst bracket 22 such that thefirst speaker unit 30 and the firstsound guiding body 21 are separated by a first distance S1 (where the first distance S1 is a linear distance from the top of the firstsound guiding body 21 to the first speaker unit 30), and the sound outlet surface of thefirst speaker unit 30 faces the firstsound guiding body 21. On the other hand, thesecond support 42 of the secondsound guiding assembly 40 is connected to the secondsound guiding body 41 and extends perpendicularly away from thedamping sheet body 10, that is, thefirst support 22 of the firstsound guiding assembly 20 and thesecond support 42 of the secondsound guiding assembly 40 extend in opposite directions. Thesecond speaker unit 50 is fixed on thesecond bracket 42, so that thesecond speaker unit 50 and the secondsound guiding body 41 are separated by a second distance S2, and the sound outlet surface of thesecond speaker unit 50 faces the secondsound guiding body 41. In some embodiments, thefirst speaker unit 30 and thesecond speaker unit 50 may be various speakers, such as an electrodynamic speaker, an electromagnetic speaker, a piezoelectric speaker, an electrode speaker, a plasma speaker, or the like, but not limited thereto.
In some embodiments, thefirst horn unit 30 may be directly fixed or indirectly fixed to thefirst bracket 22. As shown in fig. 2 and fig. 3, thefirst speaker unit 30 may be covered with afirst sound box 35, and thefirst sound box 35 is fixed (for example, adhered, locked or fastened) on thefirst bracket 22, so that thefirst speaker unit 30 can be indirectly fixed on thefirst bracket 22. In other embodiments, thefirst speaker unit 30 may also be directly fixed on thefirst bracket 22 without covering thefirst sound box 35, and the embodiment is not limited. Similarly, thesecond horn unit 50 may be directly fixed or indirectly fixed to thesecond bracket 42. In some embodiments, thesecond speaker unit 50 may be covered with asecond sound box 55, so that thesecond speaker unit 50 may be indirectly fixed to thesecond bracket 42 through thesecond sound box 55. In other embodiments, thesecond speaker unit 50 may be directly fixed to thesecond bracket 42 without covering thesecond sound box 55.
As shown in fig. 2 and 3, an assemblingportion 13 is disposed around thedamping sheet 10, a connectingportion 4 is disposed in thehousing 3, and the combinedspeaker module 2 can be correspondingly assembled and fixed to the connectingportion 4 through the assemblingportion 13 of thedamping sheet 10. In some embodiments, the assemblingportion 13 and the combiningportion 4 are structures that can be assembled with each other correspondingly. For example, in the embodiment shown in fig. 2 and 3, the assemblingportion 13 includes a plurality ofholes 131 disposed on the periphery of the dampingsheet 10, and the combiningportion 4 includes a plurality of locking holes 5 corresponding to theholes 131, so that thecomposite speaker module 2 can be fixed inside thehousing 3 by passing a plurality of screws through theholes 131 and being locked to the locking holes 5. However, the above embodiments of the assemblingportion 13 and the combiningportion 4 are only examples, and the assemblingportion 13 and the combiningportion 4 may also be corresponding fasteners or adhesive layers, and the embodiments are not limited thereto.
Since the conventional technique needs to lock a plurality of speaker units and a plurality of sound guide assemblies inside the product housing one by one, an assembly mechanism and a vibration-proof mechanism must be respectively disposed on each assembly, resulting in a large volume of the product, high mechanism complexity, and complex and time-consuming assembly process. Moreover, the product must be inspected after all the components are assembled to the housing, and when the product is defective, the replacement of the internal components requires complicated disassembly and reassembly, which results in poor product assembly efficiency.
Therefore, the present invention assembles the first set of horn structures (the firstsound guiding assembly 20 and the first horn unit 30) and the second set of horn structures (the secondsound guiding assembly 40 and the second horn unit 50) on the samevibration reduction sheet 10 to form acomposite horn module 2. Therefore, the two speaker structures can be damped by the dampingsheet 10 without separately installing an assembling mechanism and a damping mechanism, thereby effectively reducing the complexity of the mechanism, the volume of the whole device and the manufacturing cost. Moreover, thecomposite speaker module 2 can be assembled in theproduct housing 3 by only using the single vibration-dampingsheet 10, thereby eliminating the complex process of assembling each component in thehousing 3. In addition, thecomposite horn module 2 of the present invention can be pre-tested and then assembled into thehousing 3, thereby further reducing the assembly time and process steps and improving the yield of the product.
In addition, through the configuration of thecomposite horn module 2 of the above embodiments, thefirst horn unit 30 and thesecond horn unit 50 can be prevented from interfering with each other (e.g. resonance or sound wave interference) during operation, which is described below with reference to the accompanying drawings.
Referring to fig. 2 and 7, fig. 7 is a schematic diagram illustrating an operation of a speaker device according to a first embodiment of the present invention. In the present embodiment, when thefirst speaker unit 30 and thesecond speaker unit 50 operate, thefirst speaker unit 30 faces the firstsound guiding body 21, so that the sound wave emitted from thefirst speaker unit 30 is transmitted toward the first sound guiding body 21 (as shown by arrow L1). When the sound wave is transmitted to the firstsound guiding body 21, the transmission can be changed to the horizontal direction (as the X-axis direction in the figure) through the guidance of the conical surface of the firstsound guiding body 21. Thehousing 3 is formed with a plurality offirst sound outlets 6, and thefirst sound outlets 6 correspond to the peripheral sides of the firstsound guiding bodies 21, so that the sound waves converted into the horizontal direction can be emitted from thefirst sound outlets 6 and transmitted to all sides of the speaker unit 1, and any position in the space where the speaker unit 1 is placed can be used for listening to the sound. Similarly, since thesecond speaker unit 50 faces the secondsound guiding body 41, the sound wave emitted from thesecond speaker unit 50 is transmitted toward the second sound guiding body 41 (as shown by arrow L2), and when the sound wave is transmitted to the secondsound guiding body 41, the sound wave is transmitted in the horizontal direction (as shown in the X-axis direction) by being guided by the conical surface of the secondsound guiding body 41. Thehousing 3 is provided with a plurality ofsecond sound outlets 7, and thesecond sound outlets 7 correspond to the peripheral sides of thesecond sound conductors 41, so that the sound waves in the horizontal direction can be transmitted from thesecond sound outlets 7 to all sides of the speaker unit 1. It should be further noted that, in fig. 2 and fig. 7, only thefirst sound outlet 6 and thesecond sound outlet 7 are shown in cross section, and otherfirst sound outlets 6 andsecond sound outlets 7 are omitted for clearly showing various components in thehousing 3.
By this, the sound wave guide that sendsfirst loudspeaker unit 30 throughfirst sound guide 21 to the horizontal direction, and pass throughsecond sound guide 41 with the sound wave guide thatsecond loudspeaker unit 50 sent to the horizontal direction to the separation of dampinglamellar body 10 can effectively avoidfirst loudspeaker unit 30 andsecond loudspeaker unit 50's sound wave to interfere with each other or offset and reduce the power of sound betweenfirst loudspeaker unit 30 andsecond loudspeaker unit 50. In addition, the firstsound guiding assembly 20, thefirst speaker unit 30, the secondsound guiding assembly 40 and thesecond speaker unit 50 can also achieve the effect of vibration damping through thevibration damping sheet 10.
As further shown in fig. 2 and 3, in some embodiments, the first distance S1 between thefirst speaker unit 30 and the firstsound guiding body 21 and the second distance S2 between thesecond speaker unit 50 and the secondsound guiding body 41 may be the same or different according to different requirements. For example, when thefirst speaker unit 30 and thesecond speaker unit 50 are different speakers (e.g., thefirst speaker unit 30 is a woofer and thesecond speaker unit 50 is a tweeter), the first distance S1 and the second distance S2 are different. When thefirst horn unit 30 and thesecond horn unit 50 are the same horn, the first distance S1 and the second distance S2 are the same, but the invention is not limited thereto.
In some embodiments, the tapered surface of the firstsound guiding body 21 may be a non-linear tapered surface or a linear tapered surface, and the tapered surface of the secondsound guiding body 41 may also be a non-linear tapered surface or a linear tapered surface. In addition, the tapered surface of the firstsound guiding body 21 and the tapered surface of the secondsound guiding body 41 can be set to be the same or different according to different requirements.
For example, as shown in fig. 2, in the present embodiment, the firstsound guiding body 21 has a first non-linear conical surface 212 (here, a curved surface), and the secondsound guiding body 41 has a second non-linear conical surface 412 (here, a curved surface). When thefirst horn unit 30 and thesecond horn unit 50 are different horns (for example, thefirst horn unit 30 is a woofer and thesecond horn unit 50 is a tweeter), the curvature of the first nonlinearconical surface 212 and the curvature of the second nonlinearconical surface 412 are set to be different, for example, in the present embodiment, the curvature of the first nonlinearconical surface 212 is greater than the curvature of the second nonlinearconical surface 412. In other embodiments, the first non-linearconical surface 212 and the second non-linearconical surface 412 may have different curvature configurations according to other factors (e.g., different decoration environments or special audio requirements), and the embodiment is not limited thereto.
In some embodiments, as shown in fig. 8, the firstsound guiding body 21 of thecomposite speaker module 2C has a first linear conical surface 213 (where the cross section of the first linearconical surface 213 is an inclined surface), and the secondsound guiding body 41 has a second linear conical surface 413 (where the cross section of the second linearconical surface 413 is an inclined surface). When thefirst horn unit 30 and thesecond horn unit 50 are different horns (for example, thefirst horn unit 30 is a woofer and thesecond horn unit 50 is a tweeter), the slope of the first linearconical surface 213 and the slope of the second linearconical surface 413 are set to be different. For example, in the present embodiment, the slope of the first linearconical surface 213 is greater than the slope of the second linearconical surface 413, but this is not a limitation.
In some embodiments, at least one of thefirst support 22 of the firstsound guiding assembly 20 and thesecond support 42 of the secondsound guiding assembly 40 may be provided with a wire arrangement groove. As shown in fig. 9, a wire-arranginggroove 222 is formed on an outer side of one of thefirst brackets 22 of thecomposite horn module 2D, wherein an extending direction of the wire-arranginggroove 222 is the same as an extending direction of thefirst bracket 22. One of thesecond brackets 42 is provided with awire arrangement groove 422 at the outer side thereof, and thewire arrangement groove 422 is connected in series with thewire arrangement groove 222 of thefirst bracket 22, so that the wires of thefirst speaker unit 30 and thesecond speaker unit 50 can be accommodated in thewire arrangement grooves 222, 422, thereby keeping the wires neat and not wound and improving the convenience of assembly.
[ notation ] to show
1 Horn device
2 composite horn module
2A-2D composite horn module
3 outer cover
4 joint part
5 lock hole
6 first sound outlet
7 second sound outlet
10 vibration damping sheet
101 first buttonhole
102 second fastening hole
11 first surface
111 adhesive layer
12 second surface
121 adhesive layer
13 assembling part
131 hole
20 first leading tone assembly
21 first sound conductor
211 first bottom part
212 first non-linear conical surface
213 first linear conical surface
214 first fastener
22 first support
222 wire-arranging groove
30 first loudspeaker unit
35 first sound box
S1 first pitch
40 second sound leading component
41 second sound conductor
411 second bottom
412 second non-linear conical surface
413 second linear conical surface
414 second fastener
42 second support
422 wire arranging groove
50 second horn unit
55 second sound box
S2 second pitch
L1, L2 arrows

Claims (10)

1. A composite horn module for a horn device, the composite horn module comprising:
the vibration reduction sheet body comprises a first surface and a second surface which are opposite;
the first sound guide assembly comprises a first sound guide body and a first support, the first sound guide body is provided with a first bottom, the first bottom is fixed on the first surface of the vibration reduction sheet body, and the first support is connected to the first sound guide body and extends towards the direction far away from the vibration reduction sheet body;
the first loudspeaker single body is fixed on the first support, the sound outlet surface faces the first sound guide body, and a first distance is formed between the first loudspeaker single body and the first sound guide body;
the second sound guide assembly comprises a second sound guide body and a second support, the second sound guide body is provided with a second bottom, the second bottom is fixed on the second surface of the vibration reduction sheet body, and the second support is connected to the second sound guide body and extends towards the direction far away from the vibration reduction sheet body; and
the second loudspeaker single body is fixed on the second support, the sound outlet surface faces the second sound guide body, and a second distance is formed between the second loudspeaker single body and the second sound guide body;
the periphery of the vibration reduction sheet body is provided with an assembling portion, and the combined type horn module is fixed on the shell of the horn device through the assembling portion of the vibration reduction sheet body in a corresponding assembling mode.
2. The composite horn module as claimed in claim 1, wherein the first sound-guiding body has a non-linear conical surface or a linear conical surface, and the second sound-guiding body has a non-linear conical surface or a linear conical surface.
3. The composite horn module of claim 1, wherein the first pitch is different from the second pitch.
4. The composite horn module as claimed in claim 1, wherein an adhesive layer is disposed on the first surface of the damping sheet, and the first bottom of the first sound conductor is fixed to the first surface by the adhesive layer.
5. The composite speaker module as claimed in claim 1, wherein the damping sheet has at least a first fastening hole, the first bottom of the first sound guiding member has at least a first fastening member, and the first sound guiding member is fastened and fixed to the at least a first fastening hole by the at least a first fastening member.
6. The composite horn module as claimed in claim 1, wherein the first sound conductor and the second sound conductor are fixed on the vibration-damping sheet body by two-material injection molding.
7. The composite horn module of claim 1, further comprising a first speaker fixed to the first bracket and covering the first horn unit.
8. The composite horn module of claim 7, further comprising a second speaker fixed to the second bracket and covering the second horn unit.
9. A speaker apparatus, characterized in that the speaker apparatus comprises:
the composite horn module of any one of claims 1 to 8.
10. The horn apparatus as claimed in claim 9, further comprising a housing, wherein a joint is provided in the housing, and the composite horn module is correspondingly assembled and fixed to the joint by the assembling portion of the vibration-damping sheet.
CN201810462427.1A2018-05-152018-05-15 Composite speaker module and speaker unitActiveCN110493686B (en)

Priority Applications (1)

Application NumberPriority DateFiling DateTitle
CN201810462427.1ACN110493686B (en)2018-05-152018-05-15 Composite speaker module and speaker unit

Applications Claiming Priority (1)

Application NumberPriority DateFiling DateTitle
CN201810462427.1ACN110493686B (en)2018-05-152018-05-15 Composite speaker module and speaker unit

Publications (2)

Publication NumberPublication Date
CN110493686A CN110493686A (en)2019-11-22
CN110493686Btrue CN110493686B (en)2021-03-30

Family

ID=68545360

Family Applications (1)

Application NumberTitlePriority DateFiling Date
CN201810462427.1AActiveCN110493686B (en)2018-05-152018-05-15 Composite speaker module and speaker unit

Country Status (1)

CountryLink
CN (1)CN110493686B (en)

Families Citing this family (1)

* Cited by examiner, † Cited by third party
Publication numberPriority datePublication dateAssigneeTitle
CN113542991A (en)*2020-04-172021-10-22歌尔股份有限公司Vibrating diaphragm and sound generating device

Citations (12)

* Cited by examiner, † Cited by third party
Publication numberPriority datePublication dateAssigneeTitle
US4322578A (en)*1977-09-061982-03-30Society Ap Selmin Sas Of Massimo Coltelli & Co.Method and devices for the omnidirectional radiation of sound waves
US5115882A (en)*1989-03-291992-05-26Woody D GrierOmnidirectional dispersion system for multiway loudspeakers
CN2370638Y (en)*1998-04-162000-03-22敖茂群Point source of sound speaker
US6257365B1 (en)*1996-08-302001-07-10Mediaphile Av Technologies, Inc.Cone reflector/coupler speaker system and method
CN1551679A (en)*2003-05-132004-12-01������������ʽ����Loudspeaker device
CN102656902A (en)*2009-10-302012-09-05梦想资娱源艺有限公司Omnidirectional speaker
CN203027446U (en)*2012-12-172013-06-26Tcl通力电子(惠州)有限公司Sound field sound box
CN103581792A (en)*2012-08-082014-02-12梅庆开Multiple-360-degree-sound-production resonance portable sound system
WO2015094115A1 (en)*2013-12-202015-06-25Dream Audiolab Pte LtdImproved omnidirectional speaker with soundwave deflectors
CN205812364U (en)*2016-06-302016-12-14深圳市奋达科技股份有限公司A kind of audio amplifier
CN206260079U (en)*2016-12-282017-06-16潍坊歌尔电子有限公司A kind of audio amplifier
CN107980224A (en)*2016-07-282018-05-01伯斯有限公司 Omnidirectional loudspeaker system and related devices and methods

Patent Citations (12)

* Cited by examiner, † Cited by third party
Publication numberPriority datePublication dateAssigneeTitle
US4322578A (en)*1977-09-061982-03-30Society Ap Selmin Sas Of Massimo Coltelli & Co.Method and devices for the omnidirectional radiation of sound waves
US5115882A (en)*1989-03-291992-05-26Woody D GrierOmnidirectional dispersion system for multiway loudspeakers
US6257365B1 (en)*1996-08-302001-07-10Mediaphile Av Technologies, Inc.Cone reflector/coupler speaker system and method
CN2370638Y (en)*1998-04-162000-03-22敖茂群Point source of sound speaker
CN1551679A (en)*2003-05-132004-12-01������������ʽ����Loudspeaker device
CN102656902A (en)*2009-10-302012-09-05梦想资娱源艺有限公司Omnidirectional speaker
CN103581792A (en)*2012-08-082014-02-12梅庆开Multiple-360-degree-sound-production resonance portable sound system
CN203027446U (en)*2012-12-172013-06-26Tcl通力电子(惠州)有限公司Sound field sound box
WO2015094115A1 (en)*2013-12-202015-06-25Dream Audiolab Pte LtdImproved omnidirectional speaker with soundwave deflectors
CN205812364U (en)*2016-06-302016-12-14深圳市奋达科技股份有限公司A kind of audio amplifier
CN107980224A (en)*2016-07-282018-05-01伯斯有限公司 Omnidirectional loudspeaker system and related devices and methods
CN206260079U (en)*2016-12-282017-06-16潍坊歌尔电子有限公司A kind of audio amplifier

Also Published As

Publication numberPublication date
CN110493686A (en)2019-11-22

Similar Documents

PublicationPublication DateTitle
CN204425650U (en)Piezoelectric ceramic double-frequency earphone structure
US11638077B2 (en)Invisible headliner microphone
KR101827669B1 (en)Speaker module
CN111327995B (en) Acoustic devices and electronic equipment
CN107404693B (en)Radiator, double-edge-hung loudspeaker and loudspeaker box and application thereof
KR100553647B1 (en) Speaker device
CN113691912A (en)Sound production device and electronic equipment
CN100484260C (en)Loudspeaker having acoustic panel and electrical driver
US6278787B1 (en)Loudspeakers
US11336974B2 (en)Invisible microphone assembly for a vehicle
TWI679899B (en)Composite speaker module and speaker device
JP2007518331A (en) Flexural wave panel loudspeaker
US6606390B2 (en)Loudspeakers
US11943580B2 (en)System for reducing vibrations in loudspeaker
EP1121833A1 (en)Resonant panel loudspeakers
CN113194390A (en)Sound producing device
WO2011052521A1 (en)Speaker device
CN110493686B (en) Composite speaker module and speaker unit
CN120282077A (en)Sound producing device and electronic equipment
JP2024167617A (en) Speakers, speaker baffles, speaker frames
CN112423203B (en)Acoustic device and electronic apparatus
CN110475185B (en)Acoustic radiation assembly and sound production device
CN211531290U (en)Sound production device
US8141675B2 (en)Micro-speaker
KR200304272Y1 (en)encloser of speaker unit

Legal Events

DateCodeTitleDescription
PB01Publication
PB01Publication
SE01Entry into force of request for substantive examination
SE01Entry into force of request for substantive examination
GR01Patent grant
GR01Patent grant

[8]ページ先頭

©2009-2025 Movatter.jp