Movatterモバイル変換


[0]ホーム

URL:


CN110453388B - A textile machine that facilitates quick needle replacement - Google Patents

A textile machine that facilitates quick needle replacement
Download PDF

Info

Publication number
CN110453388B
CN110453388BCN201910597090.XACN201910597090ACN110453388BCN 110453388 BCN110453388 BCN 110453388BCN 201910597090 ACN201910597090 ACN 201910597090ACN 110453388 BCN110453388 BCN 110453388B
Authority
CN
China
Prior art keywords
needle
group
machine
insulating
opening
Prior art date
Legal status (The legal status is an assumption and is not a legal conclusion. Google has not performed a legal analysis and makes no representation as to the accuracy of the status listed.)
Active
Application number
CN201910597090.XA
Other languages
Chinese (zh)
Other versions
CN110453388A (en
Inventor
龙雪琴
Current Assignee (The listed assignees may be inaccurate. Google has not performed a legal analysis and makes no representation or warranty as to the accuracy of the list.)
Guangzhou Tucson Machinery Equipment Co ltd
Original Assignee
Putian Chengxiang Shengming Network Co ltd
Weihai Wochi Intelligent Technology Co ltd
Priority date (The priority date is an assumption and is not a legal conclusion. Google has not performed a legal analysis and makes no representation as to the accuracy of the date listed.)
Filing date
Publication date
Application filed by Putian Chengxiang Shengming Network Co ltd, Weihai Wochi Intelligent Technology Co ltdfiledCriticalPutian Chengxiang Shengming Network Co ltd
Priority to CN202011569769.7ApriorityCriticalpatent/CN112760839A/en
Priority to CN201910597090.XAprioritypatent/CN110453388B/en
Publication of CN110453388ApublicationCriticalpatent/CN110453388A/en
Application grantedgrantedCritical
Publication of CN110453388BpublicationCriticalpatent/CN110453388B/en
Activelegal-statusCriticalCurrent
Anticipated expirationlegal-statusCritical

Links

Images

Classifications

Landscapes

Abstract

Translated fromChinese

本发明公开了一种便于快速更换机针的纺织机,其结构包括机体、针夹、压脚、基座、手轮盘,机体的底面与基座的顶面固定连接,机体一侧安装有手轮盘,与现有技术相比,本发明的有益效果在于:无须使用外部工具,更换速度快,不影响缝制进行度,安装后的机针能够与工作台保持垂直,无须一手拿机针另一手进行固定操作,更加简便,能够有效防止手被机针扎到,大大提高了机针安装的安全性,能够适应于不同针号的机针且能够很好的对机针进行夹紧,能够保证与压脚的开口缝对齐,有助于提高纺织工艺,有效防止机针偏位而导致机针被压脚刚性压断。

Figure 201910597090

The present invention discloses a textile machine which is convenient for quickly replacing machine needles. The structure of the textile machine includes a machine body, a needle clamp, a presser foot, a base and a hand wheel. The bottom surface of the machine body is fixedly connected to the top surface of the base, and a hand wheel is installed on one side of the machine body. Compared with the prior art, the beneficial effects of the present invention are: no external tools are required, the replacement speed is fast, and the sewing process is not affected. The machine needle after installation can be kept perpendicular to the workbench, and there is no need to hold the machine needle with one hand and perform fixed operation with the other hand. It is more convenient and can effectively prevent the hand from being pricked by the machine needle, greatly improving the safety of the machine needle installation. It can adapt to machine needles of different needle sizes and can clamp the machine needle well, and can ensure that it is aligned with the open seam of the presser foot, which helps to improve the textile process and effectively prevent the machine needle from being misaligned and caused by the rigidity of the presser foot.

Figure 201910597090

Description

Weaving machine convenient to quick replacement eedle
Technical Field
The invention relates to the technical field of spinning, in particular to a spinning machine convenient for quickly replacing a needle.
Background
The needle is an important accessory of the sewing machine, and the needle size is selected according to the property and thickness of sewing materials in the sewing process, so that a good sewing effect is achieved, and different needle sizes are selected for replacing when different fabrics are sewn.
The existing needle clips of sewing machines mostly fix the needle by screws, so the following defects are to be improved:
1) when the machine needle is assembled and disassembled, the screw fixing mode can be realized by rotating the screw by using an external special tool, the tool is small and is easy to lose or forget to carry the tool, and when the machine needle is broken or the needle number needs to be changed, the change of the machine needle is influenced, so that the sewing progress is influenced;
2) when the needle is installed, one hand needs to hold the needle, the other hand needs to rotate the screw, the operation is troublesome, and the hand is pricked by the needle point;
3) the bigger the needle size is, the thicker the needle is, so the needle tip is more deviated from the sewing opening of the presser foot, the needle is easily touched when the needle is pressed down to cause the breakage of the needle, and the user is easily splashed after the breakage, so that the injury can be caused to the user.
Disclosure of Invention
The invention mainly aims to overcome the defects of the prior art and provide a textile machine which is convenient for quickly replacing a needle.
The invention is realized by adopting the following technical scheme: a textile machine convenient for quick replacement of a needle structurally comprises a machine body, a needle clamp, a presser foot, a base and a hand wheel disc, wherein the bottom surface of the machine body is fixedly connected with the top surface of the base;
the needle clamp comprises a needle clamp mechanism and a needle, the needle is arranged on the needle clamp mechanism, the needle clamp mechanism is connected with the machine body, and the needle is positioned right above the presser foot opening;
the needle presss from both sides the mechanism including sleeve pipe, magnetoelectric mechanism, pulley, open and press from both sides regulation group, insulating claw lamella group, direction cover, the sleeve pipe is inside from last to be equipped with magnetoelectric mechanism, pulley, magnetoelectric mechanism in proper order, open and press from both sides regulation group, direction cover, open press from both sides the mode that regulation group and insulating claw lamella group adopted hinged joint to link together, pulley one end links to each other with magnetoelectric mechanism, and the other end connects with opening to press from both sides regulation group, the eedle runs through in the direction cover and is organized the centre gripping by insulating claw lamella.
As optimization, the sleeve pipe is including body, opening, inserted hole, the body sets up for columnar structure, the body top is the blind end, and the bottom is seted up and is communicated with each other the inserted hole with inside, the opening has been seted up to the outer wall of body, the local salient opening of pulley, be equipped with the direction cover in the inserted hole department, body in-connection has magnetoelectric mechanism, insulating claw lamella group, the body blind end is connected in the organism.
As optimizing, magnetoelectric mechanism is including magnetism generating electricity group, insulating seat, insulation board, electro-magnet, establish insulating seat on the insulation board, the insulating seat is embedded to have the electro-magnet, the electro-magnet is connected with the brush line that magnetism generating electricity was organized, magnetism generating electricity's rotor adopts excessive cooperation with the pulley, two outer walls of insulation board and the inner wall seamless connection of body, the insulation board has set insulating claw lamella group, place the body in magnetism generating electricity group in.
Preferably, the tensioning and clamping adjusting group comprises a screw rod, a nut pair and a hinge rod, the screw rod is in threaded connection with the nut pair, the hinge rods are hinged to four oblique directions of the nut pair and hinged to the insulating claw section group, the top of the screw rod is connected to the pulley, and the bottom of the screw rod is connected to the insulating base through a shaft.
Preferably, the insulating claw piece group comprises a central shaft, a first claw piece and a second claw piece, the first claw piece is movably connected with the second claw piece through the central shaft, hinge rods are hinged to one sides, far away from the central shaft, of the first claw piece and one side, far away from the central shaft, of the second claw piece, and two tail ends of the central shaft are connected to the tube body.
As optimization, two inboards of first claw lamella, second claw lamella all are equipped with and press from both sides tight group, press from both sides tight group including anti-skidding granule, semicircle clamping piece, spring, the intrados equipartition of semicircle clamping piece has anti-skidding granule, the extrados of semicircle clamping piece is connected with the one end of spring, the other end of spring is connected in the inner wall of claw lamella.
Preferably, the guide cover is arranged in a round table-shaped structure with a narrow upper part and a wide lower part.
Preferably, the outer surface of the anti-skid particles is rough.
Advantageous effects
Compared with the prior art, the invention provides a textile machine convenient for quickly replacing a needle, which has the following beneficial effects:
(I) according to the invention, through the combined arrangement of the pulley, the opening-clamping adjusting group and the insulating claw piece group, as long as the pulley is slid by hand, the first claw piece and the second claw piece can be opened, and then are inserted from the lower part to the upper part from the insertion opening, and enter the opening parts of the first claw piece and the second claw piece through the guide cover, no external tool is needed, the replacement speed is high, the sewing progress is not influenced, and the guide cover is arranged in a round platform-shaped structure with a narrow upper part and a wide lower part, so that a machine needle can be vertically inserted into the opening parts of the first claw piece and the second claw piece to be clamped, and the machine needle can be kept vertical to the workbench;
according to the invention, (II) through the combined arrangement of the pulley and the magnetoelectric mechanism, the rotor of the magnetoelectric group rotates along with the pulley, so that the coil cuts the magnetic induction line to generate current, the electromagnet is electrified through the collecting ring and the electric brush to generate magnetism, and based on the magnetism principle, the electromagnet generates suction to the needle, so that the needle does not need to be held by one hand and fixed by the other hand, the operation is simpler and more convenient, the hand can be effectively prevented from being pricked by the needle, and the safety of needle installation is greatly improved;
according to the invention, (III) the anti-slip particle, the semicircular clamping piece and the springs are combined, so that the needle clamp can adapt to needles with different needle sizes and can clamp the needles well, the anti-slip particle can increase the friction coefficient with the needles, the needle clamp is more favorable, the clamping degree of the needles can be further improved by the two springs, and the needles can be always positioned at the center of the sleeve, so that the needle clamp is aligned with the opening seam of the presser foot, the textile technology is improved, and the needle is effectively prevented from being broken by the rigidity of the presser foot due to the deviation of the needles.
Drawings
Other features, objects and advantages of the invention will become more apparent upon reading of the detailed description of non-limiting embodiments with reference to the following drawings:
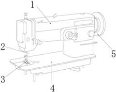
FIG. 1 is a schematic view of the construction of a textile machine of the present invention which facilitates quick needle change.
Fig. 2 is a front view of the needle clip of the present invention.
Fig. 3 is a schematic view of the first operating state of the interior of the needle clip of the present invention.
Fig. 4 is a schematic structural view of the inner second operation state of the needle clip of the present invention.
Fig. 5 is a schematic longitudinal sectional structure of the sleeve of the present invention.
Fig. 6 is a schematic top view of the insulating jaw set of the present invention.
In the drawings, the corresponding relationship between the component names and the reference numbers is as follows:
the device comprises a machine body-1, a needle clamp-2, a pressure foot-3, a base-4, a hand wheel disc-5, a needle clamp mechanism-20, a needle-21, a sleeve-a, a magneto-electric mechanism-b, a pulley-c, a tension clamp adjusting group-d, an insulating claw piece group-e, a guide cover-f, a tube body-a 1, an opening-a 2, an insertion opening-a 3, a magneto-electric group-b 1, an insulating seat-b 2, an insulating plate-b 3, an electromagnet-b 4, a screw rod-d 1, a nut pair-d 2, a hinge rod-d 3, a central shaft-e 1, a first claw piece-e 2, a second claw piece-e 3, a clamping group-e 4, an anti-skid particle-e 41, a semicircular clamping piece-e 42 and a spring-e 43.
Detailed Description
The technical solutions in the embodiments of the present invention will be clearly and completely described below with reference to the drawings in the embodiments of the present invention, and it is obvious that the described embodiments are only a part of the embodiments of the present invention, and not all of the embodiments. All other embodiments, which can be derived by a person skilled in the art from the embodiments given herein without making any creative effort, shall fall within the protection scope of the present invention.
In the description of the present invention, it is to be noted that, unless otherwise explicitly specified or limited, the terms "connected" and "connected" are to be interpreted broadly, e.g., as being fixed or detachable or integrally connected; can be mechanically or electrically connected; may be directly connected or indirectly connected through an intermediate. The specific meanings of the above terms in the present invention can be understood in specific cases to those skilled in the art.
Referring to fig. 1-6, the present invention provides a textile machine with a needle that can be replaced easily, comprising: the structure of the device comprises amachine body 1, aneedle clamp 2, apresser foot 3, abase 4 and a hand wheel disc 5, wherein the bottom surface of themachine body 1 is fixedly connected with the top surface of thebase 4, the hand wheel disc 5 is installed on one side of themachine body 1, and theneedle clamp 2 and thepresser foot 3 are arranged on the other side of the machine body;
theneedle clamp 2 comprises aneedle clamp mechanism 20 and aneedle 21, theneedle 21 is arranged on theneedle clamp mechanism 20, theneedle clamp mechanism 20 is connected with themachine body 1, and theneedle 21 is positioned right above the opening of thepresser foot 3;
needle presss from bothsides mechanism 20 including sleeve pipe an, magnetoelectric mechanism b, pulley c, open and press from both sides regulation group d, insulating claw lamella group e, guide housing f, sleeve pipe an is inside from last to be equipped with magnetoelectric mechanism b, pulley c, magnetoelectric mechanism b in proper order, open and press from both sides regulation group d, guide housing f from bottom to bottom, open and press from both sides regulation group d and insulating claw lamella group e and adopt hinged joint's mode to link together, pulley c one end links to each other with magnetoelectric mechanism b, and the other end is connected with opening and pressing from both sides regulation group d, theeedle 21 runs through in guide housing f and is held by insulating claw lamella group e.
Casing a is including body a1, opening a2, inserted hole a3, body a1 sets up for columnar structure, body a1 top is the blind end, and the bottom is seted up and is communicated with inside inserted hole a3, opening a2 has been seted up to body a 1's outer wall, pulley c local protrusion opening a2, be equipped with direction cover f in inserted hole a3 department, body a1 in-connection has magnetoelectric mechanism b, insulating claw lamella group e, body a1 blind end is connected inorganism 1, the setting of opening a2 is convenient for slide the pulley.
Magnetoelectric mechanism b is including magnetism generating electricity group b1, insulating seat b2, insulation board b3, electro-magnet b4, establish insulating seat b2 on the insulation board b3, insulating seat b2 is embedded to have electro-magnet b4, electro-magnet b4 is connected with magnetism generatingelectricity group b 1's brush line, magnetism generatingelectricity group b 1's rotor adopts excessive cooperation with pulley c, two outer walls of insulation board b3 and body a 1's inner wall seamless connection, insulation board b3 has set up insulating claw lamella group e, place body a1 in magnetism generating electricity group b1 in, the coil can cut magnetic induction line and produce electric current when magnetoelectric mechanism b's setting is based on rotating for the electro-magnet circular telegram.
The clamping adjusting group d comprises a lead screw d1, a nut pair d2 and a hinge rod d3, the lead screw d1 is connected with the nut pair d2 in a threaded manner, the nut pair d2 is connected with the hinge rod d3 in four oblique directions in a hinged manner, the hinge rod d3 is hinged to the insulating claw piece group e, the top of the lead screw d1 is connected to a pulley c, the bottom of the lead screw is connected to an insulating seat b2 in a shaft manner, and the clamping adjusting group d is arranged to control the opening and closing of the insulating claw piece group e.
The insulating claw piece group e comprises a central shaft e1, a first claw piece e2 and a second claw piece e3, the first claw piece e2 is movably connected with the second claw piece e3 through the central shaft e1, hinge rods d3 are hinged to the sides, far away from the central shaft e1, of the first claw piece e2 and the second claw piece e3, the two tail ends of the central shaft e1 are connected to a tube body a1, and the needle is clamped through the insulating claw piece group e.
Clamping groups e4 are arranged on the inner sides of the first claw piece e2 and the second claw piece e3, each clamping group e4 comprises anti-slip particles e40, a semi-circular clamping piece e41 and a spring e42, the anti-slip particles e40 are uniformly distributed on the inner arc surface of the semi-circular clamping piece e41, the outer arc surface of the semi-circular clamping piece e41 is connected with one end of the spring e42, the other end of the spring e42 is connected to the inner wall of each claw piece, the clamping groups e4 are arranged to adapt to needles with different needle sizes and ensure that the needles are aligned with an opening seam of thepresser foot 3, and the situation that theneedles 21 are broken by thepresser foot 3 due to deviation of the needles is effectively prevented.
The guide cover f is provided in a circular truncated cone-shaped structure with a narrow top and a wide bottom, so that theneedle 21 can be inserted vertically into the openings of the first claw piece e2 and the second claw piece e3 and clamped by the two, and theneedle 21 can be kept vertical to the table.
The outer surface of the anti-skid particles e41 is rough, so that the friction coefficient of the anti-skid particles e41 with theneedle 21 can be increased, and the clamping of theneedle 21 is facilitated.
The working principle of the invention is as follows: the pulley c is pulled clockwise by hand, so that the lead screw d1 drives the nut pair d2 to rise while rotating, the nut pair d2 generates a lifting force on the first claw piece e2 and the second claw piece e3 through the hinge rod d3, so that the first claw piece e2 and the second claw piece e3 rotate by taking the central shaft e1 as an axis, the first claw piece e2 and the second claw piece e3 are opened, the machine needle is inserted from the lower part to the upper part from the insertion opening a3 and enters the opening positions of the first claw piece e2 and the second claw piece e3 through the guide group of the guide cover f, the guide cover f is arranged in a truncated cone structure with a narrow upper part and a wide lower part, so that themachine needle 21 can be vertically inserted into the opening positions of the first claw piece e2 and the second claw piece e3 and clamped by the first claw piece e2 and the second claw piece e3, themachine needle 21 can be kept vertical to generate a magnetic induction current through the rotor coil b1 to generate a current through the current collector ring and generate amagnetic induction electromagnet 4, based on the magnetism principle, electro-magnet b4 produces suction to the eedle, thereby need not be with one hand heldeedle 21, the fixed operation is carried out to the other hand, stir pulley c anticlockwise, make the vice d2 of nut descend, make first claw lamella e2, second claw lamella e3 are closed through hinge lever d3, thereby semicircle clamping piece e42 can be fine presss from both sidestight eedle 21, anti-skidding granule e41 surface is crude setting, can increase the coefficient of friction with theeedle 21, more do benefit to the clamp ofeedle 21, the setting of two spring e43, further improve the degree of clamp to the eedle, simultaneously enable the eedle to be located the center department of sleeve pipe a all the time, thereby guarantee to align with the opening seam of presserfoot 3, effectively prevent the eedle off normal and lead to theeedle 21 by thepresser foot 3 to break.
In summary, the technical progress obtained by the invention compared with the prior art is as follows:
1) the first claw piece and the second claw piece can be opened only by sliding the pulley by hand, and then are inserted from the lower part to the upper part from the insertion opening and enter the opening positions of the first claw piece and the second claw piece through the guide cover, no external tool is needed, the replacement speed is high, the sewing progress degree is not influenced, and the guide cover is arranged in a round platform-shaped structure with a narrow upper part and a wide lower part, so that a machine needle can be vertically inserted into the opening positions of the first claw piece and the second claw piece and clamped, and the machine needle can be kept vertical to the workbench;
(II) cutting a magnetic induction line by a coil to generate current, electrifying an electromagnet through a collecting ring and an electric brush to generate magnetism, and generating attraction force on the machine needle by the electromagnet based on the magnetism principle, so that the machine needle does not need to be held by one hand and the other hand for fixing operation, is simpler and more convenient, can effectively prevent the hand from being pricked by the machine needle, and greatly improves the safety of machine needle installation;
(III) can be adapted to the eedle of different needle sizes and can be fine press from both sides tightly the eedle, anti-skidding granule can increase with the coefficient of friction of eedle, more do benefit to the clamp tightly of eedle, two springs can further improve the degree of clamp to the eedle, enable the eedle to be located sheathed tube center department all the time simultaneously, thereby guarantee to align with the opening seam of presser foot, help improving weaving technology, effectively prevent the eedle off normal and lead to the eedle to be broken by the presser foot rigidity pressure.
Although the present invention has been described in detail with reference to the foregoing embodiments, it will be apparent to those skilled in the art that various changes in the embodiments and/or modifications of the invention can be made, and equivalents and modifications of some features of the invention can be made without departing from the spirit and scope of the invention.

Claims (1)

1. The utility model provides a weaving machine convenient to quick replacement eedle, its structure includes organism (1), needle holder (2), presser foot (3), base (4), hand wheel dish (5), organism (1) is connected with base (4), establish hand wheel dish (5), needle holder (2), presser foot (3) on organism (1), its characterized in that:
the needle clamp (2) comprises a needle clamp mechanism (20) and a machine needle (21), the machine needle (21) is arranged on the needle clamp mechanism (20), and the needle clamp mechanism (20) is connected with the machine body (1);
the needle clamp mechanism (20) comprises a sleeve (a), a magnetoelectric mechanism (b), a pulley (c), an opening clamp adjusting group (d), an insulating claw piece group (e) and a guide cover (f), wherein the magnetoelectric mechanism (b), the pulley (c), the magnetoelectric mechanism (b), the opening clamp adjusting group (d) and the guide cover (f) are arranged in the sleeve (a), the opening clamp adjusting group (d) is connected with the insulating claw piece group (e), the pulley (c) is connected with the magnetoelectric mechanism (b) and the opening clamp adjusting group (d), and the needle (21) is clamped by the insulating claw piece group (e);
the sleeve (a) comprises a pipe body (a 1), an opening (a 2) and an insertion opening (a 3), the insertion opening (a 3) is arranged at the bottom of the pipe body (a 1), the opening (a 2) is arranged outside the pipe body, a guide cover (f) is arranged in the insertion opening (a 3), and the pipe body (a 1) is connected with a magneto-electric mechanism (b), an insulating claw piece group (e) and a machine body (1);
the magnetoelectric mechanism (b) comprises a magnetoelectric group (b 1), an insulating seat (b 2), an insulating plate (b 3) and an electromagnet (b 4), wherein the insulating seat (b 2) with the electromagnet (b 4) is arranged on the insulating plate (b 3), the electromagnet (b 4) is connected with the magnetoelectric group (b 1), the magnetoelectric group (b 1) is matched with a pulley (c), the insulating plate (b 3) is connected with a tube body (a 1), and an insulating claw section group (e) is arranged below the insulating plate (b 3); the magneto-electricity generating set (b 1) is arranged in the tube body (a 1), and the magneto-electricity generating mechanism (b) is arranged on the basis that when the magneto-electricity generating set rotates, the coil can cut the magnetic induction line to generate current, so that the electromagnet is electrified;
open and press from both sides regulation group (d) including lead screw (d 1), nut vice (d 2), hinge lever (d 3), threaded connection has nut vice (d 2) on lead screw (d 1), equal hinged connection has hinge lever (d 3) on four oblique positions of nut vice (d 2), hinge lever (d 3) all articulate in insulating claw lamella group (e), lead screw (d 1) top is connected in pulley (c), bottom hub connection in insulating seat (b 2), open and press from both sides the setting of regulation group (d) and lie in the opening and shutting of control insulating claw lamella group (e).
CN201910597090.XA2019-07-042019-07-04 A textile machine that facilitates quick needle replacementActiveCN110453388B (en)

Priority Applications (2)

Application NumberPriority DateFiling DateTitle
CN202011569769.7ACN112760839A (en)2019-07-042019-07-04Textile machine and operation method
CN201910597090.XACN110453388B (en)2019-07-042019-07-04 A textile machine that facilitates quick needle replacement

Applications Claiming Priority (1)

Application NumberPriority DateFiling DateTitle
CN201910597090.XACN110453388B (en)2019-07-042019-07-04 A textile machine that facilitates quick needle replacement

Related Child Applications (1)

Application NumberTitlePriority DateFiling Date
CN202011569769.7ADivisionCN112760839A (en)2019-07-042019-07-04Textile machine and operation method

Publications (2)

Publication NumberPublication Date
CN110453388A CN110453388A (en)2019-11-15
CN110453388Btrue CN110453388B (en)2021-02-23

Family

ID=68482123

Family Applications (2)

Application NumberTitlePriority DateFiling Date
CN201910597090.XAActiveCN110453388B (en)2019-07-042019-07-04 A textile machine that facilitates quick needle replacement
CN202011569769.7AWithdrawnCN112760839A (en)2019-07-042019-07-04Textile machine and operation method

Family Applications After (1)

Application NumberTitlePriority DateFiling Date
CN202011569769.7AWithdrawnCN112760839A (en)2019-07-042019-07-04Textile machine and operation method

Country Status (1)

CountryLink
CN (2)CN110453388B (en)

Families Citing this family (3)

* Cited by examiner, † Cited by third party
Publication numberPriority datePublication dateAssigneeTitle
CN111621933A (en)*2020-05-062020-09-04嘉兴程熙纺织品有限公司Spinning device with material pressing structure and needle head convenient to replace
CN113249885B (en)*2021-07-092021-09-21南通海峰家居用品有限公司Automatic sewing machine for curtain production and processing
CN113249886B (en)*2021-07-142021-09-07南通荣日纺织科技有限公司Weaving machine convenient to quick replacement eedle

Citations (9)

* Cited by examiner, † Cited by third party
Publication numberPriority datePublication dateAssigneeTitle
CN1050913A (en)*1989-10-131991-04-24曼飞那股份有限公司Be used for instrument can be installed in assembly on the driving mechanism with changeing
DE4135556A1 (en)*1990-10-291992-04-30Juki Kk DEVICE FOR RECEIVING AND TRANSMITTING A NEEDLE IN A SEWING MACHINE
CN101348975A (en)*2007-07-192009-01-21格罗兹-贝克特公司Clamping device for needles
CN204625989U (en)*2015-04-202015-09-09吴江市菀坪顺达绕线器厂A kind of sewing machine needle connecting rod
CN105755690A (en)*2016-04-192016-07-13句容市行香光明绣花厂Replaceable sewing machine
CN205874688U (en)*2016-06-282017-01-11贵州绣之魂民族服饰有限公司Sewing machine convenient to eedle maintenance
CN107614775A (en)*2016-02-292018-01-19株式会社铃木制作所Needle clamp device
CN108677397A (en)*2018-06-042018-10-19姚盈娇A kind of textile apparatus being conveniently replaceable syringe needle
CN109923255A (en)*2017-08-292019-06-21株式会社铃木制作所Sewing needle clamping device

Family Cites Families (3)

* Cited by examiner, † Cited by third party
Publication numberPriority datePublication dateAssigneeTitle
CN204625987U (en)*2015-04-202015-09-09吴江市菀坪顺达绕线器厂A kind of Sewing needles folder
CN206706340U (en)*2017-05-132017-12-05上海水纹信息科技有限公司A kind of needle bar of sewing machine
CN206768385U (en)*2017-05-312017-12-19庄梅珍A kind of sewing machine for being easy to eedle to repair

Patent Citations (10)

* Cited by examiner, † Cited by third party
Publication numberPriority datePublication dateAssigneeTitle
CN1050913A (en)*1989-10-131991-04-24曼飞那股份有限公司Be used for instrument can be installed in assembly on the driving mechanism with changeing
DE4135556A1 (en)*1990-10-291992-04-30Juki Kk DEVICE FOR RECEIVING AND TRANSMITTING A NEEDLE IN A SEWING MACHINE
US5193473A (en)*1990-10-291993-03-16Juki CorporationNeedle receiving and transferring apparatus for sewing machine
CN101348975A (en)*2007-07-192009-01-21格罗兹-贝克特公司Clamping device for needles
CN204625989U (en)*2015-04-202015-09-09吴江市菀坪顺达绕线器厂A kind of sewing machine needle connecting rod
CN107614775A (en)*2016-02-292018-01-19株式会社铃木制作所Needle clamp device
CN105755690A (en)*2016-04-192016-07-13句容市行香光明绣花厂Replaceable sewing machine
CN205874688U (en)*2016-06-282017-01-11贵州绣之魂民族服饰有限公司Sewing machine convenient to eedle maintenance
CN109923255A (en)*2017-08-292019-06-21株式会社铃木制作所Sewing needle clamping device
CN108677397A (en)*2018-06-042018-10-19姚盈娇A kind of textile apparatus being conveniently replaceable syringe needle

Also Published As

Publication numberPublication date
CN112760839A (en)2021-05-07
CN110453388A (en)2019-11-15

Similar Documents

PublicationPublication DateTitle
CN110453388B (en) A textile machine that facilitates quick needle replacement
CN206203569U (en)The fully automatic wire winding machine of modified form
CN219320296U (en)Yarn twist testing device
CN108420111A (en)Heat generating component manufacturing device
CN114210879B (en)PE hot-melt pipe fitting terminal pin spinning equipment
CN208964191U (en)A kind of conveying device for Full-automatic curtain lockstitch button holder
CN202897652U (en)Electronic high-speed winding machine
CN207588170U (en)The adjustable connection angle DC lines easy to use of one kind
CN207888020U (en)A kind of safe electric soldering iron weldering pen
CN113320977B (en) Rotating clamping device
CN215374856U (en)Automatic clothes hanger's bearing capacity testing arrangement dries in air
CN206650290U (en)Production line power line punck-down block is used in a kind of air conditioner motor production
CN210925900U (en)Pin assembling device
CN207782058U (en)A kind of electric socket convenient for take-up
CN208458876U (en)A kind of bluetooth vialog easy to use
CN214569845U (en)Automatic feeding device of vacuum operation box
CN208589304U (en)A kind of copper wire stranding machine of clever structure
CN218612132U (en)Clamping type welding soldering bit device
CN201975671U (en)Brush holder
CN221806092U (en)Wear-resistant motor carbon brush
CN110714275A (en)Quick sewing device convenient to carry
CN212212854U (en) Strap semi-automatic pressing machine
CN208147191U (en) A welding jig for concentric detection of a turntable
CN206625010U (en)A kind of elastic automatic adjusting mechanism of sewing machine surface thread
CN217659550U (en)Firm type dust catcher battery package mounting structure through spring tensioning

Legal Events

DateCodeTitleDescription
PB01Publication
PB01Publication
SE01Entry into force of request for substantive examination
SE01Entry into force of request for substantive examination
TA01Transfer of patent application right

Effective date of registration:20210128

Address after:264200 No.16 Huaihe street, Zhangcun Town, Huancui District, Weihai City, Shandong Province

Applicant after:Weihai wochi Intelligent Technology Co.,Ltd.

Address before:351100 Room 401, 237 hudongdong Road, Fenghuangshan street, Chengxiang District, Putian City, Fujian Province

Applicant before:Putian Chengxiang Shengming Network Co.,Ltd.

TA01Transfer of patent application right
GR01Patent grant
GR01Patent grant
TR01Transfer of patent right

Effective date of registration:20240814

Address after:Room 105, Building 2, No.17 Longhai West Road, Xiuquan Street, Huadu District, Guangzhou City, Guangdong Province 510000

Patentee after:Guangzhou Tucson Machinery Equipment Co.,Ltd.

Country or region after:China

Address before:264200 No.16 Huaihe street, Zhangcun Town, Huancui District, Weihai City, Shandong Province

Patentee before:Weihai wochi Intelligent Technology Co.,Ltd.

Country or region before:China

TR01Transfer of patent right

[8]ページ先頭

©2009-2025 Movatter.jp