Movatterモバイル変換


[0]ホーム

URL:


CN110428738B - Display module and display device - Google Patents

Display module and display device
Download PDF

Info

Publication number
CN110428738B
CN110428738BCN201910703622.3ACN201910703622ACN110428738BCN 110428738 BCN110428738 BCN 110428738BCN 201910703622 ACN201910703622 ACN 201910703622ACN 110428738 BCN110428738 BCN 110428738B
Authority
CN
China
Prior art keywords
curved
display panel
flexible display
display module
bottom plate
Prior art date
Legal status (The legal status is an assumption and is not a legal conclusion. Google has not performed a legal analysis and makes no representation as to the accuracy of the status listed.)
Active
Application number
CN201910703622.3A
Other languages
Chinese (zh)
Other versions
CN110428738A (en
Inventor
刘军
陈江
Current Assignee (The listed assignees may be inaccurate. Google has not performed a legal analysis and makes no representation or warranty as to the accuracy of the list.)
Wuhan Tianma Microelectronics Co Ltd
Original Assignee
Wuhan Tianma Microelectronics Co Ltd
Priority date (The priority date is an assumption and is not a legal conclusion. Google has not performed a legal analysis and makes no representation as to the accuracy of the date listed.)
Filing date
Publication date
Application filed by Wuhan Tianma Microelectronics Co LtdfiledCriticalWuhan Tianma Microelectronics Co Ltd
Priority to CN201910703622.3ApriorityCriticalpatent/CN110428738B/en
Publication of CN110428738ApublicationCriticalpatent/CN110428738A/en
Application grantedgrantedCritical
Publication of CN110428738BpublicationCriticalpatent/CN110428738B/en
Activelegal-statusCriticalCurrent
Anticipated expirationlegal-statusCritical

Links

Images

Classifications

Landscapes

Abstract

The invention discloses a display module and a display device, wherein the display module comprises: a flexible display panel and a protective member; the protective piece comprises a bottom plate and a side wall, the side wall comprises a side wall structure, and an accommodating cavity is formed by interconnection between the side wall structure and the bottom plate; the flexible display panel is positioned in the accommodating cavity, and the non-display side of the flexible display panel faces the bottom plate; the sidewall structure comprises a curvilinear member; the curved member extends at least partially through the sidewall structure in a direction of extension of the sidewall structure. The invention provides a display module and a display device, and aims to solve the problem that the edge of a flexible display screen is easy to damage.

Description

Display module and display device
Technical Field
The invention relates to the technical field of display, in particular to a display module and a display device.
Background
In the development of display screens, flexible display screens have been developed significantly in recent years. Compared with the traditional screen, the flexible display screen has the advantages of being light, thin, low in power consumption, bendable, high in flexibility and the like, so that the application scenes of the flexible display screen are more and more extensive.
But in transport or use, the edge of flexible display screen is easily strikeed and is collided with for flexible display screen takes place to damage and influences display panel's luminous, reduces flexible display screen's life-span.
Disclosure of Invention
The embodiment of the invention provides a display module and a display device, and aims to solve the problem that the edge of a flexible display screen is easy to damage.
In a first aspect, an embodiment of the present invention provides a display module, including:
a flexible display panel and a protective member;
the protective piece comprises a bottom plate and a side wall, the side wall comprises a side wall structure, and an accommodating cavity is formed by interconnection between the side wall structure and the bottom plate;
the flexible display panel is positioned in the accommodating cavity, and the non-display side of the flexible display panel faces the bottom plate;
the sidewall structure comprises a curvilinear member; the curved member extends at least partially through the sidewall structure in a direction of extension of the sidewall structure.
Optionally, the curved member comprises a curved wire.
Optionally, the material of the protective member includes one or more of polyimide, polyethylene terephthalate, and polyphenylene ether resin.
Optionally, the curved part includes one or more of a figure 8 structure, an S-shaped structure, a wave-shaped structure, a saw-tooth structure and a diamond-shaped structure.
Optionally, the material of the curved metal wire includes one or more of copper, molybdenum and steel.
Optionally, the thickness range of the protection piece is 0.5 mm-2 mm; the diameter range of the curved metal wire is 0.1 mm-0.2 mm.
Optionally, the sidewall structure includes: a first structure, a second structure, and a third structure; the first structure is positioned on the display side of the flexible display panel, the third structure is positioned on the non-display side of the flexible display panel, and the second structure is respectively connected with the first structure and the third structure; the curved members include a first curved member that is positioned within the second structure and the plane of the first curved member intersects the plane of the base plate.
Optionally, the curved member comprises a second curved member, the second curved member being located within the first structure; the plane of the second curvilinear member is substantially parallel to the plane of the base plate.
Optionally, the curved members comprise a third curved member, the third curved member being located within the third structure; the plane of the third curvilinear member is substantially parallel to the plane of the base plate.
Optionally, the first curved component ranges from 110GPa to 250 GPa.
Optionally, the stress concentration of the second curved member is offset from the stress concentration of the first curved member.
Optionally, the stress concentration of the third curved member is offset from the stress concentration of the first curved member.
Optionally, a plurality of grooves are formed in one side of the bottom plate, which is far away from the flexible display panel; the groove extends at least partially through the backplane in a direction parallel to a bending axis of the flexible display panel.
In a second aspect, based on the same inventive concept, an embodiment of the present invention further provides a display device, where the display device includes the display module provided in any embodiment of the present invention.
According to the invention, the display module comprises the flexible display panel and the protection piece, the protection piece comprises the bottom plate and the side wall, the side wall comprises the side wall structure connected with the bottom plate, the side wall structure and the bottom plate form the containing cavity, the flexible display panel is arranged in the containing cavity, the flexible display panel is coated by the protection piece, the flexible display panel is prevented from being damaged by heavy impact or collision, and the service life of the flexible display panel is prolonged. In addition, including curved part in the lateral wall structure, along the extending direction of lateral wall structure, curved part is partial or all to run through the lateral wall structure, further strengthens the intensity of lateral wall structure, strengthens the shock resistance of protection piece to curved part can also produce deformation and make the protection piece can follow the bending of flexible display panel, realizes that the curved surface shows and curls and accomodate.
Drawings
Fig. 1 is a schematic structural diagram of a display module according to an embodiment of the present invention;
fig. 2 is a top view of a display module according to an embodiment of the invention;
FIG. 3 is a schematic structural diagram of the display module shown in FIG. 2 in a rolled state;
FIG. 4 is a top view of another display module according to an embodiment of the present invention;
FIG. 5 is a top view of another display module according to an embodiment of the present invention;
FIG. 6 is a top view of another display module according to an embodiment of the present invention;
FIG. 7 is a cross-sectional view of the display module of FIG. 2 along line a-a';
FIG. 8 is another cross-sectional view of the display module of FIG. 2 along line a-a';
FIG. 9 is a schematic cross-sectional view of the display module shown in FIG. 2 along line a-a';
FIG. 10 is a schematic cross-sectional view of the display module of FIG. 2 along line a-a';
FIG. 11 is a schematic cross-sectional view of the display module of FIG. 2 along line a-a';
fig. 12 is a schematic partial structure diagram of a display module according to an embodiment of the present invention;
FIG. 13 is a partial schematic view of a curved member according to an embodiment of the present invention;
fig. 14 is a schematic structural diagram of a display device according to an embodiment of the present invention.
Detailed Description
The present invention will be described in further detail with reference to the accompanying drawings and examples. It is to be understood that the specific embodiments described herein are merely illustrative of the invention and are not limiting of the invention. It should be further noted that, for the convenience of description, only some of the structures related to the present invention are shown in the drawings, not all of the structures.
The flexible display panel is generally used for curved surface display or bending display, or can be stored in a reel mode, but when the flexible display panel is moved or contracted, the edge of the flexible display panel is easy to collide or knock, so that the flexible display panel is cracked, and the display of the flexible display panel is influenced. In order to solve the above-mentioned problems,
the embodiment of the invention provides a display module, which comprises:
a flexible display panel and a protective member;
the protection piece comprises a bottom plate and a side wall, the side wall comprises a side wall structure, and an accommodating cavity is formed by interconnection between the side wall structure and the bottom plate;
the flexible display panel is positioned in the accommodating cavity, and the non-display side of the flexible display panel faces the bottom plate;
the sidewall structure includes a curvilinear member; the curved member extends at least partially through the sidewall structure in a direction of extension of the sidewall structure.
According to the display module provided by the embodiment of the invention, the display module comprises the flexible display panel and the protection piece, the protection piece comprises the bottom plate and the side wall, the side wall comprises the side wall structure connected with the bottom plate, the side wall structure and the bottom plate form the containing cavity, the flexible display panel is arranged in the containing cavity, the flexible display panel is coated by the protection piece, the flexible display panel is prevented from being damaged by heavy impact or collision, and the service life of the flexible display panel is prolonged. In addition, including curved part in the lateral wall structure, along the extending direction of lateral wall structure, curved part is partial or all to run through the lateral wall structure, further strengthens the intensity of lateral wall structure, strengthens the shock resistance of protection piece to curved part can also produce deformation and make the protection piece can follow the bending of flexible display panel, realizes that the curved surface shows and curls and accomodate.
The technical solutions in the embodiments of the present invention will be clearly and completely described below with reference to the drawings in the embodiments of the present invention. All other embodiments obtained by a person of ordinary skill in the art based on the embodiments of the present invention without any creative work belong to the protection scope of the present invention.
Fig. 1 is a schematic structural diagram of a display module according to an embodiment of the present invention, where the display module 1 includes aflexible display panel 11 and aprotection member 12, theprotection member 12 includes a sidewall and abottom plate 122, the sidewall includes asidewall structure 121, thesidewall structure 121 and thebottom plate 122 are interconnected to form anaccommodating cavity 14, optionally, thesidewall structure 121 and thebottom plate 122 may be integrally formed to enhance the strength of theprotection member 12, theaccommodating cavity 14 is used to accommodate theflexible display panel 11, and a non-display side of theflexible display panel 11 faces thebottom plate 122, so that after theflexible display panel 11 is disposed in theaccommodating cavity 14, image display can still be performed, and a user can use theflexible display panel 11 conveniently.
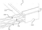
Thesidewall structures 121 may be formed on at least one side edge of theflexible display panel 11, as shown in fig. 2, fig. 2 is a top view of a display module according to an embodiment of the invention, and thesidewall structures 121 may be disposed on two opposite side edges of theflexible display panel 11. If theflexible display panel 11 is a quadrilateral, it includes two opposite side edges extending along a first direction x and two opposite side edges extending along a second direction y, where the first direction x and the second direction y intersect, and preferably, the first direction x and the second direction y are perpendicular to each other. Theflexible display panel 11 may be a rollable structure, and if theflexible display panel 11 is rolled along the first direction x, thesidewall structures 121 are only disposed on two side edges disposed along the first direction x, and thesidewall structures 121 are not disposed on two non-rolled edges disposed along the second direction y, so as to facilitate bending theflexible display panel 11 along the first direction x. Referring to fig. 3, fig. 3 is a schematic structural view of the display module in fig. 2 in a curled state, the display module is curled along a first direction x, when the user does not need to use the display module, the display module can be curled to be convenient for storage and protection of the display module, and when the display module needs to be used, the display module is unfolded to a state shown in fig. 2. As shown in fig. 3, when the display module is in a rolled state, a cylindrical structure is formed with a bending axis O as a central line, and the bending axis O is a position of a circular center axis of a curved surface formed by the display module.
Alternatively, with continued reference to fig. 3, a side of thebackplane 122 remote from theflexible display panel 11 may be provided with a plurality ofrecesses 1221; thegrooves 1221 extend at least partially through thebottom plate 122 in a direction parallel to the bending axis O of theflexible display panel 11.Recess 1221 is as the groove of unloading power of the crooked in-process of display module assembly, and stress concentration on thebottom plate 122 of can effective dispersion prevents that cracked condition from appearing inbottom plate 122, protectsbottom plate 122, and the setting up ofrecess 1221 has strengthened the bending nature ofbottom plate 122, realizes that the attachedflexible display panel 11 ofbottom plate 122 buckles to the guard action ofbottom plate 122 toflexible display panel 11 has been strengthened. In this embodiment, thegrooves 1221 are parallel to the bending axis O of theflexible display panel 11, so that the bending stress of theflexible display panel 11 can be effectively dispersed. Moreover, in a direction parallel to the bending axis O of theflexible display panel 11, thegrooves 1221 at least partially penetrate through thebottom plate 122, that is, thegrooves 1221 may penetrate through part of thebottom plate 122 to form thegrooves 1221 independently disposed on thebottom plate 122, or thegrooves 1221 may penetrate through all of thebottom plates 122, as shown in fig. 3, thegrooves 1221 penetrate through two edges of thebottom plate 122 to form a through-groove structure, so as to further release the bending stress of theflexible display panel 11 and thebottom plate 122. Alternatively, the cross section of thegroove 1221 may be triangular, as shown in fig. 3, in addition, the cross section of thegroove 1221 may be rectangular, trapezoidal, or circular, and the shape of thegroove 1221 is not limited in this embodiment.
Optionally, as shown in fig. 4, fig. 4 is a top view of another display module according to an embodiment of the present invention, if theflexible display panel 11 is a quadrilateral, and includes two opposite side edges extending along the first direction x and two opposite side edges extending along the second direction y, if theside wall structures 121 are disposed on the two opposite side edges extending along the first direction x, when the two opposite side edges extending along the first direction x of theflexible display panel 11 are curved sides, the two non-curved side edges along the second direction y may be used as telescopic edges, in this embodiment, the hand guards 15 may be disposed on the non-curved side edges, and in the curved module curling process, the hand guards 15 may assist in stretching and curling of the curved module, and may protect the non-curved side edges of theflexible display panel 11 along the second direction y to a certain extent.
As shown in fig. 5, fig. 5 is a top view of another display module provided in an embodiment of the present invention, and thesidewall structures 121 are disposed to cover all edges of theflexible display panel 11, for example, if theflexible display panel 11 is a quadrangle, thesidewall structures 121 may be disposed on four edges of theflexible display panel 11, so as to protect the edges of theflexible display panel 11 to a greater extent and enhance the impact resistance of theflexible display panel 11. Optionally, thesidewall structure 121 includes afirst sidewall structure 1211, asecond sidewall structure 1212, athird sidewall structure 1213, and afourth sidewall structure 1214; thefirst sidewall structure 1211 and thesecond sidewall structure 1212 are located at two opposite side edges of the bottom plate along the first direction x, and thethird sidewall structure 1213 and thefourth sidewall structure 1214 are located at two opposite side edges of the bottom plate along the second direction y; the first direction x and the second direction y intersect; the direction of the bending axis of theflexible display panel 11 is perpendicular to the first direction x. As shown in fig. 5, the first direction x and the second direction y intersect each other, and theflexible display panel 11 is a parallelogram, preferably, the first direction x and the second direction y are perpendicular to each other, so that theflexible display panel 11 is a rectangle, and if theflexible display panel 11 is bent or curled along the first direction x, the direction of the bending axis of theflexible display panel 11 is perpendicular to the first direction x.
As shown in fig. 6, fig. 6 is a top view of another display module according to an embodiment of the present invention, optionally, a portion of each edge of theflexible display panel 11 is provided with asidewall structure 121, and referring to fig. 6, each edge is provided with asidewall structure 121 that is intermittently disposed, and the material cost of thesidewall structure 121 can be reduced while theflexible display panel 11 is protected by the intermittently disposedsidewall structures 121.
With continued reference to fig. 1, thesidewall structure 121 includes acurved member 13, and thecurved member 13 can be embedded in thesidewall structure 121, and can support thesidewall structure 121 and enhance the strength of thesidewall structure 121. Referring to fig. 7, fig. 7 is a schematic cross-sectional view of the display module in fig. 2 along a line a-a ', fig. 7 is a schematic cross-sectional view of thesidewall structure 121 along the extending direction, and thecurved component 13 at least partially penetrates through thesidewall structure 121, as shown in fig. 7, thecurved component 13 may penetrate through theentire sidewall structure 121, or, as shown in fig. 8, fig. 8 is a schematic cross-sectional view of the display module in fig. 2 along a line a-a', thecurved component 13 may penetrate through a part of thesidewall structure 121, in thesidewall structure 121, the longer the penetrating length of thecurved component 13, the higher the strength of thesidewall structure 121, and when thecurved component 13 penetrates through theentire sidewall structure 121, thesidewall structure 121 has the greatest strength and the greatest impact resistance.
Alternatively, with continued reference to fig. 7 and 8, thecurvilinear member 13 may comprise a curvilinear metal wire. When thecurved member 13 is a curved metal wire, the mechanical strength of thesidewall structure 121 where thecurved member 13 is located can be enhanced, and the curved metal wire has a certain flexibility and can be bent to a certain extent, so that thesidewall structure 121 can be bent along with the bending of theflexible display panel 11.
Optionally, the material of thecurved metal wire 13 includes one or more of copper, molybdenum, and steel. Above-mentioned metal material has higher mechanical strength, strengthens the shock resistance oflateral wall structure 121, and can buckle and kick-back in certain extent, is convenient for realize display module's curling or buckle.
Alternatively, with continued reference to fig. 1, the material of theprotector 12 may include one or more of polyimide, polyethylene terephthalate, and polyphenylene ether resin. The organic polymer materials with good comprehensive performance have high extensibility, are easy to bend, have moderate hardness, cannot be too soft to play a protection role, and have strong friction resistance and good dimensional stability.
Fig. 9 is a schematic cross-sectional view of the display module of fig. 2 taken along a line a-a ', fig. 10 is a schematic cross-sectional view of the display module of fig. 2 taken along a line a-a ', fig. 11 is a schematic cross-sectional view of the display module of fig. 2 taken along a line a-a ', and referring to fig. 7 to 11, thecurved part 13 may alternatively include one or more of a figure-8 structure, an S-shaped structure, a wave-shaped structure, a saw-tooth-shaped structure, and a diamond-shaped structure. As shown in fig. 7, thecurved part 13 may have a 8-shaped structure, and the strength of thecurved part 13 is high, so as to increase the strength of thesidewall structure 121. Further, as shown in fig. 8, thecurved member 13 may have a zigzag structure, as shown in fig. 9, thecurved member 13 may have an S-shaped structure, as shown in fig. 10, thecurved member 13 may have a wave-shaped structure, as shown in fig. 11, and thecurved member 13 may have a diamond structure. Thecurved member 13 may have other curved structures, and the shape of thecurved member 13 is not limited in this embodiment. Alternatively, as shown in fig. 7, 9, 10 and 11, thecurved part 13 may be a continuous structure to enhance the setting strength of thecurved part 13, or as shown in fig. 8, thecurved part 13 is a structure in which thesidewall structure 121 is intermittently set, thereby enhancing the bendability of thesidewall structure 121.
Alternatively, with continued reference to FIG. 1, the thickness of theprotector 12 may range from 0.5mm to 2 mm; the diameter of thecurved metal wire 13 may range from 0.1mm to 0.2 mm. The thickness of theprotector 12 is higher than that of thecurved metal wire 13 so that thecurved metal wire 13 can be embedded inside theprotector 12.
Optionally, referring to fig. 12, fig. 12 is a schematic view of a partial structure of a display module according to an embodiment of the present invention, where thesidewall structure 121 may include: a first structure 121a, asecond structure 121b, and athird structure 121 c; the first structure 121a is located on the display side of theflexible display panel 11, thethird structure 121c is located on the non-display side of theflexible display panel 11, and thesecond structure 121b is connected to the first structure 121a and thethird structure 121c, respectively; the curved member includes a firstcurved member 13a, the firstcurved member 13a is located within thesecond structure 121b, and a plane of the firstcurved member 13a intersects a plane of thebase plate 122.
The first structure 121a, thesecond structure 121b, and thethird structure 121c of thesidewall structure 121 form a cladding structure to clad the edge of theflexible display panel 11, so as to enhance the protection effect on theflexible display panel 11. Thesecond structure 121b is provided with a firstcurved part 13a, and in order to enhance the supporting effect of the firstcurved part 13a on thesecond structure 121b, the plane of the firstcurved part 13a intersects with the plane of thebottom plate 122, so that on the stressed surface of thesecond structure 121b, the firstcurved part 13a is spread as far as possible, and uniformly bears the stress borne by thesecond structure 121b at different positions. Preferably, as shown in fig. 11, the plane of the firstcurved part 13a is perpendicular to the plane of thebottom plate 122, and the plane of the firstcurved part 13a is parallel to the stressed plane of thesecond structure 121b, so as to enhance the impact resistance of thesecond structure 121 b.
Alternatively, with continued reference to fig. 12, the curvilinear members may include a secondcurvilinear member 13b, the secondcurvilinear member 13b being positioned within the first structure 121 a; the plane of the secondcurvilinear member 13b is substantially parallel to the plane of thebase plate 122. The first structure 121a is disposed parallel to thebottom plate 122, and similarly, in order to enhance the strength of the first structure 121a, the plane of the secondcurved part 13b is substantially parallel to the plane of thebottom plate 122, but may have a smaller angle with the plane of thebottom plate 122, and preferably, the plane of the secondcurved part 13b is disposed parallel to the plane of thebottom plate 122, that is, the plane of the secondcurved part 13b is disposed parallel to the plane of the first structure 121 a.
Optionally, with continued reference to fig. 12, the curvilinear members may include a thirdcurvilinear member 13c, the thirdcurvilinear member 13c being located within thethird structure 121 c; the thirdcurved member 13c lies in a plane that is substantially parallel to the plane of thebase plate 122. Similar to the secondcurved part 13b embedded in the first structure 121a, thethird structure 121c includes a thirdcurved part 13c, and in order to enhance the strength of thethird structure 121c, the plane of the thirdcurved part 13c is substantially parallel to the plane of thebottom plate 122, and preferably, the plane of the thirdcurved part 13c is parallel to the plane of thebottom plate 122, that is, the plane of the thirdcurved part 13c is parallel to the plane of the first structure 121 a.
Alternatively, the Young's moduli of the firstcurved member 13a, the secondcurved member 13b, and the thirdcurved member 13c may range from 110GPa to 250 GPa. Fig. 13 is a partial structural view of a curved line member according to an embodiment of the present invention, and fig. 13 is a schematic view of a curved line member, which may preferably be a 8-shaped curved line member, in which a plane of a firstcurved line member 13a may be perpendicular to abottom plate 122, and planes of a secondcurved line member 13b and a thirdcurved line member 13c may be parallel to thebottom plate 122. In order to prevent the irreversible deformation of the firstcurved member 13a caused by the repeated curling operation, thecurved member 13a of this embodiment is preferably made of a material having a young's modulus of greater than or equal to 110GPa, such as molybdenum having a young's modulus of 230GPa, light having a young's modulus of 207GPa, and copper having a young's modulus of 119GPa, which have high resilience and are not easily damaged and failed during the bending process, and titanium having a young's modulus of 102.04GPa and aluminum having a young's modulus of 71.7GPa, which have too high softness and low resilience, are not preferred materials of this embodiment. As for the secondcurved member 13b and the thirdcurved member 13c, during the bending process of the display module, a bending force perpendicular to thebottom plate 122 is applied, and the secondcurved member 13b and the thirdcurved member 13c need to have high flexibility, so that the secondcurved member 13b and the thirdcurved member 13c are not easily broken during the bending process, and the flexibility of the display module is enhanced, therefore, in this embodiment, it is preferable that the young modulus of the curved member is set to be less than or equal to 250GPa, and the rigidity of the secondcurved member 13b and the thirdcurved member 13c is reduced.
Alternatively, the stress concentration portion of the secondcurved member 13b and the stress concentration portion of the firstcurved member 13a may be disposed in a staggered manner, and alternatively, a line connecting the stress concentration portion of the secondcurved member 13b and the stress concentration portion of the firstcurved member 13a is not parallel to the bending axis O of thedisplay panel 11. The offset arrangement of the stress concentration of the secondcurved member 13b and the stress concentration of the firstcurved member 13a can prevent the stress from excessively concentrating at a certain position of thesidewall structure 121, which may cause damage to thesidewall structure 121. Similarly, in order to uniformly distribute the stress at each position in thesidewall structure 121, optionally, the stress concentration of the thirdcurved member 13c is offset from the stress concentration of the firstcurved member 13a, and optionally, a connection line between the stress concentration of the thirdcurved member 13c and the stress concentration of the firstcurved member 13a is not parallel to the bending axis O of thedisplay panel 11.
With continued reference to fig. 13, fig. 13 is illustrated with an 8-shaped curved member that includes peak and valley locations, with the valley location being the location of stress concentration in the curved member. As shown in fig. 13, in the present embodiment, the valley position m of the firstcurved member 13a is offset from the valley position b of the secondcurved member 13b, and the valley position m of the firstcurved member 13a is offset from the valley position c of the thirdcurved member 13c, so that the bending stress generated by the curved members can be uniformly distributed on theside wall structure 121, theside wall structure 121 can be protected, and the life of theprotector 12 can be improved.
The embodiment of the invention also provides display equipment. Fig. 14 is a schematic structural diagram of a display device according to an embodiment of the present invention, and as shown in fig. 14, adisplay device 2 according to an embodiment of the present invention includes the display module 1 according to any embodiment of the present invention, and thedisplay device 2 may be a conference screen or a conference screen as shown in fig. 14, or may be a mobile phone, a computer, a television, an intelligent wearable device, and the like, which is not particularly limited in this embodiment.
It is to be noted that the foregoing is only illustrative of the preferred embodiments of the present invention and the technical principles employed. It will be understood by those skilled in the art that the present invention is not limited to the particular embodiments described herein, but is capable of various obvious changes, rearrangements and substitutions as will now become apparent to those skilled in the art without departing from the scope of the invention. Therefore, although the present invention has been described in greater detail by the above embodiments, the present invention is not limited to the above embodiments, and may include other equivalent embodiments without departing from the spirit of the present invention, and the scope of the present invention is determined by the scope of the appended claims.

Claims (9)

CN201910703622.3A2019-07-312019-07-31Display module and display deviceActiveCN110428738B (en)

Priority Applications (1)

Application NumberPriority DateFiling DateTitle
CN201910703622.3ACN110428738B (en)2019-07-312019-07-31Display module and display device

Applications Claiming Priority (1)

Application NumberPriority DateFiling DateTitle
CN201910703622.3ACN110428738B (en)2019-07-312019-07-31Display module and display device

Publications (2)

Publication NumberPublication Date
CN110428738A CN110428738A (en)2019-11-08
CN110428738Btrue CN110428738B (en)2022-01-14

Family

ID=68413472

Family Applications (1)

Application NumberTitlePriority DateFiling Date
CN201910703622.3AActiveCN110428738B (en)2019-07-312019-07-31Display module and display device

Country Status (1)

CountryLink
CN (1)CN110428738B (en)

Families Citing this family (3)

* Cited by examiner, † Cited by third party
Publication numberPriority datePublication dateAssigneeTitle
CN111951681A (en)*2020-08-212020-11-17京东方科技集团股份有限公司 Flexible display panel and manufacturing method
WO2022205245A1 (en)*2021-03-312022-10-06华为技术有限公司Flexible display screen and terminal
CN113284423A (en)*2021-06-242021-08-20京东方科技集团股份有限公司Flexible display panel and display device

Citations (13)

* Cited by examiner, † Cited by third party
Publication numberPriority datePublication dateAssigneeTitle
CN101644834A (en)*2008-08-052010-02-10胜华科技股份有限公司Liquid crystal display module and frame of the same
KR100965942B1 (en)*2008-09-022010-06-23동광전자 주식회사 Scrollboard Display Board
CN201622781U (en)*2009-11-262010-11-03苏建国Flexible luminous display connecting device and flexible display device
CN202153541U (en)*2011-08-182012-02-29京东方科技集团股份有限公司 A flexible display
US9318427B2 (en)*2013-02-012016-04-19Lg Display Co., Ltd.Flexible display substrate with wire in curved bending area
CN106373491A (en)*2016-08-292017-02-01深圳天珑无线科技有限公司Flexible screen and flexible screen device
CN108062914A (en)*2018-01-052018-05-22京东方科技集团股份有限公司Display base plate and its manufacturing method, display device
KR20180060205A (en)*2016-11-282018-06-07풍원정밀(주)Flexible display supporters for supporting flexible displays and the method for thereof
CN208141720U (en)*2018-05-282018-11-23京东方科技集团股份有限公司Flexible strutting piece, flexible display substrates and display device
CN108962033A (en)*2018-07-272018-12-07上海天马微电子有限公司Display module and display device
CN109427253A (en)*2017-08-302019-03-05乐金显示有限公司Flexible display apparatus
CN109460113A (en)*2018-10-262019-03-12Oppo(重庆)智能科技有限公司A kind of Flexible Displays screen assembly and electronic equipment
CN109523914A (en)*2017-09-192019-03-26深圳天珑无线科技有限公司A kind of protective device of flexible screen, display panel and electronic device

Family Cites Families (9)

* Cited by examiner, † Cited by third party
Publication numberPriority datePublication dateAssigneeTitle
CN201265763Y (en)*2008-09-122009-07-01刘延平Light strip
CN109712536A (en)*2019-02-282019-05-03武汉华星光电半导体显示技术有限公司A kind of display panel and display device
KR102133220B1 (en)*2014-01-072020-07-14삼성디스플레이 주식회사Display device
US9544994B2 (en)*2014-08-302017-01-10Lg Display Co., Ltd.Flexible display device with side crack protection structure and manufacturing method for the same
KR102363261B1 (en)*2015-04-162022-02-16삼성디스플레이 주식회사Flexible display panel and the manufacturing method thereof
CN104851366B (en)*2015-05-292018-02-06京东方科技集团股份有限公司A kind of flexible display apparatus
CN206610569U (en)*2017-04-012017-11-03武汉天马微电子有限公司Flexible display panel and flexible display device
CN108470523B (en)*2018-05-182020-03-27京东方科技集团股份有限公司 Flexible element, flexible display device and manufacturing method thereof
CN109659344B (en)*2018-12-172021-04-02武汉华星光电半导体显示技术有限公司Flexible OLED device

Patent Citations (13)

* Cited by examiner, † Cited by third party
Publication numberPriority datePublication dateAssigneeTitle
CN101644834A (en)*2008-08-052010-02-10胜华科技股份有限公司Liquid crystal display module and frame of the same
KR100965942B1 (en)*2008-09-022010-06-23동광전자 주식회사 Scrollboard Display Board
CN201622781U (en)*2009-11-262010-11-03苏建国Flexible luminous display connecting device and flexible display device
CN202153541U (en)*2011-08-182012-02-29京东方科技集团股份有限公司 A flexible display
US9318427B2 (en)*2013-02-012016-04-19Lg Display Co., Ltd.Flexible display substrate with wire in curved bending area
CN106373491A (en)*2016-08-292017-02-01深圳天珑无线科技有限公司Flexible screen and flexible screen device
KR20180060205A (en)*2016-11-282018-06-07풍원정밀(주)Flexible display supporters for supporting flexible displays and the method for thereof
CN109427253A (en)*2017-08-302019-03-05乐金显示有限公司Flexible display apparatus
CN109523914A (en)*2017-09-192019-03-26深圳天珑无线科技有限公司A kind of protective device of flexible screen, display panel and electronic device
CN108062914A (en)*2018-01-052018-05-22京东方科技集团股份有限公司Display base plate and its manufacturing method, display device
CN208141720U (en)*2018-05-282018-11-23京东方科技集团股份有限公司Flexible strutting piece, flexible display substrates and display device
CN108962033A (en)*2018-07-272018-12-07上海天马微电子有限公司Display module and display device
CN109460113A (en)*2018-10-262019-03-12Oppo(重庆)智能科技有限公司A kind of Flexible Displays screen assembly and electronic equipment

Also Published As

Publication numberPublication date
CN110428738A (en)2019-11-08

Similar Documents

PublicationPublication DateTitle
CN110428738B (en)Display module and display device
CN107301821B (en)Foldable display screen and display device
US11147170B2 (en)Display panels and display devices
US12228972B2 (en)Foldable display device
US20190081255A1 (en)Display device
US9010529B2 (en)Foldable cover
US20200139672A1 (en)Display device and protective cover window
EP2283636B1 (en)Protection of flexible displays
US20210026412A1 (en)Display
US20160051021A1 (en)Protective Jacket of Electronic Product
CN114038324A (en)Supporting assembly and flexible display device
CN214587755U (en)Flexible display module and electronic equipment
CN211087785U (en)Display panel
KR102833552B1 (en)Display device
CN112071207A (en)Composite heat dissipation material and display device
US20220273096A1 (en)Supporting device for mobile terminal
US7667956B2 (en)Portable electronic apparatus and housing thereof
CN111081150B (en)Support membrane and display device
KR101674467B1 (en) Protective film
CN117042500A (en)Display module and display device
US20190159335A1 (en)Flexible circuit board and display panel
TW201041789A (en)Tray for bearing liquid crystal panel
EP3714729B1 (en)Protective case
KR102751775B1 (en)Heat transfer member, heat transfer assembly and electronic device comprising the same
US20170336828A1 (en)Electronic device

Legal Events

DateCodeTitleDescription
PB01Publication
PB01Publication
SE01Entry into force of request for substantive examination
SE01Entry into force of request for substantive examination
GR01Patent grant
GR01Patent grant

[8]ページ先頭

©2009-2025 Movatter.jp