Movatterモバイル変換


[0]ホーム

URL:


CN109571776B - A shrink-tightening device for building monitoring auxiliary installation equipment - Google Patents

A shrink-tightening device for building monitoring auxiliary installation equipment
Download PDF

Info

Publication number
CN109571776B
CN109571776BCN201811456106.7ACN201811456106ACN109571776BCN 109571776 BCN109571776 BCN 109571776BCN 201811456106 ACN201811456106 ACN 201811456106ACN 109571776 BCN109571776 BCN 109571776B
Authority
CN
China
Prior art keywords
sliding
rod
wheel
linkage
pushing
Prior art date
Legal status (The legal status is an assumption and is not a legal conclusion. Google has not performed a legal analysis and makes no representation as to the accuracy of the status listed.)
Active
Application number
CN201811456106.7A
Other languages
Chinese (zh)
Other versions
CN109571776A (en
Inventor
邬成眉
Current Assignee (The listed assignees may be inaccurate. Google has not performed a legal analysis and makes no representation or warranty as to the accuracy of the list.)
Hunan Zhizhen Energy Saving Door And Window Co ltd
Original Assignee
Anhui Mingcheng Construction Project Management Co ltd
Priority date (The priority date is an assumption and is not a legal conclusion. Google has not performed a legal analysis and makes no representation as to the accuracy of the date listed.)
Filing date
Publication date
Application filed by Anhui Mingcheng Construction Project Management Co ltdfiledCriticalAnhui Mingcheng Construction Project Management Co ltd
Priority to CN201811456106.7ApriorityCriticalpatent/CN109571776B/en
Publication of CN109571776ApublicationCriticalpatent/CN109571776A/en
Application grantedgrantedCritical
Publication of CN109571776BpublicationCriticalpatent/CN109571776B/en
Activelegal-statusCriticalCurrent
Anticipated expirationlegal-statusCritical

Links

Images

Classifications

Landscapes

Abstract

Translated fromChinese

本发明公开了一种建筑监测辅助安装设备的收缩紧密装置,其结构包括滚轮、轴盘、底盘、安装座、收缩紧密装置、滑动主杆,本发明通过转动旋卡刻盘使得圆台齿盘进行转动,经过圆台齿盘传动吸合弧板右方的齿板使得吸合弧板进行向左移动对墙体上的瓷砖进行挤压吸合,同时在钻头进行左移由抽缩环套内部的侧推机构上的挤压稳轮对钻头进行滚动锁紧,使得钻头稳定前进钻孔,使得瓷砖不会损坏掉落砸伤工作人员,上移顶住后经过转动摇板右移,使得转动摇板上的三角柱与锁定卡块进行卡住固定,通过上压动轮与侧轮上顶动使得打孔时,钻头受到墙体外推的力与上端上压动轮与侧轮上顶动下压的力抵消,使得打孔的位置不会发生偏移。

Figure 201811456106

The invention discloses a shrinking and tightening device for auxiliary installation equipment for building monitoring. Rotate, drive the tooth plate on the right side of the suction arc plate through the circular tooth plate, so that the suction arc plate moves to the left to squeeze and close the tiles on the wall. The squeezing wheel on the push mechanism rolls and locks the drill bit, so that the drill bit moves forward and drills stably, so that the tiles will not be damaged and fall and hurt the staff. The upper triangular column and the locking block are clamped and fixed. When the upper pressing wheel and the side wheel are pushed up, the drill bit is pushed by the wall and the upper push wheel and the side wheel are pushed up and down. offset, so that the position of the punched hole does not shift.

Figure 201811456106

Description

Contraction tightening device of building monitoring auxiliary installation equipment
Technical Field
The invention relates to the field of building auxiliary devices, in particular to a contraction tightening device of building monitoring auxiliary installation equipment.
Background
Supplementary erection equipment is marked in building monitoring through punching for the wall for the through-hole of wall is used for assisting people to install surveillance camera equipment, but current wall can paste soft light marble tile for protection eyes, and this kind of ceramic tile glossiness control is between the most comfortable 32 degrees to 37 degrees of human vision, and the surface is smooth well to be cleared up unusually simultaneously, marks supplementary erection equipment with building monitoring and has following problem:
1. when constructor punches through supplementary erection equipment, because ceramic tile surface is smooth, the frictional force with the ceramic tile contact when causing supplementary erection equipment drill bit to punch is little, and the bull nose slightly rocks and skids, and the continuous rotation of drill bit is skidded, constantly rocks at ceramic tile surface high speed for the ceramic tile constantly receives the impact, leads to the wall body ceramic tile damage still can injure by a crashing object to the constructor below.
2. Simultaneously when the auxiliary erection equipment punches, equipment is when punching the wall body ceramic tile, equipment constantly impels to the wall body for the wall body constantly receives the thrust that arrives to equipment and gives, forces the wall body to give reverse thrust of drill bit, auxiliary erection equipment upper end punches, the lower extreme removes, the centre is connected through the mobile jib, when the drill bit receives the thrust of wall body, form the upper end and extrapolate, the lower extreme moves inwards and constitutes a Z word thrust, cause the upper end drill bit to upwarp, make the skew take place for the position of punching.
Disclosure of Invention
In order to solve the problems in the prior art, the invention provides a contraction tightening device of building monitoring auxiliary installation equipment, which structurally comprises rollers, a shaft disc, a chassis, an installation seat, the contraction tightening device and a sliding main rod, wherein the rollers are mechanically connected with the shaft disc through shafts, the shaft disc is provided with four rollers which are vertically arranged on the lower surface of the chassis, the lower end surface of the installation seat is attached to the upper end surface of the chassis, the sliding main rod is in sliding connection with the sliding main rod through a drilling head, the sliding main rod is vertically arranged on the upper surface of the installation seat, the contraction tightening device comprises a tightening attachment mechanism, an upward-pushing sliding mechanism and an adjusting mechanism, the tightening attachment mechanism is horizontally arranged on the left surface of the adjusting mechanism through a connecting rod, and the upward-pushing sliding mechanism is mechanically matched with the adjusting mechanism through a pushing shaft.
Preferably, the tight attaching mechanism comprises a rotary clamping and engraving disc, a protective shell cover, an attraction arc plate, a circular table fluted disc, a linkage mechanism and a contraction mechanism, wherein the rotary clamping and engraving disc is arranged on the right surface of the protective shell cover and is in sliding connection with the protective shell cover, the attraction arc plate is horizontally arranged inside the protective shell cover, the attraction arc plate is in threaded connection with the circular table fluted disc on the rotary clamping and engraving disc, the circular table fluted disc and the rotary clamping and engraving disc are in an integrated structure, the linkage mechanism is horizontally arranged at the middle position of the protective shell cover, the contraction mechanism is horizontally arranged on the right surface of the protective shell cover, the linkage mechanism comprises a sliding turntable, a telescopic ring sleeve, a linkage sliding rail and a side pushing mechanism, the sliding turntable is in sliding connection with the telescopic ring sleeve through the linkage sliding rail, the telescopic ring sleeve and the linkage sliding rail are in an integrated structure, and the side pushing mechanism is horizontally arranged inside the telescopic ring sleeve, the suction arc plate is embedded with a crescent moon and made of high-precision rubber, the circular truncated cone fluted disc is in a circular truncated cone shape, a cone is hollowed in the right end of the circular truncated cone fluted disc, a through cylindrical through hole is formed in the circular truncated cone fluted disc, and the linkage sliding rails are distributed in the telescopic ring sleeve in an arc shape.
Preferably, the side pushing mechanism comprises an inner connection shell, a reverse spring, a gradient rod, a linkage square cover and an extrusion stabilizing wheel, the reverse spring is wound on the outer surface of the gradient rod, the gradient rod is horizontally arranged in the inner connection shell, the linkage square cover is in sliding connection with the gradient rod through a sliding track, the extrusion stabilizing wheel is in mechanical fit with the linkage square cover through a shaft, the contraction mechanism comprises a linkage locking pipe, a side push rod, an annular gear sleeve, a linkage pipe shaft and a stabilizing push rod, the linkage locking pipe is in mechanical transmission with the side push rod through the annular gear sleeve, the linkage pipe shaft is vertically arranged in the stabilizing push rod, the gradient rod is in a horizontal L shape, the front end of the extrusion stabilizing wheel is provided with a sliding thread matched with a drill bit, and the butt joint of the extrusion stabilizing wheel and the drill bit is guaranteed.
Preferably, push up smooth moving mechanism and include last pressure driving wheel, side wheel, well push away the transfer line, lock firm post, elasticity ram plate, flexible fore-set, go up pressure driving wheel through well push away transfer line and side wheel mechanical cooperation, lock firm post through linking pole and elasticity ram plate mechanical cooperation, elasticity ram plate horizontal installation is in the inside of flexible fore-set, the inclination of going up pressure driving wheel and the side wheel of both sides constitutes the triangular supports for 15 degrees, elasticity ram plate comprises high strength synthetic rubber and the radian that constitutes is 60 degrees.
Preferably, adjustment mechanism includes swash plate, middle part joint gear, links up the axle, rotates the rocking plate, locks the fixture block, the swash plate links up the axle and rotates the mechanical cooperation of rocking plate through linking up the axle, middle part joint gear carries out mechanical cooperation through the latch with middle part joint gear, the vertical right-hand member of installing in the rotation rocking plate of locking the fixture block, the latter half limit of swash plate is equipped with one and rotates the recess that the rocking plate is the same, it blocks to be equipped with a plurality of isosceles little triangles on the rocking plate to rotate, the swash plate presents 60 degrees inclinations and the cooperation of middle part joint gear with rotating the rocking plate.
Advantageous effects
1. According to the contraction tightening device of the building monitoring auxiliary installation equipment, the circular table fluted disc is rotated by rotating the rotary clamping and carving disc, the attraction arc plate is moved leftwards to extrude and attract the ceramic tiles on the wall body through the transmission of the circular table fluted disc and the toothed plate on the right side of the attraction arc plate, and meanwhile, the drill bit is moved leftwards and is locked by the extrusion stabilizing wheel on the side pushing mechanism inside the contraction ring sleeve in a rolling mode, so that the drill bit can stably advance to drill holes, and the ceramic tiles cannot be damaged, fall and injure workers.
2. According to the shrinkage tightening device of the building monitoring auxiliary installation equipment, the inclined plate is dragged to move downwards to enable the middle clamping gear to rotate reversely to drive the telescopic ejection column to move upwards, the upper pressing wheel and the side wheels are pushed to eject the upper roof by the upward movement of the telescopic ejection column, part of force is buffered through the elastic punching plate, the elastic punching plate moves rightwards through the rotating rocking plate after the elastic punching plate moves upwards to enable the triangular columns on the rotating rocking plate to be clamped and fixed with the locking clamping blocks, and when holes are punched through the upward ejection of the upper pressing wheel and the side wheels, the force of the drill bit pushed outwards by the wall body is offset with the force of the upper pressing wheel and the upper pressing wheel which are pushed downwards by the side wheels, so that the punching position cannot deviate.
Drawings
Other features, objects and advantages of the invention will become more apparent upon reading of the detailed description of non-limiting embodiments with reference to the following drawings:
FIG. 1 is a schematic view of a shrink-fitting apparatus for a building monitoring aid installation apparatus according to the present invention.
FIG. 2 is a schematic diagram of a main cross-sectional part of a shrink compression device according to the present invention.
Fig. 3 is a schematic view of a main cross-section of a linkage mechanism according to the present invention.
Fig. 4 is a detailed structural diagram of a main section of a side pushing mechanism of the present invention.
Fig. 5 is a schematic left sectional partial structure diagram of a linking mechanism according to the present invention.
FIG. 6 is an enlarged detailed structural diagram of a main section of a retracting mechanism of the present invention.
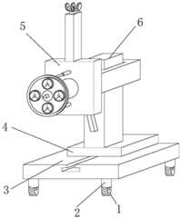
In the figure: a roller-1, a shaft disc-2, a chassis-3, a mounting seat-4, a contraction tight device-5, a sliding main rod-6, a tight joint mechanism-51, an upward pushing sliding mechanism-52, an adjusting mechanism-53, a rotary clamping disc-511, a protective shell cover-512, a suction arc plate-513, a circular truncated cone fluted disc-514, a linkage mechanism-515, a contraction mechanism-516, a sliding turntable-5151, a contraction ring sleeve-5152, a linkage sliding rail-5153, a side pushing mechanism-5154, an inner connecting shell-51541, a reverse spring-51542, a gradient rod-51543, a linkage square cover-51544, an extrusion stable wheel-51545, a linkage locking pipe-5161, a side pushing rod-5162, an annular gear sleeve-5163, a linkage pipe shaft-5164, a stable pushing rod-5165, an upward pressing wheel-521, a sliding main rod-6, a tight joint mechanism-51, an upward pushing mechanism-51, a upward, Side wheel-522, middle push drive rod-523, locking and stabilizing column-524, elastic stamping plate-525, telescopic top column-526, sloping plate-531, middle clamping gear-532, connecting shaft-533, rotary rocking plate-534 and locking clamping block-535.
Detailed Description
The technical solutions in the embodiments of the present invention will be clearly and completely described below with reference to the drawings in the embodiments, and preferred embodiments of the present invention will be further described below with reference to the detailed description and the drawings.
Examples
As shown in fig. 1 to 6, the present invention provides a shrink-fitting device for a construction monitoring auxiliary installation apparatus, the structure of the device comprises aroller 1, ashaft disc 2, achassis 3, amounting seat 4, a contractiontight device 5 and a slidingmain rod 6, theroller wheels 1 are mechanically connected with ashaft disc 2 through shafts, theshaft disc 2 is provided with four shafts and is vertically arranged on the lower surface of achassis 3, the lower end surface of themounting seat 4 is attached to the upper end surface of thechassis 3, the slidingmain rod 6 is connected with the slidingmain rod 6 in a sliding manner through a drilling head, the slidingmain rod 6 is vertically arranged on the upper surface of themounting seat 4, the contractiontight device 5 comprises atight attaching mechanism 51, an upward pushingsliding mechanism 52 and anadjusting mechanism 53, theclose fitting mechanism 51 is horizontally mounted on the left surface of theadjusting mechanism 53 through a connecting rod, and the push-up sliding mechanism 52 is mechanically matched with theadjusting mechanism 53 through a push shaft.
Thetight attaching mechanism 51 comprises a rotaryclamping carving disc 511, aprotective shell cover 512, anattraction arc plate 513, a circular truncated conefluted disc 514, alinkage mechanism 515 and acontraction mechanism 516, wherein the rotaryclamping carving disc 511 is arranged on the right surface of theprotective shell cover 512 and is in sliding connection with theprotective shell cover 512, theattraction arc plate 513 is horizontally arranged in theprotective shell cover 512, theattraction arc plate 513 is in threaded connection with the circular truncated conefluted disc 514 on the rotaryclamping carving disc 511, the circular truncated conefluted disc 514 and the rotaryclamping carving disc 511 are in an integrated structure, thelinkage mechanism 515 is horizontally arranged in the middle of theprotective shell cover 512, thecontraction mechanism 516 is horizontally arranged on the right surface of theprotective shell cover 512, thelinkage mechanism 515 comprises asliding turntable 5151, acontraction ring sleeve 5152, alinkage sliding rail 5153 and aside pushing mechanism 5154, thesliding turntable 5151 is in sliding connection with thecontraction ring sleeve 5152 through thelinkage sliding rail 5153, thecontraction ring sleeve 5152 and thelinkage sliding rail 5153 are in an integrated structure, side pushes awaymechanism 5154 horizontal installation in the inside of pumpshrinkage ring cover 5152,actuation arc board 513 presents embedded crescent shape and makes by high accuracy rubber, round platformfluted disc 514 presents the round platform shape, the inside cavity of round platform fluteddisc 514 right-hand member goes out a circular cone and inside has a cylinder through-hole that runs through,interlock slide rail 5153 arc-shaped distribution is in pumpshrinkage ring cover 5152's inside, compares with prior art and drives and get rid of the air throughactuation arc board 513 left side and ceramic tile laminating and carry out the actuation to the ceramic tile and stabilize.
Theside pushing mechanism 5154 comprises aninner connecting shell 51541, areverse spring 51542, agradient rod 51543, alinkage square cover 51544 and a pressingstable wheel 51545, wherein thereverse spring 51542 is wound on the outer surface of thegradient rod 51543, thegradient rod 51543 is horizontally arranged inside the inner connectingshell 51541, thelinkage square cover 51544 is slidably connected with thegradient rod 51543 through a sliding track, the pressingstable wheel 51545 is mechanically matched with thelinkage square cover 51544 through a shaft, thecontraction mechanism 516 comprises alinkage locking pipe 5161, aside pushing rod 5162, anannular gear sleeve 5163, alinkage pipe shaft 5164 and astable pushing rod 5165, thelinkage locking pipe 5161 is mechanically driven with theside pushing rod 5162 through theannular gear sleeve 5163, thelinkage pipe shaft 5164 is vertically arranged inside thestable pushing rod 5165, thegradient rod 51543 is in a horizontal L shape, the front end of the pressing stable wheel 51515151545 is provided with a sliding thread matched with a pressing drill bit, the abutting joint of thepressing drill bit 51545 is ensured, and the rightrotary disc 5152 is rotated with thesliding square cover 5151 to push the pressingstable wheel 5151 through sliding of thesliding ring 5151 and the pressingstable wheel 51545 Thesteady wheel 51545 can stabilize when the very long part of drill bit is outside the wall body, guarantees that the drill bit can not rock from top to bottom because the smooth messenger's drill bit in ceramic tile surface for the drill bit is steady to advance the drilling, can not rock from top to bottom when letting the drill bit bore.
The push-up sliding mechanism 52 comprises an upperpressing wheel 521, aside wheel 522, a middlepush transmission rod 523, a locking and stabilizingcolumn 524, anelastic stamping plate 525 and a telescopictop column 526, theupper pinch roller 521 is mechanically matched with theside roller 522 through a middlepush transmission rod 523, the locking and stabilizingcolumn 524 is mechanically matched with theelastic punching plate 525 through a connecting rod, theelastic stamping plate 525 is horizontally arranged inside the telescopictop column 526, the inclination angle of the upperpressing wheel 521 and theside wheels 522 at the two sides is 15 degrees to form a triangular support, theresilient punch plate 525 is formed of high strength synthetic rubber and is formed in an arc of 60 degrees, compared with the prior art, the drill bit is supported at the upper part through the upperpressing wheel 521 and theside wheel 522, the drill bit forms a stable horizontal T-shaped structure, so that the thrust of the wall body is offset by the upper pressingmovable wheel 521 and theside wheel 522 at the upper end when the wall body is drilled, and the drill bit cannot drill holes in a deviated mode due to the force of the wall body.
Theadjusting mechanism 53 comprises asloping plate 531, amiddle clamping gear 532, a connectingshaft 533, a rotating androcking plate 534 and alocking clamping block 535, theinclined plate 531 is mechanically engaged with therotary rocking plate 534 through the connectingshaft 533, themiddle catch gear 532 is mechanically engaged with themiddle catch gear 532 through a catch, thelocking fixture 535 is vertically installed at the right end of the rotatingrocking plate 534, the rear half edge of thesloping plate 531 is provided with a groove the same as the rotatingrocking plate 534, the rotatingrocking plate 534 is provided with a plurality of isosceles small triangle clamps, theinclined plate 531 and the rotatingrocking plate 534 present an inclination angle of 60 degrees to be matched with themiddle clamping gear 532, compared with the prior art, the height of the abutting joint of the upperpressing wheel 521 and theside wheel 522 is adjusted by pulling theinclined plate 531 up and down, the height of the upperpressing wheel 521 and the height of theside wheel 522 can be quickly limited and adjusted by the right deviation of the rotatingrocking plate 534, and the adjusting working speed is improved.
The working principle of the contraction tight device is as follows: thechassis 3 is pushed to advance to enable the left end of the contractiontight device 5 to be slowly close to a wall body, therotary clamping disc 511 is rotated to drive the circular truncated conefluted disc 514 to rotate, so that the circular truncated conefluted disc 514 drives the toothed plate at the left end to push thesuction arc plate 513 to move leftwards, thesuction arc plate 513 is pushed by the thrust moving leftwards to extrude the ceramic tiles on the wall body, thesuction arc plate 513 continuously extrudes to discharge the air in thesuction arc plate 513 cleanly, the air pressure in thesuction arc plate 513 is smaller than the air pressure outside, so that thesuction arc plate 513 is tightly attached to the ceramic tiles on the wall body, when the drill bit is fixed to rotate, the drill bit is continuously extruded by the extrusionstable wheel 51545 but cannot be fixed, the drill bit can enter the ceramic tile wall body little by little, the slidingrotary disc 5151 enables thedrawing ring sleeve 5152 to move leftwards to be contracted inwards in a drilling mode, and the extrusionstable wheel 51545 is matched to continuously stabilize the drill bit, guarantee that the drill bit can not slide on glossy ceramic tile, guarantee that the ceramic tile can not damage and drop and injure the workman by a crashing object, pull downswash plate 531 simultaneously, makeswash plate 531 drive middle part calorie ofgear 532 reversal transmission flexible fore-set 526 and promote elasticitypunching press board 525 arealocking firm post 524 and move up, it makes well push awaytransfer line 523 transmission push up themovable wheel 521 and move up with theside wheel 522 and dock with the roof to go up throughlocking firm post 524, make the wall body that the drill bit received when boring the wall body support and slide 6 lower extreme supports ofmobile jib 521 andside wheel 522 through lastmovable wheel 521 and offset each other, guarantee that the drill bit can not receive the atress skew, make the position of drilling accurate.
The principles, principal features and advantages of the present invention, it should be understood by those skilled in the art that the present invention is not limited to the embodiments described above, which are intended to be illustrative only of the principles of the invention, numerous modifications and variations will be apparent to those skilled in the art, which embodiments have been selected and described in order to best explain the principles of the invention and its practical application.

Claims (3)

1. The utility model provides a shrink closing device of supplementary erection equipment of building monitoring, its structure includes gyro wheel (1), reel (2), chassis (3), mount pad (4), shrink closing device (5), slip mobile jib (6), gyro wheel (1) is through axle and reel (2) mechanical connection, reel (2) are equipped with four altogether and vertical lower surface of installing in chassis (3), the lower terminal surface of mount pad (4) is laminated mutually with the up end of chassis (3), its characterized in that: the sliding main rod (6) is connected with the sliding main rod (6) in a sliding mode through a drilling head, and the sliding main rod (6) is vertically arranged on the upper surface of the mounting seat (4); the contraction tight device (5) comprises a tight attaching mechanism (51), an upward pushing sliding mechanism (52) and an adjusting mechanism (53); the close attaching mechanism (51) is horizontally arranged on the left surface of the adjusting mechanism (53) through a connecting rod, and the push-up sliding mechanism (52) is mechanically matched with the adjusting mechanism (53) through a push shaft; closely laminating mechanism (51) is including revolving calorie carving disk (511), protection clamshell (512), actuation arc board (513), round platform fluted disc (514), interlock mechanism (515), shrink mechanism (516), revolve calorie carving disk (511) and install in the right surface of protection clamshell (512) and both carry out sliding connection, actuation arc board (513) horizontal installation is in the inside of protection clamshell (512), circular platform fluted disc (514) threaded connection on actuation arc board (513) and the calorie carving disk (511) of revolving calorie, round platform fluted disc (514) and the calorie carving disk (511) of revolving a card present integrated structure, interlock mechanism (515) horizontal installation is in the intermediate position of protection clamshell (512), shrink mechanism (516) horizontal installation is in the right surface of protection clamshell (512), interlock mechanism (515) are including sliding turntable (5151), draw and contract ring cover (5152), interlock slide rail (5153), The sliding turntable (5151) is connected with the telescopic ring sleeve (5152) in a sliding way through a linkage sliding rail (5153), the telescopic ring sleeve (5152) and the linkage sliding rail (5153) are in an integrated structure, the side pushing mechanism (5154) is horizontally arranged in the telescopic ring sleeve (5152),
the rotary clamping and carving disc (511) is rotated to enable the circular truncated cone fluted disc (514) to rotate, the toothed plate on the right side of the suction arc plate (513) is driven by the circular truncated cone fluted disc (514) to enable the suction arc plate (513) to move leftwards to extrude and suck ceramic tiles on a wall body, and meanwhile, the drill bit moves leftwards and is locked by the extrusion stabilizing wheel on the side pushing mechanism (5154) in the telescopic ring sleeve in a rolling manner, so that the drill bit can stably advance to drill holes;
the side pushing mechanism (5154) comprises an inner connecting shell (51541), a reverse spring (51542), a gradient rod (51543), a linkage square cover (51544) and a pressing stable wheel (51545), wherein the reverse spring (51542) is wound on the outer surface of the gradient rod (51543), the gradient rod (51543) is horizontally installed inside the inner connecting shell (51541), the linkage square cover (51544) is in sliding connection with the gradient rod (51543) through a sliding track, the pressing stable wheel (51545) is in mechanical fit with the linkage square cover (51544) through a shaft, the contraction mechanism (516) comprises a linkage locking pipe (5161), a side pushing rod (5162), an annular gear sleeve (5163), a linkage pipe shaft (5164) and a stable pushing rod (5165), the linkage locking pipe (5161) is in mechanical transmission with the side pushing rod (5162) through the annular gear sleeve (5163), and the linkage pipe shaft (5164) is vertically installed inside the stable pushing rod (5165).
2. The retractable tightening device for a construction monitoring auxiliary installation apparatus as claimed in claim 1, wherein: the upward-pushing sliding mechanism (52) comprises an upward-pushing driving wheel (521), a side wheel (522), a middle-pushing transmission rod (523), a locking and stabilizing column (524), an elastic stamping plate (525) and a telescopic top column (526), wherein the upward-pushing driving wheel (521) is mechanically matched with the side wheel (522) through the middle-pushing transmission rod (523), the locking and stabilizing column (524) is mechanically matched with the elastic stamping plate (525) through a connecting rod, and the elastic stamping plate (525) is horizontally arranged in the telescopic top column (526).
3. The retractable tightening device for a construction monitoring auxiliary installation apparatus as claimed in claim 1, wherein: the adjusting mechanism (53) comprises an inclined plate (531), a middle clamping gear (532), a connecting moving shaft (533), a rotating rocking plate (534) and a locking clamping block (535), the inclined plate (531) is mechanically matched with the rotating rocking plate (534) through the connecting moving shaft (533), the middle clamping gear (532) is mechanically matched with the middle clamping gear (532) through clamping teeth, and the locking clamping block (535) is vertically installed at the right end of the rotating rocking plate (534).
CN201811456106.7A2018-11-302018-11-30 A shrink-tightening device for building monitoring auxiliary installation equipmentActiveCN109571776B (en)

Priority Applications (1)

Application NumberPriority DateFiling DateTitle
CN201811456106.7ACN109571776B (en)2018-11-302018-11-30 A shrink-tightening device for building monitoring auxiliary installation equipment

Applications Claiming Priority (1)

Application NumberPriority DateFiling DateTitle
CN201811456106.7ACN109571776B (en)2018-11-302018-11-30 A shrink-tightening device for building monitoring auxiliary installation equipment

Publications (2)

Publication NumberPublication Date
CN109571776A CN109571776A (en)2019-04-05
CN109571776Btrue CN109571776B (en)2021-03-16

Family

ID=65926669

Family Applications (1)

Application NumberTitlePriority DateFiling Date
CN201811456106.7AActiveCN109571776B (en)2018-11-302018-11-30 A shrink-tightening device for building monitoring auxiliary installation equipment

Country Status (1)

CountryLink
CN (1)CN109571776B (en)

Families Citing this family (2)

* Cited by examiner, † Cited by third party
Publication numberPriority datePublication dateAssigneeTitle
CN111982609B (en)*2020-08-112023-09-19浙江三青环保科技有限公司Gas sampling equipment capable of being used for FID and PID dual-detector gas chromatograph
CN116690805A (en)*2023-07-042023-09-05鸿厦建设有限公司Roof beam column punching process and device

Citations (2)

* Cited by examiner, † Cited by third party
Publication numberPriority datePublication dateAssigneeTitle
JP2003094216A (en)*2001-09-252003-04-03Brother Ind Ltd Work holding device
CN105817673A (en)*2016-01-082016-08-03浙江吉利汽车有限公司Multi-angle drilling device

Family Cites Families (9)

* Cited by examiner, † Cited by third party
Publication numberPriority datePublication dateAssigneeTitle
US7547165B2 (en)*2005-09-162009-06-16Black & Decker Inc.PTO selector mechanism with brake
CN203592172U (en)*2013-12-032014-05-14兖矿东华建设有限公司Movable type top plate drilling telescopic frame
CN105642949B (en)*2016-03-302017-09-05安徽科技学院 A single-person drilling device and method for high places in building walls
CN205702556U (en)*2016-04-132016-11-23刁翔宇A kind of auxiliary device for knocking in nail
CN108723441A (en)*2017-04-202018-11-02李洪东A kind of drilling equipment
CN206997829U (en)*2017-06-292018-02-13浙江万丰摩轮有限公司A kind of hub of motorcycle automatic drill valve core bore equipment
CN207315225U (en)*2017-10-272018-05-04石先宝A kind of road engineering drilling machine
CN108356995A (en)*2018-03-302018-08-03莆田市荔城区海程贸易有限公司A kind of building monitoring mark installation auxiliary bore hole device
CN108856809B (en)*2018-09-112020-01-21溧阳市储丰钢板仓设备制造工程有限公司Multi-angle inclined hole drilling device and process for galvanized steel pipe

Patent Citations (2)

* Cited by examiner, † Cited by third party
Publication numberPriority datePublication dateAssigneeTitle
JP2003094216A (en)*2001-09-252003-04-03Brother Ind Ltd Work holding device
CN105817673A (en)*2016-01-082016-08-03浙江吉利汽车有限公司Multi-angle drilling device

Also Published As

Publication numberPublication date
CN109571776A (en)2019-04-05

Similar Documents

PublicationPublication DateTitle
CN109571776B (en) A shrink-tightening device for building monitoring auxiliary installation equipment
CN111014770A (en) An adjustable aluminum alloy steel plate surface drilling equipment
CN113107170B (en)Construction method for joint filling and seam beautifying of building outer wall dry-hanging stone curtain wall
CN102852460B (en)Downhole deflecting device for drilling ice layer of polar region and downhole deflecting method
CN107672537B (en)Electric pitching type lifting mast
CN105839617B (en)High firm building stake
CN117702747B (en)Pile extractor of anti-drop pile for constructional engineering
CN215670907U (en)Building platform for outdoor building and indoor decoration
CN213173364U (en)Municipal bridge building support frame
CN105862726B (en)Building pile with side piles
CN219012654U (en)Stable supporting device for underground tunneling of coal mine
CN216276947U (en)Building templates bearing structure for building engineering
CN105862857B (en)Width-adjustable building pile
CN215978380U (en)Telescopic adjustable inclined climbing device
CN211998644U (en)Instrument hoisting device is used in bridge construction
CN115263341A (en)Subway tunnel construction is with portable work platform
CN218600465U (en)Building engineering quality flatness detection device
CN207080172U (en)A kind of churn drilling tools
CN111976046A (en)Auxiliary device for percussion drill capable of preventing drill hole from inclining
CN222450897U (en)Building wall perforating device
CN223119562U (en) A lightweight concrete composite exterior wall installation structure
CN214695261U (en)Warning device for municipal road bridge
CN217144410U (en)Engineering water drill
CN221443768U (en)Auxiliary supporting device for building detection
CN220267588U (en) A portable corer for geological exploration

Legal Events

DateCodeTitleDescription
PB01Publication
PB01Publication
SE01Entry into force of request for substantive examination
SE01Entry into force of request for substantive examination
TA01Transfer of patent application right
TA01Transfer of patent application right

Effective date of registration:20210226

Address after:No.255-72 Huashu, Jingang north bank, Mingguang City, Chuzhou City, Anhui Province 239400

Applicant after:Anhui Mingcheng Construction Project Management Co.,Ltd.

Address before:325608 Hongqiao Town Honggang South Road, Leqing City, Wenzhou City, Zhejiang Province

Applicant before:Wu Chengmei

GR01Patent grant
GR01Patent grant
TR01Transfer of patent right
TR01Transfer of patent right

Effective date of registration:20250702

Address after:410005 yazipu Zhongtuo office building, comprehensive farm, Kaifu District, Changsha City, Hunan Province

Patentee after:Hunan Zhizhen energy saving door and window Co.,Ltd.

Country or region after:China

Address before:No.255-72 Huashu, Jingang north bank, Mingguang City, Chuzhou City, Anhui Province 239400

Patentee before:Anhui Mingcheng Construction Project Management Co.,Ltd.

Country or region before:China


[8]ページ先頭

©2009-2025 Movatter.jp