Movatterモバイル変換


[0]ホーム

URL:


CN109562002B - Absorbent article - Google Patents

Absorbent article
Download PDF

Info

Publication number
CN109562002B
CN109562002BCN201680087914.3ACN201680087914ACN109562002BCN 109562002 BCN109562002 BCN 109562002BCN 201680087914 ACN201680087914 ACN 201680087914ACN 109562002 BCN109562002 BCN 109562002B
Authority
CN
China
Prior art keywords
portions
absorbent article
pair
width direction
absorbent
Prior art date
Legal status (The legal status is an assumption and is not a legal conclusion. Google has not performed a legal analysis and makes no representation as to the accuracy of the status listed.)
Active
Application number
CN201680087914.3A
Other languages
Chinese (zh)
Other versions
CN109562002A (en
Inventor
北川雅史
桥野央
Current Assignee (The listed assignees may be inaccurate. Google has not performed a legal analysis and makes no representation or warranty as to the accuracy of the list.)
Unicharm Corp
Original Assignee
Unicharm Corp
Priority date (The priority date is an assumption and is not a legal conclusion. Google has not performed a legal analysis and makes no representation as to the accuracy of the date listed.)
Filing date
Publication date
Application filed by Unicharm CorpfiledCriticalUnicharm Corp
Publication of CN109562002ApublicationCriticalpatent/CN109562002A/en
Application grantedgrantedCritical
Publication of CN109562002BpublicationCriticalpatent/CN109562002B/en
Activelegal-statusCriticalCurrent
Anticipated expirationlegal-statusCritical

Links

Images

Classifications

Landscapes

Abstract

An object of the present disclosure is to provide an absorbent article in which the wearing property is improved by easily suppressing the uncomfortable feeling during wearing, and the topsheet has an uneven structure. An absorbent article (1, 10) includes a excretion portion corresponding region (29) that overlaps an absorbent body (12) in a thickness direction (T) in a plan view and corresponds to an excretion portion, and excretion portion adjacent regions (39, 39') that are present on both outer sides in a width direction (W) of the excretion portion corresponding region (29) in a plan view, the absorbent article (1, 10) having a cushioning portion (45, 45'), the cushioning portion (45, 45') being formed in such a manner that: the portion of the surface sheet (8) extending in the region (29) corresponding to the excretion opening protrudes outward in the width direction (W) at least in the region (39, 39') adjacent to the excretion opening with the side edge portions (7, 7') as base ends, the outer end portions (47, 47') are folded back and joined to the sheet member at positions inward in the width direction than the outer end portions (47, 47') by means of joining portions (49, 49'), and the surface sheet (8) has a concavo-convex structure at least in the region (29) corresponding to the excretion opening and does not have a concavo-convex structure at the outer end portions (47, 47').

Description

Absorbent article
Technical Field
The present disclosure relates to an absorbent article such as a sanitary napkin, a panty liner, an incontinence pad, or the like.
Background
Absorbent articles such as sanitary napkins, pantiliners, and incontinence pads are worn for a long time while contacting the crotch of a wearer, and therefore, in order to prevent the wearer from feeling uncomfortable or uncomfortable, an absorbent article is being studied in which the surface sheet of the absorbent article is provided with an uneven structure to reduce the contact area with the skin of the wearer, thereby improving the wearing feeling.
As such an absorbent article, for example, patent document 1 proposes an absorbent article having a liquid-permeable top sheet, a liquid-impermeable back sheet, and a liquid-retentive absorbent body interposed between the two sheets, the absorbent article being formed substantially in a longitudinal shape, wherein the top sheet is formed by laminating a 1 st layer disposed on the skin side and a 2 nd layer disposed on the absorbent body side and partially joined together by a joint portion of a predetermined pattern, the 1 st layer is formed in a convex shape protruding toward the skin side, the 2 nd layer is formed by a material exhibiting elastic properties, the entire sheet is formed by a three-dimensional sheet exhibiting elastic properties, and the sheet is fixed in a state stretched in the longitudinal direction and/or the width direction of the absorbent article. According to the absorbent article disclosed in patent document 1, the wearability of the absorbent article can be improved.
Documents of the prior art
Patent document
Patent document 1: japanese patent laid-open publication No. 2004-465
Disclosure of Invention
Problems to be solved by the invention
In the conventional absorbent article described in document 1, the top sheet is configured to cover the skin contact surface side and the side surfaces of the absorbent body, so that when the wearer wears the absorbent article and the thighs of the wearer press the absorbent article in the width direction, the hardness of the absorbent body, which is harder than the top sheet, is easily transmitted to the thighs of the wearer's legs, and the first layer, which is disposed on the skin side of the top sheet, has a concave-convex structure including a plurality of convex portions formed to be convex toward the skin side, so that when the thighs of the wearer move forward and backward while walking, the plurality of convex portions easily come into contact with the thighs of the wearer and cause irritation. As a result, the absorbent article may give a wearer a sense of discomfort.
Accordingly, an object of the present disclosure is to provide an absorbent article in which the wearing property is improved by easily suppressing the uncomfortable feeling during wearing, and the topsheet has an uneven structure.
Means for solving the problems
The absorbent article of the present disclosure has a longitudinal direction, a width direction, and a thickness direction, and has a skin-facing surface and a non-skin-facing surface, and includes a liquid-permeable top sheet, an adhesive section for fixing clothing, and an absorbent body and a sheet member located on the non-skin-facing surface side of the top sheet,
The absorbent article includes a region corresponding to the excretion portion that overlaps the absorbent body in the thickness direction in a plan view and corresponds to the excretion portion, and a pair of excretion portion adjacent regions that are present on both outer sides in the width direction of the excretion portion corresponding region in a plan view,
the absorbent article has a pair of cushioning portions formed as follows: the portion of the top sheet extending in the region corresponding to the excretion opening projects outward in the width direction at least in the region adjacent to the excretion opening in the pair of regions adjacent to the excretion opening with each of a pair of side edge portions overlapping with both side edges of the absorbent body extending in the thickness direction as a base end, and is folded back at an outer end in the width direction and joined to the sheet member at a position inward in the width direction than the outer end by a joining portion,
the surface sheet has a concavo-convex structure at least in the region corresponding to the excretion portion and does not have a concavo-convex structure at the outer end portion.
ADVANTAGEOUS EFFECTS OF INVENTION
According to the present disclosure, it is possible to provide an absorbent article in which the wearing property is improved by easily suppressing the uncomfortable feeling during wearing, and the topsheet has an uneven structure.
Drawings
Fig. 1 is a plan view of a sanitary napkin 1 according to embodiment 1 of the present disclosure or a sanitary napkin 10 according to a modification example, as viewed from the topsheet side in the thickness direction in a developed state.
Fig. 2 is a perspective view of the sanitary napkin 1 according to embodiment 1 of the present disclosure in a developed state.
Fig. 3 is a view showing a width direction central axis C extending in the longitudinal direction of the sanitary napkin 1 according to embodiment 1 of the present disclosureLIs a cross-sectional view of the longitudinal cross-section of (a).
Fig. 4 is a sectional view of the sanitary napkin 1 according to embodiment 1 of the present disclosure, taken along the line IV-IV in fig. 1.
Fig. 5 is an enlarged view of the region X of fig. 4.
Fig. 6 is a schematic view of a state in which the sanitary napkin 1 according to embodiment 1 of the present disclosure is worn.
Fig. 7 is a sectional view of the sanitary napkin 10 according toembodiment 2 of the present disclosure, which corresponds to the section IV-IV in fig. 1.
Fig. 8 is an enlarged view of the region Y of fig. 7.
Detailed Description
[ form 1]
An absorbent article having a longitudinal direction, a width direction, and a thickness direction, and having a skin-facing surface and a non-skin-facing surface, comprising a liquid-permeable topsheet, a garment-fastening adhesive section, and an absorbent body and a sheet member positioned on the non-skin-facing surface side of the topsheet,
The absorbent article includes a region corresponding to the excretion portion that overlaps the absorbent body in the thickness direction in a plan view and corresponds to the excretion portion, and a pair of excretion portion adjacent regions that are present on both outer sides in the width direction of the excretion portion corresponding region in a plan view,
the absorbent article has a pair of cushioning portions formed as follows: the portion of the top sheet extending in the region corresponding to the excretion opening projects outward in the width direction at least in the region adjacent to the excretion opening in the pair of regions adjacent to the excretion opening with each of a pair of side edge portions overlapping with both side edges of the absorbent body extending in the thickness direction as a base end, and is folded back at an outer end in the width direction and joined to the sheet member at a position inward in the width direction than the outer end by a joining portion,
the surface sheet has a concavo-convex structure at least in the region corresponding to the excretion portion and does not have a concavo-convex structure at the outer end portion.
The absorbent article of the present embodiment includes the pair of cushioning portions having the specific structure, and therefore, when the wearer wears the absorbent article and the thighs of the wearer press the absorbent article in the width direction, the thighs of the wearer can easily feel the cushioning properties of the pair of cushioning portions before the absorbent body comes into contact with the thighs of the wearer's legs. When the thighs of the legs of the wearer further press the absorbent article in the width direction, the thighs of the legs of the wearer tend to gradually increase the cushioning properties of the pair of cushioning sections until the absorbent body comes into contact with the thighs of the legs of the wearer. As a result, even if the thighs of the legs of the wearer further press the absorbent article in the width direction and the absorbent body comes into contact with the thighs of the legs of the wearer, the absorbent article of this embodiment can make the thighs of the legs of the wearer less likely to feel the hardness of the absorbent body. Further, since the topsheet has the uneven structure at least in the region corresponding to the excretory opening and does not have the uneven structure at the outer end portions of the pair of cushioning portions, the wearer is less likely to be irritated from the pair of cushioning portions even when the wearer moves the thighs of the legs back and forth while walking or the like. Therefore, the absorbent article of the present embodiment is an absorbent article having a surface sheet with an uneven structure, and is easy to improve wearability by suppressing a feeling of discomfort when worn.
[ form 2]
The absorbent article according to aspect 1, wherein,
the pair of cushioning portions each have an upper cushioning portion located on the skin-facing surface between the base end and the joint portion, and a lower cushioning portion located on the non-skin-facing surface between the base end and the joint portion, the lower cushioning portion being spaced apart from the sheet member.
In the absorbent article of the present embodiment, since each of the pair of cushioning portions has a specific structure, the pair of cushioning portions is easily deformed in accordance with the shape of the thighs of the wearer, and therefore, the thighs of the legs of the wearer are less likely to feel the hardness of the absorbent body.
[ form 3]
The absorbent article according toaspect 1 or 2, wherein,
the inner surfaces of the pair of cushioning portions are not joined to each other.
In the absorbent article of the present embodiment, since each of the pair of cushioning portions has a specific structure, the flexibility of the cushioning portion is less likely to be impaired, the hardness and irritation of the absorbent body on the thighs of the legs of the wearer are less likely to be felt, and the uncomfortable feeling during wearing is more likely to be suppressed.
[ form 4]
The absorbent article according to any one of aspects 1 to 3, wherein,
the surface sheet is formed of a hot air non-woven fabric, and is disposed so that outer surfaces of the pair of cushioning portions are air surfaces.
In the absorbent article of the present embodiment, since the top sheet is formed of the hot air nonwoven fabric disposed in a specific manner, the outer surfaces of the pair of cushioning portions have a smooth skin touch, and even if the thighs of the wearer come into contact with the cushioning portions, the skin is less irritated, and the wearer is likely to feel less uncomfortable.
[ form 5]
The absorbent article according to any one of aspects 1 to 4, wherein,
the uneven structure is a ridge-groove structure formed by a plurality of groove portions formed by knurl portions extending continuously or intermittently in the longitudinal direction and arranged in line in the width direction, and ridge portions extending in the width direction between adjacent two of the groove portions.
The absorbent article of this embodiment has a specific uneven structure, and therefore, the liquid discharged by the wearer is likely to spread in the longitudinal direction and is less likely to spread in the width direction, the liquid is less likely to reach the cushioning portions that have a high chance of coming into contact with the thighs of the wearer, the deformation of the absorbent article in the width direction is more likely to be guided, and the stiffness and irritation of the absorbent body on the thighs of the wearer are less likely to be felt. As a result, the absorbent article of the present disclosure is likely to suppress a feeling of discomfort when worn.
[ form 6]
The absorbent article according to any one of aspects 1 to 5, wherein,
the absorbent article further includes a second sheet that is present at least in a part of each region adjacent to the excretory opening and is present between the topsheet and the absorbent body in the thickness direction,
both end portions of the second sheet in the width direction overlap with the respective cushioning portions of the pair of cushioning portions in the thickness direction and are not joined to the respective cushioning portions of the pair of cushioning portions.
In the absorbent article of the present embodiment, the second sheet is disposed in a specific manner in relation to the cushioning portion, so that the cushioning portion is less likely to be crushed, and the softness thereof is less likely to be impaired, and the absorbent article is less likely to feel the hardness and irritation of the absorbent body received by the thighs of the legs of the wearer, and is less likely to suppress the uncomfortable feeling during wearing.
[ form 7]
The absorbent article according to any one of aspects 1 to 6, wherein,
the sheet member is disposed on the skin-facing surface side of the absorbent body.
In the absorbent article of the present embodiment, since the sheet member is disposed in a specific manner in relation to the absorbent body, the absorbent body is not present at a position overlapping the cushioning portion in the thickness direction, and deformation of the cushioning portion according to the shape of the thighs of the wearer is less likely to be inhibited. As a result, the absorbent article of the present embodiment is likely to suppress the uncomfortable feeling during wearing.
[ form 8]
The absorbent article according to any one of aspects 1 to 7, wherein,
the absorbent body has a narrowed portion in the excretion portion-corresponding region, which is narrowed in the width direction compared to a region other than the excretion portion-corresponding region.
In the absorbent article of the present embodiment, since the absorbent body has a specific shape, the absorbent body is likely to be prevented from coming into contact with the thighs of the wearer's legs at the portion of the absorbent body located in the region corresponding to the excretory opening, and the absorbent body is likely to be in contact with the thighs of the wearer with the pair of cushioning portions interposed therebetween, so that the absorbent body is less likely to feel the hardness and irritation of the absorbent body on the thighs of the wearer, and the uncomfortable feeling during wearing is likely to be prevented.
[ form 9]
The absorbent article according to any one of aspects 1 to 8, wherein,
the absorbent article has a pair of compressed parts at least in the topsheet and the absorbent body in a region corresponding to the excretion opening, and the pair of compressed parts extend along each of the pair of side edges.
The absorbent article of this embodiment has the predetermined compressed portion, and therefore the cushioning portion is likely to rise toward the skin-facing surface side with the compressed portion as a base point and deform in accordance with the shape of the thighs of the wearer, and therefore the hardness and irritation of the absorbent body received by the thighs of the legs of the wearer are less likely to be felt, and the uncomfortable feeling during wearing is likely to be suppressed.
[ form 10]
The absorbent article according to any one of aspects 1 to 9, wherein,
in a natural state, the maximum height of the pair of buffer portions is higher than the maximum height of the region corresponding to the drain opening.
In the absorbent article of this aspect, the maximum height of the pair of cushion portions in the natural state and the maximum height of the region corresponding to the excretory opening are in a predetermined relationship, and the pair of cushion portions are each likely to deform in accordance with the shape of the thighs of the wearer, so that the hardness and irritation of the absorbent body received by the thighs of the legs of the wearer are less likely to be felt, and the feeling of discomfort during wearing is more likely to be suppressed.
Hereinafter, preferred embodiments of the absorbent article of the present disclosure will be described in detail with reference to the drawings. In the present specification, unless otherwise specified, "an object (for example, an absorbent article, an absorber, or the like) placed on a horizontal surface in a spread state is referred to as" in plan view "when the object is viewed from above in the thickness direction.
The various directions and the like used in the present specification are as follows unless otherwise specified.
In the present specification, "the longitudinal direction" means "a direction in which the length of an object that is long in a plan view is long", "the width direction" means "a direction in which the length of an object that is long in a plan view is short (short-side direction)", and "the thickness direction" means "a direction perpendicular to an object placed on a horizontal plane in a spread state". The longitudinal direction, the width direction, and the thickness direction are orthogonal to each other.
In the present specification, the term "in the width direction of a vertically long object (for example, an absorbent article, an absorber, or the like)" is used with respect to a width direction central axis C extending along the longitudinal directionLThe proximal side of the longitudinal object is referred to as "inner side in the width direction", and the proximal side is referred to as "inner side in the width direction", which is the width direction of the longitudinal object with respect to the width direction central axis CLThe opposite distal side in the above is referred to as "outer side in the width direction".
In the present specification, the term "one side which becomes a proximal side with respect to the abdomen of the wearer when the wearer wears the absorbent article in the longitudinal direction of the absorbent article" is referred to as "front side of the absorbent article", and the term "the other side which becomes a distal side with respect to the abdomen of the wearer when the wearer wears the absorbent article in the longitudinal direction of the absorbent article (i.e., the proximal side with respect to the back of the wearer)" is referred to as "rear side of the absorbent article". In the present specification, the front region and the rear region of the absorbent article refer to a region on the front side and a region on the rear side of the absorbent article, respectively.
In the present specification, unless otherwise specified, in the thickness direction of the absorbent article, "the proximal side facing the skin-facing surface of the wearer when the absorbent article is worn" is referred to as "skin-facing surface side", and "the distal side facing the skin-facing surface of the wearer when the absorbent article is worn" is referred to as "non-skin-facing surface side". In the present specification, the "surface on the skin-facing surface side" and the "surface on the non-skin-facing surface side" of various members (e.g., a topsheet, an absorbent body, a backsheet, etc.) constituting an absorbent article are simply referred to as "skin-facing surface" and "non-skin-facing surface", respectively.
[ embodiment 1 ]
[ basic Structure of absorbent article ]
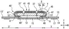
Fig. 1 is a plan view of a sanitary napkin 1 according to embodiment 1 of the present disclosure as viewed from the topsheet side in the thickness direction in a developed state. Fig. 2 is a perspective view of the sanitary napkin 1 according to embodiment 1 of the present disclosure in a developed state. Fig. 3 is a view showing a width direction central axis C extending in the longitudinal direction of the sanitary napkin 1 according to embodiment 1 of the present disclosureLIs a cross-sectional view of the longitudinal cross-section of (a). Fig. 4 is a sectional view of the sanitary napkin 1 according to embodiment 1 of the present disclosure, taken along the line IV-IV in fig. 1. Fig. 5 is an enlarged view of the region X of fig. 4. In fig. 1, the upper side in the drawing corresponds to the front side of the absorbent article, and the lower side in the drawing corresponds to the rear side of the absorbent article.
As shown in fig. 1 to 5, the sanitary napkin 1 of the present embodiment has a vertically long outer shape having a longitudinal direction L and a width direction W in a plan view, and specifically, the sanitary napkin 1 of the present embodiment has a longitudinal direction and a width direction, and includes: anabsorbent body section 2 that overlaps anabsorbent body 12 described later in the thickness direction T; a pair ofabsorbent side portions 3, 3' which are present on both outer sides in the width direction W of the absorbentmain body portion 2; a front end portion 4; and arear end 5.
In the sanitary napkin 1 of the present embodiment, the boundaries in the longitudinal direction L between the absorbentmain body 2 and each of the pair ofabsorbent side portions 3, 3 ' are defined by a pair ofside edge portions 7, 7 ' that overlap the side edges 6, 6 ' of theabsorbent body 12 extending in the longitudinal direction L in the thickness direction T. In the sanitary napkin 1 of the present embodiment, the length of each of the pair ofabsorbent side portions 3 and 3 ' in the longitudinal direction L is the same as the length of the pair ofside edge portions 7 and 7 ' overlapping with the side edges 4 and 4 ' of theabsorbent body 12 extending in the longitudinal direction L in the thickness direction T.
In the sanitary napkin 1 of the present embodiment, the pair ofabsorbent side portions 3 and 3 'each include substantiallytrapezoidal wing portions 11 and 11' extending outward in the width direction W at positions forward of the central portion in the longitudinal direction L of the absorbentmain body portion 2.
As shown in fig. 1 to 5, the absorbentmain body 2 includes: a liquid-permeabletop sheet 8 positioned on the skin-facing surface side of the sanitary napkin 1 in the thickness direction T; water-repellent side sheets 13 and 13' located on the non-skin-facing surface side of thetop sheet 8 in the thickness direction T; anabsorbent body 12 located closer to the non-skin-facing surface side than theside sheets 13, 13' in the thickness direction T; aback sheet 14 positioned closer to the non-skin-facing surface side than theabsorbent body 12 in the thickness direction T; and a plurality of garment-fasteningadhesive sections 15 that are disposed on the non-skin-facing surface of theback sheet 14 in the thickness direction T and extend continuously or intermittently in the width direction W, wherein the absorbentmain body section 2 is configured to be capable of absorbing and retaining liquid excreta such as menstrual blood and urine excreted by the wearer, by theabsorbent body 12 while allowing the liquid excreta to penetrate in the thickness direction T.
On the other hand, as shown in fig. 1 to 5, each of the pair ofwing portions 11 and 11' includes:side sheets 13, 13' positioned on the skin-facing surface side of the sanitary napkin 1 in the thickness direction T; aback sheet 14 located on the non-skin-facing surface side of theside sheets 13, 13' in the thickness direction T; andadhesive sections 17, 17' for fixing clothing, which are arranged on the non-skin-facing surface of theback sheet 14 in the thickness direction T and extend in the longitudinal direction L.
Further, when the sanitary napkin 1 is worn, the non-skin-facing surface of the absorbentmain body portion 2 is attached to the skin-facing surface of the undergarment of the wearer via theadhesive portion 15, and then the pair ofwing portions 11 and 11 'are respectively folded back toward the non-skin-facing surface of the undergarment and attached to the non-skin-facing surface of the undergarment via theadhesive portions 17 and 17', whereby the sanitary napkin 1 is fixed to the undergarment. Therefore, the non-skin-facing surfaces of the pair ofwing portions 11, 11' face the skin of the wearer when the sanitary napkin 1 is worn.
Here, the adhesive used for theadhesive part 15 of the absorbentmain body part 2 and theadhesive parts 17, 17 'of thewing parts 11, 11' for fixing the sanitary napkin 1 to the underwear of the wearer is not particularly limited as long as the sanitary napkin 1 can be fixed to the underwear of the wearer, and any adhesive such as a styrene polymer can be used. In the present disclosure, the pair of wing portions is not an essential component, and therefore the absorbent article of the present disclosure may not have the pair of wing portions.
In the sanitary napkin 1 of the present embodiment, as shown in fig. 1, the front end portion 4 includes afront edge portion 23 positioned on the front side of the sanitary napkin 1 in the longitudinal direction L in plan view, and therear end portion 5 includes arear edge portion 25 positioned on the rear side of the sanitary napkin 1 in the longitudinal direction L in plan view.
The absorbentmain body 2 of the sanitary napkin 1 of the present embodiment has afront region 27 located in the vicinity of the front end 4 of the sanitary napkin 1 in the longitudinal direction L, arear region 31 located in the vicinity of therear end 5 of the sanitary napkin 1 in the longitudinal direction L, and a excretoryopening corresponding region 29 located between theregions 27, 31 in the longitudinal direction L.
In fig. 1, theregions 27, 29, and 31 are defined by the 1 st virtual straight line L, which is two virtual straight lines extending in the width direction W1And 2 nd imaginary straight line L2Respectively drawMinute, the 1 st virtual straight line L1The 2 nd virtual straight line L extends along the width direction W so as to include a pair of 1 st endparts 33, 33 'positioned on the front side in the longitudinal direction L of bothend parts 33, 35, 33', 35 'in the longitudinal direction L of thebonding parts 17, 17' of the pair ofwing parts 11, 112Extends in the width direction W so as to include a pair of 2nd end portions 35, 35' located on the rear side in the longitudinal direction L.
As described later, the excretoryopening corresponding region 29 is provided with a pair ofcompressed portions 37, 37 'that are formed by compressing thetopsheet 8 and theabsorbent body 12 in the thickness direction T and extend along the pair ofside edges 7, 7'.
Here, in the present specification, the "excretory opening corresponding region" refers to a region that faces or comes into contact with the excretory opening of the wearer when the absorbent article is worn, and is a region that is appropriately set for each type of absorbent article according to the type and use (specifically, the type of liquid excreta such as urine, feces, menstrual blood, the age, sex, and the like of the subject wearer) of the absorbent article. The excretory opening corresponding region is usually set to have a longitudinal length of about 1/3 or more of the total longitudinal length of the absorbent article and about 1 of the total width direction length of the absorbent article (for example, in the case where the absorbent article has an absorbent main body and wing sections, the position of the portion overlapping the wing sections at the front side of the absorbent main body in the longitudinal direction in plan view, and in the case where the absorbent article is formed of an absorbent main body having a narrowing section narrowing inward in the width direction at the substantially central section in the longitudinal direction, the position of the portion corresponding to the narrowing section of the absorbent main body in plan view, and in the case where the absorbent article is formed of an oblong absorbent main body, the position of the substantially central section of the absorbent main body across the central axis in the longitudinal direction extending in the width direction) A length in the width direction of 3 or more, but in the case where the absorbent article is, for example, a night sanitary napkin, the length in the length direction of the region corresponding to the excretory opening may be set to 1/3 which is smaller than the total length in the length direction of the absorbent article.
In the pair ofabsorbent side portions 3, 3 ' of the sanitary napkin 1 of the present embodiment, the excretory openingadjacent regions 39, 39 ' are present, respectively, and the excretory openingadjacent regions 39, 39 ' are present on both outer sides in the width direction W of the excretoryopening corresponding region 29. The excretory openingadjacent regions 39, 39 ' are regions which are present adjacent to the excretoryopening corresponding region 29 in the width direction W, and which extend with the pair ofside edge portions 7, 7 ' of the sanitary napkin 1 as base ends and with the pair ofabsorbent side portions 3, 3 ' as distal ends at both end edges in the width direction W extending in the longitudinal direction L. In the present embodiment, both end edges in the width direction W extending along the longitudinal direction L of the pair ofabsorption side portions 3, 3 'coincide with both end edges in the width direction W extending along the longitudinal direction L of thewing portions 11, 11'.
Hereinafter, various members constituting the absorbent article of the present disclosure will be described in further detail with reference to the sanitary napkin 1 of the above-described embodiment.
[ surface sheet ]
In the sanitary napkin 1 of the present embodiment, as shown in fig. 1 and 3, thetopsheet 8 is disposed on the skin-facing surface side in the thickness direction T in a region from the frontend edge portion 23 to the rearend edge portion 25 in the longitudinal direction L and including part of the absorbentmain body portion 2 and theabsorbent side portions 3 and 3' in the width direction W, and is formed of a liquid-permeable sheet member that can directly contact the skin-facing surface of the wearer. In the present embodiment, thetop sheet 8 has a two-layer structure including the 1st sheet 8a located on the skin-facing surface side and the 2nd sheet 8b located on the non-skin-facing surface side.
The liquid-permeable sheet member constituting thetop sheet 8 is not particularly limited as long as it has various properties (for example, liquid permeability, flexibility, skin touch, and the like) that can be used as a top sheet of an absorbent article, and for example, a spunlace nonwoven fabric, a nonwoven fabric such as a hot air nonwoven fabric, or the like, formed of hydrophilic fibers such as cellulose fibers and hydrophilic thermoplastic resin fibers can be used. As described later, thefirst sheet 8a of the top sheet used in the absorbent article of the present disclosure is preferably formed of a through-air nonwoven fabric from the viewpoint of the texture, and thefirst sheet 8a of thetop sheet 8 of the present embodiment is also formed of a through-air nonwoven fabric.
On the other hand, the 2 nd sheet of the top sheet is a so-called sheet member also called a second sheet, and the 2 nd sheet is preferably a liquid-permeable fibrous sheet whose structural fibers are synthetic fibers. The 2 nd sheet is preferably a through-air nonwoven fabric in which intersecting points of intersecting synthetic fibers are joined together by thermal fusion by an air-through method. In addition, the air-through nonwoven fabric may be a point-bonded nonwoven fabric, a spun-bonded nonwoven fabric, a spunlace nonwoven fabric, or the like. When the 2 nd sheet is a through-air nonwoven fabric, the weight per unit area is preferably 15g/m2~40g/m2Within the range of (1).
Thetopsheet 8 of the present embodiment is formed of a two-layer structure including both the 1st sheet 8a and the 2nd sheet 8b, but the 2 nd sheet is not an essential component in the absorbent article of the present disclosure, and the topsheet may be formed of only the 1 st sheet in the absorbent article of the present disclosure. In the absorbent article of the present disclosure, the 2 nd sheet (second sheet) may be a sheet member that is a separate structural member from the topsheet.
In the sanitary napkin 1 of the present embodiment, as shown in fig. 1 to 5, thetopsheet 8 has a ridge-and-groove structure parallel to the longitudinal direction L over the entire region in the width direction W of the absorbentmain body 2 and over the entire region from thefront end edge 23 to therear end edge 25 of the sanitary napkin 1. The portions of thefront sheet 8 that extend outside the pair ofside edges 7 and 7' do not have a ridge-and-groove structure. More specifically, in thesurface sheet 8, the plurality ofridge portions 41 and the plurality ofgroove portions 43 each extend in the longitudinal direction L, and one of the plurality ofridge portions 41 and one of the plurality ofgroove portions 43 are arranged so as to be alternately aligned in the width direction W. That is, the ridge-groove structure of thesurface sheet 8 is formed by a plurality ofgroove portions 43 extending in the longitudinal direction L and arranged in line in the width direction W, and theridge portion 41 extending in the width direction W between twoadjacent groove portions 43 of the plurality ofgroove portions 43.
In the sanitary napkin 1 of the present embodiment, the plurality ofgroove portions 43 are embossed portions formed by a hot embossing process. In the hot embossing process, a plurality of portions separated from each other in the surface on the skin-facing surface side of thetop sheet 8 are heated while being compressed in the thickness direction T. Thus, thegroove portion 43 having a predetermined depth is formed in thefront sheet 8 by integrating the 1st sheet 8a and the 2nd sheet 8 b.
The embossed portion of the absorbent article of the present disclosure can be formed, for example, by a method of embossing the surface sheet and the second sheet by passing them between an embossing roll having patterned protrusions and a flat roll. In this method, heating can be performed during compression by heating of the embossing roll and/or the flat roll. Examples of the embossing pattern of the embossing roll include a lattice pattern, a staggered pattern, and a wavy pattern. In addition, intermittent embossed portions are formed in each of the lattice pattern and the staggered pattern, and continuous embossed portions are formed in the corrugated pattern. The pitch of the embossed portion (i.e., the interval between groove portions) is usually 0mm to 10mm, preferably 0.5mm to 2mm, in the longitudinal direction, and usually 0.1mm to 10mm, preferably 1mm to 4mm, in the width direction. The depth of the embossed portion is 0.1mm to 5mm, preferably 0.1mm to 1 mm.
In the present specification, the height or thickness of the object (ridge portion, sheet member, cushion portion, etc.) is measured as follows. This measurement was carried out in a non-contact manner as described below using a 100mm × 100mm sample cut from an absorbent article and a laser displacement sensor (for example, a high-precision 2D laser displacement sensor LJ-G series (model: LJ-G030) manufactured by kirschwasaki corporation). A sample was placed on a horizontal measuring table, displacements from the measuring table were measured for 5 different positions by a laser displacement sensor, and the average of the 5 measured values was set as the height or thickness (mm) of the object.
In the surface sheet, a plurality of groove portions formed by embossed portions formed by, for example, the above-described method extend continuously or intermittently in the longitudinal direction. By providing the top sheet with such a ridge-and-groove structure, liquid discharged from the wearer is likely to spread in the longitudinal direction of the absorbent article and less likely to spread in the width direction than in the longitudinal direction, and the liquid is less likely to reach portions that have a greater number of opportunities to come into contact with the thighs of the legs of the wearer (i.e., a pair of cushioning portions described below). Further, by providing the surface sheet with the ridge groove structure, a difference in rigidity is generated at the boundary between each ridge portion and each groove portion, and therefore, deformation in the width direction of the absorbent article is easily guided in accordance with the body shape of the wearer. As a result, the absorbent article of the present disclosure is likely to suppress a feeling of discomfort when worn.
In the sanitary napkin 1 of the present embodiment, thetopsheet 8 has a ridge-and-groove structure parallel to the longitudinal direction L over the entire region in the width direction W of theabsorbent body 2 and over the entire region from thefront edge portion 23 to therear edge portion 25, but the absorbent article of the present disclosure is not limited to this configuration, and the topsheet has the following structure: the relief structure is provided at least in the region corresponding to the drain opening, and the relief structure is not provided in the pair of side regions, more preferably at the outer ends of the pair of buffer portions, which will be described later. With this configuration, the absorbent article has the uneven structure in the region corresponding to the excretory opening where the liquid excreta such as blood, urine, and the like has the highest chance of being absorbed, and therefore the contact area with the skin of the wearer is reduced, and the liquid permeability and the drawing-in property are ensured, while on the other hand, the uneven structure is not provided in the portion where there are many chances of being in contact with the thighs of the wearer, and therefore, even when the wearer walks or the like and the legs move forward or backward, the possibility of irritation caused by the plurality of convex portions of the uneven structure coming into contact with the thighs of the wearer is small.
The uneven structure of the absorbent article of the present disclosure is not limited to the above-described configuration, and can be formed by various methods described in, for example, japanese patent nos. 4809197, 2009-.
The size of the top sheet is set so long as it can cover the skin-facing surface of the absorbent body and can form a pair of cushions to be described laterThe size and shape of the portion is not particularly limited, and may be any size and shape depending on the physique, sex, use, and the like of the wearer of the absorbent article. Further, the weight per unit area of the surface sheet is not particularly limited as long as the effect of the present disclosure is not hindered, and for example, 5g/m can be adopted2~100g/m2A weight per unit area within the range of (2), preferably 20g/m in view of liquid permeability, flexibility and the like2~50g/m2Weight per unit area in the range of (a). In the present specification, the weight per unit area can be measured according to JIS L1906 of 5.2.
[ absorbent body ]
Next, an absorbent body that can be used in the absorbent article of the present disclosure is described. In the sanitary napkin 1 of the present embodiment, as shown in fig. 1, 3, 4, and 5, theabsorbent body 12 is an absorbent member which is disposed between thetopsheet 8 and thebacksheet 14 in the thickness direction T and has a function of absorbing and retaining liquid excreta that has passed through thetopsheet 8 of the wearer. As shown in fig. 1, theabsorbent body 12 is disposed so as to have a vertically long outer shape in which each of the front and rear end edges in the longitudinal direction L protrudes in an arc shape toward the front and rear sides, respectively, in a plan view, and includes a widthwise central axis C extending along the longitudinal direction L in the sanitary napkin 1LThe central region of (2) extends from thefront region 27 to therear region 31.
In the absorbent article of the present disclosure, the absorbent body is not particularly limited, and any absorbent body known in the art can be used. Such an absorbent material may include, for example, an absorbent material containing water-absorbent fibers such as pulp and/or a super absorbent polymer. The absorbent article of the present disclosure may further include a liquid-permeable cover sheet (so-called core wrap) formed of at least one sheet of tissue paper or the like for covering the absorbent body.
In the absorbent article of the present disclosure, the thickness of the absorbent body is not particularly limited as long as the effect of the present disclosure is not impaired, and for example, a thickness in the range of 0.1mm to 10mm can be adopted, but a thickness in the range of 0.3mm to 3mm is preferable from the viewpoint of absorbency, flexibility, and the like.
In the present disclosure, the absorbent body is not limited to the above-described form, and the absorbent body may have any external shape such as a rectangular shape, an oval shape, an hourglass shape, or the like, or may be disposed so as to be offset to the front or rear in the longitudinal direction of the absorbent article.
For example, in a modification of the sanitary napkin 1 of the present embodiment, the absorbent body has an hourglass shape. In the present modification, the absorber has a pair of narrowing portions that narrow in the width direction W in the excretion portion corresponding region. More specifically, the pair of narrowing portions is formed such that, in a plan view, the distance in the width direction W between the opposite side edges of the absorbent body extending in the longitudinal direction L is narrower in the region corresponding to the excretion portion than in the other portions.
In the present modification, by providing the absorbent body with the narrowing portions described above, the chances of the portions of the absorbent body located in the regions corresponding to the excretory opening being in contact with the thighs of the wearer's legs are easily suppressed, and the absorbent body is easily brought into contact with the thighs of the wearer through portions (i.e., a pair of cushioning portions described below) having a large number of chances of being in contact with the thighs of the wearer, and the hardness of the absorbent body is less likely to be transmitted to the thighs of the wearer, so that the uncomfortable feeling during wearing is easily suppressed.
[ side sheet ]
In the absorbent article of the present disclosure, the side sheets are not essential components, but in the sanitary napkin 1 of the present embodiment, as shown in fig. 1, 4, and 5, theside sheets 13 and 13 'are disposed in the vicinity of both side edges of the absorbentmain body portion 2 extending in the longitudinal direction L, and are formed of a water repellent sheet member for preventing leakage of liquid excreta such as menstrual blood, urine, and the like discharged from the wearer in the longitudinal direction L, in regions from the frontend edge portion 23 to the rearend edge portion 25 in the longitudinal direction L, and thewing portions 11 and 11'. In the present embodiment, one side edge portion of theside sheet 13, 13 'extending in the longitudinal direction L is arranged so as to overlap theside edge 6, 6' on the skin-facing surface side of theside edge 6, 6 'extending in the longitudinal direction L of theabsorbent body 12, and the other side edge portion thereof is joined to the skin-facing surface of theback sheet 14 at thewing portion 11, 11'.
The side sheet of the absorbent article of the present disclosure is not limited to the above-described form, and any known side sheet member such as a nonwoven fabric, a resin film of polyethylene, polypropylene or the like having air permeability, a thermoplastic resin sheet or the like can be used as long as the side sheet has various properties (water repellency, flexibility and the like) that can be used as the side sheet of the absorbent article.
[ buffer part ]
As shown in fig. 1, 2, 4, and 5, the sanitary napkin 1 of the present embodiment is provided with a pair ofcushioning portions 45, 45 ', and the pair ofcushioning portions 45, 45' are formed as follows: thefront sheet 8 projects outward in the width direction W with the pair ofside edge portions 7, 7 ' as base ends, and is folded back at theouter end portions 47, 47 ' in the width direction W and joined to theside sheets 13, 13 ' at positions inward in the width direction W than theouter end portions 47, 47 ' by joiningportions 49, 49 '.
In the sanitary napkin 1 of the present embodiment, the pair ofcushioning portions 45, 45 ' are portions of thetopsheet 8 formed by folding back thetopsheet 8 with the pair ofside edge portions 7, 7 ' as the base ends and the joiningportions 49, 49 ' as the distal ends, respectively. The outer ends 47, 47 ' of thefront sheet 8 formed by folding back are located at the outermost positions in the width direction W of the pair ofcushioning portions 45, 45 ', and in the sanitary napkin 1 of the present embodiment extend in the longitudinal direction L in the range from the front end 4 to therear end 5 via each of the pair ofabsorbent side portions 3, 3 '. The outer end of the cushion portion of the absorbent article of the present disclosure is not limited to this form, and preferably extends in the longitudinal direction L at least in each of the pair of absorbent side portions.
As shown in fig. 5, the joiningportions 49 and 49 'are provided between thefront sheet 8 and each of theside sheets 13 and 13' inside theside edge portions 7 and 7 'of the absorbentmain body 2 in the width direction W and in the vicinity of the positions of theside edge portions 7 and 7' in the width direction W. In the absorbent article of the present disclosure, the distance in the width direction between the joining portion and the side edge of the absorbent body extending in the longitudinal direction is preferably 2mm to 25mm, and more preferably 5mm to 15 mm. As described below, this is from the viewpoint of ensuring the cushioning properties of the pair of cushioning portions.
In the absorbent article of the present disclosure, the distance in the width direction between each of the pair of side edge portions that become the base ends of the pair of cushioning portions and the outer edge portion is preferably 5mm to 35mm, and more preferably 8mm to 30 mm. As described below, this is from the viewpoint of ensuring the cushioning properties of the pair of cushioning portions.
In the sanitary napkin 1 of the present embodiment, the pair ofcushioning portions 45, 45 ' extend over the entire region in the longitudinal direction L of the front end portion 4, theabsorbent side portions 3, 3 ' and therear end portion 5, but in the absorbent article of the present disclosure, the length in the longitudinal direction of the pair of cushioning portions is not limited to this configuration, and preferably, the pair of cushioning portions extend over at least the entire region in the longitudinal direction of the region adjacent to the excretion portion of theabsorbent side portion 3, 3 '. As described above, the absorbent article of the present disclosure has appropriate cushioning properties and is less likely to cause irritation to the thighs of the wearer, as described below, because the outer end portions of the pair of cushioning portions, which are more likely to come into contact with the thighs of the wearer, of the topsheet do not have the uneven structure, and the pair of cushioning portions are configured such that the topsheet protrudes outward in the width direction at least in the region adjacent to the excretory opening.
The maximum height of the pair of cushioning portions of the absorbent article of the present disclosure is preferably 5mm to 40mm, and more preferably 10mm to 35mm in a natural state. As described below, this is from the viewpoint of ensuring the cushioning properties of the pair of cushioning portions.
Here, in the present specification, the maximum height of the object (the buffer portion, the region corresponding to the excretion portion, and the like) is the maximum height of the object from a horizontal reference surface on which the absorbent article is placed, and can be measured by the above-described laser displacement sensor. The natural state of the absorbent article is a state in which no external force other than the weight of the absorbent article is applied in a state in which the absorbent article is unfolded.
In the absorbent article of the present disclosure, the maximum height of the pair of cushioning portions in a natural state is preferably higher than the maximum height of the region corresponding to the excretion unit (i.e., the height from the horizontal reference plane on which the absorbent article is placed at the highest position in the convex portions of the uneven structure of the top sheet). With this configuration, since the maximum height of the pair of cushion portions in a natural state and the maximum height of the region corresponding to the excretory opening are in a predetermined relationship and the pair of cushion portions are easily deformed in accordance with the shape of the thighs of the wearer, the hardness and irritation of the absorbent body received by the thighs of the legs of the wearer are less likely to be felt, and the uncomfortable feeling during wearing is more likely to be suppressed.
In addition, from the viewpoint of ensuring cushioning properties, the pair of cushioning portions of the absorbent article of the present disclosure each have a thickness direction T of preferably 2.0N · m/m in the region adjacent to the excretory opening2~8.0N·m/m2More preferably 3.0 Nm/m2~6.0N·m/m2More preferably 3.5 Nm/m2~5.5N·m/m2WC (compression energy).
The WC (compression energy) can be obtained by performing a compression characteristic evaluation test using an automatic compression tester "KESFB-3A" (manufactured by addend technologies) on a sample of the absorbent article, in which the larger the value is, the easier the compression is. At this time, the center of the indenter of the testing machine was aligned with the center of the cushion section in the width direction, and measurement was performed. The measurement conditions of the compression characteristic evaluation test are as follows.
SENS:2
Speed: 0.02 mm/sec
Stroke: 5mm/10V
Area of pressure head: 2cm2
Reading interval: 0.1 second
Upper limit load: 50gf/cm2
The number of repetitions: 1 time of
Further, if WC (compression energy) in the thickness direction T of each of the pair of cushion portions is within the above numerical range, it is considered that the appropriate cushioning properties can be exhibited in the absorbent article of the present disclosure even in the width direction W of each of the pair of cushion portions.
Here, the operational effects of the structure in which the pair ofcushioning portions 45, 45' is provided in the sanitary napkin 1 of the present embodiment will be described. Fig. 6 is a schematic view of a state in which the sanitary napkin 1 according to embodiment 1 of the present disclosure is worn.
As shown in fig. 6, when the wearer wears the sanitary napkin 1 by attaching the sanitary napkin 1 to theunderwear 55, the thighs of the legs of the wearer press the sanitary napkin 1 in the width direction. Here, the sanitary napkin 1 has the pair ofcushion portions 45 and 45 ' as described above, and therefore, the pair ofcushion portions 45 and 45 ' are configured to protrude outward from theabsorbent body 12 in the width direction W, and when the thighs of the legs of the wearer press the sanitary napkin 1 in the width direction, the pair ofcushion portions 45 and 45 ' function as so-called cushioning materials so that the thighs of the legs of the wearer do not easily feel the hardness of theabsorbent body 12. That is, when the thighs of the legs of the wearer press the sanitary napkin 1 in the width direction, the thighs of the legs of the wearer tend to feel the cushioning properties (i.e., softness and resilience) of the pair ofcushioning portions 45, 45' before theabsorbent body 12 comes into contact with the thighs of the legs of the wearer. When the thighs of the legs of the wearer further press the sanitary napkin 1 in the width direction, the thighs of the legs of the wearer tend to gradually increase the cushioning properties of the pair ofcushioning sections 45, 45' until theabsorbent body 12 comes into contact with the thighs of the legs of the wearer. As a result, even if the thighs of the legs of the wearer further press the sanitary napkin 1 in the width direction and theabsorber 12 comes into contact with the thighs of the legs of the wearer, the sanitary napkin 1 can make the thighs of the legs of the wearer less likely to feel the hardness of the absorber than in the case where the cushioning properties of the pair of cushioning portions are not felt and the hardness of the absorber is transmitted to the thighs of the legs of the wearer, because the thighs of the legs of the wearer feel the cushioning properties of the pair ofcushioning portions 45, 45' until they come into contact with theabsorber 12. Therefore, with the above structure, the hardness of theabsorbent body 12 is less likely to be transmitted to the thighs of the wearer's legs. In the sanitary napkin 1 of the present embodiment, the pair ofcushion portions 45 and 45 ' are disposed on the skin-facing surface side with respect to theabsorbent body 12, and when the wearer presses the sanitary napkin 1 in the width direction with the thighs of the legs, the pair ofcushion portions 45 and 45 ' protruding outward of theabsorbent body 12 are likely to be flexibly deformed so as to be squashed in the width direction W in accordance with the shape of the thighs of the wearer, and the deformation is unlikely to be hindered by theabsorbent body 12, so that the thighs of the legs of the wearer are likely to feel the cushioning properties of the pair ofcushion portions 45 and 45 '.
Further, since thefront sheet 8 constituting thecushion portions 45 and 45 ' has a ridge-and-groove structure at least in the excretoryopening corresponding region 29 and does not have a ridge-and-groove structure at the outerside end portions 47 and 47 ', the pair ofcushion portions 45 and 45 ' at portions where there are many opportunities for contact with the thighs of the wearer do not have a ridge-and-groove structure on the skin-facing surface. Therefore, even if the wearer walks and the thigh portions of both legs move forward and backward, the chances of the thigh portions of both legs coming into contact with the pair ofcushioning portions 45, 45' are further increased, and the wearer is less likely to be irritated by the presence of the ridge groove structure. Therefore, the sanitary napkin 1 has an effect of having the ridge-and-groove structure in the excretoryopening corresponding region 29, and is easy to suppress a feeling of discomfort when worn and improve wearability.
In the sanitary napkin 1 of the present embodiment, as shown in fig. 4 and 5, the pair ofcushion portions 45 and 45 ' have upper cushion portions 51 and 51 ' located on the skin-facing surface and lower cushion portions 53 and 53 ' located on the non-skin-facing surface between the pair ofside edge portions 7 and 7 ' serving as the base ends and the joiningportions 49 and 49 ' serving as the distal ends, respectively.
In the sanitary napkin 1 of the present embodiment, as shown in fig. 2, 4, and 5, the pair ofcushioning portions 45 and 45 'are raised toward the skin-facing surface so that theouter end portions 47 and 47' are highest in the range from the pair ofside edge portions 7 and 7 'to theouter end portions 47 and 47', respectively. The lower cushion portions 53 and 53 ' of the pair ofcushion portions 45 and 45 ' located on the non-skin-facing surfaces are separated from the sheet members (theside sheets 13 and 13 ').
By providing the pair ofcushioning portions 45, 45 'with such a shape, the pair ofcushioning portions 45, 45' are easily deformed in accordance with the shape of the thighs of the wearer, and therefore, the thighs of the wearer are less likely to feel the hardness of theabsorbent body 12, and the sanitary napkin 1 is therefore likely to suppress a feeling of discomfort when worn and improve wearability.
In the sanitary napkin 1 of the present embodiment, the pair ofcushion portions 45 and 45 ' have the outer surface ES (i.e., the skin-facing surface of the upper cushion portions 51 and 51 ' and the non-skin-facing surface of the lower cushion portions 53 and 53 ' and the surface exposed to the outside) and the inner surface IS (i.e., the non-skin-facing surface of the upper cushion portions 51 and 51 ' and the skin-facing surface of the lower cushion portions 53 and 53 ' and the surface not exposed to the outside), respectively. The inner surfaces IS of the pair ofbuffer portions 45 and 45' are not joined to each other, and the inner space thereof contains a certain amount of air. Therefore, the upper cushion portions 51, 51 'and the lower cushion portions 53, 53' each have a soft feel, and a cushioning function in which theabsorbent body 12 is less likely to feel hard even when the thighs of the legs of the wearer press the sanitary napkin 1 in the width direction W can be ensured more reliably. Further, since the inner surfaces IS are not joined to each other, the flexibility of the pair ofcushion portions 45 and 45' IS not easily impaired, and the hardness and irritation of theabsorbent body 12 received by the thighs of the legs of the wearer are not easily felt, and the uncomfortable feeling during wearing IS easily suppressed.
In the sanitary napkin 1 of the present embodiment, thetopsheet 8 is formed of the air-through nonwoven fabric as described above.
Here, the hot air nonwoven fabric or the spunlace nonwoven fabric is a nonwoven fabric which, in the production thereof, is subjected to a step of forming a web by allowing fibers carried in an air flow to fall and accumulate on a screen and a step of bonding the web by passing high-temperature air or high-pressure water flow through the web on the screen from above the web, and is a nonwoven fabric produced using a screen, and in view of the characteristics of such a production step, the nonwoven fabric has a screen surface which comes into contact with the screen (disposed on the screen) during production and a surface (air surface) which is on the opposite side of the screen surface and which directly comes into contact with the high-temperature air or the high-pressure water flow without coming into contact with the screen. Such nonwoven fabric having a screen surface and an air surface has a lower fiber density than the screen surface and has a soft touch to the skin.
In the present embodiment, thetop sheet 8 is disposed so that the outer surfaces ES of the pair ofcushioning portions 45 and 45' are air surfaces.
In the sanitary napkin 1 of the present embodiment, since thetop sheet 8 is formed of the hot air nonwoven fabric disposed in the above-described specific manner, the outer surfaces ES of the pair ofcushioning portions 45, 45 'have a smooth skin touch, and even if the thighs of the wearer come into contact with the pair ofcushioning portions 45, 45', the irritation to the skin is small, and the uncomfortable feeling during wearing is easily suppressed.
In the sanitary napkin 1 of the present embodiment, as shown in fig. 5, theend portions 57 and 57 ' in the width direction W of the 2 nd sheet (second sheet) 8b overlap the pair ofcushioning portions 45 and 45 ' in the thickness direction T, respectively, and in other words, theend portions 57 and 57 ' in the width direction W of the 2 nd sheet (second sheet) 8b are present in the pair ofabsorbent side portions 3 and 3 ', respectively, and are not joined to the inner surfaces IS of the pair ofcushioning portions 45 and 45 '.
In the sanitary napkin 1 of the present embodiment, the pair ofcushioning portions 45 and 45 'are less likely to be crushed by the presence of the 2 nd sheet (second sheet) 8b and the flexibility thereof is less likely to be impaired by the relationship between the 2 nd sheet (second sheet) 8b and the pair ofcushioning portions 45 and 45' arranged in the above-described specific manner. As a result, the hardness and irritation of the absorbent body received by the thighs of the legs of the wearer are less likely to be felt, and the uncomfortable feeling during wearing is more likely to be suppressed.
In the sanitary napkin 1 of the present embodiment, as shown in fig. 5, theside sheets 13 and 13 'as sheet members joined to thetopsheet 8 by the joiningsections 49 and 49' are disposed on the skin-facing surface side of theabsorbent body 12.
In the sanitary napkin 1 of the present embodiment, the portions of thetopsheet 8 located on theabsorbent side portions 3, 3 'are folded back without being entangled with theabsorbent body 12 to form the pair ofcushioning portions 45, 45', whereby the hardness and irritation of theabsorbent body 12 to the thighs of the wearer are less likely to be felt, the chances of the both sides in the width direction of theabsorbent body 12 coming into contact with the thighs of the wearer are more likely to be suppressed, and the uncomfortable feeling during wearing is more likely to be suppressed.
[ compression part ]
The absorbent article of the present disclosure does not require a compressed portion, but as shown in fig. 1, 2, and 4, the sanitary napkin 1 of the present embodiment is provided with a pair ofcompressed portions 37 and 37 'formed by compressing thetopsheet 8 and theabsorbent body 12 in the thickness direction T by embossing and extending along the pair ofside edges 7 and 7' in theregion 29 corresponding to the excretion portion. In the present embodiment, by providing the pair ofcompressed portions 37, 37 ' to the sanitary napkin 1 over the entire region in the longitudinal direction L of the excretionportion corresponding region 29 of the sanitary napkin 1, the vicinities of both side edges extending in the longitudinal direction L of the sanitary napkin 1 are easily raised toward the skin-facing surface side with the pair ofcompressed portions 37, 37 ' as base points, and accordingly, the pair ofcushion portions 45, 45 ' are also easily raised toward the skin-facing surface side. As a result, the pair ofcushioning portions 45, 45' are easily deformed in accordance with the shape of the thighs of the wearer, and therefore, the sanitary napkin 1 described above is less likely to feel the hardness and irritation of the absorbent body received by the thighs of the wearer, and is likely to suppress the uncomfortable feeling during wearing.
In the absorbent article of the present disclosure, the pair of compressing portions is not limited to the above-described form, and may be provided only in a part in the longitudinal direction of the region corresponding to the excretion portion of the absorbent article. The pair of compressing portions may be provided in the entire or a part of the longitudinal direction of thefront region 27 and therear region 31. In this case, in the absorbent article, the vicinity of both side edge portions extending in the longitudinal direction of the absorbent article is likely to rise toward the skin-facing surface side with the pair of compressed portions as base points, and accordingly, the pair of cushion portions is also likely to rise toward the skin-facing surface side. As a result, the absorbent article is less likely to feel the hardness and irritation of the absorbent body on the thighs of the wearer, and is more likely to suppress the uncomfortable feeling during wearing.
[ Back sheet ]
In the sanitary napkin 1 of the present embodiment, as shown in fig. 1, 3, 4, and 5, theback sheet 14 is disposed on the non-skin-facing surface side in the thickness direction T over the entire surface area of the sanitary napkin 1 in plan view, and is formed of a liquid-impermeable sheet member for preventing leakage of liquid excreta such as menstrual blood, urine, and the like discharged from the wearer. As long as the liquid-impermeable sheet member has various properties (liquid-impermeable property, air permeability, flexibility, and the like) that can be used as a back sheet of an absorbent article, known liquid-impermeable sheet members such as a resin film of polyethylene, polypropylene, or the like, or a thermoplastic resin sheet having air permeability can be used.
[ 2 nd embodiment ]
Next,embodiment 2 of the absorbent article of the present disclosure will be explained. Among the members ofembodiment 2 of the present disclosure, members having the same structures and the same functions and effects as those of embodiment 1 are given the same reference numerals as those of embodiment 1, and detailed description thereof is omitted.
Fig. 7 is a sectional view of the sanitary napkin 10 according toembodiment 2 of the present disclosure, which corresponds to the section IV-IV in fig. 1. Fig. 8 is an enlarged view of the region Y in fig. 7.
In the above-described embodiment 1, in theside sheets 13 and 13 ', one side edge portion of each of theside sheets 13 and 13' extending in the longitudinal direction L is arranged so as to overlap the side edges 6 and 6 'on the skin-facing surface side of the side edges 6 and 6' extending in the longitudinal direction L of theabsorbent body 12, and the other side edge portion thereof is joined to the skin-facing surface of theback sheet 14 at thewing portions 11 and 11 ', but in the present embodiment, as shown in fig. 7 and 8, in theside sheets 13 and 13', one side edge portion of each of theside sheets 13 and 13 'extending in the longitudinal direction L is arranged so as to overlap the side edges 6 and 6' on the non-skin-facing surface side of the side edges 6 and 6 'extending in the longitudinal direction L of theabsorbent body 12, and the other side edge portion thereof is joined to the skin-facing surface of theback sheet 14 at thewing portions 11 and 11'.
In the sanitary napkin 10 of the present embodiment, as shown in fig. 7 and 8, the joiningportions 49, 49 'that join thetop sheet 8 and each of theside sheets 13, 13' are provided at positions on the non-skin-facing surface side of theabsorbent body 12. The pair ofcushion portions 45, 45 ' of the present embodiment are formed by folding back the portions of thetop sheet 8 located on theabsorbent side portions 3, 3 ' toward the non-skin-facing surface side so as to wrap around the side edges 6, 6 ' in the width direction W of theabsorbent body 12.
By providing the sanitary napkin 10 of the present embodiment with the pair ofcushion portions 45, 45 'having the above-described configuration, theabsorbent body 12 can easily come into contact with the thighs of the wearer through the pair ofcushion portions 45, 45' even when the thighs of the wearer press the sanitary napkin 10 in the width direction. That is, since the pair ofbuffer portions 45, 45 'protrude outward from theabsorbent body 12 in the width direction W, the pair ofbuffer portions 45, 45' function as so-called cushioning materials so that the thighs of the legs of the wearer do not easily feel the hardness of theabsorbent body 12 when the thighs of the legs of the wearer press the sanitary napkin 1 in the width direction. Therefore, with the above structure, the hardness of theabsorbent body 12 is less likely to be transmitted to the thighs of the wearer's legs. In addition, in the present embodiment, since the pair ofbuffer portions 45 and 45 'are formed so as to wrap around both side edges in the width direction W of theabsorbent body 12, the pair ofbuffer portions 45 and 45' more reliably make the thighs of both legs of the wearer less likely to feel the hardness of theabsorbent body 12, and the wearing feeling of the sanitary napkin 10 is better.
The form of the pair of cushioning portions of the absorbent article of the present disclosure is not limited to the form described in embodiment 1 andembodiment 2, and can be appropriately modified. For example, as described above, in the absorbent article of the present disclosure, the side sheet is not necessarily configured, and therefore, in this case, the joining target position of the front sheet may be a back sheet, a liquid-permeable cover sheet covering the absorbent body, or the like.
The absorbent article of the present disclosure is not limited to the above-described embodiments and illustrative descriptions, and can be appropriately combined with or modified without departing from the object and spirit of the present disclosure.
The present disclosure can be applied to various absorbent articles such as panty liners and (light) incontinence pads, in addition to the sanitary napkins of the above-described embodiments. In the present specification, ordinal numbers such as "1 st", "2 nd", etc. are used to distinguish items in which the ordinal numbers are denoted, and do not indicate the order, priority, importance, etc. of the items.
Description of the reference numerals
1. A sanitary napkin; 2. an absorbent main body part; 3. 3', an absorption side portion; 4. a front end portion; 5. a rear end portion; 6. 6', two side edges; 7. 7', a side edge part; 8. a surface sheet; 8a, the 1 st slice; 8b, 2 nd (second) sheet; 10. a sanitary napkin (modification); 11. 11', a wing portion; 12. an absorbent body; 13. 13', side panels; 14. a back sheet; 15. an adhesive portion; 17. 17', an adhesive part; 23. a front end edge part; 25. a rear end edge portion; 27. a front area; 29. the corresponding area of the excretion opening; 31. a rear region; 33. 33', 1 st end; 35. 35', 2 nd end; 37. 37', a compression part; 39. 39', adjacent region of the drain opening; 41. a ridge part; 43. a groove part; 45. 45' and a buffer part; 47. 47', an outer end; 49. 49', a joint; 51. 51', an upper buffer part; 53. 53', a lower buffer portion; 55. underpants; ES, an outer surface; IS, inner surface; 57. 57', end portions.

Claims (10)

CN201680087914.3A2016-08-092016-08-09Absorbent articleActiveCN109562002B (en)

Applications Claiming Priority (1)

Application NumberPriority DateFiling DateTitle
PCT/JP2016/073449WO2018029785A1 (en)2016-08-092016-08-09Absorbent article

Publications (2)

Publication NumberPublication Date
CN109562002A CN109562002A (en)2019-04-02
CN109562002Btrue CN109562002B (en)2021-11-16

Family

ID=61161818

Family Applications (1)

Application NumberTitlePriority DateFiling Date
CN201680087914.3AActiveCN109562002B (en)2016-08-092016-08-09Absorbent article

Country Status (4)

CountryLink
JP (1)JP6758384B2 (en)
KR (1)KR102570212B1 (en)
CN (1)CN109562002B (en)
WO (1)WO2018029785A1 (en)

Families Citing this family (2)

* Cited by examiner, † Cited by third party
Publication numberPriority datePublication dateAssigneeTitle
JP7170489B2 (en)*2018-10-112022-11-14ユニ・チャーム株式会社 absorbent article
KR20240004612A (en)*2021-04-292024-01-11킴벌리-클라크 월드와이드, 인크. absorbent supplies

Citations (7)

* Cited by examiner, † Cited by third party
Publication numberPriority datePublication dateAssigneeTitle
CN1051298A (en)*1989-10-271991-05-15普罗格特-甘布尔公司 Separate women's sanitary napkin
CN1090164A (en)*1992-11-301994-08-03普罗格特-甘布尔公司 Absorbent articles having side flaps and flaps made of elastic material
CN1528258A (en)*1993-12-282004-09-15花王株式会社 absorbent article
JP2004298456A (en)*2003-03-312004-10-28Daio Paper CorpAbsorptive article
CN102741467A (en)*2010-02-192012-10-17尤妮佳股份有限公司Nonwoven-fabric sheet and process for producing same
JP2016069748A (en)*2014-09-302016-05-09花王株式会社 Non-woven
JP2016077576A (en)*2014-10-172016-05-16花王株式会社Absorbent article

Family Cites Families (2)

* Cited by examiner, † Cited by third party
Publication numberPriority datePublication dateAssigneeTitle
JP4033774B2 (en)*2002-03-222008-01-16花王株式会社 Absorbent articles
CN105129800B (en)2015-07-212017-11-03神雾科技集团股份有限公司A kind of oxygen/coal injection prepares the technique and system of calcium carbide and ethene

Patent Citations (7)

* Cited by examiner, † Cited by third party
Publication numberPriority datePublication dateAssigneeTitle
CN1051298A (en)*1989-10-271991-05-15普罗格特-甘布尔公司 Separate women's sanitary napkin
CN1090164A (en)*1992-11-301994-08-03普罗格特-甘布尔公司 Absorbent articles having side flaps and flaps made of elastic material
CN1528258A (en)*1993-12-282004-09-15花王株式会社 absorbent article
JP2004298456A (en)*2003-03-312004-10-28Daio Paper CorpAbsorptive article
CN102741467A (en)*2010-02-192012-10-17尤妮佳股份有限公司Nonwoven-fabric sheet and process for producing same
JP2016069748A (en)*2014-09-302016-05-09花王株式会社 Non-woven
JP2016077576A (en)*2014-10-172016-05-16花王株式会社Absorbent article

Also Published As

Publication numberPublication date
KR20190039088A (en)2019-04-10
JPWO2018029785A1 (en)2019-06-06
CN109562002A (en)2019-04-02
JP6758384B2 (en)2020-09-23
WO2018029785A1 (en)2018-02-15
KR102570212B1 (en)2023-08-23

Similar Documents

PublicationPublication DateTitle
US7312372B2 (en)Elongated absorbent article with compressed groove
JP4313097B2 (en) Absorbent article and manufacturing method thereof
CN101541275B (en)Absorptive article and method of producing the same
EP1269953A2 (en)Sanitary napkin
CN101541276A (en)Absorbent article and method for manufacturing same
JP2010063944A (en)Absorbent article
KR20060094028A (en) Sanitary napkin
TWI668001B (en) Absorbent article
WO2015076240A1 (en)Absorbent article
KR102411325B1 (en) absorbent article
JP6577802B2 (en) Interlabial pad
JP6183804B2 (en) Absorbent articles
KR20180016489A (en) Absorbent article
TWI568428B (en) An absorbent structure, and an absorbent underwear article using the absorbent structure
CN109715115B (en)Absorbent article
CN109562002B (en)Absorbent article
JP6080909B2 (en) Absorbent articles
CN108463197B (en)Absorbent article
JP5076022B1 (en) Disposable diapers
JP2008093128A (en) Absorbent articles
JP7731655B2 (en) absorbent articles
CN109069325B (en)Absorbent article
JP6757607B2 (en) Absorbent article
KR102674151B1 (en) absorbent article
JP6223413B2 (en) Absorbent articles

Legal Events

DateCodeTitleDescription
PB01Publication
PB01Publication
SE01Entry into force of request for substantive examination
SE01Entry into force of request for substantive examination
GR01Patent grant
GR01Patent grant

[8]ページ先頭

©2009-2025 Movatter.jp