Movatterモバイル変換


[0]ホーム

URL:


CN109512506B - Bipolar surgical instrument - Google Patents

Bipolar surgical instrument
Download PDF

Info

Publication number
CN109512506B
CN109512506BCN201910037639.XACN201910037639ACN109512506BCN 109512506 BCN109512506 BCN 109512506BCN 201910037639 ACN201910037639 ACN 201910037639ACN 109512506 BCN109512506 BCN 109512506B
Authority
CN
China
Prior art keywords
scalpel
jaw members
blade
channel
bipolar forceps
Prior art date
Legal status (The legal status is an assumption and is not a legal conclusion. Google has not performed a legal analysis and makes no representation as to the accuracy of the status listed.)
Active
Application number
CN201910037639.XA
Other languages
Chinese (zh)
Other versions
CN109512506A (en
Inventor
丁伟江
易培雄
沈修成
D·E·克尔
S·A·塞德
Current Assignee (The listed assignees may be inaccurate. Google has not performed a legal analysis and makes no representation or warranty as to the accuracy of the list.)
Covidien LP
Original Assignee
Covidien LP
Priority date (The priority date is an assumption and is not a legal conclusion. Google has not performed a legal analysis and makes no representation as to the accuracy of the date listed.)
Filing date
Publication date
Priority claimed from PCT/CN2013/080953external-prioritypatent/WO2015017994A1/en
Application filed by Covidien LPfiledCriticalCovidien LP
Publication of CN109512506ApublicationCriticalpatent/CN109512506A/en
Application grantedgrantedCritical
Publication of CN109512506BpublicationCriticalpatent/CN109512506B/en
Activelegal-statusCriticalCurrent
Anticipated expirationlegal-statusCritical

Links

Images

Landscapes

Abstract

Bipolar forceps include mechanical forceps including a first shaft and a second shaft, each shaft having a jaw member extending from a distal end thereof and a handle disposed at a proximal end thereof for effecting movement of the jaw members relative to each other about a pivot axis. The disposable housing is configured to be releasably coupled to at least one of the shafts and the electrode assembly is configured to be releasably coupled to the disposable housing. The electrode assembly includes an electrode releasably coupleable to the jaw member. At least one of the electrodes includes a scalpel channel configured to receive a scalpel blade therethrough to cut tissue grasped between the jaw members. The actuation mechanism is configured to selectively advance the surgical blade through the knife channel to cut tissue.

Description

Bipolar surgical instrument
The present patent application is a divisional application of an invention patent application having an application date of 2014, 8/7, application number of 201410384505.2, entitled "bipolar surgical instrument".
Technical Field
The present disclosure relates to forceps for open surgical procedures. More particularly, the present disclosure relates to bipolar forceps for treating tissue that are capable of closing and cutting tissue.
Background
Hemostats or clamps are simple, clamp-like tools that use mechanical action between their jaws to compress a blood vessel and are commonly used in open surgical procedures to grasp, dissect and/or clamp tissue. Electrosurgical forceps use a mechanical clamping action and electrical energy to coagulate, cauterize, and/or close tissue by heating the tissue and blood vessels to achieve hemostasis.
Certain surgical procedures require the closure and cutting of blood vessels or vascular tissue. Several journal articles have disclosed methods of closing small blood vessels using electrosurgery. An article entitled "students on Coagulation and the Development of an Automatic Computerized Bipolar Coagulator" (j. neurosurg., vol. 75, month 7 1991) describes a Bipolar Coagulator for occluding small blood vessels. The article states that it is not possible to safely coagulate arteries with a diameter greater than 2 to 2.5 mm. A second article entitled "automatic Controlled Biopolar Electrodiagnosis-" COA-COMP "(neurosurg, revised (1984), pp 187-190) describes a method for terminating electrosurgical power to a blood vessel such that scorching of the vessel wall can be avoided.
By using electrosurgical forceps, the surgeon can cauterize, coagulate/desiccate, reduce or slow bleeding and/or close blood vessels by controlling the intensity, frequency and duration of the electrosurgical energy applied to the tissue. In general, the electrical configuration of electrosurgical forceps can be classified into two categories: 1) monopolar electrosurgical forceps; and 2) bipolar electrosurgical forceps.
Monopolar forceps use one active electrode associated with a clamping end effector and a remote patient return electrode or pad that is typically attached externally to the patient. When electrosurgical energy is applied, the energy passes from the active electrode to the surgical site, through the patient, and to the return electrode.
Bipolar electrosurgical forceps use two generally opposing electrodes disposed on opposing interior surfaces of an end effector and both electrically coupled to an electrosurgical generator. Each electrode is charged to a different potential. Since tissue is a conductor of electrical energy, electrical energy may be selectively transferred through tissue when the actuator is used to grasp tissue therebetween.
Disclosure of Invention
The present disclosure relates to forceps for open surgical procedures. More particularly, the present disclosure relates to bipolar forceps for treating tissue that are capable of closing and cutting tissue.
By convention, the term "distal" herein refers to the end of the device that is further from the operator, and the term "proximal" herein refers to the end of the electrosurgical forceps that is closer to the operator.
The bipolar forceps include a mechanical forceps including a first shaft and a second shaft. A jaw member extends from a distal end of each shaft. A handle is disposed at a proximal end of each shaft for effecting movement of the jaw members relative to each other about the pivot axis from a first position in which the jaw members are disposed in spaced relation to each other to a second position in which the jaw members cooperate to grasp tissue. A disposable housing is configured to be releasably coupled to one or both of the shafts. An electrode assembly is associated with the disposable housing and has a first electrode releasably coupleable to the jaw member of the first shaft and a second electrode releasably coupleable to the jaw member of the second shaft. Each electrode is adapted to be connected to a source of electrosurgical energy to allow electrosurgical energy to be selectively conducted through tissue. One or both of the electrodes includes a scalpel channel defined along its length. The knife channel is configured to receive a knife blade therethrough to cut tissue grasped between the jaw members. An actuation mechanism is disposed at least partially within the housing and is configured to selectively advance the surgical blade through the surgical knife channel to cut tissue.
Additionally or alternatively, the bipolar forceps may also include a scalpel locking mechanism configured to inhibit advancement of the surgical blade into the scalpel channel when the jaw members are in the first position.
Additionally or alternatively, the scalpel locking mechanism may be movable from a first position in which the scalpel locking mechanism engages the actuation mechanism when the jaw members are in the first position to a second position in which the scalpel locking mechanism disengages the actuation mechanism when the jaw members are in the second position to allow the scalpel blade to be selectively advanced through the scalpel channel.
Additionally or alternatively, at least one of the shafts may be configured to engage the scalpel locking mechanism and move the scalpel locking mechanism out of engagement with the actuation mechanism to allow the scalpel blade to be advanced through the scalpel channel when the jaw members are moved to the second position.
Additionally or alternatively, the bipolar forceps may also include at least one depressible button supported by the housing, the at least one depressible button configured to selectively deliver electrosurgical energy to the electrodes.
Additionally or alternatively, the pivot may define a longitudinal slot therethrough, and the surgical blade may be configured to move within the longitudinal slot as it translates.
Additionally or alternatively, the bipolar forceps may also include at least one handle member extending from the housing. The at least one handle member may be operably coupled to the actuation mechanism and configured to effect advancement of the surgical blade through the surgical knife channel.
Additionally or alternatively, each of the electrodes may include a conductive sealing surface and an insulating substrate coupled to the conductive sealing surface.
Additionally or alternatively, each of the electrodes may include at least one mechanical interface configured to complement a respective mechanical interface on one of the jaw members to releasably couple the electrode to the jaw members.
Additionally or alternatively, the actuation mechanism may comprise a biasing member configured to bias the actuation mechanism to an unactuated position.
Additionally or alternatively, the bipolar forceps may also include a scalpel guide supported in the housing and having a longitudinal slot defined therethrough that receives the scalpel blade therein to align the scalpel blade with the scalpel channel.
According to another aspect of the present disclosure, a bipolar forceps is provided. The bipolar forceps include a mechanical forceps including a first shaft and a second shaft, each shaft having a jaw member extending from a distal end thereof. A handle is disposed at a proximal end of each shaft for effecting movement of the jaw members relative to each other about the pivot axis from a first position in which the jaw members are disposed in spaced relation to each other to a second position in which the jaw members cooperate to grasp tissue. The disposable housing has opposing halves configured to releasably couple to one another to at least partially contain one or both of the shafts. An electrode assembly is associated with the disposable housing and has a first electrode releasably coupleable to the jaw member of the first shaft and a second electrode releasably coupleable to the jaw member of the second shaft. Each electrode is adapted to be connected to a source of electrosurgical energy to allow electrosurgical energy to be selectively conducted through tissue held therebetween. At least one of the electrodes includes a scalpel channel defined along a length thereof, the scalpel channel configured to receive a scalpel blade therethrough to cut tissue grasped between the jaw members. An actuation mechanism is disposed at least partially within the housing and is configured to selectively advance the surgical blade through the surgical knife channel to cut tissue. A knife locking mechanism is configured to move from a first position to a second position to allow the surgical blade to advance through the knife channel, the knife locking mechanism engaging the actuation mechanism to inhibit the surgical blade from advancing through the knife channel when the jaw members are in the first position, the knife locking mechanism disengaging the actuation mechanism when the jaw members are in the second position.
Additionally or alternatively, at least one of the shafts may be configured to engage the scalpel locking mechanism and move the scalpel locking mechanism out of engagement with the actuation mechanism and allow the scalpel blade to advance through the scalpel channel when the jaw members are moved to the second position.
Additionally or alternatively, the pivot may define a longitudinal slot therethrough, and the surgical blade may be configured to advance through the longitudinal slot as it translates.
Additionally or alternatively, the bipolar forceps may also include a scalpel guide supported in the housing and having a longitudinal slot defined therethrough that receives the scalpel blade therein to align the scalpel blade with the scalpel channel.
Additionally or alternatively, the bipolar forceps may also include at least one handle member configured to effect advancement of the surgical blade through the scalpel channel. The at least one handle member may extend from the housing and may be operably coupled to the actuation mechanism.
According to another aspect of the present disclosure, a bipolar forceps is provided. The bipolar forceps include a mechanical forceps including a first shaft and a second shaft, each shaft having a jaw member extending from a distal end thereof. A handle is disposed at a proximal end of each shaft for effecting movement of the jaw members relative to each other about the pivot axis from a first position in which the jaw members are disposed in spaced relation to each other to a second position in which the jaw members cooperate to grasp tissue therebetween. A disposable housing is configured to be releasably coupled to at least one of the shafts. An electrode assembly is configured to be releasably coupled to the jaw members and adapted to be connected to a source of electrosurgical energy to allow electrosurgical energy to be selectively conducted through tissue held between the jaw members. At least one of the electrodes includes a scalpel channel defined along its length. The knife channel is configured to receive a knife blade therethrough to cut tissue grasped between the jaw members. A scalpel guide is supported in the housing and has a longitudinal slot defined therethrough that receives the scalpel blade therein to align the scalpel blade with the scalpel channel. An actuation mechanism is disposed at least partially within the housing and is configured to selectively advance the surgical blade through the surgical knife channel to cut tissue. At least one handle member extends from the housing. The at least one handle member is operably coupled to the actuation mechanism and is configured to effect advancement of the surgical blade through the surgical knife channel. A scalpel locking mechanism is configured to be engaged by at least one of the shaft members and to move the scalpel locking mechanism from a first position to a second position to allow selective advancement of the scalpel blade through the scalpel channel, the scalpel locking mechanism engaging the actuation mechanism to inhibit advancement of the scalpel blade into the scalpel channel when the jaw members are in the first position, the scalpel locking mechanism disengaging the actuation mechanism when the jaw members are in the second position.
Additionally or alternatively, the scalpel guide may extend through a longitudinal slot defined through the pivot.
Additionally or alternatively, the at least one handle member may be movable from a first position in which the surgical blade is disposed within the housing to a second position in which the surgical blade is advanced through the surgical knife channel.
Additionally or alternatively, the actuation mechanism may comprise a biasing member configured to move the at least one moveable handle from the second position to the first position.
Drawings
Various embodiments of the present apparatus are described herein with reference to the accompanying drawings, wherein:
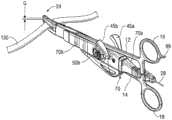
FIG. 1 is a perspective view of a bipolar forceps according to an embodiment of the present disclosure including a mechanical forceps, a disposable housing, and a disposable electrode assembly;
FIG. 2 is an enlarged, perspective view of the distal end of the bipolar forceps of FIG. 1;
figure 3 is a perspective view of the bipolar forceps of figure 1 with the components separated;
FIG. 4 is an enlarged, inside side view of the disposable sheath and disposable electrode assembly of FIG. 1 with parts partially removed;
FIG. 5 is a greatly enlarged, perspective view of the disposable electrode assembly of FIG. 1;
FIGS. 6 and 7 are enlarged perspective views on a larger scale of the electrodes of the disposable electrode assembly of FIG. 1 with parts separated;
FIG. 8 is a perspective view of the bipolar forceps of FIG. 1 grasping tissue to effect tissue closure; and fig. 9A-9C are general internal, side views of the bipolar forceps of fig. 1 depicting a sequence of movements to illustrate operation of the bipolar forceps.
Detailed Description
Referring initially to fig. 1-3,bipolar forceps 10 for use in open surgical procedures include amechanical forceps 20 having anend effector 24 and adisposable electrode assembly 21. Themechanical tong 20 includes first and secondelongated shaft members 12 and 14. Theelongate shaft member 12 includes respective proximal anddistal end portions 13 and 17, and theelongate shaft member 14 includes respective proximal anddistal end portions 15 and 19.Handle members 16 and 18 are disposed atproximal end portions 13, 15 of theshaft members 12, 14, respectively, and are configured to allow a user to effect movement of at least one of theshaft members 12 and 14 relative to one another. Theend effector 24 includes opposedjaw members 42, 44 extending from thedistal end portions 17 and 19 of theshaft members 12 and 14, respectively. Thejaw members 42, 44 are movable relative to each other in response to movement of theshaft members 12, 14.
Theshaft members 12 and 14 are fixed to one another about the pivot 25 such that movement of theshaft members 12, 14 causes thejaw members 42, 44 to move from a first configuration (fig. 9A), such as an open configuration, in which thejaw members 42, 44 are arranged in spaced relation relative to one another, to a second configuration (fig. 9B and 9C), such as a clamped or closed configuration, in which thejaw members 42, 44 cooperate to grasp tissue 150 (fig. 8) therebetween. In some embodiments, theforceps 10 may be configured such that movement of one or both of theshaft members 12, 14 causes only one of the jaw members to move relative to the other jaw member. The pivot shaft 25 includes a pair of generallysemi-circular apertures 25a, 25b disposed therethrough and is configured to be seated in a pivot aperture 29 (fig. 3) such that the pivot shaft 25 is allowed to freely rotate within thepivot aperture 29, as described in further detail below.
Eachshaft member 12 and 14 also includes aratchet portion 32 and 34, respectively. Eachratchet tooth 32, 34 extends from theproximal end portion 13, 15 of itsrespective shaft member 12, 14 toward the other ratchet tooth in a generally vertically aligned manner such that the inwardly facing surfaces of eachratchet tooth 32 and 34 abut each other when theshaft members 12, 14 are approximated. Eachratchet tooth 32 and 34 includes a plurality offlanges 31 and 33 (fig. 3), respectively, that project from the inwardly facing surface of eachratchet tooth 32 and 34 so that theratchet teeth 32 and 34 can interlock in one or more positions. In some embodiments, each ratchet position maintains a particular strain energy inshaft members 12 and 14 to apply a particular closing force to endeffector 24. At least one of the shaft members, such asshaft member 12, includes atang 99 that facilitates manipulation offorceps 20 during a surgical procedure and attachment ofelectrode assembly 21 tomechanical forceps 20, as will be described in greater detail below.
Referring to fig. 2 and 3, thedisposable electrode assembly 21 is configured to be releasably coupled to amechanical forceps 20, as described in detail below, and is operatively coupled to ahousing 70 having a pair ofhousing halves 70a, 70b that are configured to matingly engage and releasably contain at least a portion of theshaft member 14. Thehousing 70 also serves to house ascalpel 85 having a sharp distal cutting edge 89 (fig. 9C), ascalpel guide 86 having a longitudinal slot 87 (fig. 3) configured to receive thescalpel blade 85 therein, and a scalpel actuation mechanism 90 (fig. 3) configured to effect advancement of thescalpel blade 85 through a scalpel channel 58 (fig. 2) defined in one or both of theelectrodes 110, 120 to transect tissue, as described in further detail below. The interior of each of thehousing halves 70a, 70b may include a plurality of cooperating mechanical interfaces arranged at various locations to effect mechanical coupling of thehousing halves 70a, 70b to form thehousing 70.
As shown in fig. 4 and 5, a pair ofwires 61 and 62 are electrically connected toelectrodes 120 and 110, respectively, and are bundled to formcable 28 that extends throughhousing 70 and terminates in terminal connector 30 (fig. 1 and 3) that is configured to be mechanically and electrically coupled to a suitable energy source, such as an electrosurgical generator (not shown). An example of an electrosurgical generatorIs sold by Covidien
Figure BDA0001946454020000081
Vascular occlusion generator and
Figure BDA0001946454020000082
a generator. In some embodiments, one or both of thehandle members 16 and 18 may include a suitable mechanical interface (e.g., a wire holder) configured to releasably retain thecable 28 to help prevent thecable 28 from interfering with the surgeon's hand during operation of theforceps 10.
Referring now to fig. 3-7,electrode assembly 21 includes a generallycircular boss member 49 configured to be seated (e.g., friction fit) within acomplementary aperture 71 disposed through the distal end ofhousing half 70a to releasably attachelectrode assembly 21 thereto. Theelectrode assembly 21 is bifurcated such that twoprongs 103 and 105 extend distally therefrom to support theelectrodes 110 and 120, respectively. Theelectrode 120 includes an electricallyconductive sealing surface 126 configured to conduct electrically surgical energy therethrough and an electrically insulatingsubstrate 121 for electrically insulating thejaw member 42 from the sealingsurface 126. The sealingsurface 126 and thesubstrate 121 are attached to each other by any suitable assembly method, such as a snap-fit engagement or by overmolding thesubstrate 121 to the sealingsurface 126. In some embodiments, thesubstrate 121 is made of an injection molded plastic material. Thesubstrate 121 includes a plurality ofbifurcated anchor members 122 extending therefrom that are configured to be compressed during insertion into a corresponding plurality ofsockets 43 disposed at least partially through the inward-facing surface 47 (fig. 3) of thejaw member 44 and then expanded after insertion to releasably engage the correspondingsockets 43 to couple theelectrodes 120 to the inward-facingsurface 47. Thesubstrate 121 also includes alignment pins 124 (fig. 6) configured to engageholes 65 disposed at least partially through the inward-facingsurface 47 of thejaw member 44 to ensure proper alignment of theelectrode 120 with thejaw member 44 during assembly. Theconductive sealing surface 126 includes anextension 135 having awire crimp 117 configured to be inserted into thedistal end 106 of theprong 105 of theelectrode assembly 21 and electrically connected to the wire 61 (fig. 5) disposed therein.
Substantially as described above with respect toelectrode 120,electrode 110 includes an electricallyconductive sealing surface 116 configured to conduct electrically surgical energy therethrough and an electrically insulatingsubstrate 111 attached thereto, as shown in fig. 7. Thesubstrate 111 includes a plurality ofbifurcated anchor members 112 extending therefrom that are configured to compress during insertion into a respective plurality of sockets 41 disposed at least partially through the inwardly facing surface 45 (fig. 3) of thejaw member 42 and then expand after insertion to releasably engage the respective sockets 41 to couple theelectrodes 110 to the inwardly facingsurface 45. Thesubstrate 111 also includes alignment pins 128 (fig. 4) configured to engage theholes 67 disposed at least partially through the inward-facingsurface 45 of thejaw member 42 to ensure proper alignment of theelectrode 110 with thejaw member 42 during assembly. Sealingsurface 116 includes anextension 155 having awire crimp 119 configured to be inserted intodistal end 104 oftines 103 ofelectrode assembly 21 and electrically connected to wire 62 disposed therein. Thesubstrate 111 includes anextension 165 extending proximally therefrom and configured to couple to theextension 155 of the sealingsurface 116.
Referring to fig. 4, at least one of thefork members 103, 105 is flexible such that thefork members 105 and 103 are easily movable relative to each other. In some embodiments, theelectrode assembly 21 is removably attached to themechanical forceps 20 by initially moving theprongs 103, 105 toward each other. When thejaw members 42, 44 are in the open configuration, theelectrodes 120 and 110 may be slid between the opposingjaw members 44 and 42 such that the anchoringmembers 122 and 112 and the guide pins 124 and 128 may be aligned with and inserted into therespective sockets 43 and 41 orholes 65 and 67, respectively, to couple theelectrodes 120 and 110 with thejaw members 44 and 42, respectively. Thehousing halves 70a, 70b may then be releasably coupled to form thehousing 70 to contain at least a portion of theshaft member 14 in the manner described above.
To electrically controlend effector 24,housing 70 supports a pair ofdepressible actuation buttons 50a, 50b that are operable by a user to actuaterespective switches 60a, 60b disposed withinhousing 70. Although not specifically shown,switches 60a, 60b are electrically interconnected withwires 61, 62, respectively, and are used to initiate and terminate the delivery of electrosurgical energy from a suitable energy source to end-effector 24 to effect tissue closure.
Once tissue closure is established, thescalpel blade 85 can be advanced through thescalpel channel 58 to transect the closed tissue, as described in more detail below. However, in some embodiments, thescalpel blade 85 can be advanced through thescalpel channel 58 before, during, or after tissue closure. In some embodiments, ascalpel locking mechanism 80 is provided to prevent thescalpel blade 85 from extending into thescalpel channel 58 when thejaw members 42, 44 are in the open configuration, thus preventing accidental or premature transection of tissue, as described in more detail below.
Referring to fig. 3, ascalpel actuation mechanism 90 is operatively associated with thetrigger 45 having opposing handlemembers 45a, 45b extending from opposite sides of thehousing 70. When thehandle members 45a, 45b are actuated, theknife actuating mechanism 90 is responsive to actuating theknife blade 85 through theknife channel 58 using a series of cooperating elements to sever tissue grasped between thejaw members 42, 44, as described in detail below with reference to fig. 9C. More specifically, thescalpel actuation mechanism 90 includes afirst link 92 operatively coupled at one end to theshaft member 47 and at an opposite end to asecond link 94 by apivot pin 92 a. Theshaft member 47 extends laterally through thehousing 70 to operatively connect thehandle members 45a, 45b from opposite sides of thehousing 70. Thesecond link 94 is operatively coupled at one end to thefirst link 92 by apivot pin 92a and at the other end to the proximal end of thescalpel blade 85 by apivot pin 94a (fig. 9A). Theshaft member 14 defines alongitudinal slot 14a therethrough configured to receive the first andsecond links 92, 94 therein. When thehandle members 45a, 45b are actuated, the first andsecond links 92, 94 extend through thelongitudinal slot 14a and freely move therethrough, as described in further detail below with reference to fig. 9C.
A biasing member 95 (e.g., a torsion spring) is disposed coaxially around at least a portion of theshaft member 47 between thefirst link 92 and thehandle member 45 a. The biasingmember 95 is operatively coupled at one end to a portion of thefirst link 92 and at the other end to a suitable mechanical interface within thehousing 70 that supports or stabilizes the biasingmember 95 during use of thescalpel actuation mechanism 90. The biasingmember 95 serves to bias thetrigger 45 such that upon actuation of thescalpel blade 85 through the scalpel channel 58 (fig. 9C), thehandle members 45a, 45B are biased to return to the unactuated position (fig. 9A and 9B), thereby retracting thescalpel blade 85 proximally to the unactuated position (fig. 9A and 9B).
Referring to fig. 3, the pivot axle 25 includes a pair ofholes 25a, 25b disposed therethrough that are configured to receive a pair ofcomplementary projections 13a, 13b, respectively, therein that extend from thedistal end portion 17 of theshaft member 12 and define alongitudinal passageway 27 therebetween. Theprojections 13a, 13b extend sufficiently from the distal portion of theshaft member 14 such that theapertures 25a, 25b can receive theprojections 13a, 13b therein, respectively, while maintaining the pivot shaft 25 in spaced relation to the distal portion of theshaft member 14 to allow theknife guide 86 to be received through thepassageway 27. Movement of theshaft members 12, 14 relative to each other results in rotational movement of the pivot shaft 25 within thepivot hole 29.
Aknife guide 86 is supported withinhousing 70 betweenend effector 24 andknife actuating mechanism 90 and extends throughpassageway 27. Thelongitudinal slot 87 of thescalpel guide 86 provides lateral support for thescalpel blade 85 and limits left and right lateral movement of thescalpel blade 85. Thus, thedistal scalpel guide 86 serves to urge thescalpel blade 85 into a centered position relative to theend effector 24, thereby ensuring proper alignment of thescalpel blade 85 as thescalpel blade 85 enters the scalpel channel 58 (fig. 2) defined in theelectrodes 110, 120.
In some embodiments,forceps 10 include a scalpelblade locking mechanism 80 supported withinhousing 70 for preventing ascalpel blade 85 from being advanced intoscalpel channel 58 whenjaw members 42, 44 are in an open configuration (fig. 9A). Referring to fig. 3, the surgicalblade locking mechanism 80 includes asafety link 81 operatively coupled with a biasing member 83 (e.g., a leaf spring) and pivotally supported within thehousing 70. In the open configuration of thejaw members 42, 44, thescalpel blade 85 is in an unactuated position (fig. 9A and 9B) and thesafety link 81 is engaged with thepivot pin 94a (fig. 9A) such that distal advancement of thescalpel blade 85 is inhibited. As shown in fig. 1, thehousing 70 includes alongitudinal opening 70c that opposes theshaft member 12 and exposes the surgicalblade locking mechanism 80 such that thesafety link 81 is engaged by theshaft member 12 when theshaft members 12, 14 are approximated to move thejaw members 42, 44 to the closed position (fig. 9B). The pressure applied to thesafety link 81 by the approach of theshaft members 12, 14 serves to bias the biasingmember 83 against thescalpel blade 85 and in turn rotate thesafety link 81 clear of thepivot pin 94a (fig. 9B) such that thescalpel blade 85 is allowed to advance distally into the scalpel channel 58 (fig. 9C). The operation of thescalpel actuation mechanism 90, thescalpel locking mechanism 80, and the actuation of thescalpel blade 85 are further described below with reference to fig. 9A-9C.
The tissue closure thickness and tissue closure effect may be affected by the pressure applied to the tissue between thejaw members 44, 42 during tissue closure and the gap distance between the opposingelectrodes 110 and 120 (fig. 5). In the closed configuration, the separation or gap distance "G" may be maintained between the sealingsurfaces 116, 126 by an array of stop members 54 (fig. 2) disposed on one or both of the sealing surfaces 116, 126 (shown only as being disposed on the sealingsurface 126 for illustration purposes). Thestop member 54 contacts the sealing surface on the opposing jaw member and inhibits further access of the sealing surfaces 116, 126. In some embodiments, to provide effective tissue closure, a suitable gap distance of about 0.001 inch to about 0.010 inch, and desirably between about 0.002 to about 0.005 inch, can be provided. In some embodiments, thestop member 54 is constructed of a non-conductive plastic or other material molded onto the sealing surfaces 116, 126, such as by a process such as overmolding or injection molding. In other embodiments, thestop feature 54 is constructed of a heat resistant ceramic deposited onto the sealing surfaces 116, 126.
Fig. 8 showsbipolar forceps 10 during use, withshaft members 12 and 14 approximated to apply a clamping force totissue 150 and effect tissue closure. Once closed, thetissue 150 may be cut along the tissue closure by actuation of thesurgical blade 85, as described in detail below with reference to fig. 9A-9C.
In some embodiments, virtual tissuevascular test forceps 10 performance may be used. More specifically, the user may place a virtual tissue vessel between the sealingsurfaces 116, 126 and apply a clamping force to the vessel. The virtual tissue vessels may be, for example, any suitable plastic having impedance. The user may use the surgical instrument from a suitable electrosurgical generator, such as that sold by Covidien
Figure BDA0001946454020000121
Vascular occlusion generator and
Figure BDA0001946454020000122
the electrosurgical energy of the generator closes the virtual tissue vessel. The user may also actuate thehandle members 45a, 45b to advance thescalpel blade 85 through thescalpel channel 58 to cut closed the virtual tissue vessel. In this case, the electrosurgical generator may be configured to automatically run a test program for sensing the applied clamping force, the gap distance between the opposingelectrodes 110, 120 and/or the impedance of the virtual tissue vessel before, during or after closure. From this sensed information, the electrosurgical generator may be used to verify that theforceps 10 are in the proper working condition (e.g., proper clamping force, gap distance, etc.) after assembly of theelectrode assembly 21 to themechanical forceps 20 and prior to use of the assembledforceps 10 during vessel closure.
Referring now to fig. 9A, 9B and 9C, a sequence of movement may be initiated by moving theshaft members 12, 14 to close thejaw members 42, 44 and by rotating thehandle members 45a, 45B to cause thescalpel actuation mechanism 90 to translate thescalpel blade 85 through thescalpel channel 58. Initially, theshaft members 12, 14 are in an open configuration and thehandle members 45a, 45b are in an unactuated position, as shown in fig. 9A. This arrangement of theshaft members 12, 14 and thehandle members 45a, 45b maintains theend effector 24 in an open configuration with thejaw members 42, 44 substantially spaced apart from one another and thesurgical blade 85 in a retracted or proximal position relative to thejaw members 42, 44. The initial position of thehandle members 45a, 45B shown in fig. 9A and 9B is positively maintained by the influence of the biasingmember 95 on thetrigger 45. When thejaw members 42, 44 are in the open configuration, as shown in fig. 9A, thesafety link 81 is engaged with thepivot pin 94a such that rotational movement of thehandle members 45a, 45b in the proximal direction (depicted by rotational arrow a4 in fig. 9C) is inhibited such that thescalpel blade 85 is inhibited from advancing into thescalpel channel 58.
Thejaw members 42, 44 may be moved from the open configuration of fig. 9A to the closed configuration shown in fig. 9B. When theshaft members 12, 14 pivot about the pivot 25 in the directions of arrows a1 and a2 (fig. 9B), respectively, theshaft member 12 engages thesafety link 81. As theshaft members 12, 14 are further pivoted about the pivot 25 in the directions of arrows a1 and a2, respectively, theshaft member 12 applies a force to thesafety link 81 causing the biasingmember 83 to flex against the bias of thesurgical blade 85, thereby causing thesafety link 81 to rotate in the direction depicted by rotational arrow A3 in fig. 9B. Rotation of thesafety link 81 in the direction of rotational arrow a3 is used to move thesafety link 81 off of thepivot pin 94a as shown in fig. 9C.
When thesafety link 81 is moved clear of thepivot pin 94a, thehandle members 45a, 45B can be selectively moved from the unactuated configuration of fig. 9A and 9B to the actuated position of fig. 9C to distally advance thescalpel blade 85 through thescalpel channel 58. More specifically, when thehandle members 45a, 45b are rotated in a generally proximal direction depicted by rotational arrow a4 to the actuated configuration shown in fig. 9C, thefirst link 92 applies a rotational force to thesecond link 94, thereby causing thesecond link 94 to rotate about thepivot pin 94a and move in a generally distal direction to distally advance thesurgical blade 85 through theknife channel 58.
In some embodiments, theknife actuating mechanism 90 can be positioned relative to theshaft member 14 differently than depicted in fig. 3 for theknife actuating mechanism 90. For example, if thescalpel actuation mechanism 90 shown in FIG. 3 is disposed generally between theshaft members 14 and 12, in some embodiments, thescalpel actuation mechanism 90 can be disposed on an opposite side of theshaft member 14 such that theshaft member 14 is disposed between thescalpel actuation mechanism 90 and theshaft member 12. In this case, theshaft members 12, 14 may alternatively be configured to allow thescalpel blade 85 to be advanced through thelongitudinal passageway 27 defined by theprojections 13a, 13b (e.g., via the scalpel guides 86) and into thescalpel channel 58. For example, the respective distal ends 17, 19 of theshaft members 12, 14 can be configured in various interlocking relationships (e.g., a lock-and-box configuration) that facilitate the entry of thescalpel 85 into thescalpel channel 58 in various orientations relative to theshaft members 12, 14 and/or thescalpel channel 58.
While several embodiments of the disclosure have been shown in the drawings, the disclosure should not be limited thereto as it should be as broad in scope as the art will allow and the specification should be read likewise. Therefore, the above description should not be construed as limiting, but merely as exemplifications of particular embodiments. Those skilled in the art will envision other modifications within the scope and spirit of the claims appended hereto.
Although the foregoing disclosure has been described in some detail by way of illustration and example for purposes of clarity and understanding, it will be apparent that certain changes and modifications may be practiced within the scope of the appended claims.

Claims (11)

1. Bipolar forceps (10) comprising:
mechanical forceps (20) including first and second shafts (12, 14) each having jaw members (42, 44) extending from distal ends (17, 19) thereof and handles (16, 18) disposed at proximal ends (13, 15) thereof for effecting movement of the jaw members relative to each other about pivots (25) from a first position in which the jaw members are disposed in spaced relation to each other to a second position in which the jaw members cooperate to grasp tissue therebetween;
a disposable housing (70) comprising housing halves (70a, 70b) configured to matingly engage and releasably contain at least a portion of at least one of the first and second shafts;
an electrode assembly (21) associated with the disposable housing and having a first electrode (110) releasably coupleable to the jaw member of the first shaft and a second electrode (120) releasably coupleable to the jaw member of the second shaft, each of the first and second electrodes adapted to be connected to a source of electrosurgical energy to allow electrosurgical energy to be selectively conducted through tissue held therebetween;
at least one of the first and second electrodes includes a scalpel channel (58) defined along a length thereof, the scalpel channel configured to receive a scalpel blade (85) therethrough to cut tissue clamped between the jaw members;
an actuation mechanism (90) disposed at least partially within the disposable housing and configured to selectively advance the surgical blade through the surgical knife channel to cut tissue; and
a scalpel locking mechanism (80) configured to inhibit advancement of a scalpel blade into the scalpel channel when the jaw members are in the first position,
characterized in that the bipolar forceps further include a scalpel guide (86) supported within the disposable housing (70) and having a longitudinal slot (87) defined therethrough that receives a scalpel blade (85) therein to align the scalpel blade with the scalpel channel (58), wherein the scalpel guide (86) extends through a longitudinal slot (27) defined through the pivot (25).
2. The bipolar forceps (10) of claim 1, wherein the scalpel locking mechanism (80) moves from a first position of the scalpel locking mechanism, in which the scalpel locking mechanism engages the actuation mechanism (90) when the jaw members (42, 44) are in the first position of the jaw members, to a second position of the scalpel locking mechanism, in which the scalpel locking mechanism disengages the actuation mechanism when the jaw members (42, 44) are in the second position of the jaw members, to allow the scalpel blade (85) to be selectively advanced through the scalpel channel (58).
3. The bipolar forceps (10) of claim 1, wherein at least one of the first and second shafts (12, 14) is configured to engage the scalpel locking mechanism (80) and move the scalpel locking mechanism out of engagement with the actuation mechanism (90) to allow the scalpel blade (85) to advance through the scalpel channel (58) when the jaw members (42, 44) are moved to the second position.
4. The bipolar forceps (10) of any one of claims 1-3, further including at least one depressible button (50a, 50b) supported by the disposable housing (70), the at least one depressible button configured to selectively deliver electrosurgical energy to the first and second electrodes (110, 120).
5. The bipolar forceps (10) according to any one of claims 1 to 4, wherein the surgical blade (85) is configured to move within a longitudinal slot (27) defined through the pivot (25) as it translates.
6. The bipolar forceps (10) of any one of claims 1-5, further including at least one handle member (45a, 45b) configured to effect advancement of the scalpel blade (85) through the scalpel channel (58), the at least one handle member extending from the disposable housing (70) and being operably coupled to the actuation mechanism (90).
7. The bipolar forceps (10) of any one of claims 1-6, wherein each of the first and second electrodes (110, 120) includes a conductive sealing surface (116, 126) and an insulating substrate (111, 121) coupled to the conductive sealing surface.
8. The bipolar forceps (10) according to any one of claims 1 to 7, wherein each of the first and second electrodes (110, 120) includes at least one mechanical interface (112, 122) configured to complement a respective mechanical interface (41, 43) on one of the jaw members (42, 44) to releasably couple the electrode to the jaw member.
9. The bipolar forceps (10) according to any one of claims 1-8, wherein the actuation mechanism (90) includes a first biasing member (95) configured to bias the actuation mechanism to an unactuated position.
10. The bipolar forceps (10) according to any one of claims 1-9, wherein the scalpel locking mechanism (80) includes a safety link (81) operably coupled with a second biasing member (83) and pivotally supported within the disposable housing (70), wherein the safety link is configured to engage a pivot pin (94a) of the actuation mechanism (90) to inhibit advancement of the scalpel blade (85) into the scalpel channel (58) when the jaw members (42, 44) are in the jaw members' first position.
11. The bipolar forceps (10) of claim 10, wherein at least one of the first and second shafts (12, 14) is configured to engage the safety link (81) and move the safety link (81) out of engagement with the pivot pin (94a) to allow the scalpel blade (85) to advance through the scalpel channel (58) when the jaw members (42, 44) are moved to the jaw members second position.
CN201910037639.XA2013-08-072014-08-07Bipolar surgical instrumentActiveCN109512506B (en)

Applications Claiming Priority (3)

Application NumberPriority DateFiling DateTitle
CNPCT/CN2013/0809532013-08-07
PCT/CN2013/080953WO2015017994A1 (en)2013-08-072013-08-07Bipolar surgical instrument
CN201410384505.2ACN104337571B (en)2013-08-072014-08-07 Bipolar Surgical Instruments

Related Parent Applications (1)

Application NumberTitlePriority DateFiling Date
CN201410384505.2ADivisionCN104337571B (en)2013-08-072014-08-07 Bipolar Surgical Instruments

Publications (2)

Publication NumberPublication Date
CN109512506A CN109512506A (en)2019-03-26
CN109512506Btrue CN109512506B (en)2022-03-22

Family

ID=52494583

Family Applications (2)

Application NumberTitlePriority DateFiling Date
CN201910037639.XAActiveCN109512506B (en)2013-08-072014-08-07Bipolar surgical instrument
CN201410384505.2AActiveCN104337571B (en)2013-08-072014-08-07 Bipolar Surgical Instruments

Family Applications After (1)

Application NumberTitlePriority DateFiling Date
CN201410384505.2AActiveCN104337571B (en)2013-08-072014-08-07 Bipolar Surgical Instruments

Country Status (1)

CountryLink
CN (2)CN109512506B (en)

Families Citing this family (5)

* Cited by examiner, † Cited by third party
Publication numberPriority datePublication dateAssigneeTitle
EP3422990A4 (en)*2016-03-042019-11-13Covidien LP REVERSE KINEMATIC CONTROL SYSTEMS FOR SURGICAL ROBOTIC SYSTEM
US10722223B2 (en)*2017-05-312020-07-28Medos International SarlCoupling devices for surgical instruments and related methods
EP4079240B1 (en)*2021-04-192023-11-15Erbe Elektromedizin GmbHBlade cartridge for a surgical instrument
CN116687549A (en)*2022-02-252023-09-05以诺康医疗科技(苏州)有限公司Scissor type current integrated surgical instrument
CN115607267B (en)*2022-10-212024-03-29南京首量医疗科技有限公司Reusable high-frequency electrosurgical closer

Citations (3)

* Cited by examiner, † Cited by third party
Publication numberPriority datePublication dateAssigneeTitle
US6019758A (en)*1996-01-112000-02-01Symbiosis CorporationEndoscopic bipolar multiple sample bioptome
CN101522127A (en)*2006-10-062009-09-02Tyco医疗健康集团Endoscopic vessel sealing and dissection device with flexible articulated shaft
CN102525639A (en)*2010-10-042012-07-04Tyco医疗健康集团Vessel sealing instrument

Family Cites Families (4)

* Cited by examiner, † Cited by third party
Publication numberPriority datePublication dateAssigneeTitle
US7276068B2 (en)*2002-10-042007-10-02Sherwood Services AgVessel sealing instrument with electrical cutting mechanism
US7632269B2 (en)*2004-01-162009-12-15Ethicon Endo-Surgery, Inc.Electrosurgical instrument with replaceable cartridge
CN2868227Y (en)*2005-10-242007-02-14钟李宽Five-in-one cutting knife
CN204274634U (en)*2014-08-072015-04-22柯惠有限合伙公司Bipolar surgical instrument

Patent Citations (3)

* Cited by examiner, † Cited by third party
Publication numberPriority datePublication dateAssigneeTitle
US6019758A (en)*1996-01-112000-02-01Symbiosis CorporationEndoscopic bipolar multiple sample bioptome
CN101522127A (en)*2006-10-062009-09-02Tyco医疗健康集团Endoscopic vessel sealing and dissection device with flexible articulated shaft
CN102525639A (en)*2010-10-042012-07-04Tyco医疗健康集团Vessel sealing instrument

Also Published As

Publication numberPublication date
CN104337571A (en)2015-02-11
CN104337571B (en)2019-01-22
CN109512506A (en)2019-03-26

Similar Documents

PublicationPublication DateTitle
US11612428B2 (en)Bipolar surgical instrument
US11826090B2 (en)Bipolar surgical instrument
US11224476B2 (en)Bipolar surgical instrument
CN104434298A (en)Bipolar surgical instrument with tissue limiting piece
CN109512506B (en)Bipolar surgical instrument
JP2017060845A (en)Bipolar surgical instrument
AU2015264858B2 (en)Bipolar surgical instrument
CN204106191U (en)Bipolar forceps
JP2017060846A (en) Bipolar surgical instrument
CN104665925B (en)bipolar forceps

Legal Events

DateCodeTitleDescription
PB01Publication
PB01Publication
SE01Entry into force of request for substantive examination
SE01Entry into force of request for substantive examination
GR01Patent grant
GR01Patent grant

[8]ページ先頭

©2009-2025 Movatter.jp