Movatterモバイル変換


[0]ホーム

URL:


CN109493694B - Blind reader and method of using the blind reader - Google Patents

Blind reader and method of using the blind reader
Download PDF

Info

Publication number
CN109493694B
CN109493694BCN201910048338.7ACN201910048338ACN109493694BCN 109493694 BCN109493694 BCN 109493694BCN 201910048338 ACN201910048338 ACN 201910048338ACN 109493694 BCN109493694 BCN 109493694B
Authority
CN
China
Prior art keywords
blind
touch
sensing
display
reader
Prior art date
Legal status (The legal status is an assumption and is not a legal conclusion. Google has not performed a legal analysis and makes no representation as to the accuracy of the status listed.)
Active
Application number
CN201910048338.7A
Other languages
Chinese (zh)
Other versions
CN109493694A (en
Inventor
刘小龙
王志会
王迪
朱昌功
王广
孙贺
Current Assignee (The listed assignees may be inaccurate. Google has not performed a legal analysis and makes no representation or warranty as to the accuracy of the list.)
BOE Technology Group Co Ltd
Chongqing BOE Optoelectronics Technology Co Ltd
Original Assignee
BOE Technology Group Co Ltd
Chongqing BOE Optoelectronics Technology Co Ltd
Priority date (The priority date is an assumption and is not a legal conclusion. Google has not performed a legal analysis and makes no representation as to the accuracy of the date listed.)
Filing date
Publication date
Application filed by BOE Technology Group Co Ltd, Chongqing BOE Optoelectronics Technology Co LtdfiledCriticalBOE Technology Group Co Ltd
Priority to CN201910048338.7ApriorityCriticalpatent/CN109493694B/en
Publication of CN109493694ApublicationCriticalpatent/CN109493694A/en
Application grantedgrantedCritical
Publication of CN109493694BpublicationCriticalpatent/CN109493694B/en
Activelegal-statusCriticalCurrent
Anticipated expirationlegal-statusCritical

Links

Images

Classifications

Landscapes

Abstract

Translated fromChinese

本发明公开了一种盲人阅读器及利用盲人阅读器的方法,涉及电子显示设备技术领域,解决了传统盲人阅读器的机械结构过于复杂,不适用于随身佩带;且只能够对文字进行显示读取,而复杂的图片或线条等包含信息量大的信息则不能够被转换的问题。本发明的主要技术方案为:一种盲人阅读器,其包括显示设备和触觉传感设备,显示设备上设有触控面板;触觉传感设备佩戴于人体的第一位置,用于与触控面板接触并对应接触区域的图文信息做出响应,刺激所述第一位置;其中,触觉传感设备与触控面板接触,触觉传感设备对应触摸区域的图文信息的形状在其与第一位置接触处产生相应的凸起或震动,用于表达所述触摸区域的图文信息;使盲人阅读信息得到极大丰富。

Figure 201910048338

The invention discloses a blind reader and a method for using the blind reader, relates to the technical field of electronic display devices, and solves the problem that the mechanical structure of the traditional blind reader is too complicated and is not suitable for being worn around; and it can only display and read characters. However, the problem that complex pictures or lines containing a large amount of information cannot be converted. The main technical scheme of the present invention is: a reader for the blind, which includes a display device and a tactile sensing device, the display device is provided with a touch panel; The panel contacts and responds to the graphic information of the contact area, and stimulates the first position; wherein, the tactile sensing device is in contact with the touch panel, and the shape of the graphic information corresponding to the touch area of the tactile sensing device is between the shape of the graphic information and the first position. Corresponding bumps or vibrations are generated at the contact point of a position, which is used to express the graphic information of the touch area, which greatly enriches the reading information for the blind.

Figure 201910048338

Description

Blind person reader and method using same
Technical Field
The invention relates to the technical field of electronic display equipment, in particular to a blind person reader and a method for utilizing the blind person reader.
Background
The blind person reader is a device which can enable the blind person to read any text; the existing blind person readers are mainly of two types, one type is that after the device takes a picture, the Internet cloud processing technology is used for recognizing characters and converting the characters into a voice mode, so that the blind person can listen to the voice mode; the other is to transmit the literal information to the braille display machine, the device forms a dot matrix by punching holes on a flat surface, and the blind can read by touching.
However, for the two types of blind person readers, the information processing efficiency is low, the mechanical structure is too complex, and the blind person readers are not suitable for being worn on the person; in addition, the device can only display and read characters, the content of information presented at a time is small, and complicated pictures or lines and other information with large information content cannot be converted.
Disclosure of Invention
In view of the above, the embodiment of the invention provides a blind reader and a method using the blind reader, and mainly aims to solve the problems that the traditional blind reader is low in information processing efficiency, too complex in mechanical structure and not suitable for being worn on person; and the device can only display and read characters, the single-time presentation of information smelting is small, and complicated pictures or lines and other information with large information content cannot be converted.
In order to achieve the purpose, the invention mainly provides the following technical scheme:
in one aspect, an embodiment of the present invention provides a reader for blind people, including:
the display device is provided with a touch panel;
the touch sensing equipment is worn at a first position of a human body and is used for contacting the touch panel, protruding or vibrating image-text information of a corresponding contact area and stimulating the first position;
the touch sensing device is in contact with the touch panel, and corresponding bulges or vibrations are generated at the contact position of the touch sensing device and the first position corresponding to the shape of the image-text information of the touch area, so as to express the image-text information of the touch area.
The purpose and the technical problem to be solved can be further realized by adopting the following technical measures;
optionally, in the reader for the blind, the touch panel is provided with sensing pixels, and the sensing pixels are correspondingly matched with display pixels on the display device and used for expressing image-text information on the display device;
the touch sensing equipment is provided with sensing pixels, and the sensing pixels are matched with the sensing pixels to correspondingly generate bulges or vibration.
Optionally, in the reader for the blind, the display device includes a first microelectronic device and a second microelectronic device, and the first microelectronic device, the second microelectronic device, and the touch panel are electrically connected in pairs;
the first microelectronic device is configured to identify a touch area of the tactile sensing apparatus and to communicate positional information to the second microelectronic device;
the second microelectronic device is a programmable device and is used for identifying and responding to the image-text information of the touch area;
the first microelectronic device identifies a touch area of the touch sensor and transmits position information to the second microelectronic device, the second microelectronic device identifies image-text information of the touch area and transmits the image-text information to a sensing pixel of the touch sensor, and the sensing pixel generates corresponding projection or vibration to represent the image-text information of the touch position.
Optionally, in the blind reader, the second microelectronic device controls the brightness display of the display device; the touch panel is touched by the touch sensing equipment, and the second microelectronic device controls the lighting and brightness of the touch area or the whole display equipment.
Optionally, in the reader for blind people, the touch panel is disposed on a liquid crystal panel of the display device or embedded in a display pixel of the display device.
Optionally, in the reader for blind persons, the sensing pixels are a plurality of sensors, and the plurality of sensors are composed of a plurality of piezoelectric materials or a micro vibration mechanism and used for generating a protrusion or vibrating to stimulate the first position.
Optionally, in the reader for blind people, the first position is a finger, a fingertip, a finger pad or a palm.
On the other hand, the embodiment of the invention also provides a method for utilizing the blind reader, which comprises the following steps:
the blind person wears the touch sensing equipment to a first position of the human body;
the blind person moves the touch sensing equipment to make the touch sensing equipment contact with a touch panel of display equipment, and the display equipment responds;
the shape of the image-text information of the contact area corresponding to the touch sensing equipment is raised or vibrated and is transmitted to the first position of the human body.
Optionally, the blind person moves the touch sensing device to make the touch sensing device contact with a touch panel of a display device, and the display device responds;
wherein a first microelectronic device of the display device transfers positional information of the contact region to a second microelectronic device, which controls the contact region or the entire display device to light up and recognize graphical and textual information of the contact region.
Optionally, the shape of the image-text information of the contact area corresponding to the tactile sensing device is raised or vibrated and transmitted to the first position of the human body;
the second microelectronic device of the display device recognizes the image-text information of the contact area and transmits the image-text information to the touch sensing device, sensing pixels on the touch sensing device protrude or vibrate corresponding to the shape of the image-text information, the blind generates touch, and the image-text information and the strength of the image-text information expressed by the display device in the contact area are received.
By the technical scheme, the blind reader and the method for utilizing the blind reader at least have the following advantages: the display equipment is matched with the touch sensing equipment to finish the auxiliary reading for the blind, large-scale equipment such as a camera or bump printing and the like is not needed, the mechanical structure is greatly simplified, the information processing efficiency is improved, and the portable touch screen is convenient to carry; meanwhile, the shape of the touch sensing equipment is transmitted to the first position of the human body in a convex or vibration stimulation mode according to the image-text information on the display equipment, so that the blind can really feel the touch screen, a vivid picture is formed in the brain, the touch screen is not limited to braille and voice broadcasting for reading, and the amount of information presented at a single time is large.
Drawings
Fig. 1 is a schematic partial cross-sectional structure diagram of a reader for blind persons according to an embodiment of the present invention;
FIG. 2 is a schematic diagram of a blind reader according to an embodiment of the present invention;
FIG. 3 is a schematic diagram of a distribution of sensing pixels on a tactile sensing device in a reader for blind persons according to an embodiment of the present invention;
FIG. 4 is a schematic diagram of another distribution of sensing pixels on a tactile sensing device in a reader for blind persons according to an embodiment of the present invention;
FIG. 5 is a schematic diagram of another distribution of sensing pixels on a tactile sensing device in a reader for blind persons according to an embodiment of the present invention;
FIG. 6 is a schematic view of pixel scanning in a reader for blind persons according to an embodiment of the present invention;
fig. 7 is a flowchart illustrating a method for using a blind reader according to an embodiment of the present invention.
Detailed Description
To further explain the technical means and effects of the present invention adopted to achieve the predetermined purpose, the following detailed description will be made on the embodiments, structures, features and effects of the reader for blind persons and the method using the reader for blind persons according to the present invention with reference to the accompanying drawings and preferred embodiments. In the following description, different "one embodiment" or "an embodiment" refers to not necessarily the same embodiment. Furthermore, the particular features, structures, or characteristics may be combined in any suitable manner in one or more embodiments.
In order to solve the technical problems, the embodiment of the invention has the following general idea:
example 1
Referring to fig. 1, a reader for blind persons according to an embodiment of the present invention includes a display device 1 and atactile sensing device 2; atouch panel 11 is arranged on the display device 1; thetouch sensing equipment 2 is worn at a first position of a human body and is used for contacting with thetouch panel 11 and generating protrusion or vibration corresponding to image-text information of a contact area to stimulate the first position;
thetouch sensing device 2 is in contact with thetouch panel 11, and the shape of thetouch sensing device 2 corresponding to the graphic and text information of the touch area generates a corresponding bulge or vibration at the contact position of thetouch sensing device 2 and the first position, so as to express the graphic and text information of the touch area
Particularly, the reader is not suitable for being worn by a user in order to solve the problems that the traditional reader for the blind has low information processing efficiency and too complex mechanical structure; the embodiment of the invention provides a reader for blind people, which comprises a display device 1 and atouch sensing device 2, and solves the problems that the reader can only display and read characters, has small information amount in single presentation, and cannot convert complex pictures or lines containing large information amount; the display device 1 is a TFT flat panel display device, namely a thin film transistor liquid crystal display device, has a network connection function, and can update information in real time; the display device 1 adopts a TFT LCD or OLED display technology and adopts color or gray scale display, and the display device 1 is different from the traditional TFT display device in that the resolution of the display device 1 adopted by the invention is lower, namely, the display device 1 has fewer pixels displayed in unit area; meanwhile, the aperture opening ratio of the display device 1 is low, namely, the effective light transmittance of the display device 1 can be very low, and the characteristics are specially designed for the blind; thetouch sensing equipment 2 is conversion equipment worn at a first position of a human body, converts the shape or outline of image-text information on the display equipment 1 into a bulge or vibration, stimulates the first position, and further enables a blind person to feel composition in the brain and sea; thetouch sensing device 2 is in contact with thetouch panel 11 on the display device 1, and when the area in contact with thetouch sensor 2 has the text information, thetouch sensing device 2 will protrude correspondingly at the first position of the human body, and if the text information is only text information, thetouch sensing device 2 will protrude along the shape of thetouch sensing device 2 touching the text information; if the graphic information includes a three-dimensional shape such as a peak, thetactile sensing device 2 may protrude along a shape profile of the peak touched by thetactile sensing device 2, and vibrate at the peak or a valley; on the contrary, if there is no image-text information in the area where thetouch sensing device 2 and thetouch panel 11 are in contact with each other, thetouch sensing device 2 does not respond.
According to the list, in the technical scheme adopted by the invention, the display device 1 is matched with thetouch sensing device 2 to finish the auxiliary reading for the blind person, large-scale devices such as a camera or bump printing and the like are not needed, the mechanical structure is greatly simplified, and the device is convenient to carry; meanwhile, the shape of thetouch sensing device 2 is transmitted to the first position of the human body in a protruding or vibration stimulation mode according to the image-text information on the display device 1, so that the blind can feel truly, and meanwhile, a vivid picture is formed in the mind and does not need to be limited to braille and voice broadcast reading.
The term "and/or" herein is merely an association describing an associated object, meaning that three relationships may exist, e.g., a and/or B, with the specific understanding that: both a and B may be included, a may exist alone, or B may exist alone, and any of the three cases can be provided.
Further, referring to fig. 1, in a specific implementation, an embodiment of the present invention provides a reader for blind people, where in the specific implementation, aninduction pixel 111 is disposed on thetouch panel 11, and theinduction pixel 111 is correspondingly matched with adisplay pixel 112 on the display device 1, and is used for expressing image-text information on the display device 1; thetouch sensing device 2 is provided with asensing pixel 211, and thesensing pixel 211 is matched with thesensing pixel 111 to generate a bulge or vibration correspondingly.
Specifically, in order to realize that the corresponding image-text information is raised or vibrated after thetouch sensing device 2 is contacted with thetouch panel 11, in the technical scheme adopted by the invention, aninduction pixel 111 is arranged on thetouch panel 11, theinduction pixel 111 is correspondingly matched with adisplay pixel 112 on the display device 1, and the image-text information to be expressed by the display device 1 is expressed on theinduction pixel 111, wherein theinduction pixel 111 is a unit for storing, inducing and transferring electric charges on thetouch panel 11; thedisplay pixel 112 refers to a unit having a light-emitting display function on the display device 1; thesensing pixel 211 is a unit which is in contact with a first position of a human body on thetouch sensing device 2 to enable the blind person to feel touch; referring to fig. 3, 4 and 5, the corresponding matching means that thesensing pixel 111 and thedisplay pixel 112 physically correspond to each other, but the pixel density is different in a unit area, so that asmany display pixels 211 as possible can be displayed in a unit area when a limited number of thesensing pixels 211 are in contact with thesensing pixel 111; when the sensing pixel 211 (the touch sensing device 2) is in contact with the sensing pixel 111 (the touch panel 11), the sensing pixel 111 (the touch panel 11) transmits the graphic information expressed by the corresponding display pixel 112 (the display device 1) to the sensing pixel 211 (the touch sensing device 2), so that when the sensing pixel 211 (the touch sensing device 2) touches a certain position of thetouch panel 11 with the graphic information, the sensing pixel 211 (the touch sensing device 2) generates corresponding protrusion or vibration.
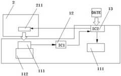
Further, referring to fig. 2, in a specific implementation of the reader for blind people according to an embodiment of the present invention, the display device 1 includes a firstmicroelectronic device 12 and a secondmicroelectronic device 13, and the firstmicroelectronic device 12, the secondmicroelectronic device 13, and thetouch panel 11 are electrically connected to each other in pairs;
the firstmicroelectronic device 12 is used to identify the touch area of thetactile sensing apparatus 2 and to communicate position information to the secondmicroelectronic device 13;
the secondmicroelectronic device 13 is a programmable device, and the secondmicroelectronic device 13 is used for identifying and responding to the graphic and text information of the touch area;
wherein the firstmicroelectronic device 12 identifies a touch area of thetactile sensor 2 and transmits position information to the secondmicroelectronic device 13, the secondmicroelectronic device 13 identifies graphic information of the touch area and transmits the graphic information to thesensing pixel 211 of thetactile sensor 2, and thesensing pixel 211 generates corresponding graphic information representing the touch position by a bump or vibration.
Specifically, in order to achieve accurate response to image-text information, avoid using a camera or a braille printing large-scale device, and improve information processing efficiency, in the technical scheme adopted by the present invention, a firstmicroelectronic device 12 and a secondmicroelectronic device 13 are arranged in the display device 1, wherein the firstmicroelectronic device 12 is a microelectronic device (IC1) or an integrated circuit in the field, and is electrically connected to thetouch panel 11, and is configured to identify a position where capacitance change occurs when the sensing pixel 211 (the tactile sensing device 2) and the sensing pixel 111 (the touch panel 11) are in contact; the secondmicroelectronic device 13 is a programmable microelectronic device (IC2), which is a conventional programmable microelectronic device in the art or is called a programmable integrated circuit, the secondmicroelectronic device 13 is electrically connected to the secondmicroelectronic device 12 and thetouch panel 11 at the same time, receives the position information of the contact area of the firstmicroelectronic device 12, identifies the graphic information (DATE) of the position, and transmits the graphic information (DATE) to the tactile sensing device 2 (sensing pixel 211) through the touch panel 11 (sensing pixel 111), so that the graphic information expressed by the display device 1 (display pixel 112) corresponding to the tactile sensing device 2 (sensing pixel 211) is correspondingly raised or vibrated; referring to fig. 6, the process of transmitting the graphic information to thesensing pixel 211 by the secondmicroelectronic device 13 is a scanning process, and information expressed by thedisplay pixel 112 scanned by the second microelectronic device is transmitted to thesensing pixel 211 according to a certain timing sequence, where the scanning timing sequence may be column-by-column scanning, row-by-row scanning, dot scanning, or other scanning modes; FIG. 6 is a column-by-column scan, which is illustrated by S1-S4-S7 …, and so on; after each sensingpixel 211 is scanned by the secondmicroelectronic device 13, the information of the scanneddisplay pixel 112 is maintained for a period of time until thenext display pixel 112 is scanned in the next time, and the plurality ofsensing pixels 211 sequentially respond to the information of thedisplay pixels 112 to form the whole sensing matrix, i.e., the response of thetactile sensing device 2.
Further, referring to fig. 2, in a specific implementation of the reader for blind persons according to the embodiment of the present invention, the secondmicroelectronic device 13 controls the brightness display of the display device 1; wherein, thetouch sensing device 2 touches thetouch panel 11, and the secondmicroelectronic device 13 controls the touch area or the whole display device 1 to light up and brightness.
Specifically, in order to reduce the power consumption of the display device 1 and enable normal people to help the blind person read, in the technical scheme adopted by the present invention, the secondmicroelectronic device 13 is endowed with a function of controlling the luminance display of the display device 1 during the programming process, when thetactile sensing device 2 touches the touch panel 1, the firstmicroelectronic device 12 transmits the position information of the contact area to the secondmicroelectronic device 13, and then the secondmicroelectronic device 13 controls thedisplay pixels 112 of the contact area of the display device 1 to light up, or when normal visible people are needed to help the blind person read together, the display mode of the display device 1 can be adjusted, that is, the secondmicroelectronic device 13 controls the display device 1 to light up normally; further, the secondmicroelectronic device 13 can process and control the brightness and darkness of the graphic information displayed on the display device 1 and transmit the graphic information to thetactile sensing device 2, for example, when the brightness and darkness of the graphic information are different, the secondmicroelectronic device 13 can control the strength or degree of the protrusion or vibration of thetactile sensing device 2 to be different.
Further, in a specific implementation of the reader for blind people provided in the embodiment of the present invention, thetouch panel 11 is disposed on a liquid crystal panel of the display device 1 or embedded in thedisplay pixels 112 of the display device 1.
Specifically, In order to realize diversification and simplification of the display device 1, In the technical scheme adopted by the present invention, the manner In which thetouch panel 11 is disposed On the display panel 1 is defined as an On Cell or an In Cell, where the In Cell is to embed thetouch panel 11 into thedisplay pixels 112 of the display device 1, and the On Cell is to embed thetouch panel 11 between the color filter substrate and the polarizing plate of the display device 1; compared with the In Cell technology, the On Cell has the advantages that the difficulty is reduced, the manufacturing difficulty is reduced, and the manufacturing cost is reduced.
Further, referring to fig. 3, 4 and 5, in a specific implementation of the reader for blind persons according to an embodiment of the present invention, thesensing pixel 211 is a plurality of sensors, and the plurality of sensors are composed of a plurality of piezoelectric materials or micro-vibration mechanisms, and are configured to generate a protrusion or vibration to stimulate the first position.
Specifically, in order to simplify the mechanical structure, in the technical scheme adopted by the present invention, thesensing pixels 211 on thetactile sensing device 2 are set as sensors, eachsensing pixel 211 is an independent sensor, so that thesensing pixel 211 itself is used as the output end of thetactile sensing device 2, and the sensor is set to be composed of a piezoelectric material or a micro vibration mechanism, wherein the piezoelectric material utilizes the piezoelectric effect to generate the protrusion effect on thesensing pixel 211; the micro-vibration mechanism is turned on by an electrical signal to generate a vibration effect on thesensing pixel 211.
Further, in a specific implementation of the reader for blind people according to an embodiment of the present invention, the first position is a finger, a fingertip, a finger pad, or a palm.
Specifically, in order to improve the touch feeling of the blind, in the technical scheme adopted by the invention, thetouch sensing equipment 2 is worn at a first position of a human body, wherein when the first position is a finger or a fingertip, thetouch sensing equipment 2 is a finger stall and is used for stimulating the finger belly of the blind; when the first position is a palm, thetouch sensing equipment 2 is a glove and is used for stimulating the palm of the blind; meanwhile, thetactile sensing device 2 may be configured in the form of a dedicated slider or the like, for example, thetactile sensing device 2 is configured in the form of a stamp, and thesensing pixel 211 is in contact with a human hand on the surface of the stamp and performs a protrusion or vibration stimulation; in addition, the response form of thetactile sensing device 2 is not limited to protrusion or vibration, and may also include a cold-heat sensing response, for example, a heating resistance wire is disposed in thesensing pixel 211, and the response principle refers to the above embodiments, and is not described herein again.
Example 2
Referring to fig. 7, an embodiment of the present invention provides a method for using the blind reader, which includes the following steps:
s1, the blind person wears thetouch sensing device 2 to a first position of the human body;
s2, the blind moves thetouch sensing device 2 to make the touch sensing device contact with thetouch panel 11 of the display device 1, and the display device 1 responds;
and S3, the shape of the image-text information of the corresponding contact area of thetouch sensing device 2 is raised or vibrated and transmitted to the first position of the human body.
Specifically, in order to enable the blind to enrich the reading content, in the technical scheme adopted by the invention, the touch sensing equipment 2 is a conversion equipment worn at a first position of a human body, converts the shape or outline of image-text information on the display equipment 1 into a bulge or vibration, stimulates the first position, and further enables the blind to feel composition in the brain and sea; the touch sensing device 2 is in contact with the touch panel 11 on the display device 1, and when the area in contact with the touch sensor 2 has the text information, the touch sensing device 2 will protrude correspondingly at the first position of the human body, and if the text information is only text information, the touch sensing device 2 will protrude along the shape of the touch sensing device 2 touching the text information; if the graphic information includes a three-dimensional shape such as a peak, the tactile sensing device 2 may protrude along a shape profile of the peak touched by the tactile sensing device 2, and vibrate at the peak or a valley; on the contrary, if there is no image-text information in the area where the touch sensing device 2 and the touch panel 11 are in contact with each other, the touch sensing device 2 does not respond.
Further, in the method using the blind reader according to the embodiment of the present invention, in S2, the blind moves thetactile sensing device 2 to make it contact with thetouch panel 11 of the display device 1, and the display device 1 responds;
further comprising S21, the firstmicroelectronic device 12 of the display device 1 transferring the position information of the contact area to the secondmicroelectronic device 13; s22 and S23, the secondmicroelectronic device 13 controls the contact area or the whole display device 1 to light up and recognize the teletext information of the contact area.
Specifically, in order to flexibly apply a blind person reader and achieve the effect that a visual person assists a blind person to read, in the technical scheme adopted by the present invention, the secondmicroelectronic device 13 is endowed with a function of controlling the luminance display of the display device 1 in the programming process, when thetactile sensing device 2 touches the touch panel 1, the firstmicroelectronic device 12 transmits the position information of a contact area to the secondmicroelectronic device 13, and then the secondmicroelectronic device 13 controls thedisplay pixels 112 of the contact area of the display device 1 to light up, or when a normal visual person is needed to help to read with the blind person, the display mode of the display device 1 can be adjusted, that is, the secondmicroelectronic device 13 controls the display device 1 to light up; further, the secondmicroelectronic device 13 can process and control the brightness and darkness of the graphic information displayed on the display device 1 and transmit the graphic information to thetactile sensing device 2, for example, when the brightness and darkness of the graphic information are different, the secondmicroelectronic device 13 can control the strength or degree of the protrusion or vibration of thetactile sensing device 2 to be different.
Further, in the method using the blind reader according to the embodiment of the present invention, S3, the shape of the image-text information of the contact area corresponding to thetactile sensing device 2 is raised or vibrated and transmitted to the first position of the human body;
the secondmicroelectronic device 13 of the display device 1 recognizes the graphic information of the contact area and transmits the graphic information to thetactile sensing device 2, the sensingpixels 211 on thetactile sensing device 2 generate a protrusion or vibration corresponding to the shape of the graphic information, and the blind generates a tactile sensation and receives the graphic information and the intensity expressed by the display device 1 in the contact area.
Specifically, in order to improve the touch feeling of the blind and enable the blind to experience a real touch feeling, in the technical scheme adopted by the invention, thetouch sensing equipment 2 is in contact with thetouch panel 11 on the display equipment 1, and under the condition that the contact area of thetouch sensing equipment 2 has image-text information, the contact position of thetouch sensing equipment 2 and the first position of the human body generates a corresponding bulge, and meanwhile, if the image-text information is only text information, thetouch sensing equipment 2 generates a bulge along the shape of thetouch sensing equipment 2 touching the text information; if the graphic information includes a three-dimensional shape such as a peak, thetactile sensing device 2 may protrude along a shape profile of the peak touched by thetactile sensing device 2, and vibrate at the peak or a valley; on the contrary, if there is no image-text information in the area where thetouch sensing device 2 and thetouch panel 11 are in contact with each other, thetouch sensing device 2 does not respond.

Claims (9)

1. A reader for blind persons, characterized in that it comprises:
the display device is provided with a touch panel;
the touch sensing equipment is worn at a first position of a human body and is used for contacting the touch panel, protruding or vibrating image-text information of a corresponding contact area and stimulating the first position;
the touch sensing equipment is contacted with the touch panel, and corresponding bulges or vibrations are generated at the contact position of the touch sensing equipment and the first position corresponding to the shape of the image-text information of the contact area, so as to express the image-text information of the contact area;
the touch panel is provided with induction pixels, and the induction pixels are correspondingly matched with display pixels on the display equipment and used for expressing image-text information on the display equipment;
the touch sensing equipment is provided with sensing pixels, and the sensing pixels are matched with the sensing pixels to correspondingly generate bulges or vibration.
2. The blind reader of claim 1, wherein;
the display device comprises a first microelectronic device and a second microelectronic device, and the first microelectronic device, the second microelectronic device and the touch panel are electrically connected with each other in pairs;
the first microelectronic device is configured to identify a contact region of the tactile sensing apparatus and to communicate positional information to the second microelectronic device;
the second microelectronic device is a programmable device and is used for identifying and responding to the image-text information of the contact area;
wherein the first microelectronic device identifies a contact area of the tactile sensor and transmits positional information to the second microelectronic device, the second microelectronic device identifies graphical information of the contact area and transmits onto a sensing pixel of the tactile sensor, the sensing pixel generates a corresponding protrusion or vibration representing the graphical information of the contact area.
3. The blind reader of claim 2, wherein;
the second microelectronic device controls a luminance display of the display device; the touch panel is touched by the touch sensing device, and the second microelectronic device controls the contact area or the whole display device to be lighted up and brightness.
4. The blind reader of claim 1, wherein;
the touch panel is arranged on a liquid crystal panel of the display device or embedded in a display pixel of the display device.
5. Blind person reader according to claim 1, characterized in that:
the sensing pixels are a plurality of sensors, and the sensors are composed of a plurality of piezoelectric materials or micro vibration mechanisms and used for generating bulges or vibrating stimulation to the first position.
6. The blind reader of claim 5, wherein:
the first position is a finger, a fingertip, a finger pad or a palm.
7. A method of using the blind reader of any one of claims 1 to 6, characterized in that it comprises the following steps:
the blind person wears the touch sensing equipment to a first position of the human body;
the blind person moves the touch sensing equipment to make the touch sensing equipment contact with a touch panel of display equipment, and the display equipment responds;
the shape of the image-text information of the contact area corresponding to the touch sensing equipment is raised or vibrated and is transmitted to the first position of the human body.
8. The method of using a blind reader of claim 7 wherein the blind moves the tactile sensing device into contact with a touch panel of a display device, the display device responding;
wherein a first microelectronic device of the display device transfers positional information of the contact region to a second microelectronic device, which controls the contact region or the entire display device to light up and recognize graphical and textual information of the contact region.
9. The method of using blind person reader as claimed in claim 7 wherein the tactile sensing device is raised or vibrated in shape corresponding to the graphic information of the contact area and transmitted to the first position of the human body;
the second microelectronic device of the display device recognizes the image-text information of the contact area and transmits the image-text information to the touch sensing device, sensing pixels on the touch sensing device protrude or vibrate corresponding to the shape of the image-text information, the blind generates touch, and the image-text information and the strength of the image-text information expressed by the display device in the contact area are received.
CN201910048338.7A2019-01-182019-01-18 Blind reader and method of using the blind readerActiveCN109493694B (en)

Priority Applications (1)

Application NumberPriority DateFiling DateTitle
CN201910048338.7ACN109493694B (en)2019-01-182019-01-18 Blind reader and method of using the blind reader

Applications Claiming Priority (1)

Application NumberPriority DateFiling DateTitle
CN201910048338.7ACN109493694B (en)2019-01-182019-01-18 Blind reader and method of using the blind reader

Publications (2)

Publication NumberPublication Date
CN109493694A CN109493694A (en)2019-03-19
CN109493694Btrue CN109493694B (en)2021-01-26

Family

ID=65714752

Family Applications (1)

Application NumberTitlePriority DateFiling Date
CN201910048338.7AActiveCN109493694B (en)2019-01-182019-01-18 Blind reader and method of using the blind reader

Country Status (1)

CountryLink
CN (1)CN109493694B (en)

Families Citing this family (1)

* Cited by examiner, † Cited by third party
Publication numberPriority datePublication dateAssigneeTitle
CN114911348A (en)*2022-05-252022-08-16维沃移动通信有限公司 Touch enhancement mechanism, display panel, electronic device, and touch enhancement method

Citations (1)

* Cited by examiner, † Cited by third party
Publication numberPriority datePublication dateAssigneeTitle
JP2000172408A (en)*1998-12-072000-06-23Fuji Electric Co Ltd Equipment input device

Family Cites Families (7)

* Cited by examiner, † Cited by third party
Publication numberPriority datePublication dateAssigneeTitle
CN1286786A (en)*1997-12-252001-03-07维尔塔奇有限公司Mouse-like input/output device with display screen and mehtod for its use
CN101021745A (en)*2006-12-142007-08-22东南大学Multi-dimensional stimulating-based colour fluid tactile text displaying device and displaying method
CN102208138A (en)*2011-05-232011-10-05南京航空航天大学Learning and cognitive system based on texture haptic display
CN202505587U (en)*2012-03-222012-10-31郑州科兴电子信息科技有限公司Electronic dot-matrix intelligent image tactile sensing device for blind
CN103514784B (en)*2012-06-212016-03-09国基电子(上海)有限公司The method of electronic equipment and helping blind people read thereof
CN104318821A (en)*2014-09-232015-01-28常州二维碳素科技有限公司Special electronic book for the blind
CN108279780B (en)*2018-03-012020-07-24京东方科技集团股份有限公司 Wearable device and control method

Patent Citations (1)

* Cited by examiner, † Cited by third party
Publication numberPriority datePublication dateAssigneeTitle
JP2000172408A (en)*1998-12-072000-06-23Fuji Electric Co Ltd Equipment input device

Also Published As

Publication numberPublication date
CN109493694A (en)2019-03-19

Similar Documents

PublicationPublication DateTitle
TWI710934B (en) Tactile information conversion device, tactile information conversion method, tactile information conversion program and component arrangement structure
Tan et al.Methodology for maximizing information transmission of haptic devices: A survey
CN1121790C (en) Tactile communication device and method
US8388346B2 (en)Tactile feedback
US8179378B2 (en)Input apparatus and control method of input apparatus
US20180217667A1 (en)Wearable haptic pattern display device for blind person
Tan et al.Tactual displays for sensory substitution and wearable computers
JP2000148393A (en)Visual and touch sense information transmitting device
JPH08314636A (en)Image erasure method and stylus-type electronic writing system
JP2012181833A (en)Electronic device and control method for electronic device
US10917509B2 (en)Smart watch and method for unlocking the same
US10372210B2 (en)Device and method for transmitting and receiving information by Braille
JP2011096133A (en)Information transmitter to living body
CN109493694B (en) Blind reader and method of using the blind reader
JP2014041441A (en)Device and method of back face tactile information presentation type information input
CN111067708B (en)Display method and display system for tactile perception of images
CN104717449B (en)The Video chat method and terminal of a kind of fusion tactile perceptional function
CN208413539U (en)A kind of elevator button shaking sense of touch
US11033187B2 (en)Text to braille converter
CN117075736A (en)Display device, touch feedback method thereof and display interaction method
CN212816753U (en)Non-implanted virtual visual display instrument for blind people
JP2005128891A (en) Visual and tactile information presentation device
Thomas et al.Alternate braille display designs: A review
CN107643824A (en)One kind horizontally slips gesture sense of touch braille touching reading system and method
CN208367697U (en)Display system

Legal Events

DateCodeTitleDescription
PB01Publication
PB01Publication
SE01Entry into force of request for substantive examination
SE01Entry into force of request for substantive examination
GR01Patent grant
GR01Patent grant

[8]ページ先頭

©2009-2025 Movatter.jp