This application claims priority from the following patent applications: U.S. provisional patent application entitled "MAGNETIC AND PRESSURE-BASED FOOT PRESENCE AND POSITION SENSING SYSTEMS AND METHOD FOR ACTIVE FOOTWEAR" filed by Walker et al on 15/3/2016 and having serial number 62/308,657 (attorney docket number 4228.054PRV), and U.S. provisional patent application entitled "CAPACITIVE FOOT PRESENCE AND POSITION SENSING SYSTEMS AND METHOD FOR ACTIVE FOOTWEAR" filed by Walker et al on 15/3/2016 and having serial number 62/308,667 (attorney docket number 4228.074PRV), and U.S. provisional patent application entitled "62/424,939 FOR FOOTWEAR" (attorney docket number 4228.081PRV) filed by Walker on 21/11/2016 and having serial number 62/424,939 (attorney docket number 4228.081PRV) filed by Walker et al, U.S. provisional patent application number 4228.093 filed by Walker et al H on 21/11/2016 and having serial number 463 OF CHANGEFOOT 3 OF ACTE FOOTWEAR, each of the above patent applications is incorporated herein by reference.
Detailed Description
In the movie "Return to the future II" shown in 1989, a fictional strong tie was worn by Mati Mikefi
The concept of self-tightening shoelaces is widely popularized in sports shoes for the first time. Although it is not limited to

At least one strong-lace athletic shoe has been released that looks like the movie prop style in Return to future II, but the internal mechanical systems and perimeter footwear platforms employed are not necessarily suitable for mass production or everyday use. In addition, previous designs for motorized lacing systems have presented relatively few problems, such as high manufacturing costs, complexity, difficulty in assembly, lack of maintainability, and mechanical weakness or fragility, which highlight only a few of the many problems. The present inventors have developed a modular footwear platform to accommodate both motorized and non-motorized lacing engines that addresses some or all of the above-mentioned issues, among other issues. The components discussed below provide a number of benefits, including but not limited to: serviceable components, interchangeable automated lacing engines, robust mechanical design, reliable operation, streamlined assembly process, and retail level customization. Various other benefits of the components described below will be apparent to those skilled in the relevant arts.
The motorized lacing engines discussed below were developed to provide a robust, durable, and interchangeable component for automated lacing footwear platforms from the ground up. The lacing engine includes unique design elements that enable retail-level final assembly in the modular footwear platform. The lacing engine design allows for a large portion of the footwear assembly process to utilize known assembly techniques, and the unique adaptation to standard assembly processes can still utilize current assembly resources.
In an example, a modular automated belted footwear platform includes a midsole plate secured to a midsole for receiving a lacing engine. The design of the midsole plate allows the lacing engine to be placed into the footwear platform at the latest when purchased. Other aspects of the midsole plate and modular automated footwear platform allow different types of lacing engines to be used interchangeably. For example, the motorized harness engine discussed below may be replaced with a human powered harness engine. Alternatively, a fully automated motorized lacing engine with foot presence sensing or other optional features may be housed within a standard midsole plate.
Automated footwear platforms discussed herein may include an outsole actuator interface to provide tightening control to an end user, as well as visual feedback through LED illumination projected through translucent protective outsole material. The actuator may provide tactile and visual feedback to the user to indicate the status of the lacing engine or other automated footwear platform component.
This initial summary is intended to introduce the subject matter of the present patent application. This is not intended to provide an exclusive or exhaustive explanation of the various inventions disclosed in the more detailed description that follows.
A number of components of an automated footwear platform are discussed below, including a motorized lacing engine, a midsole plate, and a number of other components of the platform. While much of the present disclosure focuses on motorized harness engines, many of the mechanical aspects of the designs discussed may be applied to human powered harness engines or other motorized harness engines having additional or less capabilities. Thus, the term "automated" as used in "automated footwear platform" is not intended to cover only systems that operate without user input. In contrast, the term "automated footwear platform" includes a variety of electrically and manually powered, automatically activated, and manually activated mechanisms for tightening a lace or retaining system of footwear.
Fig. 1 is an exploded view illustrating components of a motorized lacing system for footwear according to some example embodiments. Themotorized lacing system 1 illustrated in fig. 1 includes alacing engine 10, acover 20, anactuator 30, amidsole plate 40, amidsole 50, and anoutsole 60. Fig. 1 illustrates a basic assembly sequence of components of an automated strap footwear platform. Themotorized lacing system 1 begins with securing themidsole plate 40 within the midsole. Next, theactuator 30 is inserted into an opening in the lateral side of the midsole plate in the opposite direction to the interface button that may be embedded in theoutsole 60. Next, the lacingengine 10 drops into themidsole plate 40. In an example, thelacing system 1 is inserted under a continuous loop of lacing cable and the lacing cable is aligned with a spool in the lacing engine 10 (discussed below). Finally, thecover 20 is inserted into a groove in themidsole plate 40, secured in the closed position and locked in a recess in themidsole plate 40. Thecover 20 may capture theharness engine 10 and may help maintain the alignment of the harness cables during operation.
In an example, the article of footwear ormotorized lacing system 1 includes or is configured to interact with one or more sensors that can monitor or determine foot presence characteristics. Footwear including themotorized lacing system 1 may be configured to perform a variety of functions based on information from one or more foot presence sensors. For example, a foot presence sensor may be configured to provide binary information regarding the presence or absence of a foot in footwear. If the binary signal from the foot presence sensor indicates that a foot is present, themotorized lacing system 1 can be activated, such as automatically tightening or loosening (i.e., loosening) the footwear lacing cables. In an example, an article of footwear includes a processor circuit that may receive or interpret signals from a foot presence sensor. The processor circuit may optionally be embedded in thelacing engine 10 or embedded with the lacingengine 10, such as in the sole of an article of footwear.
In an example, the foot presence sensor may be configured to provide information regarding the position of the foot as it enters the footwear. Themotorized lacing system 1 can generally be activated, such as tightening a lacing cable, only when the foot is properly positioned or placed in the footwear, such as against all or a portion of the sole of the article of footwear. A foot presence sensor that senses information about foot travel or position may provide information about whether the foot is fully or partially seated, for example, with respect to the sole or with respect to some other feature of the article of footwear. The automatic lacing procedure may be interrupted or delayed until information from the sensors indicates that the foot is in the proper position.
In an example, the foot presence sensor may be configured to provide information regarding the relative position of the foot inside the footwear. For example, a foot presence sensor may be configured to sense whether the footwear "fits" well to a given foot, such as by determining a relative position of one or more of the arch, heel, toe, or other components, such as relative positions with respect to corresponding portions of the footwear configured to receive such foot components. In an example, the foot presence sensor may be configured to sense whether the position of the foot or foot component has changed relative to some reference, such as due to loosening of the lace cables over time or due to natural expansion and contraction of the foot itself.
In an example, the foot presence sensor may include an electrical sensor device, a magnetic sensor device, a thermal sensor device, a capacitive sensor device, a pressure sensor device, an optical sensor device, or other sensor device that may be configured to sense or receive information about the presence of a body. For example, the electrical sensor may include an impedance sensor configured to measure an impedance characteristic between the at least two electrodes. The electrical sensor may provide a sensor signal having a first value when a body, such as a foot, is positioned near or adjacent to the electrode, and a second, different value when the body is positioned away from the electrode. For example, a first impedance value may be associated with an empty footwear condition, while a second, smaller impedance value may be associated with an occupied footwear condition. In an example, the electrical sensor may be configured to provide a binary signal or interrupt signal when a foot is determined or determined to be likely present inside the footwear. For example, a binary signal or interrupt signal may be determined when a measured electrical characteristic (e.g., capacitance, resistance, impedance, etc.) exceeds a specified threshold or reference value.
The electrical sensor may include an AC signal generator circuit and an antenna configured to transmit or receive radio frequency information. Based on the proximity of the body relative to the antenna, one or more electrical signal characteristics (e.g., impedance, frequency, or signal amplitude) may be received and analyzed to determine whether the body is present. In an example, a Received Signal Strength Indicator (RSSI) provides information about the power level in a received radio signal. Changes in RSSI, for example, from some baseline or reference value, can be used to identify the presence or absence of a body. In an example, WiFi frequencies may be used, for example in one or more of the 2.4GHz, 3.6GHz, 4.9GHz, 5GHz, and 5.9GHz frequency bands. In an example, frequencies in the kilohertz range may be used, for example, approximately 400 kHZ. In an example, the power signal change may be detected in the milliwatt or microwatt range.
The foot presence sensor may comprise a magnetic sensor. The first magnetic sensor may comprise a magnet and a magnetometer, or a magnetometer and a material that can be sensed by the magnetometer. In an example, the magnetometer may be positioned in or near theharness engine 10. Magnets or other materials that cause a magnetometer response may be located remotely from the lacingengine 10, such as in a secondary sole (secondary sole) or insole that is configured to be worn over theoutsole 60. In an example, the magnet is embedded in the foam or other compressible material of the secondary sole. When a user presses the secondary sole, such as while standing or walking, a corresponding change in the position of the magnet relative to the magnetometer can be sensed and reported by the sensor signal.
The second magnetic sensor may comprise a magnetic field sensor configured to sense a change or disruption in magnetic field (e.g., via the hall effect). When the body is in proximity to the second magnetic sensor, the sensor may generate a signal indicative of a change in the ambient magnetic field. For example, the second magnetic sensor may comprise a hall effect sensor that varies a voltage output signal in response to a detected change in the magnetic field. The voltage change at the output signal may be due to the generation of a voltage difference across the electrical signal conductors, such as a magnetic field transverse to the current in the conductors and perpendicular to the current.
In an example, the second magnetic sensor is configured to receive electromagnetic field signals from the body. For example, Varshavsky et al teach authentication using a unique electromagnetic signature of the body in U.S. patent No. 8,752,200 entitled "Devices, systems and methods for security using magnetic field based authentication". In an example, a magnetic sensor in an article of footwear may be used to authenticate or verify that the current user is the owner of the shoe through a detected electromagnetic signature, and the article will automatically tie the shoe, such as according to one or more specified lacing preferences (e.g., tightness profiles) of the owner.
In an example, the foot presence sensor includes a thermal sensor configured to sense a temperature change in or near a portion of the footwear. As the foot of the wearer enters the article of footwear, the internal temperature of the article changes as the body temperature of the wearer himself differs from the ambient temperature of the article of footwear. Thus, the thermal sensor may provide an indication of the possible presence or absence of a foot based on temperature changes.
In an example, the foot presence sensor includes a capacitive sensor configured to sense a change in capacitance. The capacitive sensor may comprise a single plate or electrode, or the capacitive sensor may comprise a multiple plate or multiple electrode configuration. Capacitive foot presence sensors are described in detail below.
In an example, the foot presence sensor includes an optical sensor. The optical sensor may be configured to determine whether the line of sight is interrupted, such as between opposing sides of the footwear cavity. In an example, the optical sensor includes a light sensor that may be covered by the foot when the foot is inserted into the footwear. When the sensor indicates a change in the sensed light condition, an indication of the presence or position of the foot may be provided.
In an example, themotorized lacing system 1 of fig. 1 includes amidsole 50 and alacing engine 10. Thesystem 1 may include an insole positioned above the midsole and/or thelacing engine 10, such as to improve the comfort or fit of the footwear wearer. The plurality of straps or laces may be adjusted by the lacingengine 10, such as to adjust the tightness or loosening characteristics of the article around the foot while the article is worn. That is, the plurality of straps or laces may be configured to move between a tightened position and a loosened position in response to the movement of the motor in thelacing engine 10. In an example, thesystem 1 includes a ferromagnetic body disposed in the article, and at least one sensor configured to sense a change in position of the ferromagnetic body in response to compression of the insole by the foot when the article is worn. The ferromagnetic body may be provided, for example, in or on an insole, such that when the wearer steps or stands, the compressive force of the wearer's foot on the insole moves the ferromagnetic body. Although referred to herein as a ferromagnetic body, the body may be any material whose movement is or is detectable by a sensor. In an example, thelace engine 10 can be coupled to a sensor, and thelace engine 10 can be configured to respond to a sensed change in ferromagnetic body position by adjusting the tension of the strap or lace.
The sensor may include a magnetometer configured to sense changes in a magnetic field. The magnetic field variation may be due, at least in part, to a change in position of the ferromagnetic body, such as in response to movement of the footwear or movement of the foot within the footwear. In an example, one of the ferromagnetic body and the magnetometer is substantially fixed relative to the housing or wall of the item, while the other of the ferromagnetic body and the magnetometer is movable relative to the housing or wall of the item. For example, a ferromagnetic body may be disposed in the insole and movable in response to a compressive foot force, and the position of the magnetometer may be generally fixed in the midsole or in thelacing engine 10.
In an example, information about a change in position of a ferromagnetic body can be sensed and used to determine various characteristics of the article use environment. For example, information about a changing magnetic field may be sensed by a magnetometer in response to the motion of a ferromagnetic body. A large or rapid change in the magnetic field may indicate that the ferromagnetic body is moving rapidly or a large distance, thereby indicating that the wearer is exerting considerable force on the footwear, such as due to running or jumping activities. Timing information about the sensed magnetic field or the change in position of the ferromagnetic body can be used to determine foot strike timing, such as counting steps or determining how fast the wearer is moving (e.g., when step information is known or discernable).
An example of thelacing engine 10 is described in detail with reference to fig. 2A through 2N. An example of theactuator 30 is described in detail with reference to fig. 3A to 3D. Examples of thesole sandwich panel 40 are described in detail with reference to fig. 4A to 4D. Numerous additional details of themotorized lacing system 1 are discussed throughout the remainder of the specification.
Fig. 2A-2N are diagrams and illustrations illustrating a motorized harness engine according to some exemplary embodiments. Fig. 2A illustrates various external features ofexemplary lacing engine 10, includinghousing structure 100,housing screws 108, lace channels 110 (also referred to as lace guide reliefs) 110,lace channel walls 112, lace channel transitions 114, spool recesses 115,button openings 120,buttons 121, button membrane seals 124, programming heads 128, spools 130, andlace grooves 132. Additional details of thehousing structure 100 will be discussed below with reference to fig. 2B.
In an example, the lacingengine 10 is held together by one or more screws, such as thehousing screw 108. Thehousing screw 108 is positioned adjacent the primary drive mechanism to enhance the structural integrity of thelacing engine 10. The housing screws 108 are also used to assist in the assembly process, such as holding the housing together for ultrasonic welding of external seams.
In this example, lacingengine 10 includes alace channel 110, whichlace channel 110 receives a lace or lace cable once lacingengine 10 is assembled into an automated footwear platform.Lace channels 110 may includelace channel walls 112.Lace channel walls 112 may include chamfered edges to provide a smooth guiding surface for the lace cables during operation. A portion of the smooth guiding surface of thelace channel 110 may include achannel transition 114, thechannel transition 114 being a widened portion of thelace channel 110 leading to aspool recess 115.Spool recess 115 transitions fromchannel transition 114 to a generally circular portion that closely conforms to the profile ofspool 130.Spool recess 115 helps to retain the wound lace cable and helps to maintain the position ofspool 130. However, other aspects of the design provide primary retention of thespool 130. In this example, thespool 130 is shaped like a yo-yo half withlace grooves 132 extending through the flat top surface and spool shafts 133 (not shown in fig. 2A) extending downward from opposite sides. Thebobbin 130 will be described in more detail below with reference to additional figures.
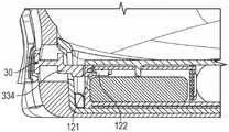
The exterior side of thelacing engine 10 includes abutton opening 120, thebutton opening 120 enabling abutton 121 for the activation mechanism to extend through thehousing structure 100. As illustrated in further figures discussed below, thebutton 121 provides an external interface for activating theswitch 122. In some examples, thehousing structure 100 includes abutton membrane seal 124 to provide protection from dirt and water. In this example, thebutton membrane seal 124 is a clear plastic (or similar material) up to a few mils (thousandths of an inch) thick that is bonded from the upper surface of thehousing structure 100 across the corners and down the outer sides. In another example, thebutton film seal 124 is a 2 mil thick vinyl adhesive backing film that covers thebutton 121 and thebutton opening 120.
Fig. 2B is an illustration of thehousing structure 100 including thetop portion 102 and thebottom portion 104. In this example,top portion 102 includes features such ashousing screws 108,lace channels 110, lace channel transitions 114, spool recesses 115,button openings 120, and button seal recesses 126. Thebutton seal recess 126 is the portion of thetop portion 102 that is released to provide for insertion of thebutton membrane seal 124. In this example, thebutton seal recess 126 is a few mils recess on the outside of the upper surface of thetop portion 104 that transitions over a portion of the outside edge of the upper surface and extends the length of a portion of the outside of thetop portion 104.
In this example, thebottom portion 104 includes features such as awireless charger inlet 105, a joint 106, and agrease isolation wall 109. Various features of the housing screw base for receiving thehousing screw 108 and the portion within thegrease isolation wall 109 for retaining the drive mechanism are also illustrated (but not specifically identified). Thegrease isolation wall 109 is designed to keep grease or similar compounds around the drive mechanism away from the electrical components of thelacing engine 10, including the gear motor and enclosed gearbox.
Fig. 2C is an illustration of various internal components of thelacing engine 10 according to an exemplary embodiment. In this example, the lacingengine 10 also includes aspool magnet 136, an O-ring seal 138, aworm drive 140, abushing 141, aworm drive key 142, agear box 144, agear motor 145, amotor encoder 146, amotor circuit board 147, aworm gear 150, acircuit board 160, amotor head 161, abattery connection 162, and awired charge head 163.Bobbin magnet 136 facilitates tracking of movement ofbobbin 130 by detection by a magnetometer (not shown in FIG. 2C). The O-ring seal 138 functions to seal off dirt and moisture that may migrate around thespool shaft 133 into the lacingengine 10.
In this example, the primary drive components of thelacing engine 10 include aworm drive 140, aworm gear 150, agear motor 145, and agear box 144. Theworm gear 150 is designed to prevent back-driving of theworm drive 140 andgear motor 145, which means that the primary input force entering from the lace cable through thespool 130 is accounted for on the relatively large worm gear and worm drive teeth. This arrangement protects thegear box 144 from the need to include gears of sufficient strength to withstand dynamic loads from active use of the footwear platform or tightening loads from tightening the lacing system. Theworm drive 140 includes additional features to help protect more fragile portions of the drive system, such as theworm drive key 142. In this example, theworm drive key 142 is a radial slot in the motor end of theworm drive 140 that interfaces with a pin through a drive shaft out of thegear box 144. This arrangement prevents theworm drive 140 from exerting any axial force on thegear box 144 or thegear motor 145 by allowing theworm drive 140 to move freely in the axial direction (away from the gear box 144) transferring those axial loads to thebushing 141 and thehousing structure 100.
Fig. 2D is an illustration depicting additional internal components of thelacing engine 10. In this example, the lacingengine 10 includes drive components such as aworm drive 140, abushing 141, agear box 144, agear motor 145, amotor encoder 146, amotor circuit board 147, and aworm gear 150. Fig. 2D adds an illustration of thebattery 170 and a better view of some of the drive components discussed above.
Fig. 2E is another illustration depicting the internal components of thelacing engine 10. In fig. 2E,worm gear 150 is removed to better illustrate a marking wheel (indexing wheel)151 (also known as a sheave (Geneva wheel) 151). As described in further detail below, the markingwheel 151 provides a mechanism to return the drive mechanism to a home position in the event of an electrical or mechanical failure and loss of position. In this example, theharness engine 10 further includes awireless charging interconnect 165 and awireless charging coil 166, thewireless charging interconnect 165 and thewireless charging coil 166 being located below the battery 170 (not shown in this figure). In this example, thewireless charging coil 166 is mounted on the lower surface of the exterior of thebottom portion 104 of theharness engine 10.
Fig. 2F is a cross-sectional illustration of thelacing engine 10 according to an exemplary embodiment. Figure 2F helps to illustrate the structure of thespool 130 and how thelace channel 110 andlace groove 132 interface with thelace cable 131. As shown in this example,lace 131 extends continuously throughlace channel 110 and intolace groove 132 ofspool 130. This cross-sectional illustration also depicts alace recess 135 where thelace 131 will gather when the lace is taken up due to rotation of thespool 130. Thelace 131 is captured by thelace groove 132 as it extends through thelace engine 10 such that as thespool 130 is rotated, thelace 131 rotates onto the body of thespool 130 within thelace recess 135.
As illustrated by the cross-section of thelacing engine 10, thespool 130 includes aspool shaft 133, and thespool shaft 133 couples with theworm gear 150 after extending through the O-ring 138. In this example, thespool shaft 133 is coupled to the worm gear by akeyed connection pin 134. In some examples, thekeyed connection pin 134 extends from thespool shaft 133 in only one axial direction and is contacted by a key on the worm gear such that when the direction of theworm gear 150 is reversed, nearly complete revolution (complete rotation) of theworm gear 150 is allowed before thekeyed connection pin 134 contacts. A clutch system may also be implemented to couple thespool 130 to theworm gear 150. In such an example, the clutch mechanism may be deactivated to allow thespool 130 to freely run when the lace is untied (loosened). In the example where thekeyed connection pin 134 extends in only one axial direction from thespool shaft 133, the spool is allowed to move freely upon initial activation of the de-lacing process, while theworm gear 150 is driven rearward. Allowingspool 130 to move freely during the initial portion of the untying process helps prevent tangling inlace 131, as it provides the user with time to begin loosening footwear, which in turn will tension lace 131 in a loosening direction before being driven byworm gear 150.
Fig. 2G is another cross-sectional illustration of thelacing engine 10 according to an exemplary embodiment. Fig. 2G illustrates a more inboard cross-section of thelacing engine 10 than fig. 2F, with fig. 2G illustrating additional components such as thecircuit board 160, thewireless charging interconnect 165, and thewireless charging coil 166. Fig. 2G is also used to depict additional details about the interface ofspool 130 andlace 131.
Fig. 2H is a top view of thelacing engine 10 according to an exemplary embodiment. Fig. 2H highlights thegrease barrier wall 109 and illustrates how thegrease barrier wall 109 surrounds certain portions of the drive mechanism, including thespool 130, theworm gear 150, theworm drive 140, and thegear box 145. In some examples, agrease isolation wall 109 separates theworm drive 140 from thegear box 145. FIG. 2H also provides a top view of the interface betweenspool 130 andlace cable 131, wherelace cable 131 extends throughlace groove 132 inspool 130 in a medial-lateral direction.
Fig. 2I is a top view illustration of theworm gear 150 and markingwheel 151 portions of thelacing engine 10 according to an exemplary embodiment. Themarking wheel 151 is a variation of the well known sheave used in watchmaking and motion picture projectors. Typical geneva wheel or drive mechanisms provide a means of converting continuous rotary motion to intermittent motion, such as is required in movie projectors or to cause intermittent motion of the second hand of a watch. Manufacturers use different types of sheaves to prevent over-winding of the mechanical watch spring, but use sheaves with missing grooves (e.g., one of theGeneva slots 157 will be missing). The missing slot will prevent further marking of the sheave that is responsible for winding the spring and preventing overwinding. In the illustrated example, the lacingengine 10 includes a variation to the geneva wheel, markingwheel 151, which includes asmall stop tooth 156, thesmall stop tooth 156 acting as a stop mechanism in a home operation (timing operation). As illustrated in fig. 2J-2M, astandard cogwheel tooth 155 simply marks each rotation of theworm gear 150 when the markingtooth 152 engages thegeneva gear groove 157 next to one of thecogwheel teeth 155. However, when theflag tooth 152 engages thesheave groove 157 next to thestop tooth 156, a greater force is generated which can be used to stop the drive mechanism in the return to home operation. Thestop teeth 156 may be used to generate a known position of a mechanism, such as themotor encoder 146, for returning to a home position in the event of loss of other positioning information.
Fig. 2J to 2M are illustrations of aworm wheel 150 and amarking wheel 151 moved by a marking operation according to an exemplary embodiment. As noted above, these figures, beginning with FIG. 2J and beginning with FIG. 2M, illustrate what happens during a single full axial rotation of theworm gear 150. In fig. 2J, the markingtooth 153 of theworm gear 150 is engaged in thesheave groove 157 between the first sheave tooth 155a and thestop tooth 156 in thesheave tooth 155. Fig. 2K illustrates themarking wheel 151 in a first marking position, which is held when the markingteeth 153 begin their pivoting movement as theworm wheel 150 begins. In fig. 2L, themarker tooth 153 begins to engage thepulley groove 157 on the opposite side of the first pulley tooth 155 a. Finally, in FIG. 2M, themarker tooth 153 is fully engaged within thegeneva gear groove 157 between the first and second geneva gear teeth 155a, 155 b. The process shown in fig. 2J-2M continues with each axial rotation of theworm gear 150 until theflag tooth 153 engages thestop tooth 156. As described above, when theflag tooth 153 engages thestop tooth 156, the increased force may cause the drive mechanism to stall.
Fig. 2N is an exploded view of thelacing engine 10 according to an exemplary embodiment. The exploded view of thelacing engine 10 provides an illustration of how all of the various components fit together. Fig. 2N shows theinverted lacing engine 10 with thebottom portion 104 at the top of the page and thetop portion 102 near the bottom. In this example, thewireless charging coil 166 is shown glued to the outside (bottom) of thebottom portion 104. The exploded view also provides a good illustration of how theworm drive 140 is assembled with thebushing 141,drive shaft 143,gear box 144 andgear motor 145. The illustration does not include a drive pin received in aworm drive key 142 on the first end of theworm drive 140. As described above, theworm drive 140 slides on thedrive shaft 143 to engage a drive axle pin in theworm drive key 142, theworm drive key 142 being essentially a slot extending transverse to thedrive shaft 143 in a first end of theworm drive 140.
In an example, thehousing structure 100 provides a gas-tight seal or hermetic seal around the components enclosed by thehousing structure 100. In an example, thehousing structure 100 encloses a separate airtight chamber in which the pressure sensor may be disposed. See fig. 17 and the corresponding discussion below regarding the pressure sensor disposed in the sealed cavity.
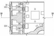
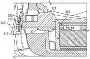
Fig. 3A-3D generally illustrate examples ofactuators 30 for interfacing with a motorized harness engine according to example embodiments. In this example,actuator 30 includes features such asbridge 310,light duct 320,rear arm 330,central arm 332, andfront arm 334. Fig. 3A also illustrates relevant features of thelacing engine 10, such as a plurality of LEDs 340 (also referred to as LEDs 340),buttons 121, and switches 122. In this example, both therear arm 330 and thefront arm 334 may individually activate one of theswitches 122 via thebutton 121. Theactuator 30 is also designed to be able to activate bothswitches 122 simultaneously for situations like reset or other functions. The primary function of theactuator 30 is to provide tightening and loosening commands to thelacing engine 10. Theactuator 30 also includes alight conduit 320, thelight conduit 320 directing light from theLED 340 to an exterior portion of the footwear platform (e.g., the outsole 60). Thelight pipe 320 is configured to evenly distribute light from the plurality of individual LED light sources over the face of theactuator 30.
In this example, the arms of the actuator 30 (therear arm 330 and the front arm 334) include flanges to prevent over activation of theswitch 122, thereby providing a safety measure against striking the sides of the footwear platform. The largecentral arm 332 is also designed to carry impact loads against the sides of thelacing engine 10, rather than allowing these loads to transfer against thebutton 121.
Fig. 3B provides a side view ofactuator 30 further illustrating an exemplary configuration offorearm 334 and engagement withbutton 121. Fig. 3C is an additional top view ofactuator 30 illustrating the activation path throughrear arm 330 andfront arm 334. Fig. 3C also depicts a section line a-a, which corresponds to the cross-section illustrated in fig. 3D. In fig. 3D, theactuator 30 is illustrated in a cross-section with transmitted light 345 shown in dashed lines. Thelight pipe 320 provides a transmissive medium for the transmitted light 345 from theLEDs 340. FIG. 3D also illustrates aspects ofoutsole 60, such asactuator boot 610 and raisedactuator interface 615.
Fig. 4A-4D are diagrams and illustrations illustrating amidsole plate 40 for holding thelacing engine 10, according to some exemplary embodiments. In this example,midsole plate 40 includes features such aslace engine cavity 410,medial lace guide 420,lateral lace guide 421,cover slot 430,front flange 440,rear flange 450,upper surface 460,lower surface 470, andactuator cutout 480. Theharness engine cavity 410 is designed to receive theharness engine 10. In this example, theharness engine cavity 410 holds theharness engine 10 in the lateral and fore/aft directions, but does not include any built-in features that lock theharness engine 10 into the cavity. Optionally, theharness engine cavity 410 may include detents, tabs, or similar mechanical features along one or more sidewalls that may rigidly retain theharness engine 10 within theharness engine cavity 410.
Medial lace guide 420 andlateral lace guide 421 help guide the lace cables intolace engine compartment 410 and across lace engine 10 (when present). Medial/lateral lace guides 420, 421 may include chamfered edges and downward sloping ramps to help guide the lace cables to a desired location abovelace engine 10. In this example, medial/lateral lace guides 420, 421 include openings in the sides ofmidsole plate 40 that are many times wider than the diameter of a typical lace cable, in other examples, the openings of medial/lateral lace guides 420, 421 may be only a few times wider than the diameter of a lace cable.
In this example, themidsole plate 40 includes a contoured or undulatingfront flange 440 that extends further on the medial side of themidsole plate 40. Exemplaryfront flange 440 is designed to provide additional support under the arch of the footwear platform. However, in other examples, theforward flange 440 may be less pronounced on the medial side. In this example, therear flange 450 also includes a particular contour with an extension on both the medial and lateral sides. The illustrated shape of therear flange 450 provides enhanced lateral stability to theharness engine 10.
Fig. 4B-4D illustrate insertion of thecover 20 into themidsole plate 40 to retain thelacing engine 10 and capture thelace cable 131. In this example, thelid 20 includes features such as alatch 210, alid lace guide 220, alid spool recess 230, and alid clip 240. The cover lace guides 220 may include medial and lateral cover lace guides 220. Coverlace guide 220 helps maintain alignment oflace cable 131 through the appropriate portions oflace engine 10. Thecover clip 240 may also include an inboard and anoutboard cover clip 240. Thecover clip 240 provides a pivot point for attaching thecover 20 to themidsole plate 40. As illustrated in fig. 4B, thecover 20 is inserted directly downward into themidsole plate 40, and thecover clip 240 enters themidsole plate 40 through thecover slot 430.
As illustrated in fig. 4C, once thecover clip 240 is inserted through thecover slot 430, thecover 20 is moved forward to prevent thecover clip 240 from disengaging from thesole sandwich plate 40. Fig. 4D illustrates rotation or pivoting of thecover 20 about thecover clip 240 to secure thelace engine 10 andlace cable 131 through engagement of thelatch 210 with thecover latch recess 490 in themidsole plate 40. Once snapped into place, thecover 20 secures the lacingengine 10 within themidsole plate 40.
Fig. 5A-5D are diagrams and illustrations illustrating amidsole 50 and anoutsole 60 configured to receive thelacing engine 10 and associated components, according to some example embodiments.Midsole 50 may be formed from any suitable footwear material and includes a variety of features to accommodatemidsole plate 40 and associated components. In this example,midsole 50 includes features such asplate recess 510,forward flange recess 520,rearward flange recess 530,actuator opening 540, andactuator cap recess 550. Theplate recess 510 includes a plurality of cutouts and similar features to match corresponding features of themidsole plate 40.Actuator opening 540 is sized and positioned to accessactuator 30 from a lateral side offootwear platform 1. As illustrated in fig. 5B and 5C, theactuator cap recess 550 is a recessed portion of themidsole 50 that is adapted to receive a molded cover to protect theactuator 30 and provide a particular tactile and visual appearance to the primary user interface of thelacing engine 10.
Fig. 5B and 5C illustrate portions ofmidsole 50 andoutsole 60 according to an exemplary embodiment. Fig. 5B includes an illustration of anexample actuator boot 610 and a raisedactuator interface 615, the raisedactuator interface 615 being molded or otherwise formed in theactuator boot 610. Fig. 5C illustrates another example of anactuator 610 and a raisedactuator interface 615, the raisedactuator interface 615 including horizontal stripes to disperse the portion of light transmitted through thelight conduit 320 portion of theactuator 30 to theoutsole 60.
Fig. 5D also illustrates anactuator cover recess 550 on themidsole 50 and the positioning of theactuator 30 within theactuator opening 540 prior to application of theactuator cover 610. In this example, theactuator cover recess 550 is designed to receive an adhesive to adhere theactuator cover 610 to themidsole 50 and theoutsole 60.
Fig. 6A-6C are illustrations of afootwear assembly 1 including amotorized lacing engine 10, according to some example embodiments. In this example, fig. 6A-6C depict a translucent example of an assembledautomated footwear platform 1, the assembledautomated footwear platform 1 including alacing engine 10, amidsole plate 40, amidsole 50, and anoutsole 60. Fig. 6A is a lateral side view ofautomated footwear platform 1. Fig. 6B is a medial side view ofautomated footwear platform 1. Fig. 6C is a top view ofautomated footwear platform 1 with the upper portion removed. The top view illustrates the relative positioning of thelacing engine 10,cover 20,actuator 30,midsole plate 40,midsole 50, andoutsole 60. In this example, the top view also illustratesspool 130,medial lace guide 420,lateral lace guide 421,front flange 440,rear flange 450,actuator boot 610, and raisedactuator interface 615.
Fig. 6D is a top view of upper 70, illustrating an example lacing configuration, according to some example embodiments. In this example, in addition tolace 131 andlace engine 10, upper 70 includeslateral lace fastener 71,medial lace fastener 72,lateral lace guide 73,medial lace guide 74, and brio cables (brio cables) 75. The example illustrated in fig. 6D includes a continuous knit textile upper 70 having a diagonal lacing pattern including non-overlapping medial and lateral lacing paths. The lace path begins at the lateral lace fastener, extends throughlateral lace guide 73, throughlace engine 10, proceeds throughmedial lace guide 74, and back tomedial lace fastener 72. In this example, lace 131 forms a continuous loop fromlateral lace fastener 71 tomedial lace fastener 72. In this example, the inboard to outboard take-up is transmitted through thebrillouin cable 75. In other examples, the lace paths may intersect or incorporate additional features to transmit tightening forces in the medial-lateral direction across upper 70. In addition, the concept of a continuous lace loop may be incorporated into a more traditional upper that has a central (medial) gap andlace 131 crosses back and forth over the central gap.
Fig. 7 is a flow diagram illustrating a footwear assembly process for assembling anautomated footwear platform 1 including alacing engine 10, according to some example embodiments. In this example, the assembly process includes operations such as: the method includes obtaining an outsole/midsole assembly at 710, inserting and gluing a midsole plate at 720, attaching a laced upper at 730, inserting an actuator at 740, optionally transporting the sub-assembly to a retail store at 745, selecting a lacing engine at 750, inserting the lacing engine into the midsole plate at 760, and securing the lacing engine at 770. Theprocess 700, described in further detail below, may include some or all of the described process operations, and at least some of the process operations may occur at multiple locations (e.g., factory versus retail). In some examples, all of the process operations discussed with reference to process 700 may be completed within a manufacturing facility and the completed automated footwear platform delivered directly to a consumer or retail facility for purchase.
In this example,process 700 begins at 710, where an outsole and midsole component, such asmidsole 50 bonded tooutsole 60, is obtained at 710. At 720,process 700 continues with inserting a midsole plate (such as midsole plate 40) into theplate recess 510. In some examples, themidsole plate 40 includes an adhesive layer on the lower surface to adhere the midsole plate into the midsole. In other examples, the adhesive is applied to the midsole prior to insertion of the midsole plate. In other examples, the midsole is designed to have an interference fit with the midsole plate, which does not require an adhesive to secure the two components of the automated footwear platform.
At 730,process 700 continues with the attached upper portion of the automated footwear platform being attached to the midsole. The attachment of the laced upper portion is accomplished by any known footwear manufacturing process, and the addition of positioning a lower lace loop into the midsole plate for subsequent engagement with a lacing engine, such as lacingengine 10. For example, attaching a laced upper to midsole 50 with insertedmidsole plate 40, the lower lace loops are positioned in alignment withmedial lace guide 420 andlateral lace guide 421, andmedial lace guide 420 andlateral lace guide 421 properly position the lace loops to engage with lacingengine 10 when lacingengine 10 is later inserted during assembly. The assembly of the upper is discussed in more detail below with reference to fig. 8A-8B.
At 740,process 700 continues with inserting an actuator (such as actuator 30) into the midsole plate. Alternatively, insertion of the actuator may be completed prior to attaching the upper portion atoperation 730. In an example, inserting theactuator 30 into the actuator cut 480 of themidsole plate 40 involves a snap fit between the actuator 30 and theactuator cut 480. Optionally,process 700 continues at 745, where the sub-assembly of the automated footwear platform is shipped to a retail location or similar point of sale. The remaining operations inprocess 700 may be performed without special tools or materials, which allows for flexible customization of products sold at the retail level without requiring the manufacture and inventory of every combination of automated footwear sub-assembly and lacing engine options.
At 750,process 700 continues with selecting a lacing engine, which may be an optional operation if only one lacing engine is available. In an example, the harness engine 10 (motorized harness engine) is selected for assembly into a subassembly from operations 710-740. However, as noted above, automated footwear platforms are designed to accommodate a variety of types of lacing engines, from fully automated motorized lacing engines to manually activated lacing engines. The subassembly constructed inoperations 710 through 740 with components such as theoutsole 60,midsole 50, andmidsole plate 40 provides a modular platform to accommodate various optional automation components.
At 760,process 700 continues with inserting the selected lacing engine into the midsole plate. For example, the lacingengine 10 may be inserted into themidsole 40 and thelacing engine 10 slid under the shoelace loop, extending through thelacing engine cavity 410. With thelace engine 10 in place and the lace cable engaged within a spool of the lace engine, such asspool 130, a cover (or similar component) may be installed into the midsole plate to secure thelace engine 10 and the shoelace. An example of installing thecover 20 into themidsole plate 40 to secure thelacing engine 10 is illustrated in fig. 4B-4D and discussed above. With the cover secured to the lacing engine, the automated footwear platform is complete and ready for active use.
Fig. 8A-8B include a flow diagram generally illustrating anassembly process 800 for assembling a footwear upper ready for assembly into a midsole, according to some example embodiments.
Fig. 8A visually depicts a series of assembly operations for final assembly of a laced upper portion of a footwear assembly to an automated footwear platform, such as throughprocess 700 discussed above. Theprocess 800 illustrated in fig. 8A begins withoperation 1,operation 1 involving obtaining a knitted upper and a lace (lace cable). Next, the first half of the knit upper is laced with a lace. Lacing the upper, in this example, includes threading a lace cable through a plurality of eyelets and securing one end to a forward portion of the upper. Next, the lace cables are routed under the fixtures supporting the upper and are wound to the opposite side. Then, in operation 2.6, the other half of the upper is laced while keeping the lower lace loop around the securing device. In 2.7, the lace is secured and trimmed, while in 3.0 the securing means are removed, so that the laced knitted upper with the lower lace loop remains under the upper portion.
Fig. 8B is a flow chart illustrating another example of aprocess 800 for assembling a footwear upper. In this example,process 800 includes operations such as: the upper and lace cables are obtained at 810, the first half of the upper is laced at 820, the lace is routed under the lace fixtures at 830, the second half of the upper is laced at 840, the lace is tightened at 850, the upper is completed at 860, and the lace fixtures are removed at 870.
Process 800 begins at 810 by obtaining an upper and lace cables for assembly. Obtaining the upper may include placing the upper on lacing fixtures used in other operations ofprocess 800. At 820,process 800 continues with lacing the first half of the upper with a lace cable. Lacing operations may include routing a lace cable through a series of eyelets or similar features built into the upper. Lacing operation at 820 may also include securing one end of a lacing cable to a portion of the upper. Securing the lace cable may include stitching, knotting, or otherwise connecting the first end of the lace cable to the securing portion of the upper.
At 830,process 800 continues with disposing the free end of the lace cable under the upper and around the lace fixtures. In this example, the lace fixtures are used to create suitable lace loops under the upper for eventual engagement with the lace engine after the upper is engaged with the midsole/outsole assembly (see discussion of fig. 7 above). The lace securing device can include a groove or similar feature to at least partially retain the lace cable during subsequent operations of theprocess 800.
At 840,process 800 continues with lacing the second half of the upper with the free end of the lace cable. Lacing the second half may include routing the lace cable through a second series of eyelets or similar features on the second half of the upper. At 850,process 800 continues with tightening the lace cable through the plurality of eyelets and around the lace fixtures to ensure that the lower lace loop is properly formed to properly engage with the lace engine. The lace securing devices help to achieve the proper lace loop length, and different lace securing devices may be used for different sizes or styles of footwear. The lacing process is completed at 860, and the free end of the lace cable is secured to the second half of the upper. Completion of the upper may also include additional trimming or stitching operations. Finally, at 870,process 800 is complete and the upper is removed from the lace fixtures.
Figure 9 is a diagram illustrating a mechanism for securing a shoelace within a spool of a lacing engine according to some exemplary embodiments. In this example,spool 130 of lacingengine 10 receiveslace cable 131 withinlace groove 132. Fig. 9 includes a lace cable with a sleeve (ferrules) and a spool with a lace groove that includes a recess that receives the sleeve. In this example, the sleeve snaps (e.g., an interference fit) into the recess to help retain the lace cable within the spool. Other exemplary spools, such asspool 130, do not include recesses, and other components of the automated footwear platform are used to retain the lace cables in the lace grooves of the spool.
Fig. 10A generally illustrates a block diagram of components of amotorized lacing system 1000, according to an exemplary embodiment. Thesystem 1000 includes some, but not necessarily all, of the components of the motorized lacing system, such as including interface buttons 1001 (e.g., corresponding to thebuttons 121 in the example of fig. 2A), afoot presence sensor 1010, and ahousing structure 100, thehousing structure 100 enclosing a printed circuit board assembly (PCA) having aprocessor circuit 1020, abattery 1021, a chargingcoil 1022, anencoder 1025, amotion sensor 1024, and a drive mechanism 1040. The drive mechanism 1040 may include amotor 1041, ashifter 1042, and alace spool 1043, among others. Themotion sensors 1024 may include single or multi-axis accelerometers, magnetometers, gyroscopes, or other sensors or devices configured to sense motion of thehousing structure 150 or one or more components within thehousing structure 150 or coupled to thehousing structure 150, among others. In an example, thesystem 1000 includes amagnetometer 1220 coupled to aprocessor circuit 1020.
In the example of fig. 10A, theprocessor circuit 1020 is in data or power signal communication with one or more of theinterface buttons 1001, thefoot presence sensor 1010, thebattery 1021, the chargingcoil 1022, and the drive mechanism 1040. Thetransmission 1042 couples themotor 1041 to thespool 1043 to form the drive mechanism 1040. In the example of fig. 10A, thebutton 1001,foot presence sensor 1010, andenvironmental sensor 1050 are displayed outside of thehousing structure 100 or partially outside of thehousing structure 100.
In alternative embodiments, one or more of thebuttons 1001,foot presence sensors 1010, andenvironmental sensors 1050 may be enclosed in thehousing structure 100. In an example, thefoot presence sensor 1010 is preferably disposed inside theshell structure 100 to protect the sensor from perspiration and dirt or debris. Minimizing or eliminating connections through the walls of thehousing structure 100 may help improve the durability and reliability of the assembly.
In an example, theprocessor circuit 1020 controls one or more aspects of the drive mechanism 1040. For example, theprocessor circuit 1020 may be configured to receive information from thebuttons 1001 and/or from thefoot presence sensor 1010 and/or from themotion sensor 1024, and in response, control the drive mechanism 1040, such as tightening or loosening the footwear about the foot. In an example, theprocessor circuit 1020 is additionally or alternatively configured to issue commands to acquire or record sensor information from thefoot presence sensor 1010 or other sensors, among other functions. In an example, theprocessor circuit 1020 operates the drive mechanism 1040 on a condition that (1) the foot presence is detected using thefoot presence sensor 1010 and (2) the specified posture is detected using themotion sensor 1024.
In an example, thesystem 1000 includes anenvironmental sensor 1050. Information fromenvironmental sensors 1050 may be used to update or adjust a baseline or reference value forfoot presence sensor 1010. As explained further below, the capacitance value measured by the capacitive foot presence sensor may vary over time, such as in response to environmental conditions in the vicinity of the sensor. Using information from theenvironmental sensor 1050, theprocessor circuit 1020 and/or thefoot presence sensor 1010 may update or adjust the measured or sensed capacitance value.
In an example, thesystem 1000 includes sensors configured to collect different types of data. In an example, the sensors collect data regarding the number, order, and/or frequency of compressions of the insole 1201 (see, e.g., the discussion of fig. 12A-12G). For example,system 1000 may record the amount or frequency of stepping, jumping, sudden stops (cuts), kicks, or other compressive forces generated while the wearer is wearing the footwear, as well as other parameters, such as contact time and flight time. Both quantitative sensors and binary on/off type sensors can collect this data. In another example,system 1000 may record a sequence of compressive forces generated by the footwear that may be used for purposes such as determining pronation or supination of the foot, weight transfer, foot strike patterns, or other such applications. In another embodiment, the sensor may quantitatively measure the compressive force on different portions of the footwear (e.g., using an array of magnets 1250-1252 discussed below), and the measured information may include quantitative compressive force and/or impact information. For example, the relative differences in forces on different portions of the footwear may be used to determine the weight distribution or "center of pressure" of the wearer. The weight distribution and/or center of pressure may be calculated independently for one or both articles of footwear used by the wearer, or may be calculated for both shoes together to find the center of pressure or center of weight distribution for the entire body of the wearer. In an example, the sensor may measure a rate of change of the compressive force (see, e.g., fig. 12E and 12F), a contact time, a time of flight or time between impacts (such as jumping or running), and/or other time-related parameters. It should be understood that in any embodiment, the sensor may use or require a specified threshold force or impact before registering a given force/impact as an event.
Fig. 10B illustrates a flow chart showing an example of amethod 1100, themethod 1100 including using foot presence information from a footwear sensor. Inoperation 1110, this example includes receiving foot presence information fromfoot presence sensor 1010. The foot presence information may include binary information regarding whether a foot is present in the article of footwear or may include an indication of the likelihood that a foot is present in the article of footwear. This information may include electrical signals provided from thefoot presence sensor 1010 to theprocessor circuit 1050. In an example, the foot presence information includes qualitative information regarding the position of the foot relative to one or more sensors in the footwear.
Inoperation 1120, this example includes determining whether the foot is fully seated in the footwear. If the sensor signal indicates that the foot is fully seated, the example may continue inoperation 1130 where drive mechanism 1040 is actuated. For example, when it is determined atoperation 1120 that the foot is fully seated, such as based on information from thefoot presence sensor 1010, the drive mechanism 1040 may be engaged to tighten the lace via the spool 1031, as described above. If the sensor signal indicates that the foot is not fully seated, the example may continue inoperation 1122 by delaying or idling for some specified interval (e.g., 1 to 2 seconds or more). After the specified delay has elapsed, the example may return tooperation 1110, and theprocessor circuit 1050 may resample the information from thefoot presence sensor 1010 to again determine whether the foot is fully seated.
After the drive mechanism 1040 is actuated inoperation 1130, theprocessor circuit 1050 may be configured to monitor foot position information inoperation 1140. For example, the processor circuit may be configured to periodically or intermittently monitor information from thefoot presence sensor 1010 regarding the absolute or relative position of the foot in the footwear. In an example, inoperation 1140, the foot position information is monitored, and receiving the foot presence information inoperation 1110 may include receiving information from the same or differentfoot presence sensors 1010. For example, inoperations 1110 and 1140, different electrodes may be used to monitor the presence or location information of the foot.
Inoperation 1140, the example includes monitoring information from one or more buttons associated with the footwear, such asbutton 121. Based on information frombutton 121, such as when the user wishes to remove the footwear, drive mechanism 1040 may be instructed to disengage or loosen the lace.
In an example, lace tension information may additionally or alternatively be monitored or used as feedback information for actuating drive mechanism 1040 or for tensioning the lace. For example, the lace tension information may be monitored by measuring the driving current supplied to themotor 1041. The tension may be characterized at the point of manufacture, or may be preset or adjusted by the user, and may be correlated to a monitored or measured drive current level.
Inoperation 1150, this example includes determining whether the position of the foot in the footwear has changed. If thefoot presence sensor 1010 and theprocessor circuit 1050 do not detect a change in foot position, then the example may continue with a delay atoperation 1152. After the specified delay interval atoperation 1152, the example can return tooperation 1140 to resample the information from thefoot presence sensor 1010 to again determine whether the foot position has changed. The delay atoperation 1152 may be in the range of a few milliseconds to a few seconds and may optionally be specified by the user.
In an example, the delay inoperation 1152 may be determined automatically by theprocessor circuit 1050, such as in response to determining a footwear usage characteristic. For example, if theprocessor circuit 1050 determines that the wearer is engaged in intense activity (e.g., running, jumping, etc.), theprocessor circuit 1050 may reduce the delay duration provided inoperation 1152. If the processor circuit determines that the wearer is engaged in non-strenuous activity (e.g., walking or sitting), the processor circuit may increase the duration of the delay provided atoperation 1152. By increasing the delay duration, battery life may be conserved by deferring sensor sampling events and corresponding power consumption of theprocessor circuit 1050 and/or thefoot presence sensor 1010. In an example, if a change in position is detected inoperation 1150, the example may continue by returning tooperation 1130, e.g., actuating drive mechanism 1040 to tighten or loosen the footwear around the foot. In an example,processor circuit 1050 includes or incorporates a hysteresis controller (a hysteresis controller) for drive mechanism 1040 to help avoid unwanted lace entanglement in the event that a change in foot position is slightly detected, for example.
Fig. 11A-11D are diagrams illustrating motor control schemes for a motorized lace engine according to some exemplary embodiments. In an example, with respect to lace take-up, a motor control scheme involves dividing the total stroke into a plurality of segments that vary in size based on position on the continuous lace stroke (e.g., between a home/untightened position on one end and a maximum tightness on the other end). Since the motor is controlling the radial spool and will be primarily controlled by the radial encoder on the motor shaft, the size of the segments (which can also be viewed in terms of encoder counts) can be determined as a function of the extent of spool travel. On the loose side of the continuum (continuum), the segments may be larger, such as 10 degrees of thread travel, because the amount of lace movement is less important. However, as the lace is tightened, each increase in lace travel becomes increasingly important to achieve the desired degree of lace tightness. Other parameters, such as motor current, may be used as an auxiliary measure of lace tightness or continuous position. Fig. 11A includes an illustration of different segment sizes based on position along the cinching continuum.
In fig. 11A, the total lace travel may be divided into a fixed number of segments. The segment may be the amount of travel of the spool and may be fixed or variable. For example, the length of the segments may depend on the dimension of the lace engine in terms of the take-up of the lace. The example of fig. 11A includes a graphical representation of atotal lace travel 1100 divided into a plurality of serially arranged segments. For example, one or more segments may correspond to a rotational spool travel of approximately 10 degrees, such as when the lacing engine or footwear is at the first or loose end of the tightness scale. At the opposite second or tightening end of this dimension, the segment may correspond to approximately 2 degrees of rotational spool travel. Other values may be similarly used. In an example, the rotational position of the spool may be the primary input for the tightness setting, and the motor current may be used secondarily or as a safety check.
Fig. 11B illustrates a table for constructing motion profiles using the position of the tightening continuum based on the position of the current tightening continuum and the desired end position. The motion modality may be translated into a specific input, such as from a user input button, or gesture information received from a plurality of sensors. The motion profile may include parameters of the spool motion such as acceleration (degrees/sec)), velocity (degrees/sec)), deceleration (degrees/sec)), and angle (degrees)) of motion.
FIG. 11B includes an example of a first table 1101 of spool movement or position characteristics. The motion profile may be any combination of one or more movement or position characteristics. In an example, an auto-tie event, button press, gesture-based input, or other input may initiate or trigger a motion profile. In an example, the processor circuit receives a trigger input and then updates the motor current supply to support the requested motion defined by the input. A multiplier or factor for gear reduction may be provided, such as may be used to quickly update or change one or more entries in the first table 1101. The first table 1101 is only one example, and the illustrated values may change, for example, based on user settings, preferences, or default settings.
Fig. 11C depicts an exemplarykinematic profile graph 1103.Graph 1103 includes an x-axis representing time and a y-axis representing speed. The speed axis corresponds to the speed at which the lace or spool travels. In the example of fig. 11C, the lace may be wrapped and unwrapped using a "home-to-comfort" motion profile, followed by a "relaxed" motion profile.
Fig. 11D generally illustrates a second table 1103 that includes examples of multiple user inputs that may actuate multiple modalities of motion along a continuum of footwear tightness. In an example, the footwear or lacing engine can include or use a variety of factory default settings for baseline comfort and performance. However, the lacing engine may be caused to perform one or more different morphological or movement changes in response to user input, such as a button press. For example, the lacing engine may be incrementally moved between the multiple segments in response to a "Short" press. In response to a "Double time" press, the lacing engine may be moved between adjacent predefined or designated motion profiles. In response to the button "Hold" (e.g., a Hold greater than about 250 ms), the lace engine can be moved between fully tightened or fully loosened configurations. In an example, any user input or other input to the button may stop the lacing engine.
Fig. 12A is a block diagram illustrating a footwear component that may include a magnetic foot presence sensor. The example in fig. 12A includes amagnetometer 1220 and afirst magnet 1210 spaced apart from themagnetometer 1220. Although generally referred to herein as a "magnet,"magnetometer 1220 can use and sense a variety of materials or components. In an example, themagnetometer 1220 does not sense thefirst magnet 1210 itself, but rather the effect of thefirst magnet 1210 on the magnetic field at or near themagnetometer 1220 is sensed by themagnetometer 1220. Thus, references herein to the first magnet 1210 (or other magnet or magnetic body) may be understood to include other materials detectable by themagnetometer 1220, or the role of thefirst magnet 1210 or other materials.
Magnetometer 1220 can be surface mounted or otherwise coupled tohost PC component 1230, andPC component 1230 can be included inhousing structure 100. In an example, thefirst magnet 1210 is positioned laterally offset from a vertical axis of themagnetometer 1220. For example, thefirst magnet 1210 may be disposed in thefoam insole 1201, and thefoam insole 1201 may be configured to be used or worn adjacent to theshell structure 100, such as inside an article of footwear.
In an example,magnetometer 1220 comprises an LSM303AGR from ST Microelectronics, inc (e.g., a combination of an accelerometer and a magnetometer), or similar device. In an example, under normal use conditions, foot pressure from the foot displaces the magnet 1210 (e.g., within the foam insole 1201) by about 0.5mm to 1 mm. In an example, thefoam insole 1201 may be included in a recess above theshell structure 100, or may be included as part of another insole. Other examples may include the use of a bridge to hold themagnet 1210, as discussed further below. The bridge may help increase the area onto which an applied pressure or force (e.g., from the foot) displaces themagnet 1210. Thefoam insole 1201 may be selectively coupled or responsive to an applied pressure by, for example, placing a membrane on top of thefoam insole 1201 and the magnet. For example, the stiffness, shape, and/or area of the membrane may vary depending on the target area under the foot. That is, a single or unitary membrane may have different regions corresponding to different foot regions, thereby adjusting the sensitivity of the sensor system.
Themagnet 1210 andmagnetometer 1220 need not be positioned such that themagnet 1210 is positioned vertically above themagnetometer 1220. In an example, as illustrated in the example of fig. 12A, themagnet 1210 can be offset to one side or the other of themagnetometer 1220.
Although labeled as "foam" in the example of fig. 12A, the compressible layer of thefoam insole 1201 may be any compressible material, such as foam, rubber, silicone, cloth, or polymer-based materials, or other materials. In an example, the compressible layer has a thickness of about 3mm to 10 mm.
In an example, theharness engine 10 includes ahousing structure 100, and themagnetometer 1220 is included inside or on top of thehousing structure 100. In an example, the shell structure is a polycarbonate structure having a wall thickness of about 1 mm. In other examples, the housing structure may be made of aluminum, steel, or other non-conductive materials, including glass, ceramic, rubber, or various polymers or plastics.
Fig. 12A showsinsole 1201 in a first compressed state such thatmagnet 1210 andmagnetometer 1220 are separated by a first distance D1. Fig. 12B showsinsole 1201 in a second, more compressed state, such thatmagnet 1210 andmagnetometer 1220 are separated by a second, smaller distance D2. In an example,magnetometer 1220 provides distance information toprocessor circuit 1020, andprocessor circuit 1020 is configured to identify or use information about distance or about a rate of change between successive distance information. For example, theprocessor circuit 1020 may be configured to determine foot impact characteristics, such as impact force or impact timing or frequency, based on the distance information.
While fig. 12A and 12B generally illustrate a single magnet and single magnetometer configuration, other configurations may also be used. For example, multiple magnets may be used with a single magnetometer. Fig. 12C is a block diagram illustrating a footwear component that may include a magnetic foot presence sensor having amagnetometer 1220 and a plurality of magnets 1210-1213 (or other discrete materials that may be sensed by magnetometer 1220). In an example, the plurality of magnets 1210-1213 may be positioned at different locations in the article of footwear. For example, an array of magnets may be disposed within the insole, such as at different vertical heights above or nearmagnetometer 1220 and/or different lateral spacings with respect tomagnetometer 1220. In the example of fig. 12C, thefirst magnet 1210 is offset by a first height and lateral displacement relative to themagnetometer 1220, and thesecond magnet 1211 is offset by a second, smaller height and smaller lateral displacement relative to themagnetometer 1210. Alternatively or additionally, multiple magnetometers may be used to sense information about the displacement of one or more different magnets.
Fig. 12D is a block diagram illustrating a top view of a footwear component including a magnetic foot presence sensor with amagnetometer 1220. In this example, an array of magnets 1250-1252 (or other discrete material that can be sensed by magnetometer 1220) is shown laterally offset (i.e., in the x and y directions) from the vertical axis (i.e., the z direction into the page) ofmagnetometer 1220. In this example, information frommagnetometer 1220 can be used to monitor for foot presence and to monitor information about foot cut (foot shear), i.e., information about lateral movement of the foot position. For example, a foot on theinsole 1201 may cause the insole to move or deflect forward, backward, or to one side. An array of magnets 1250-1252, such as may be coupled to theinsole 1201 or disposed within theinsole 1201, may move relative to themagnetometer 1220. The resulting signal frommagnetometer 1220 may indicate the degree or magnitude of shear or subsequent foot movement (laterfoot movement).
In an example, an article of footwear (see, e.g., fig. 1) may include a ferromagnetic body disposed in the article, such asmagnet 1210 or an array of magnets 1250-1252. The article may include amagnetometer 1220 disposed or arranged within the article to measure the strength or direction of a magnetic field affected by the position of the ferromagnetic body. In an example, one of the ferromagnetic body and the magnetometer is configured to move relative to the other of the ferromagnetic body and the magnetometer, such as according to movement of a foot in the item or according to movement of the item itself. For example, when a ferromagnetic body is provided in theinsole 1201, the ferromagnetic body may move according to compression or relaxation of theinsole 1201 when the article is used for walking, running, or other activities.
In an example, themagnetometer 1220 is coupled to theprocessor circuit 1020. Theprocessor circuit 1020 may receive signals from the magnetometer corresponding to the sensed magnetic field strength. In an example, the signal includes information about a change or rate of change of the sensed magnetic field. For example, the signal may include information about the varying position or series of positions of the ferromagnetic body relative to themagnetometer 1220.
Fig. 12E and 12F illustrate graphs showing time-varying information from a magnetometer. Fig. 12E shows a firstmagnetic field plot 1261 with a first time-varyingmagnetic field signal 1271. In an example, the first time-varyingmagnetic field signal 1271 may be generated bymagnetometer 1220 and based on sensed information regarding the position ofmagnet 1210 relative to magnetometer 1220 (e.g., in a first article of footwear). That is, the first time-varyingmagnetic field signal 1271 may represent magnetic field strength information that varies over time.
In the example of FIG. 12E, the first time-varyingmagnetic field signal 1271 has a baseline or reference magnetic field strength B0. Reference magnetic field strength B0May correspond to a reference location for an article of footwear that includesmagnetometer 1220 andmagnet 1210. In the example, reference is made to the magnetic field strength B0Corresponding to footwear that is empty or unused, or in a relaxed or uncompressed state (e.g., the wearer is sitting or otherwise exerting minimal force on the insole 1201). In the example, reference is made to the magnetic field strength B0Corresponding to a stationary footwear condition, such as when the wearer is standing substantially stationary and themagnet 1210 is biased toward themagnetometer 1220 by a substantially constant biasing force.
The example of FIG. 12E illustrates several variations of the first time-varyingmagnetic field signal 1271 over the interval shown. In an example, the several changes correspond to a foot strike event or step. First time T1May correspond to the beginning of the first step. That is, at a first time T1The wearer of the article may begin to apply pressure or force to theinsole 1201 of the first article of footwear that includes themagnet 1210. At a second time T2The first step may be completed and the weight of the wearer may substantially rest on the foot corresponding to the first article of footwear. At a second time T2Theinsole 1201 may be compressed and themagnet 1210 may be moved to a closer position relative to themagnetometer 1220. Thus,magnetometer 1220 can detect more than at reference location B0At a magnetic field strength B of greater magnetic field strength detectedWalk。
From the second time T2To a third time T3The interval of (d) may represent the wearer performing walking movements and releasing pressure or compressive forces from the first foot. Thus, at least a portion of the first stepping event may be initiated by the first time T1And a third time T3The interval therebetween. At time T3Themagnet 1210 in the first article of footwear returns to its baseline or reference position, and themagnetometer 1220 again senses the reference magnetic field strength B0。
A variety of information regarding the first step event may be determined from the first time-varyingmagnetic field signal 1271. In an example, the signal amplitude varies (e.g., Δ B in FIG. 12E)1) The foot impact force of the first stepping event may be indicated. That is, quantitative information about foot strike may correspond to the displacement of themagnet 1210 relative to themagnetometer 1220. A greater signal amplitude change may correspond to a greater foot impact force, for example, becauseinsole 1201 may be compressed more at greater foot impact forces than at lesser forces.
Information about the duration between amplitude changes of the plurality of magnetic field signals may be used to provide information about foot strike. For example, the first timeInter T1And a second time T2The duration of time in between may indicate how quickly theinsole 1201, and thus the foot, goes from a relaxed state to a compressed state, and in an example, may correspond to how fast the user is moving (walking, jogging, running, etc.). Thus, in an example, the duration information can be used to assess or provide information about the physiological effect of the wearer's own activity or gait.
In an example, the activity type may be classified based on rate of change information from the first time-varyingmagnetic field signal 1271 or based on signal morphology information. The magnetic field signal representing walking gait may have a different time interval between signal peaks and troughs than the signal representing running gait. The signals representing the jogging gait can be further differentiated, such as based on signal bounce or other minor changes in the signals. For example, the signal corresponding to a jogging gait may have a longer interval, with slightly rounded peaks or troughs, while the duration between different peak or trough events may drift moderately over time. The signal corresponding to a running gait may have short intervals and sharp, well-defined peaks or valleys, and may include a most consistent or static duration over time between different peak or valley events.
In the example of FIG. 12E, the first time T1And a second time T2The rate of change or slope of the first time-varyingmagnetic field signal 1271 in between is different from the second time T2And a third time T3Or slope of the change in the direction of the axis. In this example, the difference in slope may indicate a relatively quick start of stepping and a relatively slow or relaxed rebound or transition to another foot. In some examples, the magnetic field signal slope may be relatively constant over different stepping events, and the slope may be relatively constant for each foot. Rate of change information about different feet, or rate of change information about portions of the magnetic field signal, may be used to analyze the gait of the wearer, such as to determine whether the wearer tends to "lean" toward one foot over another, or to analyze the progress of recovery after an injury.
In an example, rate of change information or event information may be determined from the time-varying magnetic field signal and used to identify a series of foot strike events. This information can be used to provide a pedometer or pedometer. In an example, theprocessor circuit 1020 may include or use information about the length of the step and foot strike information to calculate distance information. In an example, different step information, such as different rate of change information corresponding to a foot strike with respect to a particular foot strike event, may be selected by theprocessor circuit 1020 to enhance the accuracy of the distance determination.
Fig. 12F shows a secondmagnetic field plot 1262 with a second time-varyingmagnetic field signal 1272. In an example, a second time-varyingmagnetic field signal 1272 may be generated bymagnetometer 1220 and based on sensed information regarding the position ofmagnet 1210 relative tomagnetometer 1220, such as in a first article of footwear. That is, the second time-varyingmagnetic field signal 1272 may represent magnetic field strength information that varies over time.
In the example of FIG. 12F, the second time-varyingmagnetic field signal 1272 has a baseline or reference magnetic field strength B0. The baseline or reference field may be the same or different baseline or reference field as used in the example of fig. 12E. In an example, the baseline or reference field can be user specified and can be influenced by one or more environmental factors that contribute to the magnetic field strength detected bymagnetometer 1220. Similar to as explained above, the reference magnetic field strength B in the example of fig. 12F0May correspond to a reference location for an article of footwear that includesmagnetometer 1220 andmagnet 1210.
The example of FIG. 12F illustrates several variations of the second time-varyingmagnetic field signal 1272 over the interval shown. In an example, the several variations correspond to a foot strike event or step of a running wearer. First time T1May correspond to the beginning of the first step in a running gait. That is, at a first time T1The wearer of the article may begin to apply pressure or force to theinsole 1201 of the first article of footwear that includes themagnet 1210. At a second time T2The first step in the running gait can be completed,and the weight of the wearer may rest substantially or entirely on a foot corresponding to the first article of footwear. At a second time T2Theinsole 1201 may be compressed and themagnet 1210 may be moved to a closer position relative to themagnetometer 1220. As a result,magnetometer 1220 can detect more than at reference location B0A magnetic field strength B of a detected magnetic field strength larger than that of the magnetic field strengthRunning machine. Further, since a running gait may indicate that the wearer is traveling at a faster speed than walking, the magnetic field strength B detected in the example of fig. 12FRunning machineMay be greater than the magnetic field strength B detected in the example of fig. 12EWalk(e.g., assume that the first time-varyingmagnetic field signal 1271 and the second time-varyingmagnetic field signal 1272 correspond to the same wearer, or wearers of substantially the same weight).
From the second time T2To a third time T3The interval(s) may represent the wearer performing a running exercise on the first foot and releasing pressure or compressive force from the first foot. At time T3Themagnet 1210 in the first article of footwear returns to its baseline or reference position, and themagnetometer 1220 again senses the reference magnetic field strength B0。
A variety of information about discrete steps or steps in a running gait can be determined from the second time-varyingmagnetic field signal 1272. In an example, the signal amplitude varies (e.g., Δ B in FIG. 12F)2) May represent the peak foot impact force of the illustrated step. As shown in the example of fig. 12F, different steps may have different peaks. A greater peak or greater change in signal amplitude may correspond to a greater foot impact force, for example, becauseinsole 1201 may be compressed more at greater foot impact forces than at lesser forces.
Information about the duration between amplitude changes of the plurality of magnetic field signals may be used to provide information about foot strike. For example, at a first time T1And a second time T2The duration of time therebetween may indicate how quickly theinsole 1201, and thus the foot, goes from a relaxed state to a compressed state, and in an example, may correspond to the speed of the wearer's runningHow fast.
FIG. 12G generally illustrates an example of amethod 1260, the method 1206 comprising activating an active footwear response to a magnetometer signal. Themethod 1260 may be performed, at least in part, by theprocessor circuit 1020 using information from themagnetometer 1220. Inoperation 1261, themethod 1260 comprises receiving a signal from themagnetometer 1220. The received signal may comprise an analog or digital time varying signal indicative of a time varying magnetic field detected by themagnetometer 1220. The magnetic field may vary, for example, based on the change in position of themagnet 1210 in the footwear. In an example, theprocessor circuit 1020 or other dedicated circuit configured to perform an action based on the specified input condition may be configured to receive the magnetometer signal inoperation 1261.
Inoperation 1262, theprocessor circuit 1020 may analyze the received signal and determine whether the magnetic body (e.g., the magnet 1210) has moved or displaced, such as moved or displaced by more than a specified threshold amount of movement. If no movement or insignificant (non-threshold) displacement is detected, themethod 1260 may return tooperation 1261 to receive subsequent information from themagnetometer 1220. In an example, a fixed or variable delay may be provided between magnetometer signal sampling events. If it is determined inoperation 1262 that the magnetic body has moved more than a specified threshold amount of motion, the example may continue tooperation 1263 where a response is initiated in the active footwear that includesmagnetometer 1220.
For example, inoperation 1263, various footwear functions may be initiated, such as actuating a lace drive mechanism (operation 1264), determining a foot impact characteristic (operation 1265), or determining a rate of stepping (operation 1266). Inoperation 1264, the lace drive mechanism may be actuated. For example, the lace drive mechanism may be actuated according tooperation 1130 in the example of fig. 10B. In an example, actuating the lace drive mechanism inoperation 1264 includes monitoring foot strike or rate of change information from the time-varying magnetometer signals (e.g., the time-varying magnetometer signals received in operation 1261). Lace drive actuation inoperation 1264 may include automatically adjusting footwear tension around the foot in response to the sensed foot impact information. For example, in response to information from the time-varying magnetometer signals indicating a strenuous activity or a severe use condition (such as running or jumping), the lace drive mechanism may be actuated inoperation 1264 to tighten the footwear around the foot. In contrast, if the time-varying information frommagnetometer 1220 indicates that the wearer is stationary or walking slowly, the lace drive mechanism may be actuated inoperation 1264 to loosen the footwear around the foot.
In an example, actuating the lace drive mechanism inoperation 1264 includes tensioning the footwear around the foot when the wearer first puts on the footwear. The magnetometer signals received inoperation 1261 may indicate that the user has just begun moving the footwear or beginning to step with the footwear, and in response, the drive mechanism may be actuated to rapidly tighten the footwear to the first tension level. The tension level may be automatically adjusted by theprocessor circuit 1020, such as after receiving gait information on a first pair of stepping events.
Inoperation 1265, the example of FIG. 12G includes determining a foot impact characteristic based on the received magnetometer signals. As discussed above in the examples of fig. 12E and 12F, the foot impact characteristics may include a rate of change of a compressive force applied to the footwear (and thus experienced or experienced by the foot inside the footwear). Foot impact characteristics may include information about contact time, flight time, or time between impacts, such as during running, walking, jumping, or other activities.
In an example, information about foot impact characteristics may be used to provide information to a wearer about the extent to which his or her foot (individually) impacts or strikes a receiving surface. The information regarding foot impact characteristics may also include information regarding whether the wearer is moving in the proper or desired foot position. Such foot placement information may be discerned using a multi-axis magnetometer or using an array ofmagnets 1250 through 1252. In an example, information regarding foot impact characteristics may be recorded over time and used to provide information regarding the status of one or more components of the footwear. For example, theprocessor circuit 1020 may use information regarding foot impact characteristics over time to determine when theinsole 1201 needs to be replaced.
Inoperation 1266, the example of FIG. 12G includes determining a rate of stepping using the received magnetometer signals. As discussed above in the examples of fig. 12E and 12F, the rate of stepping may correspond to changes identified in the time-varying magnetic field signal sensed by themagnetometer 1220. For example, changes in the magnetic field that indicate, for example, an increase in field strength and subsequent decrease over a specified duration of time may be used to indicate a stepping event or the likelihood of a stepping event occurring.
Fig. 12G illustrates several available responses to an identified change in the magnetic field signal sensed bymagnetometer 1220. Other responses may be similarly initiated, such as including other responsive actions taken by circuits or devices in the footwear or other devices or processes in data communication with the footwear. For example, data may be collected from one or more sensors in the footwear, such as frommotion sensor 1024 orenvironmental sensor 1050, in response to the identified field change. In an example, the morphology or morphology of the time-varying magnetic field signal may be analyzed by theprocessor circuit 1020, and the posture information may be identified and used to trigger one or more other footwear functions, processes, or data transfer events.
Fig. 13 is a diagram generally illustrating pressure distribution data for a nominal or average foot (left) and a high arch foot (right) in an article of footwear when the article of footwear is standing. In this example, it can be seen that the relatively large pressure areas under the foot include at theheel area 1301, at the ball area 1302 (e.g., between the arch and toes), and at the hallux area 1303 (e.g., the "big toe" area). However, as discussed above, it may be advantageous to include various active components (e.g., including foot presence sensors) in a central region, such as at or near the arch region. For example, in this region,shell structure 100 may generally be less noticeable or less intrusive to a user when an article of footwear includingshell structure 100 is worn.
In an example, a magnetometer (such asmagnetometer 1220 in the examples of fig. 12A-12D) may be included in or onhousing structure 100 and may be disposed in the arch region of an article of footwear. As described above, one or more magnets located in theinsole 1201 may be positioned near themagnetometer 1220, such as also in the arch region of the article. However, because the arch region is typically not subject to significant pressure or force variations (see, e.g., fig. 13), the bridge member may optionally be used to transfer force from another foot region to the magnet and/ormagnetometer 1220, e.g., to affect or enhance the displacement of the magnet relative tomagnetometer 1220.
Fig. 14A and 14B generally illustrate a bridge member or pressure plate shown in use with a magnetic sensor. Fig. 14A illustrates afirst magnet 1401 disposed onbridge member 1410. Thebridge member 1410 may be coupled to thecover 1420 of thehousing structure 100 by aspring wire 1430. Thespring wire 1430 may be configured to push or bias thebridge member 1410 and thereby move thefirst magnet 1401 into a first position, such as when thefirst magnet 1401 is not experiencing the presence of a foot or when no pressure is applied to an article of footwear that includes the sensor. That is, thespring wire 1430 may act as a cantilever arm that protrudes from thecover 1420 and holds thefirst magnet 1401 at or near the edge of the cantilever arm. When a force or foot pressure is applied tobridge member 1410,bridge member 1410 may deflect or move relative tohousing structure 100 and relative tomagnetometer 1220 included withinhousing structure 100. In an example,shell structure 100 and/or another component of the footwear (such as midsole 60) includes a recess, cavity, or compressible member configured to receive at least a portion ofbridge member 1410 to provide a path of travel forbridge member 1410 andfirst magnet 1401 when a force or foot pressure is applied tobridge member 1410 andfirst magnet 1401.
Bridge member 1410 may have a variety of shapes, contours, or orientations. For example,bridge member 1410 may have an elongated shape that is parallel or orthogonal to the heel-to-toe axis of the article of footwear. In an example, the elongate shape may be configured to receive foot displacement information from aheel region 1301 and/or atoe region 1303 of the foot (see fig. 13). In an example, the elongate shape receives foot displacement information from the arch region by receiving displacement information from the left and/or right sides of the foot.
In an example,bridge member 1410 may be a replaceable element in an article of footwear.Bridge member 1410 may be selected from a number of different bridge member types or styles according to the user's preference or anatomy. For example, a user with a high arch may use bridge members that are wider or longer than bridge members used by users with a low or shallow arch.
In an example, the article of footwear includes abridge component 1410, and at least one of a ferromagnetic body (such as a magnet 1210) and amagnetometer 1220 are coupled to thebridge component 1410. The bridge member can be configured to bias at least one of themagnet 1210 and themagnetometer 1220 away from the other of themagnet 1210 and themagnetometer 1220 when themagnet 1210 and themagnetometer 1220 are in a relaxed state or a reference position.
In an example,bridge member 1410 is rigid or semi-rigid, such as made of a non-flexible polymer or thin metal or ceramic. The bridge member may be configured to receive foot displacement forces from the foot from the arch region or other regions of the foot and, in response, to correspondingly displace one of themagnet 1210 and magnetometer 1220 (e.g., disposed on thebridge member 1410 or coupled to the bridge member 1410) relative to its reference position.
Fig. 15A-15C illustrate test data associated with a magnet-based foot presence sensor configuration in which the magnet poles are oriented along the x-axis. Fig. 15D-15F illustrate test data associated with a magnet-based foot presence sensor configuration in which the magnet poles are oriented along the y-axis. Fig. 15G-15I illustrate test data associated with a magnet-based foot presence sensor configuration in which the magnet poles are oriented along the z-axis.
Fig. 16A to 16B illustrate magnetic field strength test data of a rectangular magnet. Fig. 16C to 16F illustrate magnetic field strength test data of the first circular magnet.
Fig. 17A to 17D illustrate magnetic field strength test data of the first circular magnet.
Fig. 15A-17D illustrate a plurality of test data associated with a magnet and a magnetometer. In the example of fig. 15A-15I, the field strength may be unstable or inconsistent along the Z-axis of the magnetometer. Typically, the magnetic field strength drops rapidly as the magnet travels along the X-axis or Y-axis, such as about 50mm laterally away from the magnetometer. The Z component typically peaks and then falls off as one travels in the X and Y directions.
Fig. 16A-16F illustrate field strength test data corresponding to different magnet types and different lateral offset positions relative to a magnetometer.
Based on the examples of fig. 15A-17D, it can be seen that several positions can provide an acceptable signal-to-noise ratio (SNR) for each magnet type. A minimum deflection of about 0.5mm is typically used to obtain a good SNR. Placement of the magnet directly above the magnetometer may not be as good as other magnet placement locations. In an example, magnetometers may have multiple uses, such as maximizing the signal on one or two axes and not maximizing the signal on the other axis by placing magnets. This arrangement may enable a flag pulse (index pulse) for spooling (spooling) or other functions.
A variety of different magnet types and shapes may be used. For example, neodymium magnets may be used. The magnets may be rectangular, circular, annular, small (e.g., about 0.1 inch diameter by about 0.04 inch thick), or large (e.g., about 0.25 inch diameter by about 0.06 inch thick).
The present inventors have recognized that to optimize the performance of a magnetometer in a footwear environment having a small magnet travel or deflection distance, the magnet should be offset from the Z-axis associated with the magnetometer, that is, laterally or laterally spaced from the vertical or Z-axis of the magnetometer.
In an example, an article of footwear may include or use a capacitive foot presence sensor. The capacitive foot presence sensor may comprise a surface type sensor or a projection type sensor. Surface-type sensors use capacitive sensors at the corners of the film, which may be distributed over the sensor surface. In this example, the capacitive sensor surface may comprise an interior surface of the article of footwear, such as on an insole, tongue, article of footwear wall, or elsewhere. Projection-type sensors may use a grid of conductive elements arranged in rows and columns. In both types, when a body part or foot is located at or near the membrane and/or conductive element, charge can be transferred to the foot to complete the circuit, thereby creating a voltage change.
Fig. 18 illustrates generally an example of acapacitive sensor 1500.Capacitive sensor 1500 may include a plurality of capacitive plates, such as may be disposed onshell structure 100, for example,capacitive sensor 1500 may be positioned at or near an underside of the foot when an article of footwear includingcapacitive sensor 1500 is worn.
Thefoot presence sensor 1500 may include a plurality of capacitor plates. In the example of fig. 18, four capacitor plates are identified as 1501 through 1504. The capacitor plates may be made of a conductive material, such as a conductive foil. The foil may be flexible and may optionally be embedded in the plastic of thehousing structure 100. It should be understood that any conductive material such as a film, an ink, etc. may be used.
The capacitance value of a capacitor is functionally related to the dielectric constant of the material between the two plates forming the capacitor. Withinsensor 1500, a capacitor may be formed between each pair of two ormore capacitor plates 1501 to 1504. Thus, there are six effective capacitors formed by six unique combined pairs ofcapacitor plates 1501 to 1504. Alternatively, two or more plates may be electrically coupled to form a single plate. That is,first capacitor plate 1501 andsecond capacitor plate 1502 may optionally be electrically coupled and function as one half of a capacitor, andthird capacitor plate 1503 andfourth capacitor plate 1504 are electrically coupled to form the other half.
The capacitive effect between thefirst capacitor plate 1501 and thesecond capacitor plate 1502 is represented in fig. 18 by the dashed capacitor identified by the letter a. The capacitive effect betweenfirst capacitor plate 1501 andthird capacitor plate 1503 is represented by the dashed capacitor identified by the letter B. The capacitive effect between thesecond capacitor plate 1502 and thefourth capacitor plate 1504 is represented by the dashed capacitor identified by the letter C. The capacitive effect betweenthird capacitor plate 1503 andfourth capacitor plate 1504 is represented by the dashed capacitor identified by the letter D. The capacitive effect betweensecond capacitor plate 1502 andthird capacitor plate 1503 is represented by the dashed capacitor identified by letter E. The capacitive effect between the first 1501 and fourth 1504 capacitor plates is represented by the dashed capacitor identified by the letter F. It will be understood by those of ordinary skill in the art that each dashed capacitor represents an electric field extending between a respective pair of capacitor plates. Hereinafter, for ease of identification, the capacitors formed by each pair of capacitor plates are identified with the same letters (e.g., "a", "B", etc.) as used in fig. 18 for the capacitors drawn with dashed lines.
For each pair of capacitor plates in the example of fig. 18, the effective dielectric between the plates includes an air gap (or other material) between the plates. Further, for each pair of capacitor plates, any portion of the foot adjacent the respective pair of capacitor plates becomes part of the effective dielectric of the given pair of capacitor plates. The dielectric constant between each pair of capacitor plates may be related to the proximity of the feet relative to the respective pair of plates. For example, the closer the foot is to a given pair of plates, the greater the value of the effective dielectric. As the value of the dielectric constant increases, the capacitance value increases.
The foot presence sensor may include a plurality of capacitive sensor drive/monitoring circuits. In the example of fig. 18, a drive/monitor circuit may be associated with each pair of capacitor plates. In an example, the drive/monitor circuit may provide a drive signal (e.g., electrical excitation) to the pair of capacitor plates and, in response, may accept a capacitance indicator value. Each drive/monitor circuit may be configured to measure a variable capacitance value of an associated capacitor (e.g., capacitor "a" corresponding tofirst plate 1501 and second plate 1502), and may be further configured to provide a signal indicative of the measured capacitance value. The drive/monitor circuit may have any suitable structure for measuring capacitance.
In an example, the capacitance value measured by the drive/monitor circuit may be provided to a controller or processor circuit (e.g., see the processor circuit of fig. 10A). Operation of the controller includes providing a lace mechanism actuator. The operations may optionally be performed by discrete "hardwired" components, by a processor executing software (a processor executing software), or by a combination of hardwired components and software. In an example, the lace mechanism actuation functions include (1) monitoring signals from the drive/monitoring circuitry, (2) determining which, if any, signals indicate that the capacitance value exceeds a specified threshold value (e.g., stored in the processor circuit and/or in a memory circuit in data communication with the processor circuit), (3) characterizing the position, size, etc., of a foot located near the sensor matrix based on, for example, the number of threshold values exceeded, and (4) allowing, changing, or inhibiting actuation of the lace drive mechanism based on the characterization.
Fig. 19 generally illustrates an example 1600 of a capacitive electrode configuration. This example includesfirst electrodes 1601 andsecond electrodes 1602 arranged along a substantially planar surface, such as in a comb-like configuration. The processor circuit (see fig. 8A) may be configured to generate a stimulation signal to apply to the first andsecond electrodes 1601, 1602 and to sense a response signal indicative of a change in capacitance between the electrodes. The capacitance may be affected by the presence of the body or foot relative to the electrodes. For example, thefirst electrode 1601 and thesecond electrode 1602 may be arranged on or near a surface of thehousing structure 100, such as near a foot.
In examples, the foot presence sensor comprises etching a conductive layer, such as in an X-Y grid to form an electrode pattern, or by etching a plurality of separate parallel layers of conductive material, for example with perpendicular lines or traces (tracks) to form a grid. In this and other capacitive sensors, direct contact between the body or foot and the conductive layer is not required. The conductive layer may optionally be embedded in thehousing structure 100 or may be coated with a protective or insulating layer.
In an example, a capacitive foot sensor is configured to sense or use information about mutual capacitance between multiple electrodes or plates. The mutual capacitance sensor may include a capacitor located at each intersection of each row and each column of the electrode grid. Optionally, the electrode grid is arranged in individual rows or columns. In an example, a voltage signal may be applied to a row or column and a body or foot near the surface of the sensor changes the local electric field, which in turn may reduce the mutual capacitance. The change in capacitance at each individual point on the grid can be measured to determine the body position, such as by measuring the voltage on each axis. In an example, the mutual capacitance measurement technique can provide information from multiple locations around the grid simultaneously.
In an example, mutual capacitance measurements use orthogonal grids of transmit and receive electrodes. In a mutual capacitance sensor system, each detection can be detected as a discrete X-Y coordinate pair. In an example, information from multiple measurements of the capacitive sensor may be used to determine the presence of a foot. In an example, rate of change information about the X and/or Y detection coordinates may be used.
In an example, a self-capacitance based foot presence sensor may have the same X-Y grid as a mutual capacitance sensor, but the columns and rows may operate independently. In a self-capacitance sensor, the capacitive load of the body at each column or each row can be detected independently.
In an example, the capacitive sensor may optionally have an electrode or plate with a relatively large surface area, and may sense a change in capacitance over a correspondingly large area.
In an example, the capacitor-based foot presence sensor may have a baseline or reference capacitance value. The reference capacitance value may be a function of the electrode surface area, or a function of the electrode position relative to other footwear components, or a function of the orientation or environment of the sensor or the footwear itself. That is, the sensor may have some associated capacitance value even if the foot is not present in the footwear, and this value may be a function of the dielectric effect of one or more materials or environmental factors at or near the sensor. In an example, an orthotic insert (e.g., an insole) in the footwear may alter the dielectric properties of the capacitive sensor. However, the processor circuit may alternatively be configured to calibrate or self-calibrate the capacitive sensor when the baseline or reference characteristic changes, such as when the insole changes.
The inventors have conducted various tests to evaluate the effect of various orthotic inserts on capacitive foot sensing techniques. Full and partial length orthotic insoles were tested. The addition of regular (partial length) orthotics to footwear increases overall dielectricity and reduces electric field sensitivity to the presence of the foot. In the presence of the correctional substance, the signal amplitude is also reduced. The RMS amplitude of the noise is similar with or without the correction. The response under load and unload conditions is also similar.
Based on the results of the orthotic test, it is feasible to use capacitive sensing to detect the presence of a foot in terms of signal-to-noise resolution with regular or full length orthotic. Using partial or full length orthotics under both light and heavy loading conditions, SNR exceeding the minimum 6dB required to discern the presence of a foot can be measured. The auto-calibration of the sensor has a sufficient offset range to compensate for the additional dielectric effect of the correction.
In the case of a full length orthotic, the testing procedure involves removing the produced insole and only the orthotic itself is used. The dielectrics are nearly equal, resulting in a SNR in the compressed state similar to the SNR without the correction.
The air gap between the full length orthotic and the sensing electrode results in a measurable change in SNR as a function of applied load. The different foot regions perform similarly under low load conditions, indicating that there is no permanent deformation of the gap distance under the orthotic. Under high loading conditions, such as when standing the user, it may be sufficient to press the arch of the orthotic against the sensor and eliminate the gap. The resulting electric field generated may be similar in magnitude to the electric field used to produce the insole (without correction). In an example, such variations may be compensated for, such as by using a gap-filling foam on the underside of the full-length orthotic.
Fig. 20A generally illustrates an example of a capacitive foot presence sensor. The capacitive foot presence sensor may include acapacitive sense electrode 1721 coupled to a capacitivesense controller circuit 1722. Theelectrodes 1721 and/or thecontroller circuit 1722 may optionally be included in thehousing structure 100 or mounted to thehousing structure 100.
In an example, thecontroller circuit 1722 includes ATSAML21E18B-MU of Attemel (Atmel), STM32L476M of semiconductor by Act semiconductors (ST Microelectronics), or other similar devices. As discussed herein, theelectrodes 1721 may optionally be included in a recess above the housing structure, either as part of thefoam insole 1201 or elsewhere.
In the example of fig. 20A, the electric field may be emitted from the top side of theelectrode 1721. In an example, the electric field below the sensing electrode can be blocked by placing a driving shield (a drive shield) below the electrode (see fig. 20B). The drive shield and thesense electrode 1721 can be electrically isolated from each other. If thesense electrodes 1721 are on one surface of a PCB or FPC, then the driven shield can be on the bottom layer of the PCB, or on any underlying inner layer on a multi-layer PCB or FPC. In an example, the driven shield can have a surface area equal to or greater than thesense electrode 1721 and be centered directly below thesense electrode 1721. The shield can be driven to produce an electric field of the same polarity, phase, and/or amplitude as the x-axis branch (x axis leg) of thesense electrode 1721. The field of the shield may repel the electric field of thesense electrode 1721, isolating it from unwanted coupling effects, such as undesired coupling to the ground plane below the main PCA.
One advantage of using capacitive sensing technology to detect the presence of a foot includes: the capacitive sensor may function well even when placed in the arch area and the user has a high arch. For example, a preferred integration of a foot presence sensor may be included inside theshell structure 100 to protect it from perspiration and dust. Reliability is improved by minimizing or eliminating connections through the housing. As mentioned above, a good location for positioning the shell therein is in the arch region, as it is least likely to be felt or cause discomfort by the wearer.
In an example,sense electrode 1721 may be configured to sense signal differences between multiple electrodes, such as between an X electrode and a Y electrode. In an example, a suitable sampling frequency may be between about 2Hz and 50 Hz. Capacitive sensing technology may also be relatively invariant to perspiration (humidity) on the insole or in the sock around the foot. This moisture effect can reduce the dynamic range of detection because the presence of moisture can increase the measured capacitance. However, in some examples, the dynamic range is sufficient to accommodate this effect within expected humidity levels.
Fig. 20C generally illustrates a top view (left) and a perspective view (right) ofsense electrode 1725. In this example, the sensing electrode may be configured to be disposed inside thehousing structure 100, such as at or near (e.g., pressed or mounted against or adjacent to) a top interior wall of thehousing structure 100. In an example,sense electrode 1725 includes a flexible substrate.
The inventors have conducted a number of tests to verify foot presence sensing using capacitive sensing techniques. In an example, capacitive sensing for detecting the presence of a foot is feasible in terms of signal-to-noise resolution. With a 99.9% confidence, a SNR of 22dB can be measured. In a series of tests, 16 subjects were used, including 4 women and 12 men. The distribution of foot sizes is a normal distribution, ranging from 5.5 to 12.5. The self-reported arch heights are normally distributed among the low, middle and high. The R value was 0.039, there was no correlation between signal quality and the size of the subject's feet.
In an example, the foot presence sensor includes a first pressure sensor. The first pressure sensor may be embedded in theoutsole 60, in a side or top member of the footwear, or elsewhere in the footwear. The first pressure sensor may be configured to sense a change in mass, such as when a user applies weight to the sensor. In an example, the first pressure sensor may include a force sensitive resistor.
Fig. 21A generally illustrates an example that is a block diagram illustrating a footwear component that may include a pressure-based foot presence sensor. The example in fig. 21A includes apressure sensor housing 2100. Thepressure sensor housing 2100 may be a substantially air-tight or fluid-tight housing in which the measurement diaphragm is disposed. The measurement diaphragm may move or respond to changes in the distribution of gas or fluid in thehousing 2100. As shown,pressure sensor housing 2100 may be positioned under a foot and may be configured to receive a physical foot impact when the footwear is worn. In an example, thepressure sensor housing 2100 shares a wall with thehousing structure 100 or is adjacent to a wall of thehousing structure 100. In response to an impact from the foot, at least one wall of thehousing 2100 may move slightly, thereby changing the distribution of gas or fluid in the housing. Information from the sensor or membrane regarding the change in gas or fluid distribution may be received by a processor circuit (e.g.,processor circuit 1020 of fig. 10A) and used to identify foot presence or foot activity information.
Fig. 21B generally illustrates an example of thelacing engine 10 of fig. 2B with asecond pressure sensor 1820. Thesecond pressure sensor 1820 may be embedded within thehousing structure 100 of thelacing engine 10. The lacingengine 10 may be substantially vapor-sealed or hermetically sealed. That is, the lacingengine 10 can be a substantially enclosed structure that includes at least a portion that is air tight. In an example, thesecond pressure sensor 1820 may be embedded in the sealedchamber 1810, and the sealedchamber 1810 may be included inside thehousing structure 100. The sealedchamber 1810 may include one or more walls that are in contact with thehousing structure 100 or shared with thehousing structure 100.
In an example,second pressure sensor 1820 includes a diaphragm embedded in sealedchamber 1810. When subjected to a force, such as when a user applies weight to the article of footwear while standing or walking, one or more sides of the sealedchamber 1810 may deflect or bend, thereby changing the gas distribution inside the sealedchamber 1810. The diaphragm ofsecond pressure sensor 1820 may move in response to such gas distribution changes, and may generate a sensor signal indicative of the diaphragm movement. Thus, when diaphragm movement is detected, the sensor signal fromsecond pressure sensor 1820 may indicate the presence of a foot.
In an example, information from a foot presence sensor or magnetometer may be used as a pedometer. For example, a change in the time-varying magnetic field signal frommagnetometer 1220 may indicate that the article of footwear is in motion. Optionally, information from the magnetometer may be used or processed with other sensor information (such as accelerometer or temperature information) to help determine when a step event has occurred. A processor circuit (see, e.g.,processor circuit 1020 of fig. 10A) may be used to receive the magnetometer signals and, in response, determine information about the number of steps taken by the wearer. In addition to using it as a pedometer, information from the magnetometer can be used to determine speed or travel.
In an example, the magnetometer may be configured to monitor a physiological characteristic of the wearer. For example, the sensors may provide information about foot expansion or contraction characteristics, pulsatile characteristics detected from pressure changes in the foot itself, or other physiological information.
In an example, a magnetometer may provide information about displacement or force. When the sensor information includes displacement information, information about a foot strike may be obtained. Foot strike information may include information about the force or impact of the foot in the footwear. For example, foot strike information can be used to determine whether the wearer is walking (low impact, low power), running (medium impact, medium power), or jumping (high impact, high power).
Throughout this specification, multiple instances may implement a component, an operation, or a structure described as a single instance. Although the individual operations of one or more methods are illustrated and described as separate operations, one or more of the separate operations may be performed concurrently and nothing requires that the operations be performed in the order illustrated. Structures and functionality presented as separate components in the example configurations may be implemented as a combined structure or component. Similarly, structures and functions presented as a single component may be implemented as separate components. These and other variations, modifications, additions, and improvements fall within the scope of the subject matter herein.
Although the summary of the present subject matter has been described with reference to specific exemplary embodiments, various modifications and changes may be made to the embodiments without departing from the broader scope of the embodiments of the disclosure. Such embodiments of the inventive subject matter may be referred to herein, individually or collectively, by the term "invention" merely for convenience and without intending to voluntarily limit the scope of this application to any single disclosure or inventive concept if more than one is in fact disclosed.
The embodiments illustrated herein are described in sufficient detail to enable those skilled in the art to practice the teachings disclosed. Other embodiments may be utilized and derived therefrom, such that structural and logical substitutions and changes may be made without departing from the scope of this disclosure. Accordingly, the disclosure is not to be considered as limiting, and the scope of various embodiments includes all equivalents to which the disclosed subject matter is entitled.
The following aspects provide a non-limiting overview of the footwear and foot presence or position sensing systems and methods discussed herein.
Aspect 1 may include or use subject matter (such as an apparatus, a system, an apparatus, a method, a means for performing an action, or an apparatus-readable medium including instructions that when executed by an apparatus cause the apparatus to perform an action), such as may include or use an article of footwear comprising: a ferromagnetic body disposed in the article; and a magnetometer configured to measure the strength or direction of a magnetic field influenced by the position of the ferromagnetic body. Inaspect 1, one of the ferromagnetic body and the magnetometer may be configured to move relative to the other of the ferromagnetic body and the magnetometer in accordance with movement of a foot in the item or in accordance with movement of the item itself.
Aspect 2 may include or use, or may optionally incorporate the subject matter ofaspect 1, to optionally include or use, processor circuitry, wherein the magnetometer is configured to generate a magnetometer signal indicative of the position of the ferromagnetic body, and wherein the processor circuitry is configured to receive the magnetometer signal from the magnetometer.
Aspect 3 may include or use or may optionally incorporate the subject matter described inaspect 2 to optionally include: when the magnetometer signals indicate a particular change in the position of the ferromagnetic body, the processor circuit is configured to initiate data collection from one or more other sensors in or associated with the article of footwear.
Aspect 4 may include or use or may optionally incorporate the subject matter described in one or any combination ofaspects 2 or 3 to optionally include: when the magnetometer signals indicate a particular change in the position of the ferromagnetic body, the processor circuit is configured to actuate the drive mechanism to tighten or loosen the article of footwear about the foot.
Aspect 5 may include or use or may optionally incorporate the subject matter of one or any combination ofaspects 2 to 4 to optionally include: the magnetometer is configured to generate a time-varying magnetometer signal indicative of the position of the ferromagnetic body when the article is worn by the foot and moved by the foot, and wherein the processor circuit is configured to determine the foot impact characteristic based on the time-varying magnetometer signal.
Aspect 6 may include or use or may optionally incorporate the subject matter described inaspect 5 to optionally include or use processor circuitry configured to determine a foot impact or step timing characteristic based on the time varying magnetometer signals.
Aspect 7 may include or use or may optionally incorporate the subject matter of one or any combination ofaspects 5 or 6 to optionally include a processor circuit configured to determine foot impact characteristics for a single stepping event.
Aspect 8 may include or use or may optionally incorporate the subject matter of one or any combination of aspects 5-7 to optionally include a processor circuit configured to determine a rate of change of the time varying magnetometer signals and characterize stepping force or stepping frequency based on the determined rate of change.
Aspect 9 may include or use or may optionally incorporate the subject matter of one or any combination of aspects 1-8 to optionally include a magnetometer configured to generate magnetometer signals including information about a change in magnetic field when the article is worn and at least one of the ferromagnetic body and the magnetometer is moved relative to the other due to the foot.
Aspect 10 may include or use, or may optionally incorporate the subject matter of one or any combination of aspects 1-9, to optionally include or use, a magnetometer configured to sense information about changes in an ambient magnetic field in response to the influence of the foot itself on the ambient magnetic field.
Aspect 11 may include or use or may optionally incorporate the subject matter of one or any combination of aspects 1-10 to optionally include: the ferromagnetic body or magnetometer is configured to move relative to the other of the ferromagnetic body or magnetometer when the article is worn or moved.
Aspect 12 may include or use, or may optionally incorporate the subject matter of one or any combination of aspects 1-11, to optionally include or use a plurality of ferromagnetic bodies disposed in the article and spaced apart from the magnetometer, and wherein at least one of the plurality of bodies is configured to move relative to the magnetometer when the article is worn or moved.
Aspect 13 may include or use, or may optionally incorporate the subject matter of one or any combination of aspects 1-12, to optionally include or use, a magnetometer that is a three axis magnetometer configured to provide information about changes in magnetic field in at least x, y, and z dimensions.
Aspect 14 may include or use or may optionally incorporate the subject matter of one or any combination of aspects 1-13 to optionally include or use a ferromagnetic body embedded in a compressible material configured to be worn in an article of footwear under a foot.
Aspect 15 may include or use or may optionally incorporate the subject matter described in aspect 14 to optionally include or use a magnetometer configured to be disposed beneath a foot and in an arch region of an item.
Aspect 16 may include or use, or may optionally incorporate the subject matter of one or any combination of aspects 14 or 15, to optionally include or use, a magnetometer configured to be disposed beneath a foot and in a heel region or a toe region of an article.
Aspect 17 may include or use, or may optionally incorporate the subject matter of one or any combination of aspects 1-16, to optionally include or use, a bridge member, wherein at least one of the ferromagnetic body and the magnetometer is coupled to the bridge member, and wherein the bridge member biases the at least one of the ferromagnetic body and the magnetometer away from the other of the ferromagnetic body and the magnetometer when the ferromagnetic body and the magnetometer are in a relaxed state or a reference position.
Aspect 18 may include or use or may optionally incorporate the subject matter of aspect 17 to optionally include or use a spring coupled to the bridge member, wherein the spring biases the bridge member to the first position.
Aspect 19 may include or use or may optionally incorporate the subject matter of one or any combination ofaspects 17 or 18 to optionally include using a bridge member, the bridge member being rigid or semi-rigid, and wherein the bridge member is configured to receive an arch displacement force and, in response, to correspondingly displace one of the ferromagnetic body and the magnetometer relative to its reference position.
Aspect 20 may include or use, or may optionally incorporate the subject matter of one or any combination ofaspects 17 or 18, to optionally include or use a bridge member, the bridge member being rigid or semi-rigid, and wherein the bridge member is configured to receive foot displacement forces from the foot other than a central arch region of the foot and, in response, to correspondingly displace one of the ferromagnetic body and the magnetometer relative to its reference position.
Aspect 21 may include or use or may optionally incorporate the subject matter of one or any combination of aspects 1-20 to optionally include or use a ferromagnetic body laterally offset from the first axis of the magnetometer.
Aspect 22 may include or use or may optionally incorporate the subject matter described in one or any combination of aspects 1-21 to optionally include or use a ferromagnetic body having one of a circular shape, a rectangular shape, or an annular shape.
Aspect 23 may include or use or may optionally incorporate the subject matter of one or any combination of aspects 1-22 to optionally include or use a lacing mechanism disposed in an arch region of an article of footwear, and wherein the lacing mechanism is actuated based on information from the magnetometer regarding the position of the ferromagnetic body.
Aspect 24 may include or use or may optionally incorporate the subject matter described in one or any combination of aspects 1-23 to optionally include or use a processor circuit configured to use the strength or direction of the measured magnetic field to determine the impact force of a step.
Aspect 25 may include or use or may optionally incorporate the subject matter described in one or any combination of aspects 1-24 to optionally include or use processor circuitry configured to determine a step interval or number of steps from the strength or direction of the measured magnetic field.
Aspect 26 may include or use or may optionally incorporate the subject matter described in one or any combination of aspects 1-25 to optionally include or use a processor circuit configured to determine a shear stress or shear displacement of the foot relative to the article of footwear as a function of the strength or direction of the measured magnetic field.
Aspect 27 may include or use subject matter (such as an apparatus, a system, an apparatus, a method, a means for performing an action, or an apparatus-readable medium including instructions that when executed by an apparatus cause the apparatus to perform an action), such as may include or use an article of footwear with an automatic lacing system, the article including: a midsole comprising a cavity; a motor disposed in the cavity; an insole disposed above the midsole; a plurality of straps configured to adjust a tightening or loosening characteristic of the article about the foot when the article is worn, wherein the plurality of straps are configured to move between a tightened position and a loosened position in response to activation of the motor; a ferromagnetic body disposed in the article; and at least one sensor configured to sense a change in position of the ferromagnetic body in response to compression of the insole by the foot when the article is worn. In aspect 27, a motor is coupled to the sensor (e.g., by the processor circuit), and the motor is configured to respond to the sensed change in position of the ferromagnetic body by adjusting the tension of the strip.
Aspect 28 may include or use, or may optionally be in combination with the subject matter of aspect 27, to optionally include or use at least one sensor including a magnetometer configured to sense changes in a magnetic field, the changes being at least partially attributable to changes in a position of the ferromagnetic body, and wherein one of the ferromagnetic body and the magnetometer is substantially fixed relative to a housing or wall of the item, and wherein the other of the ferromagnetic body and the magnetometer is movable relative to the housing or wall of the item.
Aspect 29 may include or use or may optionally incorporate the subject matter of aspect 28 to optionally include: the insole may be compressible by the foot, and the ferromagnetic body is coupled to the insole and moves in accordance with compression of the insole by the foot.
Aspect 30 may include or use, or may optionally incorporate the subject matter of one or any combination of aspects 27-29, to optionally include or use a processor circuit coupled to at least one sensor, and wherein the processor circuit is configured to determine rate of change information about the sensed change in position of the ferromagnetic body.
Aspect 31 may include or use a subject matter (such as an apparatus, a system, an apparatus, a method, a means for performing an action, or an apparatus-readable medium comprising instructions that when executed by an apparatus cause the apparatus to perform an action), such as may include or use a magnetic Foot Position Sensor (FPS) for use in an article of footwear, the FPS including: a bridge configured to be worn under or near an arch of a foot, wherein the bridge is configured to move in a vertical direction or a lateral direction in response to pressure applied to the bridge from the foot; and a first magnetic body coupled to the bridge; and a magnetometer spaced from the first magnetic body and configured to provide a signal indicative of displacement of the first magnetic body relative to the magnetometer when the article is worn and the bridge is moved in accordance with movement of the foot.
Aspect 32 may include or use, or may optionally incorporate the subject matter of aspect 31, to optionally include or use, a magnetometer that is a multi-axis magnetometer configured to provide a signal indicative of displacement of the first magnetic body along one or more of the plurality of axes.
Aspect 33 may include or use, or may optionally be combined with the subject matter described in one or any combination of aspects 31 or 32, to optionally include or use, a magnetometer configured to provide a signal indicative of displacement of the first magnetic body in response to vertical or lateral displacement of the first magnetic body relative to the magnetometer.
Aspect 34 may include or use, or may optionally incorporate the subject matter of one or any combination of aspects 31-33, to optionally include or use a second magnetic body, wherein the magnetometer is spaced apart from the second magnetic body and is configured to provide a signal indicative of the displacement of one or both of the first and second magnetic bodies relative to the magnetometer.
Aspect 35 may include or use or may optionally incorporate the subject matter described in one or any combination of aspects 31-34 to optionally include or use a spring mechanism that biases the bridge and the first magnetic body away from the magnetometer.
Each of these non-limiting aspects may exist independently or may be combined in various permutations or combinations with one or more of the other aspects and examples discussed herein.
As used herein, the term "or" may be interpreted in an inclusive or exclusive sense. Furthermore, multiple instances may be provided for a resource, operation, or structure described herein as a single instance. Moreover, the boundaries between the various resources, operations, modules, engines, and data stores are somewhat arbitrary, and particular operations are illustrated in the context of specific illustrative constructs. Other allocations of functionality are envisioned and may fall within the scope of various embodiments of the disclosure. In general, structures and functionality presented as separate resources in the exemplary configurations may be implemented as a combined structure or resource. Similarly, the structures and functions presented as a single resource may be implemented as separate resources. These and other variations, modifications, additions, and improvements fall within the scope of the embodiments of the disclosure as represented by the claims that follow. The specification and drawings are, accordingly, to be regarded in an illustrative rather than a restrictive sense.
The foregoing detailed description includes references to the accompanying drawings, which form a part hereof. The drawings show, by way of illustration, specific embodiments in which the invention may be practiced. These embodiments are also referred to herein as "examples". Such examples may include elements in addition to those shown or described. However, the inventors also contemplate examples providing only those elements shown or described. Moreover, the inventors also contemplate examples using any combination or permutation of those elements shown or described (or one or more aspects thereof), either with respect to a particular example (or one or more aspects thereof), or with respect to other examples (or one or more aspects thereof) shown or described herein.
If usage between this document and any document incorporated by reference is inconsistent, then usage in this document controls.
In this document, the terms "a" or "an" are used, as is common in patent documents, to include one or more, independent of any other instances or usages of "at least one" or "one or more. In this document, the term "or" is used to mean nonexclusive or such that "a or B" includes "a but not B," "B but not a" and "a and B," unless otherwise indicated. In this document, the terms "including" and "in which" in … are used as the plain-English equivalents of the respective terms "comprising" and "wherein". Furthermore, in the following claims, the terms "comprises" and "comprising" are open-ended, that is, a system, device, article, composition, formulation, or process that comprises elements in addition to those elements listed after such term in a claim is still considered to fall within the scope of that claim. Furthermore, in the following claims, the terms "first," "second," and "third," etc. are used merely as labels, and are not intended to impose numerical requirements on their objects.
The method examples described herein, such as the motor control examples, may be implemented at least in part by a machine or computer. Some examples may include a computer-readable or machine-readable medium encoded with instructions operable to configure an electronic device to perform the methods described in the above examples. Implementations of these methods may include code, such as microcode, assembly language code, a higher level language code, and the like. Such code may include computer readable instructions for performing various methods. The code may form part of a computer program product. Further, in an example, the code can be tangibly stored on one or more volatile, non-transitory, or non-volatile tangible computer-readable media, such as during execution or at other times. Examples of such tangible computer-readable media may include, but are not limited to, hard disks, removable magnetic disks, removable optical disks (e.g., compact disks and digital video disks), magnetic cassettes, memory cards or sticks, Random Access Memories (RAMs), Read Only Memories (ROMs), and the like.
The above description is intended to be illustrative and not restrictive. For example, the examples described above (or one or more aspects thereof) may be used in combination with each other. Other embodiments may be used, such as may be used by one of ordinary skill in the art upon reviewing the above description. The abstract is included to allow the reader to quickly ascertain the nature of the technical disclosure. It is submitted with the understanding that it will not be used to interpret or limit the scope or meaning of the claims. Furthermore, in the description above, various features may be combined together to simplify the present disclosure. This should not be interpreted as implying that an unclaimed disclosed feature is essential to any claim. Rather, inventive subject matter may lie in less than all features of a particular disclosed embodiment. Thus, the following claims are hereby incorporated into the detailed description as examples or embodiments, with each claim standing on its own as a separate embodiment, and it is contemplated that these embodiments may be combined with each other in various combinations or permutations. The scope of the invention should be determined with reference to the appended claims, along with the full scope of equivalents to which such claims are entitled.