Movatterモバイル変換


[0]ホーム

URL:


CN109306917B - Cylinder head apparatus for variable valve actuation rocker arm assembly - Google Patents

Cylinder head apparatus for variable valve actuation rocker arm assembly
Download PDF

Info

Publication number
CN109306917B
CN109306917BCN201811196426.3ACN201811196426ACN109306917BCN 109306917 BCN109306917 BCN 109306917BCN 201811196426 ACN201811196426 ACN 201811196426ACN 109306917 BCN109306917 BCN 109306917B
Authority
CN
China
Prior art keywords
rocker arm
latch
lift
switching
cylinder
Prior art date
Legal status (The legal status is an assumption and is not a legal conclusion. Google has not performed a legal analysis and makes no representation as to the accuracy of the status listed.)
Expired - Fee Related
Application number
CN201811196426.3A
Other languages
Chinese (zh)
Other versions
CN109306917A (en
Inventor
D·G·杰尼斯
A·D·拉杜尔舒
Current Assignee (The listed assignees may be inaccurate. Google has not performed a legal analysis and makes no representation or warranty as to the accuracy of the list.)
Eaton Intelligent Power Ltd
Original Assignee
Eaton Intelligent Power Ltd
Priority date (The priority date is an assumption and is not a legal conclusion. Google has not performed a legal analysis and makes no representation as to the accuracy of the date listed.)
Filing date
Publication date
Priority claimed from US13/868,067external-prioritypatent/US9228454B2/en
Priority claimed from PCT/US2013/037665external-prioritypatent/WO2013159120A1/en
Priority claimed from US13/868,054external-prioritypatent/US9708942B2/en
Priority claimed from US13/868,061external-prioritypatent/US9038586B2/en
Priority claimed from US13/868,025external-prioritypatent/US8985074B2/en
Priority claimed from US13/868,068external-prioritypatent/US9284859B2/en
Priority claimed from US13/873,774external-prioritypatent/US9291075B2/en
Priority claimed from PCT/US2013/038896external-prioritypatent/WO2013166029A1/en
Priority claimed from US13/873,797external-prioritypatent/US9016252B2/en
Priority claimed from US14/028,337external-prioritypatent/US20140283768A1/en
Priority claimed from PCT/US2013/068503external-prioritypatent/WO2014071373A1/en
Priority claimed from US14/188,339external-prioritypatent/US9194261B2/en
Priority claimed from PCT/US2014/019870external-prioritypatent/WO2014134601A1/en
Application filed by Eaton Intelligent Power LtdfiledCriticalEaton Intelligent Power Ltd
Publication of CN109306917ApublicationCriticalpatent/CN109306917A/en
Application grantedgrantedCritical
Publication of CN109306917BpublicationCriticalpatent/CN109306917B/en
Expired - Fee Relatedlegal-statusCriticalCurrent
Anticipated expirationlegal-statusCritical

Links

Images

Classifications

Landscapes

Abstract

A novel cylinder head arrangement for an in-line four or eight cylinder engine, each cylinder head having two end cylinders and two intermediate cylinders. The arrangement allows additional space for mounting a wide rocker arm assembly for variable lift valves (VVL), Cylinder Deactivation (CDA) and other types of Variable Valve Actuation (VVA) in these existing cylinder head designs. In the first embodiment, a cam tower of conventional design adjacent to both end cylinders is not used. At least one end support is used which may be an outboard bearing on the camshaft for each end. The wider rocker arm assembly may then be installed. In another embodiment, the cam towers adjacent the inner two cylinders are eliminated, and a single camshaft support with a support bearing is mounted between the inner cylinders to provide support for the camshaft. The wider rocker arm assembly may then be mounted on at least one of the intermediate cylinders. The system also includes a novel oil control valve that operates the latch in the switching rocker arm assembly.

Description

Cylinder head apparatus for variable valve actuation rocker arm assembly
The present application is a divisional application of the application having an application date of 2014, 14/4, application number 201410226228.2, entitled "cylinder head device for a variable valve actuation rocker arm assembly".
Cross Reference to Related Applications
This application claims the benefit of the following U.S. provisional applications: 61/812,707(EATN-0111-P01) filed onday 16, 4, 2013, 61/920,297(EATN-0110-P01) filed onday 23, 12, 2013, entitled "Cylinder Head Arrangement for Variable Valve action rock Arm Assemblies", and 61/811,662(EATN-0109-P01) filed onday 12, 4, 2013, entitled "Cylinder Head Arrangement for Variable Valve action rock Arm Assemblies". This application is also a continuation-in-part application ("CIP") of the following U.S. patent applications and the following international patent applications: U.S. patent application 14/028,337(EATN-0001-U01-C01-C01) entitled "Valvetrain Oil Control System and Oil Control Valve" filed on 16.9.2013, U.S. patent application 14/188,339(EATN-0212-U01) filed on 24.2.2014, U.S.patent application 13/868,068(EATN-0210-U01) filed on 22.4.4.2013, U.S.patent application 13/868,067(EATN-0209-U01) filed on 22.4.4.22.2013, U.S.patent application 13/873,797(EATN-0208-U01) filed on 30.4.2013, U.S.patent application 13/873,774(EATN-0207-U01) filed on 30.4.4.2013, U.S. patent application 2 (EATN-0206-U01) filed on 22.4.4.2013, U.4.4.4.4.02023 (EATN-U.8-U.C-01) USpatent application 13/868,045(EATN-0202-U01) filed onday 4 and 22 in 2013, USpatent application 13/868,035(EATN-0201-U01-C01) filed onday 4 and 22 in 2013, USpatent application 13/868,025(EATN-0201-U01) filed onday 4 and 22 in 2013, international patent application PCT/US2014/019870(EATN-0213-WO) filed onday 3 in 2014, international patent application PCT/US2013/068503(EATN-0211-WO) filed onday 3 and 3 in 2014, international patent application PCT/US2013/038896(EATN-0210-WO) filed onday 30 in 4 and 2013, international patent application PCT/US2013/037665(EATN-0206-WO) filed onday 22 in 4 and 2013 (WO 2013/US 02082) filed onday 22 in 2013 and 4 (WO 2013-037667).
International patent application PCT/US2014/019870(EATN-0213-WO) filed 3/2014 claimed benefits of 61/771,721(EATN-0106-P01) filed 3/1/2013, 61/771,716(EATN-0105-P01) filed 3/1/2013, and 61/771,769(EATN-0202-P01) filed 3/1/2013. U.S. patent application 14/188,339(EATN-0212-U01) claims the benefits of U.S.provisional patent application 61/768,214(EATN-0100-P01) filed onday 22, 2, 2013 and is the CIP of international patent application PCT/US2013/068503 (EATN-0211-P01) claiming the benefits of 61/722,765(EATN-0211-P01) filed onday 5, 11, 2012, is also a partial continuation of the following U.S. patent application and international patent application: U.S.patent application 13/868,068(EATN-0210-U01) filed on 4/22/2013, U.S.patent application 13/868,067(EATN-0209-U01) filed on 4/22/2013, U.S.patent application 13/873,797(EATN-0208-U01) filed on 4/30/2013, U.S.patent application 13/873,774(EATN-0207-U01) filed on 4/30/2013, U.S.patent application 13/868,061(EATN-0206-U01) filed on 4/22/2013, U.S.patent application 13/868,054(EATN-0202-U01-C01) filed on 4/22/2013, U.S.patent application 13/868,045(EATN-0202-U01) filed on 4/22/2013, U.S.patent application 13/868,035(EATN-0201-U01-C01) filed on 4/22/2013, U.S.patent application 13/868,025(EATN-0201-U01) filed on 4/22/2013, international patent application PCT/US2013/068503(EATN-0211-WO) filed on 11/5/2013, international patent application PCT/US2013/038896(EATN-0210-WO) filed on 4/30/2013, international patent application PCT/US2013/037665(EATN-0206-WO) filed on 4/22/2013 and international patent application PCT/US2013/037667(EATN-0204-WO) filed on 22/2013/4/2013.
U.S. patent application 14/028,337(EATN-0001-U01-C01-C01) is a continuation of 13/669,501(EATN-0001-U01-C01) filed 11/6/2012 (now U.S. patent 8,534,182), which is a continuation of 12/507,153(EATN-0001-U01) filed 7/22/2009 (now U.S. patent 8,327,750). 13/868,068(EATN-0210-U01) filed on 4/22/2013, 13/868,067(EATN-0209-U01) filed on 4/22/2013, 13/873,797(EATN-0208-U01) filed on 30/4/2013, 13/873,774(EATN-0207-U01) filed on 30/4/2013, 13/868,061(EATN-0206-U01) filed on 22/4/2013, 13/868,054(EATN-0202-U01-C01) filed on 22/4/2013, 13/868,045(EATN-0202-U01) filed on 22/4/2013, 13/868,035(EATN-0201-U01-C01) filed on 22/4/2013, 13/868,025(EATN-0201-U01) filed on 22/2013 and PCT/20130/2013/038896 (PCT-U038896/2013/038896) filed on 22/4/2013, PCT/US2013/037665(EATN-0206-WO) filed on 22/4/2013 and PCT/US2013/037667(EATN-0204-WO) filed on 22/4/2013 require the benefit of the following U.S. provisional patent applications and U.S. non-provisional patent applications: united statesprovisional patent application 61/640,713 filed on 30/4/2012 (EATN-0210-P01), united statesprovisional patent application 61/640,709 filed on 30/4/2012 (EATN-0209-P01), united statesprovisional patent application 61/637,786 filed on 24/4/2012 (EATN-0206-P01), united statesprovisional patent application 61/636,277 filed on 20/4/2012 (EATN-0205-P01), united statesprovisional patent application 61/771,769 filed on 1/3/2012 (EATN-0202-P01), and united states non-provisionalpatent applications 13/051,839 and 13/051,848, both filed on 18/3/2011.Applications 13/051,839 and 13/051,848 both claim the benefit of U.S.provisional application 61/315,464 filed on 3/19/2010.
Applications 13/873,774(EATN-0207-U01), 13/873,797(EATN-0208-U01) claim the benefit of 61/640,705(EATN-0207-P01) and 61/640,707(EATN-0208-P01), both filed 4, 30/2012. These applications are incorporated by reference herein in their entirety.
Technical Field
The present application relates to novel variable valve actuation systems for internal combustion engines, and more particularly to novel variable valve actuation systems having compatible engine cylinder head arrangements.
Background
The global environmental and economic focus on increased gasoline consumption and greenhouse gas emissions, worldwide rising energy costs, and the need for lower operating costs are changing legislative and consumption requirements. As these regulations and requirements become more stringent, advanced engine technology must be developed and the desired advantages achieved.
Fig. 1B depicts some of the valvetrain devices that are currently in use. In both type I (21) and type II (22) devices, a camshaft with one or morevalve actuation lobes 30 is located above the engine valves 29 (upper cam). In a model I (21) valve train, theupper cam lobe 30 directly actuates the valve via a Hydraulic Lash Adjuster (HLA) 812. In a model II (22) valvetrain, theupper cam lobe 30 drives therocker arm 25, and the rocker arm pivots on HLA812 at a first end, while thevalve 29 is actuated at a second end.
In type III (23), a first end of therocker arm 28 rides over and is located above thecam lobe 30 while a second end of therocker arm 28 actuates thevalve 29. As thecam lobe 30 rotates, the rocker arm pivots about thefixed shaft 31. The HLA812 may be positioned between the top of thevalve 29 and therocker arm 28.
In type V (24), thecam lobe 30 directly drives the first end of therocker arm 26 with thepushrod 27. The HLA812 is shown positioned between thecam lobe 30 and thepush rod 27. The second end of therocker arm 26 actuates avalve 29. As thecam lobe 30 rotates, the rocker arm pivots about thefixed shaft 31.
As also shown in fig. 1A, an industrial prediction of a model II (22) valvetrain in an automotive engine-shown as a percentage of the overall market-predicts the most common configuration manufactured by 2019.
The technical focus is on a type II (22) valvetrain that increases the overall efficiency of gasoline engines by reducing friction, pumping, and heat loss is introduced to optimize use of the fuel within the engine. Some of these Variable Valve Actuation (VVA) techniques have been introduced and documented.
The VVA device may be a Variable Valve Lift (VVL) system, a Cylinder Deactivation (CDA) system, as described in U.S. patent application No.13/532777, "Single Long deactivation Rocker Arm", filed 7, 25, 2012, which is incorporated herein by reference in its entirety, as well as other valve actuation systems. As such, these mechanisms have been modified to improve performance, fuel economy, and/or reduce engine emissions. Some models of VVA rocker arm assemblies include an inner rocker arm within an outer rocker arm that are biased together by a torsion spring. The latch moves both the inner and outer rocker arms as a unit when in the latched position. When in the unlatched position, the rocker arms are movable independently of each other.
The switching rocker arm may control valve actuation by switching between latched and unlatched conditions, as described above, and typically includes an inner arm and an outer arm. In some cases, the arms contact different cam lobes, such as low-lift lobes, high-lift lobes, and no-lift lobes. The mechanism needs to switch rocker modes in a manner suitable for engine operation.
The rocker arms are driven by a camshaft to actuate cylinder intake or exhaust valves, which are typically mounted on the cylinder head.
Means, such as cam towers, are provided extending from the cylinder head to secure and support the camshaft in an upper cam design. There is also a spark plug tube projecting upwardly from the top of each cylinder through the cap to accommodate the spark plug. Other structures may be provided that extend from the cylinder head and support elements of the valve train.
As described above, some embodiments of VVA switching rocker arm assemblies include rocker arms within rocker arms that are biased together by springs on either side. Since the inner/outer arm design typically uses a roller in the center to contact the cam lobe, it is advantageous to keep the roller the same width as the cam lobe. Thus, the configuration of either end of the roller adds width to the rocker arm assembly resulting in it being wider than the original non-VVA rocker arm and being too wide to fit a particular cylinder head design.
For example, some type II engine heads use a cam tower with a Hydraulic Lash Adjuster (HLA) near the head centerline and a spark plug tube that blocks one end of the wide VVA switching rocker arm assembly.
Many engine components are designed by manufacturers to work with a particular cylinder head, making it difficult to change the cylinder head, which may affect some internal related components, may increase costs or cause assembly clearance problems. In some cases, the VVA switching system does not fit in the space defined by the existing cylinder head design.
One example of a VVA technique used to vary operation and improve fuel economy in a model II fuel engine is Discrete Variable Valve Lift (DVVL), sometimes referred to as DVVL switching rocker arms. DVVL limits engine cylinder intake air flow operation by using engine valves with discrete variable valve lift states versus standard "part throttle". A second example is Cylinder Deactivation (CDA). Fuel economy may be improved by using CDA at part load conditions to operate selected combustion cylinders at high load while shutting off other cylinders.
The united states Environmental Protection Agency (EPA) shows a 4% improvement in fuel economy when DVVL is applied to various car engines. An earlier report initiated by the U.S. energy agency indicated that the benefit of DVVL is a 4.5% improvement in fuel economy. Since most of the life of the vehicle is consumed in "partial throttling" during normal cruise operation, these throttling losses are considered to greatly improve fuel economy when they are minimized. For CDA, studies have shown an increase in fuel economy, on average between 2 and 14% after taking into account the local resistance due to cylinder deactivation. Currently, there is a need for VVA rocker arms that are tailored to specific cylinder head designs for increased performance, economy, and/or reduced emissions.
Switching rocker arms have been used to alter the operation and performance of engines. For example, certain rocker arms that provide Variable Valve Actuation (VVA), such as Variable Valve Lift (VVL) and Cylinder Deactivation (CDA), may be used. U.S.provisional patent application 61/636,277(EATN-0205-P01, pending) describes in detail the structure and function of VVL switching rocker arms, and the reader is referred to this document for the entire description. Research and development have been conducted to improve the performance, fuel economy, and/or reduce emissions of engines. Some types of VVA rocker arm assemblies include an inner rocker arm located within an outer rocker arm that are biased together by a torsion spring. The latch causes both the inner rocker arm and the outer rocker arm to move as a single unit when in the latched position. When unlocked, the rocker arms are allowed to move independently of each other. The latch of the inner rocker arm abuts against the latch seat of the outer rocker arm (alternatively, the latch may be on the outer rocker arm).
It was thought that in order to utilize a round rocker latch, it was necessary for the mating face of the outer rocker in the assembly to have a ground curved mating face. Such mating surfaces may be referred to as latch seats.
The latch seat needs to have a radius that closely matches the latch radius. A slightly too small latch seat causes jamming and delayed release. It also causes the latch to strike a corner of the latch receptacle during latch engagement. Larger or smaller latch receptacles may cause undesirable wear.
Due to tolerances, processing by grinding will be required. This may require a more accurate and expensive manufacturing process. In addition, the latch should not be restricted from extending and retracting properly.
Another latch design involves forming multiple latches, measuring each latch, and sorting them by latch width. The appropriate latch is selected from a wide variety of latches, with a particular shelf height, wherein the variable shelf height creates the appropriate gap. This is time consuming and requires a large number of parts.
As mentioned above, at least some VVA rocker arm assemblies are wider than conventional rocker arms. The increased width tends to interfere with the spark plug tubes, cam towers, and other structures of the cylinder head. Without modification, the VVA rocker arm assembly cannot be fitted to existing cylinder head designs and thus cannot be used. Changes may need to be made to the cylinder head design to accommodate the VVA rocker arm assembly. However, large changes made to the cylinder head may have an effect on components made by other manufacturers that mate with the cylinder head. Accordingly, it would be beneficial to provide a cylinder head with small modifications that may allow the use of VVA rocker arm assemblies.
Currently, there is a need for a cylinder head assembly that can accommodate a VVA system while still being compatible with other equipment with which the cylinder head is mated.
Disclosure of Invention
Advanced VVA systems for piston-type internal combustion engines incorporate valve lift control devices, such as CDA or DVVL switching rocker arms, valve lift actuation methods, such as hydraulic actuation using pressurized engine oil (lube oil), software and hardware control systems, and enabling techniques. Enabling techniques may include sensing detection and setting of meters, OCV designs, DFHLA designs, torsion springs, specialized coatings, algorithms, physical arrangements, and the like. Novel modifications are made to the cylinder head assembly to meet the space requirements of the VVA system.
In one embodiment, a rocker arm assembly is disclosed that includes a plurality of rocker arms and additional structures coupled together that have manufacturing tolerances that cause mechanical lash, and a latch with a latch pin and a latch receptacle adapted to receive and secure the latch pin. The latch seat includes a recess having a shape complementary to the shape of the latch pin, the recess having a depth selected to be complementary to at least a portion of the mechanical gap to form a predetermined gap.
In various embodiments, an economical switching rocker arm assembly is disclosed that provides a predetermined clearance even when constructed with components having greater tolerances than prior designs. The first rocker arm of the rocker arm assembly, which is manufactured to greater tolerances than prior art designs, has a first end and a second end. There is also a second rocker arm manufactured with greater tolerances than prior art designs, the first rocker arm having a first end pivotally connected to a first end of the first rocker arm, a roller bearing on the first rocker arm adapted to ride on the cam and actuate the first rocker arm. The rocker arm assembly has a latch with a latch pin on the second end of one of the first and second rocker arms, a latch socket on the second end of the other rocker arm, the latch operating to cause the rocker arms to be fixed relative to each other when locked and to permit independent pivoting of each other when unlocked. The latch seat has a recess shaped to receive the latch pin, the recess being of a size complementary to at least a portion of the increased clearance due to increased manufacturing tolerances and forming a predetermined clearance.
In one embodiment, an improved rocker arm assembly is disclosed having an obstructed side (an obstructed side) and an unobstructed side (an unobstructed side) and including an outer structure having a first end, an inner rocker arm structure fitted within the outer structure, the inner structure also having a first end. The improved rocker arm assembly has an axle pivotally connecting a first end of the inner structure to the outer structure such that the inner structure can rotate about the axle within the outer structure. At least one torsion spring is on one side of the shaft and rotationally biases the inner structure relative to the outer structure. The outer structure is offset toward the unobstructed side when extending from the second end to the first end on the obstructed side to create a first offset portion to provide additional clearance on the obstructed side. This design allows the improved rocker arm to be fitted into the engine head with the obstructing side of the obstructing engine head.
In one embodiment, an improved rocker arm assembly is disclosed having an obstructed side and an unobstructed side and comprising an outer structure having a first end, an inner rocker arm structure fitted within the outer structure, the inner structure also having a first end. An axle pivotally connects the first end of the inner structure to the outer structure such that the inner structure can rotate about the axle within the outer structure. At least one torsion spring is mounted on an unobstructed side of the shaft, the torsion spring rotationally biasing the inner structure relative to the outer structure. The outer structure on the obstructing side is offset toward the unobstructed side creating a first offset portion as the outer structure extends from the second end toward the first end. The first offset portion provides additional clearance on the obstructing side.
In one embodiment, an improved rocker arm assembly is disclosed having an obstructed side and an unobstructed side. The improved rocker arm assembly includes an outer structure having a first end with an offset portion, an inner rocker arm structure fitted within the outer structure. The inner structure also has a first end. An axle pivotally connects the first end of the inner structure to the outer structure such that the inner structure can rotate about the axle within the outer structure. The improved rocker arm assembly has at least one torsion spring on one side of the shaft to rotationally bias the inner structure relative to the outer structure. The outer structure curves smoothly toward the unobstructed side as it extends from the second end toward the first end on the obstructed side. This creates a first offset portion that provides additional clearance on the obstructing side. This makes it possible for the embodiment to be fitted into the engine head with an obstruction on the obstructing side.
In one embodiment, an improved Discrete Variable Valve Lift (DVVL) system is disclosed. The improved Discrete Variable Valve Lift (DVVL) system is designed to provide two discrete valve lift states in a single rocker arm. An embodiment of the proposed method relates to a type II valvetrain described above and shown in fig. 1B. Embodiments of the system presented herein may be applied to a passenger car engine (having four cylinders in the example) having an electro-hydraulic fluid control valve, a Dual Feed Hydraulic Lash Adjuster (DFHLA), and a DVVL switching rocker arm. The DVVL switching rocker embodiments described herein focus on the design and development of a Switching Roller Finger Follower (SRFF) rocker arm system that enables dual mode discrete variable valve lift on an end pivot roller finger follower valve train. This switching rocker arm configuration includes a low friction roller bearing interface for low lift events and maintains normal hydraulic lash adjustment for maintenance-free valvetrain operation.
The mode switching (i.e., low to high lift or vice versa) is done within one cam revolution (one revolution) making the driver more specific. SRFF prevents large changes in the required head plate mounting in existing engine designs. The bearing surfaces of the cam interface may include roller bearings for low lift operation and diamond-like carbon coated sliders (sliding pads) for high lift operation. The teachings of the present application may reduce mass and moment of inertia while increasing stiffness to accomplish the power performance required in low and high lift modes.
Diamond-like carbon coatings (DLC coatings) allow for higher slider interface stresses in compact packages. Test results show that the technique is robust and meets all lifetime requirements, in some aspects extending to six times the service life requirement. Alternative materials and surface treatments were screened and the results showed that DLC coatings were the most feasible. The technical advance proposed by the present application is the use of a diamond-like carbon (DLC) coating on the sliders of DVVL switching rockers.
The system verifies and tests results show that the system meets the requirements of power and durability. The present patent application also addresses the durability of the SRFF design for meeting car durability requirements. A number of endurance tests were conducted for high speed, low speed, switching and cold start operations. The high engine speed test results show stable valve train dynamics above 7000rpm of the engine. The system wear resistance requirements meet end-of-life criteria for switching, sliding, rolling, and torsion spring interfaces. One important metric for assessing wear is to monitor changes in valve lash. The life required for wear resistance indicates that the gap variation is within an acceptable window. The mechanical aspect showed robust performance on all tests including slider interfaces with diamond-like carbon (DLC) coatings.
Such a DVVL system may be implemented in a multi-cylinder engine due to flexible and compact packaging. The DVVL arrangement may be applied to any intake or exhaust valve combination on a piston driven internal combustion engine. Enabling technologies include OCV, DFHLA, DLC coatings. In some instances, novel cylinder head assemblies and devices in combination with DVVL switching rocker arms are needed to meet space and cost requirements. For example, the cam towers and camshaft support bearings may be omitted, moved, or added for certain cylinders with limited space, particularly in-line four cylinder and eight cylinder engines.
In a second embodiment, an improved single lobe deactivation (CDA) system is described. The improved single-lobe cylinder deactivation CDA system is designed to deactivate one or more cylinders. The embodiment presented herein relates to a model II valve as described above and shown in fig. 22. Embodiments of the system presented herein may be applied to passenger car engines (having multiples of 2 cylinders in embodiments, e.g., 2, 4, 6, 8) having electro-hydraulic fluid control valves, Dual Feed Hydraulic Lash Adjusters (DFHLA), and CDA rocker arm assemblies. The CDA rocker arm assembly embodiments described herein focus on the design and improvement of a Switching Roller Finger Follower (SRFF) rocker arm system that enables lift/no-lift operation for end roller finger follower valves. This switching rocker arm configuration includes a low friction roller bearing interface for cylinder deactivation events and maintains normal hydraulic lash adjustment for maintenance-free valvetrain operation.
The mode switching for the CDA system is done within one cam rotation to be more transparent to the driver. SRFF prevents large changes in the required head plate mounting in existing engine designs. The teachings of the present application may reduce mass and moment of inertia while increasing stiffness to achieve desired power performance in lift or no-lift modes.
The CDA system verifies test results show that the system meets power and durability requirements. The present patent application also addresses the durability requirements of the SRFF design needed to meet the durability requirements of a car. A number of endurance tests were conducted for high speed, low speed, switching and cold start operations. The high engine speed test results show stable valve train dynamics above 7000rpm of the engine. The system wear resistance requirements meet end-of-life criteria for switching, rolling and torsion spring interfaces. One important metric for evaluating wear is to monitor the change in valve clearance. The life required for wear resistance shows that the gap variation is within an acceptable window. The mechanical aspect showed robust performance over all tests.
Such a CDA system can be implemented in a multi-cylinder engine by flexible and compact packaging. Enabling technologies include OCV, DFHLA, and specialized torsion spring designs. In some instances, novel cylinder head assemblies and devices in combination with CDA switching rocker arms are needed to meet space and cost requirements. For example, the cam towers and camshaft support bearings may be omitted, moved, or added for certain cylinders with limited space, particularly in inline four and eight cylinder engines.
Rocker arms are described for engaging cams having one lift lobe for each valve. The rocker arm includes an outer arm, an inner arm, a pivot shaft, a lift lobe contacting a bearing, a bearing shaft, and at least one bearing shaft spring. The outer arm has first and second outer side arms and an outer pivot shaft bore configured to mount a pivot shaft. The inner arm is located between the first and second outer side arms, and the first inner side arm and the second inner side arm. The first and second inner side arms have inner pivot shaft holes to receive and retain the pivot shafts and inner bearing shaft through holes for mounting the bearing shafts.
The pivot shaft is fitted in the inner pivot shaft hole and the outer pivot shaft hole.
The bearing shaft is installed in the bearing shaft hole of the inner arm.
A bearing shaft spring is secured to the outer arm and is in biasing contact with the bearing shaft. The lift lobes contact bearings mounted to the bearing shaft between the first and second inner side arms.
Another embodiment may be described as a rocker arm for contacting a cam having a single-lift lobe per engine valve. The rocker arm includes an outer arm, an inner arm, a cam contact assembly configured to be transferable from a single lift lobe of a cam to the rocker arm, and at least one biasing spring.
The rocker arm also includes a first outer side arm and a second outer side arm.
The inner arm is disposed between the first and second outer side arms and has a first inner side arm and a second inner side arm.
The inner arm is secured to the outer arm by a pivot shaft configured to allow rotational movement of the inner arm relative to the outer arm about the pivot shaft.
The cam contact assembly is disposed between the first and second inner side arms.
At least one biasing spring is secured to the outer arm and is biased into contact with the cam contact assembly.
Another embodiment may be described as a stop rocker arm for contacting a cam having a single lift lobe. The stop rocker arm includes first and second ends, an outer arm, an inner arm, a pivot shaft, a lift lobe contacting assembly configured to be transitionally movable from a lift lobe of a cam to the rocker arm, a latch configured to selectively stop the rocker arm, and at least one biasing spring.
The outer arm includes first and second outer side arms, an outer pivot shaft bore for mounting the pivot shaft, a shaft slot for receiving the lift lobe contact assembly to allow lost motion of the lift lobe contact element.
The inner arm is disposed between the first and second outer side arms and has a first inner side arm and a second inner side arm. The first and second inner side arms have inner pivot shaft holes for mounting the pivot shaft and inner lift lobe contact element holes for mounting the lift lobe contact elements.
The pivot shaft is mounted adjacent the first end of the rocker arm and is disposed in the inner and outer pivot shaft bores.
A latch is disposed adjacent the second end of the rocker arm.
The lift lobe contacting member is mounted in the lift lobe contacting member bore of the inner arm and the shaft slot of the outer arm between the pivot shaft and the latch.
A biasing spring is secured to the outer arm and is biased into contact with the lift lobe contacting element.
Drawings
It will be appreciated that the range of elements shown in the figures represents only one example of a range. It will be understood by those skilled in the art that a single element may be designed as multiple elements or that multiple elements may be designed as a single element. Elements shown as internal features may be implemented as external features and vice versa.
Moreover, in the figures and the description that follow, like parts are marked throughout the specification with the same reference numerals, respectively. Accordingly, the drawings may not be to scale and the proportions of certain parts have been exaggerated for convenience of description.
Fig. 1A shows the relative percentages of engine models in 2012 and 2019.
FIG. 1B shows typical device and commercial dimensions for model I, model II, model III, and model V valvetrains.
Fig. 2 shows an intake and exhaust valvetrain arrangement.
FIG. 3 illustrates the major components comprising the DVVL system, including the hydraulic actuators.
FIG. 4 illustrates a perspective view of an exemplary switching rocker arm that may be provided with three-lobe cams during operation.
FIG. 5 is a valve lift state diagram representing camshaft crankshaft temperatures for intake and exhaust valves used in an exemplary DVVL embodiment.
Fig. 6 is a system control diagram for hydraulically actuating the DVVL rocker arm assembly.
FIG. 7 illustrates a rocker oil gallery and control valve arrangement.
Fig. 8 illustrates the hydraulic actuation system and conditions for an example DVVL switching rocker arm system during low lift (unlatch) operation.
Fig. 9 illustrates the hydraulic actuation system and conditions for an example DVVL switching rocker arm system during high lift (latch) operation.
Fig. 10 illustrates a side cross-sectional view of an example switching rocker arm assembly having a dual hydraulic lash adjuster (DFHLA).
Fig. 11 is a sectional view of the DFHLA.
Fig. 12 shows a diamond-like carbon coating.
Figure 13 shows an instrument for sensing the position or relative movement of a DFHLA ball plunger.
FIG. 14 shows an instrument used in conjunction with a valve stem to measure movement of the valve relative to a known condition.
14A and 14B show cross-sectional views of a first linear variable differential transformer using three coils to measure valve stem motion.
14C and 14D show cross-sectional views of a second linear variable differential transformer using two coils to measure valve stem movement.
FIG. 15 illustrates another perspective view of an example switching rocker arm.
Fig. 16 shows an instrument designed to sense position and/or motion.
Fig. 17 is a graph depicting the relationship between the OCV actuation current, actuation oil pressure, and valve lift states during a transition between the high-lift and low-lift states.
Fig. 17A is a graph depicting the relationship between the OCV actuation current, actuation oil pressure, and the latched state during the latching transition.
Fig. 17B is a graph depicting the relationship between the OCV actuation current, the actuation oil pressure, and the latched state during another latching transition.
Fig. 17C is a graph depicting the relationship between the valve lift curve and the actuation oil pressure for the high-lift and low-lift states.
Fig. 18 is a control logic diagram of the DVVL system.
Fig. 19 illustrates an exploded view of an example switching rocker arm.
FIG. 20 is a chart depicting oil pressure conditions and Oil Control Valve (OCV) states for low-lift and high-lift operation of a DVVL rocker arm assembly.
Fig. 21 to 22 show graphs showing the relationship between the oil temperature and the latch response time.
Fig. 23 is a timing chart of an existing variable switching window for an example DVVL switching rocker arm, and in a 4-cylinder engine, two cylinder actuation oil pressure controls are controlled by each of two OCVs.
FIG. 24 is a side cross-sectional view of a DVVL switching rocker arm depicting latch preload prior to switching from high lift to low lift.
FIG. 25 is a side cross-sectional view of a DVVL switching rocker arm depicting latch preload prior to switching from low-lift to high-lift.
Fig. 25A is a side sectional view of the DVVL switching rocker arm depicting the critical gear when switching between low and high lift.
Fig. 26 is an enlarged timing chart of a variable switching window and a constituent mechanism switching timing for exemplifying the DVVL switching rocker arm, and in a 4-cylinder engine, the actuation oil pressure control of two cylinders is controlled by two OCVs each.
Fig. 27 shows a perspective view of an example switching rocker arm.
Fig. 28 illustrates a top view of an example switching rocker arm.
Fig. 29 shows a cross-sectional view taken from line 29-29 in fig. 28.
Fig. 30A-30B illustrate cross-sectional views of example torsion springs.
Fig. 31 shows a bottom view of the outer arm.
FIG. 32 shows a cross-sectional view of the latch mechanism in the latched state taken alonglines 32, 33-32,33 of FIG. 28.
FIG. 33 shows a cross-sectional view of the latch mechanism in the unlatched state.
Fig. 34 shows an alternative latch-pin design.
Fig. 35A-35F illustrate several stop arrangements for the locating pin.
FIG. 36 illustrates an example latch-pin design.
Fig. 37 shows an alternative latching mechanism.
38-40 illustrate an example method of assembling a switching rocker arm.
Fig. 41 shows an alternative embodiment of the pin.
Fig. 42 shows an alternative embodiment of the pin.
Fig. 43 shows various lash measurements of the switching rocker arm.
Fig. 44 illustrates a perspective view of an example inner arm of a switching rocker arm.
Fig. 45 shows a perspective view of the inner arm of the switching rocker arm from below.
FIG. 46 illustrates a perspective view of an example outer arm of a switching rocker arm.
Fig. 47 illustrates a cross-sectional view of a latch assembly of an example switching rocker arm.
FIG. 48 is a graph of lash versus camshaft angle for a switching rocker arm.
Fig. 49 illustrates a side cross-sectional view of an example switching rocker arm assembly.
FIG. 50 shows a perspective view of the outer arm with the maximum deflection determining region under load.
FIG. 51 illustrates a top view of an example switching rocker arm and a three-lobe cam.
FIG. 52 illustrates a cross-sectional view of the example switching rocker arm along line 52-52 of FIG. 51.
Fig. 53 illustrates an exploded view of the example switching rocker arm, showing the primary inertia-affecting components of the example switching rocker arm assembly.
FIG. 54 illustrates a design flow for optimizing the relationship between inertia and stiffness of an example switching rocker arm assembly.
FIG. 55 illustrates an inertia versus stiffness characteristic for an example switching rocker arm assembly design iteration.
FIG. 56 illustrates a characteristic curve representing pressure, deflection, load, and stiffness versus position for an example switching rocker arm assembly.
FIG. 57 illustrates a characteristic curve representing stiffness versus inertia for some example switching rocker arm assemblies.
Fig. 58 illustrates acceptable ranges of discrete values of stiffness and inertia for the components of a multi DVVL switching rocker arm assembly.
FIG. 59 is a side cross-sectional view of an example switching rocker arm assembly including a DFHLA and a valve.
Fig. 60 illustrates a characteristic curve representing some stiffness values versus position of components of an example switching rocker arm assembly.
FIG. 61 illustrates some mass distribution versus position characteristics of components of an example switching rocker arm assembly.
Fig. 62 shows a test station for measuring latch displacement.
FIG. 63 is a view of a non-firing test stand for testing a switching rocker arm assembly.
FIG. 64 is a graph of valve displacement versus camshaft angle.
Fig. 65 shows a hierarchy of key tests for testing the durability of a Switching Roller Finger Follower (SRFF) rocker arm assembly.
FIG. 66 shows a test protocol for an accelerated burn-in system test cycle in evaluating SRFFs.
Fig. 67 is a pie chart showing the test time associated with the SRFF durability test.
FIG. 68 shows strain gauges attached and monitored for SRFF during testing.
FIG. 69 is a graph of valve closing rate for the low lift mode.
Fig. 70 is a valve drop height distribution.
FIG. 71 shows the distribution of critical gear versus camshaft angle.
Figure 72 shows one end of the new outer arm before use.
Fig. 73 shows typical wear of the outer arm after use.
Fig. 74 shows the average torsion spring load loss in the end-of-life test.
FIG. 75 shows the total mechanical gap variation for the accelerated weathering system test.
FIG. 76 shows the end of life of a slider with a DLC coating with minimal wear.
FIG. 77 is a camshaft surface embodiment employing a crown shape.
Fig. 78 shows a pair of slides attached to a supporting rocker on a test specimen.
Fig. 79A shows the early wear of the DLC coating in the test specimen.
Fig. 79B shows a typical example of one specimen tested at the maximum design with an included angle of 0.2 degrees.
Fig. 80 is a plot of test pressure level versus engine life for test specimens with DLC coatings.
FIG. 81 is a graph showing the increased engine life of a slider having a polished or unpolished surface prior to coating with a DLC coating.
Fig. 82 is a flowchart describing the progress of the product grinding and polishing process performed concurrently with the test.
Figure 83 shows the results of slider angle control versus three different abrasive articles.
Fig. 84 shows surface finish measurements for three different abrasive tools.
FIG. 85 shows the result of six different clamps holding the outer arm during a slider grinding operation.
FIG. 86 is a plot of high lift mode valve closing rate.
Fig. 87 shows the endurance test stage.
Fig. 88 shows a perspective view of an example CDA design.
Fig. 89A illustrates a partial cross-sectional side elevation view of an example SRFF system with a latching mechanism and roller bearings.
Fig. 89B illustrates a front view of the example SRFF system of fig. 89A.
FIG. 90 is an engine design illustrating an example SRFF rocker arm assembly at an exhaust or intake valve.
Fig. 91 illustrates a hydraulic fluid control system.
FIG. 92 shows an example SRFF system in operation, exhibiting normal lift engine valve operation.
93A, 93B, and 93C illustrate an example SRFF system in operation, exhibiting no-lift engine valve operation.
Fig. 94 illustrates an example switching window.
Fig. 95 shows the effect of camshaft phasing on the switching window.
FIG. 96 shows latch response time for an SRFF-1 system embodiment.
FIG. 97 is a graph showing switching window times above 40 degrees Celsius for an example SRFF-1 system.
FIG. 98 is a graph representing switching window times for an exemplary SRFF-1 system that takes into account camshaft phasing and oil temperature.
FIG. 99 illustrates an example SRFF rocker arm assembly.
Fig. 100 illustrates an exploded view of the example SRFF rocker arm assembly of fig. 99.
FIG. 101 illustrates a side view of an example SRFF rocker arm assembly including a DFHLA, a valve stem, and a cam lobe.
FIG. 102 illustrates an end view of an example SRFF rocker arm assembly including a DFHLA, a valve stem, and a cam lobe.
Fig. 103 shows the latch re-engagement feature in the event of a pressure loss.
FIG. 104 illustrates camshaft alignment for an example SRFF system.
Fig. 105 shows the forces exerted on an RFF using a hydraulic lash adjuster.
Thegraph 106 represents the force balance of the example SRFF system in the no-lift mode.
FIG. 107 is a graph illustrating an oil pressure demand of an exemplary SRFF-1 system.
FIG. 108 illustrates the mechanical clearance of an exemplary SRFF-1 system.
FIG. 109 shows camshaft lift profiles for a three-lobe CDA system and for an exemplary SRFF system.
FIG. 110 is a graph illustrating stiffness versus moment of inertia for a multiple rocker arm design.
FIG. 111 illustrates a resulting bottom closing velocity of an intake valve of an example SRFF system.
FIG. 112 is a chart showing a summary of torsion spring tests.
Fig. 113 is a graph showing displacement and pressure during a pumping test.
FIG. 114 shows the endurance and clearance variations of an example SRFF system through a particular testing stage.
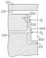
FIG. 115 is a perspective view of a prior art cylinder head with parts removed for clarity.
Fig. 116 is a front cross-sectional view of the cylinder head of fig. 115.
FIG. 117 is a perspective view of a prior art Variable Valve Lift (VVL) rocker arm assembly.
FIG. 118 is a perspective view of a left (modified) rocker arm assembly providing variable valve lift according to one aspect of the present teachings.
Fig. 119 is a top plan view of the improved rocker arm assembly of fig. 118.
FIG. 120 is a side view of the improvedrocker arm assembly 400 of FIG. 118-119.
FIG. 121 is an end view of the improved rocker arm assembly of FIGS. 118 and 120, as viewed from the hinged (first) end thereof.
FIG. 122 is an end view of the improved rocker arm assembly of FIG. 118 and 121 as viewed from the latching (second) end thereof.
Fig. 123 is a plan view from above of the outer structure showing the first and second offset regions.
Fig. 124 is a plan view of the outer structure of fig. 123, as viewed from below.
FIG. 125 is a side view of an outer structure according to one aspect of the present teachings.
FIG. 126 is a view of the top end of an inner structure in accordance with an aspect of the present teachings.
Fig. 127 is a view of the bottom end of the inner structure of fig. 126.
FIG. 128 is a top view of the inner structure of FIG. 126 and 127.
Fig. 129 is a view of the inner structure of fig. 126-128 from the bottom end.
FIG. 130 is an end view of the inner structure of FIGS. 126 and 129 as viewed from the (first) end of the hinge.
FIG. 131 is an end view of the inner structure of FIG. 126 and 130 as viewed from the (second) end of the latch.
FIG. 132 is a perspective view of the improved rocker arm assembly of FIG. 118-122 as it would appear mounted in a cylinder head.
FIG. 133 is a perspective view of the modifiedrocker arm assembly 400 of FIGS. 118-122, from another point of view, shown installed in a cylinder head.
Fig. 134 shows the bottom of the partially assembled switching rocker arm and outer arm mating surface.
FIG. 135 shows the rocker arm assembly of FIG. 1, showing the carbide pin in the latch recess just prior to the pin being pressed into the mating face.
Fig. 136 shows a fixture for forming a recess in a mating surface.
Fig. 137 shows a pressing step for pressing the pin into the mating face.
Fig. 138 shows only a portion of the outer arm, illustrating the recess in the latch seat.
FIG. 139 is a plan view of a conventional four cylinder in-line engine, with its valve cover removed for clarity.
FIG. 140 is a plan view of an embodiment of a modified four cylinder engine according to one embodiment of the present teachings.
FIG. 141 is an elevational cross-sectional view of the cylinder head of the embodiment shown in FIG. 140.
FIG. 142 is an elevational cross-sectional view of the cylinder head of the embodiment shown in FIG. 140.
FIG. 143 is a plan view of a cylinder head of another conventional four-cylinder inline engine.
Fig. 144 is a side elevational and plan view from below of the switching roller finger follower Cylinder Deactivation (CDA) rocker arm assembly.
Fig. 145 is a plan view of the cylinder head of fig. 143 with the CDA rocker arm assembly installed on both end cylinders.
Fig. 146 is a plan view of the cylinder head of fig. 143 with the CDA rocker arm assembly installed on two of the middle cylinders.
Detailed Description
The words used herein have their ordinary and customary meaning, and new definitions as used herein are to be substituted for the ordinary meaning unless otherwise defined in this specification.
It is to be understood that the phraseology and terminology used herein is for the purpose of description and should not be regarded as limiting. Reference to the singular and plural forms is not intended to limit the systems or methods, their compositions, acts or elements of the present disclosure. The use of "including," "comprising," "having," "containing," and variations thereof herein is meant to encompass the items listed thereafter and equivalents thereof as well as additional items. References to "or" may be understood to be inclusive such that any phrase described using "or" is understood to mean a single, more than one, and all phrases described. Any references to front and back, left and right, up and down, high and low are for convenience of description and are not intended to limit the present system or method or their components to any one position or particular orientation. The terms "stamping", "embossing" and "indentation" are synonymous. In addition, "carbide pin" and "carbide rod" are also synonymous.
Some dimensions of structures or portions are exaggerated relative to other structures or portions for descriptive purposes, as depicted in the various figures, to provide a general structure that describes the subject matter of the present invention. In addition, various aspects of the present subject matter are described with reference to structures formed on other structures, portions, or both. As will be appreciated by those skilled in the art, references to a structure being formed "on" or "over" another structure or portion are to be understood as references to additional components or portions. References herein to a structure or a portion being formed "on" another structure or portion without an intervening structure or portion are described as being "directly on" the member or portion. Similarly, it will be understood that when an element is referred to as being "connected," "attached," "coupled" to another element, it can be directly connected, attached, coupled, or intervening elements may be present. In contrast, when an element is referred to as being "directly connected," "directly attached," or "directly coupled" to another element, there are no intervening elements present.
Furthermore, relative terms such as "upper," "above," "upper," "top," "lower," and the like may be used herein to describe one structure or portion's relationship to another structure or portion as illustrated in the figures. It will be understood that relative terms, such as "upper," "above," "upper," "top," "lower," and the like, are intended to encompass different orientations of the device in addition to the orientation depicted in the figures. For example, if the device in the figures is rotated, structures or portions described as "above" other structures or portions would change direction to "below" the other structures or portions. Similarly, if the device in the figures were rotated along an axis, structures or portions described as "on" other structures or portions would change direction to be "adjacent" or "to the left" of the other structures or portions. Like reference numerals refer to like elements throughout.
VVA system embodiment: VVA system embodiments represent a unique combination of switching devices, actuation methods, analysis and control systems, and enabling technologies that collectively generate VVA systems. VVA system embodiments may include one or more enabling techniques.
I. Description of embodiments of Discrete Variable Valve Lift (DVVL) systems
Overview of the DVVL System
A cam-driven, Discrete Variable Valve Lift (DVVL) switching rocker arm apparatus that is hydraulically actuated using a combination of a Dual Feed Hydraulic Lash Adjuster (DFHLA) and an Oil Control Valve (OCV) that will be mounted on an intake valve in a model II valve train will be described below. In alternative embodiments, this arrangement may be applied to any combination of intake or exhaust valves on a piston driven internal combustion engine.
As shown in fig. 2, the exhaust valve mechanism in the present embodiment includes a fixedrocker arm 810, a single-lobe camshaft 811, a standard Hydraulic Lash Adjuster (HLA)812, and anexhaust valve 813. As shown in fig. 2 and 3, the components of the intake valvetrain include a three-lobe camshaft 102, a switchingrocker arm assembly 100, a Dual Feed Hydraulic Lash Adjuster (DFHLA)100 having anupper fluid port 506 and alower fluid port 512, and an electro-hydraulic solenoid oil pressure control valve assembly (OCV) 820. The OCV820 has aninlet 821 and first andsecond control ports 822, 823.
Referring to fig. 2, the intake and exhaust valve trains share certain geometries, including avalve 813 spaced from the HLA812 and avalve 112 spaced from theDFHLA 110. Maintaining a common geometry allows the DVVL system to be assembled with existing or slightly modified model II cylinder head space while using a standard chain drive system. As shown in FIG. 4, additional components common to both the intake and exhaust valvetrains includevalves 112, valve springs 114, andvalve spring retainers 116. Valve keys and valve stem seals (not shown) are also common to intake and exhaust. Implementation costs of the DVVL system are minimized by maintaining a common geometry, using common components.
The intake valvetrain components shown in FIG. 3 work together to openintake valves 112 having either high-lift camshaft lobes 104, 106 or low-lift camshaft lobe 108. The high-lift camshaft lobes 104, 106 are designed to provide performance equivalent to a fixed intake valvetrain and include a generally circular portion with no lift produced, a lift portion that may include a linear lift over portion, and a protruding portion corresponding to maximum lift. The lowlift camshaft lobe 108 allows for lower valve lift and early intake valve closing. The low-lift camshaft lobe 108 also includes a generally circular portion where no lift is generated, a generally linear portion that is a lift transition, and a protruding portion corresponding to a maximum lift. The graph in fig. 5 shows a curve ofvalve lift 818 versus crank angle 817. The camshafthigh lift curve 814 and the fixed exhaustvalve lift curve 815 are compared to thelow lift curve 816. The low lift event represented bycurve 816 reduces the lift and duration of the intake event during part throttle operation to reduce throttling losses and achieve improved fuel economy. This is also referred to as early intake valve closing, or EIVC. When full power operation is required, the DVVL system transitions back to thehigh lift curve 814, which is similar to a standard fixed lift event. The transition from low lift to high lift and the reverse transition occur within one camshaft revolution. The exhaust lift event represented bycurve 815 is fixed and operates in the same manner as either the low lift or the high lift intake event.
The system for controlling DVVL switching uses hydraulic actuation. A hydraulic control andactuation system 800 for use with embodiments of the present teachings is shown in fig. 6. The hydraulic control andactuation system 800 is designed to be commanded by control logic to deliver hydraulic fluid to a mechanical latch assembly that provides switching between high-lift and low-lift states. When the mechanical switching process is initiated, it is controlled by theengine control unit 825. The hydraulic control andactuation system 800 is shown for use in a four cylinder inline type II engine on the intake valvetrain described above, however, it will be apparent to those skilled in the art that the control and actuation system may be applied to other "models" of engines and different numbers of cylinders.
Some of the aforementioned enabling techniques for use in the DVVL system described herein may be used in combination with the DVVL system components described herein, thereby breaking unique combinations, some of which will be described herein:
DVVL System enabling techniques
Some of the techniques used in this system have multiple uses in different applications, and they are described herein as components of the DVVL system disclosed herein. These include:
2.1 oil pressure control valve (OCV) and oil pressure control valve Assembly
Referring now to fig. 7-9, the OCV is a control device that directs or does not direct pressurized hydraulic fluid to cause therocker arm 100 to switch between the high-lift mode and the low-lift mode. The activation and deactivation of the OVC (rendering it inactive) is initiated by acontrol device signal 866. One or more OVCs may be packaged in a module to form an assembly. In one embodiment, theOVC assembly 820 comprises two solenoid-type OVCs packaged together. In this embodiment, the control device provides asignal 866 to theOVC assembly 820 that causes the assembly to provide either high pressure (in embodiments, at least 2 bar oil pressure) or low pressure (in embodiments, 0.2-0.4 bar) oil to the oil pressure control passages (galleries) 802, 803 to place the switchingrocker arm 100 in either low lift or high lift mode, as shown in fig. 8 and 9, respectively. Further description ofsuch OCV assembly 820 embodiments is contained in the following paragraphs.
2.2 Dual Feed Hydraulic Lash Adjuster (DFHLA)
Some hydraulic lash adjusters exist to maintain lash in the engine. Conventional lash management is required for DVVL switching rocker arms 100 (fig. 4), but conventional HLA devices are inadequate to provide the necessary oil flow requirements for switching, withstand the associated side loads imposed byassembly 100 during operation, and fit into limited packaging space. A compact Dual Feed Hydraulic Lash Adjuster (DFHLA) for use with a switchingrocker arm 100 is described having a range of parameters and shapes to provide optimized oil flow pressure with low consumption and a range of parameters and shapes to manage side loads.
As shown in fig. 10, ball plungerend 601 fits intoball seat 502, which allows free rotation in all directions. This allows for the sides of the ball plungerend 601 and possible asymmetric loading in certain operating modes, such as when switching from high lift to low lift or vice versa. The DFHLA110 ball plungerend 601 is constructed of a thinner material to withstand side loading than typical ball end plungers for HLA devices, theplunger thickness 510 being shown in fig. 11.
The material selected for theball plunger tip 601 may also have a higher allowable dynamic stress load, such as a chrome vanadium alloy.
The hydraulic flow paths in the DFHLA110 are designed for high flow and low pressure drop to ensure constant hydraulic switching and reduced pumping losses. As shown in fig. 11, the DFHLA is mounted in a cylindrical housing seat in the engine that is sized to seal against theouter surface 511. The cylindrical receptacle combines with the firstoil flow channel 504 to form a closed fluid path having a specific cross-sectional area.
As shown in fig. 11, the preferred embodiment includes four oil flow ports 506 (only two shown) that are arranged in an equally spaced manner around the base of the firstoil flow channel 504. Further, two secondoil flow passages 508 are arranged in an equally spaced manner around the ball plungerend 601 and fluidly communicate with the firstoil flow passage 504 through theoil flow port 506. Theoil flow port 506 and the firstoil flow passage 504 are sized with a specific area (area) and are spaced around the body of the DFHLA110 to ensure uniform oil flow from the firstoil flow passage 504 to the thirdoil flow passage 509 and minimize pressure drop. The thirdoil flow passage 509 is sized to combine the oil flows from the plurality of secondoil flow passages 508.
2.3 Diamond Like Carbon Coating (DLCC)
A diamond-like carbon coating (DLCC) coating is described that can reduce friction between treated parts while providing the necessary wear and load characteristics. Similar coating materials and methods are known, none of which are sufficient to meet some requirements when used with VVA systems. For example, 1) sufficient hardness, 2) suitable load carrying capacity, 3) chemical stability in the operating environment, 4) application in processes where the temperature does not exceed the annealing temperature of the component, 5) meeting engine life requirements, and 6) providing reduced friction compared to steel at the steel interface.
A unique DLC coating process is described that meets the above needs. The DLC coating is selected from hydrogen-containing amorphous carbon or similar materials. The DLC coating comprises several layers as shown in fig. 12.
1. The first layer is achromium adhesion layer 701 which acts as a bonding agent between themetal receiving surface 700 and thenext layer 702.
2. Thesecond layer 702 is chromium nitride, which adds ductility to the interface between the base-metal receiving surface 700 and the DLC coating.
3. Thethird layer 703 is a combination of chromium carbide and amorphous carbon containing hydrogen, which bonds the DLC coating to thechromium nitride layer 702.
4. Thefourth layer 704 includes hydrogen-containing amorphous carbon, which provides a hard functional wear interface.
The combined thickness of layers 701-704 is between 2-6 microns. The DLC coating cannot be applied directly to themetal receiving surface 700. To meet durability requirements and for proper adhesion of the firstchromium adhesion layer 701 to themetal receiving surface 700, a very specialized surface finish (polish) is mechanically applied to thesubstrate receiving surface 700.
2.4 Induction and measurement
Information gathering using sensors may be used to verify switching patterns, identify error conditions, or provide information analyzed and used to switch logic and timing. Some sensing devices that may be used are described below.
2.4.1 Dual Feed Hydraulic Lash Adjuster (DFHLA) movement
Variable Valve Actuation (VVA) technology is designed to change a valve lift profile using a switching device, such as a DVVL switching rocker arm or a Cylinder Deactivation (CDA) rocker arm, during engine operation. When these devices are used, the state of the valve lift is important information to confirm a successful switching operation or to detect an error condition/failure.
DFHLA is used to manage lash and supply hydraulic fluid for switching in VVA systems employing switching rocker arm assemblies such as DCA or DVVL. As shown in the cross-sectional view of fig. 10, conventional lash adjustment (described in detail in the following paragraphs) of the DVVLrocker arm assembly 100 causes theball plunger 601 to remain in contact with theinner arm 122 receptacle during high-lift as well as low-lift operations. Theball plunger 601 is designed to move as needed as the load is changed between the high-lift state and the low-lift state. Themeasurement 514 of the movement in fig. 13 compared to the known operating conditions can determine the gap position condition. In one embodiment, thenon-contact switch 513 is located between the HLA outer body portion and the ball plunger cylinder portion. A second example may include a hall effect sensor mounted to allow measurement of the magnetic field changes produced bycertain movements 514.
2.4.2 valve stem movement
Variable Valve Actuation (VVA) technology is designed to change a valve lift profile during engine operation using a switching device, such as a DVVL switching rocker arm. The state of the valve lift is important information to confirm a successful switching operation or to detect an error condition/fault. Valve stem position and relative movement sensors may be used for this function.
One embodiment of monitoring the state of VVA switching and determining whether a switching failure has occurred is shown in fig. 14, 14A. According to one aspect of the present teachings, a Linear Variable Differential Transformer (LVDT) type transducer may convert the linear motion of thevalve 872 to which it is mechanically coupled to a corresponding electrical signal. LVDT linear position sensors are readily available and can measure movements as small as a few millionths of an inch to a few inches.
FIG. 14A shows the components of a typical LVDT mounted in avalve stem guide 871. The LVDT internal structure includes a primary coil (winding) 899 between a pair of identically woundsecondary coils 897, 898. In an embodiment, thecoils 897, 898, 899 are wound in a hollow depression formed in thevalve guide body 871, the hollow depression being bounded by athin wall section 878, afirst end wall 895, and asecond end wall 896. In this embodiment, thevalve guide body 871 is positionally fixed.
Referring now to fig. 14, 14A and 14B, the moving element of the LVDT device is a tubular armature of independently magnetically permeable material, also referred to ascore 873. In an embodiment, thecore 873 is made of thevalve 872 shaft using any suitable method and material processed, such as iron.
Thecore 873 is free to move axially within the primary 899 and secondary 897, 898 coils and is mechanically coupled to avalve 872, the position of which is measured. Thecore 873 and thevalve guide 871 are not in physical contact within the bore.
In operation, theprimary coil 899 of the LVDT is energized by applying an alternating current of appropriate amplitude and frequency, known as primary excitation. The magnetic flux thus generated is coupled to the adjacentsecondary coils 897 and 898 through thecore 873.
As shown in fig. 14A, ifcore 873 is located halfway betweensecondary coils 897, 898, equal magnetic flux is coupled to each secondary coil, equalizing the voltages induced in therespective coils 897, 898. At this referencemidway core 873 position, which is referred to as the zero point, the differential voltage output is substantially zero.
Thecore 873 is arranged to extend through both ends of thecoil 899. As shown in fig. 14B, ifcore 873 is moveddistance 870 to be closer tocoil 897 thancoil 898, more magnetic flux is coupled tocoil 897 and less magnetic flux is coupled tocoil 898, resulting in a difference voltage that is not zero. Measuring the differential voltage in this manner may indicate the direction and position of movement of thevalve 872.
In a second embodiment shown in fig. 14C and 14D, the LVDT device described above is modified by removing the second coil 898 (fig. 14A). Whencoil 898 is removed, the voltage induced incoil 897 will change relative to theend position 874 ofcore 873. In embodiments where the direction and timing of movement of thevalve 872 is known, only onesecondary coil 897 is needed to measure the amount of movement. As mentioned above, thecore 873 portion of the valve may be made and positioned using a variety of methods. For example, welding of theend locations 874 may join the nickel-based non-core material to the iron-based core material, position theend locations 874 using a physical reduction in diameter to alter the magnetic flux at a particular location, or may insert and position a blank of iron-based material at theend locations 874.
It will be appreciated that, in accordance with the disclosure, the LVDT sensor components may be positioned near the top of thevalve guide 871 in one example to allow temperature dissipation below this point. This location may be higher than the typical weld for valve stem making, and the weld may be moved or as described above. The position ofcore 873 relative tosecondary coil 897 is proportional to how much voltage is induced.
The above use of LVDT sensors in engine operation has several advantages, including 1) frictionless operation — there is no mechanical contact between thecore 873 of the LVDT and the coil assembly during normal use. The lack of friction also results in a longer mechanical life. 2) Near infinite resolution-since LVDT's operate in a frictionless configuration on the principle of electromagnetic coupling, very small changes in core position can be measured, limited only by the resolution of the noise and output displays in the LVDT signal conditioner. This feature also results in significant repeatability. 3) Environmental robustness-the materials and construction techniques used to assemble LVDTs produce robust, durable sensors that are suitable for different environmental conditions. Thecoils 897, 898, 899 may be epoxy encapsulated in thevalve guide body 871 after engagement to provide good moisture and humidity resistance, as well as high vibration loads and high vibration levels. In addition, the coil assembly may be sealed against oil and corrosion. 4) Zero repeatability — as mentioned earlier, the position of the zero point of an LVDT is very stable and repeatable, even over its very wide operating temperature range. 5) Fast dynamic response-the loss of friction during normal operation allows the LVDT to respond very quickly to change the core position. The dynamic response of the LVDT sensor is limited only by the small inertial effects caused by the mass of the core assembly. In most cases, the response of an LVDT sensing system is determined by the characteristics of the signal conditioner. 6) The absolute output-LVDT is an absolute output device, not an incremental output device. This means that in the event of a loss of energy, the position data output from the LVDT is not lost. When the measurement system is restarted, the output value of the LVDT will be the same as before the power down occurred.
The valve stem position sensor described above uses an LVDT-type transducer to determine the position of the valve stem during engine operation. The sensors may be any known sensor technology, including Hall effect sensors, electronic, optical, and mechanical sensors that can track the position of the valve stem and report the monitored position to the ECU.
2.4.3 part position/movement
Variable Valve Actuation (VVA) technology is designed to change a valve lift profile during engine operation using a switching device, such as a DVVL switching rocker arm. The change in switching state may also change the positions of the components in the VVA assembly, which are absolute positions in the assembly or positions relative to each other. The position change measurement may be designed and implemented to monitor the state of VVA switching and possibly determine if a switching failure exists.
Referring now to fig. 15-16, an example DVVL switchingrocker arm assembly 100 may be configured with a precisionnon-contact sensor 828 for measuring relative movement, motion, or distance.
In one embodiment, amovement sensor 828 is proximate the first end 101 (fig. 15) to evaluate movement of theouter arm 120 relative to a known position for high lift or low lift mode. In this embodiment, themovement sensor 828 comprises a coil surrounding a permanent magnetic core and is positioned and oriented to detect movement by measuring the change in magnetic flux as the ferrous material passes through its known magnetic field. For example, as the magnetic (ferrous material) outer arm tie-bar 875 passes through the permanent magnetic field of theposition sensor 828, the magnetic flux density is adjusted, including the induced AC voltage in the coil and the electrical output proportional to the proximity to the tie-bar 875. The regulated voltage is input to an Engine Control Unit (ECU) (described in the paragraphs below) where the processor switches operation of the starterrocker arm assembly 10 using logic and calculations. In an embodiment, the voltage output may be binary, i.e. the absence or presence of a voltage signal indicates high lift or low lift.
It can be seen that theposition sensor 828 may be positioned to measure the movement of other components in therocker arm assembly 100. In a second embodiment, asensor 828 may be placed at thesecond end 103 of the DVVL rocker arm assembly 100 (fig. 15) to assess the position of theinner arm 122 relative to theouter arm 120.
The third embodiment may place asensor 828 to directly evaluate the position of thelatch 200 in the DVVLrocker arm assembly 100. Thelatch 200 and thesensor 828 may be engaged and fixed relative to each other when in the latched state (high lift mode) and disengaged when not latched (low lift) operation.
Inductive sensors may also be used to detect movement. Thesensor 877 may be a hall effect sensor mounted to allow movement or non-movement to be measured, such as movement or non-movement of thevalve stem 112.
2.4.4 pressure characteristics
Variable Valve Actuation (VVA) technology is designed to change a valve lift profile during engine operation using a switching device, such as a DVVL switching rocker arm. Since the latch state is an important input to the ECU, which can cause it to perform different functions such as adjusting fuel/air mixture to increase fuel mileage, reduce pollution, or adjust idle speed and knock, a measurement device or system for confirming successful switching operations or detecting error conditions or faults is required for proper control. In some cases, in order to comply with regulations, a switching status report and error notification are required.
In embodiments including a hydraulically actuatedDVVL system 800, as shown in fig. 6, the change in switching state provides a distinctive hydraulic switching fluid pressure signature. Since fluid pressure is required to produce the necessary hydraulic stiffness to initiate a shift, and since the hydraulic fluid path is geometrically defined by specific channels and chambers, a characteristic pressure signature is produced that can be used predictably to determine a latched or unlatched condition or a shift failure. Some embodiments may be described that measure pressure and compare the measurement to known and acceptable operating parameters. The pressure measurements can be analyzed at a macroscopic level by examining the fluid pressure over several switching cycles or evaluating a single switching event lasting several milliseconds.
Referring now to fig. 6, 7, and 17, an example graph (fig. 17) shows valvelift height change 882 for a cylinder over time when switchingrocker arm 100 is operating in high lift or low lift and switching between high lift and low lift. The corresponding data for the hydraulic switching system is shown on the same time scale (fig. 17), including theoil pressure 880 in theupper channels 802, 803, measured using thepressure transducer 890, and the current 881 for opening and closing the solenoid valves (solenoid valves) 822, 823 in theOVC assembly 820. It can be seen that this macro-level analysis clearly shows the interrelationship between the OCV switching current 881,control pressure 880, and lift 882 during all states of operation. For example, at time 0.1, the OCV is commanded to switch, as shown by increased current 881. When the OCV switches, the increasedcontrol pressure 880 causes a high-lift to low-lift switching event. When operation is evaluated over one or more complete switching cycles, proper operation of the subsystems, including the OCV and the pressurized fluid delivery system for therocker arm assembly 100, may be evaluated. Other independent measurements, such as the valve stem movement described above, may be used to enhance the determination of a switching failure. It can be seen that these analyses can be performed for any number of OCVs used to control intake and/or exhaust valves of one or more cylinders.
Using a similar approach, but using data measured and analyzed on the order of microseconds during switching, sufficient detailed control pressure information (fig. 17A, 17B) can be provided to independently evaluate successful switching or switching failures without having to directly measure valve lift or latch pin movement, in an embodiment using this approach, the switching state is determined by comparing the measured pressure transient to known operating state pressure transients developed during testing, and stored in the ECU for analysis. Fig. 17A and 17B illustrate example test data for generating known operating pressure transients for switching rocker arms in a DVVL system.
The test system includes four switchingrocker arm assemblies 100 as shown in fig. 3, an OCV assembly 820 (fig. 3), two upper oilpressure control passages 802, 803 (fig. 6-7), and a closed loop system to control the temperature and pressure of the hydraulic actuating fluid in thecontrol passages 802, 803. Each control passage provides hydraulic fluid at a regular pressure to control bothrocker arm assemblies 100. FIG. 17A shows valid single test run display data when the OCV solenoid valve is energized to initiate a switch from the high-lift to the low-lift state. Measurement instrumentation was installed to measurelatch movement 1003,pressure 880 incontrol passages 802, 803, OCV current 881,pressure 1001 in hydraulic fluid supply 804 (fig. 6-7), and latch and cam lash. The sequence of events is as follows:
0 ms-the ECU opening current 881 switches to energize the OCV solenoid valve.
10 ms-As shown by thepressure curve 880, the switching current 881 to the OCV solenoid is sufficient to regulate the pressure in the control passage high.
10-13 ms-as hydraulic fluid flows from supply 804 (FIGS. 6-7) intoupper control galleries 802, 803,supply pressure curve 1001 decreases below the pressure regulated by the OCV. In response, thepressure 880 rapidly increases in thecontrol channels 802, 803. The latch pin begins to move as shown by the latchpin movement curve 1003.
13-15 ms-supply pressure curve 1001 returns to a stable unregulated state when the fluid is stable. Thepressure 880 in thecontrol passages 802, 803 increases to a higher pressure regulated by the OCVs.
15-20ms — when the pressurized hydraulic fluid pushes the latch to fully home (latch pin travel curve 1002), apressure 880 increase/decrease transient is created in thecontrol passages 802, 803, and hydraulic flow and pressure stabilize at the OCV unregulated pressure. Thepressure spike 1003 is characteristic of this transient.
The specific pressure transients at 12ms and 17ms can be seen inpressure curve 880, which coincides with the sudden change inlatch position 1002.
FIG. 17B shows valid single test run display data when the OCV solenoid valve is de-energized to initiate a switch from the low-lift to the high-lift state. The sequence of events is as follows:
0ms — ECU closing current 881 to de-energize the OCV solenoid valve.
5ms-OCV solenoid moves far enough to cause the regulated lower pressure, hydraulic fluid to enter thecontrol gallery 802, 803 (pressure curve 880).
5-7 ms-when the OCV is adjusted to a lower pressure, the pressure in thepressure passages 802, 803 decreases rapidly as shown bycurve 880.
7-12 ms-when coincident with thelow pressure point 1005, the lower pressure in thepressure channels 802, 803 initiates the latch movement, as shown bylatch movement curve 1002. Thepressure curve 880 transient is initiated when the latch spring 230 (fig. 19) compresses and moves the hydraulic fluid within the latch engagement space.
12-15 ms-when the latch-pin movement shown by the latch-pin movement curve 1002 is complete, the pressure transient as shown in thepressure curve 880 is re-introduced.
15-30ms — the pressure in thecontrol passages 802, 803 stabilizes at the OCV regulation pressure, as shown bypressure curve 880.
As described above, specific pressure transients at 7-10ms and 13-20ms can be seen frompressure curve 880, which is consistent with a sudden change inlatch position 1002.
As described in the foregoing and in the following paragraphs, the fixed geometric configurations of the hydraulic passages, orifices, gaps and chambers, as well as the stiffness of the latching springs, are variable, which is related to the hydraulic response and mechanical switching speed for varying the regulated hydraulic flow pressure. Thepressure curve 880 in fig. 17A and 17B depicts a DVVL switching rocker arm system operating within an acceptable range. In operation, the particular rate of pressure increase or decrease (slope of the curve) is a suitable operating characteristic that is characterized by the time of the event described above. Examples of error conditions include: the time displacement of the pressure event shows a slow deterioration in the latch response time, a change in the rate of occurrence of the event (pressure curve slope change), or an overall decrease in the amplitude of the pressure event. For example, a pressure increase below the expected during the 15-20ms period indicates that the latch is not fully retracted, possibly resulting in a critical transition.
The test data in these examples was measured with an oil pressure of 50psi and an oil temperature of 70 degrees Celsius. A series of tests in different operating environments may provide a database of characteristic curves for use by the ECU in switching diagnostics.
Additional embodiments for diagnosing the switch state using pressure measurements are described below. The DFHLA110 as shown in fig. 3 is used both to manage lash and to supply hydraulic fluid used to actuate a VVA system that uses a switching rocker arm assembly, such as a CDA or DVVL. As shown in the cross-sectional view of fig. 52, conventional lash adjustment for the DVVLrocker arm assembly 100 maintains theball plunger 601 in contact with the receptacle of theinner arm assembly 622 during high-lift and low-lift operations. When fully assembled in the engine, the DFHLA110 is in a fixed position while the innerrocker arm assembly 622 has rotational motion about theball contact point 611. When switching between high-lift and low-lift states, the rotational motion of the innerrocker arm assembly 622 and theball plunger load 615 vary in magnitude. Theball plunger 601 is designed to compensate for movement as the load and movement change.
Whenlower control passage 805 communicates withlower port 512 and chamber 905 (fig. 11), a compensating force forball plunger load 615 is provided by hydraulic fluid pressure in the lower control passage. As shown in fig. 6-7, hydraulic fluid at an unregulated pressure is communicated from the engine cylinder head into thelower control passage 805.
In an embodiment, the pressure transducer is disposed in ahydraulic passage 805 that feeds the lash adjuster component of theDFHLA 110. The pressure transducer may be used to monitor transient pressure changes in thehydraulic passage 805 that feeds the lash adjuster when transitioning from a high-lift state to a low-lift state or from a low-lift state to a high-lift state. By monitoring the pressure signature when switching from one mode to another, the variable valve actuation system may be detected when it fails in any one position. The pressure profile, illustrated in the embodiment as pressure versus time in milliseconds, provides a characteristic shape including amplitude, slope, and/or other parameters.
For example, fig. 17C shows a graph of intake valve lift profiles 814, 816 versus time in milliseconds, plus a graph of hydraulicgallery pressure profiles 1005, 1005 versus the same time scale.Pressure curve 1006 and valvelift profile curve 816 correspond to a low lift state, andpressure curve 1005 andvalve lift profile 814 correspond to a high lift state.
During steady state operation, the pressure profiles 1005, 1006 have a periodic character withunique peaks 1007, 1008 that result when the DFHLA compensates for the alternatingball plunger load 615 that is created when the cam pushes the rocker arm assembly down to compress the valve spring (fig. 3) and provide valve lift as the valve spring extends to close the valve and when the cam is on base circle with no lift created. As shown in FIG. 17C,transient pressure peaks 1006, 1007 correspond to the vertices of the low-lift and high-lift profiles 816, 814, respectively. When the hydraulic system pressure stabilizes, steadystate pressure profiles 1005, 1006 are restored.
As described in the previous and following paragraphs, the fixed geometry configuration of the DFHLA hydraulic passages, orifices, gaps and chambers is variable, which is associated with the hydraulic response and pressure transients for a given hydraulic fluid pressure and temperature.Pressure profiles 1005, 1006 in fig. 17C depict a DVVL switching rocker system operating within an acceptable range. In operation, certain rates of pressure increase or decrease (slope of the curve), the peak pressure value, and the time of peak pressure relative to maximum lift are also characteristic of proper operation characterized by the time of the switching event. Examples of error conditions may include time displacement of a pressure event, a change in the rate of occurrence of an event (a change in the slope of the pressure curve), a sudden undesirable pressure transient, or an overall reduction in the amplitude of a pressure event.
A series of tests in different operating environments may provide a database of characteristics used by the ECU to switch diagnostics. One or several values of pressure may be used based on system configuration and vehicle commands. The monitored pressure trace may be compared to a standard trace to determine when the system has failed.
3. Switching control and logic
3.1 Engine implementation
The following describes a DVVL hydraulic fluid system that delivers engine oil at a controlled pressure to a DVVLswitching rocker arm 100 shown in fig. 4, which may be mounted on an intake valve in a type II valvetrain in a four cylinder engine. In alternative embodiments, the hydraulic fluid delivery system may be applied to any combination of intake or exhaust valves on a piston driven internal combustion engine.
3.2 Hydraulic fluid delivery System to Rocker arm Assembly
Referring to fig. 3, 6, and 7, the hydraulic fluid system delivers engine oil at a controlled pressure to the DVVL switching rocker arm 100 (fig. 4). In this arrangement, non-pressure regulated engine oil from thecylinder head 801 is fed into the HLAlower feed passage 805. As shown in fig. 3, this oil is always in fluid communication with the DFHLAlower feed inlet 512, where it is used to perform normal hydraulic lash adjustment. Non-pressure regulated engine oil from thecylinder head 801 is also supplied to the oil pressure controlvalve assembly inlet 821. As previously described, theOCV assembly 820 for this DVVL embodiment includes two independently actuated solenoid valves that regulate oil pressure from thecommon inlet 821. Hydraulic fluid from theOCV assembly 820first control outlet 822 is supplied to the firstupper passage 802, and hydraulic fluid from thesecond control port 823 is supplied to the secondupper passage 803. The first OCV determines lift modes for cylinders one and two, and the second OCV determines lift modes for cylinders three and four. As shown in fig. 18 and described in the following paragraphs, actuation of valves in theOCV assembly 820 is directed by theengine control unit 825, which uses logic based on information detected and stored for a particular physical configuration, switching window, and set of operating conditions, such as a number of cylinders and a particular oil temperature. Pressure regulated hydraulic fluid from theupper passages 802, 803 is introduced into the DFHLAupper port 506 where it is transferred to the switchingrocker arm assembly 100 throughpassage 509. As shown in FIG. 19, hydraulic fluid communicates with the switchingrocker arm assembly 100 through thefirst oil passage 144 and with thelatch pin assembly 201 through thesecond oil passage 146, where it is used to initiate switching between the high-lift and low-lift states.
Clearing the air build up in theupper channels 802, 803 is important to maintain hydraulic stiffness and minimize vibration during the pressure rise period. The pressure rise time directly affects the latch movement time during the switching operation. Passive bleedports 832, 833 shown in fig. 6 are added to high points in theupper galleries 802, 803 to bleed accumulated air into the cylinder head air space below the valve covers.
3.2.1 Hydraulic fluid delivery for Low Lift mode
Referring now to FIG. 8, the DVVL system is designed to operate from idle to 3500rpm in low lift mode. The cross-sectional view of therocker arm assembly 100 and the three-lobe cam 102 shows low lift operation. The main components of the assembly shown in fig. 8 and 19 include aninner arm 122, aroller bearing 128, anouter arm 120,sliders 130, 132, alatch 200, alatch spring 230, apivot shaft 118, and lost motion torsion springs 134, 136. For low lift operation, when the solenoid valve in theOCV assembly 820 is energized, unregulated oil pressure of 2.0 bar or greater is supplied to the switchingrocker arm assembly 100 through thecontrol passages 802, 803 and theDFHLA 110. This pressure causes thelatch 200 to retract, unlatching theinner arm 122 and theouter arm 120, and allowing them to move independently. The high-lift camshaft lobes 104, 106 (FIG. 3) remain in contact with thesliders 130, 132 on theouter arm 120. This is commonly referred to as idling. Since the low-lift cam profile 816 (FIG. 5) is used for early valve closing, the switchingrocker arm assembly 100 must be designed to absorb all motion from the high-lift camshaft lobes 104, 106 (FIG. 3). The force from the lost motion torsion springs 134, 136 (fig. 15) ensures that theouter arm 120 remains in contact with thehigh lift lobes 104, 106 (fig. 3). The low-lift lobe 108 (FIG. 3) contacts theroller bearing 128 on theinner arm 122 and the valve closing profile 816 (FIG. 5) is opened during each early phase of low lift.
3.2.2 Hydraulic fluid delivery for high Lift mode
Referring to fig. 9, the DVVL system is designed to operate from idle to 7300rpm in high lift mode. The cross-sectional views of therocker arm assembly 100 and the three-lobed cam 102 illustrate high-lift operation. The main components of the assembly are shown in fig. 9 and 19, including theinner arm 122,roller bearing 128,outer arm 120,sliders 130, 132,latch 200,latch spring 230,pivot shaft 118 and lost motion torsion springs 134, 136.
Solenoid valves in theOCV assembly 820 are de-energized to enable high lift operation. Thelatch spring 230 extends thelatch 200, latching theinner arm 122 and theouter arm 120. The locked arm functions like a fixed rocker arm. The symmetrical high-lift lobes 104, 106 (fig. 3) contact the sliders 130(132, not shown) on theouter arm 120, rotating theinner arm 122 about the ball end 601 of the DFHLA100 and opening the valve 112 (fig. 4) at each high-lift profile 814 (fig. 5). During this time, a regulated fuel pressure of from 0.2 to 0.4 bar is supplied to the switchingrocker arm 100 via thecontrol channels 802, 803. Oil pressure maintained at 0.2-0.4 bar keeps the oil passage full but does not retract thelatch 200.
In the high lift mode, the dual feed function of the DFHLA is important to ensure proper lash compensation of the valvetrain at maximum engine speeds. Thelower passage 805 in fig. 9 communicates cylinder head oil pressure to the lower DFHLA port 512 (fig. 11). The lower portion of the DFHLA is designed as a normal hydraulic lash compensation mechanism. The DFHLA110 mechanism is designed to ensure that the hydraulic pressure is of sufficient pressure to avoid charging and to maintain a full oil at all engine speeds. Hydraulic stiffness and proper valve function are maintained in the system.
The table of FIG. 20 summarizes pressure conditions in the high-lift and low-lift modes. Hydraulic decoupling from the rocker arm assembly switching function to the DFHLA normal lash compensation function is also shown. The engine is started in the high lift mode (latch extended and engaged) since this is the default mode.
3.3 operating parameters
An important factor in operating a DVVL system is reliable control of switching from high-lift mode to low-lift mode. The DVVL valve actuation system may only switch between modes for a predetermined window of time. As described above, switching from high-lift mode to low-lift mode and vice versa is initiated by a signal from the Engine Control Unit (ECU)825 (FIG. 18) using logic that analyzes stored information, such as switching windows for specific physical configurations, storing operating conditions, and processing data collected by sensors. The switching window duration is determined by the DVVL system physical configuration, including the number of cylinders, the number of cylinders controlled by a single OCV, the cylinder lift duration, the engine speed, and the latch response time inherent in hydraulic and mechanical systems.
3.3.1 data collected
The real-time sensor information includes input from any number of sensors, such as theexemplary DVVL system 800 shown in fig. 6. The sensors may include 1)valve stem displacement 829, which is measured as described above using a Linear Variable Differential Transformer (LVDT) in one embodiment, 2) action/position 828 and latchposition 827 using a hall effect sensor or motion detector, 3)DFHLA displacement 826 using a proximity switch, hall effect sensor, or other device, 4)oil pressure 830, 5)oil temperature 890. Camshaft rotational position and speed may be collected directly or inferred from an engine speed sensor.
In hydraulically actuated VVA systems, the oil temperature affects the stiffness of the hydraulic system used to switch in the system, e.g., CDA and VVL. If the oil temperature is too cold, its viscosity slows down the switching time, resulting in a fault. This relationship is illustrated in fig. 21-22 for an exemplary DVVL switching rocker system. The exact oil temperature, which provides the most accurate information, is taken from thesensor 890 shown in fig. 6, which is near the point of use rather than the engine oil crankcase. In one embodiment, the oil temperature monitored near an Oil Control Valve (OCV) in a VVA system must be greater than or equal to 20 degrees Celsius in order to initiate low lift (unlatch) operation with the required hydraulic stiffness. The measurements may be taken from any number of commercially available components, such as thermocouples. The oil control valves are further described in U.S. patent application publication Nos. 2010/0089347, 4/15, 2010 and 2010/0018482, 1/28, 2010, both of which are incorporated herein by reference in their entirety.
The sensor information is sent to the Engine Control Unit (ECU)825 as a real-time operating parameter (fig. 18).
3.3.2 stored information
3.3.2.1 switching window algorithm
Mechanically switching the windows:
the shape of each lobe of the three-lobe cam shown in fig. 4 includes abase circle portion 605, 607, 609 without lift generation, a transition portion for creating a mechanical clearance prior to a lift event, and a lift portion for moving thevalve 112. For the exampleDVVL switching rocker 100 installed in the system 800 (fig. 6), switching between high and low lift may occur only during base circle operation when there is no load on the latch preventing its movement. This mechanism is further described in the following paragraphs. The no-lift portion 863 of base circle operation is illustrated in FIG. 5.DVVL system 800 switches in a single camshaft revolution at oil temperatures of 20 ℃ and above at speeds within 3500 engine rpm. Switching outside of the timing window or predetermined oil conditions may result in a critical switching event, which is a transition in engine valve position at some point in the engine cycle when the load on the valve actuator switching components or engine valve is higher than the switching withstand capability of the structural design. A critical transfer event may result in damage to the valvetrain and/or other engine components. The switching window may be further defined as varying the pressure in the control passage and the duration of the camshaft crank angle required to move the latch from the extended to retracted position and vice versa.
As previously described and shown in fig. 7, the DVVL system has asingle OCV assembly 820 that includes two independently controlled solenoid valves. The first valve controls the firstupper gallery 802 pressure and determines lift modes for cylinders one and two. The second valve controls the secondupper passage 803 pressure and determines lift modes for cylinders three and four. FIG. 23 shows intake valve timing (lift sequence) for such an OCV assembly 820 (FIG. 3) configuration relative to camshaft angle for an in-line four cylinder engine with a cylinder start sequence of (2-1-3-4). The high lift intake valve profiles for cylinder two 851, cylinder one 852, cylinder three 853, and cylinder four 854 are shown at the top of the illustration as a ratio of lift to crank angle. The valve lift times for the corresponding cylinders are plotted in the lower section as the ratio of lift to crank angle forlift time regions 855, 856, 867, and 858. A no-lift basecircle operating region 863 for the individual cylinders is also shown. The aforementioned switching window must be determined to move the latch in one camshaft revolution, where each OCV is configured to control two cylinders at a time.
The mechanical switching window can be optimized by familiarity and improving latch movement. Referring to fig. 24-25, the mechanical configuration of the switchingrocker arm assembly 100 provides two different conditions that allow for an increased effective switching window. A first condition, referred to as a high lift latch limit, occurs in the high lift mode when thelatch 200 is locked into position by a load applied to open thevalve 112. A second condition, referred to as low lift latch limit, occurs in the unlatched low lift mode when theouter arm 120 prevents thelatch 200 from extending below theouter arm 120. These conditions are described below:
High lift latch limiting:
fig. 24 illustrates a high-lift event in which thelatch 200 engages theouter arm 120. When the valve opens against the force exerted by thevalve spring 114, thelatch 200 transfers the force from theinner arm 122 to theouter arm 120. When thespring 114 force is transmitted through the latch, thelatch 200 becomes latched in the extended position. In this case, when an attempt is made to switch from the high-lift mode to the low-lift mode, the hydraulic pressure applied by the switching OCV is insufficient to overcome the force of the latchinglatch 200, thereby preventing the latch from retracting. This condition enlarges the overall switching window by allowing pressure to be applied before the end of the high lift event and the beginning of operation of the base circle 863 (fig. 23) of the unloadlatch 200. The switching event may begin immediately when the force is released on thelatch 200.
Low lift latch limit:
fig. 25 illustrates low lift operation with thelatch 200 retracted into the low lift mode. During the lift portion of the event, theouter arm 120 blocks thelatch 200, preventing it from extending, even if the OCV switches, and the hydraulic fluid pressure decreases to return to the high-lift latched state. This condition expands the overall switching window by allowing pressure to be released before the high lift event ends and the base circle 863 (FIG. 23) operation begins. Once the base circle is reached, thelatch spring 230 may extend thelatch 200. The total switching window is increased by releasing the pressure before the base circle. The switching can be started immediately when the camshaft rotates to the base circle.
FIG. 26 depicts the same information as shown in FIG. 23, but also overlaps the time required for the mechanical switching process to complete each step during the transition between the low-lift and high-lift states. These steps represent elements of the mechanical switching inherent in the switching rocker arm assembly. As shown in FIG. 23, the engine start sequence is shown at the top and corresponds to crank angle degrees along intake valve profiles 851, 852, 853, 854 with reference to cylinder two. Thelatch 200 must be moved (referred to as a mechanical switching window) when the intake cam lobe is on thebase circle 863. Since each solenoid valve in theOCV assembly 820 controls two cylinders, the switching windows must be timed to accept two cylinders while on their base circles. And the second cylinder returns to the base circle at the crank angle of 285 degrees. The latch must complete movement through 690 crank angle degrees before the next lift of cylinder two. Similarly, cylinder one returns to base circle at 465 degrees and must complete the switch through 150 degrees. It can be seen that the switching windows for cylinders one and two are slightly different. It can be seen that the first OCV electrical trigger initiates switching prior to a cylinder one intake lift event and the second OCV electrical trigger initiates prior to a cylinder four intake lift event.
A worst-case analysis was performed to define a switching time with a maximum switching speed of 3500rpm in fig. 26. Note that the engine can be run at a higher speed of 7300rpm, however, mode switching is not allowed above 3500 rpm. The total switching window for cylinder two is 26 milliseconds and is divided into two parts: a 7 ms high lift/low liftlatch limit time 861, and a 19 msmechanical switch time 864. The 10 millisecondmechanical response time 862 is uniform for all cylinders. The 15 millisecondlatch limit time 861 is too long for cylinder one because the OCV switching is initiated at the intake lift event of cylinder one and the latch is limited from moving.
Some mechanical and hydraulic constraints must be appropriate to meet the overall switching window. First, acritical transition 860 caused by an incomplete switch before the next intake lift event begins must be avoided. Second, the test data shows that the maximum switching time to move the latch at a minimum engine oil temperature of 20 ℃ is 10 milliseconds. As shown in fig. 26, there are 19 milliseconds available for themechanical switch 864 on the base circle. Since all test data shows that the switchingmechanical response 862 would occur in the first 10 milliseconds, a full 19 millisecondmechanical switching time 864 is not required. The combination of mechanical and hydraulic constraints defines a worst case switching time of 17 milliseconds, which includes alatch limit time 861 plus a latchmechanical response time 862.
The DVVL switching rocker arm system is designed with a margin to complete the switching at a 9 millisecond margin. Further, a 9 millisecond margin may allow mode switching at speeds above 3500 rpm. Cylinders three and four correspond to the same switching times for cylinders one and two, except for the stage shown in fig. 26. Since the time from the energizing of the OCV to the beginning of the change in control gallery oil pressure remains predictable, the electrical switching time required to actuate the solenoid valves in the OCV assembly is not included in this analysis, although the ECU can be easily calibrated to account for this variable.
As shown in fig. 4 and 25A, a critical transition may occur if the timing of camshaft rotation and latch 200 movement coincides with the timing of loading thelatch 200 at one edge, where it only partially engages theouter arm 120. Once the high lift event begins, thelatch 200 may slide and disengage from theouter arm 120. When this occurs, theinner arm 122, accelerated by the force of thevalve spring 114, causes an impact between theroller bearing 128 and the low-lift cam lobe 108. Critical switching is undesirable because it can result in momentary loss of control of therocker arm assembly 100 and valve motion and impact on the system. DDVL switching rocker arms are designed to meet a life worth of critical switching.
3.3.2.2 stored operating parameters
The operating parameters include stored information that is used by the ECU825 (fig. 18) for switching logic control and based on data collected during the extended test described in the following paragraphs. Some examples of known operational data are described: in an embodiment, 1) a minimum oil temperature of 20 degrees celsius is required for switching from the high-lift state to the low-lift state, 2) a minimum oil pressure of greater than 2 bar should be present in the engine under case for the switching operation, 3) latch response switching time is plotted against oil temperature according to fig. 21-22, 4) as shown in fig. 17 and described previously, a predictable pressure change caused by the hydraulic switching operation occurs in theupper gallery 802, 803 (fig. 6) and is determined by thepressure sensor 890, 5) as shown in fig. 5 and described previously, known valve movements relative to crank angle (time) and based onlift profiles 814, 816 can be preset and stored.
3.3 control logic
As indicated above, DVVL switching may occur only during a small predetermined window of time under certain operating conditions, switching the DVVL system outside of the timing window may result in a critical switching event that may cause damage to the valvetrain and/or other engine components. Since engine conditions such as oil pressure, temperature, emissions, and load may change rapidly, a high speed processor may be used to analyze the real time conditions, compare them to known operating parameters to characterize the operating system, determine when to switch based on the results, and send a switch signal. These operations may be performed hundreds or thousands of times per second. In embodiments, such computational functions may be performed by a dedicated processor or by an existing multi-function vehicle control system known as an Engine Control Unit (ECU). A typical ECU has input sections for analog and digital data, processing sections including a microprocessor, programmable memory and random access memory, and output sections that may include relays, switches and warning light actuation.
In one embodiment, the Engine Control Unit (ECU)825 shown in fig. 6 and 18 receives inputs from a number of sensors, such as valve stemdisplacement 829, motion/position 828, latchposition 827,DFHLA movement 826,oil pressure 830, andoil temperature 890. Data such as the operating temperatures and pressures allowed for a given engine speed (fig. 20) and switching windows (fig. 26 and described in other paragraphs) are stored in memory. The information collected in real time is then compared to stored information and analyzed to provide logic for ECU825 to switch timing and control.
After the inputs are analyzed, control signals are output to the OCV820 via the ECU825 to initiate switching operations, which may be timed to avoid critical transitions while meeting engine performance goals, such as improved fuel economy and reduced emissions. The ECU825 also alerts the driver of error conditions, if desired.
DVVL switching rocker arm assembly
4.1 description of the Components
A switching rocker arm is disclosed that is hydraulically actuated by pressurized fluid and is used to engage a cam. The outer arm and the inner arm are configured to transmit motion to a valve of an internal combustion engine. The latch mechanism includes a latch, a sleeve, and an orienting member. The sleeve engages the latch and the aperture in the inner arm and also provides an opening for an orientation member for providing the correct orientation of the latch relative to the sleeve and the inner arm. The sleeve, latch and inner arm have reference markings for determining the optimum orientation of the latch.
The example switchingrocker arm 100 may be configured during operation with a three-lobed cam 10 as shown in fig. 4. Alternatively, similar rocker arm embodiments may be configured to work with other cam designs, such as a two-lobe cam. The switchingrocker arm 100 is configured with a mechanism for maintaining hydraulic lash adjustment and a mechanism for supplying hydraulic switching fluid to theinner arm 122. In an embodiment, Dual Feed Hydraulic Lash Adjuster (DFHLA)110 performs two functions. Thevalve 112,spring 114 andspring retainer 116 are also configured with the assembly.Cam 102 has first and secondhigh lift lobes 104, 106 and alow lift lobe 108. The switching rocker arm has anouter arm 120 and aninner arm 122 as shown in fig. 27. During operation, thehigh lift lobes 104, 106 contact theouter arm 120 and the low lift lobes contact theinner arm 122. The lobes cause periodic downward movement of theouter arm 120 and theinner arm 122. The downward motion is transferred to thevalve 112 through theinner arm 122, thereby opening the valve. Therocker arm 100 is switchable between a high lift mode and a low lift mode. In the high-lift mode, theouter arm 120 latches to theinner arm 122. During engine operation, the high-lift lobes periodically push theouter arm 120 downward. As theouter arm 120 latches to theinner arm 122, high lift motion is transferred from theouter arm 120 to theinner arm 122 and further to thevalve 112. When therocker arm 100 is in its low lift mode, theouter arm 120 is not latched to theinner arm 122, and therefore the high lift motion exhibited by theouter arm 120 is not transferred to theinner arm 122. Instead, the low-lift lobe contacts theouter arm 120 and produces a low-lift event that is transferred to thevalve 112. When unlocked from theinner arm 122, theouter arm 120 pivots about theshaft 118, but does not transfer motion to thevalve 112.
Fig. 27 shows a perspective view of an example switchingrocker arm 100. The switchingrocker arm 100 is given by way of example only, and it is to be understood that the configuration of the switchingrocker arm 100 of the presently disclosed subject matter is not limited to the configuration of the switchingrocker arm 100 shown in this figure.
As shown in fig. 27, the switchingrocker arm 100 includes anouter arm 120 having a firstouter side arm 124 and a secondouter side arm 126. Theinner arm 122 is disposed between a firstouter side arm 124 and a secondouter side arm 126. Both theinner arm 122 and theouter arm 120 are mounted on apivot shaft 118, adjacent thefirst end 101 of therocker arm 100, which secures theinner arm 122 to theouter arm 120 while also allowing rotational freedom of theinner arm 122 relative to theouter arm 120 about thepivot shaft 118. In addition to the illustrated embodiment havingseparate pivot shafts 118 mounted to theouter arm 120 and theinner arm 122, thepivot shafts 118 may be part of theouter arm 120 or theinner arm 122.
Therocker arm 100 shown in FIG. 27 has aroller bearing 128 configured to engage the center low lift lobe of a three-lobe cam. The first andsecond sliders 130, 132 of theouter arm 120 are configured to engage the first and second high-lift lobes 104, 106 of FIG. 4. The first and second torsion springs 134, 136 function to bias theouter arm 120 upwardly after being displaced by thehigh lift lobes 104, 106. The rocker arm design provides a spring over-torque feature.
The outer arm first and second overtravel limiters 140, 142 prevent over winding of the torsion springs 134, 136 and limit over stress on thesprings 134, 136. When theouter arm 120 reaches its maximum rotation in the low lift mode, theover-travel limiters 140, 142 contact theinner arm 122 on the first andsecond oil galleries 144, 146. At this point, the interference between overtravel limiters 140, 142 andoil galleries 144, 146 prevents any further downward rotation ofouter arm 120. Fig. 28 shows a top view of therocker arm 100. As shown in fig. 28, overtravel limiters 140, 142 extend fromouter arm 120 towardinner wall 122 to overlapoil galleries 144, 146 ofinner wall 122, thereby ensuring interference between overtravel limiters 140, 142 andoil galleries 144, 146. As shown in fig. 29, which shows a cross-sectional view taken along line 29-29,contact surface 143 ofrestrictor 140 is contoured to match the cross-sectional shape ofoil passage 144. This helps to evenly distribute the force whenlimiters 140, 142 are in contact withoil galleries 144, 146.
When theouter arm 120 reaches its maximum rotation in the low lift mode as described above, the latch stop 90 shown in fig. 15 prevents latch extension and improper latching. This feature may be configured to suit the shape of theouter arm 120 as desired.
Fig. 27 illustrates a perspective view from above of therocker arm assembly 100 showing torsion springs 134, 136 according to one embodiment of the teachings of the present application. Fig. 28 is a plan view of therocker arm assembly 100 of fig. 27. This design shows therocker arm assembly 100 having torsion springs 134, 136, each of the torsion springs 134, 136 wound about theshaft 118.
The switchingrocker arm assembly 100 must be compact enough to fit in limited engine space without sacrificing performance or durability. A conventional torsion spring wound from round wire sized to meet the torque requirements of the design is in some embodiments too wide to fit within the allowedspring space 121 between theouter arm 120 and theinner wall 122, as shown in fig. 28.
4.2 torsion spring
The design and manufacturing process of the torsion springs 134, 136 is now described, which results in a compact design having a generally rectangular wire made of the selected structural material.
Referring now to fig. 15, 28, 30A and 30B, the torsion springs 134, 136 are constructed from generally trapezoidal shapedwires 397. The trapezoidal shape is designed to allow thewire 397 to deform into a generally rectangular shape when a force is applied during the winding process. After the torsion springs 134, 136 are wound, the resulting wire shape may be described as similar to thefirst wire 396 having a generally rectangular cross-section. The twotorsion spring 134, 136 embodiment is shown in cross section alongline 8 in fig. 28, depicted in cross section as a plurality ofcoils 398, 399. In a preferred embodiment, thewire 396 has a rectangular cross-sectional shape with two elongated sides, here shown asvertical sides 402, 404 and a bottom 403. The ratio of the average length of thevertical sides 402 and 403 of the coil to the average length of the top 401 and bottom 403 may be any value less than 1. This ratio produces greater stiffness along thecoil bending axis 400 than a spring coil wound from a round wire having a diameter equal to the average length of the top 401 andbottom 403 of thecoil 398. In an alternative embodiment, the cross-sectional wire shape is a generally trapezoidal shape with a largerupper portion 401 and asmaller bottom portion 403.
In this configuration, when the coils are wound, theelongate side 402 of each coil abuts theelongate side 402 of the previous coil, thereby stabilizing the torsion springs 134, 136. The above-mentioned shape and arrangement keep all the coils in a vertical position, preventing them from crossing or angling each other when under pressure.
The generally rectangular or trapezoidal shaped torsion springs 134, 136, when they are bent about theshaft 400 as shown in fig. 30A, 30B and 19, generate high component stresses, particularly tensile stresses on theupper surface 401 when therocker arm assembly 100 is in operation.
To meet durability requirements, a combination of materials and techniques are applied together. For example, the torsion springs 134, 136 may be made of a material including chrome vanadium alloy steel, which is designed to improve strength and durability.
The torsion springs 134, 136 may be heated and rapidly cooled to temper the springs. This reduces the residual stress.
The surface of thewire 396, 397 used to make the torsion springs 134, 136 is shot peened, or "shot peened," to add residual compressive stress to the surface of thewire 396, 397. Thewires 396, 397 are then wound into torsion springs 134, 136. Because they are shot peened, the manufactured torsion springs 134, 136 may be subjected to greater tensile stress than the same springs that were not shot peened.
4.3 torsion spring seat
The switchingrocker arm assembly 100 may be compact enough to fit within a limited engine space with minimal impact on surrounding structures.
The switchingrocker arm 100 provides a torsion spring seat with retention features formed by the adjacent components.
Referring to fig. 27, 19, 28 and 31, the assembly of theouter arm 120 and theinner arm 122 forms aspring seat 119, as shown in fig. 31. The seat includes integral retention features 119 to the ends of the torsion springs 134, 136 in fig. 19.
The torsion springs 134, 136 are free to move along the axis of thepivot shaft 118. When fully assembled, the first andsecond lugs 405, 406 on theinner arm 122 retain the inner ends 409, 410 of the torsion springs 134, 136, respectively. The first and second overtravel limiters 140, 142 on theouter arm 120 are assembled to prevent rotation and retain the outer ends 407, 408 of the torsion springs 134, 136, respectively, without undue binding or addition of materials and components.
4.4 outer arm
The design of theouter arm 120 is optimized for the particular loads expected during operation, and its resistance to moments and bending applied by other means or from other directions may cause it to deviate from its specifications. Examples of non-operational loads may be caused by handling or machining. Clamping features or surfaces are built into the parts designed to assist the clamping and holding process when grinding the sliders, requiring critical steps to maintain parallelism between the sliders when the slider holding parts are secured without deformation. Fig. 15 shows a perspective view of anotherrocker arm 100. Thefirst clamping lug 150 protrudes from the lower face of thefirst slider 130. Similarly, a second clamping lug (not shown) is located below thesecond slider 132. During the manufacturing process, the clamping lugs 150 are engaged by a jig during grinding of theslides 130, 132. A force is applied to the clampinglug 150 that restrains theouter arm 120 in position, as in the assembled state as part of therocker arm assembly 100. Grinding these surfaces requires that theslides 130, 132 remain parallel to each other and that theouter arm 120 does not deform. The clamping at the clampinglug 150 prevents deformation of theouter arm 120 that may occur under other clamping settings. For example, clamping at clampinglug 150, preferably integrally toouter arm 120, helps to eliminate any mechanical stress created by squeezingouter end arms 124, 126 toward each other during clamping. In another embodiment, the location of the clamping lugs 150 is directly below thesliders 130, 132, resulting in a moment on theouter arm 120 generated by the grinder contact force of almost zero to a minimum moment. In some applications, it may be desirable to apply pressure to other portions of theouter arm 120 in order to minimize deformation.
4.5DVVL Module operation
Fig. 19 shows an exploded view of the switchingrocker arm 100 of fig. 27 and 15. Referring to fig. 19 and 28, when assembled, theroller bearing 128 is part of a pin-and-roll assembly 129, and the pin-and-roll assembly 129 may have apin 180 mounted between theroller bearing 128 and aroller 182. Theroller 182 is mounted to theinner arm 122 by roller throughholes 183, 184. Theroller assembly 129 is used to transfer the rotational motion of the low-lift cam 108 to theinner rocker arm 122, and in turn, to thevalve 112 in the unlatched state. Thepivot shaft 118 is mounted to theinner arm 122 at thefirst end 101 of therocker arm 100 by acollar 123 and to theouter arm 120 by pivot shaft throughholes 160, 162. The lost motion rotation of theouter arm 120 relative to theinner arm 122 in the unlatched state occurs about thepivot axis 118. Lost motion in this case represents movement of theouter arm 120 relative to theinner arm 122 in the unlatched state. This action does not transfer the rotational motion of the first and second high-lift lobes 104, 106 of thecam 102 to thevalves 112 in the unlatched condition.
Other configurations besides theroller assembly 129 and thesliders 130, 132 also allow motion to be transferred from thecam 102 to therocker arm 100. For example, smooth non-rotating surfaces (not shown) such assliders 130, 132 may be placed on theinner arm 122 to engage the low-lift lobes 108 and roller assemblies may be mounted to therocker arm 100 to transfer motion from the high-lift lobes 104, 106 to theouter arm 120 of therocker arm 100.
Referring now to fig. 4, 19 and 12, the exemplaryswitching rocker arm 100 uses a three-lobed cam 102, as described above.
To make the design compact, bringing the dynamic load as close as possible to the non-switching rocker arm design, thesliders 130, 132 act as surfaces to contact thecam lobes 104, 106 during high-lift mode operation. The sliders generate more friction during operation than other designs, such as roller bearings, the friction between thefirst slider surface 130 and the first high-lift lobe 104, plus the friction between thesecond slider 132 and the second high-lift lobe 106, causing a loss in engine efficiency.
When therocker arm assembly 100 is in the high-lift mode, full load of the valve opening event is applied to thesliders 130, 132. When therocker arm assembly 100 is in the low lift mode, the load applied to thesliders 130, 132 by the valve opening event is small, but present. Packaging constraints of the example switchingrocker arm 100 require that the width of eachslider 130, 132 as described by the slider edge lengths 710, 711 in contact with thecam lobes 104, 106 be narrower than most prior slider interface designs. This results in higher component loads and stresses than most slider interface designs. Friction results in excessive wear on thecam lobes 104, 106 and thesliders 130, 132, which when combined with higher loads may result in premature component failure. In the example switching rocker arm assembly, a coating, such as a diamond-like coating, is used on thesliders 130, 312 on theouter arm 120.
The diamond-like coating (DLC) reduces friction in the operation of the example switchingrocker arm 100 and, at the same time, provides the necessary wear and load characteristics for the slider surfaces 130, 132. It can be readily seen that the advantages of the DLC coating can be applied to any component surface of this or other assembly, such as the pivot shaft surfaces 160, 162 on theouter arm 120 shown in fig. 19.
While similar coating materials and processes exist, none are sufficient to meet the following requirements for a DVVL rocker arm assembly: 1) sufficient hardness, 2) suitable load carrying capacity, 3) chemically stable in the operating environment, 4) suitable for processes where the temperature does not exceed the annealing temperature of theouter arm 120, 5) meeting engine life requirements, and 6) providing reduced friction compared to steel at the steel interface. The DLC coating process described previously meets the requirements listed above and is applied to the slider surfaces 130, 132, which grind the slider surfaces 130, 132 to a final precision using the grinding wheel materials and speeds developed for DLC coating applications. The slider surfaces 130, 132 are also polished to a particular surface roughness using one of several techniques, such as vapor honing or particle blasting.
4.5.1 Hydraulic fluid System
The hydraulic latch for therocker arm assembly 100 must be constructed to fit into a compact space, meet switching response time requirements and minimize oil pumping losses. The oil is directed along a fluid path under controlled pressure and a controlled volume is applied in a manner that provides the force and speed required to initiate the latch-pin switching. The hydraulic passages require a specific clearance and size to provide the system with the proper hydraulic stiffness and resulting switching response time. The design of the hydraulic system must cooperate with other elements including a switching mechanism such as a biasingspring 230.
In the switchingrocker arm 100, oil is delivered through a series of fluid communication chambers and to a latch-pin assembly 201, or any other hydraulically actuated latch-pin mechanism. As described above, the hydraulic drive system begins with anoil flow port 506 in the DFHLA110 where oil or other hydraulic fluid is introduced at a controlled pressure. The pressure may be regulated using a switching device such as a solenoid valve. Upon exiting the ball plungerend 601, oil or other pressurized fluid is directed from the single location through thefirst oil passage 144 and thesecond oil passage 146 of the inner arm having an orifice sized to minimize pressure drop as oil flows through theball seat 502, as shown in FIG. 10, to the latch-pin assembly 201 of FIG. 19.
Shown in fig. 19 is alatch pin assembly 201 for latching theinner arm 122 to theouter arm 120, thelatch pin assembly 201 being proximate thesecond end 103 of therocker arm assembly 100 in the depicted embodiment, thelatch pin assembly 201 being shown as including alatch pin 200 that extends in the high-lift mode and secures theinner arm 122 to theouter arm 120. In low lift mode, thelatch 200 retracts into theinner arm 122, allowing lost motion movement of theouter arm 120. Oil pressure is used to control the movement of thelatch pin 200.
As shown in fig. 32, one embodiment of the latch pin assembly shows theoil passages 144, 146 (shown in fig. 19) in fluid communication with thechamber 250 through theoil opening 280.
Depending on the operating mode requirements, oil is supplied to theoil opening 280 and the latch-pin assembly 201 at a range of pressures.
As can be seen in fig. 33, once pressurized oil is introduced into thechamber 250, thelatch 200 retracts into thebore 240, allowing theouter arm 120 to freewheel relative to theinner arm 122. Oil may be transferred between the first integralcylindrical surface 205 and thesurface 241 from thefirst chamber 250 to thesecond chamber 420, as shown in fig. 32.
Some of the oil is discharged back into the engine through theholes 209 and into theinner arm 122. When the biasing spring returns to the high-lift state of the latch, the remaining oil is pushed back through the hydraulic path as the biasingspring 230 expands. It will be appreciated that a similar flow path may be used to bias the latch mechanism for normal unlatched operation.
The latch-pin assembly design manages latch-pin response time through a combination of clearances, tolerances, bore size, chamber size, spring design, and similar criteria for controlling oil flow. For example, latch pin designs may include features such as a double diameter pin with an active hydraulic area to operate within tolerances within a given pressure range, a sealing face designed to limit oil pump wear, or an oil-in chamfer.
Referring now to fig. 32-34, thelatch 200 includes design features that provide multiple functions in a limited space:
1. thelatch 200 uses a first substantiallycylindrical surface 205 and a second substantiallycylindrical surface 206. The first substantiallycylindrical surface 205 has a diameter that is larger than a diameter of the second substantiallycylindrical surface 206. When thepin 200 and thesleeve 210 are assembled together in thebore 240, thecavity 250 is formed without the use of any additional components. Note that this space is in fluid communication with theoil opening 280. Additionally, the area of thepressing surface 422, in combination with the oil pressure transferred, may be controlled to provide the necessary force to move thepin 200, compress thebiasing spring 230, and switch to the low lift mode (unlatched).
2. The space between the first substantiallycylindrical surface 205 and theadjacent bore wall 241 serves to minimize the amount of oil flowing from thechamber 250 into thesecond chamber 420. As oil is transferred fromchamber 250 tosecond chamber 420 between first substantiallycylindrical surface 205 andsurface 241, the clearance between first substantiallycylindrical surface 205 andsurface 241 must be closely controlled to allowpin 200 to move freely without oil leakage and associated oil pumping losses.
3. Packaging constraints require that the distance along the axis of movement of thepin 200 be minimized. In some operating environments, the existingoil seal 424 may not be sufficient to control the flow of oil from thechamber 250 to thesecond chamber 420 between the first substantiallycylindrical surface 205 and thesurface 241. An annular sealing surface is described. When thelatch 200 is retracted, it touches theaperture wall 208 at itsrear surface 203. In a preferred embodiment, therear surface 203 of thelatch 200 has a flat annular or sealingsurface 207 that is generally perpendicular to the first and second generallycylindrical aperture walls 241, 242 and parallel to theaperture wall 208. The flatannular surface 207 forms a seal against thebore wall 208, which reduces oil leakage from thechamber 250 through the seal formed by the first substantiallycylindrical surface 205 and the first substantiallycylindrical bore wall 241 of thelatch 200. The area of the sealingsurface 207 is sized to minimize separation resistance caused by the oil film between the sealingsurface 207 and thebore wall 208 shown in fig. 32, while maintaining a seal to prevent pressurized oil from flowing between the sealingsurface 207 and thebore wall 208 and exiting theorifice 209.
4. In onelatch pin 200 embodiment, anoil entry surface 426, such as a chamfer, provides an initial pressing surface area to allow for faster switch starts and overcome separation resistance caused by the oil film between thepressing surface 422 and thesleeve end 427. The size and angle of the chamfer allows the switch to be easily initiated without accidental initiation due to changes in oil pressure that occur during normal operation. In thesecond latch pin 200 embodiment, a series ofcastellations 428, radially disposed as shown in fig. 34, provide an initial pressing surface area sized to allow for faster switch initiation and overcome separation resistance caused by the oil film between thepressing surface 422 and thesleeve end 427.
Oil intake surface 426 may also reduce the pressure and pumping losses required for switching by reducing the need for a separation force betweenpressurization surface 422 andsleeve end 427. These relationships can be expressed as incremental improvements in switching response and pumping losses.
As oil flows through the switchingrocker arm assembly 100 hydraulic system previously described, the relationship between oil pressure and oil flow path area and length greatly limits the response time of the hydraulic system, which also directly affects switching response time. For example, if high pressure oil enters a large space at a high velocity, its velocity is immediately reduced, thereby reducing its hydraulic reaction time or strength. The range of these relationships particularly useful for operating the switchingrocker arm assembly 100 can be calculated. One relationship may be described, for example, as follows: oil at a pressure of 2 bar is supplied to thechamber 250 where the oil pressure-the area of the surface being pressurized-transmits a force which overcomes the force of the biasingspring 230 and initiates the switch from latched to unlatched operation within 10 milliseconds.
The range of characteristic relationships that result in suitable hydraulic strengths and response times, where minimized pumping losses can be calculated from system design variables, can be defined as follows:
Inner diameter ofoil passages 144, 146 and length fromball seat 502 to bore 280
Bore 280 diameter and length
Area of thepressing surface 422
Volume of thechamber 250 in all operating states
Volume of thesecond chamber 420 in all operating states
The cross-sectional area created by the space between the first substantiallycylindrical surface 205 and thesurface 241
Length of the sealingsurface 424
Area of the flatannular surface 207
Diameter of thehole 209
Oil pressure supplied from the DFHLA110
Stiffness of the biasingspring 230
Cross-sectional area and length offlow channels 504, 508, 509
Area and number of oil entry surfaces 426
The number and cross-sectional area ofcastellations 428.
The latch response time of the hydraulic device in the switchingrocker arm 100 described above is described for a range of conditions, such as:
oil temperature: 10 ℃ to 120 DEG C
Oil type: 5w-20weight
These conditions result in a range of oil viscosities that affect latch response times.
4.5.2 latch-pin mechanism
Thelatch pin assembly 201 of therocker arm assembly 100 provides a mechanical switching means from high lift to low lift and vice versa. The latch-pin mechanism may be configured to be normally unlatched or latched. Some preferred embodiments may be described.
In one embodiment, alatch pin assembly 201 for latching theinner arm 122 to theouter arm 120, visible near thesecond end 103 of therocker arm 100, is shown in fig. 19, which includes alatch pin 200, abushing 210, adetent pin 220, and alatch spring 230. Thelatch pin assembly 201 is configured to be mounted inside theinner arm 122 in abore 240. As described below, in the assembledrocker arm 100, thelatch 200 extends in the high-lift mode to secure theinner arm 122 to theouter arm 120. In the low lift mode, thelatch 200 retracts into theinner arm 122, allowing lost motion movement of theouter arm 120. As previously described, switching oil pressure is provided through the first andsecond oil passages 144, 146 to control whether thelatch 200 latches. Theplug 170 is inserted into thepassage hole 172 to form a pinch seal adjacent the first andsecond oil passages 144, 146 and allow them to flow oil to thelatching mechanism 201.
FIG. 32 shows a cross-sectional view of the latch-pin assembly 201 in the latched condition alonglines 32, 33-32, 33 of FIG. 28. Thelatch 200 is disposed within theaperture 240. Thelatch 200 has aspring hole 202 into which abiasing spring 230 is inserted. Thelatch 200 has arear surface 203 and afront surface 204. Thelatch 200 also has a first substantiallycylindrical surface 205 and a second substantiallycylindrical surface 206. The first substantiallycylindrical surface 205 has a larger diameter than the second substantiallycylindrical surface 206. The spring bore 202 is substantially concentric with thesurfaces 205, 206.
Thesleeve 210 has a generally cylindricalouter surface 211 interfacing with the first generallycylindrical bore wall 241 and a generally cylindricalinner surface 215.Bore 240 has a first generallycylindrical bore wall 241 and a second generallycylindrical bore wall 242 having a larger diameter than first generallycylindrical bore wall 241. The substantially cylindricalouter surface 211 of thesleeve 210 and the first substantiallycylindrical surface 205 of thelatch 200 engage the first substantiallycylindrical bore wall 241 to form a compression seal. In addition, the generally cylindricalinner surface 215 of thesleeve 210 also forms a compression seal with the second generallycylindrical surface 206 of thelatch 200. In operation, these seals cause oil pressure to develop in thechamber 250 surrounding the second substantiallycylindrical surface 206 of thelatch 200.
The default position of thelatch 200, shown in fig. 32, is the latched position. Thespring 230 biases thelatch 200 outward from theaperture 240 into the latched position. Oil pressure applied to thechamber 250 retracts thelatch 200 and moves it to the unlatched position. Other configurations are possible, such asspring 230 biasinglatch 200 in the unlatched position, application of oil pressure betweenaperture wall 208 andrear surface 203 causinglatch 200 to extend outwardly fromaperture 240 to latchouter arm 120.
In the latched state, thelatch 200 causes thelatch surface 214 of theouter arm 120 to engage thearm engagement surface 213. As shown in fig. 32, theouter arm 120 is prevented from moving downward and is driven into motion by thelatch 200 to theinner arm 122. Theorientation feature 212 takes the form of a channel into which thelocating pin 221 projects from theinner wall 122 on the outside through thefirst pin opening 217 and then through the second pin opening 218 in thesleeve 210. Locatingpin 221 is generally solid and smooth. Theretainer 222 holds thepin 221 in place.Detent pin 221 preventslatch 200 from over-rotating withinhole 240.
As previously described, and with reference to fig. 33, upon introduction of pressurized oil intochamber 250,latch 200 retracts intobore 240, allowing lost motion rotation ofouter arm 120 relative toinner arm 122. Theouter arm 120 is then no longer prevented from moving downward by thelatch 200 and has lost motion. Pressurized oil is introduced into thechamber 250 through anoil opening 280 that is in fluid communication with theoil passages 144, 146.
Fig. 35A-35F illustrate some of the retaining devices for locatingpin 221. In fig. 35A, thepin 221 is cylindrical with a uniform thickness. Apush ring 910, shown in figure 35C, is disposed in therecess 224 on thesleeve 210. Insertion ofpin 221 intoring 910causes teeth 912 to deform andsecure pin 221 toring 910. Thepin 22 is then secured in place as thering 910 is enclosed in therecess 224 by theinner arm 122. In another embodiment, as shown in FIG. 35B,pin 221 has aslot 902 into whichteeth 912 ofring 910 press to securering 910 to pin 221. In another embodiment shown in FIG. 35D, thepin 221 has aslot 904 into which anE-clip 914, as shown in FIG. 35E, or anarcuate E-clip 914, as shown in FIG. 35F, may be inserted to secure thepin 221 in place relative to theinner arm 122. In another embodiment, wire loops may be used in place of the stamping rings. During assembly, theE-clip 914 is placed in therecess 224 at the point where thebushing 210 is inserted into theinner arm 122, and then the locatingpin 221 is inserted through theclip 910.
Anexemplary latch 200 is shown in fig. 36. Thelatch 200 is generally divided into ahead portion 290 and abody portion 292. Thefront surface 204 is a convexly curved surface. This surface shape extends toward theouter arm 120 and increases the chance that the arm-engagingsurface 213 of thelatch 200 will properly engage theouter arm 120. Thearm engaging surface 213 comprises a substantially flat surface. Thearm engaging surface 213 extends from afirst boundary 285 having a second substantiallycylindrical surface 206 to asecond boundary 286 and from aboundary 287 having a front surface to aboundary 233 having asurface 232. The portion of the arm-engagingsurface 213 that extends furthest from thesurface 232 in the direction of the longitudinal axis a of thelatch 200 is located substantially equidistant between thefirst boundary 285 and thesecond boundary 286. Conversely, the portion of thearm engagement surface 213 that extends closest from thesurface 232 in the direction of the longitudinal axis a of thelatch 200 is located substantially at the first andsecond boundaries 285, 286. Thefront surface 204 need not be a convex curve but could be a V-shaped surface, or some other shape. This arrangement allows greater rotation of thelatch 200 within theaperture 240 while increasing the likelihood of proper engagement of the arm-engagingsurface 213 of thelatch 200 and theouter arm 120.
An alternative latch-pin assembly 201 is shown in fig. 37. A locating plug (directional plug) 1000 in the form of a hollow cup-shaped plug is press fit into thesleeve bore 1002 and positions thelatch 200 by protruding into the locatingfeature 212 to prevent over-rotation of thelatch 200 relative to thesleeve 210. As discussed further below, the adjustment slot (alignment slot) 1004 facilitates positioning of thelatch 200 within thesleeve 210 and ultimately theinner arm 122 by providing a feature that allows thelatch 200 to rotate within thesleeve 200. Theadjustment slot 1004 may serve as a feature by which to rotate thelatch 200 and also measure its relative orientation.
Referring to fig. 38-40, an example method of assembling the switchingrocker arm 100 is as follows: the locatingplug 1000 is press fit into thesleeve bore 1002 and the latch is inserted into the generally cylindricalinner surface 215 of thesleeve 210.
Thelatch pin 210 is then rotated clockwise until the locatingfeature 212 reaches theplug 1000, at which point interference between thefeature 212 and theplug 1000 prevents further rotation. An angle a1 is then measured, as shown in fig. 38, which corresponds to the angle between thearm engaging surface 213 and thesleeve datum 1010, 1012, which is aligned perpendicular to thesleeve bore 1002. Theadjustment slot 1004 may also serve as a reference line for thelatch 200 and thekeyway 1014 may also serve as a reference located on thesleeve 210. Thelatch pin 200 is then rotated counterclockwise until thedetent feature 212 reaches theplug 1000, preventing further rotation. As can be seen in fig. 39, a second angle a2 is measured, which corresponds to the angle between thearm engaging surface 213 and the casing references 1010, 1012. Counterclockwise and then clockwise rotation is also allowed for a1 and a 2. As shown in FIG. 40, once inserted intoinner arm 122,sleeve 210 andpin assembly 1200 are rotated an angle A measured betweeninner arm reference 1020 andsleeve references 1010, 1012, resulting inarm engagement surface 213 being oriented horizontally with respect toinner arm 122, as shown byinner arm reference 1020. The amount of rotation a should be selected to maximize the likelihood that thelatch 200 will engage theouter arm 120. One such embodiment is to rotatesubassembly 1200 at half the angle of the difference between A2 and A1 as measured frominner arm datum 1020. Other amounts of adjusting a are also possible within the scope of the present disclosure.
A cross-section of an alternative embodiment ofpin 1000 is shown in fig. 41. Here, thepin 1000 is hollow, partially enclosing aninterior volume 1050. The pin has a substantially cylindricalfirst wall 1030 and a substantially cylindricalsecond wall 1040. The substantially cylindricalfirst wall 1030 has a diameter D1, which is D1 greater than the diameter D2 of thesecond wall 1040. In one embodiment shown in fig. 41, anedge 1025 is used to limit the downward movement ofpin 1000 through pin opening 218 insleeve 210. In the second embodiment shown in fig. 42, the press-fit limit pin 1000 moves downward through thepin opening 218 in thesleeve 210.
The latch embodiments described above utilize flat mating surfaces that engage or disengage during switching operations, thus providing a predictable contact area with relatively low contact stress for the mating components. As noted above, this pin design requires additional components and features to ensure proper orientation during operation, which increases the complexity and cost of the rocker arm assembly manufacturing and assembly process.
Another latching embodiment incorporates a round or other non-planar (non-flat) latching pin that eliminates the need to provide pin orientation. It was thought that in order to utilize a round or non-planar rocker latch, the mating surfaces would require expensive high tolerance "ground" curved mating surfaces, or latch seats having radii very close to the latch pin radii. A slightly too small seat may cause sticking, delay release, and may result in hitting the corner of the latch seat. An oversized latch seat allows for excessive lateral (side-to-side) movement. As described below, a stamping process may be utilized to produce round or non-planar latch embodiments that do not require grinding.
In the example shown, for a truly round latch with a non-planar latch shelf, the need to orient the latch in the rocker arm where it is located is eliminated. By eliminating the need for directional latches, assembly parts and risks can be eliminated.
The method may also reduce or eliminate the need to categorize the latch, inner arm, and outer arm to meet the lash requirements for a given rocker arm assembly. This is achieved by being able to adjust the latch clearance at the end of the assembly process.
A method for manufacturing a rocker arm assembly utilizing either a round or non-planar latch embodiment will now be described. As already indicated, the method modifies the mating surface by a stamping process.
The present invention employs non-planar latches, such as latches having a circular cross-section that engages a latch receptacle that has been modified from a planar cross-section. The present invention includes a design that achieves a curved mating surface that matches the latch requirements and does not require a grinding process. The method alters the mating surface by a stamping process. By using a truly round latch with a non-planar latch shelf, the need to orient the latch in the swing arm where it is located is eliminated. By eliminating the need for directional latches, components in the assembly and assembly risks can be eliminated.
The method will reduce or eliminate the need to categorize the latch and the need to categorize the inner and outer arms. This is achieved by being able to adjust the latch clearance at the end of the assembly process.
The present specification explains herein a VVL rocker arm assembly having a normally unlatched latched position. The method may also be used with deactivating rocker arm assemblies, as well as other switching rocker arm assemblies. The rocker arm assembly is partially assembled with the mounted roller bearings. The latch is not installed at this time.
As shown in fig. 134 and 135, thesecond end 103 of theouter arm 120 has been investment cast and thelatch seat 214 has been stamped flat.
The outer arm will then be placed on the fixture at a 3-point so that it is supported under the arm, directly under the pivot holes on both sides of the arm. The outer arm will then be located in the middle of the mating surface of the latch by rotating the keeper, giving a 3-point setting. The outer arm will thus be located directly above these points by rotating the angle clamp so as not to deform the component.
The pivot hole will now be machined. Next, the outer arm will be heat treated. The pivot hole will now be polished.
The pivot hole is ground after this. The components are mounted on a fixture with a pin passing through the pivot hole of theouter arm 120 and a datum hole located on the fixture. Theouter arm 120 will also rest on a rotating corner post directly below the stamped latch pad surface, again giving a 3 point position and eliminating part deformation. At the same time the stop rod will be machined to the appropriate height on the fixture and parallel to the pivot hole axis. The outer arm will now be located over the pivot hole and stop lever to complete the final grinding of the slider pad. The two arms will now be assembled. The spring is mounted on the inner arm spring post and then the two arms are assembled and the pivot pin is mounted.
Fig. 134 shows the partially assembled switchingrocker arm assembly 100 as viewed from itssecond end 103. The figure shows the underside up so that thelower cross arm 439 can be seen. Inner arm assembly 622 (also shown in fig. 44 and 45) is suspended downwardly. This shows a latch hole 240 (which is also shown in fig. 19, 33).
End 103 ofouter arm 120 also shows latch stop 90 (fig. 15 shows another view of latch stop 15). As noted above, the prior art method of machining the latch seat is only performed on theouter arm 120 and is measured independently of the other components and not as an assembly. Since theouter arm 120 is machined independently, connections to other components are not considered during the measurement. In the method and apparatus of the present invention, the assembled or partially assembled switchingrocker arm assembly 100 is interactively processed and measured. Thus, the latch from the assembly is measured, rather than the latch from a single component. Fig. 135 shows a perspective view of the switching rocker arm assembly with thelatch lever 199 inserted into and protruding from thelatch hole 240. Thelatch lever 199 is made of a material that is harder than the material from which thelatch base 214 is made. The switchingrocker arm assembly 100 is in a locked position where the latch pin (here, the latch lever 199) extends out and abuts thelatch seat 214.
Fig. 136 shows amanufacturing fixture 310 directed to the complete manufacture of the switchingrocker arm assembly 100. Specifically, it will serve to retain the switchingrocker arm assembly 100 when forming the indentation or recess in thelatch seat 214 of fig. 134, 135.
The switchingrocker arm assembly 100 is now placed on the fixture shown in fig. 136, which has a post for simulating a ball plunger and a post for simulating a valve tip. Themanufacturing fixture 310 shown in this embodiment is a three-point mount. The fixture has asupport bracket 311 that is sized and shaped to support a latch pin or similar shaped structure when the switching rocker arm assembly is installed on themanufacturing fixture 310. Avalve stem 315 is provided for supporting a first end (101 of fig. 15) of the switching rocker arm assembly and avalve stem 313 is provided for supporting a second end (103 of fig. 15) of the switching rocker arm assembly.
The inner arm will rest on theball plunger 315 and be guided from one side to the other by the valve tip post. Thelatch lever 199 is sized to be snugly slid into thelatch aperture 240 and then into theinner arm 122. Thelatch lever 199 will extend from the inner arm 122 (e.g., by about 10 mm). Thelatch bar 199 will thus rest on the planarcarbide support shelf 311 located on themanufacturing fixture 310. At this point, therocker arm assembly 100 is supported by theball plunger 315 and thelatch lever 199 seated on thesupport bracket 311, as shown in FIG. 137.
Therocker arm assembly 100 is controlled on both sides by aball plunger post 315 and avalve tip post 313. The load is now applied to theouter arm 120 by a press 317 (which may be a hydraulic, screw-on or other form of controlled power press) located directly above the latching surface and on top of theouter arm 120. The load will increase until the correct latch clearance is reached. Thelatch seat 214 of theouter arm 120 now has a precisely stamped recess in the surface that mates exactly with the latch pin (200 in fig. 8, 9).
Fig. 138 is an unassembled view of the treatedouter arm 120 showing thelatch seat 214. By forming the recess, the latch pin (200 in fig. 8, 9) no longer has a point contact and thelatch seat 214 will have a contact stress level low enough to operate without failure. Since the latch seat is formed with the switchingrocker arm assembly 100 almost fully assembled, it should be appreciated that the switchingrocker arm assembly 100 need only have a latch pin inserted to complete the assembly process. An indentation is then formed in thelatch seat 214. The unassembled view of the outer arm in fig. 137 is provided only to show the indentations made in thelatch seat 214.
The following are examples of steps for performing the method.
1. Alatch seat 214 with a mating surface ground to a flat surface.
2. A load is applied by theouter arm 120 to a latch lever 199 (which is preferably a carbide pin) that simulates a latch pin that is positioned in a latch bore 240 of theinner rocker arm 122 to punch, cut or form an indentation in the latch seat 214 (the carbide pin/lever may also be made of any material suitable for the punching/cutting process).
3. This requires themanufacturing fixture 310 to hold the assembly under a pressure.
4. The load is increased until a desired deformation or chord depth for a desired clearance is formed in thelatch seat 214.
5. The trace through theouter arm 120 is measured at each incremental load and trace data is recorded and saved.
6. The trace should be taken at the innermost edge and middle pad area with each load.
7. Theinner arm 122 is reassembled with the standardcircular latch assembly 200.
8. The cam clearance and the clearance are measured to verify that the assembly meets specifications.
4.6DVVL component gap management
A method of managing three or more lash values or design clearances for the DVVL switchingrocker arm assembly 100 shown in fig. 4 is described. The method may include a range of manufacturing tolerances, wear tolerances, and design profiles for the cam lobe/rocker arm contact surfaces.
DVVL component gap specification
The examplerocker arm assembly 100 shown in fig. 4 has one or more lash values that must be maintained at one or more locations in the assembly. The three-lobe cam 102 illustrated in FIG. 4 includes three cam lobes, a first high-lift lobe 104, a second high-lift lobe 106, and a low-lift lobe 108. The cam lobes 104, 106, 108 have profiles that include base circles 605, 607, 609, respectively, which are shown as being generally circular and concentric with the camshaft.
The switchingrocker arm 100 shown in fig. 4 is designed to have a small clearance in two positions. The first position, shown in fig. 43, is thelatch gap 602, which is the distance between thelatch pad surface 214 and thearm engagement surface 213. Thelatch clearance 602 ensures that thelatch 200 is unloaded and free to move when switching between high-lift and low-lift modes. As shown in fig. 4, 27, 43, and 49, a second example of a lash is the distance between thefirst slider 130 and the first high-lift camlobe base circle 605, which is indicated as camshaft lash 610. Thecamshaft clearance 610 eliminates contact and associated frictional losses between thesliders 130, 132 and their respective high-lift cam lobe base circles 605, 607 when theroller bearing 128, as shown in FIG. 49, contacts the low-liftcam base circle 609 during low-lift operation.
In low lift mode,camshaft clearance 610 also prevents the force of torsion springs 134, 136 from being transmitted to the DFHLA110 duringbase circle 609 operation. This allows the DFHLA110 to function like a standard rocker arm assembly with normal hydraulic lash compensation, where the lash compensation portion of the DFHLA is provided directly from the engine oil pressure gallery. This action is facilitated byrotational stops 621, 623 within the switchingrocker arm assembly 100 that prevent theouter arm 120 from rotating far enough due to the force of the torsion springs 134, 136 contacting thehigh lift lobes 104, 106, as shown in fig. 47.
As shown in fig. 43 and 48, the total mechanical clearance is the sum of thecamshaft clearance 610 and thelatch clearance 602. This sum affects the valve action. The high lift camshaft profile includes opening and closing ramps 661 to compensate for the totalmechanical clearance 612. Minimal variation in the overallmechanical clearance 612 is important to maintain performance goals throughout the life of the engine. The gap is maintained in a specified range and the error of the totalmechanical gap 612 is tightly controlled in production. Since component wear involves variations in the overall mechanical clearance, a low degree of component wear is allowed over the life of the mechanism. A large amount of durability indicates that the wear margin through the distribution and the total mechanical clearance is still within certain limits until the end of the test.
Referring to the graph shown in FIG. 48, the gap in millimeters is on the vertical axis and the camshaft angle in millimeters is on the horizontal axis. The linear portion 661 of thevalve lift profile 660 shows a constant change in distance in millimeters for a given camshaft angle change and shows a region where the closing speed between the contact surfaces is constant. For example, in the linear portion 661 of thevalve lift profile 660, the closing distance between thefirst slider 130 and the first high-lift lobe 104 (FIG. 43) represents a constant speed when the rocker arm assembly 100 (FIG. 4) switches from the low-lift mode to the high-lift mode. The use of the constant velocity region reduces the impact load due to acceleration.
As shown in fig. 48, no valve lift occurs in the no-lift portion 661 of thevalve lift profile 660 during constant speed. If the total clearance is reduced or tightly controlled by improving the system design, manufacturing, or assembly process, the time requirement for the linear velocity portion of the valve lift profile is reduced, which provides engine management advantages, such as allowing for earlier valve opening or consistent valve operation between engines.
As shown in fig. 43, 47, and 48, variations in the design and assembly of individual components or subassemblies can produce a matrix of clearance values that meet the shift timing specifications and reduce the constant speed shift region required as previously described. For example, onelatch pin 200 self-alignment embodiment may include features that require aminimum latch gap 602 of 10 microns to function. Theimproved latch 200 configured without the self-aligning feature may be designed to require alatch gap 602 of 5 microns. This design change reduces the total clearance by 5 microns and reduces the no-lift 661 portion required for thevalve lift profile 660.
The latch lash 602 and camshaft lash 610 shown in fig. 43 may be described in a similar manner for any design changes to the switchingrocker arm assembly 100 of fig. 4 that use other means of contacting thetri-lobe cam 102. In one embodiment, a slider like 130 is used in place of the roller bearing 128 (fig. 15 and 27). In the second embodiment, rollers similar to 128 are used in place of theslider 130 and theslider 132. Still other embodiments have a combination of rollers and sliders.
Gap management, testing
As described in the following paragraphs, the design and manufacturing method for managing clearances is tested and verified for a range of expected operating environments to simulate normal operation and operation on behalf of high stress environments.
The durability of DVVL switching rocker arms was evaluated by sustained performance (e.g., proper opening and closing of the valves) in conjunction with wear testing. Wear was evaluated by quantifying the loss of material, particularly DLC coating, on DVVL switching rocker arms and the relative amount of mechanical play in the system. As described above, the latch gap 602 (fig. 43) is necessary to allow the latch pin to move between the inner and outer arms to enable high and low lift operation when commanded by the engine Electronic Control Unit (ECU). An increase in lash for any reason on the DVVL switching rocker decreases the effective no-lift ramp 661 (fig. 48), resulting in high valve train acceleration. Wear specifications with respect to mechanical clearances are set to allow the build components to be constrained to maintain the required dynamic performance late in life.
For example, as shown in fig. 43, wear between contacting surfaces in the rocker arm assembly can change the latch lash 602, the camshaft lash 610, and the resulting total lash. The wear affecting these various values can be described as follows: 1) the wear of the interface between the roller bearing 128 (fig. 15) and the cam lobe 108 (fig. 4) reduces the total clearance, 2) the wear of the sliding interface between thesliders 130, 132 (fig. 15) and thecam lobes 104, 106 (fig. 4) increases the total clearance, 3) the wear between thelatch 200 and thelatch pad surface 214 increases the total clearance. Since bearing interface wear reduces overall lash while latch and slider interface wear increases overall lash, overall wear results in a minimized net overall lash change over the life of the rocker arm assembly.
4.7DVVL Module dynamics
The inertia, weight distribution, and stiffness of conventional rocker arms have been optimized for a particular range of operating speeds and forces involving dynamic stability during operation, valve tip loading, and valve spring compression. The example switchingrocker arm 100 shown in fig. 4 has the same design requirements as a conventional rocker arm, with additional limitations imposed by the added mass and switching functionality of the assembly. Other factors must also be considered, including impact loading due to mode switching errors and subassembly functionality requirements. Designs that reduce mass and inertia but are not effective in maintaining structural rigidity and material distribution required to resist stresses in critical areas result in components that deviate from specification or become overstressed, both of which are conditions that result in poor switching performance and premature component failure. The DVVLrocker arm assembly 100 shown in fig. 4 must stabilize at 3500rpm in the low lift mode and at 7300rpm in the high lift mode to meet performance requirements.
As shown in fig. 4, 15, 19 and 27, DVVLrocker arm assembly 100 strength was evaluated in both low-lift and high-lift modes. In the low lift mode, theinner arm 122 transmits a force to open thevalve 112. The engine packaging space margins and functional parameters of theinner arm 112 do not require highly optimized structures because the inner arm stiffness is greater than that of a fixed rocker arm in the same application. In the high-lift mode, theouter arm 120 works with theinner arm 122 to transfer force to open thevalve 112. Finite Element Analysis (FEA) techniques show that theouter arm 120 is the most compliant component, as shown by way of example in fig. 50 for the largest region ofvertical deviation 670. The mass distribution and stiffness optimization for this component focuses on increasing the height of the vertical section of theouter arm 120 between theslides 130, 132 and thelatch 200. The design constraint of the upper profile of theouter arm 120 is based on the clearance between theouter arm 120 and the scan profile of thehigh lift lobes 104, 106. The lower line design limit of theouter arm 120 is based on clearance to thevalve spring retainer 116 in the low lift mode. Optimizing material distribution constraints within the design reduces vertical deflection and increases stiffness, in one embodiment, greater than 33% of the original design.
As shown in fig. 15 and 52, DVVLrocker arm assembly 100 is designed to minimize inertia by biasing the mass of the assembly as far as possible towardside 101 as it pivots about the ballplunger contact point 611 ofDFHLA 110. This results in two relatively large mass assemblies being provided, thepivot shaft 118 and torsion springs 134, 136 being located near theside 101 of theDFHLA 110. With thepivot shaft 118 in this position, thelatch 200 is located at thedistal end 103 of the DVVLrocker arm assembly 100.
Fig. 55 is a graph comparing DVVLrocker arm assembly 100 stiffness and other standard rocker arms in a higher lift mode. DVVLrocker arm assembly 100 has a lower stiffness than a fixed rocker arm for the present application; however, its stiffness is within the present range of rocker arms used in similar valvetrain configurations produced today. The inertia of the DVVLrocker arm assembly 100 is approximately twice that of a fixed rocker arm, however, its inertia is only slightly higher than the median value of rocker arms used in similar valvetrain settings produced today. The total effective mass of the intake valvetrain, including the multiple DVVLrocker arm assembly 100, is 28% greater than the fixed intake valvetrain. These stiffness, mass and inertia values require optimization of each component and subassembly to ensure minimum inertia and maximum stiffness while meeting operational design criteria.
4.7.1 dynamic details of DVVL Components
The major components of therocker arm assembly 100, including the total inertia, are shown in fig. 53. These are theinner arm assembly 622,outer arm 120 and torsion springs 134, 136. As such, the functional requirements of theinner arm assembly 622, such as its hydraulic fluid transfer path and its latch-pin mechanism housing, require a stiffer structure than the fixed rocker arm for the same application. In the following description,inner arm assembly 622 is considered a single component.
Referring to fig. 51-53, fig. 51 illustrates a top view of therocker arm assembly 100 of fig. 4. Fig. 52 is a cross-sectional view taken along line 52-52 of fig. 51, illustrating the load contact point of therocker arm assembly 100. The rotating triple-lobed cam 102 distributes thecam load 616 to theroller bearings 128 or-depending on the operating mode-to theslides 130, 132. The ball plungerend 601 and thevalve stem head 613 provide opposing forces.
In low lift mode, theinner arm assembly 622 transfers thecam load 616 to thevalve tip 613, compressing the spring 114 (fig. 4) and opening thevalve 112. In the high-lift mode, theouter arm 120 and theinner arm assembly 622 are latched together. In this case, theouter arm 120 transmits thecam load 616 to thevalve tip 613, compressing thespring 114, and opening thevalve 112.
Referring now to fig. 4 and 52, the total inertia of therocker arm 100 is determined by the sum of the inertias of its major components and is calculated as they rotate about the ballplunger contact point 611. In the examplerocker arm assembly 100, the primary components may be defined as the torsion springs 134, 136, theinner arm assembly 622, and theouter arm 120. As the total inertia increases, the dynamic load on thevalve tip 613 increases and the system dynamic stability decreases. To minimize valve tip loading and maximize dynamic stability, the mass of allrocker arm assemblies 100 is biased toward the ballplunger contact point 611. The amount of mass that can be biased is defined by the required strength that therocker arm assembly 100 needs for a givencam load 616,valve pin head 614, andball plunger load 615.
Referring now to fig. 4 and 52, the stiffness of therocker arm assembly 100 is determined by the combined stiffness of theinner arm assembly 622 and theouter arm 120 when they are in either the high-lift or low-lift states. The stiffness value for any given location on therocker arm assembly 100 may be calculated and visualized using Finite Element Analysis (FEA) or other analytical methods, characterized by a graph of stiffness versus position along themeasurement axis 618. In a similar manner, the stiffness ofouter arm 120 andinner arm assembly 622 may be calculated and visualized, respectively, using Finite Element Analysis (FEA) or other analytical methods. Theexample depiction 106 shows the results of these analyses of a series of characteristic graphs of stiffness versus position along themeasurement axis 618. As previously described, FIG. 50 shows a graph of the maximum deflection of theouter arm 120.
Referring now to fig. 52 and 56, the pressure and deflection for any given area on therocker arm assembly 100 may be calculated using Finite Element Analysis (FEA) or other analytical methods and is characterized by a graph of pressure and deflection for a givencam load 616,valve tip 614, andball plunger load 615 versus position along themeasurement axis 618. In a similar manner, the pressure and deflection ofouter arm 120 andinner arm assembly 622, respectively, may be calculated using Finite Element Analysis (FEA) or other analytical methods. The exemplary depiction in fig. 56 shows a series of characteristic graph analysis results of pressure and deflection versus position along themeasurement axis 618 for a givencam load 616,valve tip 614, andball plunger load 615.
4.7.2DVVL Module dynamic analysis
For pressure and deflection analysis, the load case is described in terms of load position and magnitude as shown in fig. 52. For example, in the latchrocker arm assembly 100 in the high-lift mode, thecam load 616 is applied to thesliders 130, 132. Thecam load 616 is reacted by thevalve tip load 614 and theball plunger load 615. Thefirst distance 632 is the distance measured along themeasurement axis 618 between thevalve tip load 614 and theball plunger load 615. Thesecond distance 634 is the distance measured along themeasurement axis 618 between thevalve tip load 614 and thecamshaft load 616. The load ratio is thesecond distance 634 divided by thefirst distance 632. For dynamic analysis, a number of values and operating conditions are considered for analysis and possible optimization. These may include a three-lobe camshaft interface parameter, a torsion spring parameter, a total mechanical lash, inertia, a valve spring parameter, and a DFHLA parameter.
The design parameters for evaluation may be described as:
Figure BDA0001828858900000621
Figure BDA0001828858900000631
referring now to fig. 4, 51, 52, 53 and 54, a general design method is described based on a given set of design parameters.
1. In step one 350, thecomponents 622, 120, 134, and 136 are arranged along the measurement axis to bias the mass toward the ballplunger contact point 611. For example, torsion springs 134, 136 may be located 2mm to the left of the ball plunger contact point andinner arm assembly 622pivot shaft 118 may be located 5mm to the right. Theouter arm 120 may be placed in alignment with thepivot axis 118 as shown in fig. 53.
2. Instep 351, for a given component arrangement, the total inertia is calculated for therocker arm assembly 100.
3. Instep 352, the functionality of the component arrangement is evaluated. For example, it is believed that the torsion springs 134, 136 may provide the desired stiffness in their particular position to maintain thesliders 130, 132 in contact with thecam 102 without increasing mass. In another embodiment, the component arrangement must be determined to fit within the package size limitations.
4. Instep 353, the results ofsteps 351 and 352 are evaluated. If the minimum requirements forvalve tip load 614 and dynamic stability at the selected engine speed are not met, the component placement is iterated and analyzed again insteps 351 and 352. When the minimum requirements forvalve tip load 614 and dynamic stability at the selected engine speed are met, deflection and stress are calculated for therocker arm assembly 100.
5. Instep 354, the stress and the offset are calculated.
6. Instep 356, the bias and stress are evaluated. If the minimum requirements for deflection and stress are not met, then proceed to step 355 and the part design is refined. When the design iteration is complete, return to step 353 and re-evaluate thevalve tip load 614 and dynamic stability. When the minimum requirements forvalve tip load 614 and dynamic stability at the selected engine speed are met, bias and stress are calculated instep 354.
7. Referring to FIG. 55, when the conditions of stress, deflection, and dynamic stability are met, the result is apossible design 357. The analysis results may illustrate possible design settings in a graph of stiffness versus inertia. This illustration provides a range of acceptable values as indicated byarea 360. Figure 57 shows three independent acceptable designs. By extension, the acceptable inertia/stiffness region 360 also limits the characteristics of the individualprimary components 120, 622 and torsion springs 134, 136.
Referring now to fig. 4, 52, 55, as described above, a successful design is achieved if each of the major components of therocker arm assembly 100, including theouter arm 120, theinner arm assembly 622, and the torsion springs 134, 136, all meet certain design criteria for inertia, pressure, and deflection. Successful designs produce unique characteristic data for each major component.
For purposes of illustration, three functional DVVLrocker arm assemblies 100 are selected, which are shown in fig. 57 and meet certain stiffness/inertia criteria. These assemblies each include three main components: torsion springs 134, 136,outer arm 120 andinner arm assembly 622. For this analysis, as described in the example of fig. 58, the range of possible inertia values for each major component may be described as:
A torsion spring set, wherein the inertia is a; a torsion spring set, wherein the inertia is B; and a torsion spring set, wherein the inertia is C.
The range of the torsion spring set inertia calculated around the ball end plug top (also indicated by X in fig. 59) is limited by the range defined by values A, B and C.
An outer arm, designed one, with inertia equal to D; the outer arm is designed to be two, and the inertia is E; and the outer arm is designed to have three, wherein the inertia is F.
The outer arm inertia range calculated around the ball end plug top (also indicated by X in fig. 59) is limited by the range defined by the values D, E and F.
An inner arm assembly, designed one, with inertia X; an inner arm assembly, the inertia of which is Y; and an inner arm assembly, wherein the design is three, and the inertia is Z.
The range of inner arm assembly inertia calculated around the ball end plug top (also indicated by X in fig. 59) is limited by the range defined by the values X, Y and Z.
This range of component inertia values then results in a unique arrangement of the major components (torsion spring, inner arm assembly and outer arm). For example, in this design, the torsion spring tends to be very close to the ball end plug top 611.
Referring to fig. 57-61, the inertia calculations for individual components are closely related to the load requirements in the assembly, as the desire to minimize inertia requires mass distribution optimization in the components to manage stresses in critical areas. For each of the three successful designs described above, the range of values for stiffness and mass distribution can be described as follows:
Forouter arm 120 design one, the mass distribution can be plotted against the distance along the part from end a to end B. In the same manner, the mass distribution values forouter arm 120 design two andouter arm 120 design three may also be plotted.
The region between the two extreme mass distribution curves in this assembly can be defined as the range of eigenvalues of theouter arm 120.
Forouter arm 120 design one, the stiffness distribution can be plotted against the distance along the part from end a to end B. In the same manner, the stiffness values forouter arm 120 design two andouter arm 120 design three may also be plotted.
The region between the two extreme stiffness profiles in this assembly can be defined as the range of characteristic values of theouter arm 120.
The stiffness and mass distribution of theouter arm 120 along the axis and related to its motion and orientation during operation describes the characteristic values and, by extension, the characteristic shape.
5. Design verification
5.1 latch response
The latch response time of the example DVVL system was verified using the latchresponse test station 900 shown in fig. 62 to ensure that the rocker arm assembly switched within the aforementioned prescribed mechanical switching window described in fig. 26. Response times were recorded for oil temperatures ranging from 10 ℃ to 120 ℃ to affect changes in oil viscosity.
The latchresponse test station 900 utilizes production specific hardware including OCV, DFHLA, andDVVL switching rockers 100. To simulate engine oil conditions, the oil temperature is controlled by an external heating or cooling system. Oil pressure is supplied by an external pump and controlled using a regulator. The oil temperature is measured in the control passage between the OCV and DFHLA. Latch movement is measured usingdisplacement sensor 901.
Latch response time is measured using a variety of production specific SRFFs. The test was carried out using 5w-20 w of motor oil. Response times are recorded when switching from low lift mode to high lift mode and from high lift mode to low lift mode.
FIG. 21 details the latch response time when switching from low lift mode to high lift mode. The maximum response time at 20 ℃ was measured to be less than 10 milliseconds. FIG. 22 details the mechanical response time when switching from high lift mode to low lift mode. The maximum response time at 20 ℃ was measured to be less than 10 milliseconds.
Conclusions from the switching studies show that the switching time of the latch is the primary function of the oil temperature due to changes in the oil viscosity. The slope of the latch response curve resembles the viscosity versus temperature relationship of the oil.
The switching response conclusion shows that latch movement is fast enough for one camshaft rotation mode switching within 3500 engine rpm. The response time begins to increase significantly when the temperature drops below 20 ℃. At temperatures of 10 ℃ and below, switching in one camshaft revolution is not possible without reducing 3500rpm switching requirements.
SRFFs are designed to be robust to both the high and low lift modes shown in Table 1 at high engine speeds. The high lift mode may operate within 7300rpm and have a "break" speed requirement of 7500 rpm. Rupture is defined as a short stroke for higher engine speeds. In high lift mode SRFFs are normally latched so that high lift mode does not rely on oil temperature. The low lift operating mode focuses on fuel economy during component load operation within 3500rpm, with speed demands in excess of 5000rpm in addition to 7500rpm "break" speed. As tested, the system may hydraulically unlock SRFFs for oil temperatures at 200 ℃ or above. The test was performed down to 10 ℃ to ensure operation at 20 ℃. Durability results show that the design is robust to engine speed, lift mode, and oil temperature for the entire operating range.
TABLE 1
Figure BDA0001828858900000671
SRFF design, modification and validation to achieve early intake valve closing and based on DVVL systems was done for model II valvetrains. This DVVL system improves fuel economy by operating in two modes without compromising performance. In the low lift mode, pumping cycling losses are reduced by closing the intake valve in advance, while performance is maintained in the high lift mode by using a standard intake valve profile. The system preserves the geometry of conventional model II intake and exhaust valvetrains for use in an in-line four cylinder gasoline engine. Implementation costs are minimized by using conventional components and standard chain drive systems. The use of model II SRFF based systems in this manner allows the application of such hardware to a variety of engine families.
Such DVVL systems, which are mounted on the intake valvetrain, meet key performance goals for mode switching and dynamic stability in both high-lift and low-lift modes. The switching response time allows mode switching at oil temperatures above 20 ℃ and engine speeds within 3500rpm within one cam revolution. Optimization of SRFF stiffness and inertia, combined with appropriate valve lift profile design, allows the system to dynamically stabilize to 3500rpm in low lift mode and to 7300rpm in high lift mode. Validation testing done on production specific hardware shows that the DVVL system exceeds the endurance target. Accelerated system aging tests were used to demonstrate durability beyond the target life.
5.2 durability
Cars need to meet 150000 mile emissions life requirements. This study sets a more stringent objective of 200000 miles to ensure that the product is robust beyond legal requirements.
The valve train end of life test requirements are 200000 mile targets. This mileage target must be translated into valve actuation to define valvetrain durability requirements. To determine the number of valve events, it must be assumed that the average vehicle speed and the average engine speed exceed the vehicle life. For this embodiment, an average vehicle speed of 40 miles per hour and an average engine speed of 2200rpm may be selected for the car. The camshaft speed was run at half engine speed and the valves were actuated once per camshaft revolution, resulting in a test requiring 3.3 billion valve events. The tests were built on a starter motor and a non-starter device. Rather than running a 5000 hour start engine test, most of the test and reported results were focused on the non-starting device shown in FIG. 63 to perform a test that must satisfy 3.3 hundred million valve events. Comparing the results of the start and non-start tests, the results correspond well to valve train wear results, providing confidence for non-start device life tests.
5.2.1 accelerated aging
Prior to running the engine test, an accelerated test is required to show compliance with multiple engine lives. Therefore, the device test is performed before the start test. The higher speed test is designed to accelerate the valve train wear so that it can be completed in less time. The correlation of the test was established such that the multiplied average engine speed relative to the usage speed produced results in approximately one quarter of the time and was substantially equal to the valvetrain wear value. Valve train wear therefore follows strictly the following equation:
Figure BDA0001828858900000681
wherein, VEAccelIs a valve event requested during accelerated aging tests, VEin-useIs the valve event, RPM, required in the normal use testavg-testIs the average engine speed, RPM, used for the acceleration testavg-inuseIs the average engine speed for the usage test.
A patented high speed durability test cycle was developed having an average engine speed of about 5000 rpm. Each cycle has a high speed phase in the high lift mode of about 60 minutes followed by a low speed phase in the low lift mode for about another 10 minutes. This cycle was repeated 430 times to complete 7200 trillion valve events at an accelerated wear rate, which equates to 3.3 hundred million events at standard load levels. Standard valve train products including pins and roller bearings have been used successfully in the automotive industry for many years. The test cycle focused on DLC coated sliders with about 97% of the valve lift events in high lift mode on the slider, leaving 200 million cycles on the low lift roller bearing, as shown in table 2. These test conditions consider a valve train life equal to 430 accelerated test cycles. Tests have shown that SRFF is robust over six engine useful lives, ignoring wear and clearance variations.
Table 2: durability test, valve event and target
Figure BDA0001828858900000691
Accelerated system aging tests are key to show durability, while tests for some special functions can be done to show robustness in various operating conditions.
Table 2 includes the main endurance tests combined with the purpose of each test. The accelerated system aging test described above shows about 500 hours or about 430 test cycles. The switching test was run for approximately 500 hours to evaluate latch and torsion spring wear. Likewise, critical transfer testing is also performed to further age the component from rough and abusive switching of the outer arm of the partial latch so that it can slide into low lift mode during high lift events. A critical transition test configuration was performed to demonstrate robustness under extreme conditions resulting from improper vehicle maintenance. This critical transition test is difficult to achieve in test trials and requires precise oil pressure control to partially latch the outer arm. This operation is not desirable because the oil pressure control is controlled outside the window. Multiple idle tests were performed in conjunction with cold start operation to accelerate wear due to low oil lubrication. The oil test used was also carried out at high speed. Finally, the bearings and torsion springs were tested to ensure part durability. All tests met the engine life requirement of 200000 miles, which is higher than the 150000 mile car life requirement in terms of safety.
All durability tests were performed at a specific oil fill level. Most tests have oil fill ratings ranging between about 15% to 20% Total Gas Content (TGC) common to passenger car applications. This content varies with engine speed and the grade is quantified as engine speed from idle to 7500 rpm. An excess oil fill test was also performed, which had an oil fill rating of 26% TGC. These tests are performed with SRFFs, which meet the test for dynamic and switching performance. A detailed description of the dynamic performance test is illustrated in the conclusion section. The oil fill level and the expansion level are performed to show product robustness.
5.2.2 durability testing device
The durability test stand shown in fig. 63 includes a prototype 2.5L four-cylinder engine driven by an electric motor with an additional engine oiltemperature control system 905. The camshaft position is monitored by anencoder 902 external to the precision encoder 802S driven by the camshaft. The angular speed of the camshaft is measured using a digital magnetoelectric revolution speed sensor (model Honeywell584) 904. Oil pressure in the control and hydraulic passages was monitored using a Kulite XTL piezoelectric pressure sensor.
5.2.3 durability test device control
The control system of the clamp is configured to control engine speed, oil temperature, and valve lift state and verify that the desired lift function is achieved. Valve train performance was evaluated by measuring valve displacement using a non-invasive Bentley Nevada3300XL proximity probe 906. The proximity probe measures valve lift within 2mm with 1.5 times camshaft angular resolution. This provides the necessary information for closing speed and bounce analysis to confirm valve lift status and post processing of the data. The established test includes valve displacement tracking, which is recorded at idle speed to represent the baseline condition of SRFF and used to determine themaster profile 908 shown in fig. 64.
Fig. 17 shows a system diagnostic window representing one switching cycle for diagnosing valve closing displacement. The OCV is controlled by a control system that causes the OCV armature to move as shown by the OCVcurrent trajectory 881. A pressure increase downstream of the OCV in the oil control passage, as shown bypressure curve 880; thus, actuating the latch pin results in a state change from high lift to low lift.
FIG. 64 shows the relationship of thevalve closure tolerance 909 to the experimentally determinedmain profile 908. Theproximity probe 906 used is calibrated to measure the last 2mm of lift, with the last 1.2mm of lift shown on the vertical axis in fig. 64. A camshaft angular tolerance of 2.5 "is established around themain profile 908 to allow for variations in lift from valvetrain compression at high engine speeds to prevent mis-registered faults. A detection window is established to determine if the valvetrain system has an expected bias. For example, more aggressive than expected valve closure may result in earlier camshaft angle closure, resulting in valve bounce due to an undesirably fast rate. These anomalies can be detected around the inspection window and tolerances of the master profile.
5.2.4 durability test plan
Design failure modes and impact analysis are performed to determine SRFF failure modes. Similarly, the institutions are determined at the level of the systems and subsystems. This information is used to improve and evaluate the durability of the SRFF to different operating conditions. As shown in fig. 65, the test types are classified into four categories including: performance verification, subsystem testing, limit testing and accelerated system aging.
The critical test level for endurance is shown in fig. 65. The performance validation test shows the performance of the SRFF on the application requirements and is the first step in the durability validation. Subsystem tests evaluate specific functional and wear interfaces during the life cycle of the product. Limit testing subjects SRFFs to harsh user and operational limits. Finally, the accelerated aging test is a comprehensive test that comprehensively evaluates SRFF. The success of these tests demonstrates the durability of SRFF.
Performance verification
Fatigue & stiffness
SRFFs are subjected to cyclic loading tests to ensure fatigue life exceeds application loads with large design margins. Valvetrain performance depends largely on the stiffness of the system components. The stiffness of the rocker arm is measured to verify the design and ensure acceptable dynamic performance.
Valve train dynamics
The specifications and performance of valve train dynamic testing are described in the conclusion section. The test involves a strain gauge SRFF combined with measuring the valve closing speed.
Subsystem testing
Switching endurance
The switching endurance test evaluates the switching mechanism by cycling the SRFF between latched, unlatched, and back to latched states a total of 300 million times (fig. 24 and 25). The primary purpose of the test was to evaluate the latch mechanism. Additional durability information was obtained when considering torsion springs, since 50% of the test cycle was at low lift.
Torsion spring durability and fatigue
The torsion spring is an integral component of the switching roller finger follower. The torsion spring allows the outer arm to operate at idle while remaining in contact with the high-lift camshaft lobe. A torsion spring durability test was performed to evaluate the durability of the torsion spring under operating load. The torsion spring durability test was performed with a torsion spring installed in an SRFF. Torsion spring fatigue tests evaluate the fatigue life of torsion springs at high stress levels. Success is defined when the end-of-life torsion spring load loss is less than 15%.
Idle speed durability
Idle speed durability simulates extreme lubrication conditions resulting from low oil pressure and high oil temperature. The test was used to evaluate wear of the slider and bearings, valve stem head to valve tray, and seat to ball plunger. The lift state remained constant in either high or low lift throughout the test. The total mechanical clearance is measured at regular inspection intervals and is a primary measure of wear.
Limit test
Overspeed
The switching rocker arm failure mode includes loss of lift state control. SRFFs are designed to operate in low lift mode at a maximum camshaft speed of 3500 rpm. In the event of an undesirable failure leading to a low lift state, SRFF includes design protection for those higher speeds. The low lift fatigue life test was performed at 5000 rpm. The engine rupture test was performed at 7500rpm for the high lift state and the low lift state.
Durability of cold start
The cold start durability test evaluates the ability of a DLC to withstand 300 engine start cycles from an initial temperature of-30 ℃. Typically, cold climate engines that start at these temperatures include engine cylinder heaters. This extreme test was selected to show robustness and was repeated 300 times on a motorized engine jig. This test measures the ability of DLC coatings to withstand reduced lubrication caused by low temperatures.
Critical switching endurance
The SRFF is designed to switch on the base circle of the camshaft without the latch pin contacting the outer arm. In the event of improper OCV timing or below the minimum control gallery oil pressure required for full latch-pin travel, the latch pin may still move at the beginning of the next lift. Improper placement of the latch pin may result in partial engagement of the latch pin and the outer arm. During a partial engagement event of the latch pin and the outer arm, the outer arm may slip off of the latch pin causing an impact between the roller bearing and the low-lift cam lobe. Critical transition durability is a poor use test that creates conditions to quantify robustness and is undesirable over the life of the vehicle. The critical transition test subjects the SRFF to 5000 subcritical transition events.
Accelerated bearing durability
Accelerated bearing durability is a life test used to evaluate the life of a bearing completing a critical transition test. This test is used to determine whether the effect of the critical transition test shortens the life of the roller bearing. The test was run under increased radial load to reduce the time to completion. The new bearings were tested simultaneously to show the performance and wear of the test bearings subjected to critical transition testing. Vibration measurements are taken throughout the process and analyzed to detect the onset of bearing damage.
Oil test used
Accelerated system aging tests and idle speed durability test profiles were performed using an oil having an 20/19/16ISO rating. The oil is taken from the engine during the oil change cycle.
Accelerated system aging
Accelerated system aging tests were used to evaluate the overall durability of the rocker arm assembly, including the sliding interface between the camshaft and the SRFF, the latch mechanism, and the low lift bearing. The mechanical clearance is measured at regular inspection intervals and mainly the wear is measured. FIG. 66 shows a test scheme for evaluating SRFFs over an accelerated system burn-in test cycle. Mechanical gap measurements and FTIR measurements allowed studies of the overall health of the SRFF and DLC coatings, respectively. Finally, the components were disassembled in an effort to understand the source of any changes in the mechanical clearance from the start of the test.
FIG. 67 is a pie chart showing the relevant test times for the SRFF durability test, which includes a total of approximately 15700 hours. Accelerated system burn-in testing provides the most information per test hour, resulting in a 37% allocation of total test time due to the acceleration factor and combined load to the SRFFs in one test. Due to the long duration of each test, the idle speed durability (low speed, low lift and low speed, high lift) test accounted for 29% of the total test time. Switching endurance was tested for multiple lifetimes and occupied 9% of the total test time. Critical transition and cold start endurance tests require a significant amount of time due to the difficulty in achieving the thermal cycle time required for critical transition and cold start endurance. The quantification of the data is based on the total time required to perform these modes and not just the critical transition and cold start times themselves. The remaining subsystems and limit tests required 11% of the total test time.
Valve train dynamics
The valve train dynamic behavior determines the performance and durability of the engine. Dynamic performance is determined by evaluating the closing speed and the valve bounce as the valve returns to the seat. The strain gauges provide information on the engine speed envelope regarding system load versus camshaft angle. Strain gauges are applied to the inner and outer arms at locations of uniform pressure. Fig. 68 shows a strain gauge attached to a SRFF. The outer and inner arms are instrumented to measure strain to verify the amount of load on the SRFF.
Valve train dynamic testing was performed to evaluate the valve train performance capabilities. The tests were performed at normal and extreme mechanical clearance values. Normally, a speed sweep of 1000 and 7500rpm was performed, with 30 valve switching events recorded per engine speed. Dynamic data post-processing allows valve closing speed and valve bounce to be calculated. Strain gauges attached to the inner and outer arms of the SRFF indicate that the load on the rocker arm is sufficient to prevent separation between the valve train components or "pumping" of the HLA at all engine speeds. This pumping occurs when the HLA compensates for valve bounce or valve train deflection causing the valve to remain open on the camshaft base circle. The minimum, maximum and average closing speeds are shown to understand the distribution of the entire engine speed range. The high lift closing speed is shown in fig. 67. The closing speed for high lift meets design objectives. The range of values varies between minimum and maximum at about 250mm/s at 7500rpm while remaining safely within the target.
FIG. 69 shows closing speed for a low lift camshaft profile. Normal operation occurs within 3500rpm with the closing speed kept below 200mm/s, which is safely within design margins for low lift. The system is designed for an overspeed condition of 5000rpm in low lift mode, where the maximum closing speed is below the limit. The valve closing speed design objective meets both the high lift mode and the low lift mode.
Critical transition
The critical transition test is performed by holding the latch pin at the critical point of engagement with the outer arm as shown in figure 27. The latch partially engages the outer arm, which shows the timing of the disengagement of the outer arm from the latch pin to cause a momentary loss of control of the outer arm. The bearing of the inner arm impacts the low lift camshaft lobe. SRFFs are tested for a number that far exceeds the number of critical transitions that are expected in a vehicle to demonstrate the life span of SRFF robustness. The critical transition test evaluates the wear of the latch mechanism during latch release and bearing durability that affects from critical switching.
The critical transition test was performed using a motorized engine similar to that shown in fig. 63. The lash adjuster control passage adjusts the threshold pressure. The engine is run at a constant speed and the pressure is varied around a critical pressure to match the hysteresis of the system. The critical transition is defined as a valve drop greater than 1.0 mm. A typical SRFF valve drop height profile is shown in fig. 70. It should be noted that over 1000 critical transitions occurred below 1.0mm, and this list shows but does not count to test completion. Fig. 71 shows the distribution of the critical switching with respect to the camshaft angle. The maximum cumulative over maximum lift is generated immediately, with the remainder being substantially evenly distributed.
The latch mechanism and bearings were monitored for wear throughout the test. Typical wear of the outer arm (fig. 73) is compared to the new part (fig. 72). Once the required critical switching is complete, the rocker arm is checked for correct operation and the test is ended. The edge wear shown has no significant effect on the snap-lock function and the total mechanical clearance as most latch frames show negligible wear.
Sub-system
Subsystem tests evaluate the specific function and wear interface of an SRFF rocker arm. Switching durability the functionality and wear of the latching mechanism over the expected life of the SRFF was evaluated. Similarly, idle speed durability subjects the bearings and slider to worst case conditions including low lubrication and 130 ℃ oil temperature. The torsion spring durability test is completed by subjecting the torsion spring to approximately 2500 million cycles. The torsion spring load was measured throughout the test to measure degradation. Further consistency is achieved by extending the test to 1 hundred million cycles without exceeding a maximum design load loss of 15%. Fig. 74 shows the torsion spring load on the outer arm at the beginning and end of the test. After 1 hundred million cycles, there is little load loss of about 5% -10%, which is below the acceptable target of 15% and shows sufficient load for the outer arm to four engine lives.
Accelerated system aging
Accelerated system burn-in is a comprehensive endurance test that is a baseline for sustained performance. The test represents cumulative damage to extreme end users. The test cycles averaged about 5000rpm and had a constant speed and accelerated profile. The end of each cycle is as follows: 28% steady state, 15% low lift and cycle between high and low lift, the rest under acceleration conditions. The results of the test show that the change in clearance during the test of one life cycle accounts for 21% of the wear specification of the rocker arm. The accelerated system aging test included 8 SRFFs, extended over a standard life to determine the wear pattern of the SRFFs. Once the standard duration period has elapsed, the total mechanical clearance measurement is recorded every 100 test cycles.
The results of the accelerated system aging measurements are shown in fig. 75, showing that the wear gauge exceeds 3.6 times the life. The test continued and completed six lifetimes without failure. The extension test to multiple lifetimes shows a linear change in mechanical clearance over the initial damage period. The dynamic performance of the system degrades due to increased total mechanical lash, however, functional performance is still complete over six engine lives.
5.2.5 durability test results
Each test discussed in the test plan is performed and a summary of the results is given. The results of valve train dynamics, critical transition durability, torsion spring durability, and final accelerated system aging tests are shown.
SRFFs were subjected to accelerated aging tests in conjunction with special function tests to demonstrate robustness and are summarized in table 3.
Table 3: overview of durability
Figure BDA0001828858900000761
Durability is evaluated in terms of engine life amounting to 200000 miles, which provides a margin over the required 150000 mile requirement. The purpose of the project was to demonstrate that all tests showed at least one engine life. The primary durability test is an accelerated system aging test that exhibits a durability of at least six engine lives or 120 thousand miles. The test was also performed with the oil used and showed robustness over an engine life. The key operating mode is to switch operation between high and low lift. The switching durability test exhibits at least three times the engine life or 60 thousand miles. Likewise, the torsion spring is robust for at least four engine lives or 80 thousand miles. Other tests show at least one engine life for critical transitions, overspeed, cold start, bearing robustness, and idle conditions. The DLC coating is robust for all conditions, which shows minimal wear of the polishing, as shown in fig. 76. As a result, numerous tests have shown that SRFF is robust well, exceeding 200000 mile service life.
5.2.6 durability test conclusion
The DVVL system, including SRFF, DFHLA, and OCV, exhibits robustness over at least 20000 miles, with 200000 miles exceeding the safety margin required for 150000 miles. Durability testing has shown accelerated system aging for at least six times engine life or 120 thousand miles. The SRFF was also shown to be robust to use oil as well as aerated oil. The switching function of SRFF is robust to at least 3 engine life or 600000 mile displays. All subsystem tests showed that SRFF robustly exceeds one engine life of 200000 miles.
The critical transition test showed robustness to 5000 events or at least one engine life. This condition results in oil pressure conditions outside the normal operating range and causes a harsh event such as the outer arm slipping off the latch so that the SRFF goes to the inner arm. Even if the conditions are harsh, SRFF appears to be robust to such types of conditions. Such an event is unlikely to occur in a batch product. Test results show that SRFF is robust to these conditions in the case of critical switching.
SRFF proved robust to passenger car applications with engine speeds up to 7300rpm and burst speed conditions to 7500 rpm. The ignition engine test has a consistent wear condition with the non-ignition engine test described in this chapter. The DLC coating on the outer arm slider appears to be robust across the entire operating conditions. Accordingly, the SRFF design is suitable for four-cylinder passenger car applications with the goal of improving fuel economy by reducing engine pumping losses under part load engine operation. The technique may be extended to other applications including six cylinder engines. SRFF appears robust in some cases far beyond automotive requirements. Diesel engine applications may allow for additional improvements to address increased engine load, oil contamination, and engine life requirements.
5.3 slider/DLC coating wear
5.3.1 wear test plan
This section describes a test plan for studying wear characteristics and durability of DLC coatings on outer arm sliders. The goal is to establish the relationship between the design specifications and the process parameters and how each affects the durability of the slider interface. Three key factors in this slider interface are: camshaft lobes, sliders, and valvetrain loads. Each element has factors that need to be included in the test plan to determine the impact on DLC coating durability. The detailed description of each component is as follows:
camshaft-the width of the high-lift camshaft lobe is specified to ensure that the slider remains within the camshaft lobe during engine operation. This includes axial position changes due to thermal growth or dimensional changes due to manufacturing. As a result, the full width of the slider may contact the camshaft lobe without risk of the camshaft lobe becoming offset from the slider. The shape (profile) of the lobe adapted to the valve lift characteristics is also found in the improvement of the camshaft and SRFF. This makes it necessary to consider two factors relating to the durability of DLC coatings: the first is the lobe material and the second is the surface finish of the camshaft lobes. The test plan included testing cast iron and steel camshaft lobes on the lobes with different surface conditions. The first includes camshaft lobes prepared by a grinding operation (lapping). The second is to improve the surface finish condition of the lobes after the polishing operation (polishing).
The slider-slider profile is designed to meet specific requirements for valve lift and valve train dynamics. FIG. 77 is a graphical representation of the contact relationship between the sliders and the contacting pair of high-lift lobes on a SRFF. Due to the manufacturing variations desired, there is an angular alignment relationship in this contact surface, which is shown on an enlarged scale in fig. 77. The crowned surface reduces the risk of edge loading of the slider in view of various alignment conditions. However, crowned surfaces add complexity to manufacturing, and therefore the effect of crowned surfaces on coating interface performance is added to the test plan to determine its necessity.
Fig. 77 shows crowns on the camshaft surface as a method of selection. Hertzian stress calculations based on expected loads and crown changes were used for guidance in the test plan. The tolerance of alignment between the two blocks (including the angle) needs to be incorporated into the change prescription of the desired crown. The desired output of the test is a practical understanding of how to change the slider alignment angle that affects the DLC coating. The stress calculation is used to provide a target value for 0.2 degrees of misalignment. These calculations serve only as reference points. The test plan takes three values, including the angle between the sliders: less than 0.05 degree, 0.2 degree and 0.4 degree. Parts with angles below 0.05 degrees are considered flat and parts with 0.4 degrees represent twice the calculated reference point.
The second factor on the slider to be evaluated is the surface finish of the slider before the DLC coating. The process steps for the slider include a grinding operation to form the slider profile and a polishing step to form the surface for the DLC coating. Each step affects the final surface finish of the slider prior to application of the DLC coating. The test plan introduces the contributions of each step and provides the results to establish the process specifications for grinding and the final specifications for surface finish after the polishing step. The test plan uses surface finishes such as after grinding and polishing.
Valve train load-the last factor is the load of the slide operated by the valve train. The calculations provide a way to convert the valve train load to a stress level. Durability of the camshaft lobes and the DLC coating is based on the stress levels each experiences before failure. Camshaft lobe materials should be specified in the range of 800-100MPa (kinematic contact stress). This range takes into account standard design pressures. To accelerate the test, the stress levels in the test plan were set at 900-1000MPa and 1125-1250 MPa. These values represent the standard design stress of the upper half and 125% respectively.
The test plan includes six factors to demonstrate the durability of the DLC coating on the slider: (1) camshaft lobe material, (2) camshaft lobe shape, (3) camshaft lobe surface condition, (4) angular alignment of the slider to the camshaft lobe, (5) surface finish of the slider, and (6) stress applied to the coated slider by opening the valve. An overview of the elements and factors highlighted in this section is shown in table 1.
Table 1: test plan elements and factors
Figure BDA0001828858900000791
5.3.2 parts wear test results
The goal of the test was to determine the relative contribution of each factor to the durability of the slider DLC coating. The main part of the test configuration involves the minimization of two factors in the test plan. Theslide 752 shown in fig. 78 is attached to arocker arm bracket 753 on atest specimen 751. All configurations were tested at two stress levels to allow for relative comparison of each factor. The detection interval ranged from 20-50 hours at the beginning of the test and increased to 300-500 hour intervals when long observations were required. The test was paused when the samples had a loss of DLC coating or significant changes in the camshaft lobe surface. The test was performed under the influence of an acceleration factor with a pressure level higher than the application requirements. As a result, the engine life assessment is a conservative estimate and is used to demonstrate the relevant role of the test factors. It was described as sufficient that the sample completed a lifetime on the test stand. Samples exceeding three lifetimes without DLC loss were considered perfect. The test results are divided into two parts for ease of discussion. The first section discusses the results for cast iron camshafts, and the second examination results from steel camshafts.
Test results for cast iron camshaft
The first test used cast iron camshaft lobes and compared the slider surface finish and two angular alignment configurations. The results are shown in table 2 below. This table summarizes combinations of sliders including binding angles and surface conditions tested using cast iron camshafts. Each combination was tested at maximum design and 125% maximum design load conditions. The values listed represent the number of engine lives achieved for each combination during the test.
Table 2: cast iron test list and results
Figure BDA0001828858900000801
The tested camshafts all developed spalling (flaking) which caused the test to terminate. Most develop spalling before half the engine life. Spalling is more severe on higher load components and on components where the largest design load exists. Analysis shows that both loads exceed the capacity of the camshaft. Cast iron camshaft lobes are often used in applications with roller elements that include similar load levels; however, at this sliding interface, the materials are not a suitable choice.
The inspection interval was frequent enough to investigate the effect of surface finish on the durability of the coating. The samples of ground surface finish experienced DLC coating loss very early in the test. The coupon shown in fig. 79A depicts a typical sample of DLC coating loss early in the test.
Scanning Electron Microscope (SEM) analysis showed the cracking properties of the DLC coating. The metal surface below the DLC coating is not able to provide sufficient support for the coating. The coating is significantly harder than the metal to which it is bonded. Thus, if the base metal deforms significantly, the DLC may break as a result. The samples polished prior to coating performed well until the camshaft lobes began to crack. The best results for the test specimens on a flat, polished cast iron camshaft at maximum design load were 0.75 times the life.
Test results for Steel camshaft
The next set of tests used a steel lobe camshaft. The profile and results of the test combinations are listed in table 3. Camshaft lobes were tested in four different configurations: (1) the surface finish is ground and has flat lobes, (2) the surface finish is ground and has crowned lobes, (3) polished and has minimal crowned lobes and (4) polished and has nominal crowned lobes. The sliders on the coupons were polished before DLC coating and tested at three angles: (1) flat (angle less than 0.05 degree), (2)0.2 degree angle and (3)0.4 degree angle. The load of all camshafts is set to the maximum design or 125% maximum design level.
FIG. 3: steel camshaft test List and results
Figure BDA0001828858900000821
The test specimens incorporating the ground flat steel camshaft lobes and the 0.4 degree included angle specimens did not exceed a life at the 125% design load level. The sample test at maximum design pressure lasted one lifetime but the same effect on the coating. The 0.2 degree and flat samples performed better but not more than twice the life.
The test was then conducted on ground, flat steel camshaft lobes and 0.2 degree coupons including angle and flat coupons. The time requirement before observing the coating loss on the 0.2 degree sample is 1.6 times the lifetime. The flat samples run for a slightly longer time up to 1.8 times the life. The pattern of DLC loss on the flat sample is with a non-uniform maximum loss on the outside of the contact face. The loss of the coating on the outer side of the contact surface indicates that the stress applied by the slider is not uniform across its width. This phenomenon is known as "edge effect". A solution to reduce the stress on the edges of two aligned elements is to add a crowning profile to one of the elements. Applications using SRFF add crown profiles to the camshaft.
The next set of tests used a minimum of crown in combination with 0.4, 0.2 degree and flat polished sliders. This setting demonstrates the positive effect of adding a crown to the camshaft. The 0.4 degree sample increased from 0.75 to 1.3 times the life at 125% maximum load. There is a minor improvement from 1.8 up to 2.2 times the life for a flat part of the same load.
The final test set included specimens from all three angles and polished steel camshaft lobes machined with standard crown values. The most significant difference in these results is the interaction between the camshaft crown and the angular alignment of the slider to the camshaft lobe. The flat and 0.2 degree samples exceeded three times the life at both load levels. The 0.4 degree sample did not exceed twice the life. Fig. 79B shows a typical example of a specimen tested at maximum design load with a 0.2 degree included angle.
These results are confirmed as follows: (1) the standard value of the cam crown is effective in reducing the slider angular alignment to 0.2 degrees to flat; (2) stable at the maximum design load to be applied and 125% maximum design load, (3) the polished camshaft lobe contributes to the durability of the DLC coating when combined with slider polishing and camshaft lobe crown.
Each test result helps to better understand the effect of stress on the durability of DLC coatings. The results are illustrated in fig. 80.
Early tests using cast iron camshaft lobes did not exceed half the engine life in the sliding interface at design loads. The next improvement is in the form of recognizing "edge effects". Adding crowns to a polished camshaft lobe has a better understanding of acceptable angular alignment, improving coating durability by more than a factor of three. The results are to demonstrate the design margin between the observed test results and the maximum design stress used in each of the predicted engine lives.
The effect of surface finish on DLC coating durability is most reported in the transition from grinding to polishing coating samples. As shown in FIG. 81, the slider abradable coating test does not exceed one-third of the engine life. The improvement in the surface finish of the slider provides better load bearing capability of the substrate under the coating and increases the overall durability of the coated slider.
The results from the cast iron and steel camshaft tests provide the following: (1) specifications for angular alignment of the slider to the camshaft, (2) clear evidence that the angular alignment specifications are consistent with camshaft lobe crown specifications, (3) the DLC coating remains intact within specifications designed for camshaft lobe crown and slider alignment beyond maximum design load, (4) a polishing operation is required after slider grinding, (5) process specifications for the grinding operation, (6) specifications for the surface finish of the slider prior to coating and (7) polishing operation of the steel camshaft lobe contributes to the durability of the DLC coating on the slider.
5.4 slider manufacturing improvements
5.4.1 slider manufacturing improvement notes
The outer arm is cast using machining. Prototype parts machined from billet stock have established targets for angle change of the slide and surface finish before coating. Improvements in the product grinding and polishing processes were made simultaneously to the test and are depicted in fig. 82. The test results provide feedback and guidance for improvements in the manufacturing process of the outer arm slider. The parameters in the process are adjusted based on the results of the test and the new machined sample is then evaluated on the test fixture.
This paragraph describes the progression of the slider manufacturing process from the sample to the outer arm of the SRFL.
The first step was to develop a product grinding process to evaluate different machines. Test runs were set up on three different grinding machines. Each machine used the same ceramic Cubic Boron Nitride (CBN) grinding wheel and grinding wheel. CBN grinding wheels are chosen for their ability to (1) improve part-to-part consistency, (2) improve accuracy in applications requiring slight tolerances and (3) improve efficiency by creating more chips between grinding wheel cycles than alumina. Each machine grinds a set of specimens using the same feed rate and removes the same amount of material per pass. The fixture was set up to allow testing of continuous grinding. The test was performed on the coupon because the sample had been polished and tested on a rig. The method provides a fair way to evaluate grinders by keeping parameters like clamps, grinding wheels and grinding wheels constant.
Measurements were taken after each set of samples was collected. Angular measurements of the slider were obtained using aLeitz PPM 654 Coordinate Measuring Machine (CMM). Surface finish measurements were performed on aMahr LD 120 profilometer. Fig. 83 shows the result of slider angle control versus grinder equipment. The above line results are notable for the degradation of the coating properties. The target area shows that the part tested for this included angle has no difference in the life test. The goal was not met for two grinders used for the angle of the slide on the specimen. By comparison the third one performed very well. The test results from the drill-through confirm that the sliding interface is sensitive to angles above the target. The mill testing and testing discussed in connection with the previous paragraph facilitates the selection of manufacturing equipment.
FIG. 84 summarizes the results of surface finish measurements for the same samples when the included angle data is as shown in FIG. 83. Specifications for the surface finish of the slider are established with the results of these tests. Surface finish values above the limit line indicate reduced durability.
The same two grinders (a and B) also did not meet the surface finish target. The surface finish objective is based on the net change in surface finish of a given type of component during the polishing process. The test piece starting from the grinding process as an outlier remains an outlier after the polishing process. Therefore, it is important to control the surface finish in the grinding operation to be able to produce a slider that meets the final surface finish after polishing, before coating.
The measurements were reviewed for each machine. Both grinders a and B have variations in the form of each pad in the angle measurement. The result suggests that the grinding wheel moves vertically as it grinds the slide. The vertical grinding wheel movement in this type of grinding machine involves the entire stiffness of the machine. Machine stiffness can also affect the surface finish of the grinding component. The slider of the outer arm is ground to a specification identified by the stiffness identified by the grinder C required by the test fixture.
This experience has learned that grinding a sample grinds the outer arm of an SRFF using a modified jig. However, the outer arm has distinct challenges. The outer arm is designed to be rigid in the direction in which it is actuated by the camshaft lobe. The outer arm has no such rigidity in the slider width direction.
The grinding jig needs to (1) control each slide without biasing, (2) rigidly support each slide against the force applied by grinding and (3) reliably repeat the process in mass production.
The improvement of the outer arm clamp starts with a manual clamping block. Each revision of the clamp attempts to remove the bias from the damping mechanism and reduce the variation in the grinding surface. FIG. 85 depicts the result of a fixture design modification that holds the outer arm during a slider grinding operation.
The surface finish parameters for the critical SRFF outer arm slider specifications and the formation of tolerance set boundaries in the included angle are modified by a test plan set. The effect of grinding operation surface finish on producing a finished surface finish after polishing was studied and used to establish specifications for intermediate process standards. These parameters are used for build equipment and part fixture modifications to ensure coating performance at higher throughput.
5.4.2 slider manufacturing improvements
Conclusion
The DLC coating on the SRFF slider is built into a DVVL system comprising DFHLA and OCV components, which exhibits good robustness and durability beyond car life requirements. While DLC coatings have been used in a variety of industries, there are limited products for the automotive valve train market. This work identifies and quantifies the effect of surface finishing, stress levels of the DLC and the slider manufacturing process prior to application of the DLC coating. This technique has been shown to be suitable and satisfactory for continuous fabrication of SRFF sliders.
Surface finish is critical to maintaining the DLC coating on the slider throughout the life test. Test results show that early failure occurs when the surface finish is too rough. Conditions far beyond the level of surface finish required for life testing are emphasized herein. The method leaves the DLC intact on top of the chrome-nickel base layer so that the SRFF base metal is not exposed to contact the camshaft lobe material.
Stress levels on the DLC slider are also identified and documented. The test emphasizes the need for slider edge angle control. It is shown that adding crown shape to the camshaft lobes due to manufacturing tolerances adds a great deal of robustness to the edge loading effect. The specifications set for the angle control are shown in the out-of-life durability requirement test results.
The material of the camshaft lobes has also been found to be an important factor in the sliding interface. Packaging requirements for a DVVL system SRFF require robustness to handle sliding contact stresses up to 1000 MPa. To address these stress levels, high quality steel materials are needed to avoid camshaft lobe cracking that compromises sliding interface life. The final system with steel camshaft material, crowning and polishing was found to exceed life durability requirements.
The process of producing the slider and DLC in a high volume manufacturing process is described. Key manufacturing improvements have focused on grinding equipment selection and grinding wheels and fixtures holding the SRFF outer arm for manufacturing the slider grinding process. The selected manufacturing process selection exhibits robustness to meet specifications for a guaranteed durability sliding interface for engine life.
The DLC coating on the slider showed an over-life requirement, which is consistent with the results of the system DVVL. The DLC coating on the outer arm slider shows robustness through operating conditions. As a result, SRFF designs are suitable for four-cylinder passenger car applications with the goal of improving fuel economy by reducing engine pumping losses during part load engine operation. The DLC coated sliding interface of DVVL exhibits durability and allows VVA technology to be used in different engine valve applications.
Description of embodiments of Single-lobe Cylinder Deactivation (CDA) System
Introduction to CDA System
Fig. 88 shows a compact cam-driven single-lobe deactivation (CDA) switchingrocker arm 1100 mounted on a piston-driven internal combustion engine and actuated in conjunction with a dual-feed hydraulic lash adjuster (DFHLA)110 and an Oil Control Valve (OCV) 822.
Referring to fig. 11, 88, 89 and 100, the CDA arrangement includes four main components: an Oil Control Valve (OCV)822, a Dual Feed Hydraulic Lash Adjuster (DFHLA), a CDA switching rocker arm assembly (also referred to as SRFF)1100, asingle lobe cam 1320. The default configuration is a normal lift (latched) position in which theinner arm 1108 andouter arm 1102 of the CDArocker arm assembly 1100 are latched together, causing the engine valves to open and allowing the cylinder to operate as a standard valvetrain. The DFHLA110 has two oil ports. Thelower oil port 512 provides lash compensation and supplies engine oil similar to a standard HLA. Theupper oil port 506, referred to as a switching pressure port, provides a passage between the controlled oil pressure from the OCV822 and thelatches 1202 in the SRFF. As noted, when the latch is engaged, theinner arm 1108 andouter arm 1102 ofSRFF 1100 operate together like a standard rocker arm to open an engine valve. In the non-lift (unlatched) position, theinner arm 1108 and theouter arm 1102 may be independently moved to deactivate the cylinder.
As shown in fig. 88 and 99, a pair of lost motion torsion springs 1124 are included to bias the position of theinner arm 1108 so that it remains in constant contact with thecamshaft lobe 1320 at all times. The lostmotion torsion spring 1124 requires a higher preload than designs using multiple lobes to promote constant contact between thecamshaft lobe 1320 and the innerarm roller bearing 1116.
Fig. 89 shows a detailed view of theinner arm 1108 and theouter arm 1102 along thelatch 1202 mechanism androller bearing 1116 in theSRFF 1100. The functionality of theSRFF 1100 design remains similar to the packaging and reduces the complexity of thecamshaft 1300 compared to configurations having more than one lobe, e.g., separate non-lift lobes for each SRFF position may be eliminated.
As shown in fig. 91, acomplete CDA system 1400 for one engine cylinder includes one OCV822, twoSRFF rocker arms 1100 for exhaust, twoSRFF rocker arms 1100 for intake, one DFHLA110 for eachSRFF 1110, and a single-lobe camshaft 1300 that drives eachSRFF 1100. Further, the CDA1400 system is designed such that theSRFF 1100 and DFHLA110 are identical for intake and exhaust. This arrangement allows a single OCV822 to simultaneously switch each of the four SRFFrocker arm assemblies 1100 required for cylinder deactivation. Finally, the system is electrically controlled from the ECU825 such that the OCV822 switches between normal lift mode and no lift mode.
An enginelayout using SRFF 1100 for one exhaust and one intake valve is shown in fig. 90. The packaging ofSRFF 1100 is similar to that of a standard valvetrain. The cylinder head needs to be modified to provide a supply of oil from thelower passage 805 to the OCV822 (fig. 88, 91). In addition, the second (upper)oil passage 802 requires a switchingport 506 connecting the OCV822 and theDFHLA 110. The basic engine head architecture remains the same so that the valve centerline, camshaft centerline, and DRHLA110 centerline remain constant. Because these three centerlines are maintained relative to the standard valvetrain, and becauseSRFF 1110 remains compact, there is little change in cylinder head height, length, and width compared to the standard valvetrain system.
CDA System enabling techniques
Some of the techniques used in this system have multiple applications for use in different applications, which are described herein as components of the DVVL system disclosed herein. They include:
2.1 Oil Control Valve (OCV)
As described in the previous sections, and as shown in fig. 88, 91, 92, and 93, an Oil Control Valve (OCV)822 is a control device that directs or does not direct pressurized hydraulic fluid to cause therocker arm 100 to switch between the normal lift mode and the no-lift mode. The OCV is intelligently controlled, for example, using a control signal sent by theECU 825.
2.2 Dual Feed Hydraulic Lash Adjuster (DFHLA)
There are many hydraulic lash adjusters to maintain lash in an engine. Conventional lash control is required for DVVL switching rocker arms 100 (fig. 4), but conventional HLA devices are not sufficient to provide the oil requirements required for switching, which are subject to the associated side loads imposed byassembly 100 during operation and which fit into the restricted packaging space. A compact dual feed hydraulic lash adjuster 110(DFHLA) for use with a switchingrocker arm 100 is described having a set of parameters and shapes for providing optimized oil flow pressure at low consumption and a set of parameters and shapes for managing side loads.
As shown in fig. 10,ball plunger tip 601 fits intoball seat 502 to allow free rotation in all directions. This allows for the sides of the ball plungerend 601 and possible asymmetric loading in certain operating modes, such as when switching from high lift to low lift or vice versa. In contrast to typical ball-end plungers for HLA devices, the DFHLA110 ball plungerend 601 is constructed using thinner materials to resist side loading, theplunger thickness 510 being shown in fig. 11.
The material selected for theball plunger tip 601 may also have a higher allowable dynamic stress load, such as a chrome vanadium alloy.
The hydraulic flow path in the DFHLA110 is designed for high pressure flow and low pressure drop to ensure constant hydraulic switching and reduce pumping losses. The DFHLA is mounted within a cylindrical receptacle within the engine that is sized to seal against theouter surface 511, as shown in fig. 11. The cylindrical receptacle is combined with the firstoil flow channel 504 to form a closed fluid path having a specific cross-sectional area.
As shown in fig. 11, the preferred embodiment includes four oil flow ports 506 (only two shown) that are arranged in an equally spaced manner around the base of the firstoil flow channel 504. Further, two secondoil flow passages 508 are arranged in an equally spaced manner around the ball plungerend 601 and fluidly communicate with the firstoil flow passage 504 through theoil port 506. Theoil ports 506 and the firstoil flow passage 504 are sized to fit a particular area and are spaced around the body of the DFHLA110 to ensure a uniform flow of oil and minimal pressure drop from the firstoil flow passage 504 to the thirdoil flow passage 509. The thirdoil flow passage 509 is sized to combine the oil flows from the plurality of secondoil flow passages 508.
2.3 detection and measurement
Information gathered using sensors may be used to verify switching patterns, identify error conditions, or provide information analysis and for switching logic and timing. It will be seen that the detection and measurement embodiments described above as being suitable for a DVVL system may also be applied to a CDA-1L system. Thus, the valve position and/or motion detection and logic used in the DVVL may also be used in the CDA system. Similarly, the detection and logic used in the determination of the position/motion of the swing arms or the relative position/motion of the swing arms with respect to each other for a DVVL system may also be used in a CDA system.
2.4 torsion spring design and implementation
Therobust torsion spring 1124 design provides a greater torque than conventional known rocker arm designs while maintaining high reliability, which enables the CDA system to maintain proper operation throughout all dynamic operating modes. The design and manufacture oftorsion spring 1124 is described in subsequent paragraphs.
3. Switching control and logic
3.1 Engine implementation
CDA embodiments may include any number of cylinders, such as 4 and 6 inline cylinders and 6 or 8V-type cylinders.
3.2 Hydraulic fluid delivery System to Rocker arm Assembly
As shown in fig. 91, the hydraulic fluid system delivers engine oil at a controlled pressure to the CDAswitching rocker arm 1100. In this arrangement, non-pressure regulated engine oil from thecylinder head 801 is fed into the DFHLA110 through thelower oil passage 805. The oil is always in fluid communication with thelower port 512 of the DFHLA110 where it is used for conventional hydraulic lash adjustment. The non-pressure regulated engine oil from thecylinder head 801 is also supplied to theoil control valve 822. Hydraulic fluid from the OCV822, supplied at a controlled pressure, is supplied to theupper oil gallery 802. The switching of the OCV822 determines the lift mode of each CDAassembly rocker arm 1100 assembly, including theCDA deactivation system 1400 for a given engine cylinder. As described in the following paragraphs, actuation of theOCV valve 822 is performed by theengine control unit 825 using logic based on information detected and stored for a particular physical configuration, switching window, and series of operating conditions, such as a number of cylinders and a particular oil temperature. Pressure regulated hydraulic fluid from theupper passage 802 is directed into the DFHLA110upper port 506 where it is transferred to the switchingrocker arm assembly 1100. Hydraulic fluid is communicated through therocker arm assembly 1100 to thelatch pin 1202 assembly where it is used to initiate switching between normal lift and no-lift states.
Purging the accumulated air in theupper channel 802 is important to maintain hydraulic stiffness and minimize vibration during the pressure rise period. The pressure rise period directly affects the latch movement time during the switching operation. Apassive extraction vent 832, shown in fig. 91, is added to a high point in theupper passageway 802 to vent accumulated air into the cylinder head air space below the valve cover.
3.2.1 Hydraulic fluid delivery for Normal Lift mode
FIG. 92 illustrates a default position of theSRFF 1100 where no electrical signal is to the OCV822, and also illustrates a cross-section of the following systems and components that enable operation in the normal lift mode: OCV822, DFHLA110,latch spring 1204,latch 1202,outer arm 1102, cam 1302,roller bearing 1116,inner arm 1108,valve pad 1140 andengine valve 112. Unregulated engine oil pressure in thelower passage 805 is in fluid communication with the lash compensation (lower)port 512 of the DFHLA110 to enable standard lash compensation. The OCV822 regulates oil pressure to theupper oil gallery 802, which then supplies oil to theupper port 506 at 0.2-0.4 bar when the ECU825 electrical signal is absent. This pressure value is lower than the pressure required to compress thelatch spring 1204 to move thelatch pin 1202. This pressure value is used to keep the oil circuit full of oil and free of air to achieve the desired system response. Thecam 1320 lobe contacts the roller bearing causing theouter arm 1102 to rotate about the DFHLA110 ball seat to open and close the valve. When thelatch 1202 is engaged, the SRFF functions similar to a standard RFF rocker arm assembly.
3.2.2 Hydraulic fluid delivery for non-Lift mode
FIGS. 93A, B and C show detailed views ofSRFF 1100 during cylinder deactivation (no lift mode). An Engine Control Unit (ECU)825 (fig. 91) provides a signal to the OCV822 so that oil pressure is supplied to thelatch 1202 causing it to retract, as shown in fig. 93B. The pressure required to fully retract the latch is 2 bar or higher. The higher torsion spring 1124 (fig. 88, 99) preload in this single lobe CDA embodiment allows thecamshaft lobe 1320 to remain in contact with theinner arm 1108roller bearing 1116 as it occurs during lost motion and the engine valves remain closed as shown in fig. 93C.
3.3 operating parameters
An important factor in operating the CDA system 1400 (FIG. 91) is reliable control of the switch before the normal lift mode and the no lift mode. The CDAvalve actuation system 1400 may only be switched between modes within a predetermined window of time. As described above, switching from high lift mode to low lift mode and vice versa is initiated by a signal from the Engine Control Unit (ECU)825 (FIG. 91) using logic that analyzes stored information, such as switching windows for specific physical configurations, stored operating conditions and process data collected by sensors. The switching window duration is determined by the CDA system physical configuration including the number of cylinders, the number of cylinders controlled by a single OCV, the valve lift duration, the engine speed, and the latch response time inherent in hydraulic and mechanical systems.
3.3.1 collecting data
The real-time sensor information includes input from any number of sensors, such as theexample CDA system 1400 shown in fig. 91. As previously described, the sensors may include 1)valve stem displacement 829, measured in one embodiment using a Linear Variable Differential Transformer (LVDT), 2) action/position 828 and latchposition 827 using a hall effect sensor or motion detector, 3)DFHLA movement 826 using a proximity switch, hall effect sensor or other device, 4)oil pressure 830, and 5)oil temperature 890. Camshaft rotational position and speed may be collected directly or derived from an engine speed sensor.
In hydraulically actuated VVA systems, the oil temperature affects the stiffness of the hydraulic system used for switching in systems such as CDA and VVL. If the oil is too cold, its viscosity slows down the switching time, leading to failure. This temperature relationship is depicted in fig. 96 for an example CDA system switching rocker 11001400. Accurate oil temperatures provide accurate information and are obtained in one embodiment using thesensor 890 shown in fig. 91, which is located near the point of use rather than in the engine oil crankcase. In one embodiment, the oil temperature in theCDA system 1400 is monitored near an Oil Control Valve (OCV)822, which must be greater than or equal to 20 degrees celsius to initiate no-lift (unlatch) operation with the required hydraulic stiffness. The measurements may be taken using any number of commercially available components, such as thermocouples. Oil control valves are further described in U.S. patent application publication Nos. 2010/008937, 4/15, 2010 and 2010/0018482, 28, 2010, 4/2010, both of which are incorporated herein by reference in their entirety.
The sensor information is input to an Engine Control Unit (ECU)825 as real-time operating parameters.
3.4 stored information
3.4.1 handover Window Algorithm
SRFF requires a mode switch from normal lift to no lift (cylinder deactivation) state and vice versa. The switching request occurs during less than one camshaft revolution to ensure proper engine operation. Mode switching may occur only when the SRFF is on the base circle 1322 (fig. 101) of thecam 1320. Switching between valve lift states cannot occur when the latch 1202 (fig. 93) is loaded and movement is restricted. Thelatch 1202 must be controlled during the transition period between full and partial engagement to prevent thelatch 1202 from sliding. The switching window, combined with the electromechanical latch response time inherent in the CDA system 1400 (fig. 91), identifies the timing of the mode switching.
The expected functional parameters of the SRFF basedCDA system 1400 are similar to those of the V-type switching roller elevators produced today. The mode switch between normal lift and no lift is set to occur during thebase circle 1322 event and in synchronization with thecamshaft 1300 rotational position. The SRFF default position is set to normal lift. The oil flow controlled according to SRFF is also similar to the model V CDA product system.
A critical transition is defined as an unexpected event that may occur when the latch portion engages, causing the valve to partially lift or sharply drop back to the valve seat. This is unlikely when the switching command is executed during the aforementioned oil temperature, engine speed parameters and camshaft position synchronous switching. The critical transition event causes a shock load on the DFHLA110, which may require a high strength DFHLA-as described in the previous section-as an enabling system component.
The basic synchronous handoff for theCDA system 1400 is depicted in fig. 94. Theexhaust valve profile 1450 and theintake valve profile 1452 are plotted as a function of camshaft angle. The required switching window is defined as the sum of the time required for the following operations: 1) the OCV822 valve supplies pressurized oil, 2) hydraulic system pressure overcomes thebiasing spring 1204 and causes thelatch 1202 to mechanically move, and 3) full movement of thelatch 1202 required for mode switching from no lift to normal lift and vice versa. In this exhaust embodiment, a switchingwindow period 1454 exists once the exhaust is closed until the exhaust begins to open again. Thelatch 1202 remains restricted during the exhaust lift event. The timing window that may result in thecritical transition 1456 described in detail in the following paragraphs is indicated in FIG. 94. The switching window for intake air may be described in a similar manner with respect to the intake lift profile.
Latch preload
The CDArocker arm assembly 1100 switching mechanism is designed such that hydraulic pressure can be applied to thelatch 1202 after the latch lash is taken up, resulting in no change in function. This design parameter allows hydraulic pressure to start in theupper oil passage 822 through the OCV822 during an intake valve lift event. Once the intakevalve lift profile 1452 returns to thebase circle 1322 unloaded condition, the latch completes its movement to a particular latched or unlatched mode. The design parameters help maximize the variable handover window.
Hydraulic response time with respect to temperature
FIG. 96 shows the dependence oflatch 1202 response time on oil temperature using SAE 5W-30 oil. Thelatch 1202 response time reflects the duration of time that thelatch 1202 moves from the normal lift (latched) to the no lift (unlatched) position or vice versa. Ten milliseconds is required forlatch 1202 response time at 20 deg.c oil temperature and 3 bar oil pressure in switchingpressure port 506. At the same pressure conditions and higher operating temperatures, e.g., 40 ℃, the latch response time is reduced to 5 milliseconds. The hydraulic response time is used to determine the switching window.
Variable valve timing
Referring to fig. 94 and 95, some camshaft drive systems are designed to have a greater range of phasing authority/action relative to camshaft angle than standard drive systems. This technique may be referred to as variable valve timing and must be considered along with engine speed when determining the allowed switchingwindow duration 1454.
A graph of valve lift profile versus camshaft angle is shown in fig. 95, depicting the effect of variable valve timing on the switchingwindow duration 1454. The exhaustvalve lift profile 1450 and intakevalve lift profile 1452 show a typical cycle without variable valve timing capability resulting in no switching window 1455 (see also fig. 94), and the exhaustvalve lift profile 1460 and intakevalve lift profile 1462 show a typical cycle with variable valve timing capability resulting in no switchingwindow 1464. This embodiment of variable valve timing results in an increase in the duration of the no-switch window 1458. Assuming that the 120 crank angle variable valve timing capability persists between the exhaust and intake camshafts, thetime duration transition 1458 is 6 milliseconds at 3500rpm engine speed.
Fig. 97 is a graph showing the calculation and measurement of the switching time variation due to the influence of temperature and cam phase. The graph is based on a switching window ranging from 420 crank angle degrees for the camshaft withminimum overlap 1468 to 540 crank angle degrees for the camshaft withmaximum overlap 1466. For normal engine operating temperatures of 40 deg. -120 deg.c, a latch response time of 5 milliseconds is shown on the graph. The signal is toggled from the ECU825 to start until the hydraulic pressure is sufficient to cause thelatch 1202 to move to measure thehydraulic response variation 1470. Based on theCDA system 1400 study using OCV to control hydraulic oil pressure, the maximum change was approximately 10 milliseconds. Thishydraulic response change 1470 takes into account the oil pressure in the engine, temperature, and voltage to theOCV 822. The phase position withminimum overlap 1468 provides an available switching time of 20 milliseconds at 3500rpm engine speed, with a total latch response time of 15 milliseconds, representing a 5 millisecond margin between the switching available time and thelatch 1202 response time.
Fig. 98 also illustrates calculated and measured switching time variations due to temperature and cam phase effects. The illustration is based on a switching window ranging from 420 crank angle degrees withminimum overlap 1468 camshaft to 540 crank angle degrees withmaximum overlap 1466 camshaft. For a cold engine operating temperature of 20 ℃, a latch response time of 10 milliseconds is shown on the graph. Thehydraulic response change 1470 is measured from the ECU825 switching signal activation until the hydraulic pressure is sufficient to cause thelatch 1202 to move. Based on theCDA system 1400 study using OCV to control hydraulic oil pressure, the maximum change was approximately 10 milliseconds. Thishydraulic response change 1470 takes into account the oil pressure in the engine, temperature, and voltage to theOCV 822. The phase with theminimum overlap 1468 provides an available switching time of 20 milliseconds at 3500rpm engine speed, with a total latch response time of 20 milliseconds, representing a reduced design margin between the switching available time and thelatch 1202 response time.
3.4.2 stored operating parameters
These variables include engine configuration parameters such as predicted latch-up response time and variable valve timing as a function of operating temperature.
3.5 control logic
As indicated above, CDA switching only occurs during a small predetermined window of time under certain operating conditions, and switching the CDA system outside of the timing window may result in a critical switching event, which may cause damage to the valvetrain and/or other engine components. Since engine states such as oil pressure, temperature, emissions, and load may vary repeatedly, a high speed processor may be used to analyze real time conditions, compare them to known operating parameters characterizing the operating system, reconcile the results to determine when to switch, and send a switch signal. These operations may be performed hundreds or thousands of times per second. In embodiments, such computational functions may be performed by a dedicated processor or by an existing utility vehicle control system known as an Engine Control Unit (ECU). A typical ECU has input sections for analog and digital data, a processing section including a microprocessor, programmable memory, random access memory, and an output section that may include relays, switches, and warning light actuation.
In one embodiment, the Engine Control Unit (ECU)825 shown in fig. 91 receives inputs from a number of sensors, such as valve stemdisplacement 829, motion/position 828, latchposition 827,DFHLA movement 826,oil pressure 830, andoil temperature 890. Data such as allowable operating temperatures and pressures for a given engine speed, switching windows, etc., are stored in memory. The information collected in real time is then compared to stored information and analyzed to provide logic for ECU825 to switch timing and control.
After the inputs are analyzed, control signals are transmitted to the OCV822 via the ECU825 to initiate a switching operation that may be timed to avoid a critical switching event while meeting engine performance objectives, such as improved fuel economy and reduced emissions. The ECU825 also alerts the driver of error conditions, if desired.
CDA rocker arm assembly
Fig. 99 illustrates a perspective view of an example CDArocker arm assembly 1100. The CDArocker arm assembly 1100 is given by way of example only, and it is to be understood that the configuration of the CDArocker arm assembly 1100 of the subject application is not limited to the configuration comprising the CDArocker arm assembly 1100 shown in the figures.
As shown in fig. 99 and 100, the CDArocker arm assembly 1100 includes anouter arm 1102 having a firstouter side arm 1104 and a secondouter side arm 1106. Aninner arm 1108 is disposed between the firstouter side arm 1104 and the secondouter side arm 1106. Theinner arm 1108 has a firstinner side arm 1110 and a secondinner side arm 1112. Both theinner arm 1108 and theouter arm 1102 are mounted to apivot axle 1114 adjacent thefirst end 1101 of therocker arm 1100, which secures theinner arm 1108 to theouter arm 1102 while also allowing a free rotation angle of pivoting about thepivot axle 1114 when therocker arm 1110 is in a no-lift state. In addition to the illustrated embodiment having aseparate pivot axle 1114 mounted to theouter arm 1102 and theinner arm 1108, thepivot axle 1114 may also be integrally formed to theinner arm 1102 or theouter arm 1108.
The CDArocker arm assembly 1100 has abearing 1190 that includes aroller 1116 mounted on abearing axle 1118 between the first and secondinner side arms 1110, 1112 for transferring energy from a rotating cam (not shown) to therocker arm 1110 during normal operation of the rocker arm. Mounting therollers 1116 on thebearing axle 1118 allows thebearing 1190 to rotate about theaxle 1118, theaxle 118 serving to reduce friction generated by the contact of the rotating cam and therollers 1116. As described herein, theroller 1116 is rotationally fixed to theinner arm 1108, which in turn can rotate relative to theouter arm 1102 about apivot axis 1114 under certain conditions. In the depicted embodiment, thebearing axle 1118 is mounted to theinner arm 1108 within the bearing axle bore 1260 of theinner arm 1108 and extends through the bearingaxle slot 1126 of theouter arm 1102. Other configurations are possible when using thebearing axle 1118, for example, thebearing axle 1118 does not extend through the bearingaxle slot 1126 but remains mounted in the bearingaxle hole 1260 of theinner arm 1108.
When therocker arm 1110 is in a no-lift state, theinner arm 1108 pivots downward relative to theouter arm 1102, pressing the outer arm downward, as the lift portion of the cam (1324 in fig. 101) begins to contact theroller 1116 of thebearing 1190. Theshaft slot 1126 allows thebearing shaft 1118, and thus theinner arm 1108 and thebearing 1190, to move downward. As the cam continues to rotate, the lift portion of the cam rotates away from theroller 1116 of thebearing 1190, allowing thebearing 1190 to move upward as thebearing axle 1118 is biased upward by the bearingaxle torsion spring 1124. The illustratedbearing shaft spring 1124 is a torsion spring secured to amount 1150 located on theouter arm 1102 by aspring retainer 1130. Atorsion spring 1124 is secured adjacent thesecond end 1103 of therocker arm 1100 and has aspring arm 1127 that contacts thebearing axle 1118. As thebearing axle 1118 and thespring arm 1127 move downward, thebearing axle 1118 slides along thespring arm 1127. The configuration of therocker arm 1100 having the torsion spring fixed adjacent thesecond end 1103 of therocker arm 1100, thepivot axle 1114 adjacent thefirst end 1101 of the rocker arm, and thebearing axle 1118 located between thepivot axle 1114 and theaxle spring 1124 reduces the mass near thefirst end 1101 of the rocker arm.
As shown in fig. 101 and 102, thevalve stem 1350 also contacts therocker arm 1100 near thefirst end 1101 of therocker arm 1100, and therefore the reduced mass at thefirst end 1101 of therocker arm 1100 reduces the mass of the entire valve train (not shown), thereby reducing the force necessary to change the speed of the valve train. It should be noted that other spring configurations may be used to bias thebearing axle 1118, such as a single continuous spring.
Fig. 100 illustrates an exploded view of the CDArocker arm assembly 1100 of fig. 99. The exploded view of fig. 100 and the assembled view of fig. 99 show thebearing 1190, a needle roller bearing comprising a generallycylindrical roller 1116 engaged with theneedle 1200, which may be mounted to thebearing shaft 1118.Bearing 1190 is used to transfer rotational motion of the cam torocker arm 100, which in turn transfers motion tovalve stem 1350, such as in the configuration shown in fig. 101 and 102. As shown in fig. 99 and 100, thebearing axle 1118 may be mounted in a bearing axle bore 1260 of theinner arm 1108. In this configuration, theshaft slot 1126 of theouter arm 1102 receives thebearing axle 1118 and allows lost motion of thebearing axle 1118 and extends theinner arm 1108 when therocker arm 1100 is in the no-lift state. The "lost motion" motion may be considered to be the motion of the rocker arm that does not transfer the rotational motion of the cam to the valve. In the depicted embodiment, lost motion is represented by pivotal movement of theinner arm 1108 relative to theouter arm 1102 aboutpivot axis 1114.
Other arrangements besides bearing 1190 also allow motion to be transferred from the cam torocker arm 1100. For example, a flat non-rotating surface (not shown) having an interface with a camshaft lobe (1320 in FIG. 101) may be mounted or integrally formed toinner arm 1108 in a regionadjacent bearing 1190 of FIG. 99 relative toinner arm 1108 androcker arm 1100. Such non-rotating surfaces may include friction pads formed on the non-rotating surfaces. In another embodiment, an alternative bearing, such as a bearing with multiple concentric rollers, may be used to effectively replacebearing 1190.
Referring to fig. 99 and 100, the elephant foot is mounted on thepivot axle 1114 between the first and secondinner side arms 1110, 1112. Thepivot shaft 1114 is mounted into the innerpivot shaft bore 1220 and the outer pivot shaft bore 1230 proximate thefirst end 1101 of therocker arm 1100. Alip 1240 formed on theinner wall 1108 prevents theelephant foot 1140 from rotating about thepivot axle 1114. Theelephant foot 1140 engages the end of avalve stem 1350, as shown in FIG. 102. In an alternative embodiment, theelephant foot 1140 may be eliminated and instead, an interface surface complementary to the tip of thevalve stem 1350 may be placed on thepivot axle 1114.
Fig. 101 and 102 show side and front views, respectively, of arocker arm 1100 with respect to acam 1300 having alift lobe 1320 with abase circle 1322 and alift portion 1324. Theroller 1116 is shown contacting thelift lobe 1320. The Dual Feed Hydraulic Lash Adjuster (DFHLA)110 contacts therocker arm 1100 near thesecond end 1103 of the rocker arm and applies upward pressure to therocker arm 1100, particularly theouter rocker arm 1102, while reducing valve lash. The valve stem 1350 contacts theelephant foot 1140 proximate thefirst end 1101 of therocker arm 1100. In the normal lift state, therocker arm 1100 periodically pushes thevalve rod 1350 downward, which is used to open a corresponding valve (not shown).
4.1 torsion spring
As described below, therocker arm 1100 may experience excessive pumping of thelash adjuster 110 during a no-lift state due to excessive oil pressure, the onset of a non-steady state condition, or other reasons. This can result in an increase in the effective length of thelash adjuster 110 as pressurized oil fills its interior. This situation may occur, for example, during a cold start of the engine, which may take a significant amount of time to resolve itself if unchecked, and may even result in permanent engine damage. In this case, thelatch 1202 cannot actuate therocker arm 1100 until theslack adjuster 110 returns to the normal operating length. In this case, the slack adjuster applies upward pressure to theouter arm 1102, causing theouter arm 1102 to approach thecam 1300.
Lostmotion torsion spring 1124 on SRFF is designed to provide sufficient force to keep theroller bearing 1116 in contact with thecamshaft lift lobe 1320 during no-lift operation, thereby ensuring controlled acceleration and deceleration of the inner arm subassembly and controlled return of theinner arm 1108 to the latched position while preserving latch clearance. The pumping situation requires astronger torsion spring 1124 to compensate for the additional force from the pumping.
The rectangular wire cross-section oftorsion spring 1124 serves to reduce packaging space, maintain a low moment of inertia of the assembly and provide sufficient cross-sectional height to support operational loads. The stress calculations and FEA, test validation described below were used to developtorsion spring 1124 components.
The design and manufacturing process of torsion spring 1124 (fig. 99) is described, which results in a compact design having a generally rectangular wire made of the selected structural material.
Referring to fig. 30A, 30B and 99,torsion spring 1124 is constructed of a generally trapezoidal shapedwire 397. The trapezoidal shape is designed to allow thewire 397 to deform into a generally rectangular shape when a force is applied during the winding process. Aftertorsion spring 1124 is wound, the shape of the formed wire may be described as similar tofirst wire 396, which has a generally rectangular cross-section. Fig. 99 illustrates two torsion spring embodiments, which are shown asmultiple coils 398, 399 in cross-section. In a preferred embodiment, thewire 396 has a rectangular cross-sectional shape with two elongated sides, here shown asvertical sides 402, 404, a top 401 and a bottom 403. The ratio of the average length of thesides 402, 404 of the coil to the top 401 and bottom 403 may be any value less than 1. This ratio provides a stiffness along thecoil bending axis 400 that is greater than the stiffness of a spring coil wound from a round wire having a diameter equal to the average length of the top 401 andbottom 403 of thecoil 398. In an alternative embodiment, the cross-sectional wire shape has a generally trapezoidal shape with a largerupper portion 401 and asmaller bottom portion 403.
In this configuration, as the coils are wound, theelongate side 402 of each coil abuts theelongate side 402 of the previous coil, thereby stabilizingtorsion spring 1124. The shape and arrangement keeps all the coils in a vertical position preventing them from crossing or aligning each other when under pressure.
When therocker arm assembly 1100 is operated, the generally rectangular or trapezoidal torsion springs 1124-as they bend about theaxis 400 shown in fig. 30A and 30B-generate high partial pressures, particularly tensile stresses on theupper surface 401. To meet durability requirements, a combination of materials and techniques are applied together. For example, the torsion spring may be made of a material including chrome vanadium alloy steel, along with the design to improve strength and durability. The torsion spring may be heated and rapidly cooled to temper the spring. This reduces the residual stress. The surface of thewire 396, 397 used to form the torsion spring is impacted with a projectile or "shot peening" is used to address residual stresses in the surface of thewire 396, 397. Thewires 396, 397 are then wound into torsion springs 134, 136. As a result of being shot peened, the resulting torsion spring can be subjected to greater tensile stress than the same spring without being shot peened.
4.2 torsion spring seat
As shown in fig. 100, theknob 1262 extends from the end of thebearing shaft 1118 and forms agroove 1264 in which thespring arm 1127 is seated. In one alternative, ahollow bearing axle 1118 may be used, as well as a separate spring mounting pin (not shown) that includes features such asknobs 1262 andslots 1264, for example, for mountingspring arms 1127.
4.3 outer arm Assembly
4.3.1 latch mechanism description
A mechanism for selectively stopping therocker arm 1100, which in the illustrated embodiment is visible near thesecond end 1103 of therocker arm 1100, is shown in fig. 100 as including alatch 1202, alatch spring 1204, aspring retainer 1206, and aclip 1208. Thelatch 1202 is configured to fit inside theouter arm 1102. Alatch spring 1204 is placed within thelatch 1202 and is held in place by alatch spring retainer 1206 and aclip 1208. Once installed, thelatch spring 1204 biases thelatch 1202 toward thefirst end 1101 of therocker arm 1100, allowing thelatch 1202, and in particular thecontact portion 1210, to engage theinner arm 1108, thereby preventing theinner arm 1108 from moving relative to theouter arm 1102. When thelatch 1202 engages the inner arm in this manner, therocker arm 1100 is in a normal lift state and will transfer motion from the cam to the valve stem.
In the assembledrocker arm 1100, thelatch 1202 alternates between normal-lift and no-lift states. Therocker arm 1100 may enter a non-lift state when an oil pressure sufficient to counteract the biasing force of thelatch spring 1204 is applied, for example, through aport 1212 configured to allow oil pressure to be applied to a surface of thelatch 1202. When oil pressure is applied, thelatch 1202 is pushed toward thesecond end 1103 of therocker arm 1100, thereby retracting thelatch 1202 engaged with theinner arm 1108 and allowing the inner arm to rotate about thepivot axle 1114. In both the normal-lift and no-lift states, thelinear portion 1250 of thedirectional clamp 1214 engages thelatch 1202 at theplanar surface 1218. Theorientation clamp 1250 fits within theclamp hole 1216, thereby maintaining the horizontal orientation of thelinear portion 1250 with respect to theswing arm 1100. This limits the orientation of theplanar surface 1218 to horizontal as well, orienting thelatch 1202 in the proper direction to constantly engage theinner arm 1108.
4.3.2 latch-pin design
As shown in fig. 93A, B, C, thelatch 1202 of theSRFF rocker arm 1100 retracts into theouter arm 1202 in the no-lift mode while theinner arm 1108 follows thecamshaft lift lobe 1320. Under certain conditions, the transition from no-lift mode to normal lift mode may result in the condition shown in fig. 103, with thelatch 1202 extending before theinner arm 1108 returns to a position where thelatch 1202 is normally engaged.
A reengagement feature is added to the SRFF to prevent a situation in which theinner arm 1108 is blocked and trapped in a position below thelatch 1202. The innerarm ramp surface 1474 andlatch ramp surface 1472 are optimized to provide agentle latch 1202 movement to the retracted position when theinner arm 1108 contacts thelatch ramp surface 1472. This design avoids latch mechanism damage that may result from pressure variations at the switching pressure port 506 (fig. 88).
As described in the previous paragraphs directed to DVVL rocker arm assemblies and operation, a number of latch embodiments may be applied to allow reliable operation of the latch mechanism during operating conditions, including latches having a rounded or other non-planar shape.
4.4 System packaging
The SRFF design focuses on minimizing valve mechanism packaging variations compared to standard product layouts. Important design parameters include the relative displacement of the cam lobe with respect to the SRFF ball bearing and the axial alignment between the steel camshaft and the aluminum cylinder head. Steel and aluminum components have different coefficients of thermal expansion that may shift camshaft lobes relative to SRFF.
FIG. 104 shows proper and poor alignment of a single camshaft lobe relative to theouter arm 1102 ofSRFF 1100 andbearing 1116. Proper alignment shows thecamshaft lift lobe 1320 in the middle of theroller bearing 1116. Thesingle camshaft lobe 1320 andSRFF 1100 are designed to avoid edge loads 1428 on theroller bearing 1116 and to avoid thecamshaft lobe 1320 from contacting the 1480outer arm 1102. The elimination of camshaft no-lift lobes in a multi-lobe CDA configuration reduces the requirements for tight manufacturing tolerances, camshaft lobe width and position assembly control, making the camshaft manufacturing process similar to that of a standard camshaft used on a model II engine.
4.5CDA latch mechanism Hydraulic operation
As previously mentioned, pumping is the term used to describe a condition in which the HLA exceeds the size of its intended operation, thereby preventing the valve from returning to its seat during a base circle event.
The lower portion of fig. 105 shows the forces exerted on the rolling finger follower assembly (RFF)1496 during a standard valve system and camshaft base circle event. Hydraulic lashadjuster force 1494 is a combination of the Hydraulic Lash Adjuster (HLA)1493 force generated by oil pressure inlash compensation port 1491 and the HLA internal spring force.Cam reaction 1490 is betweencamshaft 1320 and the RFF bearings.Reaction force 1492 is between RFF1496 and the tip ofvalve 112. The forces must be balanced so that thevalve spring force 1492 prevents inadvertent opening of thevalve 112. If thevalve reaction force 1492 and thecam reaction force 1490 created by theHLA force 1492 exceed the seating force required to seat thevalve 112, then thevalve 112 will lift and remain open during base circle operation, which is undesirable. The description of the standard fixed arm system does not include dynamic operational loads.
SRFF 1100 is designed to additionally account for pumping when the system is in no-lift mode. Pumping of the DFHLA110 when theSRFF 1100 is in no-lift mode can result in a situation in which theinner arm 1108 cannot be returned to a position where thelatch 1202 can re-engage theinner arm 1108.
WhenSRFF 1100 is in normal lift mode,SRFF 1100 reacts similar to standard RFF1496 (FIG. 105). Maintaining the desired latch clearance to switchSRFF 1100 while preventing pumping is addressed by applying additional force fromtorsion spring 1124 to overcomeHLA force 1494 in addition to the torsional force required to returninner arm 1108 to its snap-lock engaged position.
Graph 106 shows the balance of forces exerted onSRFF 1100 when the system is in no-lift mode:DFHLA force 1499,cam reaction force 1490 andtorsion spring force 1495, generated by oil pressure at lash compensation port 512 (fig. 88), plusplunger spring force 1498. Thetorsional force 1495 created by thespring 1124 is translated through thebearing axle 1118 and thespring arm 1127 into aspring reaction force 1500 acting on theinner arm 1108.
Thetorsion spring 1124 in the SRFFrocker arm assembly 1100 is designed to provide sufficient force to keep theroller bearing 1116 in contact with thecamshaft lift lobe 1320 during no-lift mode, thereby ensuring control of acceleration and deceleration of theinner arm 1108 subassembly and return of theinner arm 1108 to the latched position while retaining thelatch gap 1205. Thetorsion spring 1124 design for theSRFF 1100 design also accounts for oil pressure variations at thelash compensation port 512 when the system is in no-lift mode. Oil pressure regulation can reduce the load requirements oftorsion spring 1124, which directly affects spring size.
Fig. 107 shows the oil pressure requirement in the clearancecompensation pressure port 512. Limiting oil pressure to the SRFF is only required when the system is in no-lift mode. The no-lift mode is limited for temperatures below 20 deg.c, allowing for synchronous switching as previously described.
4.6CDA component gap management
Fig. 108 shows alatch gap 1205 ofSRFF 1100. For a single-lobe CDA system, the total mechanical lash 1505 decreases to a single latch lash 1205 value, as opposed to the sum of the camshaft lash 1504 and latch lash 1205 for a CDA design with more than one lobe. Thelatch gap 1205 for theSRFF 1100 is the distance between thelatch 1202 and theinner arm 1108.
FIG. 109 compares the opening ramp (opening ramp) on the camshaft designed for a three-lobe SRFF to a single-lobe SRFF.
Camshaft lash is eliminated by the design for the single-lobe SRFF. The elimination of thecamshaft clearance 1504 allows for further optimization of the camshaft lift profile by reducing thelift ramp 1510 and thus allowing for longer lift events. Thecamshaft opening ramp 1506 of SRFF is reduced by up to 36% relative to thecamshaft opening ramp 1506 required for similar designs using multiple lobes.
In addition, the mechanical lash variation on the SRFF is improved by 39% over similar three-lobe designs due to elimination of camshaft lash and related features such as manufacturing tolerances on the base radius of the camshaft non-lift lobes, and lobe blow-out required for slider-to-slider and slider-to-roller bearing parallelism.
4.7CDA component dynamics
4.7.1 details
TheSRFF rocker arm 1100 and system 1400 (FIG. 91) are designed to meet dynamic stability requirements throughout the engine operating range. The SRFF stiffness and moment of inertia (MOI) are analyzed for the SRFF design. The MOI of theSRFF assembly 1100 is measured about a pivot axis 1114 (fig. 99) that passes through the axis of rotation of the SRFF base in contact with theDFHLA 110. Stiffness is measured at the interface between thecam 1320 and thebearing 116.Graph 110 shows a plot of measured stiffness versus calculated assembly MOI. The relationship between stiffness and MOI of the SRFF is compared to a standard RFF for a currently produced type II engine.
4.7.2 analysis
Several design and Finite Element Analysis (FEA) iterations were performed to maximize strength and reduce MOI at the DFHLA end of the SRFF. The mass enhancement feature is placed on the DFHLA end of the SRFF to minimize MOI.Torsion spring 1124, one of the heaviest components of the SRFF assembly, is located near the axis of rotation of the SRFF. The latch mechanism is also located proximate the DFHLA. The vertical portion height of the SRFF is increased to increase strength while reducing MOI.
The SRFF design is optimized using load information from the dynamic model. Key input parameters analyzed include valve train layout, mass of SRFF elements, moment of inertia, stiffness (predicted by FEA), mechanical clearance, valve spring load and speed, DFHLA shape and plunger spring, and valve lift profile. Next, the system is modified to meet the predetermined dynamic objectives by optimizing stiffness relative to the effective mass on the valves of the CDA SRFF. The effective mass on the valve represents the ratio of the MOI to the pivot point of the SRFF and the square of the distance between the valve and the SRFF. The dynamic performance tested is described in the following paragraphs.
5. Design verification and testing
5.1 valve train dynamic results
Dynamic performance of the valvetrain is important in controlling Vibration Noise (NVH) while meeting engine durability and performance goals. Valvetrain dynamics are partially affected by the stiffness and MOI of the SRFF components. The MOI of SRFF has been calculated and stiffness estimated by Computer Aided Engineering (CAE) techniques. Dynamic valve events are also affected by a number of factors, so tests were conducted to obtain assurance in high speed valve control.
Engine test equipment was monitored for valvetrain dynamics. The cylinder head was equipped prior to testing. The oil is heated to represent actual engine conditions. The scanning speed was from the idle speed to 7500rpm and the recorded data was defined as the engine speed. The dynamic performance is determined by evaluating the valve closing speed and the valve bounce. The purpose of the SRFF strain contact is to monitor the load. The valve spring load remains constant to make the fixation system consistent.
FIG. 111 depicts the resulting seated closing velocity of the intake valve. Data for eight consecutive events is needed to show minimum, average and maximum speeds relative to engine speed. The target speed is shown as the maximum speed of the seating speed common in the industry. The target seating speed was maintained up to about 7500 engine rpm, which shows acceptable dynamic control for passenger car engine applications.
5.2 torsion spring verification
Torsion springs are a critical component of SRFF design, especially during high speed operation. Proof of concept was performed on the springs to verify robustness. Three elements of the spring design were tested for proof of concept. First, the load loss was recorded under high cycling conditions of operating temperature. The loss of spring load, or slack, represents the drop in spring load from the beginning of the test to the end of the test. Load loss was also recorded (demonstrated) by applying the highest pressure level and subjecting the part to high temperatures. Second, durability and spring proof fatigue life were tested under worst case and cycling, as well as the load loss. Finally, the function of the lost motion spring was verified by using the lowest loaded spring and verifying no pumping of the DFHLA during all operating conditions in CDA mode.
The torsion spring is cycled at engine operating temperature based on a target clamp test in an engine oil environment. The torsion spring is cycled through the full stroke at the highest preload condition to represent the worst case stress. The cycle target values were set to 2500 million and 5000 million cycles. Torsion springs were also subjected to a thermal setting test in which they were loaded to the highest applied stress, held at 140 ℃ for 50 hours and the load loss was measured.
Fig. 112 summarizes the load loss of the cycle test and the thermal setting test. All components experience 8% maximum load loss while the design target is set at 10% maximum load loss.
The results show a maximum load loss of 8% and meet the design goals. Many tests have shown that the minimum load loss is close to 1%. All tests for load loss are safe within design guidelines.
5.3 Pump robustness during Cylinder deactivation
Torsion spring 1124 (fig. 99) is designed to prevent HLA pumping to preserve latch gap 1205 (fig. 108) when the system is operating during no-lift mode. The test apparatus is designed to maintain the engine oil pressure at the lash compensation pressure port over the range of oil temperature and engine speed conditions required for mode switching.
A proof test was conducted to demonstrate the ability oftorsion spring 1124 to maintain latch gap 1205 (fig. 108) under the desired conditions. The test was conducted on a monitored engine with instrumentation for measuring valve and CDA SRFF behavior, oil pressure and temperature at the lash compensation pressure port 512 (fig. 88) and the switching pressure port 506 (fig. 88).
The lower limit lost motion spring is used to simulate the worst case. The test was performed at 3500rpm, which represents the maximum switching speed. The two operating temperatures are considered to be 58 ℃ and 130 ℃. The test results show pumping at apressure 25% higher than the application requirements.
Fig. 113 shows thelowest pumping pressure 1540 measured at the exhaust side at 58 ℃. The pumping pressure for the intake at 58 ℃ and 130 ℃ and the exhaust at 130 ℃ is higher than the pumping pressure on the exhaust side at 58 ℃. SRFFs are in switched mode, with normal lift events and no lift mode events. The proximity of the lobes is used to detect valve events to verify the SRFF mode state at the corresponding pressure at the switchingpressure port 506. The pressure in thelash compensation port 512 is gradually increased and the switch from the no-lift state to the normal lift state is monitored. The pressure at which the system ends the switch is recorded as thepumping pressure 1540. For the SRFF design, the system safely avoids pumping oil pressure while the oil pressure remains at or below 5 bar. The concept test was performed under a particularly high constrained torque torsion spring to simulate worst case fatigue design margin conditions. Conceptual tests conducted on high-load torsion springs met the desired design goals.
5.4 verification of mechanical Clearance during switching endurance
Mechanical lash control is important to valve train dynamic stability and is maintained throughout the life of the engine. Testing with latch loads and switching between normal and no lift modes is considered suitable to verify wear and performance of the latch mechanism. Switching durability was tested by switching the latch from an engaged to an unengaged position, cycling the SRFF in no-lift mode, engaging the latch to the inner arm, and cycling the SRFF in normal lift. One cycle is defined as disengaging and then reengaging the latch and operating SRFF in both modes. The durability target for the switch is 300 ten thousand cycles. 300 ten thousand cycles represents a period equal to one engine life. One engine life is defined to be equal to 20 ten thousand miles above the 15 thousand mile standard for reliability. The components were tested at a maximum switching speed target of 3500 engine rpm to simulate worst case dynamic loads during switching.
Fig. 114 shows the variation of mechanical clearance for periodic checkpointing during testing. The test was set up on a set of six cylinder engine clamps. Three cylinders per group and four SRFFs per cylinder, for a total of 12 profiles. A mechanical clearance variation of 0.020mm was established as the design wear target. All SRFFs showed a safety clearance wear margin below the wear target for the same vehicle life. The test extends to over 25% of the life target at times when the component approaches the maximum clearance variation target value.
For SRFF, valve train dynamics, torsion spring load loss, pump verification, and mechanical lash over the same engine life all meet the expected targets. The valve train dynamics-in terms of closing speed-is reliably within the limits at maximum engine speeds of 7200rpm and above the speed limit of 7500 rpm. The LMS load loss shows 8% load loss, which is reliably within 10% of the design target. Performing pump tests showed that the SRFF design operated correctly at a given target oil pressure of 5 bar. Finally, the mechanical clearance variation over equivalent engine lift is reliably within design targets. SRFF meets all design requirements for cylinder deactivation in gasoline car applications.
6. Conclusion
Cylinder deactivation has proven to be a method of improving fuel economy for passenger car gasoline vehicles. Completing the design, modification and variation of a single-lobe SRFF based cylinder deactivation system provides the ability to improve fuel economy by reducing pumping losses and operating a portion of the engine cylinders at higher combustion efficiency. The system protects the basic architecture of a standard model II valvetrain by maintaining the same centerline for the engine valve, camshaft, and lash adjuster. The engine cylinder head requires the addition of an OCV and oil control port in the cylinder head to allow the SRFF to be hydraulically switched from a normal lift mode to a cylinder deactivation mode. The system requires one OCV per engine cylinder and is typically configured with four identical SRFFs for intake and exhaust, one DFHLA per SRFF.
The SRFF design provides a solution that reduces system complexity and cost. The most important enabling technique for the SRFF design is the modification of the lost motion torsion spring. The LMS is designed to maintain continuous contact between the single-lobe camshaft and the SRFF during both the normal lift mode and the no-lift mode. Although this torsion spring requires slightly more packaging space, the overall system is made simpler by eliminating the three-lobe camshaft. The axial accumulation of SRFF is reduced from the triple-lobe CDA design due to the absence of outer camshaft lobes that add edge loading opportunities on the outer arm slide and interface with the inner arm. The rocker arm stiffness level of SRFF is similar to standard production rocker arms.
The moment of inertia is minimized by having the heavier components, namely the latch mechanism and torsion spring, at the pivot end that seats directly on the DFHLA. This feature results in better valve train dynamics by minimizing the effective mass on the valve. System design and validation was performed for an engine speed of 7200rpm during standard lift mode and 3500rpm during cylinder deactivation mode. The component is also validated for at least one engine life at least equal to 20 ten thousand engine miles.
While this disclosure describes various aspects of the invention, and while these aspects are described in some detail, this is not intended to restrict or in any way limit the scope of the teachings claimed herein to such detail. Other advantages and modifications will be apparent to persons skilled in the art. Therefore, the teachings of the present application, in its broader aspects, are not limited to the specific details and illustrative examples shown and described. Accordingly, departures may be made from such details without departing from the spirit or scope of the applicant's claimed teachings. Moreover, the foregoing aspects are illustrative, and no single feature or element is essential to all possible combinations that may be claimed herein or otherwise.
VVA engine and cylinder head arrangement
1. Switching rocker arm assembly
1.1 Explanation-general Engine architecture
Fig. 115 and 116 depict a partial engine cylinder head assembly of a conventional model II dual overhead camshaft internal combustion engine having exhaust cams. The exhaust cam rocker, valves, and portions of the intake valve camshaft are removed for clarity. It is noted here that the present invention is equally applicable to other engine designs having similar arrangements and configurations.
A plurality of cam towers 10 extend upwardly and havecam tower bottoms 33 portions extending upwardly from the cylinder heads. The upper side of thecam tower bottom 33 has a semicircular depression.
Thecam tower cap 11 is bolted to thecam tower base 13. Thecam turret cap 11 has a similar semi-circular depression facing downwards so that when thecam turret cap 11 is bolted to thecam turret base 13, the depression creates acircular cam depression 321 that accommodates the camshaft. Thecam recess 321 is sized and configured to secure the intake and exhaust camshafts but allow them to rotate freely.
Thespark plug tubes 20 are located between the cam towers 10 in the present invention and are parallel to the centerline 19 through the center of the cylinder head. Aspark plug tube 20 extends downwardly through the cylinder head into the top of each engine cylinder and is designed to receive a spark plug.
1.2VVA switching Rocker arm arrangement
1.2.1 symmetrical arrangement
This engine head assembly shown in fig. 115 and 116 has sufficient space to accommodate the Variable Valve Lift (VVL)rocker arm assembly 100 as previously described and symmetrical.
The VVLrocker arm assembly 100 is used in other portions of this specification. However, it is understood that these aspects of the present invention may be used with various other rocker arm assemblies mounted in a cylinder head with a small clearance at one end of the rocker arm assembly.
The VVTrocker arm assembly 100 is driven by a camshaft having three lobes per cylinder. The camshaft is removed in fig. 115 and 116, butintermediate cam lobe 324 andouter cam lobe 326 remain. In this aspect of the invention, therocker arm assembly 100 is shown having an inward end 101 (or first end 101) and an outward end 103 (or second end 103). The term "inwardly" refers to a direction inwardly toward the centerline 19 and "outwardly" refers to a direction outwardly away from the centerline 19.
As shown in fig. 116, it can be seen that the VVLrocker arm assembly 100 is supported toward theinner end 101 by ahydraulic lash adjuster 340. Theoutward end 103 abuts against thevalve stem 350.
As the intermediate cam lobe 342 rotates and presses down on the VVLrocker arm assembly 100, it causes theoutward end 103 of the VVLrocker arm assembly 100 to push thevalve stem 350 downward to open a poppet valve connected to thevalve stem 350. When the inner latch is operated by providing high pressure oil thereto, the VVLrocker arm assembly 100 induces valve lift according to the shape of theouter cam lobe 326. This is further described below in conjunction with fig. 117.
1.2.2 asymmetric arrangement
In fig. 117, torsion springs 135, 137 and spring struts 141, 143 make theVVL rocker assembly 100 wider at a first end as compared to a standard rocker assembly. The VVL rocker arm assembly 100 (and CDA rocker arm) is wider in design than a standard rocker arm and may only fit in certain cylinder heads. The cylinder heads shown in fig. 115 and 116 have sufficient clearance, however, in some engine heads, without sufficient clearance from other structures such as cam towers or spark plug tubes, theDVVL rocker arm 100 cannot be used.
As indicated above, redesigning/modifying the cylinder head, cam drivers and gear mechanisms is very costly. Also, many different manufactures may base the apparatus on a standard cylinder head design, making it difficult to modify or modify the cylinder head.
Thus, the present invention may be implemented in a VVA rocker arm assembly specifically designed to fit a cylinder head having a small clearance.
In many cylinder head designs, it has been determined that there is a lack of space on only one side of the rocker arm. Typically, a lack of space may occur at theinward end 101 of the rocker arm on the side closer to thespark plug tube 20. Accordingly, it is feasible to package the VVLrocker arm assembly 100 in a redesign so that the width of the obstructing side is no wider than the width of a standard rocker arm.
The result is a modified rocker arm assembly for use on a cylinder head having an obstruction on the right side of the rocker arm assembly or the left side of the rocker arm assembly. In the left rocker arm assembly, most of the functional elements move from the right side to the left side. Also, the right side is formed to have a reduced width.
Similarly, the right side rocker arm assembly is designed to be used when there is an obstruction on the left side. Similarly, the structure moves from left to right, and the left side is formed to create an increased gap on the left side to compensate for the obstruction. Collectively, they are referred to as improved rocker arm assemblies.
A novel and improvedrocker arm assembly 400 in accordance with an aspect of the present invention is illustrated in connection with fig. 118-122.
Fig. 118 is a perspective view of a left side improvedrocker arm assembly 400 exhibiting variable valve lift, in accordance with an aspect of the present invention.
Fig. 119 is a top view of the modifiedrocker arm assembly 400 of fig. 110.
FIG. 120 is a side view of the improvedrocker arm assembly 400 of FIG. 118-119.
FIG. 121 is an end view of the improved rocker arm assembly of FIGS. 118 and 120 as seen from the hinged (first) end thereof.
FIG. 122 is an end view of the improved rocker arm assembly of FIG. 118 and 121 as seen from the latching (second) end thereof.
The improvedrocker arm assembly 400 shown here for purposes of description is a Variable Valve Lift (VVL) rocker arm assembly. However, Cylinder Deactivation (CDA) rocker arm assemblies or other rocker arm assemblies that use torsion springs at thefirst end 408 or otherwise have a widened first (or hinged)end 408 are within the scope of the present invention.
The Rocker arm assembly operates in a manner very similar to the Rocker arm assembly shown in FIG. 117 and the VVL picker Application described above, which is incorporated herein by reference in its entirety. The improvedrocker arm assembly 400 uses aninner structure 410 that fits within anouter structure 420. However, the improved rocker arm assembly is used on cylinder heads having less lash adjacent the rocker arm assembly. The improvedrocker arm assembly 400 includes some decorative aspects in addition to the functional aspects disclosed herein.
Theinner structure 410 may have ashaft recess 413 through itsfirst end 408. Theouter structure 420 may also have ashaft recess 433 through itsfirst end 408. When the roller axle recesses 413, 433 are aligned with theinner structure 410 within theouter structure 420, theaxle 434 may be secured through the axle recesses 413, 433 to allow theinner structure 410 to pivot relative to theouter structure 420 about theaxle 434.
Theouter structure 420 on the obstructingside 405, as it extends from thesecond end 409 toward thefirst end 408, may be offset toward theunobstructed side 407, creating a first offsetportion 428. The offset may be a curved or angled side arm that may create a smaller width at thefirst end 408. The first offsetportion 428 may provide additional clearance on the obstructingside 405 as compared to a standard VVL or CDA rocker arm assembly. This may allow the improvedrocker arm assembly 400 to fit into and function with a cylinder head having a narrow interference area, such as theinterference area 600 of fig. 132, 133.
Theouter structure 420 on theunobstructed side 407, as it extends from thesecond end 409 toward thefirst end 408, may be offset outwardly away from the modifiedrocker arm assembly 400, creating a second offsetportion 429. The second offsetportion 429 may provide additional clearance on theunobstructed side 407 to allow engagement of thesecond torsion spring 437 as compared to a standard VVL or CDA rocker arm assembly. This may allow the improvedrocker arm assembly 400 to apply an appropriate amount of force to bias theinner structure 410 relative to theouter structure 420. In an alternative aspect of the invention, a single larger torsion spring may be used in place of two or more torsion springs as shown herein.
The improvedrocker arm assembly 400 uses alatch assembly 500 having alatch pin 510, thelatch pin 510 holding theinner structure 410 and theouter structure 420 together so that they move like a rocker arm. Thelatch assembly 500 may be actuated by an oil control valve (not shown) that may provide increased oil pressure through acup 448 that pivots on thehydraulic lash adjuster 340. This is further explained in connection with fig. 126, 127.
There is a twisting force on theinner structure 410 and theouter structure 420 of the rocker arm assembly due to the presence of two (or more) torsion springs 435, 437 (or a single larger torsion spring) on theunobstructed side 407 and the absence of a torsion spring on the obstructedside 405. The amount of play about theshaft 434 may be adjusted to ensure that the improvedrocker arm assembly 400 functions properly.
When two torsion springs 435, 437 are used, thetorsion spring 435 is considered the right side spring and is wound in the opposite direction of thetorsion spring 437. These different springs negate some of the spring force.
If only a single torsion spring is used, additional torsional forces need to be considered when designing the inner andouter structures 410, 420.
For dual torsion spring and single torsion spring designs, the relative strengths of the inner andouter structures 410, 420 may be adjusted to reduce bending to ensure proper performance. Further, the weight distribution of each structure along their length may be configured to provide suitable strength and structure while minimizing the inertial forces required to pivot the improvedrocker arm assembly 400 at the speeds required for cranking operation. The inner andouter structures 410, 420 include a number of decorative aspects that differ from the functional aspects disclosed herein.
Fig. 122 shows thelatch pin receptacle 485 receiving and retaining thelatch pin 501 when the latch pin is in the extended position.Latch pin 501 andlatch pin receptacle 485 may retaininner structure 410 assembled inouter structure 420. Even though the latch pin is shown as circular, it may have a flat end that corresponds to the flat seat.Latch pin 501 andlatch pin receptacle 485 may have any complementary shape that allows them to fit together.
Fig. 123 is a top view from above showing the outer structure of the first and second offsetregions 428, 429. Here, the difference from the outer structure of the rocker arm assembly of fig. 117 can be seen. The firstoutboard arm 421 near thefirst end 408 may be deflected to the left to accommodate an obstruction on the right side of the first end of therocker arm assembly 400. Similarly, the secondouter side arm 422 may also be biased to the left to accommodate obstructions on the right side of the first end of therocker arm assembly 400, maintaining the first and second outer side arms at approximately the same distance from each other as they extend from thesecond end 409 to thefirst end 408. This may create offset (cancellation)regions 428 and 429.
Fig. 124 is a plan view from below of the outer structure of fig. 123, also showing first and second offsetregions 428, 429. This also shows thelower cross arm 439. Due to the asymmetric design of the improvedrocker arm assembly 400, thelower cross arm 439 may be shown to add strength to neutralize forces and help prevent bending that might otherwise occur.
The latch-pin mount 485 described in connection with FIG. 122 above is also visible from this view.
Fig. 125 is a side view of anouter structure 420 in accordance with an aspect of the present invention. The firstouter side arm 421 and the first offsetportion 428 are visible in this view.
Fig. 126 is a perspective view of the top end of aninner structure 410 in accordance with an aspect of the present invention.
Fig. 127 is a perspective view of the bottom end of theinner structure 410 of fig. 126. Theshaft recess 413 is shown as being capable of receiving theshaft 434 and pivotally connecting theinner structure 410 to theouter structure 420. In fig. 126 and 127, ball axle holes 483 and 484 can receive roller axles (not shown) to retainrollers 415. In fig. 127, acup 448 may house thehydraulic lash adjuster 340 of fig. 116. The hydraulic lash adjuster (340 of fig. 116) has oil flow from an oil control valve (not shown).Cup 448 may be connected to provide internal passage of oil topassages 444 and 446. The oil passage may be connected to thelatch assembly 500 through an internal passage. An oil pressure greater than a threshold pressure provided by the oil control valve may cause thelatch assembly 500 to toggle. The latch pin (501 of fig. 120-122) may be set to its normal position (with low oil pressure) in the retracted position. When oil pressure greater than a threshold is supplied to the latch, it can switch to extend the latch pin (501 of 122, fig. 120). This is the "normal unlatched" setting.
Alternatively, the latch pin may be normally in the extended position at low oil pressure. When the oil pressure increases above a threshold, the latch pin may retract. This is a "normal latch" design.
FIG. 128 is a top view of the inner structure of FIG. 126 and 127.
FIG. 129 is a view of the inner structure of FIGS. 126-128 from the bottom side.
In fig. 129, avalve stem seat 417 is shown. The valve stemseat 417 compresses the engine valve stem to actuate the valve as the modifiedrocker arm assembly 400 pivots.
FIG. 130 is an end view of theinner structure 410 of FIGS. 126 and 129 as seen from the (first) end of the hinge.
FIG. 131 is an end view of theinner structure 410 of FIG. 126 and 130 from the (second) end of the latch.
Spring strut 447 is shown in FIGS. 128 and 131. One or more first torsion springs 435, 437 are fitted over and may be held in place by thespring strut 447. A single larger torsion spring may also be used in place of the first and second torsion springs 435, 437.
FIG. 132 is a perspective view of the improvedrocker arm assembly 400 of FIG. 118 and 122 as it would appear when installed in a cylinder head.
As in fig. 115 and 116, parts have been removed for clarity. Most notably, the shaft portion of the camshaft having three lobes for each engine valve has been removed. Anintermediate cam lobe 324 and oneouter cam lobe 326 are shown. Thesecond slider 426 is visible because one side lobe is not shown. As described above in the VVL rocker arm application, the second slider may ride on theouter cam lobe 326.
The camshaft is fixed through and past thecam tower 10. It is clear here that thespark plug tube 20 in the blockedregion 600 can interfere with a standard CDA or VVL rocker arm assembly. The first offsetportion 428 of the improvedrocker arm assembly 400 is adjacent thespark plug tube 20 in theinterference area 600. Due to its reduced width, it can now fit over the cap and function without hitting thespark plug tube 20.
FIG. 133 is a perspective view of another perspective of the improvedrocker arm assembly 400 of FIG. 118 and 122, as it would appear when mounted in a cylinder head.
This shows the same structure as in fig. 120, but from a top and near cylinder head centerline point of view, theunobstructed side 407 of the improvedrocker arm assembly 400 is viewed.Intermediate cam lobe 324 presses down onroller 415.
The first offsetportion 428 is shown adjacent theobstruction area 600 near thespark plug tube 20 to provide the desired clearance.
The second offsetportion 429 is also shown to provide additional space for the torsion springs 435, 437.
2. Cylinder head arrangement and assembly
2.1. Cylinder head device, assembly
As described in the preceding sections, many engines have designs that contain components from multiple manufacturers. Accordingly, it is desirable to design VVA technology to operate within a predefined cylinder head space, such as the CDA and VVL switching rocker arms previously described, which are modified by offset design to avoid cylinder head obstruction. In some cases, it is not possible or desirable to change a proven switching rocker arm design so that it can be used in an engine assembly. In such cases, limited modifications to a particular cylinder head assembly may be desirable.
2.2 Cylinder head arrangement modified for switching Rocker arm
A cylinder head assembly is described that positions a camshaft support at a location that provides additional space for a wider rocker arm assembly, such as a switching rocker arm assembly that does not require the use of a camshaft carrier. The use of camshaft carriers typically adds significant cost to the assembly.
It should be understood that the teachings of the present invention can be applied to a variety of engines, such as an inline four cylinder engine having four adjacent inline cylinders, a 3-cylinder head of a 6-cylinder engine, or other engine designs. The invention will also apply to an overhead cam V8 engine with two sets of four in-line cylinders. The invention will also be applied to a variety of switching rocker arm assemblies.
FIG. 139 is a plan view of acylinder head assembly 41 of a conventional inline four cylinder engine having 2 intake valves and 2 exhaust valves per cylinder with the valve covers removed. An inline four-cylinder engine will be described; however, it will be apparent to those skilled in the art that this would also apply to the 4-cylinder portion of a V8 engine.
Each cylinder of an in-line four cylinder engine is numbered four from the cylinder on the left to the cylinder on the right. Cylinder one and cylinder four are the outside or end cylinders, while cylinder two and cylinder three are considered the middle cylinders. Fig. 139 shows cylinder one as the left end cylinder, while cylinder four is the right end cylinder, cylinder two is referred to as the left middle cylinder, and cylinder three is referred to as the right middle cylinder. This expression would be useful as it would also cover a V8 engine as well as an in-line four cylinder engine.
For reference, the top of the graph 139 is considered to be the front of the engine, while the bottom of the graph is the rear of the engine.
A line passing through the cylinder one from the front to the rear of the cylinder is indicated byreference numeral 21. Thecam tower 10 is positioned on or near theline 21 and near the rear of the engine to fix anintake camshaft 36, also shown in phantom below theintake rocker arm 51. Thecam tower 10 employs cam bearings and acam tower cap 11 that stabilizes the cam tower and allows the cam tower to rotate during operation.
Similarly, anothercam tower 10 is located on or nearline 21 and near the front of the engine for securing theexhaust cam 40 below theexhaust rocker arm 61.
A line passing through the second cylinder from the front to the rear of the cylinder is indicated byreference numeral 23. Thecam tower 10 is positioned on or near theline 23 and near the rear of the engine to secure theintake cam 30. Similarly, anothercam tower 10 is positioned on or nearline 23 and near the front of the engine to secure theexhaust cam 40.
There are also other cam towers 10 located near the rear and front of the engine onlines 25 and 27 passing through cylinders three and four, respectively, for securingintake cam 30 andexhaust cam 40, respectively. There are also end supports 33 and 34 on the left and right sides of the exhaust camshaft and anend support 35 on the left side of the intake camshaft. In this embodiment, the right side of the intake camshaft has no end bearing.
In this design, the available space between the cam towers 10 is typically about 77 mm. VVA switching rocker arm assemblies typically have a width of approximately 29 mm. Two side-by-side VVA switching rocker arm assemblies do not fit the cam towers in the space when installed. Thus, the typical inline four cylinder engine cannot accommodate the VVA switching rocker arm assemblies.
Similarly, a V8 engine with overhead cams should have two cylinder heads similar to those shown in fig. 139. The same problem arises with the use of wider rocker arms or rocker arm assemblies in V8 engines.
One solution is to move the cam towers 10 between the cylinders outwardly in a direction away from the VVA rocker arm assembly. This solution makes it difficult to reach the cylinder head bolts, since the cylinder head bolts are also between the cylinders. It is beneficial to allow as many cylinder head bolts as possible to be freely accessed because the cylinder head is typically removed with the unitary piece having the cam and rocker arm assembly in place.
Another solution is to add a cam bearing carrier that contains all of the cam shaft support bearings and is assembled after bolting the cylinder head to the engine block. This solution has been shown to be costly and adds an additional sealing connection, which may be a leak path throughout the life of the engine.
The teachings of the present application permit the use of wider rocker arms on multiple cylinders in small engines without the need for a complete camshaft arrangement. In the first embodiment, this is done without any additional camshaft support.
In the second embodiment, a wider rocker arm is accommodated with a simple camshaft support that can also serve as an Oil Control Valve (OCV) mounting surface with the necessary oil control passage hole. The OCV is an ON/OFF hydraulic valve used in conjunction with a VVA rocker arm that enables VVA operation.
It has been determined that the camshaft span between the bearings can extend beyond 77mm without causing excessive bending, vibration or wear.
By modifying the placement of the camshaft support towers, a larger unsupported span between the towers is created. The space is kept increased to a reasonable amount, typically up to 129mm, without significant negative effects as indicated above.
The larger span creates additional space for the rocker arm assembly and can now accommodate a wider VVA rocker arm assembly.
It is also to be understood that the embodiments shown and described herein are exemplary and not limiting. The present design may be applied to a variety of other components near the camshaft that require additional space.
The VVA rocker arm assembly may be a VVL SRFF or CDA SRFFrocker arm assembly 130, which may be collectively referred to as a variable valve actuation switching rolling thumbwheel follower ("VVA SRFF").
Fig. 139 shows a VVA SRFF 300 (an example of a cylinder deactivation single lobe ("CDA") 1100 will also be shown later) similar to theVVL SRFF 100 described above. TheVVA SRFF 300 includes an inner rocker arm (122 of fig. 15) mounted inside and pivotally connected to an outer rocker arm (120 of fig. 15). Theinner rocker arm 122 and the outer rocker arm (120 of fig. 15) are pivotally connected together with apivot shaft 118 located at therear end 103 of theVVA SRFF 300.
Torsion springs 134 and 136 rotationally bias theinner rocker arm 122 relative to theouter rocker arm 124.
Thesliders 131 and 132 each rest on a cam surface. Theroller 129 rests on a different cam than the cams on which theslides 131, 132 rest. The VVL SRFF is designed to switch thelatch pin 200 of thelatch 201 to vary between low and high valve lift to change the performance of the engine.
Thesliders 131, 132,pivot shaft 118, and springs 134, 136 add additional width to thewa SRFF 300 and, therefore, require additional clearance on the cylinder head.
CDA SRFFs in the above listed "CDA SRFF applications" are described. It is also wider than conventional rocker arm assemblies and would benefit from the present invention.
FIG. 140 is a plan view of a cylinder head design according to one embodiment of the teachings of the present invention.
The embodiment described relates to mounting theVVA SRFF 300 on the outboard or end cylinders one and four. Fig. 140 shows aregion 301, indicated by cross-hatching, where acam tower 10 of conventional cylinder head design would be located, but is present in this embodiment. Here it can be seen that the prior art intake andexhaust rockers 51, 61 are narrower than theVVA SRFF rocker 130.
The portion of theexhaust camshaft 40 that extends beyond the left-side end cylinder (cylinder one) is fixed at its left end by theend support 13. The portion of theexhaust camshaft 40 that extends beyond the left end cylinder (cylinder one) is supported on its right side by thecam tower 10 of the left middle cylinder (cylinder two).
Similarly, the portion of theexhaust camshaft 40 that extends beyond the right-side end cylinder (cylinder four) is fixed at its left-side end by thecam tower 10 of the right-side middle cylinder (cylinder three). The portion of theexhaust camshaft 40 that extends beyond the right-side end cylinder (cylinder four) is supported on the right side thereof by theend support 15. The unsupported span of the exhaust camshaft beyond the right end cylinder (cylinder four) is about 126 mm. This is an acceptable unsupported span that does not affect engine operation.
Since there is no end bearing for theintake camshaft 30 near cylinder four, theoutside bearing 303 is attached to the rear of the engine adjacent to the right-side end cylinder (cylinder four). In some cases, theintake camshaft 36 should be extended, or another component should be attached so that theintake camshaft 36 is extended to be able to be supported by the attached outer bearing.
There may also be bearings mounted inside the engine housing if space allows.
This design increases the space between thecam tower 10 and the bearing support by about 64% from 77mm of unsupported length to about 126mm of unsupported length, giving the engine a 90mm space between adjacent cylinder centers or cylinder bore space, and a 13mm wide cam tower (typically for a 1.5-2.0L displacement engine). EachVVA SRFF 300 may now be installed as shown in fig. 140.
FIG. 141 is an elevational, cross-sectional view of the cylinder head of the embodiment shown in FIG. 140.
Here,VVA SRFF 130 is shown as it would appear when installed and running in an engine.End 101 ofVVA SRFF 130 pivots abouthydraulic lash adjuster 100. Theother end 103 actuates the stem of theengine intake valve 70 or theengine exhaust valve 80 against the resistance of thevalve spring 90.
FIG. 142 shows a plan view of a modified four cylinder engine embodiment according to another embodiment of the teachings of the present application. In this embodiment, the rocker arm assembly is used in place of the center cylinder (cylinders two and three).
In conventional cylinder head designs, a cam tower (10 in fig. 139) is typically provided over each of the cylinders. The location where the cam towers on conventional cylinder heads will be located is indicated byarea 140 in fig. 142.
Thecamshaft member 307 is mounted between the middle cylinders two and three. Thiscamshaft support 307 is designed to be removed to allow access to the cylinder head bolts during engine assembly. Thecamshaft support 307 may optionally include mounting structure to secure an Oil Control Valve (OCV) and an oil passage to connect the OCV to the rocker arm assembly. The OCV and the oil passage are used to provide oil pressure to cause the rocker arm assembly to switch from one mode to a second mode.
Thecamshaft support 307 comprises a camshaft bearing. Thecamshaft support 307 may be machined in advance and then installed in the cylinder head before the camshaft bore is completed, so that the cylinder head is ready for assembly. At the time of assembly, thecamshaft support 307 is removed, the cylinder head is fastened to the cylinder block, and thecam support 307 is reinstalled. Then, theVVA SRFF 300 and thecamshafts 30, 40 are installed.
In the present invention, the space between the cam supports is increased by about 58% from 77mm of unsupported length to about 122mm of unsupported length, giving the engine 90mm of space between adjacent cylinder centers or cylinder bore space, and a 13mm wide cam tower (typically for a 1.5-2.0L displacement engine). This results in an unsupported length between the camshafts that will be 140% of the space between the centers of adjacent cylinders, commonly referred to as "bore space" or "cylinder bore space". Thus, to equip a typical engine with a typical camshaft of a predetermined hardness, an unsupported length of up to 140% of the bore space may be the appropriate length to use. As the span becomes greater than 140% of the bore space, the bending effect of the camshaft begins to increase. Longer unsupported spans can be used, providing increased cam curvature. Thus, it is contemplated to compensate for the span +/-10 mm. The above arrangement works best in situations where not all of the cylinder rocker arms are replaced.
FIG. 143 is a plan view of anothercylinder head 43 of another conventional four-cylinder inline engine. Any valve train components attached to thecylinder head 43 are not shown. Thecylinder head 43 is attached to a cylinder block having a cylinder head bolt penetrating the cylinderhead bolt recess 32. There are fourspark plug tubes 20 centered above each cylinder. In this embodiment, there are two intake valve guides 38 and two exhaust valve guides 39 for each cylinder. The camshaft (not shown here) will be seated in thesemicircular cam bearing 32. These cam bearings are mounted on thecam tower 10. A cam tower cover (not shown) has a semi-circular shape and is bolted to the top of thecam tower 10, around and around its circumference. The left end of the camshaft will be positioned and fixed by means of theend support 33 and theend support 35.
The HLA recesses 37 are provided in line with the intake valve guide recesses 38 and the exhaust valve guide recesses 39. These recesses receive and secure a Hydraulic Lash Adjuster (HLA).
In fig. 143, the width ofcam tower 10 is indicated by width "a". In addition, the widths between the adjacent HLA recesses 37, intake valve recesses 38, and exhaust valve recesses 39 are indicated by the width "B".
Fig. 144 shows an elevation view and a plan view from below of a switching deactivated rocker arm assembly requiring only a single cam lobe (CDA) 1100. Here,roller bearing 1116, torsion springs 134, 136 can be seen. Typical dimensions are shown in fig. 144. For example, the length of the CDA is 50 cm. Between thecup 1148 that receives the HLA tip and thevalve insert 1140 that actuates the valve stem is 31.14 cm.
Fig. 145 is a plan view of the cylinder head of fig. 143 with the CDArocker arm assembly 1100 mounted on the ends of both cylinders one and four. With the camshaft removed, it can be seen more clearly that the CDA rocker arm assembly is wider than conventional rocker arm assemblies. The cam towers adjacent cylinder one and cylinder four must be removed to accommodate the wider CDA. Since the cam towers on the end cylinders have been removed, the camshaft should be supported at its ends by end supports 35,outboard bearings 303 added as already shown for the intake camshaft andbearings 33 and 34 for the exhaust camshaft. This employs a similar semi-circular bearing against which the cam abuts, and a semi-circular cam-tower cap that bolts the cam tower to secure the camshaft therebetween.
Fig. 146 is a plan view of the cylinder head of fig. 143 with a CDArocker arm assembly 1100 mounted on both the two middle cylinders two and three. In this case, there are no cam towers 10 for the middle cylinders two and three to allow for the extra width of the CDA mounted on the two middle cylinders. The camshaft must then be supported in the centre of the engine by means of a camshaft support, which is mounted between the two middle cylinders. This fixes the camshaft so that it can operate normally.
While this disclosure describes various aspects of the invention, and while these aspects are described in some detail, this is not intended to restrict or in any way limit the scope of the teachings claimed herein to such detail. Other advantages and modifications will be apparent to persons skilled in the art. Therefore, the teachings of the present application, in its broader aspects, are not limited to the specific details and illustrative examples shown and described. Accordingly, departures may be made from such details without departing from the spirit or scope of the applicant's claimed teachings. Moreover, the foregoing aspects are illustrative, and no single feature or element is essential to all possible combinations that may be claimed herein or otherwise.

Claims (19)

1. A cylinder head assembly for an engine having a plurality of adjacent cylinders, including a left end cylinder located at a leftmost side of the engine and a right end cylinder located at a rightmost side of the engine, the cylinder head assembly comprising:
at least one overhead camshaft passing over the plurality of adjacent cylinders;
an end support on a left-most side of the engine for supporting a first end of the at least one overhead camshaft;
an end support on a rightmost side of the engine for supporting a second end of the at least one overhead camshaft; and
a cam tower above at least one center cylinder of the plurality of adjacent cylinders for supporting the at least one overhead camshaft;
wherein a portion of the at least one overhead camshaft extending over the left end cylinder is supported by an end support on the leftmost side of the engine and a cam tower above the at least one center cylinder, and a portion of the at least one overhead camshaft extending over the right end cylinder is supported by an end support on the rightmost side of the engine and a cam tower above the at least one center cylinder, thereby providing additional clearance for mounting oversized rocker arm assemblies on the left and right end overhead cylinders, the oversized rocker arm assemblies each being configured to engage at least one lobe of the at least one overhead camshaft.
2. The cylinder head assembly of claim 1, wherein the oversized rocker arm assemblies are Cylinder Deactivation (CDA) rocker arm assemblies.
3. The cylinder head assembly of claim 1, wherein the oversized rocker arm assemblies are Variable Valve Lift (VVL) rocker arm assemblies.
4. The cylinder head assembly of claim 1, wherein the unsupported span above each end cylinder is less than 140% of the cylinder bore spacing between the centers of adjacent cylinders.
5. The cylinder head assembly of claim 1, wherein the maximum unsupported span above the cylinder has a length of 122mm (+/-10 mm).
6. The cylinder head assembly of claim 1, wherein the unsupported span above each end cylinder is less than 140% of the cylinder bore spacing between the centers of adjacent cylinders; and, the oversized rocker arm assemblies each comprise a width of 29 mm.
7. The cylinder head assembly of claim 1, wherein the unsupported span above each end cylinder comprises a distance greater than 77mm and less than or equal to 129 mm.
8. A cylinder head assembly for an engine having a plurality of adjacent cylinders, including a left end cylinder located at a leftmost side of the engine and a right end cylinder located at a rightmost side of the engine, the cylinder head assembly comprising:
At least one overhead camshaft passing over the left end cylinder;
an end support on a leftmost portion of the engine for supporting a first end of the at least one camshaft;
a cam tower above a left middle cylinder of the plurality of adjacent cylinders for supporting the at least one overhead camshaft;
wherein a portion of the at least one overhead camshaft extending over the left end cylinder is supported by the left end support and the cam tower above the left middle cylinder, thereby providing additional clearance for mounting oversized rocker arm assemblies on the left end cylinder, the oversized rocker arm assemblies each being configured to engage at least one lobe of the at least one overhead camshaft.
9. The cylinder head assembly of claim 8, wherein the oversized rocker arm assembly is a Cylinder Deactivation (CDA) rocker arm assembly.
10. The cylinder head assembly of claim 8, wherein the oversized rocker arm assembly is a Variable Valve Lift (VVL) rocker arm assembly.
11. The cylinder head assembly of claim 8, wherein the unsupported span above the left end cylinder is less than 140% of the distance between the centers of adjacent cylinders.
12. A cylinder head assembly according to claim 8, characterized in that the maximum unsupported span over the cylinders has a length of less than 122mm (+/-10 mm).
13. The cylinder head assembly of claim 8, wherein the unsupported span above the left end cylinder comprises a distance greater than 77mm and less than or equal to 129 mm.
14. A cylinder head assembly for an engine having a plurality of adjacent cylinders, including a left end cylinder located at a leftmost side of the engine and a right end cylinder located at a rightmost side of the engine, the cylinder head assembly comprising:
at least one overhead camshaft passing over the cylinders;
an end support on a rightmost portion of said engine for supporting said at least one overhead camshaft;
a cam tower above a right middle cylinder of the plurality of adjacent cylinders for supporting the at least one overhead camshaft;
wherein a portion of the at least one overhead camshaft extending over the right end cylinder is supported by the cam tower above the right middle cylinder and the right end support, thereby providing additional clearance for mounting oversized rocker arm assemblies on the right end cylinder, the oversized rocker arm assemblies each being configured to engage at least one lobe of the at least one overhead camshaft.
15. The cylinder head assembly of claim 14, wherein the oversized rocker arm assemblies are Cylinder Deactivation (CDA) rocker arm assemblies.
16. The cylinder head assembly as in claim 14, wherein the oversized rocker arm assemblies are Variable Valve Lift (VVL) rocker arm assemblies.
17. The cylinder head assembly of claim 14, wherein the unsupported span above the right end cylinder is less than 140% of the distance between the centers of adjacent cylinders.
18. The cylinder head assembly of claim 14, wherein the maximum unsupported span above the right end cylinder has a length of 122mm (+/-10 mm).
19. The cylinder head assembly of claim 14, wherein the unsupported span above the right end cylinder comprises a distance greater than 77mm and less than or equal to 129 mm.
CN201811196426.3A2013-04-122014-04-14Cylinder head apparatus for variable valve actuation rocker arm assemblyExpired - Fee RelatedCN109306917B (en)

Applications Claiming Priority (39)

Application NumberPriority DateFiling DateTitle
US201361811662P2013-04-122013-04-12
US61/811,6622013-04-12
US201361812707P2013-04-162013-04-16
US61/812,7072013-04-16
US13/868,0672013-04-22
US13/868,0252013-04-22
USPCT/US2013/0376672013-04-22
US13/868,0452013-04-22
US13/868,025US8985074B2 (en)2010-03-192013-04-22Sensing and control of a variable valve actuation system
US13/868,068US9284859B2 (en)2010-03-192013-04-22Systems, methods, and devices for valve stem position sensing
PCT/US2013/037665WO2013159120A1 (en)2012-04-202013-04-22Rocker assembly having improved durability
PCT/US2013/037667WO2013159121A1 (en)2012-04-202013-04-22Variable valve lift systems, methods, and devices
US13/868,054US9708942B2 (en)2010-03-192013-04-22Rocker arm assembly and components therefor
USPCT/US2013/0376652013-04-22
US13/868,0542013-04-22
US13/868,0352013-04-22
US13/868,0612013-04-22
US13/868,035US8915225B2 (en)2010-03-192013-04-22Rocker arm assembly and components therefor
US13/868,0682013-04-22
US13/868,067US9228454B2 (en)2010-03-192013-04-22Systems, methods and devices for rocker arm position sensing
US13/868,045US9267396B2 (en)2010-03-192013-04-22Rocker arm assembly and components therefor
US13/868,061US9038586B2 (en)2010-03-192013-04-22Rocker assembly having improved durability
US13/873,7972013-04-30
US13/873,7742013-04-30
US13/873,774US9291075B2 (en)2008-07-222013-04-30System to diagnose variable valve actuation malfunctions by monitoring fluid pressure in a control gallery
PCT/US2013/038896WO2013166029A1 (en)2012-04-302013-04-30Monitoring and diagnosis of variable valve actuation systems
US13/873,797US9016252B2 (en)2008-07-222013-04-30System to diagnose variable valve actuation malfunctions by monitoring fluid pressure in a hydraulic lash adjuster gallery
USPCT/US2013/0388962013-04-30
US14/028,3372013-09-16
US14/028,337US20140283768A1 (en)2008-07-222013-09-16Valvetrain oil control system and oil control valve
USPCT/US2013/0685032013-11-05
PCT/US2013/068503WO2014071373A1 (en)2012-11-052013-11-05Development of a switching roller finger follower for cylinder deactivation in internal combustion engines
US201361920297P2013-12-232013-12-23
US61/920,2972013-12-23
US14/188,339US9194261B2 (en)2011-03-182014-02-24Custom VVA rocker arms for left hand and right hand orientations
US14/188,3392014-02-24
PCT/US2014/019870WO2014134601A1 (en)2013-03-012014-03-03Latch interface for a valve actuating device
USPCT/US2014/0198702014-03-03
CN201410226228.2ACN104153906B (en)2013-04-122014-04-14 Cylinder head assembly for variable valve actuation rocker arm assembly

Related Parent Applications (1)

Application NumberTitlePriority DateFiling Date
CN201410226228.2ADivisionCN104153906B (en)2013-04-122014-04-14 Cylinder head assembly for variable valve actuation rocker arm assembly

Publications (2)

Publication NumberPublication Date
CN109306917A CN109306917A (en)2019-02-05
CN109306917Btrue CN109306917B (en)2021-08-13

Family

ID=51689969

Family Applications (3)

Application NumberTitlePriority DateFiling Date
CN201420273005.7UExpired - Fee RelatedCN204152661U (en)2013-04-122014-04-14Cylinder head assembly and fluid control system
CN201811196426.3AExpired - Fee RelatedCN109306917B (en)2013-04-122014-04-14Cylinder head apparatus for variable valve actuation rocker arm assembly
CN201410226228.2AExpired - Fee RelatedCN104153906B (en)2013-04-122014-04-14 Cylinder head assembly for variable valve actuation rocker arm assembly

Family Applications Before (1)

Application NumberTitlePriority DateFiling Date
CN201420273005.7UExpired - Fee RelatedCN204152661U (en)2013-04-122014-04-14Cylinder head assembly and fluid control system

Family Applications After (1)

Application NumberTitlePriority DateFiling Date
CN201410226228.2AExpired - Fee RelatedCN104153906B (en)2013-04-122014-04-14 Cylinder head assembly for variable valve actuation rocker arm assembly

Country Status (3)

CountryLink
EP (2)EP2984325B1 (en)
CN (3)CN204152661U (en)
WO (1)WO2014168988A1 (en)

Cited By (2)

* Cited by examiner, † Cited by third party
Publication numberPriority datePublication dateAssigneeTitle
US11530630B2 (en)2010-03-192022-12-20Eaton Intelligent Power LimitedSystems, methods, and devices for rocker arm position sensing
US11788439B2 (en)2010-03-192023-10-17Eaton Intelligent Power LimitedDevelopment of a switching roller finger follower for cylinder deactivation in internal combustion engines

Families Citing this family (32)

* Cited by examiner, † Cited by third party
Publication numberPriority datePublication dateAssigneeTitle
US9016252B2 (en)2008-07-222015-04-28Eaton CorporationSystem to diagnose variable valve actuation malfunctions by monitoring fluid pressure in a hydraulic lash adjuster gallery
US9291075B2 (en)2008-07-222016-03-22Eaton CorporationSystem to diagnose variable valve actuation malfunctions by monitoring fluid pressure in a control gallery
US9581058B2 (en)2010-08-132017-02-28Eaton CorporationDevelopment of a switching roller finger follower for cylinder deactivation in internal combustion engines
US8985074B2 (en)2010-03-192015-03-24Eaton CorporationSensing and control of a variable valve actuation system
US10415439B2 (en)2008-07-222019-09-17Eaton Intelligent Power LimitedDevelopment of a switching roller finger follower for cylinder deactivation in internal combustion engines
US9284859B2 (en)2010-03-192016-03-15Eaton CorporationSystems, methods, and devices for valve stem position sensing
WO2015134466A1 (en)2014-03-032015-09-11Eaton CorporationValve actuating device and method of making same
US9708942B2 (en)2010-03-192017-07-18Eaton CorporationRocker arm assembly and components therefor
US9038586B2 (en)2010-03-192015-05-26Eaton CorporationRocker assembly having improved durability
US9938865B2 (en)2008-07-222018-04-10Eaton CorporationDevelopment of a switching roller finger follower for cylinder deactivation in internal combustion engines
US11181013B2 (en)2009-07-222021-11-23Eaton Intelligent Power LimitedCylinder head arrangement for variable valve actuation rocker arm assemblies
US10087790B2 (en)2009-07-222018-10-02Eaton CorporationCylinder head arrangement for variable valve actuation rocker arm assemblies
US9194261B2 (en)2011-03-182015-11-24Eaton CorporationCustom VVA rocker arms for left hand and right hand orientations
US9874122B2 (en)2010-03-192018-01-23Eaton CorporationRocker assembly having improved durability
US9885258B2 (en)2010-03-192018-02-06Eaton CorporationLatch interface for a valve actuating device
USD750670S1 (en)2013-02-222016-03-01Eaton CorporationRocker arm
EP2984325B1 (en)*2013-04-122019-06-05Eaton CorporationCylinder head arrangement for variable valve actuation rocker arm assemblies
CN107849948B (en)*2015-06-042021-08-13伊顿公司 Electrical latch rocker arm assembly with built-in OBD capability
DE102015118113A1 (en)*2015-10-232017-04-27Dr. Ing. H.C. F. Porsche Aktiengesellschaft Valve train for an internal combustion engine, method for a valve train of an internal combustion engine and method for a valve clearance compensation element of a valve train
US10503181B2 (en)*2016-01-132019-12-10Honeywell International Inc.Pressure regulator
GB201710960D0 (en)*2017-07-072017-08-23Eaton SrlActuator arrangement
WO2019158268A1 (en)*2018-02-152019-08-22Eaton Intelligent Power LimitedEngine system and components for cylinder deactivation and early exhaust valve opening
CN113474539B (en)*2018-12-212024-01-05伊顿智能动力有限公司Oil cooling for electromagnetic latch accommodated in rocker arm
CN110700913B (en)*2019-09-242022-01-25东风商用车有限公司Plastic spacer bush of engine rocker shaft and manufacturing method thereof
DE102019133590A1 (en)*2019-12-092021-06-10Bayerische Motoren Werke Aktiengesellschaft Lift actuator for a variable lift valve train with two working positions
CN112131771B (en)*2020-09-182022-10-11重庆长安汽车股份有限公司Method for predicting engine oil leakage amount of valve oil seal of automobile engine
CN112345561B (en)*2020-11-122022-05-10东方电气集团东方汽轮机有限公司Effective flaw detection method for nuclear power welding rotor
CN114837767B (en)*2021-01-302023-06-27江苏常发农业装备股份有限公司Lubricating mechanism for engine rocker arm and engine
CN113153562A (en)*2021-05-112021-07-23广西玉柴机器股份有限公司Cylinder head structure with VVA subassembly
CN113378319B (en)*2021-06-242022-04-12宁波蓝海量子精工轴承制造有限公司Design method for end face grinding allowance of double-end-face asymmetric bearing ring
CN114486034B (en)*2022-01-152023-05-23重庆长安汽车股份有限公司Method for measuring valve seating force
CN118188097B (en)*2024-04-252024-11-05山东泰展机电科技股份有限公司Electronic valve control device for automobile

Citations (7)

* Cited by examiner, † Cited by third party
Publication numberPriority datePublication dateAssigneeTitle
GB171409A (en)*1920-11-121922-08-31Childe Harold WillsShaft retarding means
US4592314A (en)*1985-04-181986-06-03Yamaha Hatsudoki Kabushiki KaishaValve actuating mechanism for internal combustion engine
CN1532377A (en)*2003-03-202004-09-29日产自动车株式会社Internal combustion engine and its integrated cam rack
CN1605731A (en)*2003-10-102005-04-13日产自动车株式会社Cylinder head assembly for an internal combustion engine with a camshaft position sensor
CN101321930A (en)*2006-01-192008-12-10丰田自动车株式会社 Camshaft support structure of internal combustion engine
CN101397947A (en)*2007-09-272009-04-01三菱自动车工业株式会社Cylinder head
CN202732015U (en)*2012-08-142013-02-13北京长源朗弘科技有限公司Overhead camshaft cylinder cover

Family Cites Families (10)

* Cited by examiner, † Cited by third party
Publication numberPriority datePublication dateAssigneeTitle
US6053134A (en)*1998-08-282000-04-25Linebarger; Terry GlynCam operating system
JP4304255B2 (en)*2003-12-092009-07-29日産自動車株式会社 Variable valve mechanism for internal combustion engine
EP1731720A2 (en)*2005-06-062006-12-13Yamaha Hatsudoki Kabushiki KaishaMethod of mounting camshaft
EP1905967B1 (en)*2006-09-252009-12-16Honda Motor Co., Ltd.Variable valve lift internal combustion engine
JP4270313B2 (en)*2007-09-272009-05-27三菱自動車工業株式会社 cylinder head
AU2009274068B2 (en)2008-07-222013-07-25Eaton CorporationValvetrain oil control system and oil control valve
JP2010059821A (en)*2008-09-022010-03-18Jtekt CorpCamshaft device
DE102008062187A1 (en)*2008-12-132010-06-17Volkswagen AgInternal combustion engine, particularly for vehicle, comprises screw pipes that are arranged at opposite ends on bearing traverses, such that bearing bores of bearing traverse, are located between screw pipes
US8166939B2 (en)*2009-03-052012-05-01GM Global Technology Operations LLCCam bearing surface of an engine cylinder head that includes an axially extending oil passage
EP2984325B1 (en)*2013-04-122019-06-05Eaton CorporationCylinder head arrangement for variable valve actuation rocker arm assemblies

Patent Citations (7)

* Cited by examiner, † Cited by third party
Publication numberPriority datePublication dateAssigneeTitle
GB171409A (en)*1920-11-121922-08-31Childe Harold WillsShaft retarding means
US4592314A (en)*1985-04-181986-06-03Yamaha Hatsudoki Kabushiki KaishaValve actuating mechanism for internal combustion engine
CN1532377A (en)*2003-03-202004-09-29日产自动车株式会社Internal combustion engine and its integrated cam rack
CN1605731A (en)*2003-10-102005-04-13日产自动车株式会社Cylinder head assembly for an internal combustion engine with a camshaft position sensor
CN101321930A (en)*2006-01-192008-12-10丰田自动车株式会社 Camshaft support structure of internal combustion engine
CN101397947A (en)*2007-09-272009-04-01三菱自动车工业株式会社Cylinder head
CN202732015U (en)*2012-08-142013-02-13北京长源朗弘科技有限公司Overhead camshaft cylinder cover

Cited By (2)

* Cited by examiner, † Cited by third party
Publication numberPriority datePublication dateAssigneeTitle
US11530630B2 (en)2010-03-192022-12-20Eaton Intelligent Power LimitedSystems, methods, and devices for rocker arm position sensing
US11788439B2 (en)2010-03-192023-10-17Eaton Intelligent Power LimitedDevelopment of a switching roller finger follower for cylinder deactivation in internal combustion engines

Also Published As

Publication numberPublication date
EP3502451A1 (en)2019-06-26
CN204152661U (en)2015-02-11
CN104153906A (en)2014-11-19
EP2984325B1 (en)2019-06-05
WO2014168988A1 (en)2014-10-16
EP2984325A4 (en)2017-01-25
WO2014168988A9 (en)2015-08-06
EP2984325A1 (en)2016-02-17
CN104153906B (en)2018-11-06
EP3502451B1 (en)2021-11-10
CN109306917A (en)2019-02-05

Similar Documents

PublicationPublication DateTitle
CN109306917B (en)Cylinder head apparatus for variable valve actuation rocker arm assembly
CN204804892U (en)Switch switching rocking arm subassembly of rocking arm subassembly, latch assembly that is used for switching rocking arm subassembly, manufacture equipment and economy
CN204082242U (en) Improved rocker arm assembly
US10890086B2 (en)Latch interface for a valve actuating device
CN109915224B (en) rocker arm for engaging cam
US9664075B2 (en)Custom VVA rocker arms for left hand and right hand orientations
US10087790B2 (en)Cylinder head arrangement for variable valve actuation rocker arm assemblies
US9581058B2 (en)Development of a switching roller finger follower for cylinder deactivation in internal combustion engines
US11788439B2 (en)Development of a switching roller finger follower for cylinder deactivation in internal combustion engines
US20180058275A1 (en)Development of a switching roller finger follower for cylinder deactivation in internal combustion engines
US20170138230A1 (en)Development of a switching roller finger follower for cylinder deactivation in internal combustion engines
US20190338683A9 (en)Development of a switching roller finger follower for cylinder deactivation in internal combustion engines
US11181013B2 (en)Cylinder head arrangement for variable valve actuation rocker arm assemblies

Legal Events

DateCodeTitleDescription
PB01Publication
PB01Publication
SE01Entry into force of request for substantive examination
SE01Entry into force of request for substantive examination
TA01Transfer of patent application right
TA01Transfer of patent application right

Effective date of registration:20190920

Address after:Dublin, Ireland

Applicant after:Eaton Intelligent Power Co.,Ltd.

Address before:Ohio, USA

Applicant before:Eaton Corp.

GR01Patent grant
GR01Patent grant
CF01Termination of patent right due to non-payment of annual fee
CF01Termination of patent right due to non-payment of annual fee

Granted publication date:20210813


[8]ページ先頭

©2009-2025 Movatter.jp