Movatterモバイル変換


[0]ホーム

URL:


CN109171851B - Vaginal suture button - Google Patents

Vaginal suture button
Download PDF

Info

Publication number
CN109171851B
CN109171851BCN201810757209.0ACN201810757209ACN109171851BCN 109171851 BCN109171851 BCN 109171851BCN 201810757209 ACN201810757209 ACN 201810757209ACN 109171851 BCN109171851 BCN 109171851B
Authority
CN
China
Prior art keywords
positioning hole
conical
nail
cavity
wall
Prior art date
Legal status (The legal status is an assumption and is not a legal conclusion. Google has not performed a legal analysis and makes no representation as to the accuracy of the status listed.)
Active
Application number
CN201810757209.0A
Other languages
Chinese (zh)
Other versions
CN109171851A (en
Inventor
马鲁杭
马艺萌
马艺杨
杨圆圆
Current Assignee (The listed assignees may be inaccurate. Google has not performed a legal analysis and makes no representation or warranty as to the accuracy of the list.)
Wenzhou Peoples Hospital
Original Assignee
Wenzhou Peoples Hospital
Priority date (The priority date is an assumption and is not a legal conclusion. Google has not performed a legal analysis and makes no representation as to the accuracy of the date listed.)
Filing date
Publication date
Application filed by Wenzhou Peoples HospitalfiledCriticalWenzhou Peoples Hospital
Priority to CN201810757209.0ApriorityCriticalpatent/CN109171851B/en
Publication of CN109171851ApublicationCriticalpatent/CN109171851A/en
Application grantedgrantedCritical
Publication of CN109171851BpublicationCriticalpatent/CN109171851B/en
Activelegal-statusCriticalCurrent
Anticipated expirationlegal-statusCritical

Links

Images

Classifications

Landscapes

Abstract

The invention discloses a vaginal suture buckle which comprises a female buckle and a male buckle matched and fixed with the female buckle, wherein a cavity is arranged in the female buckle, a positioning hole communicated with the cavity is formed in the female buckle, a clamping plug matched with the positioning hole in a clamping mode is arranged on the male buckle, and the clamping plug is clamped with the positioning hole and is simultaneously contained in the cavity. The invention provides a vaginal suture buckle which is convenient to operate, can reduce the operation time, realizes quick suture and does not need suture lines.

Description

Vaginal suture button
Technical Field
The invention belongs to the technical field of medical instruments, and particularly relates to a vaginal suture buckle.
Background
In the operation of excision of the abdominal uterus, the vagina connected with the uterus needs to be cut off, after the excision of the uterus, the vagina fracture communicated with the uterus originally needs to be sutured and closed, the suture at the end of the vagina fracture can be sewn in various ways, the suture can be intermittently sewn, and the suture can be locked and sewn continuously.
Disclosure of Invention
In order to overcome the defects of the prior art, the invention provides the vaginal suture buckle which is convenient to operate, reduces the operation time, realizes quick suture and does not need to use a suture line.
In order to achieve the purpose, the invention adopts the technical scheme that: a vaginal suture buckle comprises a female buckle and a male buckle matched and fixed with the female buckle, wherein a containing cavity is arranged in the female buckle, a positioning hole communicated with the containing cavity is formed in the female buckle, a clamping plug matched with the positioning hole in a clamping mode is arranged on the male buckle, and the clamping plug and the positioning hole are clamped and simultaneously contained in the containing cavity.
By adopting the scheme, the clamping plug on the secondary buckle can pass through the vaginal wall to connect the vaginal wall at the vaginal fracture, then the clamping plug which penetrates out of the vaginal wall is aligned to the positioning hole on the female buckle and inserted into the positioning hole, the clamping plug can be prevented from being separated through clamping matching between the clamping plug and the positioning hole, meanwhile, the female buckle is also internally provided with a containing cavity for containing the clamping plug, and other tissues in the body can be prevented from being damaged by the sharp part of the clamping plug.
As a further arrangement of the invention, at least two grooves which are symmetrical along the center of the positioning hole are arranged on the hole wall of the positioning hole, a telescopic block is arranged in each groove, a telescopic spring is arranged between one end of the telescopic block and the inner wall of the groove in an abutting mode, a protruding rod which radially extends into the positioning hole is further arranged at the other end of the telescopic block, a first inclined surface which can be abutted and matched with a clamping plug when the clamping plug is inserted into the positioning hole and enables the telescopic block to retract into the groove is arranged on the protruding rod, the clamping plug comprises a conical nail which is in matched and inserted connection with the positioning hole, the conical nail is composed of a conical nail column and a conical nail head arranged on the conical nail column, a second abutting part is formed at the joint between the conical nail head and the conical nail column, and the second abutting part of the conical nail can be abutted and matched with the protruding rod when the conical nail is inserted into the accommodating cavity to prevent the conical nail from, the end, facing the containing cavity, of the positioning hole comprises a conical wall, and when the conical nail is inserted into the positioning hole, the conical wall is in interference fit with the conical surface of the conical nail.
By adopting the scheme, the two grooves which are symmetrical along the center of the positioning hole are at least arranged on the hole wall of the positioning hole, the telescopic block is arranged in the groove, the telescopic spring is arranged between one end of the telescopic block and the inner wall of the groove in an abutting mode, so that the protruding rod at the other end of the telescopic block can radially extend into the positioning hole under the action of no external force, therefore, when the conical nail head on the conical nail is inserted into the accommodating cavity, the second abutting part can form abutting fit for preventing the conical nail from being separated from the accommodating cavity with the protruding rod, and the conical wall can abut against fit with the conical surface of the conical nail when the conical nail is inserted into the positioning hole at one end of the positioning hole facing the accommodating cavity, so that the conical nail and the positioning hole are prevented from shaking, the male buckle and the female buckle are prevented from shaking, and the sewing stability is improved.
As a further arrangement of the telescopic block, hook teeth for preventing the telescopic block from falling off are arranged at the notch of the groove, and second inclined planes convenient for mounting the telescopic block are arranged on the hook teeth.
By adopting the scheme, the hook teeth for preventing the telescopic block from being separated are arranged at the notch of the groove, the telescopic block can be prevented from being separated, and the second inclined plane which is convenient for the installation of the telescopic block and is arranged on the hook teeth can be used for rapidly installing the telescopic block into the groove.
The invention is further described below with reference to the accompanying drawings.
Drawings
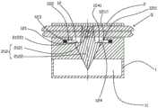
FIG. 1 is a structural sectional view ofembodiment 1 of the present invention;
FIG. 2 is a sectional view of a structure of a male tab inembodiment 1 of the present invention;
fig. 3 is a structural sectional view of the female buckle according toembodiment 1 of the present invention;
FIG. 4 is a top view of a tab according toembodiment 1 of the present invention;
fig. 5 is a top view of the female buckle according toembodiment 1 of the present invention;
FIG. 6 is a structural sectional view ofembodiment 2 of the present invention;
FIG. 7 is a sectional view showing a structure of a sub-buckle according toembodiment 2 of the present invention;
fig. 8 is a structural sectional view of a box inembodiment 2 of the present invention;
FIG. 9 is a top view of a tab according toembodiment 2 of the present invention;
fig. 10 is a top view of the female buckle according toembodiment 2 of the present invention;
fig. 11 is an enlarged view of a portion a of fig. 8.
Detailed Description
The specific embodiment of the invention is shown in fig. 1-5, and the vaginal suture buckle comprises afemale buckle 1 and amale buckle 2 which is matched and fixed with thefemale buckle 1, wherein acavity 11 is arranged in thefemale buckle 1, apositioning hole 12 which is communicated with thecavity 11 is arranged on thefemale buckle 1, aclamping plug 21 which is clamped and matched with thepositioning hole 12 is arranged on themale buckle 2, and theclamping plug 21 penetrates through avaginal wall 3 and is clamped with thepositioning hole 12 and is simultaneously accommodated in thecavity 11.
In this embodiment, aclamping wall 111 is formed on the inner wall of thecavity 11 around thepositioning hole 12, theclamping plug 21 includes a plurality of circumferentially uniformly distributedhooks 211 capable of being radially folded or unfolded, eachhook 211 includes apost 2111 and alatch 2112 disposed on thepost 2111, one end of thelatch 2112 facing thefemale buckle 1 includes asharp portion 2112a for piercing the vaginal wall, and afirst interference portion 2112b is included at the peripheral edge of the other end opposite to thesharp portion 2112a, and when theclamping plug 21 is inserted into thecavity 11, thefirst interference portion 2112b of theclamping plug 21 and theclamping wall 111 can form interference fit for preventing theclamping plug 21 from coming off from thecavity 11.
In this embodiment, thepositioning hole 12 is in a shape of a taper hole, and the diameter thereof is gradually reduced along the insertion direction of thesnap plug 21.
In this embodiment, anexpansion block 112 is disposed on an inner wall of the other side of thecavity 11 opposite to thepositioning hole 12, theexpansion block 112 is disposed at a center position corresponding to thepositioning hole 12, and theexpansion block 112 can be inserted between thehooks 211 and is opened outward to form a stop interference fit with thehooking wall 111.
In this embodiment, theexpansion block 112 has a conical shape, and the diameter thereof is gradually increased along the insertion direction of thesnap plug 21.
As shown in fig. 6 to 11, in another embodiment of the present invention, at least twogrooves 121 symmetrical to each other along the center of thepositioning hole 12 are disposed on the hole wall of thepositioning hole 12, each of thegrooves 121 is disposed with atelescopic block 122, atelescopic spring 123 is disposed between one end of thetelescopic block 122 and the inner wall of thegroove 121 in an abutting manner, the other end of thetelescopic block 122 is further disposed with a protrudingrod 124 radially extending into thepositioning hole 12, theprotruding rod 124 is disposed with a firstinclined surface 1241 capable of being abutted against and fitted with asnap plug 21 when inserted into thepositioning hole 12 and enabling thetelescopic block 122 to retract into thegroove 121, thesnap plug 21 includes aconical nail 212 engaged with thepositioning hole 12, theconical nail 212 is composed of aconical nail column 2121 and aconical nail head 2122 disposed on theconical nail column 2121, a second abuttingportion 21221 is formed at a connection between theconical nail head 2122 and theconical nail column 2121, and the secondabutting portion 21221 of theconical nail 212 can form a structure with therod 124 to prevent the conical nail from protruding into thecavity 11 Thetaper pin 212 is in interference fit with thetaper pin 212, and the end of thepositioning hole 12 facing thereceiving cavity 11 includes atapered wall 125, and when thetaper pin 212 is inserted into thepositioning hole 12, thetapered wall 125 is in interference fit with the tapered surface of thetaper pin 212.
In this embodiment, a notch of thegroove 121 is provided with ahook 1211 for preventing thetelescopic block 122 from falling off, and thehook 1211 is provided with a secondinclined surface 12111 for facilitating the installation of thetelescopic block 122.
The present invention is not limited to the above embodiments, and those skilled in the art can implement the present invention in other embodiments according to the disclosure of the present invention, or make simple changes or modifications on the design structure and idea of the present invention, and fall into the protection scope of the present invention.

Claims (2)

1. A vaginal suture clasp characterized by: the female buckle is internally provided with a cavity, the female buckle is provided with a positioning hole communicated with the cavity, the male buckle is provided with a clamping plug in clamping fit with the positioning hole and is simultaneously accommodated in the cavity when being clamped with the positioning hole, the wall of the positioning hole is provided with at least two grooves symmetrical along the center of the positioning hole, each groove is internally provided with a telescopic block, a telescopic spring is arranged between one end of each telescopic block and the inner wall of the corresponding groove in a butting manner, the other end of each telescopic block is also provided with a protruding rod radially extending into the positioning hole, the protruding rod is provided with a first inclined surface which can be in butting fit with the clamping plug when the clamping plug is inserted into the positioning hole and enables the telescopic block to retract towards the inside of the corresponding groove, the clamping plug comprises a taper nail matched and inserted with the positioning hole, and the taper nail comprises a taper nail column and a taper head arranged on the taper nail column, the conical nail comprises a conical nail body and a conical nail column, wherein a first abutting part is formed at the joint between the conical nail head and the conical nail column, the first abutting part can form abutting fit for preventing the conical nail from falling out of the accommodating cavity with the protruding rod when the conical nail is inserted into the accommodating cavity, one end, facing the accommodating cavity, of the positioning hole comprises a conical wall, and the conical wall is in abutting fit with the conical surface of the conical nail when the conical nail is inserted into the positioning hole.
CN201810757209.0A2018-07-112018-07-11Vaginal suture buttonActiveCN109171851B (en)

Priority Applications (1)

Application NumberPriority DateFiling DateTitle
CN201810757209.0ACN109171851B (en)2018-07-112018-07-11Vaginal suture button

Applications Claiming Priority (1)

Application NumberPriority DateFiling DateTitle
CN201810757209.0ACN109171851B (en)2018-07-112018-07-11Vaginal suture button

Publications (2)

Publication NumberPublication Date
CN109171851A CN109171851A (en)2019-01-11
CN109171851Btrue CN109171851B (en)2020-08-21

Family

ID=64935973

Family Applications (1)

Application NumberTitlePriority DateFiling Date
CN201810757209.0AActiveCN109171851B (en)2018-07-112018-07-11Vaginal suture button

Country Status (1)

CountryLink
CN (1)CN109171851B (en)

Families Citing this family (1)

* Cited by examiner, † Cited by third party
Publication numberPriority datePublication dateAssigneeTitle
CN111012521A (en)*2019-12-182020-04-17华中科技大学同济医学院附属协和医院 Tumor-free device for colorectal tumor surgery and method of use

Family Cites Families (11)

* Cited by examiner, † Cited by third party
Publication numberPriority datePublication dateAssigneeTitle
IT1284177B1 (en)*1996-06-271998-05-08Gabriele Valenti STRAIGHTENER FOR SURGICAL SUTURES
GB9806175D0 (en)*1998-03-231998-05-20Banayan FarajollahNon-sewing exchangeable buttons
DE19962976C1 (en)*1999-12-242001-09-20Huf Huelsbeck & Fuerst Gmbh Combined mechanical and electronic key, especially for locks on vehicles
CN1317998C (en)*2003-09-042007-05-30马剑文 Degradable medical tissue sutures
US20060184201A1 (en)*2005-02-172006-08-17James Jervis ESuture retainer with suture guide and method of using a suture retainer with a suture guide
US7506791B2 (en)*2006-09-292009-03-24Ethicon Endo-Surgery, Inc.Surgical stapling instrument with mechanical mechanism for limiting maximum tissue compression
CN201943310U (en)*2010-12-172011-08-24上海亚士创能投资有限公司Combined fastener and anchoring component with same for fixing heat-preserving decorating composite board
CN202649889U (en)*2012-05-072013-01-02品固企业股份有限公司 Buckle set with positioning structure
CN104644229A (en)*2015-03-032015-05-27湖南然元医用高科技蛋白线有限公司Suture buckle
CN204971874U (en)*2015-09-252016-01-20刘红Wound processing apparatus after pernicious seroperitoneum tapping
CN105686769B (en)*2016-02-252018-07-31广东康城物业管理服务有限公司Brush with replaceable sponge core

Also Published As

Publication numberPublication date
CN109171851A (en)2019-01-11

Similar Documents

PublicationPublication DateTitle
US4013310A (en)Tubing connector
JP6236618B1 (en) Fastener
JP3251775B2 (en) clip
US7934296B2 (en)Binding band and binding band set
JPS63300751A (en)Surgical stapler apparatus
CN109171851B (en)Vaginal suture button
US6391041B1 (en)Retractable ophthalmic surgical tool
EP1734299A3 (en)Pull tab verifier assembly for quick connectors
US6003213A (en)Ball and socket buckle
CA2657467A1 (en)High density implantable connector
TWM520748U (en)Circular rapid connector
JP2019005053A (en) Female connector
US9855044B2 (en)Apparatus and method for delivering surgical tissue connectors into an abdominal cavity and removing the surgical tissue connectors from the abdominal cavity
JP3083998B2 (en) Fasteners for accessories and methods of using the same
US3985415A (en)Locking plug and receptacle therefor
US20020077602A1 (en)Needle holder positioning structure for a safety syringe
CN111567999A (en)Bracelet lock catch structure
US6273741B1 (en)Locking connector for antenna cable
US2138735A (en)Attaching device
EP1369138A1 (en)Needle holder positioning structure for a safety syringe
JPS588972Y2 (en) stopper
CN216628125U (en)Quilt cover clamping plate
JPS58128519A (en)Connecting tool
EP4465776A3 (en)Pcb connector
BR112012023739B1 (en) CHARGER CHARGER FOR BODY DRILLING INSTRUMENT

Legal Events

DateCodeTitleDescription
PB01Publication
PB01Publication
SE01Entry into force of request for substantive examination
SE01Entry into force of request for substantive examination
GR01Patent grant
GR01Patent grant

[8]ページ先頭

©2009-2025 Movatter.jp