Movatterモバイル変換


[0]ホーム

URL:


CN109157269B - Puncture outfit sealing protection device and sealing system - Google Patents

Puncture outfit sealing protection device and sealing system
Download PDF

Info

Publication number
CN109157269B
CN109157269BCN201811282992.6ACN201811282992ACN109157269BCN 109157269 BCN109157269 BCN 109157269BCN 201811282992 ACN201811282992 ACN 201811282992ACN 109157269 BCN109157269 BCN 109157269B
Authority
CN
China
Prior art keywords
sealing
wall
pleats
protection device
pleat
Prior art date
Legal status (The legal status is an assumption and is not a legal conclusion. Google has not performed a legal analysis and makes no representation as to the accuracy of the status listed.)
Active
Application number
CN201811282992.6A
Other languages
Chinese (zh)
Other versions
CN109157269A (en
Inventor
朱莫恕
Current Assignee (The listed assignees may be inaccurate. Google has not performed a legal analysis and makes no representation or warranty as to the accuracy of the list.)
5r Med Technology Chengdu Co ltd
Original Assignee
5r Med Technology Chengdu Co ltd
Priority date (The priority date is an assumption and is not a legal conclusion. Google has not performed a legal analysis and makes no representation as to the accuracy of the date listed.)
Filing date
Publication date
Application filed by 5r Med Technology Chengdu Co ltdfiledCritical5r Med Technology Chengdu Co ltd
Priority to CN201811282992.6ApriorityCriticalpatent/CN109157269B/en
Publication of CN109157269ApublicationCriticalpatent/CN109157269A/en
Application grantedgrantedCritical
Publication of CN109157269BpublicationCriticalpatent/CN109157269B/en
Activelegal-statusCriticalCurrent
Anticipated expirationlegal-statusCritical

Links

Images

Classifications

Landscapes

Abstract

The invention discloses a puncture outfit sealing protection device and a sealing system. The guard includes a proximal opening, a distal end, and a central axis. The distal end includes a plurality of pleats, each of the pleats including a pleat peak, a pleat valley, and a pleat wall extending from the pleat peak to the pleat valley. The plurality of pleats are arranged in a dish-shape about a central axis and define a distal aperture, the distal aperture being bordered by a wavy annular line. The wavy annular line is entirely on a cylindrical surface or entirely on a conical surface. The intersection line of any cylindrical surface which takes the central axis as the center of a circle and all folds in the area adjacent to the far-end hole is a complete wavy annular line. The proximal opening of the protective device further includes a boss and a cylindrical wall extending from the proximal end to the distal end. The situation that the protection device is interfered with each other can not occur after the sealing film and the protection device are turned inwards, and the bending accumulation and winding of the protection device and the sealing film can be lightened, so that the friction resistance after the inversion is reduced.

Description

Puncture outfit sealing protection device and sealing system
The application is named as: a pleated puncture outfit sealing system, the application date is: the application number of the product is 2016, 08 and 02: division of the invention patent application of 201610630336.5.
Technical Field
The invention relates to a minimally invasive surgical instrument, in particular to a puncture outfit sealing structure.
Background
A puncture device is a surgical instrument used in minimally invasive surgery (especially hard endoscopic surgery) to create an artificial channel into a body cavity. Typically consisting of a cannula assembly and a needle. The clinical general use mode is as follows: a small incision is made in the patient's skin and the needle is passed through the cannula assembly, and then passed through the abdominal wall together through the skin opening and into the body cavity. Once the body cavity is accessed, the needle is removed, leaving the cannula assembly as a passageway for instruments to enter and exit the body cavity.
In hard endoscopic surgery, a stable pneumoperitoneum is often created and maintained to obtain sufficient surgical space. The cannula assembly is typically comprised of a cannula, a housing, a sealing membrane (also known as an instrument seal) and a zero seal (also known as an auto seal). The cannula penetrates from outside the body cavity into the body cavity as a passageway for instruments to enter and exit the body cavity. The housing connects the sleeve, zero seal and sealing membrane into a sealed system. The zero seal typically does not provide a seal to the inserted instrument, but automatically closes and forms a seal when the instrument is removed. The sealing membrane grips the instrument and forms a seal when the instrument is inserted.
In a typical endoscopic procedure, 4 puncture passages are usually established in the patient's abdominal wall, namely 2 small-diameter cannula assemblies (typically 5 mm) and 2 large-diameter cannula assemblies (typically 10-12 mm). Instruments that are typically accessed into the patient via a small inner diameter cannula assembly perform only a secondary operation; one of the large inner diameter sleeve assemblies serves as an endoscope channel; while the other large inner diameter cannula assembly serves as the primary channel for the surgeon to perform the procedure. The primary channel described herein, about 80% of the time, was used with a 5mm instrument; about 20% of the time other large diameter instruments are applied; and the 5mm instrument and the large-diameter instrument need to be frequently switched in the operation. The time for applying the small-diameter instrument is longest, and the sealing reliability is important; the application of large diameter instruments is often a critical stage in surgery (e.g., vascular closure and tissue suturing), where switching convenience and operational comfort are important.
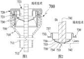
Figures 1 and 2 depict a typical 12mmgauge cannula assembly 700 of the prior art. Theferrule assembly 700 includes alower housing 710, anupper housing 720 and asealing membrane 730 sandwiched between the upper andlower housings 720, 710, aduckbill seal 750. Thelower shell 710 includes a central throughbore 713 defined by anelongate tube 711. Theupper housing 720 includes aproximal bore 723 defined by aninner wall 721. Thesealing membrane 730 includes aproximal opening 732, adistal hole 733, asealing lip 734, a truncatedcone sealing wall 735, aflange 736, and an outer floatingportion 737. Thedistal opening 733 is formed by a sealinglip 734. Defining an axis of the sealing lip as 741, defining atransverse plane 742 generally perpendicular to theaxis 741; the angle between the generatrix of revolution defining the truncatedcone seal wall 735 and saidtransverse plane 742 is the angle of guidance ANG1.
When a 5mm instrument is inserted, as in fig. 1, it is approximately believed that only the hoop forces generated by deformation of thesealing lip 734 ensure a reliable seal for the instrument. While performing surgery, it is often necessary to operate the instrument from various limiting angles. The 5mm instrument has a large radial clearance space in the 12mm cannula which places the sealinglip 734 radially more stress. Thesealing lip 734 should therefore have sufficient hoop force for an inserted 5mm instrument to ensure its sealing reliability.
As shown in FIG. 2, a diameter D is madei (Di > 5 mm) cylinder intersects thesealing wall 735 to form a diameter Di Is shown as intersectingline 738. Those skilled in the art will certainly appreciate that if the insertion diameter is Di The sealingwall 735 has a greater strain (stress) from thesealing lip 734 to theintersection 738, which is referred to as the region adjacent to the sealing lip (or stress concentration region); while thesealing wall 735 has less strain (stress) from theintersection 738 to theflange 736. Diameter D of insertion instrumenti The boundary ranges of the adjacent areas (stress concentration areas) of the seal lips are different in size. Definition of time D for easy quantizationi The area from thesealing lip 734 to theintersection 738 is the area adjacent to the sealing lip when the maximum diameter of the surgical instrument through the sealing membrane is designed.
As shown in fig. 3, upon insertion of a large diameter instrument (e.g., 12.8 mm), thesealing lip 734 will expand to a suitable size to accommodate the inserted instrument; thesealing wall 735 is divided into aconical wall 735c and acylindrical wall 735 d; thecylindrical wall 735d wraps around the outer surface of the device, creating a highly concentrated area of wrap for the stress. Defining the intersection ofconical wall 735c andcylindrical wall 735d as 738a; when the instrument is removed, thesealing wall 735 returns to its natural state, defining theintersection 738a to rebound to a radius Dx Is not shown in the figures); the intersection 738b is the curved line of demarcation when a large diameter instrument is inserted. An included angle between a rotation generatrix of theconical wall 735c and thetransverse plane 742 is defined as ANG2, and ANG2 > ANG1; that is, when a large diameter instrument is inserted, theseal wall 735 rotates and expands about the intersection line of theflange 736 and theseal wall 735. Defines the height of thecylindrical wall 735d as Ha . The H isa Not constant, the distal hole size is different, the sealing lip size is different, the wall thickness of the sealing wall is different, and factors such as different guide angles or different diameters of the insertion instrument will cause Ha Different.
When the instruments inserted into the sealing membrane are moved during the operation, a large frictional resistance exists between the wrapping area and the inserted instruments. The large friction resistance generally causes the sealing film to turn inwards, the operation comfort is poor, the operation is tired, even the sleeve assembly is fixed on the abdominal wall of a patient, and the like, which affects the usability of the sleeve assembly.
Among the drawbacks caused by the large frictional resistance, the inversion of the sealing film is one of the most serious problems affecting the service performance of the sleeve assembly. As shown in fig. 4, seal membrane inversion is likely to occur when the large diameter instrument is pulled out. Theseal wall 735 after inversion is divided into acylindrical wall 735e, a conical wall 735f, and aconical wall 735g; thecylindrical wall 735e wraps around the outer surface of the device, forming a highly stress concentrated wrap area. Defining the height of thecylindrical wall 735e as Hb Generally Hb Greater than Ha The method comprises the steps of carrying out a first treatment on the surface of the That is, the frictional resistance when the instrument is pulled out is greater than the frictional resistance when the instrument is inserted; this discrepancy affects the surgeon's operating experience and even causes the surgeon to create an illusion. More seriously, the inverted sealing membrane may enter theproximal bore 723, i.e. the sealing membrane may build up between the device and theinner wall 721 causing seizing. Measures for preventing inversion of the sealing film are disclosed in US7112185, US7591802, respectively; these measures can effectively reduce the inversion probability but do not completely solve the inversion problem.
The simplest way to reduce the friction resistance is to use grease to reduce the friction coefficient between the two contact surfaces. But the reliability of this measure is not good. In clinical application, grease is easily separated from the surface of the sealing film and taken away due to long-term repeated scraping of the device with the sealing film and repeated switching of various devices, so that poor lubrication is caused.
A protective sheet against a sealing film is disclosed in US 5342315. The protective sheet can avoid the sharp edge of the instrument from damaging the sealing film, and the friction resistance can be reduced to a certain extent because the friction coefficient of the surface of the protective sheet is smaller than that of the sealing film. But the area adjacent the sealing lip is generally not completely covered by the protective sheet.
In US5827228 a ribbed sealing film is disclosed, i.e. a sealing film having several radially divergent ribs starting from the vicinity of the central hole, which ribs reduce the contact area between the insertion instrument and the sealing film, thereby reducing said frictional resistance. An approximation of the stiffening rib has been disclosed in EP0994740 to have the effect of reducing the contact area and increasing the axial tensile strength of the sealing membrane.
A corrugated sealing membrane is disclosed in US7842014, which is mainly characterized by having a wavy sealing lip and a wavy corrugated sealing body. The fold structure can increase the circumferential perimeter and reduce the hoop tightening force to a certain extent.
Chinese patent application CN101480354a (currently rejected) discloses a sealing film comprising easily deformable grooves, starting from a sealing lip, on the conical surface of which there are several easily deformable grooves; the wall thickness of the easy-to-deform groove is far smaller than that of the conical surface; the inserted large diameter instrument is accommodated primarily by the elongated deformation of the flexible channel.
Although many solutions for reducing the frictional resistance have been disclosed in the prior art, the disclosed solutions have been proposed essentially only from the point of view of a certain factor affecting the frictional resistance, with little or no effect on reducing the frictional resistance. Other drawbacks are introduced in some schemes even by improving one factor. For example, the addition of reinforcing ribs to the sealing film reduces the contact area, but increases the hoop force; for example, the use of the easily deformable groove with the thickness much smaller than the truncated conical surface can lead to the easily deformable groove being easily damaged; for example, if the wavy sealing lip increases the circumferential circumference of the opening of the sealing membrane, thereby sacrificing sealing reliability when a 5mm instrument is applied, if the wavy sealing lip does not increase the circumferential circumference of the opening of the sealing membrane, the wavy sealing lip has lost improvement over the purely circular sealing lip. In summary. Many factors influence the frictional resistance, and the combined action of the factors must be considered from the mechanical and tribological aspects.
The sealing film is generally made of a rubber material such as natural rubber, silicone rubber, isoprene rubber, etc., which has superelasticity and viscoelasticity. Although the mechanical model of the rubber deformation process is complex, the elastic behavior of the rubber can be approximately described by generalized Hooke's law; the viscous behavior is described by newtonian internal friction law. Studies have shown that the main factors affecting the friction force generated by contact of rubber with the instrument include: the friction force is smaller as the friction coefficient of the two contact surfaces is smaller; the better the lubrication condition between the two contact surfaces is, the smaller the friction force is; the smaller the real contact area between the two contact surfaces is, the smaller the friction force is; the smaller the normal pressure between the two contact surfaces, the lower the friction. The present invention combines the above factors and proposes a more complete solution for reducing the frictional resistance between the sealing membrane and the insertion instrument.
In addition to the aforementioned frictional resistance that greatly affects the performance of the cannula assembly, seal film stick-slip is another important factor that affects the performance of the penetrator. The stick-slip, i.e. the relatively static adhesion of the sealing lip of the sealing membrane and its immediate area to the instrument when the instrument is moved axially in the cannula (the friction between the instrument and the sealing membrane is mainly static friction); the phenomenon of relative sliding with the instrument is generated (the friction force between the instrument and the sealing film is mainly dynamic friction force at the moment); and the static friction force is much greater than the dynamic friction force. The static friction and dynamic friction alternate, which results in unstable resistance and unstable movement speed of the instrument in the sealing membrane. Those skilled in the art will appreciate that in minimally invasive surgery, a physician can only access the internal organs of a patient with the instrument and monitor the local extent of the working head of the instrument by means of an endoscopic imaging system. In such a case of limited visual field and tactile blocking, the surgeon generally uses the resistance feedback when moving the instrument as one of the information for determining whether the operation is normal. The sealing film stick-slip affects the comfort of operation, positioning accuracy, and even induces erroneous judgment by doctors.
The stick slip is difficult to avoid completely, but can be reduced during use of the cannula assembly. Studies have shown that the stick-slip is affected by two main factors: firstly, the smaller the difference value between the maximum static friction force and the dynamic friction force is, the weaker the stick-slip is; and secondly, the greater the axial tensile rigidity of the sealing film is, the weaker the stick-slip is. The method has the advantages that the excessive hoop tightening force between the sealing film and the instrument is avoided, the real contact area between the sealing film and the instrument is reduced, the good lubrication between the sealing film and the instrument is kept, and the difference value between the maximum static friction force and the dynamic friction force can be reduced, so that the stick-slip is reduced. And meanwhile, the axial tensile rigidity of the sealing film is increased, and the sticking and sliding phenomena are also reduced. The invention also provides a measure for improving the stick-slip.
In view of the foregoing, there is no sleeve assembly that effectively solves the foregoing problems.
Disclosure of Invention
It is therefore an object of the present invention to provide a sealing system which reduces frictional resistance and improves stick-slip when applying large diameter instruments, while ensuring a reliable seal for inserted 5mm instruments. The sealing system comprises a sealing membrane and a first protection device; the sealing film is connected with the first protection device; the sealing membrane comprising a proximal opening and a distal aperture, and a sealing wall extending from the distal aperture to the proximal end, the sealing wall having a proximal face and a distal face, the distal aperture being formed by a sealing lip; the first protective device includes a proximal opening and a distal opening and a protective wall extending from the distal opening to the proximal end.
As mentioned in the background, the wrapping area formed by the sealing lip and its immediate area during insertion of large diameter instruments is the source of greater frictional resistance. To reduce the frictional resistance, the reduction of the radial stress between the device and the sealing film, the reduction of the wrapping area between the device and the sealing film and the reduction of the real contact area between the device and the sealing film should be comprehensively considered. It will be appreciated by those skilled in the art that increasing the circumferential perimeter reduces the circumferential strain (stress) and thus the radial strain (stress) as known from the broad hooke's law and poisson effect. It should be noted that the strain (stress) of the sealing lip cannot be reduced by increasing the circumferential perimeter, which would result in reduced seal reliability when a 5mm instrument is applied. The circumferential perimeter of the adjacent sealing lip region should be rapidly increased due to the high concentration of stresses in the adjacent sealing lip region when large diameter instruments are applied; for areas other than the immediate area of the sealing lip, no provision may be made to increase the circumferential perimeter due to less strain (stress). In addition, the circumferential perimeter is increased, and meanwhile, the axial tensile rigidity of the adjacent area of the sealing lip is increased, and good lubrication is kept (the difference between the maximum static friction force and the dynamic friction force is reduced), so that the stick-slip of the adjacent area of the sealing lip is improved.
In one aspect of the invention, the sealing wall of the sealing film comprises a plurality of pleats circumscribing the sealing lip and extending laterally outwardly, each of the pleats comprising a pleat peak, a pleat valley, and a pleat wall extending from the pleat peak to the pleat valley, and the pleats being arranged in a dished pattern about the sealing lip as a whole. The protective wall of the first protective means comprises the same number of folds matching the shape and size of the sealing wall. The boundary of the distal opening of the first protection means is formed by a wavy loop line, which is on the same cylindrical surface or on the same conical surface entirely.
In an alternative embodiment, the seal film has a pleat depth that increases progressively as the pleats extend laterally outward. In yet another aspect, the seal membrane has a pleat depth that remains constant from pleat to pleat depth as the pleats extend laterally outward. In yet another aspect, the seal membrane has a pleat depth that gradually decreases as the pleats extend laterally outward. In yet another aspect, the sealing wall comprises 10 pleats.
In an alternative embodiment, the protective wall comprises a plurality of cut-out grooves in the vicinity of the distal opening of the first protective means. In yet another aspect, the proximal end of the first guard further comprises a boss and a cylindrical wall, as well as, each pleat of the first guard comprises a pleat peak, a pleat valley, and a pleat wall extending from the pleat peak to the pleat valley; the pleats of the first protection device extend laterally outwardly from the distal opening thereof and the pleat valleys thereof intersect the cylindrical wall extension, while the pleat peaks thereof and adjacent pleat walls thereof are cantilevered from intersecting the cylindrical wall.
In yet another alternative, the sealing membrane further comprises a flange and an inner groove, the first protection means comprising a boss of a shape and size matching the inner groove, the boss being embedded in the inner groove such that the protection wall is proximate to the proximal face of the sealing wall, the first protection means moving or floating with the sealing membrane. In yet another aspect, the sealing system includes a sealing membrane, a first protection device, a first securing ring, and a second securing ring; the first and second securing rings secure the first protective device and the sealing membrane together such that a protective wall of the first protective device is proximate a proximal face of the sealing wall, the protective device moving or floating with the sealing membrane. In yet another aspect, the sealing system includes a sealing membrane, a first protection device, a second protection device; the second protection means comprises the same number of folds matching the shape and size of the sealing wall. The first protection device is adhered to the proximal end of the sealing wall, and the second protection device is adhered to the distal end of the sealing wall, so that the protection wall of the protection device is close to the proximal end face of the sealing wall, and the second protection wall is close to the distal end face of the sealing wall. The first and second protection devices move or float with the sealing film.
In yet another alternative, the sealing membrane includes a flange and an outer floating portion extending from the flange to the proximal opening, the outer floating portion having at least one transverse fold. The sealing system further includes an upper housing and an upper cover, the proximal opening of the sealing membrane is sandwiched between the upper housing and the upper cover, and the sealing membrane is movable or floatable within a seal cartridge formed by the upper housing and the upper cover during the float portion.
Another object of the present invention is to provide a puncture outfit. The puncture outfit comprises any one of the sealing systems, and further comprises a sleeve, a duckbill seal and a lower cover; the duckbill seal is secured between the sleeve and the lower cap to form a first seal assembly; the sealing system and the first sealing component are fixed together through a quick locking structure.
The above and other objects, features and advantages of the present invention will become more apparent when taken in conjunction with the accompanying drawings and detailed description.
Drawings
For a fuller understanding of the nature of the present invention, reference should be made to the following detailed description taken in conjunction with the accompanying drawings in which:
FIG. 1 is a simulated deformation of a prior art cannula assembly as it is inserted into a 5mm instrument;
fig. 2 is a detailed view of asealing film 730 of the prior art;
FIG. 3 is a simulated deformation of a prior art cannula assembly as it is inserted into a 12.8mm instrument;
FIG. 4 is a simulated deformation of the prior art cannula assembly as it is withdrawn from a 12.8mm instrument;
FIG. 5 is a perspective, partial cross-sectional view of the sleeve assembly of the present invention;
FIG. 6 is a top perspective view of the sealing membrane assembly of the sleeve assembly of FIG. 5;
FIG. 7 is a longitudinal cross-section of the sealing membrane assembly shown in FIG. 6;
FIG. 8 is a perspective view of the sealing membrane of FIG. 6 with the proximal end and floating portion omitted;
FIG. 9 is a reverse perspective view of the sealing membrane of FIG. 8;
FIG. 10 is a cross-sectional view 10-10 of the sealing film of FIG. 9;
FIG. 11 is a cross-sectional view 11-11 of the sealing film of FIG. 9;
FIGS. 12-13 are graphs of the sealing film of FIG. 9 after separation by circumferential cutting;
FIG. 14 is a perspective view of the protective device of FIG. 6;
FIG. 15 is a reverse perspective view of the protective device of FIG. 14;
FIG. 16 is a view, in section, of the protective device of FIG. 15 taken along section 16-16;
FIG. 17 is a cross-sectional view of the protective device 17-17 of FIG. 15;
FIG. 18 is an exploded view of a second embodiment of a sealing membrane assembly of the invention;
FIG. 19 is a partial cross-sectional view of the sealing membrane assembly of FIG. 18;
FIG. 20 is a perspective view of a sealing membrane in the sealing membrane assembly shown in FIG. 18;
FIG. 21 is a reverse perspective view of the sealing membrane of FIG. 20;
FIG. 22 is a cross-sectional view of the sealing film 21-21 shown in FIG. 21;
FIG. 23 is a sectional view 23-23 of the sealing film shown in FIG. 21;
FIG. 24 is a perspective view of a protective device in the sealing membrane assembly of FIG. 18;
FIG. 25 is a partial perspective cross-sectional view of the protective device of FIG. 24;
FIG. 26 is a cross-sectional view, 26-26, of the protective device of FIG. 24;
FIG. 27 is an exploded view of a sealing membrane assembly according to a third embodiment of the invention;
FIG. 28 is a longitudinal cross-sectional view of the sealing membrane assembly of FIG. 27;
FIG. 29 is a perspective view of the protective device in the sealing membrane assembly of FIG. 27;
FIG. 30 is an enlarged view of a portion of the protective device of FIG. 29;
FIG. 31 is a cross-sectional view of the protective device 31-31 of FIG. 29;
throughout the drawings, like reference numerals designate identical parts or elements.
Description of the embodiments
Embodiments of the present invention are disclosed herein, however, it is to be understood that the disclosed embodiments are merely exemplary of the invention, which may be embodied in various forms. Therefore, the disclosure herein is not to be interpreted as limiting, but merely as a basis for the claims and as a basis for teaching one skilled in the art how to employ the invention.
Fig. 5 depicts the overall structure of the puncture instrument. A typical penetrator includes a needle 10 (not shown) and acannula assembly 20. Thecannula assembly 20 has an openproximal end 192 and an opendistal end 31. In a typical application, theneedle 10 is passed through thecannula assembly 20 and then passed together through the abdominal wall through the percutaneous opening into the body cavity. Once inside the body cavity, theneedle 10 is removed and thecannula assembly 20 is left as a passageway for instruments into and out of the body cavity. Theproximal end 192 is outside the patient and thedistal end 31 is inside the patient. Apreferred sleeve assembly 20 may be divided into afirst seal assembly 100 and asecond seal assembly 200. The clampinggroove 39 of theassembly 100 and theclamping hook 112 of theassembly 200 are matched and fastened. The cooperation of thehook 112 and theslot 39 is a quick-locking structure that can be quickly detached by one hand. This is mainly for the convenience of removing tissue or foreign matter from the patient during surgery. There are a number of implementations of the snap lock connection between theassemblies 100 and 200. In addition to the structures shown in this embodiment, threaded connections, rotary snaps, or other quick lock structures may be employed. Alternatively, theassembly 100 and theassembly 200 may be designed in a structure that is not quickly detachable.
Fig. 5 depicts the composition and assembly relationship of thefirst seal assembly 100. Thelower housing 30 includes anelongated tube 32 defining acannula 33 extending through thedistal end 31 and connected to ahousing 34. Thelower housing 30 has aninner wall 36 supporting the duckbill seal and an air valve mounting hole 37 in communication with the inner wall.Valve element 82 is mounted invalve body 80 and together in mounting bore 37. Theflange 56 of theduckbill seal 50 is sandwiched between theinner wall 36 and thelower cap 60. The fixing manner between thelower cover 60 and thelower housing 30 is various, and may be interference fit, ultrasonic welding, gluing, fastening, etc. The 4 mounting posts 68 of thelower cap 60 in this embodiment are an interference fit with the 4 mountingholes 38 of thelower housing 30, which interference fit places theduckbill seal 50 in compression. Thesleeve 32,inner wall 36,duckbill seal 50,valve body 80 andvalve core 82 together form a first chamber. In this embodiment, theduckbill seal 50 is a single slit, but other types of closed valves may be used, including flapper valves, multi-slit duckbill valves. When an external instrument penetrates theduckbill seal 50, itsduckbill 53 can open, but it generally does not provide a complete seal against the instrument. When the instrument is removed, theduckbill 53 automatically closes, thereby preventing fluid in the first chamber from leaking outside.
Fig. 5 depicts the composition and assembly relationship of thesecond seal assembly 200. The sealingmembrane assembly 180 is sandwiched between theupper cover 110 and theupper housing 190. Theproximal end 132 of the sealingmembrane assembly 180 is secured between theinner ring 116 of theupper cap 110 and theinner ring 196 of theupper housing 190. Theupper housing 190 and theupper cover 110 may be fixed in various manners, such as interference fit, ultrasonic welding, adhesive bonding, and fastening. The embodiment shows that theupper case 190 and theupper cover 110 are connected by ultrasonic welding and fixed together by ahousing 191. This fixation places theproximal end 132 of the sealingmembrane assembly 180 in compression. The central aperture 113 of theupper cap 110, theinner ring 116 and the sealingmembrane assembly 180 together form a second chamber.
Fig. 6-7 depict the composition and assembly relationship of the sealingmembrane assembly 180. The sealingmembrane assembly 180 includes a sealingmembrane 130 and aprotective device 150. The sealingmembrane 130 includes aproximal opening 132, adistal aperture 133, and a sealing wall extending proximally from the distal end, the sealing wall having a proximal face and a distal face. Thedistal aperture 133 is formed by a sealinglip 134 for receiving an inserted instrument and creating a hermetic seal. The sealingmembrane 130 further comprises aflange 136, and the sealingwall 135 has one end connected to the sealinglip 134 and the other end connected to an extendedcylindrical wall 139 of theflange 136. The floatingportion 137 is connected to theflange 136 at one end and to theproximal opening 132 at the other end. Theflange 136 has anannular groove 138 for mounting theprotector 150. Thefloat portion 137 includes one or more radial (lateral) pleats to enable the entiresealing membrane assembly 180 to move or float within theassembly 200. Theguard 150 includes aproximal end 152 and adistal end 154 and acylindrical wall 159 extending from the proximal end to the distal end. Theproximal end 152 includes aboss 158. As previously described, thecylindrical wall 159 andboss 158 are shaped and sized to mate with thecylindrical wall 139 andannular groove 138 such that theprotective device 150 is embedded in the sealingmembrane 130. Theprotector 150 is sized and shaped to fit inside the sealingmembrane 130 without interfering with the sealingmembrane 130. Theprotector 140 moves or floats with the sealingmembrane 130 to protect the central portion of the sealingmembrane 130 from perforation or tearing by the sharp edges of the inserted surgical instrument. The sealingfilm 130 is typically made of an elastic material such as natural rubber, silica gel, isoprene rubber, etc.; theprotective device 150 is typically made of a rigid or semi-rigid material such as thermoplastic elastomer, polypropylene, polyethylene, and the like.
Fig. 8-11 depict the sealingfilm 130 structure in greater detail. For simplicity of illustration, the outer floating portion and proximal end are not shown in fig. 8-11. Acentral axis 148 defining the sealingmembrane 130 and atransverse plane 149 substantially perpendicular to thecentral axis 148. The sealingwall 135 includes a plurality ofpleats 140, the plurality ofpleats 140 being arranged in a generally disk-like fashion about theaxis 148. The plurality ofpleats 140 circumscribe the sealinglip 134 forming an annularwavy line 141. The annularwavy line 141 defines thetransition region 134a. The annularwavy line 141 is formed in such a manner that its annular wave is substantially on a cylindrical surface. Any cylindrical surface is taken as anaxis 148 as an axis to intersect the folds, and the intersection line is a complete annular wavy line; or any cylindrical surface centered at least aboutaxis 148, intersects the corrugations in the immediate vicinity of the sealinglip 134, with the intersection being a complete annular wavy line. Which is referred to herein as a cylindrical wave ring. The sealingwall 135 can be seen as a stack of numerous complete cylindrical wave rings of progressively increasing diameter. The present example contains 10 pleats, however more or fewer pleats may be used.
Each of thepleats 140 includespleat walls 143 extending betweenpleat peaks 142 andpleat valleys 144. Thepleats 140 extend laterally outwardly from the sealing lip and intersect thecylindrical wall 139 to form an annularwavy line 145, the annularwavy line 145 defining atriangular transition area 139a. And the depth of thepleats 150 remains substantially unchanged as the pleats extend laterally outward; the depth of the pleat walls may be measured as the distance between the pleat peaks and the pleat valleys along theaxis 148. The pleat peaks 142 are defined as α and thepleat valleys 144 are defined as β with respect to thetransverse plane 149. Thepleats 140 are arranged in a dished overall shape and α=β=0°, however it cannot be understood that the α angle or β must be zero, and when α or β is small, for example 0 ° +.ltoreq.α.ltoreq.15°, 0+.ltoreq.β.ltoreq.15°, the pleats as a whole still appear dished, the shape of which is still significantly different from the frustoconical shape described in the prior art.
As shown in fig. 12-13, a cylindrical surface cut surface M is formed along the outer circumferential side wall of theseal lip 134 with theaxis 148 as the rotation axis1 (not shown) separates the sealingmembrane 130 into a lip portion 146 (fig. 12) and an outer portion 147 (fig. 13). The cylindrical cutting surface M1 Intersecting the sealedwall 135 to form annularwavy lines 141b,141c; the annularwavy lines 141b and 141c define across section 146. With reference to fig. 12-13, it is apparent thatPerimeter L ofintersection line 141c (141 b)1 Much larger than the perimeter of the sealinglip 134, i.e., the corrugations act to increase the circumferential perimeter of the adjacent region of the sealing lip, helping to reduce the hoop forces generated in the adjacent region of the sealing lip during insertion of an external device, thereby reducing the frictional resistance between the device and the sealing membrane.
Thepleated walls 143 act like the ribs described in the background, and all of thepleated walls 143 together reinforce the axial tensile stiffness in the immediate vicinity of the seal lip; and thefold wall 143 does not increase the circumferential stiffness while increasing the axial tensile stiffness, so that the circumferential tightening force is not increased while increasing the axial stiffness, and the stick-slip described in the background can be effectively reduced. In this example 20 of saidpleated walls 143 are included, however more or fewer side walls may also serve to increase the axial tensile stiffness.
Fig. 14-17 depict the structure of theprotective device 150 in greater detail. Defining acentral axis 168 of the guard and atransverse plane 169 that is generally perpendicular to thecentral axis 168. Thedistal end 154 includes a plurality ofpleats 160, the plurality ofpleats 160 being generally disk-shaped about theaxis 168 and defining acentral throughbore 153. The central throughhole 153 is defined by a complete annularwavy line 161. The annularwavy line 161 is formed in such a manner that its annular wave is substantially on a cylindrical surface. Any cylindrical surface is taken as anaxis 168 as an axis to intersect the folds, and the intersection line is a complete annular wavy line; or any cylindrical surface centered on atleast axis 168 intersects corrugations in the vicinity of thecentral opening 161, the intersection being a complete annular wavy line. Which is referred to herein as a cylindrical wave ring. Thedistal end 154 may be seen as a stack of numerous complete cylindrical wave rings of progressively increasing diameter. Generally, the circumference L of any cylindrical wave ring2 Larger than the outer perimeter of the largest diameter instrument that is designed to pass. For example, the radius of the largest instrument designed to pass through is R2 L is then2 >2*π*R2 (where pi=3.14) this example contains 10 pleats, however more or fewer pleats may be employed.
Each of thepleats 160 includespleat walls 163 extending betweenpleat peaks 162 andpleat valleys 164. Thepleats 160 extend laterally outwardly from an annularwavy line 161 and intersect thecylindrical wall 159 to form an annularwavy line 165, and the annularwavy line 165 defines atransition zone 159a. And the depth of thepleats 160 remains substantially unchanged as the pleats extend laterally outward; the depth of the pleat walls may be measured as the distance between the pleat peaks and the pleat valleys alongaxis 168. The pleat peaks 162 are defined as having an angle γ with thetransverse plane 169 and thepleat valleys 164 are defined as having an angle θ with thetransverse plane 169.
When a large-diameter instrument is inserted into the sealingmembrane assembly 180 and moved, a large frictional resistance is generated between the sealingmembrane 130 and the inserted instrument. As mentioned in the background, the main methods of reducing the frictional resistance include reducing the hoop force and reducing the actual contact area between the instrument and the sealing membrane. The method for reducing the hoop force mainly comprises the steps of reducing the wall thickness of the sealing film and increasing the circumferential perimeter of the adjacent area of the sealing lip. In thesealing film 730, the wall thickness of the truncatedcone sealing wall 735 is typically 0.5 to 0.8mm. Reducing the wall thickness of the sealingwall 735 helps to reduce the hoop force, however, it is generally not possible to reduce the wall thickness. First, the reduced wall thickness results in the sealingmembrane 730 being easily pierced or torn by an externally inserted instrument; second, decreasing the wall thickness reduces the axial tensile stiffness of the sealingwall 735, potentially resulting in more pronounced stick-slip as described in the background.
A pleated sealing membrane is disclosed in US7789861 and is primarily characterized by pleats extending laterally outwardly from the sealing lip and increasing in depth. Advantageously, the pleats help reduce hoop stress when inserting large diameter instruments, thereby reducing friction between the surgical instrument and the sealing membrane. Reducing the hoop forces relative to a wrinkle-free design facilitates the use of thicker corrugated walls while providing the same or less pulling force.
US7988671 discloses a pleated unitary sealing membrane protector comprising an integral seamless frustoconical protective cover; the protective cover is composed of a plurality of folds with peaks and valleys; the protective cover prevents both the external insertion instrument from damaging the sealing membrane and the sealing membrane from turning inwards. Although examples are disclosed in US7988671, these examples share two common features: one is that the folds are entirely seamless, and the other is that the folds are entirely frustoconical.
Referring to fig. 6-7, in one embodiment, the sealingmembrane 130 and theprotection device 150 have the same number of pleats; the shape and size of thepleats 140 match the shape and size of thepleats 160. In yet another alternative, theseal wall 135 formed by thepleats 140 and thedistal end 154 formed by thepleats 160 are generally disk-shaped.
Referring to fig. 6-7, when thepleats 140 and 160 are the same number of pleats, are matched in shape and size, and the sealingwall 135 anddistal end 154 are generally dished, little or no material is exposed from the sealingwall 135 beyond thedistal end 154 coverage area, which may be more effective in preventing an external insertion instrument from puncturing or tearing the sealing membrane. Thinner sealing membranes may be used to help reduce the hoop forces generated by the sealing membrane when inserting large diameter instruments. In one design, the wall thickness of the sealingwall 135 is 0.35mm to 0.50mm. As previously described, thepleated walls 143 act like the ribs described in the background, and all of thepleated walls 143 together reinforce the axial tensile stiffness in the immediate vicinity of the sealing lip, thus reducing the wall thickness of the sealingwall 135 without causing its axial tensile stiffness to be too small and thus stick-slip to be more severe.
Referring to fig. 6-7 in combination with fig. 12-13, when a large diameter instrument is inserted into the sealingmembrane assembly 180, the sealinglip 134 and itstransition region 134a undergo an elongation deformation, expanding to a size suitable to accommodate the inserted large diameter instrument; the folds in the adjacent region of the sealinglip 134 relax and create localized bends forming a wrapped region around the outer surface of the instrument; thepleats 150 rotate and relax entirely about thetransition region 139a in a direction away from theaxis 148. Likewise, thefolds 160 rotate and relax in a direction away from the axis about theirtransition region 159a as a whole. When the instrument is withdrawn from the sealingmembrane assembly 180, which in some cases results in the sealing membrane and the protection device being turned in, when the diameter of thecylindrical wall 159 is sufficiently large to reserve sufficient turned in space, only the momentary packing of the turned in sealing membrane and protection device is bent to cause a rapid increase in resistance, and when the instrument is continued to be withdrawn outwardly, thepleats 160 are rotated inwardly about theirtransition areas 159a to a proper size. When thedistal end 154 is dished, thedistal end 154 is turned inside out without continuing to bend and accumulate between the sealing membrane and the instrument, without creating a build-up, entanglement, or even blocking of the sealing membrane, thereby improving the operational comfort of the sealingmembrane assembly 180 after inversion and preventing the sealing membrane from being damaged.
Theoretical analysis and related studies have shown that reducing the values of α, β described above advantageously reduces the length of the wrapped region formed in the vicinity of the sealing lip when large diameter instruments are inserted. The dishedseal wall 135, wherein 0.ltoreq.α.ltoreq.15 °, 0.ltoreq.β.ltoreq.15°, helps to reduce the packing region, i.e. helps to reduce the true contact area of the instrument with the seal membrane, thus enabling a reduction of the frictional resistance.
Fig. 18-19 depict the composition and assembly relationship of a sealingmembrane assembly 290 in accordance with a second embodiment of the present invention. The sealingmembrane assembly 290 includes a sealingmembrane 230, aprotection device 250, an outer floatingportion 270, alower retaining ring 220, and anupper retaining ring 280. The sealingmembrane 230, theprotection device 250, and the outer floatingportion 270 are sequentially stacked and sandwiched between the lower and upper fixing rings 220 and 280. And thepost 221 of thelower retaining ring 220 is aligned with corresponding holes in other components of theassembly 290. Thepost 221 is an interference fit with thebore 281 of theupper retaining ring 280, thereby placing the entiresealing membrane assembly 290 in compression.
Fig. 20-23 depict the structure and composition of the sealingmembrane 230 in more detail. The sealingmembrane 230 includes aproximal opening 232, adistal aperture 233, and a sealing wall extending proximally from the distal end, the sealing wall having a proximal face and a distal face. Thedistal aperture 233 is formed by a sealinglip 234 for receiving an inserted instrument and creating a hermetic seal. Theproximal opening 232 includes aflange 236, and a sealingwall 235 has one end connected to the sealinglip 234 and the other end connected to theflange 236. Defining acentral axis 248 of the sealingmembrane 230 and atransverse plane 249 that is generally perpendicular to thecentral axis 248. The sealingwall 235 includes a plurality ofpleats 240, the plurality ofpleats 240 being arranged in a generally disk-like fashion about theaxis 248. The plurality ofpleats 240 circumscribe the sealinglip 234 forming an annularwavy line 241. The annularwavy line 241 defines atransition region 246, thetransition region 246 extending obliquely from the distal end to the proximal end and progressively increasing in distance from theaxis 248. The annularwavy line 241 is formed in such a manner that the annular wavy line is substantially on a conical surface. Any cylindrical surface centered onaxis 148 intersects the pleats in the immediate vicinity of the seal lip 134 (not intersecting the transition region), the intersection of which is a complete annular wavy line. Which is referred to herein as a cylindrical wave ring. The sealingwall 135 can be seen as a stack of numerous complete cylindrical wave rings of progressively increasing diameter. The present example contains 10 pleats, however more or fewer pleats may be used.
Each of thepleats 240 includespleat walls 243 extending betweenpleat peaks 242 andpleat valleys 244. Thepleats 240 extend laterally outwardly from the seal lip and intersect theflange 236 to form an annularwavy line 245, the annularwavy line 245 defining atransition region 247. And the depth of thepleats 240 remains substantially unchanged as the pleats extend laterally outward; the depth of the pleat walls may be measured as the distance between the pleat peaks and the pleat valleys along theaxis 248. Thecorrugation hills 242 are defined at an angle kappa to thetransverse plane 249 and thecorrugation valleys 244 are defined at an angle lambda to thetransverse plane 249. Thepleats 240 are arranged in a dished overall shape and kappa=λ=0°, however it cannot be understood that the kappa angle or λ must be zero, and when kappa or λ is small, for example 0 ° -15 °, the pleat overall still exhibits a dished shape, the shape of which is still significantly different from the frustoconical shape described in the prior art.
Fig. 24-26 depict the structure of theprotective device 250 in greater detail. Theguard 250 includes aproximal end 252 and adistal end 254. Theproximal end 252 includes aflange 256. Defining a central axis 268 of the guard and a transverse plane 269 generally perpendicular to the central axis 268. Thedistal end 254 includes a plurality ofpleats 260, a plurality of thepleats 260 are generally disk-shaped about the axis 268 and define acentral throughbore 253. The central throughhole 253 is defined by a complete annularwavy line 261. The annularwavy line 261 is formed in such a manner that its annular wave is substantially on a conical surface. Any cylindrical surface taking the axis 268 as the axis intersects the folds, and the intersection line is a complete annular wavy line; or any cylindrical surface centered at least on axis 268 intersects the corrugations in the vicinity of the central throughhole 253, with the intersection being a complete annular wavy line. Which is referred to herein as a cylindrical wave ring. Thedistal end 254 can be seen as a stack of numerous complete cylindrical wave rings of progressively increasing diameter. Generally, the circumference L of any cylindrical wave ring3 Larger than the outer perimeter of the largest diameter instrument that is designed to pass. For example, the radius of the largest instrument designed to pass through is R3 L is then3 >2*π*R3 (where pi=3.14) this example contains 10 pleats, however more or fewer pleats may be employed.
Each of thepleats 260 includespleat walls 263 extending betweenpleat peaks 262 andpleat valleys 264. Thepleats 260 extend laterally outward from an annularwavy line 261 and thepleat 260 partially intersects the extendingwall 258 of theflange 256. A plurality of cut-outslots 265 are included between thepleat 260 and theextended wall 258, the plurality of cut-outslots 265 cutting apart thepleat 260 and theextended wall 258, thereby forming a plurality ofribs 266 connecting thepleat 260 and theextended wall 258. In this example, the pleat peaks 262 andpleat walls 263 are severed by 10 severingslots 265 so that they do not intersect theextension wall 258, while thepleat valleys 264 are connected to theextension wall 258 by 10ribs 266. It will be appreciated by those skilled in the art that theprotector 150, when itspleats 160 are relaxed either laterally or laterally, the pleats rotate about the transition region of the pleats and the cylindrical wall. However, the moment arm of rotation of the corrugation peaks 162 andcorrugation valleys 164 is not consistent, thus adding additional deformation force. Theprotective device 250, however, has substantially equal moment arms of rotation when itspleats 260 are relaxed laterally or medially about the intersection of theribs 266 and theextension wall 258, thereby minimizing additional deformation forces.
18-19, in one embodiment, the sealingmembrane 230 and theprotective device 250 have the same number of pleats; the shape and size of thepleats 240 match the shape and size of thepleats 260. In yet another alternative, theseal wall 235 formed by thepleat 240 and thedistal end 254 formed by thepleat 260 are generally dish-shaped. When the number ofpleats 240 and 260 are the same, the shape and size are matched, and the sealingwall 235 anddistal end 254 are generally dished, there is little or no material exposed from the sealingwall 235 beyond the area covered by thedistal end 254, which may be more effective in preventing an external insertion instrument from puncturing or tearing the sealing membrane. The gradual increase in the spacing of thetransition region 246, which in this example extends obliquely from the distal end to the proximal end and from theaxis 248, helps reduce the actual contact area between the instrument and the sealing membrane when inserting large diameter instruments; while the cut-out 265 helps to reduce the tension forces of the overall inflation of theprotective device 250.
Fig. 26-27 depict the composition and assembly relationship of the sealingmembrane assembly 390. Theseal film assembly 390 includes aseal film 330, aprotective device 350 and aprotective device 370. The sealingmembrane 330 includes aproximal opening 332, adistal aperture 333, and a sealing wall extending proximally from the distal end, the sealing wall having a proximal face and a distal face. Thedistal aperture 333 is formed by a sealinglip 334. The sealingmembrane 330 further comprises aflange 336, and the sealingwall 335 is connected to the sealinglip 334 at one end and to theflange 336 at the other end. Thefloat portion 337 is connected at one end to theflange 336 and at the other end to theproximal opening 332. Thefloat portion 337 includes one or more radial (transverse) pleats. Theprotective device 350 includes aproximal end 352 and adistal end 354 and a plurality ofpleats 360. Theproximal end 352 includes a plurality ofribs 356. Theprotector 350 is sized and shaped to fit inside the sealingmembrane 330 without interfering with the sealingmembrane 330. Theribs 356 of theguard 350 are bonded to the proximal face of the sealing membrane such that theguard 350 moves or floats with the sealingmembrane 330 for protecting the central portion of the sealingmembrane 130 from perforation or tearing by the sharp edges of the inserted surgical instrument. Theprotector 370 has aproximal end 372 and adistal end 374 and a plurality of pleats 380, theprotector 370 being sized and shaped to fit outside the sealingmembrane 330 without interfering with the sealingmembrane 330, theprotector 370 being adhered to the distal face of the sealingmembrane 330. Those skilled in the art will appreciate that theprotective device 370 and the sealingmembrane 330 need not be completely bonded, such as by only partially bonding theproximal end 372 to the sealingmembrane 330.
Defining acentral axis 348 of the sealingmembrane 330, the sealingwall 335 includes a plurality ofpleats 340, the plurality ofpleats 340 being arranged in a generally disk-like fashion about theaxis 348. The plurality ofpleats 340 circumscribe the sealinglip 334 forming an annularwavy line 341. The annularwavy line 341 defines atransition region 346, thetransition region 346 extending obliquely from the distal end to the proximal end and progressively increasing in distance from theaxis 348. Each of thepleats 340 includespleat walls 343 extending betweenpleat peaks 342 andpleat valleys 344. Thepleats 340 extend laterally outwardly from the annularwavy line 341 and the depth of the pleats decreases gradually; the depth of the pleat walls may be measured as the distance between the pleat peaks and the pleat valleys along theaxis 348.
Theprotector 350 haspleats 360 that match thepleats 340, the plurality ofpleats 360 being arranged in a generally disk-like fashion and defining acentral throughbore 353, more particularly defined by an annularwavy line 361. Each of thepleats 360 includespleat walls 363 extending betweenpleat peaks 362 andpleat valleys 364. Thepleats 360 extend laterally outwardly from the annularwavy line 361 and the depth of the pleats decreases gradually. Likewise, theprotector 370 has folds 380 that are the same or similar to theprotector 350. The pleats 380 are generally disk-shaped and define acentral throughbore 373, more particularly, defined by an annularwavy line 381. Each of the pleats 380 includespleat walls 383 extending betweenpleat peaks 382 andpleat valleys 384. The pleats 380 extend laterally outwardly from the annularwavy line 381 and the depth of the pleats decreases gradually.
Fig. 28-31 depict the structure and composition of theprotective device 350 in more detail. In an alternative embodiment, the pleat peaks 352 include cut-outgrooves 366 in the vicinity of thecentral throughbore 353, the cut-outgrooves 366 cutting out thepleats 360 from the pleat peaks 352 in the vicinity of thecentral throughbore 353. The cut-off slot 366 can be injection molded directly with theprotective device 350 with a slot width as small as possible; thecutting slot 366 may also be formed by a secondary process, such as direct cutting on the basis of theprotective device 350, the width of thecutting slot 366 being approximately zero. Although in this example in the vicinity of the through-hole 353, all of the pleat peaks comprise cut-outslots 366; however, the corrugation peaks and corrugation valleys may also include cut-outslots 366, or a portion of the corrugation valleys may include cut-outslots 366; or a portion of the pleat peaks comprise cut-outslots 366.
Typically, theprotective device 350 is made of a semi-rigid material; or made of a rigid material but exhibiting semi-rigidity due to its thin wall thickness. And the sealingfilm 330 is typically made of an elastic material such as silicone rubber, natural rubber, isoprene rubber, etc. When a large diameter instrument is inserted, the sealingmembrane lip 334 expands to a size suitable to accommodate the inserted instrument, and all folds of theprotector 350 also relax to a size sufficient to accommodate the inserted instrument. It will be appreciated by those skilled in the art that because theprotective device 350 is semi-rigid, its folds typically do not fully relax; i.e. theprotector 350 after diastole, still presents a small annular wave. If the annular wave of theprotector 350 approaches the sealing lip after relaxation, air leakage or unreliable sealing is easily caused; whereas if the post-diastole annular wave is far enough from the sealing lip to ensure its sealing reliability, it necessarily results in more of the sealing wall of the sealingmembrane 350 being uncovered, increasing the risk of puncture or tearing, and to some extent increasing the actual contact area of the instrument with the sealing membrane, thereby increasing frictional resistance.
Taking theprotection device 350 as an example, when an external instrument is inserted, such as a titanium clip, because the width of the severingslot 366 is much smaller than the width of the working edge of the inserted titanium clip, and because the protection device comprises a plurality of folds, the working edge of the titanium clip first contacts the folds of the protection device and presses to force the folds to partially relax; thesevering slot 366 does not generally enlarge but rather overlaps the material and still prevents the working edge of the titanium clamp from contacting the sealing wall covered by theprotective device 350. When the titanium clamp is fully inserted into the sealing membrane assembly, the cuttinggroove 366 again plays a role of reducing annular waves in the vicinity of the through hole after the relaxation of the protecting device, so that the sealing wall area of the protecting device exposed by design can be reduced, the probability of damaging the sealing membrane is reduced, and the overall tension and the friction resistance generated by movement of the instrument in the sealing membrane can be reduced to a certain extent. In addition, because theguard 350 is semi-rigid, if the immediate area of thecentral throughbore 353 is entirely seamless, the circumference of the annularwavy line 361 must be greater than the outer circumference of the largest diameter instrument that is designed to be inserted. When the proximal region of thecentral throughbore 353 includes a plurality of cut-outslots 366, then the desired circumference of the annular wave need not be greater than the outer circumference of the largest diameter instrument for which insertion is designed. It is thus possible to reduce the size of the wrinkles or the number of the wrinkles, thereby simplifying the mold and providing processing efficiency.
Many different embodiments and examples of the invention have been shown and described. One of ordinary skill in the art will be able to make adaptations to the method and apparatus by appropriate modifications without departing from the scope of the invention. For example, the present invention does not show cases involving folds of increasing depth, however, one of ordinary skill will appreciate that a plurality of dished-like folds of increasing depth may be employed when the angle of the fold peaks or valleys relative to the transverse plane is small. For example, the present invention shows cases that each include 10 pleats, however, more or fewer pleats may be used. For example, changing the chamfer at the corrugation peak or corrugation valley may change the wall thickness at the corrugation peak or corrugation valley. For example, in the illustrated example of the invention, the pleats have an approximately triangular cross-section, but may also be approximately rectangular or approximately trapezoidal. Several modifications have been mentioned, and other modifications are conceivable to the person skilled in the art. The scope of the present invention should therefore be determined with reference to the appended claims, rather than with reference to the structures, materials, or acts illustrated and described in the specification and drawings.

Claims (9)

CN201811282992.6A2016-08-022016-08-02Puncture outfit sealing protection device and sealing systemActiveCN109157269B (en)

Priority Applications (1)

Application NumberPriority DateFiling DateTitle
CN201811282992.6ACN109157269B (en)2016-08-022016-08-02Puncture outfit sealing protection device and sealing system

Applications Claiming Priority (2)

Application NumberPriority DateFiling DateTitle
CN201811282992.6ACN109157269B (en)2016-08-022016-08-02Puncture outfit sealing protection device and sealing system
CN201610630336.5ACN106175846B (en)2016-08-022016-08-02 A corrugated trocar sealing system

Related Parent Applications (1)

Application NumberTitlePriority DateFiling Date
CN201610630336.5ADivisionCN106175846B (en)2016-08-022016-08-02 A corrugated trocar sealing system

Publications (2)

Publication NumberPublication Date
CN109157269A CN109157269A (en)2019-01-08
CN109157269Btrue CN109157269B (en)2023-05-26

Family

ID=57497183

Family Applications (2)

Application NumberTitlePriority DateFiling Date
CN201811282992.6AActiveCN109157269B (en)2016-08-022016-08-02Puncture outfit sealing protection device and sealing system
CN201610630336.5AActiveCN106175846B (en)2016-08-022016-08-02 A corrugated trocar sealing system

Family Applications After (1)

Application NumberTitlePriority DateFiling Date
CN201610630336.5AActiveCN106175846B (en)2016-08-022016-08-02 A corrugated trocar sealing system

Country Status (2)

CountryLink
CN (2)CN109157269B (en)
WO (1)WO2018024100A1 (en)

Families Citing this family (10)

* Cited by examiner, † Cited by third party
Publication numberPriority datePublication dateAssigneeTitle
CN109157269B (en)*2016-08-022023-05-26成都五义医疗科技有限公司Puncture outfit sealing protection device and sealing system
CN109157268B (en)*2016-08-022023-05-26成都五义医疗科技有限公司Puncture outfit sealing film protection device
CN108652684B (en)*2017-04-012022-02-18江苏风和医疗器材股份有限公司Puncture outfit, sealing assembly and sealing film for sealing assembly
CN108784791B (en)*2017-04-282021-12-03江苏风和医疗器材股份有限公司Puncture outfit and sealing assembly applied to puncture outfit
CN108784792B (en)*2017-04-282021-11-05江苏风和医疗器材股份有限公司Sealing assembly and puncture outfit with same
CN107115135B (en)*2017-06-122019-12-17常州艾隆精密机械有限公司abdominal cavity puncture outfit with improved sealing assembly
CN109771055B (en)*2019-02-262023-12-08宁波胜杰康生物科技有限公司Novel multichannel operation platform
CN110464389B (en)*2019-08-212020-12-18青岛幔利橡树医疗科技有限公司Fetching device for laparoscopic surgery
CN114909597B (en)*2022-06-232024-02-13西安热工研究院有限公司Gravity compressed air storage device with auxiliary starting and decelerating functions
CN115693136B (en)*2022-12-292023-03-10河北鹏博通信设备有限公司Protective box for communication antenna joint

Citations (4)

* Cited by examiner, † Cited by third party
Publication numberPriority datePublication dateAssigneeTitle
US5342315A (en)*1993-04-121994-08-30Ethicon, Inc.Trocar seal/protector assemblies
CN101478924A (en)*2006-04-182009-07-08伊西康内外科公司Pleated trocar seal
CN202665648U (en)*2012-06-272013-01-16佛山特种医用导管有限责任公司Sealing ring and puncture cannula provided with same
CN103083066A (en)*2011-11-072013-05-08苏州天臣国际医疗科技有限公司Sealing part of puncture outfit

Family Cites Families (10)

* Cited by examiner, † Cited by third party
Publication numberPriority datePublication dateAssigneeTitle
JP4208266B2 (en)*1998-04-132009-01-14アプライド メディカル リソーシーズ コーポレイション Conical universal seal with non-uniform surface and sealing device including the same
US20060220325A1 (en)*2002-04-262006-10-05Mcfarlane Richard HFloating seal assembly for a trocar
JP2007506527A (en)*2003-09-242007-03-22アプライド メディカル リソーシーズ コーポレイション Anti-inversion trocar seal
US20050288634A1 (en)*2004-06-282005-12-29O'heeron Peter TUniversal seal
DE102006015690A1 (en)*2006-03-272007-10-11Aesculap Ag & Co. Kg Surgical sealing element, surgical seal and surgical sealing system
AU2009223316B2 (en)*2008-03-142014-05-29Applied Medical Resources CorporationInstrument seal
EP2378988B1 (en)*2009-01-092016-04-20Applied Medical Resources CorporationPleated trocar shield
CN101480354A (en)*2009-01-232009-07-15周星Tank-type general purpose type radial seal ring for puncture outfit and puncture outfit
CN204351906U (en)*2014-12-162015-05-27杭州光典医疗器械有限公司Perforator black box and guard member thereof
CN109157269B (en)*2016-08-022023-05-26成都五义医疗科技有限公司Puncture outfit sealing protection device and sealing system

Patent Citations (4)

* Cited by examiner, † Cited by third party
Publication numberPriority datePublication dateAssigneeTitle
US5342315A (en)*1993-04-121994-08-30Ethicon, Inc.Trocar seal/protector assemblies
CN101478924A (en)*2006-04-182009-07-08伊西康内外科公司Pleated trocar seal
CN103083066A (en)*2011-11-072013-05-08苏州天臣国际医疗科技有限公司Sealing part of puncture outfit
CN202665648U (en)*2012-06-272013-01-16佛山特种医用导管有限责任公司Sealing ring and puncture cannula provided with same

Also Published As

Publication numberPublication date
CN109157269A (en)2019-01-08
CN106175846A (en)2016-12-07
CN106175846B (en)2019-05-21
WO2018024100A1 (en)2018-02-08

Similar Documents

PublicationPublication DateTitle
CN109157269B (en)Puncture outfit sealing protection device and sealing system
US10912584B2 (en)Trocar seal membrane comprising multi-dimensional pleats
CN109157268B (en)Puncture outfit sealing film protection device
CA2718479C (en)Instrument seal
EP2465450A1 (en)Self Deploying Bodily Opening Protector
US9131958B2 (en)Seal assembly for a cannula
CN109394313B (en)Hourglass type sealing film and assembly
WO2018024109A1 (en)Puncture device sealing membrane comprising forward and reverse grooves and assembly
EP1994894A1 (en)Access assembly with ribbed seal
US20190142460A1 (en)Pleated trocar seal membrane
JP2007513691A (en) Sealed bulkhead trocar seal
US11013532B2 (en)Trocar seal membrane with concave-channel structure
KR102136242B1 (en)Adaptable obturator for various sized trocars
WO2018024105A1 (en)Multiangular trocar sealing membrane having recesses
WO2018024079A1 (en)Puncture device sealing membrane comprising multi-dimensional floating folds
CN114533218A (en)Puncture outfit, inner sleeve device and sealing structure
WO2018024108A1 (en)Sealing film containing groove and assembly
JP2010240426A (en)Surgical portal apparatus with expandable cannula
WO2018024106A1 (en)Puncture device sealing membrane comprising reverse grooves
CN215534848U (en)Sealing membrane, cannula assembly and cannula puncture device
CN111938771A (en)Puncture outfit of hollow pipe assembly containing annular limiting cantilever

Legal Events

DateCodeTitleDescription
PB01Publication
PB01Publication
SE01Entry into force of request for substantive examination
SE01Entry into force of request for substantive examination
GR01Patent grant
GR01Patent grant

[8]ページ先頭

©2009-2025 Movatter.jp