Movatterモバイル変換


[0]ホーム

URL:


CN109075221B - Light emitting device and display including the same - Google Patents

Light emitting device and display including the same
Download PDF

Info

Publication number
CN109075221B
CN109075221BCN201780024951.4ACN201780024951ACN109075221BCN 109075221 BCN109075221 BCN 109075221BCN 201780024951 ACN201780024951 ACN 201780024951ACN 109075221 BCN109075221 BCN 109075221B
Authority
CN
China
Prior art keywords
layer
conductive semiconductor
semiconductor layer
light emitting
electrode
Prior art date
Legal status (The legal status is an assumption and is not a legal conclusion. Google has not performed a legal analysis and makes no representation as to the accuracy of the status listed.)
Active
Application number
CN201780024951.4A
Other languages
Chinese (zh)
Other versions
CN109075221A (en
Inventor
朴德炫
高恩彬
文盛煜
朴相绿
郑英根
洪起勇
郑炳学
Current Assignee (The listed assignees may be inaccurate. Google has not performed a legal analysis and makes no representation or warranty as to the accuracy of the list.)
Suzhou Liyu Semiconductor Co ltd
Original Assignee
LG Innotek Co Ltd
Priority date (The priority date is an assumption and is not a legal conclusion. Google has not performed a legal analysis and makes no representation as to the accuracy of the date listed.)
Filing date
Publication date
Priority claimed from KR1020160049576Aexternal-prioritypatent/KR20170120962A/en
Priority claimed from KR1020160053610Aexternal-prioritypatent/KR20170124047A/en
Priority claimed from KR1020160053611Aexternal-prioritypatent/KR102496616B1/en
Application filed by LG Innotek Co LtdfiledCriticalLG Innotek Co Ltd
Publication of CN109075221ApublicationCriticalpatent/CN109075221A/en
Application grantedgrantedCritical
Publication of CN109075221BpublicationCriticalpatent/CN109075221B/en
Activelegal-statusCriticalCurrent
Anticipated expirationlegal-statusCritical

Links

Images

Classifications

Landscapes

Abstract

Translated fromChinese

实施例公开发光器件和包括发光器件的显示器。发光器件包括:透光衬底;发光结构,其包括布置在透光衬底上的第二导电半导体层;第一导电半导体层,其被布置在第二导电半导体层上;以及有源层,其被布置在第二导电半导体层和第一导电半导体层之间;绝缘层,其覆盖发光结构;第一欧姆电极,其被电连接到第一导电半导体层;第二欧姆电极,其被布置在第二导电半导体层的面向透光衬底的一侧上并且电连接到第二导电半导体层;第一电极,其穿过绝缘层被电连接到第一欧姆电极;以及第二电极,其穿过绝缘层和发光结构被电连接到第二欧姆电极,其中有源层发射红色波段的光,第二欧姆电极包括焊盘电极和多个分支电极,该焊盘电极被布置在第二导电半导体层的中心处,该多个分支电极从第二导电半导体层的中心向外延伸。

Figure 201780024951

Embodiments disclose light emitting devices and displays including the light emitting devices. The light-emitting device includes: a light-transmitting substrate; a light-emitting structure including a second conductive semiconductor layer disposed on the light-transmitting substrate; a first conductive semiconductor layer disposed on the second conductive semiconductor layer; and an active layer, It is arranged between the second conductive semiconductor layer and the first conductive semiconductor layer; an insulating layer covers the light emitting structure; a first ohmic electrode is electrically connected to the first conductive semiconductor layer; a second ohmic electrode is arranged on the side of the second conductive semiconductor layer facing the light-transmitting substrate and electrically connected to the second conductive semiconductor layer; a first electrode electrically connected to the first ohmic electrode through the insulating layer; and a second electrode The second ohmic electrode is electrically connected to the second ohmic electrode through the insulating layer and the light emitting structure, wherein the active layer emits light in the red band, and the second ohmic electrode includes a pad electrode and a plurality of branch electrodes, and the pad electrode is arranged on the second conductive layer. At the center of the semiconductor layer, the plurality of branch electrodes extend outward from the center of the second conductive semiconductor layer.

Figure 201780024951

Description

Light emitting device and display including the same
Technical Field
Embodiments relate to a light emitting device and a display including the same.
Background
A Light Emitting Diode (LED) is one of light emitting devices that emits light when current is applied thereto. The LED can emit light at a low voltage and high efficiency, thereby having an excellent energy saving effect. In recent years, the LED luminance problem has been remarkably improved, and LEDs have been applied to various apparatuses such as a backlight unit of a liquid crystal display, an electronic sign, a display device, and a home appliance.
LEDs with AlGaInP use a GaAs substrate as a growth substrate, but in order to manufacture the LED as a flip-chip type, there is a need to remove the GaAs substrate in order to prevent light absorption. However, there is a problem in that it is difficult to remove the GaAs substrate using a conventional laser lift-off (LLO) process. Therefore, most LEDs with AlGaInP are fabricated to be vertical type.
Disclosure of Invention
Technical problem
The embodiment provides a flip chip type red light emitting device.
In addition, the embodiments provide a light emitting device having excellent light extraction efficiency.
In addition, the embodiment provides a light emitting device having an excellent current distribution effect.
In addition, the embodiment provides a light emitting device having excellent ohmic contact.
Technical scheme
A light emitting device according to an embodiment of the present invention includes: a light-transmissive substrate; a light emitting structure including a second conductive semiconductor layer disposed on a light transmitting substrate; a first conductive semiconductor layer disposed on the second conductive semiconductor layer; and an active layer disposed between the second conductive semiconductor layer and the first conductive semiconductor layer; an insulating layer configured to cover the light emitting structure; a first ohmic electrode electrically connected to the first conductive semiconductor layer; a second ohmic electrode disposed on a side of the second conductive semiconductor layer facing the light-transmitting substrate and electrically connected to the second conductive semiconductor layer; a first electrode electrically connected to the first ohmic electrode through the insulating layer; and a second electrode electrically connected to a second ohmic electrode through the insulating layer and the light emitting structure, wherein the active layer emits light of a red wavelength band (wavelength band), the second ohmic electrode including a pad electrode disposed at a center of the second conductive semiconductor layer and a plurality of branch electrodes extending outward from the center of the second conductive semiconductor layer.
The light emitting device may include an optical layer disposed between the second conductive semiconductor layer and the light transmitting substrate, and the optical layer may join the light transmitting substrate and the light emitting structure.
The first electrode may have a rotational symmetric shape about a central axis of the light emitting structure, the second electrode may have a rotational symmetric shape about the central axis of the light emitting structure, the first electrode may be disposed on the central axis of the light emitting structure, and the second electrode may be disposed on an edge of the light emitting structure.
The second electrode may be electrically connected to the second ohmic electrode through the insulating layer and the light emitting structure, the light emitting structure may include a through-hole (via) in which the second electrode extends, and a ratio between a diameter of the via and a diameter of the pad electrode of the second ohmic electrode may be 1:1.2 to 1:2.
The area of the second ohmic electrode may be 2 to 7% of the entire area of the second conductive semiconductor layer.
The second conductive semiconductor layer may include a second cladding layer (clad layer), a second current distribution layer (current distribution layer), and a second ohmic layer, the light emitting structure may include a receiving groove (comormulation groove) formed on the first conductive semiconductor layer and configured to expose the second current distribution layer, and the second ohmic electrode may be disposed on a bottom surface of the receiving groove.
The second current distribution layer and the second ohmic layer may include Ga and P.
The first conductive semiconductor layer may include a first ohmic layer in contact with the first ohmic electrode, and the first ohmic layer may include a GaAs composition.
Advantageous effects
According to the embodiment, the red light emitting device can be implemented as a flip chip type.
In addition, a light emitting device having excellent light extraction efficiency can be manufactured.
In addition, a light emitting device having excellent ohmic contact can be manufactured.
In addition, a display having high brightness and light reproduction can be realized by arranging Light Emitting Diodes (LEDs) configured to emit different colors as sub-pixels arranged in a single pixel.
Various advantageous effects of the present invention are not limited to those described above, and other advantageous effects not mentioned should be more easily understood in describing the method of the specific embodiment of the present invention.
Drawings
Fig. 1 is a conceptual diagram of a light emitting device according to a first embodiment of the present invention.
Fig. 2 is a plan view of fig. 1.
Fig. 3 is a graph showing the measurement of the operating voltage VF according to the area of the ohmic electrode.
Fig. 4 is a graph illustrating a measurement of a change in luminous flux according to the area of the ohmic electrode.
Fig. 5 is a view for describing the shapes of the first electrode and the second electrode.
Fig. 6 is a cross-sectional view of a light emitting structure.
Fig. 7 is a conceptual diagram of a light emitting device according to a second embodiment of the present invention.
Fig. 8 is a plan view of fig. 7.
Fig. 9 is a conceptual diagram of a light emitting device according to a third embodiment of the present invention.
Fig. 10 is a plan view of fig. 9.
Fig. 11 is a conceptual diagram of a light emitting device according to a fourth embodiment of the present invention.
Fig. 12 is a plan view of fig. 11.
Fig. 13 to 24 are views for describing a method of manufacturing a light emitting device according to an embodiment of the present invention.
Fig. 25 is a conceptual diagram of a light emitting device according to a fifth embodiment of the present invention.
Fig. 26 is a plan view of fig. 25.
Fig. 27a is a first modified example of a light-emitting device according to a fifth embodiment of the present invention.
Fig. 27B is a cross-sectional view taken along line B-B' in fig. 27 a.
Fig. 27c is a second modified example of the light emitting device according to the fifth embodiment of the present invention.
Fig. 27d is a third modified example of the light emitting device according to the fifth embodiment of the present invention.
Fig. 27e is a plan view of fig. 27 d.
Fig. 27f is a fourth modified example of the light emitting device according to the fifth embodiment of the present invention.
Fig. 28 is a conceptual diagram of the light emitting structure in fig. 25.
Fig. 29 is a modified example of fig. 28.
Fig. 30 is a conceptual diagram of a light emitting device according to a sixth embodiment of the present invention.
Fig. 31 is a plan view of fig. 30.
Fig. 32 is a conceptual diagram of a light emitting device according to a seventh embodiment of the present invention.
Fig. 33 is a view illustrating ohmic contact between the second ohmic layer and the second ohmic electrode.
Fig. 34 to 40 are views for describing a method of manufacturing a light emitting device according to an embodiment of the present invention.
Fig. 41 is a conceptual diagram of a light emitting device according to an eighth embodiment of the present invention.
Fig. 42a to 42i are various embodiments of a light emitting structure.
Fig. 43a to 43e are various modified examples of the buffer layer inserted into the second conductive semiconductor layer.
Fig. 44 is a conceptual diagram of a light emitting device according to a ninth embodiment of the present invention.
Fig. 45 to 49 are views illustrating a method of manufacturing a light emitting device according to another embodiment of the present invention.
Fig. 50 to 53 are views illustrating a method of manufacturing a light emitting device according to still another embodiment of the present invention.
Fig. 54 is a conceptual diagram of a display according to an embodiment of the invention.
Detailed Description
The present embodiment may be modified into other forms, or various embodiments may be combined with each other. The scope of the present invention is not limited to each embodiment described below.
Even when details described with respect to a specific embodiment are not described with respect to another embodiment, the details may be understood as a description related to another embodiment unless a description contrary to or contradictory to the details is given with respect to another embodiment.
For example, when the features of configuration a are described with respect to a specific embodiment while the features of configuration B are described with respect to another embodiment, even when an embodiment in which configuration a and configuration B are combined is not clearly stated, the embodiment should be understood as falling within the scope of the present invention unless a description contrary to or contradictory to the embodiment is given.
In the description of the embodiments, a case where a certain element is stated as being formed "on or under" another element includes a case where two elements are in direct contact with each other and a case where two elements are in indirect contact with each other while one or more other elements are disposed therebetween. In addition, "on or under" may refer to a downward direction as well as an upward direction relative to a single element.
Hereinafter, embodiments of the present invention will be described in detail with reference to the accompanying drawings so that those skilled in the art to which the present invention pertains can easily practice the embodiments of the present invention.
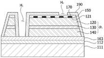
Fig. 1 is a conceptual diagram of a light emitting device according to a first embodiment of the present invention, fig. 2 is a plan view of fig. 1, fig. 3 is a graph showing measurement of an operating voltage VF according to an area of an ohmic electrode, and fig. 4 is a graph showing measurement of a change in luminous flux according to the area of the ohmic electrode.
Referring to fig. 1 and 2, thelight emitting device 100A includes a light emitting structure P1, an insulatinglayer 190 disposed at the other side of the light emitting structure P1, afirst electrode 182 electrically connected to the firstconductive semiconductor layer 120 through the insulatinglayer 190, and asecond electrode 181.
The light emitting structure P1 includes a firstconductive semiconductor layer 120, anactive layer 130, and a secondconductive semiconductor layer 140. The light output from the light emitting structure P1 may be in a red wavelength band. However, embodiments are not necessarily limited thereto.
The firstreflective layer 151 may be disposed on the firstconductive semiconductor layer 120. The firstreflective layer 151 may be an omnidirectional reflector (ODR) formed of at least one selected from a compound, a mixture, an oxide, and a nitride including Si, Ti, Mg, Al, Zn, In, Sn, and C. However, the embodiment is not necessarily limited thereto, and an insulating layer or a reflective layer formed of various other materials may be applied as the first reflective layer. When the firstreflective layer 151 is Indium Tin Oxide (ITO), the firstreflective layer 151 may be disposed only on an upper portion of the firstconductive semiconductor layer 120.
The plurality of firstohmic electrodes 170 may contact the firstconductive semiconductor layer 120 through the firstreflective layer 151. The surface layer of the firstconductive semiconductor layer 120 may have a low bandgap GaAs composition. Accordingly, the contact resistance between the firstconductive semiconductor layer 120 and the firstohmic electrode 170 may be reduced.
Thetransparent electrode layer 152 may be disposed on the firstreflective layer 151. Thetransparent electrode layer 152 may be formed of a material having excellent conductivity so that current injected from the outside can be uniformly diffused horizontally.
Thetransparent electrode layer 152 may be formed of a Transparent Conductive Oxide (TCO). The TCO may be selected from ITO, Indium Zinc Oxide (IZO), Aluminum Zinc Oxide (AZO), Aluminum Gallium Zinc Oxide (AGZO), Indium Zinc Tin Oxide (IZTO), Indium Aluminum Zinc Oxide (IAZO), Indium Gallium Zinc Oxide (IGZO), Indium Gallium Tin Oxide (IGTO), Antimony Tin Oxide (ATO), Gallium Zinc Oxide (GZO), IZO nitride (IZON), ZnO, IrOx, RuOx, NiO, and the like. However, the embodiment is not necessarily limited thereto, and the firstreflective layer 151 and thetransparent electrode layer 152 may be configured as a single layer. As an example, the firstreflective layer 151 and thetransparent electrode layer 152 may include an ITO layer, but the embodiment is not necessarily limited thereto.
The secondreflective layer 153 may be formed of a material having a high reflectivity, such as Ag, Ni, Al, Rh, Pd, Ir, Ru, Mg, Zn, Pt, Au, Hf, etc., or a mixture of a material having a high reflectivity and a transparent conductive material, such as IZO, IZTO, IAZO, IGZO, IGTO, AZO, and ATO.
The insulatinglayer 190 may be disposed on the light emitting structure P1. The insulatinglayer 190 may be made of a material selected from the group consisting of SiO2、SixOy、Si3N4、SixNy、SiOxNy、Al2O3、TiO2AlN, or the like, but the embodiment is not limited thereto. The insulatinglayer 190 may be formed of a single layer or a plurality of layers. As an example, the insulatinglayer 190 may have a Distributed Bragg Reflector (DBR) structure in which TiO2And SiO2Are alternately stackedAnd (5) stacking.
The insulatinglayer 190 may be formed at sidewalls of the via hole H1 formed at the center of the light emitting structure P1, and may electrically insulate thesecond electrode 181 and theactive layer 130 from each other.
The secondohmic electrode 160 may be disposed on asurface 140a of the secondconductive semiconductor layer 140 facing thesubstrate 111. The secondconductive semiconductor layer 140 may have GaP composition. Accordingly, the contact resistance between the secondconductive semiconductor layer 140 and the secondohmic electrode 160 may be reduced.
The first and secondohmic electrodes 170 and 160 may be formed to include at least one of ITO, IZO, IZTO, IAZO, IGZO, IGTO, AZO, ATO, GZO, IZON, AGZO, IGZO, ZnO, IrOx, RuOx, NiO, RuOx/ITO, Ni/IrOx/Au, or Ni/IrOx/Au/ITO, Ag, Ni, Cr, Ti, Al, Rh, Pd, Ir, Sn, In, Ru, Mg, Zn, Pt, Au, and Hf, but the materials of the first and secondohmic electrodes 170 and 160 are not limited thereto.
Thesecond electrode 181 may be electrically connected to the secondohmic electrode 160 through the insulatinglayer 190. Thesecond electrode 181 may be disposed at an edge of the light emitting structure, but the embodiment is not necessarily limited thereto.
Theoptical layer 112 may be formed at one side of the light emitting structure P1 and cover the secondohmic electrode 160 and adhere thelight transmitting substrate 111 and the light emitting structure P1 to each other. Theoptical layer 112 may be a resin such as Polycarbonate (PC) and Polymethylmethacrylate (PMMA), and may also be an Optically Clear Adhesive (OCA). The material of theoptical layer 112 is not particularly limited as long as the material has a light transmittance of 90% or more with respect to visible light.
The light-transmittingsubstrate 111 may be an insulating substrate. The light-transmittingsubstrate 111 may be made of a material selected from sapphire (Al)2O3) SiC, GaN, ZnO, Si, GaP, InP, and Ge, but the material of the light-transmittingsubstrate 111 is not particularly limited as long as the material thereof transmits 90% or more of visible light. A plurality of irregularities can be formed on the light-transmittingsubstrate 111. Irregularities can improve light extraction efficiency.
Referring to fig. 2, the plurality of firstohmic electrodes 170 may occupy 2 to 7% of the entire area in a plan view. The diameter of the firstohmic electrode 170 may be 5 μm to 15 μm or 8 μm to 10 μm.
Referring to fig. 3, it can be seen that VF decreases as the area of the firstohmic electrode 170 becomes larger. Referring to fig. 4, it can be seen that as the area of the firstohmic electrode 170 becomes smaller, the light flux increases. It can be checked that when the area of the firstohmic electrode 170 is 1.05% to 1.75% of the entire area of the firstconductive semiconductor layer 120, the light flux is improved.
Referring again to fig. 1 and 2, the secondohmic electrode 160 may include apad electrode 161 formed at the center of the light emitting structure P1 and a plurality ofbranch electrodes 162 extending from thepad electrode 161 toward the corners V1, V2, V3, and V4 or the sides S1, S2, S3, and S4.
The light emitting structure P1 may include a via T2 in which thesecond electrode 181 extends, and a ratio T2: T1 between a diameter of the via T2 and a diameter T1 of a pad electrode of the secondohmic electrode 160 may be 1:1.2 to 1: 2.0. When the ratio between the diameters is 1:1.2, it may be difficult for the secondohmic electrode 160 and thesecond electrode 181 to be in sufficient contact. When the ratio between the diameters exceeds 1:2, there is a problem that the amount of light absorbed by thepad electrode 161 greatly increases. The area of the secondohmic electrode 160 may occupy 2 to 7% of the entire area of the secondconductive semiconductor layer 140.
The ratio between the diameter T1 of thepad electrode 161 and the diameter T3 of the via hole formed in the insulatinglayer 190 may be 1:3 to 1: 7. When the ratio between the diameters is less than 1:3, the diameter T3 of the through hole is reduced and it may become difficult to ensure a sufficient welding area. When the ratio between the diameters exceeds 1:7, the area of the effective region is extremely reduced, and there is a problem that a sufficient amount of light cannot be obtained.
The plurality of firstohmic electrodes 170 may be respectively arranged in a plurality of divisional regions divided by thebranch electrodes 162 of the secondohmic electrode 160. That is, the first and secondohmic electrodes 170 and 160 may not overlap each other in a plan view.
Fig. 5 is a view for describing the shapes of the first electrode and the second electrode.
Referring to fig. 5, the light emitting device may have a square shape in a plan view, having first and second surfaces S1 and S2 facing each other and third and fourth surfaces S3 and S4 facing each other.
The first andsecond electrodes 182 and 181 may have a shape symmetrical with respect to first and second imaginary lines a1 and a2 passing through the center. Here, the first virtual line a1 may be parallel to the first surface S1, and the second virtual line a2 may be parallel to the third surface S3.
According to this structure, even when the chip is rotated by 90 ° or 180 ° with respect to the center C of the bottom surface at the time of mounting the light emitting device, normal electrode connection becomes possible. Such a non-directional electrode structure can improve the reliability in mounting.
The area of the first andsecond electrodes 182 and 181 may be 60% to 90% or 65% to 80% with respect to the entire area of the bottom surface set to 100. When the areas of the first andsecond electrodes 182 and 181 are less than 60%, there is a problem in that the area of the pad is reduced. When the area of the first andsecond electrodes 182 and 181 exceeds 90%, the gap d1 between the first andsecond electrodes 182 and 181 is narrowed, and it may be difficult to electrically separate the first andsecond electrodes 182 and 181.
Thefirst electrode 182 may be 20% to 40% with respect to the entire area of the bottom surface set as 100. Thefirst electrode 182 may be 50% to 70% with respect to the entire area of the bottom surface set as 100.
The radius (1/2 xw 3) of thesecond electrode 181 may be 30% to 60% of the diagonal width W4 of thefirst electrode 182. In addition, the gap d1 between thefirst electrode 182 and thesecond electrode 181 may be 60% to 80% of the diagonal width W4 of thefirst electrode 182.
The horizontal width W5 of thefirst electrode 182 may be 20% to 60% of the diagonal width W4 of thefirst electrode 182. Here, the diagonal width may be a length of a virtual line ranging from the center of the bottom surface to the center C of the bottom surface, and the horizontal width may be a length of a virtual line ranging from a point where any one of the surfaces S1, S2, S3, and S4 bisects to the center C of the bottom surface. When such a condition is satisfied, the area of the corner portion of thesecond electrode 181 is increased, and a change in the position of thesecond electrode 181 can be prevented when thesecond electrode 181 is mounted on the substrate.
As an example, the width W1 of the first surface S1 and the width W2 of the fourth surface S4 may be 500 μm to 700 μm, the width W3 of thesecond electrode 181 may be 150 μm to 200 μm, the diagonal width W4 of thefirst electrode 182 may be 150 μm to 200 μm, and the gap d1 between thefirst electrode 182 and thesecond electrode 181 may be 100 μm to 150 μm.
Fig. 6 is a cross-sectional view of a light emitting structure.
Referring to fig. 6, the light emitting structure P1 may include a firstconductive semiconductor layer 120, anactive layer 130, and a secondconductive semiconductor layer 140.
The firstconductive semiconductor layer 120 may be implemented using at least one of a group III-V compound semiconductor and a group II-VI compound semiconductor doped with a first conductive dopant.
The firstconductive semiconductor layer 120 may be formed of a material having, for example, InxAlyGa1-x-yN (x is more than or equal to 0 and less than or equal to 1, y is more than or equal to 0 and less than or equal to 1, and x + y is more than or equal to 0 and less than or equal to 1).
The firstconductive semiconductor layer 120 may include, for example, at least one of GaN, AlN, AlGaN, InGaN, InN, InAlGaN, AlInN, AlGaAs, GaP, GaAs, GaAsP, and AlGaInP.
The firstconductive semiconductor layer 120 may be an n-type semiconductor layer doped with n-type dopants such as Si, Ge, Sn, Se, and Te. The firstconductive semiconductor layer 120 may be arranged as a single layer or a plurality of layers.
The firstconductive semiconductor layer 120 according to an embodiment may include a firstclad layer 123, a firstcurrent distribution layer 122, and a firstohmic layer 121.
The firstclad layer 123 may be an n-type carrier injection layer and include AlInP. The Al component may be 0.2 to 0.7. As an example, thefirst cladding 123 may have Al0.5In0.5Component (b) of P. The thickness of the firstclad layer 123 may be 300nm to 700 nm.
The first current-distributinglayer 122 serves to distribute the current injected through the electrodes. The firstcurrent distribution layer 122 may have a size smaller than the firstclad layer 123 and largeThe band gap of the firstohmic layer 121. Firstcurrent distribution layer 122 may comprise AlGaInP. The Al component may be 0.2 to 0.7. As the Al composition becomes higher, the transmittance may become higher, but the resistance may also become higher. As an example, the firstcurrent distribution layer 122 may be (Al)0.4Ga0.6)0.5In0.5And P. The firstcurrent distribution layer 122 may function as a low resistance layer due to having a lower Al composition than the first clad 123.
The thickness of the first current-distributinglayer 122 may be 2500nm to 3000 nm. Irregularities may be formed on the surface of the first current-distributinglayer 122 and the light extraction efficiency may be increased. The irregularities may be formed by dry etching (dry etching).
The firstohmic layer 121 may include GaAs and may be doped with n-type dopants such as Si, Ge, Sn, Se, and Te. The thickness of the firstohmic layer 121 may be about 20nm to 50 nm. Since the firstohmic layer 121 has a smaller energy bandgap than the firstcurrent distribution layer 122, ohmic contact between the firstohmic layer 121 and the electrode may be facilitated. As an example, the energy bandgap of the firstohmic layer 121 may be 1.4 eV.
Theactive layer 130 may be formed of at least one of a single well structure, a single quantum well structure, a multi-quantum well (MQW) structure, a quantum wire structure, and a quantum dot structure.
Theactive layer 130 is a layer in which electrons (or holes) injected through the firstconductive semiconductor layer 120 and holes (or electrons) injected through the secondconductive semiconductor layer 140 are combined, and emits light due to a difference in band gap according to a material forming theactive layer 130.
Theactive layer 130 may be implemented using a compound semiconductor. As an example, theactive layer 130 may be implemented using at least one of a II-VI compound semiconductor and a III-V compound semiconductor.
Theactive layer 130 includes a plurality ofwell layers 131 and a plurality of barrier layers 132 alternately arranged, wherein thewell layer 131/barrier layer 132 pairs may be formed every 2 to 30 cycles. Thewell layer 131/barrier layer 132 includes, for example, at least one of an AlInGaP/AlInGaP pair, an InGaN/GaN pair, a GaN/AlGaN pair, an AlGaN/AlGaN pair, an InGaN/InGaN pair, an AlGaAs/GaAs pair, an InGaAs/GaAs pair, an InGaP/GaP pair, an AlInGaP/InGaP pair, and an InP/GaAs pair.
Thewell layer 131 may be arranged to have an empirical formula InxAlyGa1-x-yP(0<x≤1,0≤y≤1,0≤x+y<1) The semiconductor material of (1). Can use In having an empirical formulaxAlyGa1-x-yP(0≤x≤1,0≤y≤1,0≤x+y<1) Formsbarrier layer 132.
As an example, thewell layer 131 may be (Al)0.1Ga0.9)0.5In0.5P, and thebarrier layer 132 may be (Al)0.7Ga0.3)0.5In0.5And P. The thickness of thewell layer 131 may be about 5nm to 10nm, and the thickness of thebarrier layer 132 may be 10 to 20 nm.
Theactive layer 130 may includeoutermost barrier layers 133a and 133b disposed adjacent to the firstconductive semiconductor layer 120 and the secondconductive semiconductor layer 140. Theoutermost barrier layers 133a and 133b may have (Al)0.1Ga0.9)0.5In0.5P and a thickness of 40nm to 60 nm.
Thediffusion preventing layer 141 may be disposed between theactive layer 130 and the secondconductive semiconductor layer 140. Thediffusion preventing layer 141 may prevent the dopant of the secondconductive semiconductor layer 140 from diffusing into theactive layer 130. Thediffusion preventing layer 141 may have Al0.5In0.5Composition of P and thickness of 200nm to 300 nm.
The secondconductive semiconductor layer 140 may be formed of a material having an empirical formula such as InxAlyGa1-x-yN (x is more than or equal to 0 and less than or equal to 1, y is more than or equal to 0 and less than or equal to 1, and x + y is more than or equal to 0 and less than or equal to 1).
The secondconductive semiconductor layer 140 may include, for example, at least one of AlInP, GaP, GaN, AlN, AlGaN, InGaN, InN, InAlGaN, AlInN, AlGaAs, GaAs, GaAsP, and AlGaInP, and may be a p-type semiconductor layer doped with a p-type dopant such as Mg.
The secondconductive semiconductor layer 140 may be arranged as a single layer or a plurality of layers. The secondconductive semiconductor layer 140 may have a superlattice structure in which at least two layers different from each other are alternately arranged. The secondconductive semiconductor layer 140 may be an electrode contact layer.
The secondconductive semiconductor layer 140 may include asecond cladding layer 142, a secondcurrent distribution layer 148, and a secondohmic layer 149.
Thesecond cladding layer 142 may be a P-type carrier injection layer and include AlInP. The Al component may be 0.2 to 0.7. As an example, thesecond cladding layer 142 may be Al0.5In0.5And P. The thickness of thesecond cladding layer 142 may be 300nm to 700 nm. The dopant doping concentration may be 1.0 × 1018/cm3To 2.0X 1018/cm3
The second current distributinglayer 148 serves to distribute the current injected through the electrodes. The secondcurrent distribution layer 148 may have an energy band gap smaller than that of thesecond cladding layer 142 and larger than that of the secondohmic layer 149. Second current-distributinglayer 148 may include GaP.
The thickness of the second current-distributinglayer 148 may be 3000nm to 4000 nm. The dopant doping concentration may be 1.0 × 1018/cm3To 2.0X 1018/cm3
The secondohmic layer 149 may include GaP and may be doped with carbon. The thickness of the secondohmic layer 149 may be about 150nm to 250 nm. The carbon doping concentration may be 5.0 × 1019/cm3To 2.0X 1020/cm3. When the carbon doping concentration is 5.0X 1019/cm3To 2.0X 1020/cm3In this case, the effect of ohmic contact with metal or ITO can be improved due to the increase in conductivity. As the secondohmic layer 149 becomes farther from theactive layer 130, the carbon concentration may increase.
A plurality of buffer layers may be disposed between thesecond cladding layer 142 and the secondcurrent distribution layer 148. Thefirst buffer layer 143 may have (Al)0.85Ga0.15)0.5In0.5P has a composition, a thickness of 150nm to 250nm, and a dopant doping concentration of 1.0 × 1018/cm3To 2.0X 1018/cm3. Thesecond buffer layer 144 may have (Al)0.3Ga0.7)0.5In0.5Composition of P, thickness of 10nm to 15nmDegree, and 1.0 × 1018/cm3To 2.0X 1018/cm3Dopant doping concentration of (a). The Al composition in the first and second buffer layers 143 and 144 may be gradually reduced to reduce the energy band GaP difference between AlGaP and GaP.
Thethird buffer layer 145 may have Ga0.75In0.25Composition of P, thickness of 20nm to 40nm, and 1.0X 1018/cm3To 2.0X 1018/cm3Dopant doping concentration of (a). Thethird buffer layer 145 may relieve stress due to a lattice difference between AlGaP and GaP.
Thefourth buffer layer 146 may have GaP composition and enhance the film quality of the secondcurrent distribution layer 148 by adjusting the growth speed and growth temperature. As an example, the fourth-first buffer layer 146a may be grown at a low rate at about 650 ℃, and then the fourth-second buffer layer 146b and the fourth-third buffer layer 146c may be formed at an increased growth temperature, 750 ℃. The thickness of the fourth-first buffer layer 146a may be 10nm to 15nm, the thickness of the fourth-second buffer layer 146b may be 40nm to 60nm, and the thickness of the fourth-third buffer layer 146c may be 60nm to 80 nm. All of the fourth-first to fourth-third buffer layers 146a, 146b and 146c may have a doping concentration of 1.0 × 1018/cm3To 2.0X 1018/cm3
Thediffusion preventing layer 147 may be formed with a low doping concentration of 2.0 × 1017/cm3To 3.0X 1017/cm3Fabrication, and prevention of diffusion of dopants such as Mg. The thickness of thediffusion preventing layer 147 may be 150nm to 250 nm.
Fig. 7 is a conceptual diagram of a light emitting device according to a second embodiment of the present invention, fig. 8 is a plan view of fig. 7, fig. 9 is a conceptual diagram of a light emitting device according to a third embodiment of the present invention, fig. 10 is a plan view of fig. 9, fig. 11 is a conceptual diagram of a light emitting device according to a fourth embodiment of the present invention, and fig. 12 is a plan view of fig. 11.
Referring to fig. 7, thelight emitting device 100B according to the embodiment may have a firstohmic electrode 170 disposed at the inner surface 140B of the secondconductive semiconductor layer 140.
The light emitting structure P1 includes an accommodating groove H3 formed on the firstconductive semiconductor layer 120 and configured to expose the second current distribution layer or the second ohmic layer of the secondconductive semiconductor layer 140. The secondohmic electrode 160 may be disposed on the bottom surface of the accommodating groove H3.
The structure of the light emitting structure described above with reference to fig. 6 includes a structure that can be applied to the present embodiment as it is. Since the thickness of the second current distribution layer is 3000nm to 4000nm and the thickness of the second ohmic layer is 150nm to 250nm with reference to fig. 6, the thickness of the secondconductive semiconductor layer 140 remaining at the lower portion of the receiving groove H3 may be 150nm to 4250 nm.
Referring to fig. 8, the firstohmic electrode 170 may include apad electrode 161 and abranch electrode 162 arranged at the center, and a groove corresponding to the shape of the secondohmic electrode 160 may be formed in the insulatinglayer 190.
Referring to fig. 9 and 10, alight emitting device 100C according to an embodiment may have asecond electrode 181 formed in a quadrangular shape and disposed at the center and afirst electrode 182 disposed at the edge of the light emitting device. In this case, the secondohmic electrode 160 may also be disposed at an edge of the light emitting structure.
Referring to fig. 11 and 12, alight emitting device 100D according to an embodiment may have anITO layer 163 as a substitute for the second ohmic electrode. Since the secondconductive semiconductor layer 140 includes carbon in the surface layer as described above, ohmic contact efficiency with theITO layer 163 may be improved.
Fig. 13 to 24 are views for describing a method of manufacturing a light emitting device according to an embodiment of the present invention.
Referring to fig. 13 and 14, anetch stop layer 20 may be formed on thegrowth substrate 10, and a light emitting structure P1 and a firstohmic electrode 170 may be grown on theetch stop layer 20.
Thegrowth substrate 10 may be a GaAs substrate. The thickness of the substrate is 0.5 to 0.8 mm. The off angle of thegrowth substrate 10 may be 15 °, but is not necessarily limited thereto. After thegrowth substrate 10 is preheated, the stress relaxation layers 11 and 12 are formed. The stress relaxation layers 11 and 12 may have a GaAs composition and have a thickness of 200nm to 400 nm. The stress-relief layers 11 and 12 may be doped with a dopant, if necessary.
Then, theetch stop layer 20 may be formed. Theetch stop layer 20 may have a GaInP composition and may be doped with an n-type dopant if necessary. Theetch stop layer 20 may be formed to have a thickness of about 100nm to 200 nm.
The firstclad layer 123 may be an n-type carrier injection layer and include AlInP. The Al component may be 0.2 to 0.7. As an example, the firstclad layer 123 may be Al0.5In0.5And P. The thickness of the firstclad layer 123 may be 300nm to 700 nm.
The first current-distributinglayer 122 serves to distribute the current injected through the electrodes. The firstcurrent distribution layer 122 may have an energy band gap smaller than that of thefirst cladding layer 123 and larger than that of the firstohmic layer 121. Firstcurrent distribution layer 122 may comprise AlGaInP. As an example, the firstcurrent distribution layer 122 may be formed to have (Al)0.4Ga0.6)0.5In0.5Component (b) of P.
The first current-distributinglayer 122 may be manufactured to have a thickness of 2500nm to 3000 nm. Irregularities may be formed on the surface of the first current-distributinglayer 122 to improve light extraction efficiency. Irregularities can be formed by dry etching.
The firstohmic layer 121 may include GaAs and may be doped with n-type dopants such as Si, Ge, Sn, Se, and Te. The thickness of the firstohmic layer 121 may be about 20nm to 50 nm. Since the energy band gap of the firstohmic layer 121 is smaller than that of the firstcurrent distribution layer 122, ohmic contact may be facilitated. As an example, the energy bandgap of the firstohmic layer 121 may be 1.4 eV.
Theactive layer 130 may include a plurality ofwell layers 131 and a plurality of barrier layers 132 that are alternately formed. The number ofwell layer 131/barrier layer 132 pairs may be 20, but is not necessarily limited thereto.
As an example, thewell layer 131 may be (Al)0.1Ga0.9)0.5In0.5P, and thebarrier layer 132 may be (Al)0.7Ga0.3)Al0.7Ga0.3. The thickness of thewell layer 131 may be about 5nm to 10nm, and thebarrier layer 132 may be 10 to 20nm thick. Theactive layer 130 may includeoutermost barrier layers 133a and 133b disposed adjacent to the firstconductive semiconductor layer 120 and the secondconductive semiconductor layer 140. Theoutermost barrier layers 133a and 133b may have (Al)0.1Ga0.9)0.5In0.5The composition and thickness of P is 40nm to 60 nm.
Thediffusion preventing layer 141 may be disposed between theactive layer 130 and the secondconductive semiconductor layer 140. Thediffusion preventing layer 141 may prevent the dopant of the secondconductive semiconductor layer 140 from diffusing into theactive layer 130. Thediffusion preventing layer 141 may have Al0.5In0.5A composition of P and a thickness of 200nm to 300 nm.
The secondconductive semiconductor layer 140 may be formed of a material having, for example, InxAlyGa1-x-yN (x is more than or equal to 0 and less than or equal to 1, y is more than or equal to 0 and less than or equal to 1, and x + y is more than or equal to 0 and less than or equal to 1).
The secondconductive semiconductor layer 140 may include asecond cladding layer 142, a secondcurrent distribution layer 148, and a secondohmic layer 149.
Thesecond cladding layer 142 may be a P-type carrier injection layer and include AlInP. The Al component may be 0.2 to 0.7. As an example, thesecond cladding layer 142 may be Al0.5In0.5And P. The thickness of thesecond cladding layer 142 may be 300nm to 700 nm. The dopant doping concentration may be 1.0 × 1.0 × 1018/cm3 to 2.0×1018/cm3
The second current distributinglayer 148 serves to distribute the current injected through the electrodes. The secondcurrent distribution layer 148 may have an energy band gap smaller than that of thesecond cladding layer 142 and larger than that of the secondohmic layer 149. Second current-distributinglayer 148 may include GaP.
The thickness of the second current-distributinglayer 148 may be 3000nm to 4000 nm. The dopant doping concentration may be 1.0 × 1018/cm3To 2.0X 1018/cm3
The secondohmic layer 149 may include GaP and may be doped with carbon. The thickness of the secondohmic layer 149 may be about 150nm to 250 nm. The carbon doping concentration may be 5.0 × 1019/cm3To 2.0X 1020/cm3. When the carbon doping concentration is 5.0X 1019/cm3To 2.0X 1020/cm3In this case, the effect of ohmic contact with metal or ITO can be improved due to the increase in conductivity.
A plurality of buffer layers may be disposed between thesecond cladding layer 142 and the secondcurrent distribution layer 148. Thefirst buffer layer 143 may have (Al)0.85Ga0.15)0.5In0.5P has a composition, a thickness of 150nm to 250nm, and a dopant doping concentration of 1.0 × 1018/cm3To 2.0X 1018/cm3. Thesecond buffer layer 144 may have (Al)0.3Ga0.7)0.5In0.5Composition of P, thickness of 10nm to 15nm, and 1.0X 1018/cm3To 2.0X 1018/cm3Dopant doping concentration of (a). Thefirst buffer layer 143 and thesecond buffer layer 144 may reduce an energy band GaP difference between AlGaP and GaP.
Thethird buffer layer 145 may have Ga0.75In0.25Composition of P, thickness of 20nm to 40nm, and 1.0X 1018/cm3To 2.0X 1018/cm3Dopant doping concentration of (a). Thethird buffer layer 145 may relieve stress due to a lattice difference between AlGaP and GaP.
Thefourth buffer layer 146 may have GaP composition and enhance the film quality of the secondcurrent distribution layer 148 by adjusting the growth speed and growth temperature. As an example, the fourth-first buffer layer 146a may be grown at about 650 ℃, and then the fourth-second buffer layer 146b and the fourth-third buffer layer 146c may be formed at an increased growth temperature of 750 ℃. The thickness of the fourth-first buffer layer 146a may be 10nm to 15nm, the thickness of the fourth-second buffer layer 146b may be 40nm to 60nm, and the thickness of the fourth-third buffer layer 146c may be 60nm to 80 nm. The doping concentration of all of the fourth-first to fourth to third buffer layers 146c may be 1.0 × 1018/cm3To 2.0X 1018/cm3
Thediffusion preventing layer 141 may be formed with a low doping concentration of 2.0 × 1017/cm3To 3.0X 1017/cm3Fabrication, and prevention of diffusion of dopants such as Mg. The thickness of thediffusion preventing layer 141 may be 150nm to 250 nm.
Referring to fig. 15, the secondohmic electrode 160 may include apad electrode 161 formed at the center and abranch electrode 162 extended to each corner. The secondohmic electrode 160 may be formed in a range of 2% to 7% of the area of the secondconductive semiconductor layer 140.
Referring to fig. 16, theoptical layer 112 and the light-transmittingsubstrate 111 may be formed on the secondohmic electrode 160. Specifically, after a resin such as PC, PMMA, and silicone resin is applied on the light emitting structure P1, thelight transmitting substrate 111 may be formed thereon to cover the resin and be hardened.
Then, thegrowth substrate 10 may be removed. Thegrowth substrate 10 may be removed using a wet etching method. Various etching solutions capable of selectively removing GaAs may be selected as the etching solution. As an example, the etching solution may be an ammonia solution.
The etching solution may remove GaAs but not GaInP. Therefore, thegrowth substrate 10 may be selectively removed using an etching solution. Theetch stop layer 20 may then be removed. The method of removing theetch stop layer 20 is not particularly limited. As an example, theetch stop layer 20 may be removed using polishing.
Referring to fig. 17, a firstohmic electrode 170 is formed on the firstconductive semiconductor layer 120, the firstconductive semiconductor layer 120 being exposed due to the removal of thegrowth substrate 10. In this case, first, the sub-layer 171 including the GaAs composition may be formed, and then the firstohmic electrode 170 may be formed thereon. Then, a region where the firstohmic electrode 170 is not formed may be removed.
Referring to fig. 18, the firstohmic electrode 170 may be formed in a portion defined by a virtual quadrangular shape R1 and two dotted lines A3 and a4 connecting corners of the quadrangular shape. That is, the firstohmic electrode 170 and the secondohmic electrode 160 do not overlap with each other in a plan view. The quadrilateral shape R1 may be in the range of 80% to 90% of the outermost quadrilateral.
Referring to fig. 19 to 21, the firstconductive semiconductor layer 120 and theactive layer 130 are etched to form a first via H1, and then the firstreflective layer 151 and thetransparent electrode layer 152 are formed thereon. Then, a secondreflective layer 153 is formed as in fig. 21. Then, the center is etched again as in fig. 22 to form a second via H2 and expose the secondohmic electrode 160.
Then, after forming the insulatinglayer 190 throughout the upper portion as in fig. 23, thefirst electrode 182 and the firstconductive semiconductor layer 120 may be electrically connected through the firstohmic electrode 170, and thesecond electrode 181 and the secondconductive semiconductor layer 140 may be electrically connected through the secondohmic electrode 160.
Fig. 25 is a conceptual diagram of a light emitting device according to a fifth embodiment of the present invention, fig. 26 is a plan view of fig. 25, and fig. 27a is a modified example of fig. 26.
Referring to fig. 25, the light emitting device includes a light emitting structure P1, an insulatinglayer 190 disposed at the other side of the light emitting structure P1, afirst electrode 182 electrically connected to the firstconductive semiconductor layer 120 through the insulatinglayer 190, and asecond electrode 181 electrically connected to the secondconductive semiconductor layer 140.
The light emitting structure P1 includes a firstconductive semiconductor layer 120, anactive layer 130, and a secondconductive semiconductor layer 140. The wavelength type of the light emitting structure P1 is not particularly limited. Hereinafter, a description will be given by assuming that light output from the light emitting structure P1 is light in a red wavelength band.
The firstreflective layer 151 may be disposed on the firstconductive semiconductor layer 120. The firstreflective layer 151 may be an ODR formed of at least one selected from compounds, mixtures, oxides, and nitrides containing Si, Ti, Mg, Al, Zn, In, Sn, and C. However, the embodiment is not necessarily limited thereto, and an insulating layer or a reflective layer formed of various other materials may be applied as the firstreflective layer 151. The firstreflective layer 151 may be ITO.
The plurality of firstohmic electrodes 170 may contact the firstconductive semiconductor layer 120 through the firstreflective layer 151. The firstohmic layer 121 of the firstconductive semiconductor layer 120 may have a GaAs composition of a low bandgap. Accordingly, the contact resistance between the firstconductive semiconductor layer 120 and the firstohmic electrode 170 may be reduced. Since the firstohmic layer 121 absorbs light in the red wavelength band, a region except for a region where the firstohmic electrode 170 is formed may be removed. The area of the firstohmic layer 121 may be 2 to 7% of the entire area of the second conductive semiconductor layer. When the area of the firstohmic layer 121 exceeds 7%, there is a problem in that the firstohmic layer 121 excessively absorbs infrared light and the light output is reduced. When the area of the firstohmic layer 121 is less than 2%, there is a problem in that an ohmic contact area is reduced.
Thetransparent electrode layer 152 may be disposed on the firstreflective layer 151. Thetransparent electrode layer 152 may be formed of a material having excellent conductivity so that current injected from the outside can be uniformly diffused horizontally.
Thetransparent electrode layer 152 may be formed of TCO. The TCO may be selected from ITO, IZO, AZO, AGZO, IZTO, IAZO, IGZO, IGTO, ATO, GZO, IZON, ZnO, IrOx, RuOx, NiO, etc. However, the embodiment is not necessarily limited thereto, and the firstreflective layer 151 and thetransparent electrode layer 152 may be configured as a single layer. As an example, the firstreflective layer 151 and thetransparent electrode layer 152 may include an ITO layer, but the embodiment is not necessarily limited thereto.
The secondreflective layer 153 may be formed of a material having a high reflectivity, such as Ag, Ni, Al, Rh, Pd, Ir, Ru, Mg, Zn, Pt, Au, Hf, etc., or a mixture of a material having a high reflectivity and a transparent conductive material, such as IZO, IZTO, IAZO, IGZO, IGTO, AZO, and ATO.
The insulatinglayer 190 may be disposed on the light emitting structure P1. The insulatinglayer 190 may be made of a material selected from the group consisting of SiO2、SixOy、Si3N4、SixNy、SiOxNy、Al2O3、TiO2AlN, or the like, but the embodiment is not limited thereto. The insulatinglayer 190 may be formed of a single layer or a plurality of layers. As an example, the insulatinglayer 190 may have a DBR structure in which high refractive index layers and low refractive index layers are alternately stacked.
The insulatinglayer 190 may extend to sidewalls of the groove H1 formed in the light emitting structure P1, and may electrically insulate thesecond electrode 181 and theactive layer 130 from each other.
The secondohmic electrode 160 may be in contact with the secondconductive semiconductor layer 140. The secondconductive semiconductor layer 140 contacting the secondohmic electrode 160 may have GaP components. Accordingly, since the band GaP of GaP is relatively low, the contact resistance between the secondconductive semiconductor layer 140 and the secondohmic electrode 160 may be reduced. The thickness d31 between the secondohmic electrode 160 and the firstconductive semiconductor layer 20 may be 150nm to 4250 nm.
The first and secondohmic electrodes 170 and 160 may be formed to include at least one of ITO, IZO, IZTO, IAZO, IGZO, IGTO, AZO, ATO, GZO, IZON, AGZO, IGZO, ZnO, IrOx, RuOx, NiO, RuOx/ITO, Ni/IrOx/Au, or Ni/IrOx/Au/ITO, Ag, Ni, Cr, Ti, Al, Rh, Pd, Ir, Sn, In, Ru, Mg, Zn, Pt, Au, and Hf, but the materials of the first and secondohmic electrodes 170 and 160 are not limited thereto.
Theoptical layer 112 may be formed at one side of the light emitting structure P1, and adhere thelight transmitting substrate 111 and the light emitting structure P1 to each other. Theoptical layer 112 may be a resin such as PC and PMMA, and may also be OCA. The material of theoptical layer 112 is not particularly limited as long as the material transmits visible light.
The light-transmittingsubstrate 111 may be an insulating substrate. The light-transmittingsubstrate 111 may be made of a material selected from sapphire (Al)2O3) SiC, GaN, ZnO, Si, GaP, InP, and Ge, but the material of the light-transmittingsubstrate 111 is not particularly limited as long as the material transmits visible light.
The thickness of the light-transmittingsubstrate 111 may be 100um to 1000 um. Therefore, light can also be output to one side of the light-transmittingsubstrate 111, and light extraction efficiency can be improved. A plurality of irregularities can be formed on the light-transmittingsubstrate 111. Irregularities can improve light extraction efficiency.
Referring to fig. 26, in a plan view, the light emitting device according to the embodiment may have a quadrangular shape having four sides S1, S2, S3, and S4. Thefirst electrode 182 and thesecond electrode 181 may have a rectangular shape and be spaced apart from each other in a plan view.
The plurality of secondohmic electrodes 160 may include apad electrode 161 disposed on thesecond electrode 181 and abranch electrode 162 extending from thepad electrode 161 toward thefirst electrode 182.
The firstohmic electrode 170 may overlap thefirst electrode 182 and thesecond electrode 181 in a plan view. The secondohmic electrode 160 may overlap thefirst electrode 182 and thesecond electrode 181 in a plan view. In this case, the first and secondohmic electrodes 170 and 160 may not overlap each other in a plan view. However, the embodiment is not necessarily limited thereto, and when a separate insulator is provided, the first and secondohmic electrodes 170 and 160 may overlap each other in a plan view.
Fig. 27a is a first modified example of a light emitting device according to a fifth embodiment of the present invention, fig. 27B is a cross-sectional view taken along line B-B' in fig. 27a, fig. 27c is a second modified example of a light emitting device according to a fifth embodiment of the present invention, fig. 27d is a third modified example of a light emitting device according to a fifth embodiment of the present invention, fig. 27e is a plan view of fig. 27d, and fig. 27f is a fourth modified example of a light emitting device according to a fifth embodiment of the present invention.
The shape of the second ohmic electrode may be deformed into various shapes. Referring to fig. 27a and 27b, the secondohmic electrode 160 includes a plurality ofpad electrodes 161 arranged on thesecond electrode 181 andbranch electrodes 162 electrically connected to thepad electrodes 161.
Thebranch electrode 162 disposed at the outermost side may include afirst region 162a extending toward thefirst electrode 182 andsecond regions 162b and 162c bent along the side of thefirst electrode 182. That is, thebranch electrode 162 does not overlap with thefirst electrode 182 in a plan view. Therefore, even when a crack is formed in the insulatinglayer 190 due to external impact or the like, the problem that thefirst electrode 182 and the secondohmic electrode 160 are disconnected can be improved.
In a plan view, the light emitting structure may have a rectangular shape, and thefirst electrode 182 may have a quadrangular shape including four sides. Thefirst electrode 182 may include afirst surface 182a and asecond surface 182b facing each other and athird surface 182c and afourth surface 182d facing each other and connecting thefirst surface 182a and thesecond surface 182 b.
Thefirst region 162a of thebranch electrode 162 may extend toward thefirst surface 182 a. Thesecond regions 162b and 162c may be bent along thefirst surface 182a and extend between thethird surface 182c and theedge 111a (the side of the transparent substrate) of the light emitting device, or between thefourth surface 182d and theedge 111a of the light emitting device.
Thebranch electrode 162 may further include athird region 162d bent along thethird surface 182c or thefourth surface 182d and surrounding thesecond surface 182 b. However, the embodiment is not necessarily limited thereto, and as in fig. 27c, thebranch electrode 162 may have a shape bent along bothsides 182c and 182d of the electrode without the third region.
Referring to fig. 27d and 27e, the secondohmic electrode 160 may be disposed at an edge of the secondconductive semiconductor layer 130. In this case, the conductivereflective layer 164 may be disposed between thesecond electrode 181 and the secondohmic electrode 160. The conductivereflective layer 164 may be electrically connected to the secondohmic electrode 160.
Since the secondconductive semiconductor layer 130 has AlGaInP composition and has relatively low Al composition, the secondconductive semiconductor layer 130 may function as a low resistance layer. Therefore, even when the secondohmic electrode 160 is disposed only at the outer boundary of the secondconductive semiconductor layer 130, the current distribution effect may be sufficient.
Referring to fig. 27f, the secondohmic electrode 160 may be divided into a plurality ofelectrodes 160 a. Since each of the plurality ofelectrodes 160a is electrically connected to the conductivereflective layer 164, current injection may be possible. In this case, the contact area with the secondconductive semiconductor layer 130 may be further reduced.
The area of the secondohmic electrode 160 may be 0.1% to 10% of the entire area of the secondconductive semiconductor layer 130 in a plan view. When the area of the secondohmic electrode 160 is less than 0.1% of the entire area, it is difficult to uniformly distribute the injected current to thesemiconductor layer 130, and when the area of the secondohmic electrode 160 exceeds 10%, there are problems in that the area of the conductive reflective layer is reduced and the light output is reduced.
Fig. 28 is a conceptual diagram of the light emitting structure in fig. 25, and fig. 29 is a modified example of fig. 28.
Referring to fig. 28, the light emitting structure P1 may include a firstconductive semiconductor layer 120, anactive layer 130, and a secondconductive semiconductor layer 140.
The firstconductive semiconductor layer 120 may be implemented using at least one of a group III-V compound semiconductor and a group II-VI compound semiconductor doped with a first conductive dopant.
The firstconductive semiconductor layer 120 may be formed of a material having an empirical formula, for example, InxAlyGa1-x-yP (x is more than or equal to 0 and less than or equal to 1, y is more than or equal to 0 and less than or equal to 1, and x + y is more than or equal to 0 and less than or equal to 1).
The firstconductive semiconductor layer 120 may include, for example, at least one of AlGaInP, AlInP, GaN, AlN, AlGaN, InGaN, InN, InAlGaN, AlInN, AlGaAs, GaP, GaAs, and GaAsP.
The firstconductive semiconductor layer 120 may be an n-type semiconductor layer doped with n-type dopants such as Si, Ge, Sn, Se, and Te. The firstconductive semiconductor layer 120 may be arranged as a single layer or a plurality of layers.
The firstconductive semiconductor layer 120 according to an embodiment may include a firstclad layer 123, a firstcurrent distribution layer 122, and a plurality of firstohmic layers 121.
The firstclad layer 123 may be an n-type carrier injection layer and include AlInP. The Al component may be 0.2 to 0.7. The thickness of the firstclad layer 123 may be 300nm to 700 nm. Since the Al composition of the firstclad layer 123 is relatively high, the firstclad layer 123 may be a layer having the highest transmittance with respect to light in the red wavelength band. The dopant doping concentration may be 4.0 × 1017/cm3To 6.0X 1017/cm3
The first current-distributinglayer 122 serves to distribute the current injected through the electrodes. The firstcurrent distribution layer 122 may have an energy band gap smaller than that of thefirst cladding layer 123 and larger than that of the firstohmic layer 121.
Firstcurrent distribution layer 122 may comprise AlGaInP. As the Al composition becomes higher, the transmittance may become higher, but the resistance may also become higher. Due to the fact that the coating has a larger proportion than the first coating123 low Al composition, the first current-distributinglayer 122 may function as a low resistance layer. The dopant doping concentration may be 0.8 × 1018/cm3To 1.2X 1018/cm3
The thickness of the first current-distributinglayer 122 may be 2500nm to 3000 nm. Irregularities may be formed on the surface of the first current-distributinglayer 122 and the light extraction efficiency may be increased. Irregularities can be formed by dry etching.
The firstohmic layer 121 may include gallium (Ga) and arsenic (As), and may be doped with n-type dopants such As Si, Ge, Sn, Se, and Te. The thickness of the firstohmic layer 121 may be about 20nm to 80 nm. Since the firstohmic layer 121 has a smaller energy bandgap than the firstcurrent distribution layer 122, ohmic contact between the firstohmic layer 121 and the electrode may be facilitated. As an example, the energy bandgap of the firstohmic layer 121 may be 1.4 eV.
The dopant doping concentration of the firstohmic layer 121 may be 4.0 × 1018/cm3To 6.0X 1019/cm3And may be highest within the firstconductive semiconductor layer 120. Therefore, contact resistance with the ohmic electrode can be reduced.
However, the embodiment is not necessarily limited thereto, and the structure of the firstconductive semiconductor layer 120 may be deformed into various structures. As an example, the firstconductive semiconductor layer 120 may include the firstclad layer 123 and the firstcurrent distribution layer 122, or may include the firstohmic layer 121 and the firstclad layer 123.
Theactive layer 130 may be formed of at least one of a single well structure, a single quantum well structure, a multi-well structure, an MQW structure, a quantum wire structure, and a quantum dot structure.
Theactive layer 130 is a layer in which electrons (or holes) injected through the firstconductive semiconductor layer 120 and holes (or electrons) injected through the secondconductive semiconductor layer 140 are combined, and emits light according to a material forming theactive layer 130 due to a band gap difference. Theactive layer 130 according to the embodiment may emit light of a red wavelength band.
Theactive layer 130 may be implemented using a compound semiconductor. As an example, theactive layer 130 may be implemented using at least one of a II-VI compound semiconductor and a III-V compound semiconductor.
Theactive layer 130 includes a plurality ofwell layers 131 and a plurality of barrier layers 132 alternately arranged, wherein thewell layer 131/barrier layer 132 pairs may be formed every 2 to 30 cycles. Thewell layer 131/barrier layer 132 includes, for example, at least one of an AlInGaP/AlInGaP pair, an InGaN/GaN pair, a GaN/AlGaN pair, an AlGaN/AlGaN pair, an InGaN/InGaN pair, an AlGaAs/GaAs pair, an InGaAs/GaAs pair, an InGaP/GaP pair, an AlInGaP/InGaP pair, and an InP/GaAs pair.
Thewell layer 131 may be arranged to have an empirical formula InxAlyGa1-x-yP(0<x≤1,0≤y≤1,0≤x+y<1) The semiconductor material of (1). Can use In having an empirical formulaxAlyGa1-x-yP(0≤x≤1,0≤y≤1,0≤x+y<1) Formsbarrier layer 132.
The thickness of thewell layer 131 may be about 5nm to 10nm, and the thickness of thebarrier layer 132 may be 10 to 20 nm.
Theactive layer 130 may includeoutermost barrier layers 133a and 133b disposed adjacent to the firstconductive semiconductor layer 120 and the secondconductive semiconductor layer 140. Theoutermost barrier layers 133a and 133b may have (Al)0.1Ga0.9)0.5In0.5The composition and thickness of P is 40nm to 60 nm.
The secondconductive semiconductor layer 140 may be formed of a material having, for example, an empirical formula InxAlyGa1-x-yP (x is more than or equal to 0 and less than or equal to 1, y is more than or equal to 0 and less than or equal to 1, and x + y is more than or equal to 0 and less than or equal to 1).
The secondconductive semiconductor layer 140 may include, for example, at least one of AlInP, GaP, GaN, AlN, AlGaN, InGaN, InN, InAlGaN, AlInN, AlGaAs, GaAs, GaAsP, and AlGaInP, and may be a p-type semiconductor layer doped with a p-type dopant such as Mg.
The secondconductive semiconductor layer 140 may be arranged as a single layer or a plurality of layers. The secondconductive semiconductor layer 140 may have a superlattice structure in which at least two layers different from each other are alternately arranged.
The secondconductive semiconductor layer 140 may include asecond cladding layer 142, a secondcurrent distribution layer 148, and a secondohmic layer 149.
Thesecond cladding layer 142 may be a P-type carrier injection layer and include AlInP. The Al component may be 0.2 to 0.7. The thickness of thesecond cladding layer 142 may be 300nm to 700 nm. The dopant doping concentration may be 1.0 × 1018/cm3To 2.0X 1018/cm3
The second current distributinglayer 148 serves to distribute the current injected through the electrodes. The secondcurrent distribution layer 148 may have an energy band gap smaller than that of thesecond cladding layer 142 and larger than that of the secondohmic layer 149. Second current-distributinglayer 148 may include GaP.
The thickness of the second current-distributinglayer 148 may be 3000nm to 4000 nm. The dopant doping concentration may be 1.0 × 1018/cm3To 2.0X 1018/cm3
The secondohmic layer 149 may include GaP and may be doped with carbon. The thickness of the secondohmic layer 149 may be about 150nm to 250 nm. The carbon doping concentration may be 5.0 × 1019/cm3To 2.0X 1020/cm3. When the carbon doping concentration is 5.0X 1019/cm3To 2.0X 1020/cm3When the ohmic contact with the metal or ITO can be improved. As the secondohmic layer 149 becomes farther from theactive layer 130, the carbon concentration may increase. However, embodiments are not necessarily limited thereto, and the secondohmic layer 149 may not be doped with carbon.
Since the thickness of the secondcurrent distribution layer 148 is 3000nm to 4000nm and the thickness of the secondohmic layer 149 is 150nm to 250nm, the thickness d31 of the secondconductive semiconductor layer 140 held between the secondohmic electrode 160 and theoptical layer 112 may be 150nm to 4250 nm. When the thickness d31 of the remaining secondconductive semiconductor layer 140 is less than 250nm, the secondconductive semiconductor layer 140 may be in contact with the secondohmic layer 149, and the contact resistance may be further reduced.
Referring to fig. 29, a plurality of buffer layers may be disposed between thesecond cladding layer 142 and the secondcurrent distribution layer 148.
Thefirst buffer layer 143 may have a thickness of 150nm to 250nm and a dopant doping concentrationDegree of 1.0X 1018/cm3To 2.0X 1018/cm3. Thesecond buffer layer 144 may have a thickness of 10nm to 15nm and a dopant doping concentration of 1.0 × 1018/cm3To 2.0X 1018/cm3
The Al composition in the first and second buffer layers 143 and 144 may be gradually decreased to reduce the band GaP difference between AlInP and GaP.
Thethird buffer layer 145 may have a thickness of 20nm to 40nm and a dopant doping concentration of 1.0 × 1018/cm3To 2.0X 1018/cm3. Thethird buffer layer 145 may relieve stress due to a lattice difference between AlGaP and GaP.
The Al composition of thefirst buffer layer 143 may be 80 to 90%, the Al composition of thesecond buffer layer 144 may be 20 to 50%, and the Al composition of thethird buffer layer 145 may be 0 to 10%.
Can be manufactured to have a low doping concentration of 2.0 x 1017/cm3To 3.0X 1017/cm3And diffusion of a dopant such as Mg is prevented. The thickness of the seconddiffusion preventing layer 147 may be 150nm to 250 nm.
The firstdiffusion preventing layer 141 may be disposed between theactive layer 130 and the secondconductive semiconductor layer 140. The firstdiffusion preventing layer 141 may prevent the dopant of the secondconductive semiconductor layer 140 from diffusing into theactive layer 130. The firstdiffusion preventing layer 141 may have an AlInP composition and have a thickness of 200nm to 300 nm.
Fig. 30 is a conceptual diagram of a light emitting device according to a sixth embodiment of the present invention, fig. 31 is a plan view of fig. 30, fig. 32 is a conceptual diagram of a light emitting device according to a seventh embodiment of the present invention, and fig. 33 is a view illustrating ohmic contact between a second ohmic layer and an ITO layer.
Referring to fig. 30 and 31, a light emitting device according to an embodiment may include afirst electrode 182 disposed at the center and asecond electrode 181 disposed at the edge of the light emitting device.
Thefirst electrode 182 may have a polygonal shape or a circular shape, and thesecond electrode 181 may be disposed at an edge and have a shape surrounding thefirst electrode 182.
An edge of the light emitting structure P1 may be etched and a portion of the secondconductive semiconductor layer 140 may remain thereon. The secondohmic electrode 160 may be disposed on the remaining secondconductive semiconductor layer 140. Although not illustrated, the secondohmic electrode 160 may further include a plurality of branch electrodes extending toward the center.
In this embodiment, the structure of the light emitting structure described above can be applied as it is described with reference to fig. 28. As described above, since the thickness of the second current distribution layer is 3000nm to 4000nm and the thickness of the second ohmic layer is 150nm to 250nm, the thickness of the secondconductive semiconductor layer 140 remaining between the secondohmic electrode 160 and theoptical layer 112 may be 150nm to 4250 nm.
When the thickness of the remaining secondconductive semiconductor layer 140 is less than 250nm, the secondconductive semiconductor layer 140 may be in contact with the second ohmic layer, and the contact resistance may be further reduced. The second ohmic layer may include GaP and may pass through 5.0 × 1019/cm3To 2.0X 1020/cm3Is doped with carbon.
Referring to fig. 32 and 33, the light emitting device according to the embodiment may have the secondohmic electrode 163 formed at the entire upper portion of thelight emitting structure 163. The secondohmic electrode 163 may be TCO.
The TCO may be selected from ITO, IZO, AZO, AGZO, IZTO, IAZO, IGZO, IGTO, ATO, GZO, IZON, ZnO, IrOx, RuOx, NiO, etc.
The secondohmic layer 149 may include GaP, and may be 5.0 × 1019/cm3To 2.0X 1020/cm3Is doped with carbon. Accordingly, contact resistance between the secondohmic layer 149 and the secondohmic electrode 163 may be reduced.
Thesecond electrode 181 may be electrically connected to the secondohmic electrode 163 formed thereon through the light emitting structure P1.
According to the embodiment, since the transparent ohmic electrode is formed on the light emitting structure, light absorption may be minimized while facilitating current distribution.
Fig. 34 to 40 are views for describing a method of manufacturing a light emitting device according to an embodiment of the present invention.
Referring to fig. 34 and 35, anetch stop layer 20 may be formed on thegrowth substrate 10, and a light emitting structure P1 and a firstohmic electrode 170 may be grown on theetch stop layer 20.
Thegrowth substrate 10 may be a GaAs substrate. The thickness of the substrate may be 0.5 to 0.8 mm. The off angle of the growth substrate 10 (the angle at which the wafer ingot is cut with respect to the flat surface) may be 15 °. When the off-angle is 15 °, the speed of epitaxial growth can be increased.
Then, thegrowth substrate 10 is preheated, and the stress relaxation layers 11 and 12 are formed. The stress relaxation layers 11 and 12 may have a GaAs composition and have a thickness of 200nm to 400 nm. The stress-relief layers 11 and 12 may be doped with an n-type dopant if necessary.
Then, theetch stop layer 20 may be formed. Theetch stop layer 20 may have a GaInP composition and may be doped with an n-type dopant if necessary. However, the embodiment is not necessarily limited thereto, and various P-based semiconductor layers (e.g., InP) may be used as an etch stop layer. Theetch stop layer 20 may be formed to have a thickness of about 100nm to 200 nm.
The firstohmic layer 121 may include GaAs and may be doped with n-type dopants such as Si, Ge, Sn, Se, and Te. The thickness of the firstohmic layer 121 may be about 20nm to 50 nm. Since the energy band gap of the firstohmic layer 121 is smaller than that of the firstcurrent distribution layer 122, ohmic contact may be facilitated. As an example, the energy bandgap of the firstohmic layer 121 may be 1.4 eV.
The first current-distributinglayer 122 serves to distribute the current injected through the electrodes. The firstcurrent distribution layer 122 may have an energy band gap smaller than that of thefirst cladding layer 123 and larger than that of the firstohmic layer 121. Firstcurrent distribution layer 122 may comprise AlGaInP.
The first current-distributinglayer 122 may be manufactured to have a thickness of 2500nm to 3000 nm. Irregularities may be formed on the surface of the first current-distributinglayer 122 and the light extraction efficiency may be increased. Irregularities can be formed by dry etching.
The firstclad layer 123 may be an n-type carrier injection layer and include AlInP. The Al component may be 0.2 to 0.7. The thickness of the firstclad layer 123 may be 300nm to 700 nm.
Theactive layer 130 may include a plurality ofwell layers 131 and a plurality of barrier layers 132 that are alternately formed. The number ofwell layer 131/barrier layer 132 pairs may be 20, but is not necessarily limited thereto.
The thickness of thewell layer 131 may be about 5nm to 10nm, and the thickness of thebarrier layer 132 may be 10 to 20 nm.
Theactive layer 130 may includeoutermost barrier layers 133a and 133b disposed adjacent to the firstconductive semiconductor layer 120 and the secondconductive semiconductor layer 140.
Thediffusion preventing layer 141 may be formed between theactive layer 130 and the secondconductive semiconductor layer 140. Thediffusion preventing layer 141 may prevent the dopant of the secondconductive semiconductor layer 140 from diffusing into theactive layer 130. Thediffusion preventing layer 141 may have an AlInP composition and a thickness of 200nm to 300 nm.
The secondconductive semiconductor layer 140 may be formed of a material having an empirical formula, for example, InxAlyGa1-x-yP (x is more than or equal to 0 and less than or equal to 1, y is more than or equal to 0 and less than or equal to 1, and x + y is more than or equal to 0 and less than or equal to 1).
Thesecond cladding layer 142 may be a P-type carrier injection layer and include AlInP. The Al component may be 0.2 to 0.7. The thickness of thesecond cladding layer 142 may be 300nm to 700 nm. The dopant doping concentration may be 1.0 × 1018/cm3To 2.0X 1018/cm3
The second current distributinglayer 148 serves to distribute the current injected through the electrodes. The secondcurrent distribution layer 148 may have an energy band gap smaller than that of thesecond cladding layer 142 and larger than that of the secondohmic layer 149. Second current-distributinglayer 148 may include GaP.
The thickness of the second current-distributinglayer 148 may be 3000nm to 4000 nm. The dopant doping concentration may be 1.0 × 1018/cm3To 2.0X 1018/cm3
The secondohmic layer 149 may include GaP and may be doped with carbon. The thickness of the secondohmic layer 149 may be about 150 anm to 250 nm. The carbon doping concentration may be 5.0 × 1019/cm3To 2.0X 1020/cm3. When the carbon doping concentration is 5.0X 1019/cm3To 2.0X 1020/cm3When the conductive property is increased, and thus, ohmic contact with a metal or a transparent electrode (e.g., ITO) can be improved.
A plurality of buffer layers may be disposed between thesecond cladding layer 142 and the secondcurrent distribution layer 148. Thefirst buffer layer 143 may have a thickness of 150nm to 250nm and a dopant doping concentration of 1.0 × 1018/cm3To 2.0X 1018/cm3. Thesecond buffer layer 144 may have a thickness of 10nm to 15nm and a dopant doping concentration of 1.0 × 1018/cm3To 2.0X 1018/cm3. The first and second buffer layers 143 and 144 may reduce an energy band GaP difference between AlInP and GaP.
Thethird buffer layer 145 may have a thickness of 20nm to 40nm and a dopant doping concentration of 1.0 × 1018/cm3To 2.0X 1018/cm3. Thethird buffer layer 145 may relieve stress due to a lattice difference between AlGaP and GaP.
Thefourth buffer layer 146 may have GaP composition and enhance the film quality of the secondcurrent distribution layer 148 by adjusting the growth speed and growth temperature.
Thediffusion preventing layer 147 may be formed with a low doping concentration of 2.0 × 1017/cm3To 3.0X 1017/cm3Fabrication, and prevention of diffusion of dopants such as Mg. The thickness of thediffusion preventing layer 147 may be 150nm to 250 nm.
Referring to fig. 36, theoptical layer 112 and the light-transmittingsubstrate 111 may be formed on the secondohmic electrode 160. Specifically, after a resin such as PC, PMMA, and silicone resin is applied on the light emitting structure P1, thelight transmitting substrate 111 may be formed thereon to cover the resin and be hardened.
Referring to fig. 37, thegrowth substrate 10 may be removed. Thegrowth substrate 10 may be removed using a wet etching method. Various etching solutions capable of selectively removing GaAs may be selected as the etching solution. As an example, the etching solution may be an ammonia solution.
The etching solution may remove GaAs but not GaInP. Therefore, thegrowth substrate 10 may be selectively removed using an etching solution. Theetch stop layer 20 may then be removed. The method of removing theetch stop layer 20 is not particularly limited. As an example, theetch stop layer 20 may be removed using polishing.
Then, a plurality of firstohmic electrodes 170, which are exposed due to the removal of thegrowth substrate 10, are formed on the firstohmic layer 121 of the firstconductive semiconductor layer 120. Then, the firstohmic layer 121 in which the firstohmic electrode 170 is not formed may be removed.
Referring to fig. 38, a firstreflective layer 151 and atransparent electrode layer 152 are formed on the firstconductive semiconductor layer 120, and a secondreflective layer 153 is formed on the firstreflective layer 151 and thetransparent electrode layer 152.
Referring to fig. 39, the firstconductive semiconductor layer 120 and theactive layer 130 are etched to form a via hole such that the second conductive semiconductor layer is exposed therethrough. Then, an insulatinglayer 190 is formed over the entire upper portion.
Referring to fig. 40, thefirst electrode 182 and the firstconductive semiconductor layer 120 may be electrically connected through the firstohmic electrode 170, and thesecond electrode 181 and the secondconductive semiconductor layer 140 may be electrically connected through the secondohmic electrode 160.
Fig. 41 is a conceptual diagram of a light emitting device according to an eighth embodiment of the present invention.
Referring to fig. 41, thelight emitting device 100A includes a light emitting structure P1, an insulatinglayer 190 disposed at the other side P12 of the light emitting structure P1, afirst electrode 182 electrically connected to the firstconductive semiconductor layer 120 through the insulatinglayer 190, and asecond electrode 181 electrically connected to the secondconductive semiconductor layer 140 through the insulatinglayer 190.
The light emitting structure P1 includes a firstconductive semiconductor layer 120, anactive layer 130, and a secondconductive semiconductor layer 140. The light output from the light emitting structure P1 may be in a red wavelength band. However, embodiments are not necessarily limited thereto.
The plurality of firstohmic electrodes 170 may contact the firstconductive semiconductor layer 120 through the insulatinglayer 190. The firstohmic layer 121 of the firstconductive semiconductor layer 120 may have a GaAs composition having a low band gap. Accordingly, the contact resistance between the firstconductive semiconductor layer 120 and the firstohmic electrode 170 may be reduced. Since the firstohmic layer 121 absorbs light in the red wavelength band, a region except for a region in which the firstohmic electrode 170 is formed may be removed. The area of the firstohmic layer 121 may be 2 to 7% of the entire area of the secondconductive semiconductor layer 140.
Thereflective electrode layer 150 may be disposed on the firstconductive semiconductor layer 120. Thereflective electrode layer 150 may completely cover the firstohmic electrode 170. Thereflective electrode layer 150 may include a transparent electrode layer and a reflective layer.
The transparent electrode layer may be formed of a material having excellent conductivity so that current injected from the outside can be uniformly diffused horizontally. The transparent electrode layer may be formed of TCO. The TCO may be selected from ITO, IZO, AZO, AGZO, IZTO, IAZO, IGZO, IGTO, ATO, GZO, IZON, ZnO, IrOx, RuOx, NiO, etc.
The reflective layer may be formed of a material having high reflectivity, such as Ag, Ni, Al, Rh, Pd, Ir, Ru, Mg, Zn, Pt, Au, Hf, etc., or a mixture of a material having high reflectivity and a transparent conductive material, such as IZO, IZTO, IAZO, IGZO, IGTO, AZO, and ATO.
The insulatinglayer 190 may be disposed on the entire portion of the other side P12 of the light emitting structure P1. The insulatinglayer 190 may be made of a material selected from the group consisting of SiO2、SixOy、Si3N4、SixNy、SiOxNy、Al2O3、TiO2AlN, or the like, but the embodiment is not limited thereto. The insulatinglayer 190 may be formed of a single layer or a plurality of layers. As an example, the insulatinglayer 190 may have a DBR structure formed of Si oxide, Ti oxide, or the like.
The insulatinglayer 190 may be formed at sidewalls of the via hole formed in the light emitting structure P1, and may electrically insulate thesecond electrode 181 and theactive layer 130 from each other.
The secondohmic electrode 160 may be in contact with the secondconductive semiconductor layer 140. The secondconductive semiconductor layer 140 contacting the secondohmic electrode 160 may have GaP components. Accordingly, the contact resistance between the secondconductive semiconductor layer 140 and the secondohmic electrode 160 may be reduced. The thickness d32 between the secondohmic electrode 160 and the firstconductive semiconductor layer 20 may be 150nm to 4250 nm.
The first and secondohmic electrodes 170 and 160 may be formed to include at least one of ITO, IZO, IZTO, IAZO, IGZO, IGTO, AZO, ATO, GZO, IZON, AGZO, IGZO, ZnO, IrOx, RuOx, NiO, RuOx/ITO, Ni/IrOx/Au, or Ni/IrOx/Au/ITO, Ag, Ni, Cr, Ti, Al, Rh, Pd, Ir, Sn, In, Ru, Mg, Zn, Pt, Au, and Hf, but the materials of the first and secondohmic electrodes 170 and 160 are not limited thereto.
Theoptical layer 112 may be formed at one side P11 of the light emitting structure P1, and adhere thelight transmitting substrate 111 and the light emitting structure P1 to each other. Theoptical layer 112 may be a resin such as PC and PMMA, and may also be OCA. The material of theoptical layer 112 is not particularly limited as long as the material transmits visible light.
The light-transmittingsubstrate 111 may be an insulating substrate. The light-transmittingsubstrate 111 may be made of a material selected from sapphire (Al)2O3) SiC, GaN, ZnO, Si, GaP, InP, and Ge, but the material of the light-transmittingsubstrate 111 is not particularly limited as long as the material transmits visible light.
The thickness of the light-transmittingsubstrate 111 may be 100um to 1000 um. Therefore, light can also be output to one side of the light-transmittingsubstrate 111, and light extraction efficiency can be improved. A plurality of irregularities can be formed on the light-transmittingsubstrate 111. Irregularities can improve light extraction efficiency.
Fig. 42a to 42i are various embodiments of the light emitting structure, and fig. 43a to 43e are various modified examples of the buffer layer.
Referring to fig. 42a, the light emitting structure P1 may include a firstconductive semiconductor layer 120, anactive layer 130, and a secondconductive semiconductor layer 140.
The firstconductive semiconductor layer 120 may be implemented using at least one of a group III-V compound semiconductor and a group II-VI compound semiconductor doped with a first conductive dopant.
The firstconductive semiconductor layer 120 may be formed of a material having an empirical formula, for example, InxAlyGa1-x-yP (x is more than or equal to 0 and less than or equal to 1, y is more than or equal to 0 and less than or equal to 1, and x + y is more than or equal to 0 and less than or equal to 1).
The firstconductive semiconductor layer 120 may include, for example, at least one of AlGaInP, AlInP, GaN, AlN, AlGaN, InGaN, InN, InAlGaN, AlInN, AlGaAs, GaP, GaAs, and GaAsP.
The firstconductive semiconductor layer 120 may be an n-type semiconductor layer doped with n-type dopants such as Si, Ge, Sn, Se, and Te. The firstconductive semiconductor layer 120 may be arranged in a single layer or a plurality of layers.
The firstconductive semiconductor layer 120 according to an embodiment may include a firstclad layer 123, a firstcurrent distribution layer 122, and a firstohmic layer 121.
The firstclad layer 123 may be an n-type carrier injection layer and include AlInP. The Al component may be 0.2 to 0.7. The thickness of the firstclad layer 123 may be 300nm to 700 nm. Since the Al composition of the firstclad layer 123 is relatively high, the firstclad layer 123 may be a layer having the highest transmittance with respect to light in the red wavelength band. The dopant doping concentration may be 4.0 × 1017/cm3To 6.0X 1017/cm3
The first current-distributinglayer 122 serves to distribute the current injected through the electrodes. The firstcurrent distribution layer 122 may have an energy band gap smaller than that of thefirst cladding layer 123 and larger than that of the firstohmic layer 121.
Firstcurrent distribution layer 122 may comprise AlGaInP. As the Al composition becomes higher, the transmittance may become higher, but the resistance may also become higher. The firstcurrent distribution layer 122 may function as a low resistance layer due to having a lower Al composition than the first clad 123. The dopant doping concentration may be 0.8 × 1018/cm3To 1.2X 1018/cm3
The thickness of the first current-distributinglayer 122 may be 2500nm to 3000 nm. Irregularities may be formed on the surface of the first current-distributinglayer 122 and the light extraction efficiency may be increased. Irregularities can be formed by dry etching.
The firstohmic layer 121 may include Ga and As, and may be doped with n-type dopants such As Si, Ge, Sn, Se, and Te. The thickness of the firstohmic layer 121 may be about 20nm to 80 nm. Since the firstohmic layer 121 has a smaller energy bandgap than the firstcurrent distribution layer 122, ohmic contact between the firstohmic layer 121 and the electrode may be facilitated.
As an example, the energy bandgap of the firstohmic layer 121 may be 1.4 eV. The dopant doping concentration of the firstohmic layer 121 may be 4.0 × 1018/cm3To 6.0X 1019/cm3And may be highest within the firstconductive semiconductor layer 120. Therefore, contact resistance with the ohmic electrode can be reduced.
However, the embodiment is not necessarily limited thereto, and the structure of the firstconductive semiconductor layer 120 may be transformed into various structures. As an example, the firstconductive semiconductor layer 120 may include a firstclad layer 123 and a firstcurrent distribution layer 122 as in fig. 42b, or may include a firstohmic layer 121 and a firstclad layer 123 as in fig. 42 d.
Theactive layer 130 may be formed of at least one of a single well structure, a single quantum well structure, a multi-well structure, an MQW structure, a quantum wire structure, and a quantum dot structure.
Theactive layer 130 is a layer in which electrons (or holes) injected through the firstconductive semiconductor layer 120 and holes (or electrons) injected through the secondconductive semiconductor layer 140 are combined, and emits light due to a band gap difference according to a material forming theactive layer 130.
Theactive layer 130 may be implemented using a compound semiconductor. As an example, theactive layer 130 may be implemented using at least one of a II-VI compound semiconductor and a III-V compound semiconductor.
Referring to fig. 42e, theactive layer 130 includes a plurality ofwell layers 131 and a plurality of barrier layers 132 alternately arranged, wherein a pair ofwell layer 131/barrier layer 132 may be formed every 2 to 30 cycles. Thewell layer 131/barrier layer 132 includes, for example, at least one of an AlInGaP/AlInGaP pair, an InGaN/GaN pair, a GaN/AlGaN pair, an AlGaN/AlGaN pair, an InGaN/InGaN pair, an AlGaAs/GaAs pair, an InGaAs/GaAs pair, an InGaP/GaP pair, an AlInGaP/InGaP pair, and an InP/GaAs pair.
Thewell layer 131 may be arranged to have an empirical formula InxAlyGa1-x-yP(0<x≤1,0≤y≤1,0≤x+y<1) The semiconductor material of (1). Can use In having an empirical formulaxAlyGa1-x-yP(0≤x≤1,0≤y≤1,0≤x+y<1) Formsbarrier layer 132.
The thickness of thewell layer 131 may be about 5nm to 10nm, and the thickness of thebarrier layer 132 may be 10 to 20 nm.
Theactive layer 130 may includeoutermost barrier layers 133a and 133b disposed adjacent to the firstconductive semiconductor layer 120 and the secondconductive semiconductor layer 140. Theoutermost barrier layers 133a and 133b may have AlGaInP composition and have a thickness of 40nm to 60 nm.
The secondconductive semiconductor layer 140 may be formed of a material having an empirical formula, for example, InxAlyGa1-x-yP (x is more than or equal to 0 and less than or equal to 1, y is more than or equal to 0 and less than or equal to 1, and x + y is more than or equal to 0 and less than or equal to 1).
The secondconductive semiconductor layer 140 may include, for example, at least one of AlInP, GaP, GaN, AlN, AlGaN, InGaN, InN, InAlGaN, AlInN, AlGaAs, GaAs, GaAsP, and AlGaInP, and may be a p-type semiconductor layer doped with a p-type dopant such as Mg.
The secondconductive semiconductor layer 140 may be arranged as a single layer or a plurality of layers. The secondconductive semiconductor layer 140 may have a superlattice structure in which at least two layers different from each other are alternately arranged.
The secondconductive semiconductor layer 140 may include asecond cladding layer 142, a secondcurrent distribution layer 148, and a secondohmic layer 149.
Thesecond cladding layer 142 may be a P-type carrier injection layer and include AlInP. The Al component may be 0.2 to 0.7. The thickness of thesecond cladding layer 142 may be 300nm to 700 nm. The dopant doping concentration may be 1.0 × 1018/cm3To 2.0X 1018/cm3
The second current distributinglayer 148 serves to distribute the current injected through the electrodes. The secondcurrent distribution layer 148 may have an energy band gap smaller than that of thesecond cladding layer 142 and larger than that of the secondohmic layer 149. Second current-distributinglayer 148 may include GaP.
The thickness of the second current-distributinglayer 148 may be 3000nm to 4000 nm. The dopant doping concentration may be 1.0 × 1018/cm3To 2.0X 1018/cm3
The secondohmic layer 149 may include GaP and may be doped with carbon. The thickness of the secondohmic layer 149 may be about 150nm to 250 nm. The carbon doping concentration may be 5.0 × 1019/cm3To 2.0X 1020/cm3. When the carbon doping concentration is 5.0X 1019/cm3To 2.0X 1020/cm3When the ohmic contact with the metal or ITO can be improved. As the secondohmic layer 149 becomes farther from theactive layer 130, the carbon concentration may increase. However, embodiments are not necessarily limited thereto, and the secondohmic layer 149 may not be doped with carbon.
Since the thickness of the secondcurrent distribution layer 148 is 3000nm to 4000nm and the thickness of the secondohmic layer 149 is 150nm to 250nm, the thickness d31 (see fig. 41) of the second conductive semiconductor layer remaining between the secondohmic electrode 160 and theoptical layer 112 may be 150nm to 4250 nm. When the thickness d31 (see fig. 41) of the remaining secondconductive semiconductor layer 140 is less than 250nm, the secondconductive semiconductor layer 140 may be in contact with the secondohmic layer 149, and the contact resistance may be further reduced.
However, the embodiment is not necessarily limited thereto, and the structure of the secondconductive semiconductor layer 140 may be transformed into various structures. As an example, the secondconductive semiconductor layer 140 may include asecond cladding layer 142 and a secondohmic layer 148, as in fig. 42 g. Alternatively, the secondconductive semiconductor layer 140 may include thesecond cladding layer 142 and the secondcurrent distribution layer 148, as in fig. 42h, and the secondcurrent distribution layer 148 may be doped with carbon.
Referring to fig. 43a, a plurality of buffer layers may be disposed between thesecond cladding layer 142 and the secondcurrent distribution layer 148.
Thefirst buffer layer 143 may have an AlGaInP composition, a thickness of 150nm to 250nm, and a dopant doping concentrationIs 1.0X 1018/cm3To 2.0X 1018/cm3. Thesecond buffer layer 144 may have an AlGaInP composition, a thickness of 10nm to 15nm, and a dopant doping concentration of 1.0 × 1018/cm3To 2.0X 1018/cm3
The Al composition in the first and second buffer layers 143 and 144 may be gradually decreased to reduce the band GaP difference between AlInP and GaP.
Thethird buffer layer 145 may have a GaInP composition, a thickness of 20nm to 40nm, and a dopant doping concentration of 1.0 × 1018/cm3To 2.0X 1018/cm3. Thethird buffer layer 145 may relieve stress due to a lattice difference between AlGaP and GaP.
Thefourth buffer layer 146 may have GaP composition and enhance the film quality of the secondcurrent distribution layer 148 by adjusting the growth speed and growth temperature.
The thickness of the fourth-first buffer layer 146a may be 10nm to 15nm, the thickness of the fourth-second buffer layer 146b may be 40nm to 60nm, and the thickness of the fourth-third buffer layer 146c may be 60nm to 80 nm. The doping concentration of all of the fourth-first to fourth-third buffer layers 146c may be 1.0 × 1018A/cm 3 to 2.0X 1018/cm3。
The seconddiffusion preventing layer 147 may be formed with a low doping concentration of 2.0 × 1017/cm3To 3.0X 1017/cm3Fabrication, and prevention of diffusion of dopants such as Mg. The thickness of the seconddiffusion preventing layer 147 may be 150nm to 250 nm.
The firstdiffusion preventing layer 141 may be disposed between theactive layer 130 and the secondconductive semiconductor layer 140. The firstdiffusion preventing layer 141 may prevent the dopant of the secondconductive semiconductor layer 140 from diffusing into theactive layer 130. The firstdiffusion preventing layer 141 may have an AlInP composition and have a thickness of 200nm to 300 nm.
However, the embodiment is not necessarily limited thereto, and the shape of the buffer layer disposed within the secondconductive semiconductor layer 140 may be deformed into various shapes as in fig. 43b to 43 e.
Fig. 44 is a conceptual diagram of a light emitting device according to a ninth embodiment of the present invention.
Referring to fig. 44, alight emitting device 100B according to an embodiment may have a secondohmic electrode 163 formed at an entire upper portion of alight emitting structure 163. The secondohmic electrode 163 may be TCO. The TCO may be selected from ITO, IZO, AZO, AGZO, IZTO, IAZO, IGZO, IGTO, ATO, GZO, IZON, ZnO, IrOx, RuOx, NiO, etc.
All the structures described above with reference to fig. 42a and 43a may be applied as the structure of the light emitting structure. Accordingly, since the surface layer (layer farthest from the active layer) of the secondconductive semiconductor layer 140 includes carbon, ohmic contact efficiency with a transparent electrode such as ITO may be improved.
Thesecond electrode 181 may be electrically connected to the secondohmic electrode 163 formed thereon through the light emitting structure P1.
According to one embodiment, since the transparent ohmic electrode is formed on the light emitting structure, light absorption may be minimized while facilitating current distribution.
Fig. 45 to 49 are views illustrating a method of manufacturing a light emitting device according to another embodiment of the present invention.
Referring to fig. 45 and 46, anetch stop layer 20 may be formed on agrowth substrate 10, and a light emitting structure P1 may be grown on theetch stop layer 20.
Thegrowth substrate 10 may be a GaAs substrate. The thickness of the substrate may be 0.5 to 0.8 mm. The off angle of the growth substrate 10 (the angle at which the wafer ingot is cut relative to a flat surface) may be 15 °. When the off-angle is 15 °, the speed of epitaxial growth can be increased.
Then, thegrowth substrate 10 is preheated, and the stress relaxation layers 11 and 12 are formed. The stress relaxation layers 11 and 12 may have a GaAs composition and have a thickness of 200nm to 400 nm. The stress-relief layers 11 and 12 may be doped with an n-type dopant if necessary.
Then, theetch stop layer 20 may be formed. Theetch stop layer 20 may have a GaInP composition and may be doped with an n-type dopant if necessary. However, the embodiment is not necessarily limited thereto, and various P-based semiconductor layers (e.g., InP) may be used as an etch stop layer. Theetch stop layer 20 may be formed to have a thickness of about 100nm to 200 nm.
The firstohmic layer 121 may include GaAs and may be doped with n-type dopants such as Si, Ge, Sn, Se, and Te. The thickness of the firstohmic layer 121 may be about 20nm to 50 nm. Since the energy band gap of the firstohmic layer 121 is smaller than that of the firstcurrent distribution layer 122, ohmic contact may be facilitated. As an example, the energy bandgap of the firstohmic layer 121 may be 1.4 eV.
The first current-distributinglayer 122 serves to distribute the current injected through the electrodes. The firstcurrent distribution layer 122 may have an energy band gap smaller than that of thefirst cladding layer 123 and larger than that of the firstohmic layer 121. Firstcurrent distribution layer 122 may comprise AlGaInP.
The first current-distributinglayer 122 may be manufactured to have a thickness of 2500nm to 3000 nm. Irregularities may be formed on the surface of the first current-distributinglayer 122 and the light extraction efficiency may be increased. Irregularities can be formed by dry etching.
The firstclad layer 123 may be an n-type carrier injection layer and include AlInP. The Al component may be 0.2 to 0.7. The thickness of the firstclad layer 123 may be 300nm to 700 nm.
Theactive layer 130 may include a plurality ofwell layers 131 and a plurality of barrier layers 132 that are alternately formed. The number ofwell layer 131/barrier layer 132 pairs may be 20, but is not necessarily limited thereto.
The thickness of thewell layer 131 may be about 5nm to 10nm, and the thickness of thebarrier layer 132 may be 10 to 20 nm.
Theactive layer 130 may includeoutermost barrier layers 133a and 133b disposed adjacent to the firstconductive semiconductor layer 120 and the secondconductive semiconductor layer 140.
Thediffusion preventing layer 141 may be formed between theactive layer 130 and the secondconductive semiconductor layer 140. Thediffusion preventing layer 141 may prevent the dopant of the secondconductive semiconductor layer 140 from diffusing into theactive layer 130.
The secondconductive semiconductor layer 140 may be formed of a material having an empirical formula, for example, InxAlyGa1-x-yP (x is more than or equal to 0 and less than or equal to 1, y is more than or equal to 0 and less than or equal to 1, and x + y is more than or equal to 0 and less than or equal to 1).
Thesecond cladding layer 142 may be a P-type carrier injection layer and include AlInP. The Al component may be 0.2 to 0.7. The thickness of thesecond cladding layer 142 may be 300nm to 700 nm. The dopant doping concentration may be 1.0 × 1018/cm3To 2.0X 1018/cm3
The second current distributinglayer 148 serves to distribute the current injected through the electrodes. The secondcurrent distribution layer 148 may have an energy band gap smaller than that of thesecond cladding layer 142 and larger than that of the secondohmic layer 149. Second current-distributinglayer 148 may include GaP.
The thickness of the second current-distributinglayer 148 may be 3000nm to 4000 nm. The dopant doping concentration may be 1.0 × 1018/cm3To 2.0X 1018/cm3
The secondohmic layer 149 may include GaP and may be doped with carbon. The thickness of the secondohmic layer 149 may be about 150nm to 250 nm. The carbon doping concentration may be 5.0 × 1019/cm3To 2.0X 1020/cm3. When the carbon doping concentration is 5.0X 1019/cm3To 2.0X 1020/cm3When the conductive property is increased, the ohmic contact with a metal or a transparent electrode (e.g., ITO) can be improved.
A plurality of buffer layers may be disposed between thesecond cladding layer 142 and the secondcurrent distribution layer 148. Thefirst buffer layer 143 may have an AlGaInP composition, a thickness of 150nm to 250nm, and a dopant doping concentration of 1.0 × 1018/cm3To 2.0X 1018/cm3. Thesecond buffer layer 144 may have an AlGaInP composition, a thickness of 10nm to 15nm, and a dopant doping concentration of 1.0 × 1018/cm3To 2.0X 1018/cm3. The first and second buffer layers 143 and 144 may reduce an energy band GaP difference between AlInP and GaP.
Thethird buffer layer 145 may have a GaInP composition, a thickness of 20nm to 40nm, and a dopant doping concentration of 1.0 × 1018/cm3To 2.0X 1018/cm3. Thethird buffer layer 145 may relieve stress due to a lattice difference between AlGaP and GaP。
Thefourth buffer layer 146 may have GaP composition and enhance the film quality of the secondcurrent distribution layer 148 by adjusting the growth speed and growth temperature.
The thickness of the fourth-first buffer layer 146a may be 10nm to 15nm, the thickness of the fourth-second buffer layer 146b may be 40nm to 60nm, and the thickness of the fourth to third buffer layers 146c may be 60nm to 80 nm. The doping concentration of all of the fourth-first to fourth-third buffer layers 146c may be 1.0 × 1018/cm3To 2.0X 1018/cm3
Can be manufactured to have a low doping concentration of 2.0 x 1017/cm3To 3.0X 1017/cm3And diffusion of a dopant such as Mg is prevented. The thickness of thediffusion preventing layer 147 may be 150nm to 250 nm.
Referring to fig. 47, anoptical layer 112 and a light-transmittingsubstrate 111 may be formed. Specifically, after applying a resin such as PC, PMMA, and silicone resin on the light emitting structure P1, thelight transmitting substrate 111 may be formed thereon to cover the resin and harden it.
The light-transmittingsubstrate 111 may be made of a material selected from sapphire (Al)2O3) SiC, GaN, ZnO, Si, GaP, InP, and Ge, but the material of the light-transmittingsubstrate 111 is not particularly limited as long as the material transmits visible light.
Then, thegrowth substrate 10 may be removed. Thegrowth substrate 10 may be removed using a wet etching method. Various etching solutions capable of selectively removing GaAs may be selected as the etching solution. As an example, the etching solution may be an ammonia solution.
The etching solution may remove GaAs but not GaInP. Therefore, thegrowth substrate 10 may be selectively removed using an etching solution. Theetch stop layer 20 may then be removed. The method of removing theetch stop layer 20 is not particularly limited. As an example, theetch stop layer 20 may be removed using polishing.
Referring to fig. 48, a firstohmic electrode 170 may be formed on the firstohmic layer 121 of the firstconductive semiconductor layer 120, and then thereflective electrode layer 150 may be formed on the firstohmic electrode 170. In this case, since the firstohmic layer 121 is formed of GaAs and absorbs red light, a region in which the firstohmic electrode 170 is not formed may be eliminated. Then, the firstconductive semiconductor layer 120 and theactive layer 130 are etched to form a first via H1, and the secondohmic electrode 160 is formed.
Thereflective electrode layer 150 is formed on the secondohmic electrode 160, and the insulatinglayer 190 is formed on the entire upper portion of thereflective electrode layer 150.
Then, as in fig. 49, thefirst electrode 182 and the firstconductive semiconductor layer 120 may be electrically connected through the insulatinglayer 190, and thesecond electrode 181 may be electrically connected to the secondconductive semiconductor layer 140.
Fig. 50 to 53 are views illustrating a method of manufacturing a light emitting device according to still another embodiment of the present invention.
Referring to fig. 50, a secondohmic electrode 163 is formed on the light emitting structure P1. The secondohmic electrode 163 may be a transparent electrode such as ITO.
In this case, the surface layer of the secondconductive semiconductor layer 140 may be doped with carbon. The carbon doping concentration may be 5.0 × 1019/cm3To 2.0X 1020/cm3. When the carbon doping concentration is 5.0X 1019/cm3To 2.0X 1020/cm3When the conductive property is increased, and thus, ohmic contact with a metal or a transparent electrode (e.g., ITO) can be improved. Then, as in fig. 51, anoptical layer 112 and a light-transmittingsubstrate 111 are formed.
Referring to fig. 52, a via H1 may be formed in the light emitting structure P1 to expose the secondohmic electrode 163 therethrough. Then, as in fig. 53, thesecond electrode 181 is formed and electrically connected to the secondohmic electrode 163.
Fig. 54 is a conceptual diagram of a display according to an embodiment of the invention.
Referring to fig. 54, the display may include: apanel 40 including an array (array)substrate 200 on which a plurality ofcommon lines 241 and drivinglines 242 cross; and a light emittingdevice package 60 disposed in each pixel region P; afirst driver 32 configured to apply a driving signal on thecommon line 241; asecond driver 31 configured to apply a driving signal to thedriving line 242; and acontroller 50 configured to control thefirst driver 20 and thesecond driver 31.
Thearray substrate 200 may be a circuit board on which the light emittingdevice package 60 is mounted. Thearray substrate 200 may be a rigid substrate or a flexible substrate formed of a single layer or multiple layers. Thecommon line 241 and thedriving line 242 may be formed on thearray substrate 200.
The pixel region P may refer to a region where a plurality ofcommon lines 241 and drivinglines 242 intersect. The pixel region P may be a concept including RGB sub-pixels. The light emittingdevice package 60 in which the first to third light emitting devices 100-1, 100-2 and 100-3 are disposed may be mounted in the pixel region P and serve as RGB sub-pixels. Although a description will be given below by assuming that three light emitting devices are used as RGB sub-pixels, the number of light emitting devices may be adjusted if necessary.
The first light emitting device 100-1 may serve as a first subpixel configured to output light in a blue wavelength band. The second light emitting device 100-2 may serve as a second sub-pixel configured to output light in a green wavelength band. The third light emitting device 100-3 may serve as a third sub-pixel configured to output light in a red wavelength band. All of the first to third light emitting devices 100-1, 100-2 and 100-3 may be of a flip chip type. At least one of the first to third light emitting devices 100-1, 100-2 and 100-3 may have the above-described light emitting device structure. As an example, the third light emitting device 100-3 configured to output light in a red wavelength band may have the light emitting device structure described above with reference to fig. 1 to 53.
Thecommon line 241 may be electrically connected to the light emitting devices disposed in the plurality of pixel regions P arranged along the first direction (X direction).
The electrical connection method between thecommon line 241 and thelight emitting devices 100A, 100B, and 100C is not limited. As an example, thecommon line 241 and the light emitting device may be electrically connected using a through electrode or using a lead electrode of the substrate.
The first tothird driving lines 243, 244 and 245 may be electrically connected to the light emitting devices arranged in the plurality of pixel regions P arranged along the second direction (Y direction).
Thefirst driving line 243 may be electrically connected to the first light emitting device 100-1, thesecond driving line 244 may be electrically connected to the second light emitting device 100-2, and the third driving line may be electrically connected to the third light emitting device 100-3.
The electrical connection method between the drivingline 242 and thelight emitting devices 100A, 100B, and 100C is not limited. As an example, the drivingline 242 and the light emitting device may be electrically connected using a through electrode or using a lead electrode of the substrate.
Theprotective layer 47 may be disposed between the light emitting device packages 60. Theprotective layer 47 may protect the light emittingdevice package 60 and the circuit pattern of thearray substrate 200.
Theprotective layer 47 may be formed of a material such as a solder resist or an insulating material. Theprotective layer 47 may comprise SiO2、Si3N4、TiO2、Al2O3And MgO.
Theprotective layer 47 may comprise a black matrix material. When theprotective layer 47 is formed of a black matrix material, for example, theprotective layer 47 may be implemented using carbon black, graphite, or polypyrrole.
Thecontroller 50 may output control signals to the first andsecond drivers 20 and 30 such that power is selectively applied to thecommon line 241 and the first tothird driving lines 243, 244 and 245, thereby individually controlling the first to third light emitting devices 100-1, 100-2 and 100-3 in the single pixel P.
The display may be implemented to have a Standard Definition (SD) level resolution (760 × 480), a High Definition (HD) level resolution (1180 × 720), a Full High Definition (FHD) level resolution (1920 × 1080), an ultra high definition (UH) level resolution (3480 × 2160), or a UHD level resolution (e.g., 4K (K1000), 8K, etc.). In this case, the plurality of first to third light emitting devices 100-1, 100-2 and 100-3 according to the embodiment may be arranged and connected corresponding to the resolution.
The display may be an electronic sign or television having a diagonal length of 100 inches or more, and the pixels of the display may be implemented using LEDs. Accordingly, a high-luminance self-light emitting display having low power consumption and long service life and low maintenance cost can be provided.
The embodiment implements video and images using the light emittingdevice package 60, thereby having advantages of excellent color purity and color reproduction.
Embodiments implement video and images using a light emitting device package having excellent straightness, thereby implementing a clear large screen display having a diagonal length of 100 inches or more.
Embodiments can realize a high-resolution large-screen display having a diagonal length of 100 inches or more at low cost.
The light emittingdevice package 60 according to the embodiment may further include an optical member such as a light guide plate, a prism sheet, and a diffusion sheet, and function as a backlight unit. In addition, the light emitting device package of the present embodiment may also be applied to displays, lighting, and indicators.
In this case, the display may include a bottom cover, a reflective plate, a light emitting module, a light guide plate, an optical sheet, a display panel, an image signal output circuit, and a color filter. The bottom cover, the reflection plate, the light emitting module, the light guide plate, and the optical sheet may constitute a backlight unit.
The reflection plate is disposed on the bottom cover, and the light emitting module emits light. The light guide plate is disposed in front of the reflection plate and guides light emitted from the light emitting module forward. The optical sheet includes a prism sheet and the like, and is disposed in front of the light guide plate. The display panel is disposed in front of the optical sheet, the image signal output circuit supplies the image signal to the display panel, and the color filter is disposed in front of the display panel.
In addition, the lighting apparatus may include: a light source module including a substrate and the light emitting device package of the present embodiment; a heat dissipation unit configured to dissipate heat of the light source module; and a power supply unit configured to process or convert an electrical signal received from the outside and supply the processed or converted electrical signal to the light source module. Further, the lighting device may include a lamp, a head lamp, a street lamp, and the like.
In addition, a camera flash of a mobile terminal may include a light source module including the light emitting device package of the embodiment. Since the light emitting device package has a beam expansion angle corresponding to the viewing angle of the camera as described above, there is an advantage that light loss is small.
The embodiments of the present invention are not limited to the above-described embodiments and drawings. It will be apparent to those skilled in the art that various substitutions, modifications and changes may be made to the embodiments of the present invention without departing from the scope of the technical spirit of the embodiments.

Claims (9)

Translated fromChinese
1.一种发光器件,包括:1. A light-emitting device, comprising:透光衬底;light-transmitting substrate;发光结构,所述发光结构包括布置在所述透光衬底上的第二导电半导体层;第一导电半导体层,所述第一导电半导体层被布置在所述第二导电半导体层上;以及有源层,所述有源层被布置在所述第二导电半导体层和所述第一导电半导体层之间;a light emitting structure including a second conductive semiconductor layer disposed on the light-transmitting substrate; a first conductive semiconductor layer disposed on the second conductive semiconductor layer; and an active layer disposed between the second conductive semiconductor layer and the first conductive semiconductor layer;绝缘层,所述绝缘层被构造成覆盖所述发光结构;an insulating layer configured to cover the light emitting structure;第一欧姆电极,所述第一欧姆电极被电连接到所述第一导电半导体层;a first ohmic electrode electrically connected to the first conductive semiconductor layer;第二欧姆电极,所述第二欧姆电极被布置在所述第二导电半导体层的面向所述透光衬底的一侧上并且被电连接到所述第二导电半导体层;a second ohmic electrode arranged on a side of the second conductive semiconductor layer facing the light-transmitting substrate and electrically connected to the second conductive semiconductor layer;第一电极,所述第一电极穿过所述绝缘层被电连接到所述第一欧姆电极;以及a first electrode electrically connected to the first ohmic electrode through the insulating layer; and第二电极,所述第二电极穿过所述绝缘层和所述发光结构被电连接到所述第二欧姆电极,其中:a second electrode electrically connected to the second ohmic electrode through the insulating layer and the light emitting structure, wherein:所述有源层发射红色波段的光;以及the active layer emits light in the red wavelength band; and所述第二欧姆电极包括焊盘电极和多个分支电极,所述焊盘电极被布置在所述第二导电半导体层的中心处,所述多个分支电极从所述第二导电半导体层的中心向外延伸。The second ohmic electrode includes a pad electrode and a plurality of branch electrodes arranged at the center of the second conductive semiconductor layer, the plurality of branch electrodes extending from the second conductive semiconductor layer. The center extends outward.2.根据权利要求1所述的发光器件,包括光学层,所述光学层被布置在所述第二导电半导体层和所述透光衬底之间,其中所述光学层接合所述透光衬底和所述发光结构。2. The light emitting device of claim 1, comprising an optical layer disposed between the second conductive semiconductor layer and the light transmissive substrate, wherein the optical layer joins the light transmissive A substrate and the light emitting structure.3.根据权利要求1所述的发光器件,其中:3. The light emitting device of claim 1, wherein:所述第一电极具有关于所述发光结构的中心轴的旋转对称形状;the first electrode has a rotationally symmetric shape with respect to a central axis of the light emitting structure;所述第二电极具有关于所述发光结构的中心轴的旋转对称形状;the second electrode has a rotationally symmetric shape with respect to a central axis of the light emitting structure;所述第一电极被布置在所述发光结构的中心轴上;以及the first electrode is arranged on the central axis of the light emitting structure; and所述第二电极被布置在所述发光结构的边缘上。The second electrode is arranged on the edge of the light emitting structure.4.根据权利要求1所述的发光器件,其中:4. The light emitting device of claim 1, wherein:所述发光结构包括所述第二电极在其中延伸的通孔;以及the light emitting structure includes a through hole in which the second electrode extends; and所述通孔的直径与所述第二欧姆电极的焊盘电极的直径之间的比率是1:1.2至1:2。The ratio between the diameter of the through hole and the diameter of the pad electrode of the second ohmic electrode is 1:1.2 to 1:2.5.根据权利要求1所述的发光器件,其中,所述第二欧姆电极的面积是所述第二导电半导体层的整个面积的2%至7%。5. The light emitting device of claim 1, wherein an area of the second ohmic electrode is 2% to 7% of an entire area of the second conductive semiconductor layer.6.根据权利要求1所述的发光器件,其中:6. The light emitting device of claim 1, wherein:所述第二导电半导体层包括在所述有源层上的第二包覆层、在所述第二包覆层上的第二电流分布层和在所述第二电流分布层上的第二欧姆层;The second conductive semiconductor layer includes a second cladding layer on the active layer, a second current distribution layer on the second cladding layer, and a second current distribution layer on the second current distribution layer Ohmic layer;所述发光结构包括容纳槽,所述容纳槽被形成在所述第一导电半导体层上并且被构造成暴露所述第二电流分布层;以及the light emitting structure includes a receiving groove formed on the first conductive semiconductor layer and configured to expose the second current distribution layer; and所述第二欧姆电极被布置在所述容纳槽的底表面上。The second ohmic electrode is arranged on the bottom surface of the receiving groove.7.根据权利要求6所述的发光器件,其中,所述第二电流分布层和所述第二欧姆层包括Ga和P。7. The light emitting device of claim 6, wherein the second current distribution layer and the second ohmic layer include Ga and P.8.根据权利要求1所述的发光器件,其中,所述第一导电半导体层包括与所述第一欧姆电极接触的第一欧姆层,并且所述第一欧姆层包括GaAs组分。8. The light emitting device of claim 1, wherein the first conductive semiconductor layer includes a first ohmic layer in contact with the first ohmic electrode, and the first ohmic layer includes a GaAs composition.9.一种显示器,包括:9. A display comprising:阵列基板;array substrate;公共线,所述公共线被形成在所述阵列基板上;common lines, the common lines are formed on the array substrate;多个驱动线,所述多个驱动线被形成在所述阵列基板上;以及a plurality of drive lines formed on the array substrate; and多个发光器件,所述多个发光器件被安装在所述阵列基板上,其中所述发光器件包括:a plurality of light emitting devices mounted on the array substrate, wherein the light emitting devices include:透光衬底;light-transmitting substrate;发光结构,该发光结构包括:第二导电半导体层,所述第二导电半导体层被布置在所述透光衬底上;第一导电半导体层,所述第一导电半导体层被布置在所述第二导电半导体层上;以及有源层,所述有源层被布置在所述第二导电半导体层和所述第一导电半导体层之间;A light-emitting structure comprising: a second conductive semiconductor layer arranged on the light-transmitting substrate; a first conductive semiconductor layer arranged on the light-transmitting substrate on a second conductive semiconductor layer; and an active layer disposed between the second conductive semiconductor layer and the first conductive semiconductor layer;绝缘层,所述绝缘层被构造成覆盖所述发光结构;an insulating layer configured to cover the light emitting structure;第一欧姆电极,所述第一欧姆电极被电连接到所述第一导电半导体层;a first ohmic electrode electrically connected to the first conductive semiconductor layer;第二欧姆电极,所述第二欧姆电极被布置在所述第二导电半导体层的面向所述透光衬底的一侧并且被电连接到所述第二导电半导体层;a second ohmic electrode arranged on the side of the second conductive semiconductor layer facing the light-transmitting substrate and electrically connected to the second conductive semiconductor layer;第一电极,所述第一电极穿过所述绝缘层被电连接到所述第一欧姆电极;以及a first electrode electrically connected to the first ohmic electrode through the insulating layer; and第二电极,所述第二电极穿过所述绝缘层和所述发光结构被电连接到所述第二欧姆电极,其中:a second electrode electrically connected to the second ohmic electrode through the insulating layer and the light emitting structure, wherein:所述有源层发射红色波段的光;以及the active layer emits light in the red wavelength band; and所述第二欧姆电极包括焊盘电极和多个分支电极,所述焊盘电极被布置在所述第二导电半导体层的中心处,所述多个分支电极从所述第二导电半导体层的中心向外延伸。The second ohmic electrode includes a pad electrode and a plurality of branch electrodes arranged at the center of the second conductive semiconductor layer, the plurality of branch electrodes extending from the second conductive semiconductor layer. The center extends outward.
CN201780024951.4A2016-04-222017-04-21Light emitting device and display including the sameActiveCN109075221B (en)

Applications Claiming Priority (7)

Application NumberPriority DateFiling DateTitle
KR10-2016-00495762016-04-22
KR1020160049576AKR20170120962A (en)2016-04-222016-04-22Light emitting device and display device having thereof
KR10-2016-00536102016-04-29
KR1020160053610AKR20170124047A (en)2016-04-292016-04-29Light emitting device and display device having thereof
KR10-2016-00536112016-04-29
KR1020160053611AKR102496616B1 (en)2016-04-292016-04-29Light emitting device and display device having thereof
PCT/KR2017/004295WO2017183944A1 (en)2016-04-222017-04-21Light emitting device and display comprising same

Publications (2)

Publication NumberPublication Date
CN109075221A CN109075221A (en)2018-12-21
CN109075221Btrue CN109075221B (en)2021-06-11

Family

ID=60116907

Family Applications (1)

Application NumberTitlePriority DateFiling Date
CN201780024951.4AActiveCN109075221B (en)2016-04-222017-04-21Light emitting device and display including the same

Country Status (3)

CountryLink
US (1)US10615311B2 (en)
CN (1)CN109075221B (en)
WO (1)WO2017183944A1 (en)

Families Citing this family (14)

* Cited by examiner, † Cited by third party
Publication numberPriority datePublication dateAssigneeTitle
DE102016112587A1 (en)2016-07-082018-01-11Osram Opto Semiconductors Gmbh Radiation-emitting semiconductor chip
KR20190061147A (en)*2017-11-272019-06-05주식회사 루멘스Led chip and led module with led chip
KR102147443B1 (en)*2018-10-252020-08-28엘지전자 주식회사Display device using semiconductor light emitting device and method for manufacturing the same
CN111276595A (en)*2018-12-042020-06-12展晶科技(深圳)有限公司 Light-emitting diode and method of making the same
CN109830498B (en)*2019-01-172022-07-19泉州三安半导体科技有限公司 A semiconductor light-emitting element
CN110224049A (en)*2019-05-312019-09-10深圳市华星光电半导体显示技术有限公司Micro LED chip and preparation method thereof
DE102019119991A1 (en)*2019-07-242021-01-28OSRAM Opto Semiconductors Gesellschaft mit beschränkter Haftung OPTOELECTRONIC SEMICONDUCTOR CHIP
US11626550B2 (en)*2020-01-252023-04-11Jade Bird Display (shanghai) LimitedMicro light emitting diode with high light extraction efficiency
CN111915998B (en)*2020-03-202022-05-31錼创显示科技股份有限公司 Miniature LED Display Panel
US11450796B2 (en)2020-03-202022-09-20PlayNitride Display Co., Ltd.Micro light emitting diode display panel
DE102020114772A1 (en)*2020-06-032021-12-09OSRAM Opto Semiconductors Gesellschaft mit beschränkter Haftung RADIATION EMITTING SEMI-CONDUCTOR CHIP
CN112331751A (en)*2020-12-032021-02-05至芯半导体(杭州)有限公司Deep ultraviolet LED epitaxial wafer and manufacturing method thereof
DE102021202026A1 (en)*2021-03-032022-09-08OSRAM Opto Semiconductors Gesellschaft mit beschränkter Haftung OPTOELECTRONIC SEMICONDUCTOR COMPONENT AND METHOD FOR MANUFACTURING AT LEAST ONE OPTOELECTRONIC SEMICONDUCTOR COMPONENT
WO2023277310A1 (en)2021-06-302023-01-05삼성전자주식회사Inorganic light-emitting element, display module, and manufacturing method therefor

Citations (7)

* Cited by examiner, † Cited by third party
Publication numberPriority datePublication dateAssigneeTitle
JP2002151739A (en)*2000-11-092002-05-24Showa Denko KkFlip-chip semiconductor light emitting device, its manufacturing method, light emitting diode lamp, display unit, and electrode of flip-chip type semiconductor light emitting device
KR20050013047A (en)*2003-12-302005-02-02주식회사 이츠웰Light emitting diode with vertical electrode structure and manufacturing method of the same
JP2006352089A (en)*2005-04-052006-12-28Philips Lumileds Lightng Co Llc AlInGaP LED with reduced temperature dependence
CN101467269A (en)*2006-06-092009-06-24飞利浦拉米尔德斯照明设备有限责任公司 Thin Profile Side-Emitting LEDs
JP2011165799A (en)*2010-02-082011-08-25Showa Denko KkFlip-chip light emitting diode and method for manufacturing the same, and light emitting diode lamp
CN103890981A (en)*2011-10-252014-06-25昭和电工株式会社Light-emitting diode, method for manufacturing light-emitting diode, light-emitting diode lamp and illumination device
KR20150139630A (en)*2007-12-142015-12-11코닌클리케 필립스 엔.브이.Contact for a semiconductor light emitting device

Family Cites Families (1)

* Cited by examiner, † Cited by third party
Publication numberPriority datePublication dateAssigneeTitle
EP2782149B1 (en)*2012-07-182022-10-19Semicon Light Co., Ltd.Semiconductor light-emitting device

Patent Citations (7)

* Cited by examiner, † Cited by third party
Publication numberPriority datePublication dateAssigneeTitle
JP2002151739A (en)*2000-11-092002-05-24Showa Denko KkFlip-chip semiconductor light emitting device, its manufacturing method, light emitting diode lamp, display unit, and electrode of flip-chip type semiconductor light emitting device
KR20050013047A (en)*2003-12-302005-02-02주식회사 이츠웰Light emitting diode with vertical electrode structure and manufacturing method of the same
JP2006352089A (en)*2005-04-052006-12-28Philips Lumileds Lightng Co Llc AlInGaP LED with reduced temperature dependence
CN101467269A (en)*2006-06-092009-06-24飞利浦拉米尔德斯照明设备有限责任公司 Thin Profile Side-Emitting LEDs
KR20150139630A (en)*2007-12-142015-12-11코닌클리케 필립스 엔.브이.Contact for a semiconductor light emitting device
JP2011165799A (en)*2010-02-082011-08-25Showa Denko KkFlip-chip light emitting diode and method for manufacturing the same, and light emitting diode lamp
CN103890981A (en)*2011-10-252014-06-25昭和电工株式会社Light-emitting diode, method for manufacturing light-emitting diode, light-emitting diode lamp and illumination device

Also Published As

Publication numberPublication date
CN109075221A (en)2018-12-21
WO2017183944A1 (en)2017-10-26
US10615311B2 (en)2020-04-07
US20190148601A1 (en)2019-05-16

Similar Documents

PublicationPublication DateTitle
CN109075221B (en)Light emitting device and display including the same
CN110024142B (en) Semiconductor device and display device including semiconductor device
KR102197082B1 (en)Light emitting device and light emitting device package including the same
TWI459590B (en) Illuminating device
KR102462658B1 (en)Light emitting device and display device having thereof
US8791495B2 (en)Light emitting device package and lighting system
KR102496616B1 (en)Light emitting device and display device having thereof
CN103066172A (en)Light emitting device
CN102315346B (en)Luminescent device and manufacture method thereof
JP2014033182A (en)Light emitting element
CN102315349B (en)Luminescent device and manufacture method thereof
US9029899B2 (en)Light emitting device and light emitting device package
KR102309092B1 (en)Light emitting device and light emitting device array including the same
KR102639100B1 (en)Semiconductor device package and display device including the same
US11450788B2 (en)Semiconductor device
KR102465400B1 (en)Light emitting device and method of fabricating the same
KR20170120962A (en)Light emitting device and display device having thereof
KR102528386B1 (en)Semiconductor device
KR102385209B1 (en)Semiconductor device
KR20130009040A (en)Light emitting device, method of fabricating light emitting device, light emitting device package, and light unit
KR20170124047A (en)Light emitting device and display device having thereof
KR102507444B1 (en)Light emitting device and display device including the same
KR20190119852A (en)Semiconductor device
KR20130005589A (en)Light emitting device, light emitting device package, light unit, and method of fabricating light emitting device
KR102462718B1 (en)Semiconductor device

Legal Events

DateCodeTitleDescription
PB01Publication
PB01Publication
SE01Entry into force of request for substantive examination
SE01Entry into force of request for substantive examination
GR01Patent grant
GR01Patent grant
TR01Transfer of patent right

Effective date of registration:20210716

Address after:168 Changsheng North Road, Taicang City, Suzhou City, Jiangsu Province

Patentee after:Suzhou Leyu Semiconductor Co.,Ltd.

Address before:Seoul, South Kerean

Patentee before:LG INNOTEK Co.,Ltd.

TR01Transfer of patent right
CP03Change of name, title or address

Address after:215499 No. 168, Changsheng North Road, Taicang City, Suzhou City, Jiangsu Province

Patentee after:Suzhou Liyu Semiconductor Co.,Ltd.

Country or region after:China

Address before:168 Changsheng North Road, Taicang City, Suzhou City, Jiangsu Province

Patentee before:Suzhou Leyu Semiconductor Co.,Ltd.

Country or region before:China

CP03Change of name, title or address

[8]ページ先頭

©2009-2025 Movatter.jp