Movatterモバイル変換


[0]ホーム

URL:


CN108778772B - Printing type coating film transfer tool - Google Patents

Printing type coating film transfer tool
Download PDF

Info

Publication number
CN108778772B
CN108778772BCN201680083832.1ACN201680083832ACN108778772BCN 108778772 BCN108778772 BCN 108778772BCN 201680083832 ACN201680083832 ACN 201680083832ACN 108778772 BCN108778772 BCN 108778772B
Authority
CN
China
Prior art keywords
reel
take
transfer
coating film
case
Prior art date
Legal status (The legal status is an assumption and is not a legal conclusion. Google has not performed a legal analysis and makes no representation as to the accuracy of the status listed.)
Active
Application number
CN201680083832.1A
Other languages
Chinese (zh)
Other versions
CN108778772A (en
Inventor
熊谷公孝
宇佐美刚士
佐藤正则
Current Assignee (The listed assignees may be inaccurate. Google has not performed a legal analysis and makes no representation or warranty as to the accuracy of the list.)
Nichiban Co Ltd
Original Assignee
Nichiban Co Ltd
Priority date (The priority date is an assumption and is not a legal conclusion. Google has not performed a legal analysis and makes no representation as to the accuracy of the date listed.)
Filing date
Publication date
Application filed by Nichiban Co LtdfiledCriticalNichiban Co Ltd
Publication of CN108778772ApublicationCriticalpatent/CN108778772A/en
Application grantedgrantedCritical
Publication of CN108778772BpublicationCriticalpatent/CN108778772B/en
Activelegal-statusCriticalCurrent
Anticipated expirationlegal-statusCritical

Links

Images

Classifications

Landscapes

Abstract

The present invention provides a printing type coating film transfer tool, comprising: a case half (11), a case half (12) constituting a bottomed cylindrical case (10) having an opening (10 a); a drawing-out reel (20) and a winding-up reel (30) rotatably disposed in the case; a transfer pressing part (13) arranged at the opening part of one of the shell halves; and a slide member (40) movable inside and outside the housing, the slide member having integrally formed therein: a frame (41) having a transfer opening (41 e); a sliding part (42) which is movably inserted into the housing; a spring part (43) which is elastically contacted with the bottom of the shell and always moves the frame part to the outside of the shell; and a rack gear (44) which is engaged with a winding gear (33) coaxial with the winding reel only when the sliding part moves at the bottom side of the housing, and the transfer belt wound around the take-out reel is wound around the winding reel in a state of being in contact with the pressing surface of the transfer pressing part and the adhesive (3) of the transfer belt wound around the take-out reel.

Description

Printing type coating film transfer tool
Technical Field
The present invention relates to a printing type coating film transfer tool for transferring a coating film from a transfer belt to a transfer target surface.
Background
Conventionally, as such a transfer tool, the following are known: the transfer printing device comprises a supply reel and a take-up reel, wherein the supply reel and the take-up reel are respectively arranged in a shell of a cylinder body or a shaft cylinder in a freely rotating way and are used for winding a transfer printing belt after use; a pressing bar pressing the surface of the transfer belt; and a slider (slider) movably disposed in the case and held by elasticity of a spring member (spring or hairspring), and configured to engage a winding pawl provided in the slider with a gear (gear) provided coaxially with the winding reel only in a winding direction of the transfer belt (see, for example, patent document 1).
Patent document 1 discloses a print type configuration as follows: a groove portion for movably fitting a locking pin provided in a shaft tube is provided in a slider which is held in the shaft tube constituting a housing so as to be freely inserted and removed by the elasticity of a spring and a hairspring and has an opening at the tip end, and a pressure rod is inserted and removed from the opening at the tip end of the slider in accordance with the insertion and removal of the slider, whereby the pressure rod is pressed against the back surface of a transfer belt to perform transfer. The transfer belt is tensioned by 2 guide pins provided on the opening side of the slider.
In the configuration described inpatent document 1, since the supply reel and the take-up reel are rotatable, the rotation of the supply reel and the take-up reel is restricted by providing a reverse rotation preventing pawl in each of gears provided coaxially with the supply reel and the take-up reel.
Documents of the prior art
Patent document
Patent document 1: japanese patent laid-open No. 6-55895 (claims, paragraphs 0018 to 0020, FIG. 2)
Disclosure of Invention
Problems to be solved by the invention
However, in the structure described inpatent document 1, the guide pin that applies tension to the transfer belt is also pushed in at the time of transfer. At this time, the transfer belt may be loosened because winding cannot be performed. Further, there is also a fear that the transfer belt is undesirably pulled out due to a peeling force when the coating film is peeled off from the transfer belt.
Further, since the number of components is increased, the size of the transfer tool itself is increased, and the degree of freedom in design may be reduced, because the reverse rotation preventing mechanism needs to be provided at two positions in addition to the plurality of spring members.
The present invention has been made in view of the above circumstances, and provides a printing type coating film transfer tool capable of preventing the transfer belt from loosening during transfer, reducing the number of components, reducing the size, and improving the degree of freedom in design.
Means for solving the problems
To solve the above problems, the present invention provides a printing type coating film transfer tool including: a case half divided into two parts, the case half being configured as a bottomed cylindrical case having an opening at one end; a take-out reel rotatably disposed in the case and adapted to wind a transfer belt having a coating film coated on a surface thereof; a winding reel rotatably disposed in the housing and configured to wind the used transfer belt; a transfer pressing portion arranged in an opening of one of the housing halves and having a pressing surface for pressing a back surface side of the transfer belt; and a slide member movable inside and outside via an opening portion of the housing, the print-type coat film transfer tool having integrally formed therein: a frame portion exposed to the outside of the opening portion of the case and having a transfer opening communicating with the opening portion; a sliding part movably inserted into the housing; a spring portion elastically contacting the bottom of the housing to always move the frame portion out of the housing; and a rack gear that engages with a take-up gear provided coaxially with the take-up reel only when the slide portion moves on the bottom side of the housing, and the transfer belt wound around the take-up reel is taken up to the take-up reel in a state of being in contact with a pressing surface of the transfer pressing portion and a surface of the transfer belt wound around the take-up reel.
With this configuration, the transfer belt wound around the take-up reel is wound around the take-up reel in a state in which the transfer belt contacts the pressing surface of the transfer pressing portion so as to embrace the coating film wound around the surface of the transfer belt wound around the take-up reel, whereby the amount of take-up of the transfer belt from the take-up reel that rotates due to friction caused by contact between the coating film wound around the surface of the transfer belt of the take-up reel and the used transfer belt can be controlled. Further, the transfer belt is not drawn out from the take-out reel unless it is wound by the take-up reel, and therefore, the transfer belt is prevented from being loosened. Further, a frame portion having a transfer opening, a slide portion, a spring portion that always moves the frame portion to the outside of the case, and a rack gear that meshes with a take-up gear provided coaxially with the take-up reel may be integrally formed.
In the present invention, it is preferable that the take-out reel is formed by a cylindrical tape core rotatably attached to a support shaft provided to protrude from the case half portion.
With this configuration, the shape of the take-out reel can be simplified, and the transfer belt can be easily wound around the take-out reel.
In the present invention, the take-up gear and the rack gear may be of any configuration as long as they mesh with a take-up gear provided coaxially with the take-up reel only when the slide portion moves toward the bottom of the housing, and preferably, the take-up gear is provided on an axial end peripheral surface of a rotating shaft of the take-up reel, and the rack gear is provided on a side surface of a plate-shaped projecting piece that is provided to linearly extend at a tip end of the slide portion and is elastically deformable.
With this configuration, the winding gear and the rack gear can be reliably meshed with each other, and the space occupied by the winding gear and the rack gear can be reduced.
In the present invention, it is preferable that the frame portion is formed in a cross shape, and an area inside 4 corner portions adjacent to each other is formed slightly larger than a pressing surface of the transfer pressing portion, and a window hole for position confirmation is provided on the frame portion side of the sliding portion linearly continuous to one side of the frame portion.
With this configuration, the transfer position of the coating film can be confirmed through the window hole for position confirmation provided on the frame side in the cross-shaped frame portion and the slide portion linearly continuous to one side of the frame portion.
In the present invention, it is preferable that a pair of guide pieces that correct a shift in the width direction of the used transfer belt is provided so as to protrude from a side surface of the transfer pressing portion adjacent to the pressing surface.
With this configuration, even if the transfer belt wound around the take-out reel is slightly misaligned, the transfer belt can be corrected by the pair of guide pieces, and the used transfer belt can be wound around the take-up reel without being misaligned in the width direction.
In the present invention, it is preferable that the take-up reel is rotatably disposed on a support shaft provided to protrude from the housing half portion, and further includes a reverse rotation preventing mechanism for preventing rotation of the take-up reel in a direction opposite to the take-up direction. In this case, it is preferable that the reverse rotation preventing mechanism includes: a planar tooth portion provided on a circle concentric with the center of the support shaft in the housing half portion; and a plurality of ratchet pawls that project in an arc shape in a circumferential direction of the rotating shaft at a distal end portion of the rotating shaft of the take-up reel and are elastically deformable, wherein the planar tooth portion and the ratchet pawl are formed so as to be engageable when the take-up reel is rotated in a direction opposite to the take-up direction.
With this configuration, the following can be prevented: when the sliding member moves out of the housing by the elastic force of the spring portion, the take-up reel rotates in the reverse direction, and the taken-up transfer belt slackens. In this case, the reverse rotation prevention mechanism includes: a planar tooth portion provided on a circle concentric with the center of the support shaft in the housing half portion; and a plurality of ratchet pawls that project in an arc shape in the circumferential direction of the rotating shaft at the tip end of the rotating shaft of the take-up reel and are elastically deformable, wherein the planar tooth portion and the ratchet pawl are formed so as to be engageable when the take-up reel is rotated in the direction opposite to the take-up direction, whereby the reverse rotation preventing mechanism can be easily assembled.
In the present invention, it is preferable that a step portion is provided on an upper end surface of each of the two side pieces in one of the case halves, locking claws are provided to protrude from end portions of the opening portion and the bottom portion, rising pieces capable of being fitted into the step portion are provided on upper end surfaces of the two side pieces in the other case half, and locking slits capable of being engaged with the locking claws are provided on the transfer pressing portion and the bottom portion on the opening portion side.
With this configuration, the housing halves can be easily assembled to each other, and the assembly can be made firm.
In the present invention, it is preferable that the case further includes a lid body that closes the opening of the case, the lid body is formed in a bottomed tubular shape fitted in the opening of the case, and a plurality of ribs that are in contact with an end surface of the case and that ensure a storage space of the frame portion are provided on an inner surface of the lid body; and a plurality of auxiliary ribs arranged among the ribs and having a rising slope from the opening end to the bottom. In this case, it is preferable that the case and the lid are each formed in a substantially rectangular shape in cross section, the rib is provided at a corner of the lid, and the auxiliary rib is provided at the center of each side of the lid.
With this configuration, when not in use, the coating film of the transfer belt and the frame portion of the slide member hung on the pressing surface of the transfer pressing portion exposed to the outside of the opening of the case can be covered with the lid body. In the above case, a plurality of ribs which are in contact with an end surface of the case and which ensure a storage space of the frame portion are provided on an inner surface of the lid body; and a plurality of auxiliary ribs which are arranged among the ribs and have ascending slopes from the opening end to the bottom, therefore, even if the cover body is in a slightly inclined state when the cover body is nested in the shell, the nesting of the cover body can be easily carried out, and the safety of the frame part protruding from the shell can be protected by the cover body.
ADVANTAGEOUS EFFECTS OF INVENTION
According to the printing type coating film transfer tool of the present invention, the following effects can be obtained because of the above-described configuration.
(1) According to the present invention, the amount of the transfer tape drawn out from the take-out reel that rotates due to friction caused by contact between the coating film on the surface of the transfer belt wound around the take-out reel and the used transfer belt can be controlled, and the transfer belt can be prevented from loosening. Further, the frame portion, the sliding portion, the spring portion that always moves the frame portion to the outside of the case, and the rack gear that meshes with the winding gear provided coaxially with the winding reel can be integrally formed, so that the number of constituent members can be reduced, the size can be reduced, and the degree of freedom in design can be improved.
(2) According to the present invention, the shape of the take-out reel can be simplified, and the transfer belt can be easily wound around the take-out reel, so that the configuration can be simplified, the size can be reduced, and the degree of freedom in design can be improved in addition to the above (1).
(3) According to the present invention, since the winding gear and the rack gear can be reliably meshed with each other and the space occupied by the winding gear and the rack gear can be reduced, the size can be further reduced and the assembly can be easily performed in addition to the above (1) and (2).
(4) According to the present invention, since the transfer position of the coating film can be confirmed by the window hole for position confirmation provided on the frame side in the cross-shaped frame portion and the slide portion linearly continuous to one side of the frame portion, the coating film can be easily transferred in addition to the above (1) to (3), and the transfer position can be accurately determined.
(5) According to the present invention, even if the transfer belt wound around the take-out reel is slightly misaligned, the transfer belt can be corrected by the pair of guide pieces, and the used transfer belt can be wound around the take-up reel without being misaligned in the width direction, so that the transfer of the coating film can be easily performed in addition to the above (1) to (4).
(6) According to the present invention, in addition to the above (1) to (5), the following can be prevented: when the sliding member moves to the outside of the case by the elastic force of the spring portion, the take-up reel rotates in the reverse direction, and the taken-up transfer belt slackens. In this case, the reverse rotation prevention mechanism includes: a planar tooth portion provided on a circle concentric with the center of the support shaft in the housing half portion; and a plurality of ratchet pawls that project in an arc shape in the circumferential direction of the rotating shaft at the tip end of the rotating shaft of the take-up reel and are elastically deformable, wherein the planar tooth portion and the ratchet pawl are formed so as to be engageable when the take-up reel is rotated in the direction opposite to the take-up direction, whereby the reverse rotation preventing mechanism can be easily assembled.
(7) According to the present invention, in addition to the above (1) to (6), the housing halves can be easily assembled to each other, and the assembly can be made strong.
(8) According to the present invention, when not in use, the coating film of the transfer belt and the frame portion of the slide member hung on the pressing surface of the transfer pressing portion exposed to the outside of the opening portion of the case can be covered with the lid body. In this case, even when the cover is fitted to the housing, the cover can be easily fitted to the housing while protecting the safety of the frame portion protruding from the housing with the cover.
Drawings
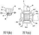
Fig. 1(a) is a front perspective view showing a state of use of the coating film transfer tool of the present invention, fig. 1(b) is a rear perspective view, and fig. 1(c) is a schematic plan view showing an example of a state of coating film transfer.
Fig. 2 is a perspective view showing a state where the cover of the present invention is removed.
Fig. 3(a) is a sectional view showing a main part of the coating film transfer tool, fig. 3(b) is a schematic view showing a meshing state between a rack gear and a winding gear in the present invention, fig. 3(c) is an enlarged view of a portion I of fig. 3(a), and fig. 3(d) is an enlarged view of a portion II of fig. 3 (a).
Fig. 4(a) is a sectional view of a main part showing a use state of the coating film transfer tool, and fig. 4(b) is an enlarged view of a portion III of fig. 4 (a).
Fig. 5 is a front view showing a state where the upper case half of the present invention is removed.
Fig. 6 is a right side view of fig. 5.
Fig. 7 is a plan view of fig. 5.
Fig. 8 is a bottom view of fig. 5.
Fig. 9 is a front view of the upper housing half of the present invention.
Fig. 10 is a perspective view showing a lower casing half in the present invention.
Fig. 11 is a perspective view showing an upper case half in the present invention.
Fig. 12 is a perspective view showing the slide member in the present invention.
Fig. 13 is a perspective view showing a spool (spool) constituting the wind-up reel of the present invention.
Fig. 14 is a perspective view showing a tape core (tape core) of the take-out reel according to the present invention.
Fig. 15(a) is a plan view showing a ratchet pawl of the take-up reel of the present invention, fig. 15(b) is a plan view showing a planar tooth portion, and fig. 15(c) is a schematic view showing an engagement relationship between the ratchet pawl and the planar tooth portion.
Fig. 16 is a schematic plan view showing an example of a housed state of the coating film transfer tool of the present invention.
Fig. 17(a) to 17(c) are front views showing different designs of the surface of the lid body according to the present invention.
[ description of symbols ]
1: transfer printing belt
2: base material
3: adhesive agent
4: surface to be transferred
10: shell body
10 a: opening part
10 b: bottom part
11: upper housing half
11 a: side panel
11 b: step difference part
12: lower housing half
12 a: side panel
12 b: vertical sheet
13: transfer press part
13 a: pressing surface
13 b: printing table
13 c: side surface
13d, 13 e: guide sheet
14 a: no. 1 take-out reel support shaft
14 b: no. 2 take-out reel support shaft
15 a: no. 1 take-up reel support shaft
15 b: no. 2 take-up reel support shaft
16 a: 1 st locking slit
16 b: no. 2 locking slit
17 a: no. 1 locking claw
17 b: 2 nd locking claw
18: planar tooth system
20: drawing reel (with core)
21: large diameter part
22: small diameter part
30: winding reel (reel)
31: rotating shaft
32a, 32 b: shaft ring part
33: winding gear
34: ratchet pawl
34 a: inclined plane
40: sliding member
41: frame part
41a, 41b, 41c, 41 d: protruding frame piece
41 e: transfer printing opening
41 f: corner part
41 g: region(s)
42: sliding part
42 a: window hole
42b, 42 c: side panel
42 d: negative film
42 e: incision hole
42 f: concave cut
42 g: plate-shaped protruding piece
43: spring part
43 a: spring base
43 b: bulging head
44: rack and pinion
50: cover body
51: rib material
52: auxiliary rib
60: writing implement
61: eraser
62: pencil box
+ R: direction of winding
-R: opposite to the winding direction
Detailed Description
Hereinafter, embodiments of the present invention will be described in detail based on the accompanying drawings. Here, a case where the printing type coat film transfer tool (hereinafter, referred to as a coat film transfer tool) of the present invention is applied to an adhesive transfer tool will be described.
As shown in fig. 2 to 5, the coating film transfer tool of the present invention includes: acase half 11 and a case half 12 (hereinafter referred to as anupper case half 11 and a lower case half 12) constituting a bottomedcylindrical case 10 having anopening 10a at one end; a take-out reel 20 rotatably disposed in thehousing 10 and wound around thetransfer belt 1 having the adhesive 3 coated as a coating film on the surface of thebase material 2; a take-up reel 30 rotatably disposed in thecase 10 for taking up the usedtransfer belt 1; atransfer pressing portion 13 disposed in anopening 10a of thelower casing half 12, which is one of theupper casing half 11 and thelower casing half 12, and having apressing surface 13a for pressing the back surface side of thetransfer belt 1; aslide member 40 movable inside and outside through theopening 10a of thehousing 10; and acover 50 detachably attached to theopening 10a of thecase 10.
In this case, thetransfer belt 1 wound around the take-up reel 20 is wound around the take-up reel 30 in a state where it contacts thepressing surface 13a of thetransfer pressing portion 13 so as to wrap around the adhesive 3 on the surface of thetransfer belt 1 wound around the take-up reel 20.
Thecasing 10 is formed in a bottomed square tube shape having arectangular opening 10a at one end thereof and a cross section of a substantially rectangular shape, and theupper casing half 11 and thelower casing half 12 constituting thecasing 10 are formed of a synthetic resin member such as Polystyrene (PS) or Acrylonitrile-Butadiene-Styrene (ABS) resin, and are formed in a substantially square U-shape in cross section by being horizontally divided into two parts from theopening 10a to the bottom 10b of thecasing 10.
In this case, atransfer pressing portion 13 that presses the back side of thetransfer belt 1 is provided in theopening 10a of thelower case half 12 in a protruding manner. Thetransfer pressing portion 13 has a rectangularpressing surface 13a located at the center of therectangular opening 10a, and thepressing surface 13a protrudes slightly outside the opening 10 a. Further, a print table (stamp pad)13b having elasticity is attached to the surface of thepressing surface 13 a.
Further, a pair ofguide pieces 13d and 13e (see fig. 10) for guiding thebase material 2 of the usedtransfer belt 1 are horizontally projected in parallel to each other on oneside surface 13c of thetransfer pressing portion 13 adjacent to thepressing surface 13 a. Theguide pieces 13d and 13e can correct the shift of the usedtransfer belt 1 in the width direction of thebase material 2.
As shown in fig. 10, a 1 streel support shaft 14a that rotatably supports the take-out reel 20 is provided to protrude from theopening 10a side of thelower case half 12 on the rear side of thetransfer pressing portion 13, and a 1 st take-upreel support shaft 15a that rotatably supports the take-up reel 30 is provided to protrude from thebottom portion 10b side of thelower case half 12.
On the other hand, a 2 ndreel support shaft 14b for rotatably supporting the take-up reel 20 is provided on theopening 10a side of theupper case half 11, and a 2 nd take-upreel support shaft 15b for rotatably supporting the take-up reel 30 is provided on the bottom 10b side of the upper case half 11 (see fig. 11). Further, aplanar tooth 18, which constitutes a reverse rotation prevention mechanism described later and is positioned on a circle concentric with the center of the 2 nd take-upreel support shaft 15b, is provided on the base end side of the 2 nd take-upreel support shaft 15b of theupper case half 11.
Further, risingpieces 12b are provided inside the upper end surfaces of the bothside pieces 12a of thelower case half 12 with both ends left, and a 1st locking slit 16a horizontally long is provided on the upper side of thepressing surface 13a of thetransfer pressing portion 13. Further, a 2nd locking slit 16b horizontally extending is provided on the upper side of thebottom portion 10b of thelower case half 12.
On the other hand, inside the upper end surfaces (lower end surfaces with respect to the lower case half 12) of the bothside pieces 11a of theupper case half 11, astep portion 11b is provided which can be fitted to the risingpiece 12b of thelower case half 12. Further, a 1st engaging claw 17a of a substantially L shape whose tip protrudes outward is provided on theopening portion 10a side of theupper case half 11, and a 2nd engaging claw 17b of a substantially L shape whose tip protrudes outward is provided on thebottom portion 10b side of theupper case half 11.
When theupper case half 11 and thelower case half 12 formed as described above are assembled, the risingpiece 12b of thelower case half 12 is fitted to the steppedportion 11b of theupper case half 11, and the 1st locking claw 17a and the 2nd locking claw 17b of theupper case half 11 are engaged with the 1st locking slit 16a and the 2nd locking slit 16b of thelower case half 12, respectively. Further, the risingpiece 12b may be provided in theupper case half 11, thestep portion 11b may be provided in thelower case half 12, the 1st locking slit 16a and the 2nd locking slit 16b may be provided in theupper case half 11, and the 1st locking claw 17a and the 2nd locking claw 17b may be provided in thelower case half 12.
Therefore, the assembly of theupper case half 11 and thelower case half 12 can be easily performed, and the assembly can be made firm.
The take-out reel 20 is formed by a cylindrical tape core rotatably attached to the 1 st take-outreel support shaft 14a and the 2 nd take-outreel support shaft 14b provided in thelower case half 12 and theupper case half 11 so as to protrude. In this case, the tape core forming the take-out reel 20 is formed of a synthetic resin member such as Polyacetal (POM), and is formed in a cylindrical shape having a step difference of thesmall diameter portions 22 at both ends of thelarge diameter portion 21 around which thetransfer belt 1 is wound, as shown in fig. 14, and is rotatably attached to the 1 st take-outreel support shaft 14a and the 2 nd take-outreel support shaft 14 b.
In this way, by forming the take-out reel 20 with a cylindrical core having no flange, the shape can be simplified and thetransfer belt 1 can be easily wound.
The take-up reel 30 is formed by a reel having arotation shaft 31 integrally formed thereon, and is rotatably attached to the 1 st and 2 nd take-upreel support shafts 15a and 15b provided in thelower case half 12 and theupper case half 11 so as to protrude through therotation shaft 31. In this case, the take-up reel 30 is formed of a synthetic resin member such as Polyacetal (POM), and as shown in fig. 13, a take-up gear 33 is provided on one end peripheral surface in the axial direction of therotating shaft 31 extending outside the pair ofcollar portions 32a and 32b, and a plurality of (e.g., 2) ratchetpawls 34 constituting a reverse rotation prevention mechanism described later are provided on the other end portion in the axial direction of therotating shaft 31, and the pair ofcollar portions 32a and 32b are provided on a portion of thebase material 2 around which thetransfer belt 1 is wound.
Theslide member 40 is formed of a synthetic resin member such as Polyacetal (POM), and as shown in fig. 12, is formed by integrally forming: aframe 41 exposed to the outside of the opening of thecasing 10 and having atransfer opening 41e communicating with the opening 10 a; aslide portion 42 movably inserted into thehousing 10; aspring portion 43 elastically contacting thebottom portion 10b of thehousing 10 to always move theframe portion 41 to the outside of thehousing 10; and arack gear 44 that meshes with the windinggear 33 provided coaxially with the windingreel 30 only when the slidingportion 42 moves on thebottom portion 10b side of thehousing 10.
In this case, theframe 41 has a substantially cross shape having コ -shaped protrudingframe pieces 41a, 41b, 41c, and 41d at the center of 4 sides, and theinner regions 41g (indicated by chain lines in fig. 1 c) of the 4adjacent corners 41f are formed slightly larger than thepressing surface 13a of thetransfer pressing portion 13. Further, arectangular window hole 42a for position confirmation is provided on theframe 41 side of theslide portion 42 linearly connected to one side of theframe 41.
Theslide portion 42 has a protrudingframe piece 41b extending to both sides of theframe portion 41, a protrudingframe piece 41c, and bothside pieces 42b of the protrudingframe piece 41d at the lower portion, aside piece 42c, and abottom piece 42d, and thebottom piece 42d is provided with anotch hole 42e for avoiding interference with the take-out reel 20 and a recessednotch 42f for avoiding interference with the take-up reel 30 when theslide portion 42 moves in thehousing 10. Further, an elastically deformable plate-like projectingpiece 42g is provided linearly extending at the tip of thebase piece 42d on the side of oneside piece 42b, and arack gear 44 is provided on the side surface of the tip of the plate-like projectingpiece 42 g.
Therack gear 44 provided on the distal end side surface of the plate-like projectingpiece 42g formed as described above is formed so as to be capable of meshing with the windinggear 33 provided on the outer peripheral side surface of the axial end of the winding reel (spool) 30. That is, therack gear 44 meshes with the windinggear 33 provided on the take-up reel (spool) 30 only when theslide portion 42 moves on thebottom portion 10b side of thecase 10.
Thespring portion 43 is formed of aspring base portion 43a that is curved from the tip of theside piece 42c of theslide portion 42 and is elastically deformable, and a bulginghead portion 43b that is provided at the tip of thespring base portion 43a and has a circular shape. In thespring portion 43 formed in this manner, the bulginghead portion 43b elastically contacts thebottom portion 10b of thehousing 10 due to the elastic force of thespring base portion 43a, and theframe portion 41 of theslide member 40 is always moved to the outside of thehousing 10.
Next, a reverse rotation preventing mechanism of the take-up reel 30 will be described. The present embodiment is as follows: a reverse rotation preventing mechanism that prevents rotation of the take-up reel (spool) 30 in the direction opposite to the take-up direction is provided between the take-up reel (spool) 30 and the 2 nd take-upreel support shaft 15b provided protruding from theupper case half 11.
In this case, as shown in fig. 11, 13, and 15(a) to 15(c), the reverse rotation preventing mechanism includes aplanar tooth portion 18 and a plurality of (2) ratchetpawls 34 havinginclined surfaces 34a rising toward the tip ends, theplanar tooth portion 18 is provided on a circle concentric with the center of the 2 nd take-upreel support shaft 15b in theupper case half 11, theratchet pawls 34 are provided so as to protrude in an arc shape in the circumferential direction of therotation shaft 31 at the tip end portion of the take-up reel (spool) 30, and are elastically deformable, and theplanar tooth portion 18 and theratchet pawls 34 are formed so as to be engageable when the take-up reel (spool) 30 rotates in the direction (-R) opposite to the take-up direction (+ R) (see fig. 15 (c)). Further, as shown in the schematic diagram of fig. 15 c, since theratchet claw 34 is formed in a substantially triangular shape in cross section having theinclined surface 34a rising toward the tip end, when the take-up reel (spool) 30 rotates in the take-up direction (+ R), theplanar tooth portion 18 is not disturbed, and when the take-up reel (spool) 30 rotates in the opposite direction (-R), theratchet claw 34 engages with theplanar tooth portion 18 to prevent the reverse rotation of the take-up reel (spool) 30.
According to the reverse rotation prevention mechanism configured as described above, the following can be prevented: when theslide member 40 moves outward of thecase 10 by the elastic force of thespring portion 43, the take-up reel (spool) 30 rotates in the reverse direction, and thewound transfer belt 1 slacks.
In the above embodiment, the reverse rotation preventing mechanism is provided between the take-up reel (spool) 30 and the 2 nd take-upreel support shaft 15b provided so as to protrude from theupper case half 11, but the same effect can be obtained by providing the reverse rotation preventing mechanism between the take-up reel (spool) 30 and the 1 st take-upreel support shaft 15a provided so as to protrude from thelower case half 12.
Thelid 50 is formed of a synthetic resin member such as Polystyrene (PS) or ABS resin, and is formed in a bottomed cylindrical shape having a substantially rectangular cross section, which is fitted in theopening 10a of thecase 10. In this case, a plurality of (4)ribs 51 that abut against the end surface of thecase 10 to secure the storage space of theframe 41 are provided at the corners of the inner surface of thecover 50, and a plurality of (4)auxiliary ribs 52 having a rising slope from the opening end of thecover 50 to the bottom are provided at the centers of the sides between theribs 51.
According to thecover 50 formed as described above, even when thecover 50 is slightly deflected when thecover 50 is fitted to thecase 10, thecover 50 can be easily fitted, and the safety of theframe portion 41 protruding from thecase 10 can be protected by thecover 50.
In the coating film transfer tool of the embodiment configured as described above, thetransfer belt 1 having a width of 6.0mm and a length of 3.5m is wound around the take-out reel 20, and when the area of the transfer surface (print surface) is set to 6.0mm × 6.0mm, at least 500 transfers (prints) can be performed.
By using thetransfer belt 1 having the above dimensions, the overall dimensions of the coating film transfer tool can be set to 23.0mm × 23.0mm × 64.8mm, and the overall size can be reduced. Therefore, for example, as shown in fig. 16, the coating film transfer tool can be housed in apen case 62 that houses awriting tool 60 such as a pencil and aneraser 61. Alternatively, the coating film transfer tool may be housed in an office product housing tray provided in a drawer of the desk.
Then, in the case of using the coating film transfer tool configured as described above, first, thetransfer belt 1 pulled out from the pull-out reel 20 is set in a state of being wound around the take-up reel (reel) 30 in a state of being in contact with thepressing surface 13a of thetransfer pressing portion 13 and the adhesive 3 wound around the surface of thetransfer belt 1 of the pull-out reel 20.
In this state, when the user holds thecasing 10 with his hand and presses theframe portion 41 of theslide member 40 against the elastic force of thespring portion 43 against thetransfer target surface 4, thetransfer pressing portion 13 pressing the back surface of thetransfer belt 1 is relatively projected to the outside of theslide member 40 while theslide member 40 moves to the inside of thecasing 10, and the adhesive 3 (coating film) present corresponding to thepressing surface 13a of thetransfer pressing portion 13 is transferred to thetransfer target surface 4.
When theslide member 40 moves to the inside of thehousing 10, if therack gear 44 meshing with the windinggear 33 coaxial with the windingreel 30 moves to the bottom side of thehousing 10 and rotates the windingreel 30 in the winding direction (clockwise in fig. 4 a) together with the windinggear 33, the take-out reel 20 rotates in the take-out direction of the transfer belt 1 (counterclockwise in fig. 4 a) to take out thetransfer belt 1, and the transfer belt 1 (base material 2) used in the previous transfer (printing) is wound up, and thetransfer belt 1 having the adhesive 3 (coating film) moves to thepressing surface 13a of thetransfer pressing portion 13.
When the transfer tool is lifted up after the transfer of the adhesive 3 (coating film), theslide member 40 moves to the outside of thehousing 10 by the elastic force of thespring portion 43 to prepare for the next transfer (printing).
According to the coating film transfer tool of the embodiment configured as described above, thetransfer belt 1 drawn out from the take-out reel 20 is wound around the take-up reel (reel) 30 in a state in which thetransfer belt 1 is in contact with the adhesive 3 on the surface of thetransfer belt 1, and thereby the amount of thetransfer belt 1 drawn out from the take-out reel 20 rotated by friction caused by contact between the adhesive 3 (coating film) wound around the surface of thetransfer belt 1 on the take-out reel 20 and the used transfer belt, i.e., thebase material 2, can be controlled. Further, thetransfer belt 1 is not drawn out from the take-out reel 20 unless it is wound around the take-up reel (spool) 30, and therefore, thetransfer belt 1 can be prevented from being loosened.
Further, since theframe portion 41, the slidingportion 42, thespring portion 43, and therack gear 44 are integrally formed in the slidingmember 40, the number of components can be reduced, the size can be reduced, and the degree of freedom in design can be improved.
Further, since the windinggear 33 is provided on the circumferential surface of the axial end portion of therotating shaft 31 of the winding reel (spool) 30 and therack gear 44 is provided on the side surface of the plate-like projectingpiece 42g that is provided at the tip end of the slidingportion 42 so as to linearly extend and be elastically deformable, the engagement between the windinggear 33 and therack gear 44 can be ensured, and the space occupied by the windinggear 33 and therack gear 44 can be reduced.
Further, since the transfer position of the coating film can be confirmed through the window holes 42a for confirming the position provided on the frame side in theframe 41 formed in the cross shape and theslide portion 42 linearly connected to one side of theframe 41, the transfer (printing) of the coating film can be easily performed, and the transfer position can be accurately made.
Even if thetransfer belt 1 wound around the take-out reel 20 is slightly misaligned, the transfer belt can be corrected by the pair ofguide pieces 13d and 13e, and the used transfer belt (base material 2) can be wound around the take-up reel (spool) 30 without being displaced in the width direction, so that the coating film can be further easily transferred (printed).
Further, when theslide member 40 moves to the outside of thecase 10 by the elastic force of thespring portion 43, the take-up reel (spool) 30 is prevented from rotating in the reverse direction and thewound transfer belt 1 is prevented from being loosened. In this case, the reverse rotation prevention mechanism includes: aplanar tooth portion 18 provided on a circle concentric with the center of the 2 nd take-upreel support shaft 15b in theupper case half 11; and a plurality ofratchet pawls 34 that are provided at the tip end of therotating shaft 31 of the take-up reel (spool) 30 so as to project in an arc shape in the circumferential direction of the rotating shaft and are elastically deformable, and theplanar tooth portion 18 and theratchet pawls 34 are formed so as to be engageable when the take-up reel (spool) 30 is rotated in the direction opposite to the take-up direction, whereby the reverse rotation preventing mechanism can be easily assembled.
Further, even when thecover 50 is slightly deflected when thecover 50 is fitted to thecase 10, thecover 50 can be easily fitted, and the safety of theframe portion 41 protruding from thecase 10 can be protected by thecover 50.
< other embodiments >
In the above embodiment, the case where the coat film transfer tool of the present invention is applied to the adhesive transfer tool is described, but the following coat film transfer tools can be applied: the coating film transfer tool uses a transfer belt carrying a correction coating agent instead of an adhesive.
In the above embodiment, the case where the case 10 (upper case half 11, lower case half 12) and thelid 50 are not designed has been described, but different designs may be applied to the side surfaces of thelid 50 as shown in fig. 17(a) to 17 (c).

Claims (9)

CN201680083832.1A2016-03-232016-03-23Printing type coating film transfer toolActiveCN108778772B (en)

Applications Claiming Priority (1)

Application NumberPriority DateFiling DateTitle
PCT/JP2016/001662WO2017163274A1 (en)2016-03-232016-03-23Stamp type coating-film transfer tool

Publications (2)

Publication NumberPublication Date
CN108778772A CN108778772A (en)2018-11-09
CN108778772Btrue CN108778772B (en)2020-10-23

Family

ID=59901266

Family Applications (1)

Application NumberTitlePriority DateFiling Date
CN201680083832.1AActiveCN108778772B (en)2016-03-232016-03-23Printing type coating film transfer tool

Country Status (6)

CountryLink
JP (1)JP6494152B2 (en)
CN (1)CN108778772B (en)
MY (1)MY191777A (en)
PH (1)PH12018502023A1 (en)
TW (1)TWI703056B (en)
WO (1)WO2017163274A1 (en)

Families Citing this family (3)

* Cited by examiner, † Cited by third party
Publication numberPriority datePublication dateAssigneeTitle
CN109968877B (en)*2019-04-302024-06-25泉州市一扬文化用品有限公司Fixed-distance type coating belt body pressing transfer printing device
CN113173025B (en)*2021-06-112025-04-22泉州市一扬文化用品有限公司 An improved winding stationery
CN117228410A (en)*2023-09-192023-12-15得力集团有限公司Double faced adhesive tape goes out gluey ware

Family Cites Families (19)

* Cited by examiner, † Cited by third party
Publication numberPriority datePublication dateAssigneeTitle
DE3736367C1 (en)*1987-10-271989-02-23Pelikan Ag Handheld device for transferring a film from a carrier film to a substrate
DE3910331A1 (en)*1989-03-301990-10-04Infus Hospitalbedarf Gmbh & Co ELECTROMAGNETICALLY CONTROLLABLE DIAPHRAGM PUMP AND THEIR USE
JPH0750233Y2 (en)*1989-07-311995-11-15ぺんてる株式会社 Cap mounting structure
JP3031588B2 (en)1992-05-192000-04-10株式会社日立ホームテック Oxygen deficiency safety device for combustor
JPH0655895A (en)*1992-08-111994-03-01Tombow Pencil Co LtdErasing device
JP2892973B2 (en)*1995-06-221999-05-17株式会社パイロット Writing or applicator cap
US5897266A (en)*1996-11-271999-04-27The Gillette CompanyVent system for writing instrument
JP2000025392A (en)*1998-07-082000-01-25Seed Rubber Kogyo KkTape cartridge for coating film transfer implement and coating film transfer implement
JP3503052B2 (en)*1998-09-252004-03-02株式会社トンボ鉛筆 Transfer head in coating film transfer tool
JP2000238957A (en)*1999-02-222000-09-05Tombow Pencil Co LtdTransfer tape applicator
JP2002127681A (en)*2000-10-272002-05-08Mitsubishi Pencil Co LtdTransferer of correcting tape, self-adhesive tape or the like
JP2002264588A (en)*2001-03-142002-09-18Tombow Pencil Co LtdCoating film transfer tool
JP4178196B2 (en)*2003-03-202008-11-12フジコピアン株式会社 Film transfer tool
JP4568796B2 (en)*2004-11-012010-10-27フジコピアン株式会社 Film transfer tool
JP2008162052A (en)*2006-12-272008-07-17Kokuyo Co LtdTransferer
JP5116098B2 (en)*2008-03-312013-01-09ニチバン株式会社 Adhesive transfer tool
JP5011558B2 (en)*2008-10-022012-08-29コクヨ株式会社 Transfer tool
CN201362077Y (en)*2009-01-092009-12-16孔令宏Learning pen
JP2014014970A (en)*2012-07-092014-01-30Nichiban Co LtdTape dispenser

Also Published As

Publication numberPublication date
JP6494152B2 (en)2019-04-03
WO2017163274A1 (en)2017-09-28
TW201739633A (en)2017-11-16
MY191777A (en)2022-07-14
HK1257780A1 (en)2019-10-25
CN108778772A (en)2018-11-09
JPWO2017163274A1 (en)2018-09-20
PH12018502023A1 (en)2019-03-04
TWI703056B (en)2020-09-01

Similar Documents

PublicationPublication DateTitle
US7793883B2 (en)Transfer tool
US7357167B2 (en)Transfer device
US8360128B2 (en)Transfer tool
CN108778772B (en)Printing type coating film transfer tool
US7438489B2 (en)Coating film transfer tool
CA2683319C (en)Transfer tool
JP4411970B2 (en) Transfer tool
JP7073846B2 (en) Printing cartridges, tape guides and printing equipment
EP1905716A2 (en)Coating film transfer tool
JP4228915B2 (en) Slide member locking structure and transfer tool
TW201941978A (en)Ribbon cartridge
HK1257780B (en)Stamp type coating-film transfer tool
JP2004216837A (en) Paint transfer tool
CN115087526B (en)Belt cutter
JP5126823B2 (en) Film transfer tool
JP2005178153A (en) Writing instrument integrated film transfer tool
WO2018037578A1 (en)Coating-film transfer tool
WO2016132605A1 (en)Transfer tool
JP6981217B2 (en) Transfer tool
JPH03230984A (en) ink cassette case
JP5078646B2 (en) Film transfer tool
CA2551983A1 (en)Accessory for a writing utensil
JP5109896B2 (en) Rotation mark with fixed mark
JP2007168450A (en) Intrusion type film transfer tool
JP2006289635A (en) Film transfer tool

Legal Events

DateCodeTitleDescription
PB01Publication
PB01Publication
SE01Entry into force of request for substantive examination
SE01Entry into force of request for substantive examination
REGReference to a national code

Ref country code:HK

Ref legal event code:DE

Ref document number:1257780

Country of ref document:HK

GR01Patent grant
GR01Patent grant

[8]ページ先頭

©2009-2025 Movatter.jp