Movatterモバイル変換


[0]ホーム

URL:


CN108653844B - Portable uremia patient hemodialysis machine - Google Patents

Portable uremia patient hemodialysis machine
Download PDF

Info

Publication number
CN108653844B
CN108653844BCN201810468941.6ACN201810468941ACN108653844BCN 108653844 BCN108653844 BCN 108653844BCN 201810468941 ACN201810468941 ACN 201810468941ACN 108653844 BCN108653844 BCN 108653844B
Authority
CN
China
Prior art keywords
blood vessel
replacement
blood
liquid
controller
Prior art date
Legal status (The legal status is an assumption and is not a legal conclusion. Google has not performed a legal analysis and makes no representation as to the accuracy of the status listed.)
Active
Application number
CN201810468941.6A
Other languages
Chinese (zh)
Other versions
CN108653844A (en
Inventor
李萌生
任晓珊
杨彬
张成银
Current Assignee (The listed assignees may be inaccurate. Google has not performed a legal analysis and makes no representation or warranty as to the accuracy of the list.)
Li Mengsheng
Original Assignee
Individual
Priority date (The priority date is an assumption and is not a legal conclusion. Google has not performed a legal analysis and makes no representation as to the accuracy of the date listed.)
Filing date
Publication date
Application filed by IndividualfiledCriticalIndividual
Priority to CN201810468941.6ApriorityCriticalpatent/CN108653844B/en
Publication of CN108653844ApublicationCriticalpatent/CN108653844A/en
Application grantedgrantedCritical
Publication of CN108653844BpublicationCriticalpatent/CN108653844B/en
Activelegal-statusCriticalCurrent
Anticipated expirationlegal-statusCritical

Links

Images

Classifications

Landscapes

Abstract

Translated fromChinese

本发明公开了一种便携式尿毒症患者血透机,属于医疗机械技术领域,包括箱体、和透析机,所述箱体的前板和右板通过铰链与箱体底部连接,箱体两侧设有绑带,医生可以通过绑带背着本装置去外出治疗,所述透析机内设有三组透析交换装置、电子血压仪、心率仪,所述透析交换装置内部设有三组置换箱,增大置换液和血液的置换面积,所述电子血压仪和电子心率仪分别监测患者血压和心率,在治疗中如出现异常可随时终止治疗,本发明结构紧凑,外形较常规透析机体型小,具有便携优势和电子智能监测装置,通过监测数据调整置换装置内的液体流速。

Figure 201810468941

The invention discloses a portable hemodialysis machine for patients with uremia, belonging to the technical field of medical machinery, comprising a box body and a dialysis machine. With straps, doctors can carry the device to go out for treatment through straps. The dialysis machine is equipped with three sets of dialysis exchange devices, an electronic blood pressure monitor, and a heart rate monitor. There are three sets of replacement boxes inside the dialysis exchange device. Large replacement area for replacement fluid and blood, the electronic blood pressure monitor and the electronic heart rate monitor monitor the blood pressure and heart rate of the patient respectively, and the treatment can be terminated at any time if an abnormality occurs during the treatment. Portable advantage and electronic intelligent monitoring device, adjust the liquid flow rate in the replacement device through monitoring data.

Figure 201810468941

Description

Portable uremia patient hemodialysis machine
Technical Field
The invention relates to the technical field of medical instruments, in particular to a portable hemodialysis machine for uremia patients.
Background
Hemodialysis (Hemodialysis), called Hemodialysis for short, is also called artificial kidney and kidney washing in popular terms, and is one of the blood purification technologies. The semi-permeable membrane is used for achieving the purpose of purifying blood by diffusing and removing various harmful and redundant metabolic wastes and excessive electrolytes in human bodies out of the body, and achieving the purpose of correcting water electrolyte and acid-base balance by absorbing, wherein the clinical meaning is that some wastes in the blood are removed through the semi-permeable membrane. Hemodialysis is one of the safer, easy-to-use and widely-applied blood purification methods. Dialysis refers to the movement of solutes from a highly concentrated solution to a less concentrated solution through a semi-permeable membrane. Hemodialysis involves the movement of solutes and the movement of water, i.e., the exchange of substances between blood and dialysate in a dialyzer (artificial kidney) by means of semipermeable membrane contact and concentration gradients, causing metabolic wastes and excess electrolytes in the blood to move towards the dialysate, and calcium ions, bases, etc. in the dialysate to move towards the blood. If the mixed liquid of albumin and urea is put into a dialyzer and the outside of the dialyzer is soaked by water, the urea in the dialyzer tube can move to the water outside the dialyzer tube through the artificial kidney membrane pores, and albumin molecules are large and cannot pass through the membrane pores. The phenomenon of substance movement in which small molecular substances can pass through but large molecular substances cannot pass through a semipermeable membrane is called diffusion. The basic principle of hemodialysis is the method of clinically separating and purifying blood by diffusion phenomenon to achieve the purpose of purification.
At present, the existing hemodialysis machine has a large appearance, so that doctors are not easy to carry to treat the hemodialysis machine, the hemodialysis machine in a hospital is too complicated and is not easy to clean, and the flow rate of blood during hemodialysis cannot be adjusted according to the real-time blood pressure of patients.
Disclosure of Invention
In order to solve the problems, a portable uremia patient hemodialysis machine is further provided.
The technical scheme of the invention is as follows: a portable hemodialysis machine for uremia patients comprises a box body and a hemodialysis machine;
the box body is of a cubic structure and comprises a first movable plate, a second movable plate, a box cover and a display, wherein the first movable plate is connected to the front side of the bottom of the box body through a hinge, the second movable plate is hinged to the right side of the bottom of the box body, the box cover is hinged to the upper end of the rear side face of the box body, and the display is arranged on the inner side of the box cover;
the hemodialysis machine is fixedly connected inside the box body, the hemodialysis machine comprises a rear part and a front part, the rear part comprises a dialysis exchange device, a first blood vessel, a second blood vessel, a first liquid tube, a second liquid tube, a blood pump and an exhaust device, the dialysis exchange device is fixed at the middle position of the rear part, and three groups of replacement boxes are arranged inside the dialysis exchange device, three groups of replacement boxes are sequentially arranged from left to right, a plurality of biological membranes are arranged on the longitudinal central axis inside the replacement boxes, the top of each replacement box is provided with an exhaust hole, the first blood vessel enters from the upper end of the right side of the rear part and is respectively connected to the tops of the right sides of the three replacement boxes, the second blood vessel enters from the lower end of the right side of the rear part and is respectively connected to the bottoms of the right sides of the three replacement boxes, the blood pump is arranged on the second blood vessel, the exhaust device is arranged on the, the second liquid pipe enters from the left lower end of the rear part and is respectively connected to the left upper ends of the three replacement boxes, the front part comprises a water tank, a hydrothermal device, a concentrated liquid tank, a waste liquid outlet, an electronic sphygmomanometer, a cardiotachometer, a controller and a tool box, the water tank is fixed at the left upper end of the front part, the concentrated liquid tank is arranged at the right side of the water tank, the hydrothermal device is arranged below the water tank and the concentrated liquid tank and is respectively communicated with the water tank and the concentrated liquid tank through hoses, the bottom of the hydrothermal device is communicated with the first liquid pipe through a hose, the waste liquid outlet is arranged below the front side of the front part and is communicated with the second liquid pipe, the electronic sphygmomanometer is arranged at the right bottom of the front part, the front surface of the electronic sphygmomanometer is provided with a first interface, the cardiotachometer is arranged at the right side of the electronic sphygmomanometer, the front surface of the cardiotachometer is provided with a, the front surface of controller is equipped with power source, the toolbox is established in the top of controller, controller respectively with blood pump, electronic blood pressure appearance, cardiotachometer electric connection.
Furthermore, a liquid pump is arranged between the hydrothermal device and the first liquid pipe, the liquid pump is electrically connected with the controller, the controller is electrically connected with the display, and the size of the pumping force of the liquid pump can be adjusted on the display.
Further, a temperature sensor is arranged outside the hydrothermal device, the temperature sensor is electrically connected with the controller, and the temperature of the replacement liquid is controlled to be 37 ℃ through the temperature sensor.
Furthermore, the top of the exhaust device is provided with an exhaust hole, the exhaust hole is provided with a miniature electronic valve, and the miniature electronic valve is electrically connected with the controller and is switched on and off through the display.
Further, the entry end of blood vessel one is equipped with the medical kit, the medical kit communicates with each other through hose and blood vessel one, is equipped with dropping liquid speed governor between medical kit and blood vessel one, dropping liquid speed governor and controller electric connection, and adjust through the display.
Furthermore, the display is a touch screen display and is electrically connected with the controller, and the touch screen display saves the trouble of control buttons.
Further, the hydrothermal device is a cylindrical shell and is made of metal, a coil is wound outside the hydrothermal device and is connected with the controller, and internal liquid is heated through eddy current effect.
Furthermore, the replacement box is made of organic glass, miniature electronic valves are arranged at the joints of the first blood vessel, the second blood vessel, the first liquid pipe and the second liquid pipe, and liquid in the replacement box is controlled to flow through the miniature electronic valves.
Furthermore, the outside of the left side of box and the outside of fly leaf two are connected with the bandage, the surface of case lid is equipped with the handle, and the top of case lid and the junction of fly leaf one and fly leaf two are equipped with the hasp, conveniently carry and use.
The working method of the invention comprises the following steps:
s1: opening the first movable plate and the second movable plate, inserting a power line into a power interface, preparing anticoagulant and injecting the anticoagulant into the medicine box, then communicating the blood vessel of the patient with the first blood vessel by using a hose, and connecting an electronic blood pressure meter and a heart rate meter to detect the blood pressure and the heart rate of the patient;
s2, opening a medicine box switch when blood flows through the medicine box through the blood vessel I, simultaneously introducing the blood and the replacement liquid into the replacement box, closing an exhaust hole after exhausting the air in the replacement box, then opening an electronic valve at the joint of the bottom of the replacement box and the blood vessel II, exhausting the air in the blood vessel II by the replaced blood, and then accessing the blood vessel II into the body of the patient;
and S3, monitoring the display in real time, adjusting the flow rate of the blood and the replacement liquid through the display, and after the replacement of the blood is finished, taking down the contact of the electronic blood pressure meter and the contact of the heart rate meter on the patient after the blood completely flows back into the patient.
The invention has the beneficial effects that:
compared with the prior art, the three replacement boxes can select the number of the opened replacement boxes according to the physique of a patient, the flow rates of replacement fluid and blood are further controlled, the plurality of replacement boxes are arranged, the disposable exchange amount of the blood is reduced, the replacement area is increased, the replacement efficiency and the treatment effect are improved, the three-phase blood pressure and heart rate monitoring device is further provided with various monitoring devices, the blood pressure and heart rate of the patient are monitored in real time, real-time regulation and control can be carried out according to the specific physical condition of the patient through the monitored data, and the discomfort of the patient caused by the over-high blood flow rate or the over-high blood volume is avoided.
Drawings
FIG. 1 is a perspective view of the present invention;
FIG. 2 is a block diagram of the housing of the present invention;
FIG. 3 is a block diagram of the rear portion of the present invention;
FIG. 4 is a block diagram of the front of the present invention;
fig. 5 is a control block diagram of the present invention.
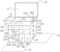
Wherein, 1-box body, 2-hemodialysis machine, 11-front plate, 12-right plate, 13-bandage, 14-box cover, 15-lock catch, 16-handle, 17-display, 21-back part, 22-front part, 211-dialysis exchange device, 212-blood vessel one, 213-blood vessel two, 214-liquid tube one, 215-liquid tube two, 216-blood pump, 217-exhaust device, 2111-exchange box, 2112-biomembrane, 2113-exhaust hole, 221-water tank, 222-hydrothermal device, 223-concentrated liquid tank, 224-waste liquid outlet, 225-electronic blood pressure instrument, 226-heart rate instrument, 227-controller, 228-tool box, 2251-interface one, 2252-interface two, 2261-power interface, 2141-liquid pump, 2221-temperature sensor, 2222-coil, 2171-micro electronic valve, 2161-medicine box, 2121-liquid speed regulator.
The specific implementation mode is as follows:
for the convenience of understanding the technical solution of the present invention, the following is further explained with reference to fig. 1 to 4, and the embodiments do not limit the scope of the present invention.
A portable uremia patient hemodialysis machine comprises a box body 1 and ahemodialysis machine 2;
as shown in the attached drawing 1, the box body 1 is of a cubic structure and comprises a firstmovable plate 11, a secondmovable plate 12, abox cover 14 and adisplay 17, wherein the firstmovable plate 11 is connected to the front side of the bottom of the box body 1 through a hinge, the secondmovable plate 12 is hinged to the right side of the bottom of the box body 1, thebox cover 14 is hinged to the upper end of the rear side face of the box body 1, as shown in the attacheddrawing 2, abinding band 13 is connected to the outer side of the left side of the box body 1 and the outer side of the secondmovable plate 12, alifting handle 16 is arranged on the outer surface of thebox cover 14, alock catch 15 is arranged at the joint of the top of thebox cover 14 and the firstmovable plate 11 and the secondmovable plate 12, the carrying and the use are convenient, thedisplay 17 is arranged;
thehemodialysis machine 2 is fixedly connected inside the box body 1, thehemodialysis machine 2 comprises arear part 21 and afront part 22, as shown in figure 3, therear part 21 comprises adialysis exchange device 211, afirst blood vessel 212, asecond blood vessel 213, a firstliquid tube 214, a secondliquid tube 215, ablood pump 216 and anexhaust device 217, thedialysis exchange device 211 is fixed at the middle position of therear part 21, three groups ofreplacement boxes 2111 are arranged inside, the three groups ofreplacement boxes 2111 are sequentially arranged from left to right, a plurality ofbiological membranes 2112 are arranged on the longitudinal central axis inside thereplacement boxes 2111,exhaust holes 2113 are arranged on the top of thereplacement boxes 2111, thefirst blood vessel 212 enters from the upper right end of therear part 21 and is respectively connected to the top right sides of the threereplacement boxes 2111, amedicine box 2161 is arranged at the inlet end of thefirst blood vessel 212, themedicine box 2161 is communicated with thefirst blood vessel 212 through a hose, a droppingspeed regulator 2121 is arranged between themedicine box 2161, and through the adjustment of thedisplay 17, thesecond blood vessel 213 enters from the lower right end of theback portion 21 and is respectively connected to the bottom right sides of the threereplacement boxes 2111, theblood pump 216 is arranged on thesecond blood vessel 213, theexhaust device 217 is arranged on the right side of theblood pump 216 and is communicated with thesecond blood vessel 213, the top of theexhaust device 217 is provided with anexhaust hole 2113, theexhaust hole 2113 is provided with a microelectronic valve 2171, the microelectronic valve 2171 is electrically connected with thecontroller 227, and through the adjustment of the switch by thedisplay 17, the firstliquid pipe 214 enters from the lower left end of theback portion 21 and is respectively connected to the lower left end of the threereplacement boxes 2111, the secondliquid pipe 215 enters from the lower left end of theback portion 21 and is respectively connected to the upper left end of the threereplacement boxes 2111, as shown in fig. 4, thefront portion 22 comprises awater tank 221, ahot liquid device 222, a concentratedliquid tank 223, a wasteliquid outlet 224, an electronic blood pressure instrument, theconcentrate tank 223 is arranged at the right side of thewater tank 221, thehydrothermal device 222 is arranged below thewater tank 221 and theconcentrate tank 223 and is respectively communicated with thewater tank 221 and theconcentrate tank 223 through a hose, thehydrothermal device 222 is a cylindrical shell and is made of metal materials, acoil 2222 is wound on the outer portion of thehydrothermal device 222, thecoil 2222 is connected with thecontroller 227 and heats the liquid inside through a vortex effect, atemperature sensor 2221 is arranged on the outer portion of thehydrothermal device 222, thetemperature sensor 2221 is electrically connected with thecontroller 227, the temperature of the replacement liquid is controlled to be 37 ℃ through thetemperature sensor 2221, the bottom of thehydrothermal device 222 is communicated with the firstliquid pipe 214 through a hose, aliquid pump 2141 is arranged between thehydrothermal device 222 and the firstliquid pipe 214, theliquid pump 2141 is electrically connected with thecontroller 227, thecontroller 227 is electrically connected with thedisplay 17, the pumping force of theliquid pump 2141 can be adjusted on thedisplay 17, awaste liquid outlet 224 is arranged below the front side of thefront portion 22 and, the electronicblood pressure instrument 225 is arranged at the bottom of the right side of thefront portion 22, thefirst interface 2251 is arranged on the front surface of the electronicblood pressure instrument 225, theheart rate instrument 226 is arranged on the right side of the electronicblood pressure instrument 225, thesecond interface 2252 is arranged on the front surface of theheart rate instrument 226, thecontroller 227 is arranged above the electronicblood pressure instrument 225 and theheart rate instrument 226, thepower supply interface 2261 is arranged on the front surface of thecontroller 227, thetool box 228 is arranged above thecontroller 227, and thecontroller 227 is electrically connected with theblood pump 216, the electronicblood pressure instrument 225 and theheart rate instrument 226 respectively.
The working method of the embodiment comprises the following steps:
s1: opening the firstmovable plate 11 and the secondmovable plate 12, inserting a power line into thepower interface 2261, preparing anticoagulant and injecting the anticoagulant into themedicine box 2161, then communicating the blood vessel of the patient with thefirst blood vessel 212 by using a hose, and connecting the electronicblood pressure monitor 225 and theheart rate monitor 226 to detect the blood pressure and the heart rate of the patient;
s2, when blood flows through themedicine box 2161 through thefirst blood vessel 212, opening the switch of themedicine box 2161, simultaneously introducing the blood and the replacement liquid into thereplacement box 2111, closing theexhaust hole 2113 after exhausting the air in the blood, then opening theelectronic valve 2171 at the connection part of the bottom of thereplacement box 2111 and thesecond blood vessel 213, and then exhausting the air in thesecond blood vessel 213 by the replaced blood and then accessing the blood into the body of the patient;
and S3, monitoring thedisplay 17 in real time, adjusting the flow rate of the blood and the replacement liquid through thedisplay 17, and after the replacement of the blood is finished and the blood completely flows back to the patient, removing the contact of the electronicblood pressure instrument 225 and the contact of theheart rate instrument 226 from the patient.
And (3) verifying the effect:
1. selecting an object: selecting 180 uremia patients with the age of 20-50 years, keeping the primary doctors of all the patients unchanged, and dividing the patients treated by the device into three groups according to the mild degree, the moderate degree and the severe degree, wherein each group contains 30 patients; patients treated with conventional hemodialysis were divided into control mild, control moderate, and control severe, 30 persons each.
2. The test method comprises the following steps: in a certain provincial Hospital, the experiment frequency is according to the former hemodialysis frequency of each patient, each physical index of the patient is monitored routinely during each experiment, and the experiment duration is 30 days.
3. The therapeutic effect judgment standard is as follows:
the effect is shown: the relative clearance rate of blood toxin reaches more than 90 percent;
the method has the following advantages: the relative clearance rate of blood toxin reaches 50-90%;
and (4) invalidation: the relative clearance rate of blood toxin reaches below 50 percent;
relative clearance: relative to normal blood toxin standards;
the total effective rate is as follows: the number of the significant persons accounts for the total number of each group.
Group ofDisplay effect (human)Effective (human)Invalid (human)Total effective rate (%)
Mild degree of291097%
Of moderate degree282093%
Severe degree253283%
Control Mild282093%
Control moderate264087%
Control of Severe severity234377%
According to experimental statistics, the total effective rate of the traditional Chinese medicine composition for treating mild and moderate uremia patients can reach more than 90%, the treatment effect is better than that of contrast mild and contrast moderate patients, the total effective rate of the traditional Chinese medicine composition for severe patients is reduced to a certain extent compared with that of mild and moderate patients, but the traditional Chinese medicine composition for treating mild and moderate uremia patients is better than that of contrast severe patients, and therefore the traditional Chinese medicine composition for treating severe uremia is better than that of conventional hemodialysis in treatment effect.
The foregoing is directed to preferred embodiments of the present invention, other and further embodiments of the invention may be devised without departing from the basic scope thereof, and the scope thereof is determined by the claims that follow. However, any simple modification, equivalent change and modification of the above embodiments according to the technical essence of the present invention are within the protection scope of the technical solution of the present invention.

Claims (1)

1. A portable uremia patient hemodialysis machine is characterized by comprising a box body (1) and a hemodialysis machine (2);
the box body (1) is of a cubic structure and comprises a first movable plate (11), a second movable plate (12), a box cover (14) and a display (17), wherein the first movable plate (11) is connected to the front side of the bottom of the box body (1) through a hinge, the second movable plate (12) is hinged to the right side of the bottom of the box body (1), the box cover (14) is hinged to the upper end of the rear side face of the box body (1), and the display (17) is arranged on the inner side of the box cover (14);
the hemodialysis machine (2) is fixedly connected inside the box body (1), the hemodialysis machine (2) comprises a rear portion (21) and a front portion (22), the rear portion (21) comprises a dialysis exchange device (211), a first blood vessel (212), a second blood vessel (213), a first liquid pipe (214), a second liquid pipe (215), a blood pump (216) and an exhaust device (217), the dialysis exchange device (211) is fixed in the middle of the rear portion (21), three groups of replacement boxes (2111) are arranged inside the dialysis exchange device, the three groups of replacement boxes (2111) are sequentially arranged from left to right, a plurality of biological membranes (2112) are arranged on a longitudinal central axis inside the replacement boxes (2111), exhaust holes (2113) are formed in the top of the replacement boxes (2111), the first blood vessel (212) enters from the upper end of the right side of the rear portion (21) and is respectively connected to the top of the right sides of the three replacement boxes (2111), and the second blood vessel (213) enters from the lower end, is respectively connected to the bottom of the right side of the three replacement boxes (2111), the blood pump (216) is arranged on a second blood vessel (213), the exhaust device (217) is arranged on the right side of the blood pump (216) and is communicated with the second blood vessel (213), the first liquid pipe (214) enters from the lower left end of the rear part (21) and is respectively connected to the lower left ends of the three replacement boxes (2111), the second liquid pipe (215) enters from the lower left end of the rear part (21) and is respectively connected to the upper left ends of the three replacement boxes (2111), the front part (22) comprises a water tank (221), a hot liquid device (222), a concentrated liquid tank (223), a waste liquid outlet (224), an electronic blood pressure instrument (225), a heart rate instrument (226), a controller (227) and a tool box (228), the water tank (221) is fixed at the upper left end of the front part (22), and the concentrated liquid tank (223) is arranged on the right side of the water tank (, the hydrothermal device (222) is arranged below the water tank (221) and the concentrated liquid tank (223) and is respectively communicated with the water tank (221) and the concentrated liquid tank (223) through hoses, the bottom of the hydrothermal device (222) is communicated with the first liquid pipe (214) through a hose, the waste liquid outlet (224) is arranged below the front side of the front portion (22) and is communicated with the second liquid pipe (215), the electronic sphygmomanometer (225) is arranged at the bottom of the right side of the front portion (22), the front surface of the electronic sphygmomanometer (225) is provided with a first interface (2251), the heart rate instrument (226) is arranged on the right side of the electronic sphygmomanometer (225), the front surface of the heart rate instrument (226) is provided with a second interface (2252), the controller (227) is arranged above the electronic sphygmomanometer (225) and the heart rate instrument (226), the front surface of the controller (227) is provided with a power supply interface (2261), and the tool box (228) is arranged above the controller (227), the controller (227) is respectively and electrically connected with the blood pump (216), the electronic blood pressure instrument (225) and the heart rate instrument (226);
a liquid pump (2141) is arranged between the hydrothermal device (222) and the first liquid pipe (214), and the liquid pump (2141) is electrically connected with the controller (227);
a temperature sensor (2221) is arranged outside the hydrothermal device (222), and the temperature sensor (2221) is electrically connected with the controller (227);
an exhaust hole (2113) is formed in the top of the exhaust device (217), and a micro electronic valve (2171) is arranged on the exhaust hole (2113);
a medicine box (2161) is arranged at the inlet end of the first blood vessel (212), the medicine box (2161) is communicated with the first blood vessel (212) through a hose, and a dropping speed regulator (2121) is arranged between the medicine box (2161) and the first blood vessel (212);
the display (17) is a touch screen display and is electrically connected with the controller (227);
the hydrothermal device (222) is a cylindrical shell and made of metal, a coil (2222) is wound outside the hydrothermal device, and the coil (2222) is connected with the controller (227);
the replacement box (2111) is made of organic glass, and the joints of the replacement box and the first blood vessel (212), the second blood vessel (213), the first liquid pipe (214) and the second liquid pipe (215) are provided with miniature electronic valves (2171);
the hydrothermal device (222) is a cylindrical shell and is made of metal, a coil (2222) is wound outside the hydrothermal device, and the liquid is heated by adopting an eddy current heating principle.
CN201810468941.6A2018-05-162018-05-16Portable uremia patient hemodialysis machineActiveCN108653844B (en)

Priority Applications (1)

Application NumberPriority DateFiling DateTitle
CN201810468941.6ACN108653844B (en)2018-05-162018-05-16Portable uremia patient hemodialysis machine

Applications Claiming Priority (1)

Application NumberPriority DateFiling DateTitle
CN201810468941.6ACN108653844B (en)2018-05-162018-05-16Portable uremia patient hemodialysis machine

Publications (2)

Publication NumberPublication Date
CN108653844A CN108653844A (en)2018-10-16
CN108653844Btrue CN108653844B (en)2021-01-01

Family

ID=63779828

Family Applications (1)

Application NumberTitlePriority DateFiling Date
CN201810468941.6AActiveCN108653844B (en)2018-05-162018-05-16Portable uremia patient hemodialysis machine

Country Status (1)

CountryLink
CN (1)CN108653844B (en)

Families Citing this family (1)

* Cited by examiner, † Cited by third party
Publication numberPriority datePublication dateAssigneeTitle
KR20220004022A (en)*2019-05-062022-01-11알콘 인코포레이티드 Ophthalmic Fluid System with Eddy Current Pressure Sensor

Citations (5)

* Cited by examiner, † Cited by third party
Publication numberPriority datePublication dateAssigneeTitle
CN1190598A (en)*1997-09-301998-08-19彭罗民Apparatus for supporting life
CN2905076Y (en)*2006-04-192007-05-30重庆山外山科技有限公司Hemodiafiltration machine
CN105688301A (en)*2016-03-082016-06-22刘瑞清Blood leakage monitoring system for blood purification
CN205569410U (en)*2016-02-242016-09-14王颖Full-automatic hemodialysis device
US20170021088A1 (en)*2007-09-132017-01-26Fresenius Medical Care Holdings, Inc.Manifold Diaphragms

Patent Citations (5)

* Cited by examiner, † Cited by third party
Publication numberPriority datePublication dateAssigneeTitle
CN1190598A (en)*1997-09-301998-08-19彭罗民Apparatus for supporting life
CN2905076Y (en)*2006-04-192007-05-30重庆山外山科技有限公司Hemodiafiltration machine
US20170021088A1 (en)*2007-09-132017-01-26Fresenius Medical Care Holdings, Inc.Manifold Diaphragms
CN205569410U (en)*2016-02-242016-09-14王颖Full-automatic hemodialysis device
CN105688301A (en)*2016-03-082016-06-22刘瑞清Blood leakage monitoring system for blood purification

Also Published As

Publication numberPublication date
CN108653844A (en)2018-10-16

Similar Documents

PublicationPublication DateTitle
CN102389594B (en)Portable blood purifying system
CN107469170A (en)A kind of wearable artificial kidney
CN102526822A (en)Blood dialyzing system and method for exchanging heat of waste liquid and reverse osmosis water
CN108653844B (en)Portable uremia patient hemodialysis machine
CN202207346U (en)Portable Blood Purification System
CN218685486U (en) A new type of hemodialysis system
CN206120834U (en)Wearable peritoneal dialysis portable equipment
CN205598315U (en)Manual formula blood purifies portable equipment by oneself
CN109701098A (en)A kind of portable hemodialysis treatment apparatus and method for hemodialysis treatment
CN220735884U (en)Dialysis pipeline and blood purification system
CN204246569U (en)Portable dialysis apparatus
CN103585684A (en)Separate-type extracorporeal circulation system
CN206391261U (en)A kind of blood purification medical treatment equipment
CN211410391U (en)Small-capacity plasma perfusion device for treating critical illness
CN105214158B (en)Apparatus for purifying blood and blood purification system
CN211835577U (en) An artificial liver treatment and protection device
CN208893289U (en)A kind of combined artificial kidney
CN220125214U (en)Extracorporeal circulation pipeline and blood purification system
CN221535109U (en)Hemodialysis filter
CN208552666U (en)A kind of plasma exchange dialysis adsorption system
CN201244388Y (en)Split type filtering shower apparatus
CN105983147A (en)Hemodialysis filter for nephrology department
CN221751689U (en) Extracorporeal blood circulation filtration device
CN205360107U (en)Blood purifying device and blood clean system
CN206979782U (en)A kind of Nephrology dept.'s haemodialysis equipment

Legal Events

DateCodeTitleDescription
PB01Publication
PB01Publication
SE01Entry into force of request for substantive examination
SE01Entry into force of request for substantive examination
CB03Change of inventor or designer information
CB03Change of inventor or designer information

Inventor after:Li Mengsheng

Inventor after:Ren Xiaoshan

Inventor after:Yang Bin

Inventor after:Zhang Chengyin

Inventor before:Zhang Chengyin

TA01Transfer of patent application right
TA01Transfer of patent application right

Effective date of registration:20201214

Address after:262100 Anqiu Health Road 259, Weifang City, Shandong Province

Applicant after:Li Mengsheng

Address before:South head of yunmenshan South Road, cultural industry park, Qingzhou City, Weifang City, Shandong Province

Applicant before:WEIFANG NURSING VOCATIONAL College

GR01Patent grant
GR01Patent grant
EE01Entry into force of recordation of patent licensing contract
EE01Entry into force of recordation of patent licensing contract

Application publication date:20181016

Assignee:Guangzhou Hongqi Biotechnology Co.,Ltd.

Assignor:Li Mengsheng

Contract record no.:X2024980017865

Denomination of invention:A portable hemodialysis machine for patients with uremia

Granted publication date:20210101

License type:Common License

Record date:20241012


[8]ページ先頭

©2009-2025 Movatter.jp