Movatterモバイル変換


[0]ホーム

URL:


CN108348237B - Staple cartridge assembly including staple cavities for providing better staple guidance - Google Patents

Staple cartridge assembly including staple cavities for providing better staple guidance
Download PDF

Info

Publication number
CN108348237B
CN108348237BCN201680062449.8ACN201680062449ACN108348237BCN 108348237 BCN108348237 BCN 108348237BCN 201680062449 ACN201680062449 ACN 201680062449ACN 108348237 BCN108348237 BCN 108348237B
Authority
CN
China
Prior art keywords
staple
staples
guide
proximal
distal
Prior art date
Legal status (The legal status is an assumption and is not a legal conclusion. Google has not performed a legal analysis and makes no representation as to the accuracy of the status listed.)
Active
Application number
CN201680062449.8A
Other languages
Chinese (zh)
Other versions
CN108348237A (en
Inventor
C·O·巴克斯特三世
F·E·谢尔顿四世
K·D·巴拉德
J·S·斯韦兹
J·L·哈里斯
Current Assignee (The listed assignees may be inaccurate. Google has not performed a legal analysis and makes no representation or warranty as to the accuracy of the list.)
Ethicon LLC
Original Assignee
Ethicon LLC
Priority date (The priority date is an assumption and is not a legal conclusion. Google has not performed a legal analysis and makes no representation as to the accuracy of the date listed.)
Filing date
Publication date
Priority claimed from US14/836,077external-prioritypatent/US10517599B2/en
Application filed by Ethicon LLCfiledCriticalEthicon LLC
Publication of CN108348237ApublicationCriticalpatent/CN108348237A/en
Application grantedgrantedCritical
Publication of CN108348237BpublicationCriticalpatent/CN108348237B/en
Activelegal-statusCriticalCurrent
Anticipated expirationlegal-statusCritical

Links

Images

Classifications

Landscapes

Abstract

The invention discloses a nail bin. The staple cartridge comprises a cartridge body comprising staple cavities and staples removably stored in the staple cavities. The staple cartridge further comprises a firing member configured to eject the staples from the staple cavities. The staples and staple cavities include features that reduce friction between the staples and the staple cavities as the firing member ejects the staples from the staple cavities. Each of the staples comprises a base including a drive portion and a staple leg extending from the base, and in at least one instance, each of the staple cavities comprises a proximal guide and a distal guide configured to guide the staple legs of the staple positioned therein as the staple is ejected from the staple cavity. In some cases, each of the staple cavities further comprises a medial guide offset from the proximal and distal guides.

Description

Staple cartridge assembly including staple cavities for providing better staple guidance
Background
The present invention relates to surgical instruments and, in various embodiments, to surgical stapling and cutting instruments and staple cartridges for use therewith.
The stapling instrument can include a pair of cooperating elongated jaw members, wherein each jaw member can be adapted to be inserted into a patient and positioned relative to tissue to be stapled and/or incised. In various embodiments, one of the jaw members can support a staple cartridge having at least two laterally spaced rows of staples housed therein, and the other jaw member can support an anvil having staple-forming pockets aligned with the rows of staples in the staple cartridge. In general, the stapling instrument can further include a pusher bar and a knife blade that are slidable relative to the jaw members to sequentially eject staples from the staple cartridge via camming surfaces on the pusher bar and/or camming surfaces on a wedge sled that is pushed by the pusher bar. In at least one embodiment, the camming surfaces can be configured to actuate a plurality of staple drivers carried by the cartridge and associated with the staples in order to push the staples against the anvil and form laterally spaced rows of deformed staples in tissue clamped between the jaw members. In at least one embodiment, the blade can follow the cam surface and cut the tissue along the line between the rows of staples.
The above discussion is intended to be merely illustrative of the present aspects of the relevant art in the field of the present invention and should not be taken as negating the scope of the claims.
Drawings
Various features of the embodiments described herein are set forth with particularity in the appended claims. However, various embodiments as to the organization and method of operation, together with advantages thereof, may be understood in accordance with the following description taken in conjunction with the accompanying drawings in which:
FIG. 1 is a perspective view of a staple for use with a surgical stapling instrument, in accordance with at least one embodiment;
FIG. 2 is a side elevational view of the nail of FIG. 1;
FIG. 3 is a top view of the nail of FIG. 1;
FIG. 4 is a cross-sectional view of the nail of FIG. 1 taken along line 4-4 of FIG. 3;
FIG. 5 is a perspective view of a staple for use with a surgical stapling instrument, in accordance with at least one embodiment;
FIG. 6 is a side elevational view of the nail of FIG. 5;
FIG. 7 is a side elevational view of a staple used with a surgical stapling instrument in accordance with at least one embodiment;
FIG. 8 is a side elevational view of the staple of FIG. 7 in a formed configuration;
FIG. 9 is a top view of the staple of FIG. 7 in the formed configuration of FIG. 8;
FIG. 10 is a side elevational view of the staple of FIG. 7 in a formed configuration and a partial cross-sectional view of an anvil of a surgical stapling instrument;
FIG. 11 is a perspective view of a staple used with a surgical stapling instrument in accordance with at least one embodiment;
11A-11C are cross-sections of portions of the nail of FIG. 11;
FIG. 12 is a perspective view of a staple for use with a surgical stapling instrument, in accordance with at least one embodiment;
FIG. 13 is a side elevational view of a staple used with a surgical stapling instrument in accordance with at least one embodiment;
FIG. 14 is a partial top view of a formed staple configuration including a plurality of staples according to at least one embodiment;
FIG. 15 is a perspective view of a staple for use with a surgical stapling instrument, in accordance with at least one embodiment;
FIG. 16 is a partial cross-sectional view of the anvil showing a portion of the staple of FIG. 15 formed from an unformed configuration to a formed configuration;
FIG. 17 is a front view of the nail of FIG. 15 in a formed configuration;
FIG. 18 includes a side view of a plurality of staple tips in accordance with at least one embodiment;
FIG. 19 is a bottom view of a forming pocket of a staple and anvil according to a first arrangement according to at least one embodiment;
FIG. 20 is a partial cross-sectional view of the anvil pocket of FIG. 19 taken along line 20-20 of FIG. 19;
FIG. 21 is a bottom view of the staple and forming pocket of FIG. 19 according to a second arrangement;
FIG. 22 is a bottom view of the staple and forming pocket of FIG. 19 according to a third arrangement;
FIG. 23 is a bottom view of the staple and forming pocket of FIG. 19 according to at least one embodiment;
FIG. 24 is a partial cross-sectional view of the anvil pocket of FIG. 23 taken along line 24-24 of FIG. 23;
FIG. 25 is a bottom view of the staple and forming pocket of FIG. 19 according to at least one embodiment;
FIG. 26 is a bottom view of the staple and forming pocket of FIG. 19 according to at least one embodiment;
FIG. 27 is a partial perspective view of a staple leg according to at least one embodiment;
FIG. 27A is a partial cross-sectional end view of the staple leg of FIG. 27;
FIG. 27B is a partial longitudinal section of the staple leg of FIG. 27;
FIG. 28 is a perspective view of a portion of a nailing strip made using progressive die stamping;
FIG. 28A is a partial cross-sectional view of the nailing strip portion of FIG. 28 taken alongline 28A-28A of FIG. 28;
FIG. 28B is a partial cross-sectional view of the nailing strip portion of FIG. 28 taken alongline 28B-28B of FIG. 28;
FIG. 28C is a partial perspective view of a slider configured to engage the nailing strip of FIG. 28;
FIG. 29 is a perspective view of a portion of a nailing strip made using progressive die stamping in accordance with at least one embodiment;
FIG. 30 is a bottom perspective view of the nailing strip of FIG. 29;
FIG. 31 is a partial cross-sectional view of a staple cartridge and staples according to at least one embodiment;
FIG. 32 is a perspective view of a staple cartridge assembly according to at least one embodiment;
FIG. 33 is a top plan view of the staple cartridge assembly of FIG. 32;
FIG. 34 is a detail view of the distal end of the cartridge assembly of FIG. 32;
FIG. 35 is a partial cross-sectional perspective view of the staple cartridge assembly showing staples ejected from the staple cartridge assembly by the firing member in accordance with at least one embodiment;
FIG. 36 is a partially exploded view of the staple cartridge assembly of FIG. 35;
FIG. 37 is a partial cross-sectional view of the staple cartridge assembly of FIG. 35 showing staples deformed against the anvil by the firing member;
FIG. 38 is a partial plan view of staples positioned in the staple cavities of the staple cartridge assembly of FIG. 35;
FIG. 39 is a partial perspective view of staples lifted by a firing member of the staple cartridge of FIG. 35;
FIG. 40 is a bottom perspective view of the nail of FIG. 39;
FIG. 41 is a schematic view showing the staple of FIG. 39 in a horizontal position;
FIG. 42 is a schematic view showing the staple of FIG. 39 in a bent position;
FIG. 43 is a cut-away plan view of a staple cavity configured to guide staples in accordance with at least one embodiment;
FIG. 44 is a cross-sectional perspective view of the staple cartridge assembly positioned in a jaw of a surgical stapling instrument showing a firing member positioned in a cartridge body of the staple cartridge assembly in accordance with at least one embodiment;
FIG. 45 is a partial cross-sectional perspective view of the staple cartridge assembly of FIG. 44 showing a retention feature configured to retain the firing member in the cartridge body when the staple cartridge assembly is not positioned in a jaw of the surgical stapling instrument;
FIG. 46 is a partial cross-sectional exploded view of the staple cartridge assembly of FIG. 44;
FIG. 47 is a partial cross-sectional end view of the staple cartridge assembly of FIG. 44;
FIG. 48 is a partial cutaway perspective view of the cartridge assembly of FIG. 44 illustrating a retention feature configured to releasably retain the cartridge assembly in a jaw of a surgical stapling instrument;
FIG. 49 is a partial plan view of staples positioned in staple cavities of a staple cartridge assembly according to at least one embodiment;
FIG. 50 is a detail view of a retention feature configured to releasably retain staples in the cartridge assembly of FIG. 49;
FIG. 51 is a partial cross-sectional elevation view of a staple cartridge assembly according to at least one embodiment;
FIG. 52 is a perspective view of a staple in accordance with at least one embodiment;
FIG. 53 is a bottom perspective view of the nail of FIG. 52;
FIG. 54 is a front elevational view of the nail of FIG. 52;
FIG. 55 is a side elevational view of the nail of FIG. 52;
FIG. 56 is a bottom view of the nail of FIG. 52;
FIG. 57 is a perspective view of a firing member of a staple cartridge assembly according to at least one embodiment, the firing member including an alignment channel;
FIG. 58 is a schematic view showing the firing member of FIG. 57 and staples positioned in the staple cavities of the staple cartridge assembly;
FIG. 59 is a schematic view of the firing member of FIG. 57 shown aligned with the staples of FIG. 58 within the staple cavities of FIG. 58;
FIG. 60 is a perspective view of the firing member of FIG. 57 and staples arranged in two longitudinal rows;
FIG. 61 is a partial cross-sectional view of the alignment channel of the firing member of FIG. 57 and a portion of the staples of FIG. 58;
FIG. 62 is a perspective view, partially in section, of the staple cartridge assembly of FIG. 58;
FIG. 63 is a partially exploded view of the staple cartridge assembly of FIG. 58;
FIG. 64 is a partial bottom cross-sectional perspective view of the staple cartridge assembly of FIG. 58;
FIG. 65 is a partial perspective view of a protrusion extending from a deck surface of a staple cartridge assembly according to at least one alternative embodiment;
FIG. 66 is a partial perspective view of a protrusion extending from a deck surface of a staple cartridge assembly according to at least one alternative embodiment;
FIG. 67 is a bottom perspective view of the cartridge body of the staple cartridge assembly;
fig. 68 is a bottom view of the cartridge body of fig. 67;
FIG. 69 is a bottom perspective view of the cartridge body of the staple cartridge assembly of FIG. 32;
fig. 70 is a bottom view of the cartridge body of fig. 32;
fig. 71 is a schematic view showing the cartridge body of fig. 67 with an alternative embodiment of the cartridge body;
FIG. 72 is a partial top plan view of a staple cartridge assembly according to at least one embodiment;
FIG. 73 is a partial perspective view of the staple cartridge of FIG. 32;
FIG. 74 is a cross-sectional view of the staple cartridge of FIG. 32 and the anvil of FIG. 37, showing some of the staples in an unfired position and some of the staples in a fired position;
FIG. 75 illustrates the staples of the staple cartridge of FIG. 32 deformed to three different heights;
FIG. 76 shows staples of the staple cartridge of FIG. 32 implanted in tissue of a patient;
FIG. 77 illustrates the staples of the staple cartridge of FIG. 32 being deformed;
FIG. 78 is a perspective view of a staple in accordance with at least one embodiment;
FIG. 79 is a cross-sectional view of the nail of FIG. 78;
FIG. 80 is a perspective view of a staple assembly in accordance with at least one embodiment;
FIG. 81 is a front elevational view of the staple assembly of FIG. 80;
FIG. 82 is a perspective view of an implantable tack assist;
FIG. 83 is a cross-sectional view of the staple aid of FIG. 82;
FIG. 84 is a partial perspective view of the staple assembly including the staple aid of FIG. 82;
FIG. 85 shows the staple assembly of FIG. 84 implanted into tissue;
FIG. 86 is a perspective view of a staple shown in a deformed configuration in accordance with at least one embodiment;
FIG. 87 is a plan view of a circular cartridge body comprising the plurality of staple assemblies of FIG. 84 in accordance with at least one embodiment;
FIG. 88 shows the spacing of the staples of FIG. 35 in unstretched tissue;
FIG. 89 shows the spacing of the staples of FIG. 35 in stretched tissue;
FIG. 90 is a perspective view of a staple in accordance with at least one embodiment;
FIG. 91 shows the staple of FIG. 90 implanted into tissue;
FIG. 92 shows the nail of FIG. 90 after partial dissolution;
FIG. 93 is a cross-sectional perspective view of a portion of a circular surgical stapler according to at least one embodiment;
FIG. 94 is a perspective view, partially in section, of the circular surgical stapler of FIG. 93;
FIG. 95 is a partial perspective view of the circular surgical stapler of FIG. 93;
FIG. 96 is a partially exploded perspective view of a circular surgical stapler in accordance with at least one embodiment;
FIG. 97 is a partial perspective view of the circular surgical stapler of FIG. 96, showing a staple in a preloaded position;
FIG. 98 is a partial perspective view of the circular surgical stapler of FIG. 96;
FIG. 99 is an end view of a circular surgical stapling configuration in accordance with at least one embodiment;
FIG. 100 is an end view of a circular surgical stapling configuration in accordance with at least one embodiment;
FIG. 101 is a partial cross-sectional view of a colon sutured using the circular stapling instrument disclosed herein;
FIG. 102 is a partial perspective view of a curved stapler in accordance with at least one embodiment;
FIG. 103 is a partially exploded view of the curved stapler of FIG. 102;
FIG. 104 is a partial perspective view of the curved stapler of FIG. 102;
FIG. 105 is a partial perspective view of a curved stapler in accordance with at least one embodiment; and is
FIG. 106 is a partial perspective view of the curved stapler of FIG. 105.
Corresponding reference characters indicate corresponding parts throughout the several views. The exemplifications set out herein illustrate various embodiments of the invention, in one form, and such exemplifications are not to be construed as limiting the scope of the invention in any manner.
Detailed Description
The applicant of the present application owns the following U.S. patent applications filed on even date herewith and each incorporated herein by reference in its entirety:
U.S. patent application Ser. No. __________ entitled "SURGICAL STAPLES FOR MINIMIZING STAPLE ROLL"; attorney docket number END7687 USNP/150127;
U.S. patent application Ser. No. __________ entitled "SURGICAL STAPLES COMPRISING FEATURES FOR IMPROVED FASTENING OF TISSUE"; attorney docket number END7678 USNP/150118;
U.S. patent application Ser. No. __________ entitled "SURGICAL STAPLES COMPLEMENTING HARDNESS VARITIONS FOR IMPROVED FASTENING OF TISSUE"; attorney docket number END7727 USNP/150298;
U.S. patent application Ser. No. __________ entitled "SURGICAL STAPLE STRIPS FOR PERMITTING VARYING STAPLE PROPERTIES AND ENABLING EASY CARTRIDGE LOADING"; attorney docket number END7680 USNP/150120;
U.S. patent application Ser. No. __________ entitled "SURGICAL STAPLING CONFIGURATION FOR CURVED AND CIRCULAR STAPLING INSTRUMENTS"; attorney docket number END7682 USNP/150122;
-U.S. patent application serial No. __________ entitled "STAPLE CARTRIDGE ASSEMBLY with a BOTTOM COVER"; attorney docket number END7679 USNP/150119;
-U.S. patent application serial No. __________ entitled "STAPLE CARTRIDGE ASSEMBLY filing stage GUIDES"; attorney docket number END7685 USNP/150125;
-U.S. patent application Ser. No. __________ entitled "STAPLE CARTRIDGE ASSEMBLY COMPRISING STAPLE ALIGNMENT FEATURES ON A FIRING MEMBER"; attorney docket number END7688 USNP/150128;
-U.S. patent application serial No. __________ entitled "STAPLE CARTRIDGE ASSEMBLY variation methods using composition GAPS AND STAPLE FORMING GAPS"; attorney docket number END7684 USNP/150124;
-U.S. patent application serial No. __________ entitled "STAPLES CONFIRED TO SUPPORT AN IMPLANTABLE ADJUNCT"; attorney docket number END7686 USNP/150126;
-U.S. patent application serial No. __________ entitled "STAPLES COMPRISING A COVER"; attorney docket number END7689 USNP/150129; and
-U.S. patent application serial No. __________ entitled "STAPLE CARTRIDGE associating recording feeds FOR CONTROLLING THE recording OF THE recording material OF STAPLES WHEN recording imaged recording material; attorney docket number END7683 USNP/150123.
The applicant of the present application also owns the following patent applications filed on 23.12.2013 and each incorporated herein by reference in its entirety:
U.S. patent application Ser. No. 14/138,554 entitled "SURGICAL INSTRUMENTS WITH ARTICULATABLE SHAFT ARRANGEMENTS";
-U.S. patent application serial No. 14/138,465 entitled "SURGICAL STAPLES AND STAPLE CARTRIDGES";
-U.S. patent application serial No. 14/138,474 entitled "articulable minor impregnation WITH SEPARATE AND DISTINCT CLOSING AND FIRING SYSTEMS";
U.S. patent application Ser. No. 14/138,485 entitled "SURGICAL CUTTING AND STAPLING INSTRUMENTS WITH INDEPENDENT JAW CONTROL FEATURES";
-U.S. patent application serial No. 14/138,475 entitled "SURGICAL STAPLES AND STAPLE CARTRIDGES";
-U.S. patent application serial No. 14/138,481 entitled "SURGICAL STAPLES AND METHODS FOR MAKING THE SAME";
U.S. patent application Ser. No. 14/138,489 entitled "SURGICAL STAPLES, STAPLE CARTRIDGES AND SURGICAL END EFFECTORS";
-U.S. design patent application serial No. 29/477,488 entitled "SURGICAL FASTENER";
-U.S. patent application Ser. No. 14/138,505 entitled "FASTENER CARTRIDGE composition AN EXTENDABLE filing Membrane";
-U.S. patent application Ser. No. 14/138,518 entitled "FASTENER CARTRIDGE composition A dressing MEMBER constructed TO DIRECTLY ENGAGE AND Eject FASTENERS FROM THE FASTENER CARTRIDGE";
-U.S. patent application Ser. No. 14/138,530 entitled "FASTENER CARTRIDGE composition A framing MEMBER INCLUDING FASTENER TRANSFER SURFACES";
-U.S. patent application serial No. 14/138,507 entitled "MODULAR SURGICAL INSTRUMENTS";
U.S. patent application Ser. No. 14/138,497 entitled "SURGICAL CUTTING AND STAPLING INSTRUMENTS WITH ARTICULATABLE END EFFECTORS"; and
U.S. patent application Ser. No. 14/138,516 entitled "SURGICAL CUTTING AND STAPLING METHODS".
Numerous specific details are set forth herein to provide a thorough understanding of the overall structure, function, manufacture, and use of the embodiments described in the specification and illustrated in the accompanying drawings. Well-known operations, components and elements have not been described in detail so as not to obscure the embodiments described in the specification. The reader will understand that the embodiments described and illustrated herein are non-limiting examples and that specific structural and functional details disclosed herein are representative and illustrative. Variations and changes may be made to these embodiments without departing from the scope of the claims.
The terms "comprises" (and "comprising)" in any form, such as "comprises" and "comprising", "(and" having) "," having "(and" having) ", such as" having "and" having) "," containing "(and" containing) ", such as" comprising "and" containing) ", and" containing "(and" containing) "such as" containing "and" containing "are open-ended verbs. Thus, a surgical system, device, or apparatus that "comprises," "has," "contains," or "contains" one or more elements has those one or more elements, but is not limited to having only those one or more elements. Likewise, an element of a system, apparatus or device that "comprises," "has," "contains," or "contains" one or more features possesses those one or more features, but is not limited to possessing only those one or more features.
The terms "proximal" and "distal" are used herein with respect to a clinician manipulating a handle portion of a surgical instrument. The term "proximal" refers to the portion closest to the clinician and the term "distal" refers to the portion located away from the clinician. It will be further appreciated that for simplicity and clarity, spatial terms such as "vertical," "horizontal," "up," and "down" may be used herein with respect to the drawings. However, surgical instruments are used in many orientations and positions, and these terms are not intended to be limiting and/or absolute.
Various exemplary devices and methods are provided for performing laparoscopic and minimally invasive surgical procedures. However, the reader will readily appreciate that the various methods and devices disclosed herein may be used in a variety of surgical procedures and applications, including, for example, in conjunction with open surgery. With continued reference to the present detailed description, the reader will further appreciate that the various instruments disclosed herein may be inserted into the body in any manner, such as through a natural orifice, through an incision or puncture formed in tissue, and the like. The working portion or end effector portion of the instrument may be inserted directly into the patient's body or may be inserted through an access device having a working channel through which the end effector and elongate shaft of the surgical instrument may be advanced.
The staples or fasteners disclosed herein are configured to be used with a surgical stapling instrument. As discussed in more detail below, staples are removably stored in staple cavities of the staple cartridge. The staple cartridge includes a sled configured to receive a firing actuation from the surgical stapling instrument that applies a force to the staples to eject the staples from the staple cavities. As the staples are ejected or driven out of the staple cavities by the sled, the staples undergo a deformation process in which the staples are formed from an unfired configuration to a fired configuration. The staples are formed into a fired configuration when the staples contact corresponding forming pockets of an anvil of the surgical stapling instrument.
The various staples disclosed herein include flat formed staples that may be cut and/or stamped from a sheet of material, for example. For example, the sheet of material may be metallic and may comprise stainless steel and/or titanium. In at least one instance, the contours can be drawn, etched, and/or cut into a sheet of material that is machined and/or laser cut to form the staples into the manufactured shapes.
The staple includes a pair of staple legs and a staple base portion or crown from which the staple legs extend. Each staple leg includes a staple tip or piercing portion configured to pierce tissue and contact a corresponding forming pocket of an anvil of a surgical stapling instrument. The staple legs are configured to change shape to achieve a shaped configuration to secure tissue. The staple base portion defines a first plane and the staple legs define a second plane that is laterally offset from, but at least substantially parallel to, the first plane. Embodiments are envisaged in which the first and second planes are non-parallel.
The flat shapedstaple 100 shown in fig. 1-4 includes a proximalstaple leg 110, a distalstaple leg 120, and astaple base portion 130. Thenail 100 also includes vertical transitions or bends 118,128 and lateral transitions or bends 116, 126. The vertical transition portions 118,128 bend or extend the legs 110,120 vertically or upwardly from thestaple base portion 130. The lateral transition portions 116,126 extend the staple legs 110,120 laterally outward, or at least substantially perpendicular, relative to thestaple base portion 130. The staple legs 110,120 define a first plane and thestaple base portion 130 defines a second plane. Together, the vertical transition portions 118,128 and the lateral transition portions 116,126 allow the staple legs 110,120 to be laterally offset and parallel relative to thestaple base portion 130. In other words, the first plane is offset from and at least substantially parallel to the second plane. In fig. 1-4, the first plane is offset in the negative Y-direction. Other staples may be used in conjunction with the plurality ofstaples 100, wherein the other staples include a first plane that is offset in the positive Y-direction. The use of both types of staples allows for the nesting or interleaving of staple rows wherein the staple legs of adjacent rows may be at least substantially aligned and/or share a common longitudinal axis. In various circumstances, rows of staples can be nested to provide a denser row of staples.
Proximalstaple leg 110 and distalstaple leg 120 include staple tips 112,122 and corners 114,124, respectively. The tips 112,122 are configured to penetrate tissue and contact a forming pocket of an anvil of a surgical stapling instrument. The tips 112,122 contact the anvil when thestaples 100 receive a driving force to eject thestaples 100 from the corresponding staple cavities in the staple cartridge. The tips 112,122 and/or legs 110,120 of thestaples 100 will then initially be formed from the unfired configuration to the fired configuration. Proximalstaple leg 120 also includes a leadingengagement foot 117 having a chamfered surface oredge 119. As the sled contacts thestaples 100 as the sled translates distally, features of the sled can engage the leadingengagement feet 117 to help prevent, for example, longitudinal staple rotation or rotation. Theengagement foot 117 may include a push point configured to be pushed to load thestaples 100 into the staple cartridge.
Because thestaple 100 is a flat formed staple, the legs 110,120, the tips 112,122, and/or other portions of the staple 100 may be further fabricated or machined after stamping from a flat or at least substantially flat stock. Further fabrication of thenail 100 may provide for forming and/or altering specific characteristics such as preferential bending planes, flexibility, and/or elasticity. Conventional wire-formed staples have desirable characteristics that facilitate surgical fastening and can be implemented with thestaple 100. The method for constructing the corners 114,124 and/or the tips 112,122 may include, for example, any suitable process including, for example, cold working. Specific processes may include coining by: the corners 114,124 are machined to have, for example, a rounded, angled, sloped, and/or parabolic profile. Staple tips 112,122 can also be processed using similar methods to provide a suitable tip configured to pierce tissue and be formed against a corresponding forming pocket of the anvil.
Nail base portion130 include anangled drive surface 132, afinal drive surface 131, and adistal wall 133. In various embodiments, thestaples 100 are supported in the staple cartridge by a tray, wherein thefinal drive surface 131 is configured to rest on the tray. In various other embodiments of staple cartridges without a tray, the final drive surface does not rest on the tray, rather, the final drive surface has an initial position above the bottom surface of the discless staple cartridge. This will allow the bottom surface of the sled and the bottom surface of the diskless staple cartridge to be at least substantially flush as the sled translates through the cartridge. Thedrive surface 132 of eachstaple base portion 130 is configured to receive a driving force F from a sled of a surgical stapling instruments. As the sled translates distally through the staple cartridge, the sled contacts thedrive surface 132 to lift thestaples 100 out of the cartridge and additionally contacts thefinal drive surface 131 to shape thestaples 100 into their fired configuration.
Distal wall 133 serves as the distal-most wall ofstaple base portion 130 and is positioned proximal to distalstaple legs 120, thereby lacking any portion ofstaple base portion 130 underlying distalstaple legs 120. Having a greater amount of mass in thebase portion 130 of thestaple 100 enhances the resistance of the staple 100 to the moment M applied by the sledSThe ability to induce rotational motion. Increasing the moment of inertia of thestaple base portion 130 enhances the ability to resist rotational movement. Thus, a greater torque or greater moment will be required to cause the longitudinal nail to rotate.
Thestaple base portion 130 also includes a top orcompression surface 136 that includes aproximal surface 139, anintermediate surface 138, and adistal surface 137.Proximal surface 139 is angled or sloped upward towardproximal leg 110.Distal surface 137 angles or slopes upward towarddistal leg 120. Theintermediate surface 138 is at least substantially parallel to thefinal drive surface 131. This valley configuration limits stress concentrations in the tissue captured adjacent to transition portions 118,128,116,126 where legs 110,120 extend fromstaple base portion 130. In various embodiments, these surfaces 137,138,139 can be curved to form concave surfaces. In conventional staples, the junction where the leg meets the staple base creates a location that causes high local tissue stress when formed. This is particularly true in the case where such conventional staples are twisted, or crushed, or flattened rather than formed into the true "B" configuration.
In various embodiments, the dynamics of thestaples 100 are predictable when ejected from the staple cartridge. The driving force F from the sled when thestaples 100 are ejected from their corresponding staple cavitiesSGenerating a moment Ms. One precautionary measure for preventing staple rotation includes increasing the moment of inertia of the staple 100 discussed above, which is configured to prevent (as shown in FIG. 2) longitudinal rotation or rotation of the staple. If thestaple 100 is rotated longitudinally in a distal direction, or in other words, in a counterclockwise direction about the Y-axis, the outer longitudinal staple leg surfaces 115,125 of the staple 100 will contact the guide surfaces or sidewalls of the staple cartridge. The contact generates a corresponding reaction force FC1And FC2. More specifically, as thestaple 100 is driven out of the staple cavity and rotated about the Y-axis, thewall 115 of the proximalstaple leg 110 contacts the proximal sidewall of the staple cartridge, thereby creating a reaction force F acting on thestaple leg 110 below the center of massC2. Thewall 125 of the distalstaple leg 120 contacts the distal sidewall of the staple cartridge, thereby creating a reaction force F acting on thestaple leg 120 above the center of massC1. These two reaction forces FC1And FC2Will cause a reaction moment MRCTo counteract or balance the applied torque M acting on thenail 100S. The reactive forces discussed herein may be a distributed load acting on the surface area of each of thestaple legs 110, 120.
The moment of inertia of thenail 100 is also configured to prevent (as shown in fig. 4) lateral rotation or rotation of thenail 100. Thestaple base portion 130 includes anotch 134 defined in atop surface 136 on a side of thestaple base portion 130 nearest thelegs 110, 120. Thenotches 134 facilitate predictability of the dynamics of the staple 100 before forming and after forming when ejected from the staple cartridge. For example, referring primarily to FIG. 4,notches 134 are configured to cause rotation ofstaple 100 toward a particular cavity sidewall. If thenail 100 is turned laterally, or in other words, at the applied moment MSWill contact the leading or side walls of the staple cartridge, thereby producing a corresponding reverse rotationActing force FC1And FC2. For example, as thestaple 100 is driven out of the staple cavity and under an applied torque MSIn a direction of the staple cartridge, the walls 111,121 of the staple legs 110,120 contact corresponding side walls of the staple cartridge, thereby creating a reaction force F acting on the staple legs 110,120 above the center of massC1. The outerlateral wall 135 of thestaple base portion 130 contacts the other corresponding sidewall of the staple cartridge, thereby creating a reaction force F acting on thestaple base portion 130 below the center of massC2. Reaction force FC1And FC2Producing a reaction moment MRCTo counteract or balance the applied torque M acting on thenail 100 from the sliderS. The reactive forces discussed herein may be a distributed load acting on the surface area of each of the staple legs 110,120 and thestaple base portion 130. In various embodiments, thenail 100 is caused to be under an applied moment MSIn order to control which wall of the staple cavity is to be contacted for staple guidance when thestaple 100 is ejected from the corresponding staple cavity of thestaple 100.
Fig. 5 and 6 show a wire formedstaple 200 includingstaple legs 210 and astaple base portion 230. Thestaple legs 210 are offset and bent from thestaple base portion 230 at an angle of substantially ninety degrees. Thestaple legs 210 lie in a first plane that is at least substantially perpendicular to a second plane defined by thestaple base portion 230 and thecurved portions 220 of thestaple legs 210.
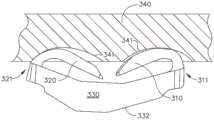
Fig. 7-10 illustrate a staple 300 including a proximalstaple leg 310, a distalstaple leg 320, and a staple base portion orcrown 330 having adrive surface 332. The legs 310,320 extend from astaple base portion 330, and each leg 310,320 includes a laterally outward curved portion and an upward curved portion. The laterally outwardly bent portions of the legs bend the legs laterally outwardly relative to the base portion of the staple. The upwardly bent portions of the staple legs vertically bend the staple legs relative to the staple base portion. Thestaple 300 includes afirst zone 331 having a first durometer, a second zone 311,321 having a second durometer, and a third zone 312,322 having a third durometer. Embodiments are contemplated in which thenail 300 includes more or fewer zones than shown. Varying certain characteristics of different portions of thestaple 300, such as stiffness, may provide greater control and predictability in forming the staple against a corresponding forming pocket, such as the formingpocket 341 of theanvil 340, for example. The first stiffness of thefirst region 331 may be greater than the second stiffness of thesecond regions 311, 321. In many instances, it is desirable to have malleable legs 310,320 that can permanently change shape without breaking, or in other words, to have legs 310,320 that have, for example, high plasticity, while having astaple base portion 330 that supports the legs 310,320 and has a greater stiffness than thelegs 310, 320. Greater stiffness will enhance the ability of thestaple base portion 330 to resist deformation when external and/or internal forces are applied, such as from the staple legs when compressed against the anvil.
Metalworking the different portions of the staples disclosed herein may have several advantages. One of these advantages may include the ability to prevent the legs of the staple from being crushed or distorted during forming, but instead, to encourage the legs to deform in the desired configuration due to contact with the corresponding forming pockets.
Thenail 300 may be formed in any desired configuration. In the unformed configuration, the legs 310,320 define a first plane P1And thestaple base portion 330 defines a second plane P2. An example of the formation of astaple 300 is shown in fig. 9 and 10, wherein the legs 310,320 are directed towards a second plane P2Shaped laterally. Variations in the hardness of certain regions and/or portions of thenail 300 may serve to provide directional support when contacting the forming pockets 341. It is contemplated that the legs 310,320 are laterally spaced from the second plane P2Is formed in the direction of (a).
Fig. 11-11C show a staple 400 formed from a flat sheet of material that includesstaple legs 410 andstaple base portions 430. Thestaple base portion 430 has a rectangularcross-sectional profile 431 and the staple legs have a circularcross-sectional profile 411. Havinground legs 410 extending fromstaple base portion 430 with a rectangularcross-sectional profile 431 can provide a staple base portion and legs that are free of preferential bending planes. Thestaple 400 includes acurved portion 420 where thestaple legs 410 extend from astaple base portion 430. Thecurved portion 420 has a substantially squarecross-sectional profile 421. The square andrectangular profiles 421 and 431 of the curved andstaple base portions 420 and 430, respectively, provide a rigid connection and backbone for the roundstaple leg 410. Therounded legs 410 eliminate the preferential plane of curvature that legs having a square, rectangular, or any other shape with vertices or non-uniform shapes in cross-section may have.
Fig. 12 illustrates a staple 500 according to at least one embodiment that includes a proximalstaple leg 510, a distalstaple leg 520, and astaple base portion 530 from which the staple legs 510,520 extend. The proximalstaple legs 510 curve laterally outward from thestaple base portion 530 in a first direction. The distalstaple legs 520 curve laterally outward from the staple base portion in a second direction. The first direction is opposite to the second direction. Thestaple base portion 530 defines a first plane and the staple legs 510,520 define a second plane that intersects the first plane. One advantage of bending the staple legs 510,520 in opposite directions can counteract the slider moment applied on each side of thestaple base portion 530, thereby helping to prevent lateral rotation. This results in an S-shaped configuration and requires complementary shaped dimples.
In fig. 13, astaple 600 is shown that includes aproximal leg 610, adistal leg 620, and astaple base portion 630 having adrive surface 632. Thedistal leg 620 is longer than theproximal leg 610, thereby causing the tips 611,621 of the staple legs 610,620 to deflect in contact time against the forming pockets of the anvil. In various embodiments, the distal leg can include a tip having an initial pre-bent configuration to facilitate the forming process upon initial contact with the anvil. Thispre-formed tip 621 will require less compressive force than thestaple tip 611 to begin deforming against the anvil. Having the longer leg (in this case distal leg 620) contact the anvil before the shorter orproximal leg 610 may require that thestaple tip 621 of thelonger leg 620 have a pre-formed tip to some extent before thetip 611 deforms.
Fig. 14 shows anarrangement 700 of formingpegs 711, 721. Thestaples 711 are arranged in afirst row 710 and thestaples 721 are arranged in asecond row 720 adjacent to thefirst row 710. The staples 711,712 may be similar to the staple 600 shown in FIG. 13, discussed above. Thestaple 711 includes laterally opposite leg portions 713,715. Thestaple 721 includes laterally opposite legs 723,725. The laterally opposed legs 713,715 each include a tip configured to contact the anvil forming pocket atcontact points 713c,715c, respectively. The laterally opposite legs 723,725 also each include a tip configured to contact the anvil forming pockets atcontact points 723c,725c, respectively. The laterally opposite legs 713,715 are each formed inwardly toward the staple base portion from which they extend. Laterally opposed legs 723,725 are also each formed inwardly toward the staple base portion from which they extend.
The rows 710,720 of staples are interleaved such that the contact points 723c,713c are substantially aligned. This arrangement allows for a more densely arranged row configuration of staples in the staple cartridge and/or a more densely arranged forming pocket configuration on the anvil. In addition, the intersecting force expansion planes may provide higher quality force expansion and greater area of tissue force expansion coverage. The intersecting force planes ensure that anything trapped between the rows of staples and the forming pockets must be adequately secured. This may be helpful when suturing smaller and/or less visible blood vessels, whereas in conventional staple arrangements the staple row spacing may be manipulated, resulting in less than adequate fastening.
Fig. 15-17 illustrate a staple 800 including staple legs 810,820 and astaple base portion 830 having adrive surface 832. The staple legs 810,820 includetips 842 configured to contact a forming pocket of an anvil, such as formingpocket 861 ofanvil 860.Staple tip 842 includes a piercing tip orportion 842T, a curledsurface 842S, and a concave cut-outportion 842C.Piercing tip 842T is configured to pierce tissue T upon ejection from the staple cartridge and be deformed within formingpockets 861 ofanvil 860 upon contact therewith. Thestaple tips 842 are urged to deform into a particular configuration by utilizing the predictable deformability of theconcave cutout portions 842C. The crimpingsurface 842S of thestaple tip 842 is configured to be crimped or deformed from the piercinglocation 812A, to the intermediate forminglocation 812B, and to thenon-piercing location 812C. Once thestaple tips 842 have been fully deformed, the piercingtips 842T are spaced or isolated from the tissue T by the crimpingsurfaces 842S. This prevents further penetration of tissue T aftertip 842 penetrates tissue while firing. This arrangement also prevents further injury and/or harmful irritation that may be caused by an exposed piercing tip after an initial piercing. Preventing further penetration of the tissue after the legs are formed also reduces the chance thatstaple 800 will be pulled through tissue T. The curledsurface 842S acts as a barrier configured to space thepuncture tip 842T from the tissue T.
Fig. 18 illustrates a number of examples of different types ofstaple tips 871, 872, 873, 874, and 875 that may be used with any suitable surgical staple, such as the staples disclosed herein. Thestaple tips 871 have a triangular shape with at least substantially flat faces. The staple points 872 include faces having varying profiles. Thestaple tips 873 have a rocket-like shape. Thespike tip 874 has a bump-like profile. The bump-like profile may, for example, be substantially blunt. Thenail tip 875 has a pencil-sharpened profile.
In various embodiments, the staple tips disclosed herein can comprise a material different from the staple to which the staple tip is attached so as to be more easily deformed in a desired manner, but the staple tip material can still be strong enough to prevent the staple tips from spreading out after the tissue is fastened.
The surgical staples can be urged into a desired configuration by altering the shape, size, configuration, and/or other aspects of the forming pockets configured to form the staples. FIG. 19 illustrates forming pockets 911,921 configured to enable forming of astaple 900.Staple 900 includes staple legs 901,902, staple tips 910,920, andstaple base 930, wherein staple legs 901,902 extend fromstaple base 930. Thestaples 900 are configured to contact and be formed against corresponding formingpockets 911, 921. The formingpocket 911 includes a formingchannel surface 917 configured to receive acorresponding tip 910 and cause thetip 910 to form in direction P1. As shown in fig. 20, the shapedpockets 911 include lateral valley surfaces 915 and longitudinal valley surfaces 913 that are configured to funnel or capture thetips 910 of the staples with slight misalignment upon contact. Upon ejection from the cartridge,staple 900,staple leg 901 and/orstaple tip 910 can be driven off-target relative to formingchannel surface 917. The valley surfaces allow longitudinal and lateral rotation of the nail. Although shown as a concave surface, the valley surface may be convex or flat, for example.
The formingpocket 921 includes a formingchannel surface 927 configured to receive a correspondingpointed end 920 of thestaple 900 and to cause thepointed end 920 to form in the direction D1. Direction D1 is opposite direction P1 and, as shown in fig. 19, illustrates the staple legs being formed toward one another and at least substantially parallel tostaple base 930. Other embodiments are contemplated in which the directions D1, P1 direct the corresponding staple legs in opposite directions but outwardly with respect to each other. The formingpocket 921 also includes lateral and longitudinal valley surfaces 925, 923 that are configured to funnel or capture thetip 920 of thenail 900 with slight misalignment upon contact. Upon ejection from the cartridge, thestaple 900,staple legs 902, and/orstaple tips 920 can be driven off-target relative to the formingchannel surface 927.
In various embodiments, the longitudinal valley surface may comprise two separate valley surfaces. The two separate valley surfaces may include an initial valley surface closest to the intended point of contact of the corresponding spike tip. The initial valley surface may have a greater misalignment protection than another of the individual valley surfaces. The initial valley surface may have, for example, a greater width and/or height than another of the individual valley surfaces.
FIG. 21 shows another arrangement of staple pockets 911,921 as discussed above. However, the staple pockets 911,921 in the illustrated arrangement are configured to direct the staple tips inwardly toward thestaple base 130.Leg 901 andtip 910 are configured to be shaped in direction P2. Theleg 902 andtip 920 are configured to be shaped in a direction D2. The directions P2, D2 are transverse. Other embodiments are contemplated in which the directions P2, D2 direct the corresponding staple legs and tines away from the staple base or outwardly.
FIG. 22 shows yet another arrangement of the staple pockets 911,921 discussed above. The staple pockets 911,921 in the illustrated arrangement are configured to enable the corresponding staple legs 901,902 and pointed ends 910,920 to be formed in opposite directions, with one of thestaple legs 902 directed toward thestaple base 930 and one of thestaple legs 901 directed away from thestaple base 930.Leg 901 andtip 910 are configured to be shaped in direction P3. Theleg 902 andtip 920 are configured to be shaped in a direction D3. The directions P3, D3 are at least substantially parallel. Other embodiments are envisaged in which the directions P3, D3 are not parallel.
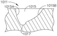
Fig. 23 and 24 illustrate another embodiment of forming pockets including formingpocket 1011,1021 configured to deform astaple 900. The shapedpockets 1011,1021 have an ear shape that provides nesting pockets. This type of arrangement can save space on the staple forming surface of the anvil, allowing for more staple pockets and, therefore, more staples in the staple cartridge in a smaller amount of space. The formingpocket 1011 includes a formingchannel surface 1017 configured to receive acorresponding tip 910 and cause thetip 910 to form in the bending direction P4. As shown in fig. 24, shapeddimple 1011 includes a first valley,curved surface 1015A and a second valley,curved surface 1015B that are configured to funnel or capturespike tip 910 with slight misalignment during contact. Upon ejection from its staple cavity,staple 900,staple leg 901, and/orstaple tip 910 can be driven off-target relative to formingchannel surface 917. The valley surfaces allow some longitudinal and lateral rotation of the nail. Although shown as a concave surface, the valley surface may be convex or flat, for example.
The formingpocket 1021 includes a formingchannel surface 1027 configured to receive acorresponding tip 920 of thestaple 900 and to cause thetip 920 to form in direction D4. FIG. 23 illustrates the formation of staple legs 901,902 toward one another, wherein onestaple leg 901 is formed away fromstaple base 930 and the otherstaple leg 902 is formed towardstaple base 930. Other embodiments are contemplated in which directions P4, D4 direct corresponding legs 901,902 in opposite directions but outwardly with respect to each other. The formingpocket 1021 includes a first valley,curved surface 1025A and a second valley,curved surface 1025B that are configured to funnel or capture thetip 920 of the staple 900 with slight misalignment before and/or during contact.
Fig. 25 illustrates yet another embodiment of forming pockets comprising anvil forming pockets 1111,1121 configured to deform corresponding staple legs 901,902 and tips 910,920 towardstaple base 930. The forming pockets 1111,1121 are trapezoidal in shape and can nest with other similar forming pockets, thereby using less space on the forming surface of the anvil. Forming pockets 1111,1121 are configured to form legs 901,902 and tines 910,920 in directions P5, D5, respectively.
Fig. 26 illustrates yet another embodiment of forming pockets comprisinganvil forming pockets 1211,1221 configured to deform corresponding staple legs 901,902 and tips 910,920 in directions P6, D6, respectively. The forming pockets 1111,1121 are triangular in shape and can nest with one another, thereby providing an even more compact arrangement of forming pockets on the anvil of the surgical stapling instrument.
Referring now to fig. 27-27B,staple leg 1300 is shown.Leg 1300 includes a substantially circular spike tip and has a substantially square leg and aleg body portion 1301. Thelegs 1300 include hardened corners formed using a coining process, for example, in which thecorners 1303A, 1303B, 1303C, and 1303D are rounded to form preferential bending planes. In other words, thestaple legs 1300 have a cross-sectional profile configured to promote bending of thestaple legs 1300 in a particular direction due to corner hardening upon contact with the anvil. The hardness of thecorners 1303A, 1303B, 1303C, and 1303D can vary from one corner to the next, or they can include two corners having a first hardness and two other corners having a second hardness.Corners 1303A, 1303B, 1303C, and 1303D can be coined to provide different radial profiles on the same staple leg. For example,corner 1303A includes a radial profile having a radius RARadius R greater than the radial profile ofcorner 1303B shown in FIG. 27BB
Any suitable device may be used to harden portions of the staples disclosed herein at various times in the manufacturing process. For example, the hardening process may include, for example, gold stamping, chemical vapor deposition, physical vapor deposition, laser surface treatment, thermal oxidation, ion nitriding, and/or solid state diffusion. The other parts of the nail are prevented from hardening by these processes. Other portions of the nail may be locally annealed, such as the nail tip. Increasing the stiffness of certain regions may increase the force required to deform the staples after they have assumed the fired configuration.
FIGS. 28-28C illustrate astaple 1400 and asled 1460 according to at least one embodiment.Staple 1400 includeslegs 1410,1420, astaple base portion 1430 from whichlegs 1410,1420 extend, adrive surface 1432, and abottom surface 1431. Thestaple legs 1410,1420 extend from thestaple base portion 1430 in a plane that is parallel and offset relative to the plane defined by thestaple base portion 1430.Staples 1400 are stamped from progressive die usingbase strip 1450 andconnector portions 1451. Although only asingle staple 1400 is shown,multiple staples 1400 are attached tobase strip 1450.Connector portion 1451 connects staples 1400 (specifically, staple base portion 1430) tobase strip 1450.Connector portion 1451 includes a break or notch 1453 configured to allow separation of staple 1400 fromstrip 1450. In at least one instance, theslide 1460 includes a release orstrike portion 1461.Release portion 1461 ofsled 1460 is configured to engage break-upportion 1453 orconnector portion 1451 to separate, break and/orshear staples 1400 frombase strip 1450 and allow the staples to be ejected from their staple cavities bysled 1460.
Embodiments are contemplated in whichbase strip 1450 includes alignment features (such as holes), for example, that engage corresponding alignment features on the staple cartridge. Such alignment features may include, for example, protrusions that align with alignment features ofbase strip 1450. In various instances, a person loading staples into the cartridge can align the staples with the staple cavities and/or align these alignment features prior to pushing the staples into the staple cavities. Certain embodiments are contemplated in which the staple cartridge includes engagement features configured to engage thebreak 1453 when the strip assembly is loaded into the staple cartridge. These engagement features allowstaples 1400 to be separated fromstrip 1450 whenstaples 1400 are loaded into the staple cartridge, rather than whenstaples 1400 are fired. The use of progressive die stamping to manufacture staples can allow for staples having different crown sizes, shapes, and/or configurations and leg sizes, shapes, and/or configurations. Another advantage of using progressive die stamping techniques may include the ability to vary the pitch of the rows of staples upon which the staples are arranged.
Fig. 29 and 30 show another embodiment of astrip 1500 ofstaples 1501 stamped using progressive dies. Thestrip 1500 ofstaples 1501 includes abase strip 1550, aconnector portion 1551, andstaples 1501. Eachstaple 1501 includes, first, astaple base portion 1530 having abottom surface 1531, and, second,staple legs 1510 extending fromstaple base portion 1530. Theconnector portion 1551 attaches thebottom surface 1531 of thestaple base portion 1530 to thebase strip 1550. The staple legs are bent upward from thestaple base portion 1530 such that thelegs 1510 lie in a plane that is offset from and at least substantially parallel to the plane defined by thestaple base portion 1530. In the illustrated embodiment, thestaple legs 1510 are bent in a direction opposite to theconnector portion 1551. Bending thelegs 1510 andconnector portions 1551 in this manner may allow for a more dense staple line arrangement. Theconnector portion 1551 may include an interruption portion configured to release thestaples 1501 from thebase strip 1550 when thestaples 1501 are loaded into the staple cartridge and/or thestaples 1501 are fired from the staple cartridge, as discussed in previous embodiments.
Fig. 31 illustrates a cross-sectional view of a portion of a plurality ofstaples 1601 and astaple cartridge 1650 in accordance with at least one embodiment.Staples 1601 are removably stored withincorresponding staple cavities 1651 of thestaple cartridge 1650.Staple cartridge 1650 includes adeck surface 1653 and staple leg supports 1655. Thestaple 1601 includes firststaple legs 1610 each having astaple tip 1611 and secondstaple base portions 1630 from which thestaple legs 1610 extend. Eachstaple 1601 has a preloaded configuration, a loaded configuration, and a fired configuration in which thestaple 1601 is ejected from thestaple cartridge 1650 and formed against a corresponding forming pocket of the anvil. Thestaple legs 1610 flex outwardly relative to thestaple base portion 1630 in the preloaded configuration. Thestaple legs 1610 are biased against the side walls of thecorresponding staple cavities 1651 in the loaded configuration and define a first distance X between the pointed ends 1611 of thestaple legs 1610. In the pre-loaded configuration, the distance between thestaple tips 1611 of thestaple legs 1610 is greater than X. This biasing force helps to support thestaples 1601 in thestaple cartridge 1650.
Thestaple cartridge 2000 is shown in FIGS. 32-34. Thestaple cartridge assembly 2000 comprises acartridge body 2010. Thecartridge body 2010 can be positioned in and removed from the jaws of a surgical stapling instrument. Thus, thestaple cartridge 2000 is replaceable; however, other embodiments are contemplated in which thestaple cartridge 2000 is not replaceable. Thecartridge body 2010 includes aproximal end 2011, adistal end 2012, and adeck 2014 extending between theproximal end 2011 and thedistal end 2012.Deck 2014 is configured to support patient tissue as it is pressed againstdeck 2014.
Thecartridge body 2010 also includes a plurality ofstaple cavities 2020 defined therein. Thestaple cavities 2020 are arranged in six longitudinal rows extending between theproximal end 2011 and thedistal end 2012; however, any suitable arrangement ofstaple cavities 2020 can be utilized. Staples, such as staple 2130 (fig. 40), for example, are removably stored in eachstaple cavity 2020. As discussed in more detail below, the firing member ejects staples from thestaple cavities 2020 as the firing member moves from theproximal end 2011 toward thedistal end 2012 of thecartridge body 2010.
In addition to the above, a firing member moves staples from an unfired position to a fired position. The firing member lifts the staples toward an anvil, such as anvil 2190 (fig. 37), for example, to deform the staples between an unfired, undeformed configuration and a fired, deformed configuration. Thecartridge body 2010 also includes alongitudinal slot 2013 defined therein. Theslots 2013 are configured to receive staple firing members and/or tissue cutting members therein as the staples are ejected from thestaple cavities 2020.
In various embodiments, in addition to the above, the staples do not protrude above thedeck 2014 until the firing member moves the staples toward the anvil. Such embodiments may often utilize smaller staples. In other embodiments, the legs of the staples protrude above thedeck 2014 when the staples are in their unfired positions. In at least one such embodiment, thecartridge body 2010 also includes aprojection 2050 that extends from thedeck 2014. Theprojections 2050 extend thestaple cavities 2020 above thedeck 2014 and guide the staples toward the anvil as they are ejected from thestaple cartridge 2000. In such embodiments, the staples may not extend over theprojections 2050 until the firing member moves the staples toward the anvil.
Referring primarily to fig. 34, theprojections 2050 do not extend around thecomplete staple cavity 2020. Afirst tab 2050 is positioned adjacent a first end of eachcavity 2020, and asecond tab 2050 is positioned adjacent a second end of eachcavity 2020. Eachfirst protrusion 2050 extends around afirst leg guide 2022 of thestaple cavity 2020, and eachsecond protrusion 2050 extends around asecond leg guide 2023 of thestaple cavity 2020. Eachfirst protrusion 2050 provides a proximal cradle that can control and guide the proximal leg of the staple, and eachsecond protrusion 2050 provides a distal cradle that can control and guide the distal leg of the staple. Thefirst tab 2050 of eachstaple cavity 2020 is not symmetrical with respect to the first end of thestaple cavity 2020 and does not extend around the entire first end of thecavity 2020. Similarly, thesecond projections 2050 of eachstaple cavity 2020 are not symmetrical with respect to the second end of thestaple cavity 2020 and do not extend around the entire second end of thecavity 2020. The first andsecond projections 2050, 2050 constitute mirror images of each other and are arranged symmetrically with respect to the center of eachstaple cavity 2020; however, any suitable arrangement of projections may be utilized.
As shown in fig. 32-34, thecartridge body 2010 includes a step 2014' and astep 2014 "extending upwardly from thedeck 2014. More specifically, step 2014 'extends upwardly fromdeck 2014, and step 2014 "extends upwardly from step 2014'. Thus,step 2014 "may apply a greater compressive pressure to tissue than step 2014 ', and similarly, step 2014' may apply a greater compressive pressure to tissue thandeck 2014.Steps 2014' and 2014 "comprise staggered longitudinal terraces; however, steps 2014' and 2014 "may have any suitable configuration. Further, in addition to the above,projections 2050 extending fromstep 2014 "extendabove projections 2050 extending from step 2014 ', and similarly,projections 2050 extending from step 2014' extend aboveprojections 2050 extending fromdeck 2014. In other words,projections 2050 extending fromdeck 2014, step 2014', and step 2014 "are staggered.
Astaple cartridge 2100 is shown in FIGS. 35-38. Thestaple cartridge assembly 2100 includes acartridge body 2110 and is similar in many respects to thestaple cartridge assembly 2000 and/or other staple cartridges disclosed herein. Thecartridge body 2110 includes adeck 2114, a plurality of staple cavities 2120a and a plurality ofstaple cavities 2120 b. Staple cavity 2120a is similar in many respects tostaple cavity 2120 b. For example,staple cavities 2120a and 2120b each include acentral slot 2121 having a proximal end and a distal end, a proximalstaple leg guide 2122 extending laterally from the proximal end ofcentral slot 2121, and a distalstaple leg guide 2123 extending laterally from the distal end ofcentral slot 2121. That is, staple cavities 2120a andstaple cavities 2120b are oriented in different directions. More specifically, leg guides 2122,2123 of staple cavity 2120a extend towardstaple cavity 2120b, and similarly leg guides 2122,2123 ofstaple cavity 2120b extend toward staple cavity 2120 a; however, any suitable arrangement may be utilized.
A staple 2130a is positioned in each staple cavity 2120a and astaple 2130b is positioned in eachstaple cavity 2120 b. Thepegs 2130a and 2130b are similar in many respects. For example, each staple 2130a includes a base orcrown 2131, aproximal leg 2132 extending from a proximal end of thebase 2131, and adistal leg 2133 extending from a distal end of thebase 2131. That is, thestaples 2130a,2130b can fit within thestaple cavities 2120a,2120b, respectively, in a manner. For example, when staple 2130a is positioned in staple cavity 2120a and staple 2130b is positioned instaple cavity 2120b,legs 2132,2133 ofstaple 2130a extend toward staple 2130b andlegs 2132,2133 of staple 2130b extend toward staple 2130 a; however, other arrangements are possible.
In addition to the above, whenstaples 2130a,2130b are stored instaple cavities 2120a,2120b, respectively,proximal leg portions 2132 ofstaples 2130a,2130b are positioned within staple leg guides 2122. Similarly, whenstaples 2130a,2130b are stored instaple cavities 2120a,2120b, respectively,distal legs 2133 ofstaples 2130a,2130b are positioned within staple leg guides 2123. Further, whenstaples 2130a,2130b are stored instaple cavities 2120a,2120b, respectively,bases 2131 ofstaples 2130a,2130b are positioned incentral slot 2121 ofstaple cavity 2120. Referring primarily to fig. 35, when thestaples 2130a,2130b are in their unfired positions, the tips of thestaple legs 2132,2133 extend above thedeck 2114 of thecartridge body 2110. That is, the tips of thestaple legs 2132 are at least partially surrounded by aproximal protrusion 2152 extending from thedeck 2114, and the tips of thestaple legs 2133 are at least partially surrounded by adistal protrusion 2153 extending from thedeck 2114. Theproximal tabs 2152 extend around theproximal leg guide 2122, but they do not extend around the proximal end of thecentral slot 2121. Similarly, thedistal tabs 2153 extend around thedistal leg guide 2123, but they do not extend around the distal end of thecentral slot 2121.
Turning now to fig. 38, eachproximal tab 2152 includes afirst portion 2154 that extends around the proximal side of theproximal guide slot 2122 and asecond portion 2155 that extends around the side of theproximal guide slot 2122. Theproximal protrusion 2152 does not extend around the distal side of theproximal guide slot 2122; however, it is contemplated that in alternative embodiments, theproximal tab 2152 can extend around the distal side of the proximal guide slot. Similarly, eachdistal tab 2153 includes a first portion that extends around the distal side of thedistal guide slot 2123 and a second portion that extends around the side of thedistal guide slot 2123. Thedistal protrusion 2153 does not extend around the proximal side of thedistal guide slot 2123; however, it is contemplated that in alternative embodiments, thedistal tab 2153 can extend around the proximal side of the distal guide slot. In any event, the arrangement shown in fig. 38 protects thestaple legs 2132,2133 when thestaples 2130a,2130b are in their unfired positions, and additionally guides thestaples 2130a,2130b as they are fired. This arrangement also suitably controls the flow of tissue relative to thedeck 2114 of thecartridge body 2110.
Referring again to fig. 38, staple cavities 2120a andstaples 2130a are sized and configured to provide a void space betweenstaples 2130a and staple cavities 2120 a. For example, there is avoid space 2156 between theproximal leg 2132 of the staple 2130b and the proximal sidewall of theproximal guide slot 2122, and similarly, avoid space 2158 between theproximal leg 2132 of the staple 2130b and the distal sidewall of theproximal guide slot 2122. Additionally, there is avoid space 2157 between the sides of theproximal leg 2132 and the lateral side walls of theproximal guide slot 2122. A similar gap can be found between thedistal leg 2133 and thedistal guide slot 2123. Lateralvoid spaces 2126,2127 may also be provided between thebase 2131 of thepeg 2130b and the sides of thecentral slot 2121. Nonetheless, such a void space may be short and the staples may contact one or more of the sidewalls.
Astaple cartridge 2200 is shown in fig. 43.Staple cartridge 2200 is similar in many respects tostaple cartridge 2000,2100 and other staple cartridges disclosed herein. Thestaple cartridge 2200 includes acartridge body 2210 that includesstaple cavities 2220 defined therein. Eachstaple cavity 2220 has, for example, a staple, such asstaple 2130, removably stored therein. Eachstaple cavity 2220 includes afirst guide slot 2222 configured to guide thelegs 2132 of astaple 2130, asecond guide slot 2223 configured to guide thelegs 2133 of astaple 2130, and acentral slot 2221. Theguide slots 2222 and 2223 extend laterally from thecentral slot 2221, and thecentral slot 2221 includes amedial guide 2225 configured to guide thebase 2131 of thestaple 2130. Thefirst guide slot 2222 is sized and configured such that thestaple leg 2132 is closely received in a corner of thefirst guide slot 2222. Similarly, thesecond guide slots 2223 are sized and configured such that thestaple legs 2133 are closely received in the corners of thesecond guide slots 2223. The mid-guide 2225 is sized and configured to limit lateral movement of thestaples 2130 within thestaple cavities 2220. In addition, themid guide 2225 is sized and configured to retain thestaple legs 2132 and 2133 in theleg guide slots 2222 and 2223, respectively.
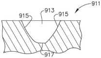
As discussed above, themid guide 2225 is sized and configured to seat thestaple legs 2132 and 2133 against the side walls of theguide slots 2222 and 2223, respectively. This arrangement produces a lateral reaction force (indicated in fig. 43 as force vector LT) between the lateral sidewalls of thecavity 2220 and thestaple 2130. Such lateral reaction forces create friction between the sidewalls of thecavity 2220 and thestaples 2130 as thestaples 2130 are ejected from thecavity 2220. It should be appreciated that the frictional force varies with the surface area over which the frictional force is applied, and therefore, theintermediate guide 2225 does not extend along the entire length of thecentral slot 2221. That is, themid guide 2225 has a longitudinal length sufficient to control the orientation of thestaples 2130 within thecavity 2220. In addition, themid guide 2225 has a vertical length sufficient to control the orientation of thestaples 2130 during the firing stroke of thestaples 2130. In at least one instance,guide 2225 extends along the entire vertical depth ofcavity 2220.
Themid guide 2225 is flat and is configured to interface with flat surfaces defined on the sides of thebase 2131 of thestaples 2130; however, any suitable arrangement may be utilized. In certain alternative embodiments, themiddle guide 2225 includes a resilient biasing member configured to apply a lateral biasing force, for example, to thebase 2131 of thestaples 2130. In at least one instance, the resilient biasing member can comprise, for example, a cantilever spring.
Thestaple cavities 2220 do not include lateral guides positioned opposite the lateral medial guides 2225. In fact, there areinterstitial spaces 2229 between thelateral side walls 2228 and thestaples 2130.
In addition to the above, referring again to fig. 43, thestaples 2130 are not positioned in the ends of thecentral slot 2221. More specifically, thecentral slot 2221 of thecavity 2220 includes aproximal end 2226 and adistal end 2227, and thestaples 2130 do not extend into theproximal end 2226 or thedistal end 2227. Instead, there is a void space between theend 2226,2227 and thepeg 2130. Such a clearance space extends betweenend 2226,2227 andintermediate guide 2225. Thus, theends 2226,2227 of thestaple cavities 2220 do not control the longitudinal position of thestaples 2130. Instead, the leg guides 2222,2223 control the longitudinal position of thestaples 2130. In fact, theleg portions 2132 and 2133 of the staple 2130 can be biased inwardly by the leg guides 2222 and 2223, respectively. This arrangement generates a longitudinal reaction force (indicated as force vector LG in fig. 43).
As a result of the above, thestaple cavities 2220 include three control points or positions in which thestaple cavities 2220 control the orientation of thestaples 2130. The control points include discrete control locations defining interstitial spaces therebetween. In other words, theguides 2222,2223, and 2225 triangulate the control of thestaples 2130. Alternative embodiments including more than three control points are contemplated. In any event, the control points provided by the leg guides 2222 and 2223 are defined in a first control plane. The intermediate control points provided by theintermediate guide 2225 are defined in a second control plane. The first control plane is parallel to the second control plane; however, alternative embodiments are envisaged in which the first control plane is not parallel to the second control plane. Further, the first control plane is aligned with or adjacent to thestaple legs 2132 and 2133 of thestaple 2130 and the second control plane is aligned with or adjacent to thebase 2131 of thestaple 2130.
Astaple cartridge 2700 is shown in fig. 65. Thestaple cartridge 2700 includes acartridge body 2710 that includes adeck 2714 and a plurality ofstaple cavities 2220 defined in thedeck 2714. Similar to thecartridge body 2110, thecartridge body 2710 includestabs 2752 and 2753 which extend above thedeck 2714. Theprojections 2752 at least partially surround theleg guide 2222 of thestaple cavity 2220, and theprojections 2753 at least partially surround theleg guide 2223 of thestaple cavity 2220. Similar totabs 2152,2153,tabs 2752,2753 each include anouter portion 2754 and alateral portion 2755. Theouter portion 2754 is longitudinally positioned relative to the leg guides 2222 and 2223, while thelateral portion 2755 is laterally positioned relative to the leg guides 2222 and 2223. Unlike thetabs 2152,2153, thetabs 2752,2753 each include aninner portion 2756 that is longitudinally positioned relative to the leg guides 2222 and 2223. Theinner portion 2756 is connected to thelateral portion 2755, and thelateral portion 2755 is connected to theouter portion 2754. Similar to the above, thetabs 2752,2753 extend thestaple cavities 2220 above thedeck 2714.
Astaple cartridge 2800 is shown in FIG. 66. Thestaple cartridge 2800 includes acartridge body 2810 that includes adeck 2814 and a plurality ofstaple cavities 2220 defined in thedeck 2814. Similar to thecartridge body 2110, thecartridge body 2810 includes atab 2152,2153 extending above thedeck 2114. As outlined above, theprojections 2152 at least partially surround theleg guide 2222 of thestaple cavity 2220, and theprojections 2753 at least partially surround theleg guide 2223 of thestaple cavity 2220. In addition, thecartridge body 2810 includesinternal projections 2856 that are positioned longitudinally relative to the leg guides 2222 and 2223. Theinner protrusion 2856 is not connected to theprotrusion 2152,2153.
Referring again to fig. 35, thestaples 2130 are driven between an unfired position and a fired position by a firing member, such assled 2140. Thesled 2140 includeswedges 2145 configured to directly engage thestaples 2130 and lift thestaples 2130 toward an anvil, such asanvil 2190, as shown, for example, in fig. 37. Theslide 2140 includes awedge 2145 for each longitudinal row ofstaples 2130; however, theslide 2140 may have any suitable number ofwedges 2145. Eachwedge 2145 includes anangled drive surface 2141 that slides under thestaples 2130 as thesled 2140 advances from the proximal end of thestaple cartridge 2100 toward the distal end of thestaple cartridge 2100. Thebase portion 2131 of each staple 2130 includes anangled drive surface 2135 that is in direct contact with thedrive surface 2141. In other words, each staple 2130 includes its own integrally formed driver with adrive surface 2135. Thenail 2130 is made of metal, and therefore the driver formed integrally is also made of metal. That is, the staples disclosed herein may be constructed of any suitable material.
In addition to the above, eachdrive surface 2141 includes an initial ordistal portion 2142, a second orintermediate portion 2143, and a third orapex portion 2144. Theinitiation portion 2142 extends at a first angle and provides an initial contact point for thesled 2140 against thestaple 2130 as thesled 2140 moves distally. As theinitial portion 2142 slides under thestaples 2130, thestaples 2130 lift upward within thestaple cavities 2120. As thesled 2140 continues to move distally, themiddle portion 2143 comes into contact with thepeg 2130. Themiddle portion 2143 extends at a second angle different from the first angle. The first angle may be steeper than the second angle when rapid initial upward displacement of thenail 2130 is desired, and the first angle may be shallower than the second angle when it is desired to provide gradual initial upward displacement of thenail 2130. In either case, as thestaples 2130 are lifted upward by themiddle portion 2143, thestaples 2130 contact theanvil 2190, as shown in fig. 37; however, alternative embodiments are contemplated in which thestaples 2130 contact theanvil 2190 as thestaples 2130 are lifted upward by theinitiator portions 2142. In either case, theproximal legs 2132 of thestaples 2130 contactproximal forming pockets 2192 defined in theanvil 2190 and thedistal legs 2133 contact distal formingpockets 2193 defined in theanvil 2190. The shapedpockets 2192 and 2193 are configured to bend thelegs 2132 and 2133 inward, thereby deforming thestaples 2130 and capturing the patient's tissue within thestaples 2130. Theapex 2144 of thedrive surface 2141 slides under thestaple 2130 to complete the forming process. The apex 2144 may include a highest point of thedrive surface 2141, a flat surface, and/or a surface extending at a third angle different from the first angle and/or the second angle.
In various instances, eachdrive surface 2141 may include an apex 2144 trailing thedrive surface 2141 or a portion positioned proximal to the apex. This trailing portion may be, for example, belowvertex 2144. Further, this trailing portion can provide a gradual reduction in forming pressure in, for example, thenail 2130.
Turning now to fig. 39, thestaple 2130 also includes afoot 2134 that extends downwardly from theproximal leg 2132. When thestaple 2130 is in its proper orientation in itsstaple cavity 2120, as shown in fig. 41, thefoot 2134 is not in contact with theslider 2140. In such cases, thealignment plateau 2146 of theslide 2140 passes under thefoot 2134. When thestaples 2130 are not in their proper orientation in theirstaple cavities 2120, as shown in fig. 42, thegliders 2140 may contact thestaples 2130 and reorient thestaples 2130. For purposes of comparison, an incorrectly orientedstaple 2130 and a correctly oriented staple 2130' are shown in fig. 42. Theslide 2140 includes an angledalignment slide 2148 configured to contact thefoot 2134 and rotate the staple 2130 into a correct orientation. After thealignment runners 2148 have properly oriented thepins 2130, thealignment platform 2146 may be slid under thefeet 2134. As can be appreciated from fig. 39, thealignment runners 2148, the alignment lands 2146, and thefeet 2134 are arranged in an alignment plane that is aligned with the forming plane of thelegs 2132 and 2133 of thestaple 2130. The alignment plane is adjacent to the lifting plane, which includes the formingsurface 2141 of theslide 2140 and thebase 2131 of thenail 2130.
Astaple cartridge assembly 2300 is illustrated in FIGS. 44-48. Thestaple cartridge assembly 2300 is similar in many respects tostaple cartridge 2000,2100,2200 and other staple cartridges disclosed herein. Thestaple cartridge 2300 includes acartridge body 2310 and asled 2340 configured to eject the staples removably stored in thecartridge body 2310. Similar to slide 2140,slide 2340 includes astaple forming slide 2145. Therunners 2145 are slidably positioned inlongitudinal slots 2115 defined in thecartridge body 2110 that are aligned with the lift portions or planes of the staples. Notably, as discussed in greater detail below, theslots 2115 have open ends defined in thebottom 2316 of thecartridge body 2310.
In addition to the above, thestaple cartridge assembly 2300 does not include a cover that extends around thebottom 2316 of thecartridge body 2310. Referring primarily to fig. 48, thecartridge body 2310 rests directly against thejaws 2180 of the stapling instrument. In embodiments where the staple cartridge is not easily removable from the jaws of the stapling instrument and not easily replaceable with another staple cartridge, the lack of bottom cover is not necessarily problematic becausejaw 2180 can prevent staples from falling out of the bottom ofstaple cavities 2120 and/or can preventsled 2340 from falling out of the bottom oflongitudinal slot 2115. However, thestaple cartridge assembly 2300 is replaceable, and even if it does not include a bottom cover, thestaple cartridge assembly 2300 includes features that prevent the staples andsled 2340 from falling out of thebottom 2316 of thecartridge body 2310, as will be described in more detail further below. Such features may be suitable for any of the staple cartridges disclosed herein.
45-47, thecartridge body 2310 includes retention features configured to retain theslider 2340 therein. For example, thecartridge body 2310 includes proximal retention features 2317 that are configured to retain thesled 2340 in thelongitudinal slot 2115 when thesled 2340 is in its proximal or unfired position. Thesled 2340 is in its unfired position when thestaple cartridge assembly 2300 is inserted or loaded into thejaws 2180, and thus theproximal retention feature 2317 retains thesled 2340 in thecartridge body 2310 when the clinician is operating thecartridge assembly 2300. Eachretention feature 2317 includes anangled surface 2318 and ashoulder 2319. Eachslider 2340 includes acorresponding recess 2348 configured to receiveangled surface 2318, and additionally includes acorresponding shoulder 2349 that may align with and/orcontact shoulder 2319 ofretention feature 2317. When theslider 2340 is inserted into theslot 2115, see fig. 46, therunners 2145 and/or the side walls of thecartridge 2310 can flex to allow theslider 2340 to slide relative to the angled surfaces and then resiliently snap back to its original position, as shown in fig. 45, once theshoulders 2349 of theslider 2340 have become aligned with theshoulders 2319 of thecartridge body 2310. Theretention feature 2317 is also configured to prevent theslider 2340 from sliding proximally out of thelongitudinal slot 2115.
As a result of the above, theproximal retention feature 2317 prevents thesled 2340 from falling out of thecartridge body 2310 while the clinician is operating thestaple cartridge assembly 2300. When thesled 2340 is advanced distally to fire the staples, thesled 2340 is no longer aligned with theproximal retention feature 2317. However, at this point,cartridge assembly 2300 is already injaw 2180 and the sled retention feature is no longer required. That is, thecartridge body 2310 can include additional retention features that can retain theslider 2340 in thecartridge body 2310 regardless of the position of theslider 2340. Such retention features can be configured to retain thesled 2340 in thecartridge body 2310, for example, when thesled 2340 is in its distal or fully fired position.
In addition to the above, the staples of the staple cartridges disclosed herein can comprise one or more features configured to retain the staples in the staple cavities of the staple cartridge. Turning now to fig. 49 and 50, thestaple 2330 includes abase 2331 and one or morestaple legs 2332 extending from thebase 2331. For example, thestaples 2330 are removably stored instaple cavities 2320 in thecartridge body 2310. Thebase 2331 includes aprotrusion 2338 extending therefrom that engages a sidewall of thestaple cavity 2320. The interaction between theprotrusions 2338 and the staple cavity sidewalls prevents thestaples 2330 from falling out of thebottom 2316 of thecartridge body 2310. The interaction between theprotrusions 2338 and the staple cavity sidewalls includes an interference fit; however, such an interference fit does not prevent theslider 2340 from ejecting thenail 2330 from thenail cavity 2320. Theprotrusions 2338 can be formed in thebase 2331, for example, during a stamping process. The stamping process can form theprotrusions 2338 by creatingindentations 2337 on opposite sides of thebase 2331. Thestaple cavity 2320 includes avertical groove 2328 that aligns with theprotrusion 2338. Thechannel 2328 increases the contact area between the sidewall of thestaple cavity 2320 and theprotrusion 2338. Additionally, thechannel 2328 can control the orientation of thestaple 2330 within thestaple cavity 2320. Alternative embodiments that do not include thetrench 2328 are contemplated.
In addition to or in lieu of the foregoing, staples stored in the staple cartridges disclosed herein may include staple legs that resiliently engage the sidewalls of their staple cavities. Turning now to fig. 51, the staple 2430 can include abase 2431 andstaple legs 2432 and 2433 extending from thebase 2431. Staple 2430 is similar in many respects to staple 2130,2330 and/or other staples disclosed herein.Staple cartridge body 2410 can, for example, include a plurality ofstaple cavities 2120 defined therein and a staple 2430 positioned in eachstaple cavity 2120. Fig. 51 shows staples 2430 positioned inside thecavities 2120 and staples 2430 positioned outside thestaple cavities 2120 of the cartridge body 2430. When staples 2430 are not positioned instaple cavities 2120,staple legs 2432,2433 do not extend in a parallel direction; rather, they extend outwardly away from each other. When staples 2430 are positioned instaple cavities 2120, they flex inward under the action of the sidewalls ofstaple cavities 2120. In other words, thestaple legs 2432,2433 are resiliently biased against the sidewalls of the staple cavities and, as a result of this biasing engagement, the staples 2430 are prevented from falling out of thebottom 2436 of thecartridge body 2410. As shown in fig. 51, the distance betweenstaple legs 2432,2433 is X when staple 2130 is positioned instaple cavity 2120, and the distance betweenstaple legs 2432,2433 is greater than X when staple 2130 is not positioned in a staple cavity.
In various embodiments, the cartridge body can comprise one or more shoulders configured to inhibit staples stored therein from falling out of the bottom of the cartridge body. These shoulders may extend at least partially underneath the nail.
In certain embodiments, the cartridge body of the staple cartridge assembly can be comprised of plastic and can be formed, for example, during an injection molding process. The injection mold may comprise two halves movable towards and away from each other. The joint between injection mold halves is commonly referred to as a parting line, and flash or seepage of plastic between the mold halves can often occur at the parting line. In at least one embodiment, a parting line of an injection mold can be defined at a junction between a deck of a staple cartridge and a staple cavity defined in the deck. As a result of the above, plastic flash can occur around the periphery of the nail cavity. Such flashing may releasably retain the staples in the staple cartridge.
Referring again to fig. 48, thecartridge body 2310 is configured to directly engage thejaws 2180. Thejaws 2180 include one ormore retaining shoulders 2315 defined therein. Thecartridge body 2310 includes correspondingretention shoulders 2187 that cooperate with theretention shoulders 2315 to releasably retain thecartridge body 2310 in thejaws 2180. Thecartridge body 2310 and/or thejaws 2180 further compriseramp surfaces 2314 that are configured to facilitate insertion of thecartridge body 2310 into thejaws 2180. As a result of the above, thecartridge body 2310 can have a snap-fit relationship with thejaws 2180. This snap fit relationship can be overcome by prying thecartridge body 2310 out of thejaws 2180 such that thecartridge assembly 2300 can be replaced.
In fig. 52-56, apeg 2530 is shown.Staple 2530 is similar in many respects to staple 2130,2330,2340 and/or other staples disclosed herein. Thepeg 2530 includes abase 2531 andlegs 2532 and 2533 extending from thebase 2531. Thepeg 2530 also includes aprojection 2538 extending upwardly from thebase 2531. Theprojections 2538 are aligned with the staple driving plane comprising thebase 2531 and are not aligned with the tissue capture plane comprising thestaple legs 2532 and 2533. Theprojections 2538 can compress tissue outside of the staple capture plane.
Astaple cartridge assembly 2600 is illustrated in FIGS. 57-64. Thestaple cartridge 2600 comprises acartridge body 2610 that includes a plurality ofstaple cavities 2220 defined therein. Thestaple cartridge 2600 further includesstaples 2530 positioned within eachstaple cavity 2220 and asled 2640 configured to eject thestaples 2530 from thestaple cavities 2220.Slider 2640 is similar in many respects toslider 2140. Eachslide 2640 includes a plurality oframps 2645, wherein eachramp 2645 includes adrive surface 2641 configured to slide under thestaples 2530 and lift thestaples 2530 within thestaple cavities 2220. Eachdrive surface 2641 includes a rampedsurface 2643 bounded bylateral sidewalls 2649 that define guide channels that align thestaples 2530 relative to the drive surfaces 2641 and/or thestaple cavities 2220. The guide channels are configured to receive thebases 2531 of thestaples 2530 between thesidewalls 2649 and orient thestaples 2530 laterally as theslider 2640 is advanced distally. This lateral realignment is apparent when comparing fig. 58 and 59. Referring again to fig. 52-56, each staple 2530 includes aguide feature 2139 defined on itsbase 2531. The guide features 2139 of each staple 2530 include, for example, curved ends configured to interact with thelateral sidewalls 2649 of the guide channel and adjust the lateral position of thestaple 2530. In various other embodiments, the guide features 2139 can comprise any suitable configuration.
In addition to or in lieu of the above, referring primarily to fig. 60, theslides 2640 includeguide channels 2646 that are configured to receive the downwardly dependingfeet 2134 of thestaples 2530 and orient thestaples 2530 relative to thedrive surface 2641 and/or thestaple cavities 2220. Eachguide channel 2646 includes aslide portion 2648 and lateral sidewalls. Theguide channels 2646 are configured to receive thebases 2531 of thestaples 2530 between the sidewalls of thechannels 2646 and orient thestaples 2530 laterally as theslider 2640 is advanced distally. Referring primarily to fig. 61, eachfoot 2134 includes a lead-in or chamferedsurface 2137 configured to interact with the sidewalls of thechannel 2646 to guide thestaple 2530 into thechannel 2646. That is, thefoot 2134 may have any suitable geometry that facilitates entry of the staple 2530 into thechannel 2646. The reader should appreciate that as the drive surfaces 2641 drive thestaples 2530 downward within thestaple cavities 2220, thefeet 2134 of thestaples 2530 are lifted out of thechannels 2646. By the time theapex 2644 of thedrive surface 2641 forms thestaple 2530, thefoot 2134 is no longer positioned in thechannel 2646.
Referring primarily to fig. 58, 59, and 64, thechannel 2646 can also align theslider 2640 relative to thecartridge body 2610. More specifically, thecartridge body 2610 also includeslongitudinal rails 2616 that extend downwardly into thechannel 2646. Theguide rail 2616 is closely received in thechannel 2646 to limit or prevent lateral movement between theslider 2640 and thecartridge body 2610 while allowing the longitudinal movement of theslider 2640 required to fire thestaples 2530 as outlined above. Thefoot 2134 of each staple 2530 is configured to properly orient thestaple 2530 within itsstaple cavity 2220 in the event that thestaple 2530 is improperly oriented within thestaple cavity 2220.
The arrangement disclosed herein allows for a more compact staple cartridge than previous staple cartridges. Among other things, the staple cartridges disclosed herein that do not utilize staple drivers between the firing member and the staples (i.e., driverless staple cartridges) allow the staple cartridges to have a shorter overall height. Similarly, staple cartridges that do not include a bottom cover also allow the staple cartridge to have a lower overall height. A driverless staple cartridge may also allow for the use of smaller staple cavities. Turning now to fig. 67 and 68, thecartridge body 2910 includesstaple cavities 2920 andlongitudinal slots 2013 defined therein. Fig. 67 and 68 illustrate thebottom 2916 of thecartridge body 2910 and the bottom openings of thestaple cavities 2920. The reader will appreciate that thestaple cavities 2920 are sized and configured to receive staple drivers to drive staples out of thecartridge body 2910. Turning now to fig. 69 and 70, which illustrate thebottom 2016 of thecartridge body 2010, thestaple cavities 2020 of thecartridge body 2010 are smaller than thestaple cavities 2920. The reader will recall that the driver is not positioned in thestaple cavity 2020, and thus the size of thestaple cavity 2020 may be reduced. Fig. 71 compares thebottom 2916 of thecartridge body 2910 with thebottom 3016 of the alternative embodiment of thecartridge body 3010. As can be seen in fig. 71, thecartridge body 3010 comprises a substantially narrower longitudinal row ofstaple cavities 3020 than the longitudinal row ofstaple cavities 2920. In various circumstances, such narrower staple cavities may allow the centerlines of the longitudinal rows of staple cavities to be closer to one another. Turning now to fig. 72, thestaple cartridge body 3110 includes longitudinal rows ofstaple cavities 3120a, 3120b, and 3120c defined in thedeck 3114 of thecartridge body 3110 that are positioned closer together than would be permitted in embodiments where the staples within the cartridge body are lifted using staple drivers.
Various embodiments of the staple cartridge assemblies disclosed herein can have any suitable number of staples and/or any suitable size of staples. In some instances, all of the staples stored in the cartridge assembly 2000 (fig. 73) have the same, or at least substantially the same, dimensions. Referring to fig. 77, each staple 2130 in thestaple cartridge 2000 includes an overall unformed or unfired height H1 defined between the bottom of thebase 2131 and the tips of thestaple legs 2132, 2133. Similarly, each staple 2130 includes a tissue capture area defined between the top of thebase 2131 and the tips of thestaple legs 2132,2133 that has the same height H2 when thestaple 2130 is in its unformed height.
In contrast to the above, a first group of staples stored in thestaple cartridge 2000 can have a first unformed height H1 and a second group of staples can have a second unformed height H1 that is different from the first unformed height H1. Also in contrast to the above, a first set of staples stored in thestaple cartridge 2000 can have a first tissue capture height H2 and a second set of staples can have a second tissue capture height H2 that is different than the first tissue capture height H2.
A first set of staples can be positioned in first longitudinalrow staple cavities 2120 and a second set of staples can be positioned in second longitudinalrow staple cavities 2120. In at least one instance, the first row ofstaple cavities 2120 can be adjacent to theknife slot 2013 in thestep 2014 "of thecartridge body 2010, while the second row ofstaple cavities 2120 can be adjacent to the first row ofstaple cavities 2120 in the step 2014' of thecartridge body 2010. In at least one such case, the first unformed height H1 is shorter than the second unformed height H1, for example.
In addition to the above, a third group of staples stored in thestaple cartridge 2000 can have a third unformed height H1 that is different from the first unformed height H1 and/or the second unformed height H1. A third set of staples can be positioned in a third longitudinal row ofstaple cavities 2120. In at least one instance, the third row ofstaple cavities 2120 can be adjacent to the second row ofstaple cavities 2120 in thedeck 2014 of thecartridge body 2010. In at least one such case, the second unformed height H1 is shorter than the third unformed height H1, for example. In addition to or in lieu of the above, a third set of staples can have a third tissue capture height H2 that is greater than the second tissue capture height H2.
In various embodiments, the first set of staples, the second set of staples, and/or the third set of staples can be deformed to the same overall formed height. Alternatively, a first set of staples may be deformed to a first formed height, a second set of staples may be deformed to a second formed height, and/or a third set of staples may be deformed to a third formed height. In such cases, the first group of staples may exert a greater pressure on the tissue than the second group of staples, and similarly, the second group of staples may exert a greater pressure on the tissue than the third group of staples.
Turning now to fig. 74-76, staples having the same unformed height can be deformed to different formed heights. For example, a first longitudinal row of staples (represented bystaples 2130 ") may be deformed to a first formed height, a second longitudinal row of staples (represented by staples 2130') may be deformed to a second formed height, and/or a third row of staples (represented by staples 2130) may be deformed to a third formed height. For example, the first forming height is shorter than the second forming height, and the second forming height is shorter than the third forming height. In such cases, the first set of staples may exert a greater pressure on the tissue than the second set of staples, and similarly, the second set of staples may exert a greater pressure than the third set of staples.
Astaple 3230 is shown in fig. 78 and 79. Thestaple 3230 includes a base orcrown 3231, afirst leg 3232 extending from thebase 3231, and asecond leg 3233 extending from thebase 3231. Similar to thebase 2131 of thestaple 2130, thebase 3231 of thestaple 3230 includes an angled drive surface defined in a drive plane. Unlike thestaple 2130, however, thefirst leg 3232 and thesecond leg 3233 define a staple forming plane that is transverse or non-parallel to the drive plane.
Thestaple 3230 also includes aplatform 3238 extending from thebase 3231. Theplatform 3238 is integrally formed with thebase 3231 and folded such that theplatform 3238 extends laterally from thebase 3231. Theplatform 3238 is not directly connected to theleg 3232,3233. In contrast, there is agap 3237 between theplatform 3238 and theleg 3232,3233. In various other embodiments, theplatform 3238 is directly connected to thefirst leg 3232 and/or thesecond leg 3233. Theplatform 3238 extends in a plane transverse to the drive plane and staple forming plane (i.e., the support plane); however, theplatform 3238 may extend in any suitable direction. Theplatform 3238 is flat or at least substantially flat; however, theplatform 3238 may have any suitable shape.
In certain embodiments, theplatform 3238 of the staple 3230 can contact the stapled tissue when thestaple 3230 is implanted in the tissue. Awider platform 3238 may reduce the likelihood ofstaples 3230 tearing in the tissue.
In various embodiments, a staple cartridge assembly comprises a cartridge body comprising a deck and staple cavities defined in the deck. The staple cartridge assembly further includesstaples 3230 removably stored in the staple cavities, in addition to an implantable layer positioned over the deck. The implantable layer may include any suitable adjunct, such as a tissue thickness compensator and/or a buttress material. The tissue thickness compensator can compensate for variations in the thickness of the stapled tissue. The implantable layer can be constructed of, for example, a woven material and/or a nonwoven material.
In addition to the above, theplatforms 3238 of thestaples 3230 can abut the layer when thestaples 3230 are implanted in tissue. In such cases, theplatform 3238 supports the layer. Similar to the above, theplatform 3238 can also reduce the likelihood of thepeg 3230 tearing in the layer. Theplatform 3238 of thestaples 3230 and the layer can form a cooperative system that distributes forces, stresses and/or strains applied to tissue over a larger area.
Thepins 3230 are formed from a flat piece of material using a stamping process. During the stamping process, material is removed from the sheet to form the general shape of thestaples 3230. Thefirst leg 3232 is curved in a first direction and thesecond leg 3233 is curved in a second direction; however, both thefirst leg portion 3232 and thesecond leg portion 3233 can be bent in any suitable direction with a single line of action by a die. During this and/or a different stamping process, theplatform 3238 is bent in the same direction as thefirst leg 3232. In some cases, theplatform 3238 can be formed using the same single line of action that forms thelegs 3232 and 3233. In other instances, theplatform 3238 can be formed with a second line of action that is transverse or orthogonal to the first line of action.
Turning now to fig. 86, thestaple 3630 includes a base orcrown 3631 andlegs 3632 and 3633 extending from thebase 3631. Similar to thestaple 3230, thestaple 3630 also includes aplatform 3638 that extends from abase 3631. The reader should appreciate that theplatform 3238 of thestaple 3230 and theplatform 3638 of the staple 3630 can increase the moment of inertia or stiffness of the staple. Thestaples 3630 include pressure relief orflex slots 3637 in thebase 3631 that, for example, reduce the stiffness of thestaples 3630. Additionally or alternatively, pressure relief slots may be provided in theplatform 3638. In any event, more than one pressure relief slot can be utilized to provide the desired stiffness of thestaple 3630. Further, such relief slots may be suitable for any of the staples disclosed herein.
Additionally or alternatively to the above, turning now to fig. 80 and 81, astaple assembly 3330 includes astaple 3230 and animplantable adjunct 3370 attached to thestaple 3230. The auxiliary 3370 includes a first end portion including afirst aperture 3372 configured to receive thefirst leg 3232 of thestaple 3230 and asecond aperture 3373 configured to receive thesecond leg 3233. Thus, the adjunct 3370 is tethered to thestaple leg 3232,3233 and the motion of the adjunct 3370 relative to thestaple 3230 is constrained.
In addition to the above, the auxiliary 3370 includes aresilient portion 3371 that extends above theplatform 3238 of thenail 3230. When thestaple assembly 3330 is stored in the staple cartridge, agap 3377 exists between theflexible portion 3371 of the adjunct 3370 and theplatform 3238 of thestaple 3230. When thestaple assembly 3330 is ejected from the staple cartridge, thestaple legs 3232,3233 of thestaples 3230 penetrate the stapled tissue and theresilient portion 3371 of the adjunct 3370 comes into contact with the tissue. Theresilient portion 3371 is configured to flex, deflect and/or displace downward toward theplatform 3238 when the adjunct 3370 comes into contact with tissue. Theresilient portion 3371 can apply a biasing force to tissue as it is captured within thestaple 3230. The movement of theresilient portion 3371 is at least partially constrained by theplatform 3238.
In addition to or in lieu of the foregoing, turning now to fig. 84, astaple assembly 3430 includesstaples 3630 andimplantable adjuncts 3470 attached to thestaples 3230. Theauxiliary piece 3470 includes a first end portion that includesfirst apertures 3472 configured to receive thefirst legs 3632 of thestaples 3630 andsecond apertures 3473 configured to receive thesecond legs 3633. Thus, theaccessory 3470 is tethered to thestaple leg 3632,3633 and movement of theaccessory 3470 relative to thestaples 3630 is constrained.
In addition to the above, theauxiliary objects 3470 includeelastic portions 3471 that extend above theplatforms 3638 of thestaples 3630. When thestaple assembly 3430 is stored in the staple cartridge, there is little, if any, clearance between theresilient portions 3471 of theadjuncts 3470 and theplatforms 3638 of thestaples 3630. When thestaple assembly 3430 is ejected from the staple cartridge, thestaple legs 3632,3633 of thestaples 3630 penetrate the stapled tissue and theresilient portions 3471 of theadjuncts 3470 come into contact with the tissue. Referring to fig. 85,resilient portion 3471 is configured to flex, deflect and/or displace downward towardplatform 3638 whenauxiliary component 3470 is brought into contact with tissue. Theresilient portion 3471 can apply a biasing force to tissue as the tissue is captured within thestaples 3630. The movement of theresilient portion 3471 is at least partially constrained by theplatform 3638.
Referring primarily to fig. 82 and 83, theresilient portion 3471 of theauxiliary component 3470 comprises an enclosure. The package is sealed and includes at least one material therein. In each case, the material includes a drug. When the package is ruptured, the drug is released from the package. The enclosure can rupture when thestaple assembly 3430 is implanted in tissue or after a period of time.Auxiliary element 3470 is constructed of any suitable biocompatible material, and when the biocompatible material comprises a bioabsorbable material,auxiliary element 3470 can be absorbed in situ. After a sufficient amount ofauxiliary element 3470 has been absorbed, the drug may be released fromauxiliary element 3470. In various alternative embodiments, the auxiliary element comprises two separate packages. In at least one such embodiment, the first enclosure can contain a first medicament and the second enclosure can contain a second medicament. The first medicament may be mixed with the second medicament when the package has been ruptured.
In addition to the above, the material in the chamber of theresilient portion 3471 may be selected for its mechanical properties, such as its elasticity, and may provide theresilient portion 3471 with desired properties to apply a sufficient biasing force to the tissue. In at least one instance, it may be desirable for theflexible portion 3471 to have mechanical properties that closely resemble those of the patient's tissue. In other cases, it may be desirable for theresilient portion 3471 to have a stiffness that is less than the stiffness of the patient's tissue, for example. Such embodiments may provide for proper constriction of blood flow within the tissue. In some cases, it may be desirable for theresilient portion 3471 to have a stiffness that is less than the stiffness of thebase 3631, but greater than the stiffness of the patient's tissue, for example. Such embodiments may provide strain relief to tissue.
Theauxiliary pieces 3370,3470 may be constructed of a woven and/or nonwoven material. In at least one instance, theaccessory 3370,3470 includes a shell constructed of a woven and/or nonwoven material. Theauxiliary piece 3370,3470 may be constructed of, for example, PGA and/or PLA. In at least one instance, theaccessory 3370,3470 includes a housing constructed from, for example, PGA and/or PLA.
Theaccessory 3370,3470 is configured to be attachable to a single staple. In other words, eachaccessory 3370,3470 is attached to only one peg. Such an aid may be referred to as absorbent cotton. Alternative embodiments are envisaged in which two or more spikes are connected by an accessory.
Turning now to fig. 88 and 89, the individual staples disclosed herein (such as staple 2130) can be implanted in longitudinal rows into the tissue of a patient. Two longitudinal rows ofstaples 2130 are shown in fig. 88 and 89. In various instances, the tissue may be stretched in various directions (such as longitudinally). Longitudinal stretching of the tissue T is shown in fig. 89. As can be seen in fig. 89, thestaples 2130 may be stretched along with the tissue T. In such cases, the gap between thespikes 2130 can increase. This increase in gap is apparent when comparing the unstretched gap distance X1 (fig. 88) to the stretched gap distance X2 (fig. 89). Thestaples 2130 in the third longitudinal row can be positioned and arranged such that they are aligned with or coextensive with the gap, regardless of whether the gap is stretched (X2) or unstretched (X1). Such concepts may be readily adapted to, for example, round and/or curved rows of staples.
Turning now to fig. 87, thecircular cartridge body 3510 can utilize, for example, astaple assembly 3430. Thecartridge body 3510 comprises a plurality ofstaple cavities 3520 arranged in circular concentric rows. As shown in fig. 87, each staple cavity includes astaple assembly 3430 positioned therein; however, any suitable staple may be utilized.
The staples disclosed herein may be constructed of any suitable material. In each case, the nail is constructed of, for example, stainless steel and/or titanium. In some cases, the staples disclosed herein are comprised of magnesium. The entire disclosures of the following documents are incorporated herein by reference: COMPARISON OF THE EFFECTS OF Mg-6Zn AND Ti-3Al-2.5V ALLOYS ON TGF- β/TNF- α/VEGF/b-FGF IN THE HEALING OF THE INTESTINAL TRACT IN VIVO, published by Yan et Al, biomed. Mater.9(2014) 025011; yan et al, COMPARISON OF THE EFFECTS OF Mg-6Zn AND TITANIUM ON INTESTINAL TRACT IN VIVO published online ON 20.3.3.2013, J.Mater.Sci: Mater.Med.; EVALUATION OF THE SOFT TISSUE BIOCOMPATITITY OF MgCa0.8AND SURGICAL STEEL 316L IN VIVO, published by Erdmann et al, A COMPARATIVE STUDY IN RABBITS, biomed.Eng.OnLine 20109: 63; INVESTATION OF THE MECHANICAL AND GRADATION PROPERTIES OF Mg-Sr AND Mg-Zn-Sr ALLOYS FOR USE AS POLYTEIAL BIODEGRADABLE IMPLANT MATERIALS, J.Mech.Behavior OF biomed. Mat.7(2012)87-95 by Brar et al; Mg-Zr-Sr ALLOYS AS BIODEGRADABLE IMPLANT MATERIALS, Acta Biomaterialia 8(2012)3177-3188 published by Li et al; ON THE bie BIODEGRADABILITY, MECHANICAL BEHAVIOR, AND CYTOCOMPATABILITY OF AMORPHOUS Mg published by Pellicor et al ON 28.8.201272Zn23Ca5AND CRYSTALLINE Mg70Zn23Ca5Pd2ALLOYS AS TEMPORARY IMPLANT MATERIALS, Soc.Biomat.. In at least one instance, the nail is constructed of, for example, a magnesium alloy containing zinc and/or silver. Staples comprising magnesium and zinc alloys enhance the healing properties of tissue. The peg comprising silver provides antimicrobial benefits. Nails comprising all three alloys provide synergistic kinetics.
Nails composed of magnesium, including those composed of magnesium alloys, may be treated to improve the hardness of the nail. In each case, a magnesium nitride coating was applied to the magnesium nail. In some cases, the magnesium nitride coating was applied to all of the magnesium nails, while in other cases, the magnesium nitride coating was applied to only portions of the magnesium nails. For example, when the legs require sufficient hardness to penetrate tissue, it may be desirable to coat only the legs and/or the tips of the legs in magnesium nitride. In at least one such case, a mask can be applied to the remainder of the magnesium nail when the magnesium nitride coating is applied to the nail legs. The magnesium nitride coating may be formed, for example, by introducing the magnesium nail into a nitrogen-rich environment at elevated temperature and/or pressure.
Additionally or alternatively to the above, one or more surfaces of the magnesium nail may include a coating comprising carbon.
In addition to or in lieu of the foregoing, other hardfacing techniques may be utilized. For example, the magnesium nail may be hardened using a laser hardening process and/or a plasma discharge hardening process. In at least one instance, a Keronite ceramic surface treatment by Keronite International can be applied to the nail.
As discussed above, certain portions of the magnesium nail may be subjected to a hardening process, while other portions of the magnesium nail may not be subjected to a hardening process. In some cases, some portions of the magnesium nail may be hardened to a first hardness, while other portions of the magnesium nail may be hardened to a second hardness different from the first hardness. Magnesium spike portions with lower hardness will, for example, precipitate magnesium, zinc and/or silver ions faster than magnesium spike portions with higher hardness.
In addition to or in lieu of the foregoing, magnesium nails (including those composed of magnesium alloys) may be at least partially covered in a coating comprising silver. In at least one instance, the silver coating can comprise, for example, ionized silver. In some cases, a silver coating may be applied to the magnesium nail using an electroplating process. In each case, the entire magnesium nail was covered in a silver coating. In at least one instance, one or more portions of the magnesium nail are masked during the electroplating process such that the masked portions are not coated, or at least substantially coated, in the silver.
In addition to or in lieu of the foregoing, the staples disclosed herein may be coated or at least partially coated in an antimicrobial coating. Such a coating may comprise, for example, triclosan. In at least one instance, triclosan is mixed in the absorbable polymer coating. In some cases, the coating may comprise LAE intermixed with sodium stearate, for example. The entire disclosure of WO 2012013577A1, entitled "COMPOSITIONS FOR COATING MEDICAL DEVICES CONTAINING LAE AND A POLYCATIONIC AMPHOTERIC POLYMER" by Gaffar et al is incorporated herein by reference.
Turning now to fig. 90-92, thepeg 3730 includes a metal frame and acoating 3739 over less than all of the metal frame. The metal frame includespins 2130 and is constructed of, for example, magnesium and/or a magnesium alloy.Coating 3739 comprises a bioabsorbable polymer; however, thecoating 3739 may comprise any suitable material. Thecoating 3739 extends around thelegs 2132,2133 of themetal frame 2130. More specifically, coating 3739 spirals around each oflegs 2132, 2133; however, any suitable arrangement ofcoating 3739 may be utilized. Thecoating 3739 also covers the transitions or corners between thelegs 2132,2133 and the base orcrown 2131 of themetal frame 2130. Thecoating 3739 can also cover a portion of thebase 2131. In various instances, thecoating 3739 can be strategically applied to areas of themetal frame 2130 that are inherently more readily bioabsorbed, such as bends, edges, and/or corners of themetal frame 2130. In any case, a portion of themetal frame 2130 is covered by thecoating 3739, while another portion of themetal frame 2130 is exposed.
The magnesium or magnesiumalloy metal framework 2130 is bioabsorbable. Referring primarily to fig. 91, the portion of themetal frame 2130 not covered by thecoating 3739 is directly exposed to the body upon implantation and is thus immediately subjected to the body's natural absorption processes. The portion of themetal frame 2130 that is covered by thecoating 3739 is not directly exposed to the body at the time of implantation, or at least is not initially directly exposed to the body. Thecoating 3739 protects, or at least to some extent protects, the portions of themetal frame 2130 covered thereby and delays the bioabsorption of these portions. Over time, referring primarily to fig. 92, the unprotected portions of themetal frame 2130 will be bioabsorbed, leaving the portions of themetal frame 2130 protected by thecoating 3739. Thecoating 3739 can substantially encapsulate the portion of themetal frame 2130 covered thereby, at least until thecoating 3739 itself is bioabsorbed and/or until themetal frame 2130 has sufficiently disintegrated. At this point, the portion of themetal frame 2130 that was protected by thecoating 3739 is exposed and can be bioabsorbed by the body.
The bioabsorbable polymer ofcoating 3739 can be comprised of, for example, PGA and/or PLA; however, thecoating 3739 may be constructed of any suitable material, including but not limited to bioabsorbable and non-bioabsorbable polymers. In some cases,coating 3739 comprises, for example, a non-crosslinked polymer. Such polymers may swell thecoating 3739 and encapsulate any sharp edges of themetal frame 2130 that form when themetal frame 2130 deteriorates.
In various embodiments, thecoating 3739 can be disposed on themetal frame 2130 in a grid, mesh, and/or lattice arrangement. In such embodiments, themetal frame 2130 may be exposed in the openings of the mesh, thereby allowing themetal frame 2130 to be bioabsorbed in these openings. When themetal frame 2130 begins to degrade, the lattice-like coating 3739 can act as a mesh or cage and hold the pieces of themetal frame 2130 together, e.g., at least until thecoating 3739 is bioabsorbed.
Thecoating 3739 may be applied to themetal frame 2130 in any suitable manner. In at least one instance, thecoating 3739 can be sprayed onto themetal frame 2130 such that thecoating 3739 is applied in a random manner, thereby creating random openings through which themetal frame 2130 can be bioabsorbed. In certain other cases, thecoating 3739 can be applied to themetal frame 2130 in a pattern. In at least one such case, the pattern can comprise a dot matrix pattern having coating islands surrounded by exposed portions of themetal frame 2130.
In certain alternative embodiments, the staple may include two or more coatings. In at least one such instance, the first coating can be bioabsorbable at a first rate and the second coating can be bioabsorbable at a second rate, exposing different portions of themetal frame 2130 at different times, e.g., in a healing process. Such staples may still have an uncovered portion; however, it is contemplated that each portion of the staple may be covered by at least one or more coatings.
The therapeutic benefit provided by the materials disclosed herein varies with the surface area of the peg exposed to the patient's body. Staples having a larger surface area may deliver such therapeutic benefits more quickly than staples having a smaller surface area. That is, staples having a smaller surface area may provide such therapeutic benefits over a longer period of time. Nonetheless, the surface area of the staples disclosed herein can be increased by introducing apertures into the staples. For example, one or more apertures or through-holes may be formed, e.g., in the base orcrown portion 2131 of thespike 2130. These through holes can allow tissue to grow out of thestaple 2130 and improve the assimilation of the staple 2130 into the body.
In at least one embodiment, in addition to the above, thecoating 3739 is not positioned in the aperture as thecoating 3739 can reduce the available surface absorption area of thepeg 2130. However, if it is desired to delay the bio-absorption of these staple portions, thecoating 3739 can be filled or at least partially filled in the apertures of thestaples 2130. As discussed above, thecoating 3739 can be configured to delay absorption by the underlying metal frame; however, any suitable coating may be utilized. For example, a coating on the metal frame may promote tissue ingrowth into the staple structure. In at least one such case, the coating comprises smaller micropillars that create porous and/or multi-spinous interactions with the tissue.
In various embodiments, in addition to the above, a suture or thread may extend through an aperture defined in the staple. Such sutures may tether the staples together. In various instances, sutures are threaded through the apertures when the staples are positioned in the staple cartridge. In other cases, the suture is threaded through the aperture after the staple has been implanted into the tissue. In at least one embodiment, the sutures are positioned in channels defined in a deck of the staple cartridge, and the staples each include a slot or hook defined therein configured to grasp the sutures as the staples are deployed. In any event, the suture may be pulled to gather the sutured tissues together, such as with a purse string tissue gathering technique.
In various embodiments, the staples disclosed herein can comprise barbs. In at least one instance, barbs are defined on the staple legs such that the barbs engage the implanted layer with tissue. Such barbs may reduce relative movement between the layer and the staple. In certain embodiments, barbs are defined on the base of the staple. Such barbs can grip a layer of tissue positioned adjacent to an implanted staple.
A circularsurgical stapler 5000 is shown in FIGS. 93-95. The circularsurgical stapler 5000 includes aframe assembly 5020 that includes anattachment portion 5021 that is configured to operably couple an anvil to the circularsurgical stapler 5000. The circularsurgical stapler 5000 further includes aknife member 5040 configured to cut into tissue captured by the circularsurgical stapler 5000, asurgical staple cartridge 5010 in which a plurality ofstaples 5051 are removably stored, and a pusher assembly ordriver 5030 configured to eject thestaples 5051 from thestaple cartridge 5010. Thesurgical staple cartridge 5010 includes acartridge deck 5013 and a plurality ofstaple cavities 5011 defined in thecartridge deck 5013 and configured to removablystore staples 5051. Thestaples 5051 are similar to the staples discussed in greater detail herein, but any suitable staples may be used. Thestaple 5051 includes staple legs in a plane that is offset from a plane defined by the staple base portion.
Referring primarily to FIG. 95, thestaple cavities 5011 of thestaple cartridge 5010 include inner rows ofstaple cavities 5011A, middle rows of staple cavities 5011B, and outer rows ofstaple cavities 5011C. The staple row spacing may include any suitable spacing; however, nested rows may be closer together than non-nested rows. The middle row of staple cavities 5011B are positioned radially outward relative to the inner row ofstaple cavities 5011A. The outer row ofstaple cavities 5011C are positioned radially outward relative to the middle row of staple cavities 5011B. Thestaple cavities 5011A in the inner row have an orientation that orients the legs of thestaples 5051 stored in the staple cavities such that the legs extend radially outward relative to the staple bases. The middle and outer rows ofstaple cavities 5011B and 5011C have an orientation in which the legs of thestaples 5051 stored in the staple cavities are oriented such that the legs extend radially inward relative to the staple bases.
Thestaple cavities 5011A in the inner row define a plurality of first gaps therebetween having a distance a. The middle row of staple cavities 5011B defines a plurality of second gaps having a distance B. The outer row ofstaple cavities 5011C defines a plurality of third gaps having a distance C. Distance a is less than distances B and C. Distance B is greater than distance a but less than distance C. Distance C is greater than distances a and B. Thecavities 5011 are arranged such that the distance of the first gap is greater than the distance of the second gap and/or the third gap. Thecavities 5011 are arranged such that the distance of the third gap is less than the distance of the first gap and/or the second gap. Embodiments are contemplated in which there are no gaps associated with one or more rows of staple cavities.
The middle row of staple cavities 5011B is arranged such that the cavities 5011B overlap a first gap defined by the inner row ofstaple cavities 5011A in order to compensate for the lack of tissue ligation in the first gap. The outer row ofstaple cavities 5011C is arranged such that thecavities 5011C overlap a second gap defined by the middle row of staple cavities 5011B in order to compensate for the lack of tissue ligation in the second gap. Overlapping these fastening gaps with this arrangement enhances the ligation capabilities of the circularsurgical stapler 5000. This arrangement also allows the fastened tissue to flex when fastened. Conventional arrangements utilize a greater number of staples in the middle and/or outer rows in order to increase ligation efficiency; however, such conventional arrangements may limit tissue flexibility after fastening.
Fig. 96-98 illustrate a circularsurgical stapler 5100 in accordance with at least one embodiment. The circularsurgical stapler 5100 includes aframe assembly 5120 that includes an attachment portion configured to operably couple an anvil to the circularsurgical stapler 5100. The circularsurgical stapler 5100 further includes aknife member 5140 configured to cut through tissue captured by the circularsurgical stapler 5100, asurgical staple cartridge 5110 configured to removably store a plurality ofstaples 5151 therein, and a pusher assembly ordriver 5130 configured to eject thestaples 5151 from thestaple cartridge 5110. Thepusher assembly 5130 includes an inner row ofstaple drivers 5130A, an intermediate row ofstaple drivers 5130B, and an outer row ofstaple drivers 5130C. Thesurgical staple cartridge 5110 includes acartridge deck 5113 and a plurality ofstaple cavities 5111 defined in thecartridge deck 5113 and in which thestaples 5151 are removably stored. Thesurgical staple cartridge 5110 further includes a plurality of deck features or staple supports or guides 5115 configured to support, guide, and/or control thestaples 5151 as thestaples 5151 are ejected from thestaple cartridge 5110. The deck features orcavity extensions 5115 can have a variety of uses, such as to help clamp tissue between the anvil andstaple cartridge 5110, and/or to store, release, and deliver drugs to tissue captured with thestapler 5100.
Thestaple cavities 5111 of thestaple cartridge 5110 are similar in many respects to thestaple cavities 5011. Thestaple cavities 5111 include an inner row of staple cavities 5111A, an intermediate row ofstaple cavities 5111B, and an outer row of staple cavities 5111C. The deck features 5115 include a plurality of first deck features 5115A, a plurality of second deck features 5115B, and a plurality of third deck features 5115C. Eachfirst deck feature 5115A includes amiddle portion 5116 and twoouter portions 5117 to define a T-configuration. Theintermediate portion 5116 is located between the two staple cavities 5111A and extends from thedeck 5113 to guide and/or support the adjacent staple legs. Theouter portions 5117 branch off from theintermediate portion 5116 in at least substantially opposite directions and extend from thedeck 5113 to guide and/or support a portion of the staple base. Combining deck features of more than one cavity in this manner can save space on thebin deck 5113.
Eachsecond plate feature 5115B and eachthird plate feature 5115C includes amiddle portion 5118 and twoouter portions 5119 to define a configuration around the cavity. Themiddle portion 5118 extends from thedeck 5113 to guide and/or support the staple bases of the staples removably stored in the middle row ofstaple cavities 5111B and the outer row of staple cavities 5111C. The twoouter portions 5119 branch off of themiddle portion 5118 to support the staple legs extending from the staple base, with themiddle portion 5118 guiding and/or supporting the staple base.
Figure 99 illustrates acircular stapling configuration 5200 for use with a circular surgical stapler, in accordance with at least one embodiment. Thecircular stapling configuration 5200 is an arrangement of staples that can be employed with a circular staple cartridge. A circular staple cartridge in acircular stapling configuration 5200 includes corresponding staple cavities to removably store staples as discussed herein. Thecircular stitching configuration 5200 includes a plurality ofstaples 5210 having inner rows ofstaples 5213, intermediate rows ofstaples 5215, and outer rows ofstaples 5217. Eachstaple 5213 is oriented such that its legs face outwardly toward the outer rows ofstaples 5217. Eachstaple 5215 is oriented such that its legs face inwardly toward the inner rows ofstaples 5113. Eachstaple 5217 is oriented such that its legs face outwardly away from the inner and middle rows ofstaples 5213, 5215. Each staple row may be located at a distance from each other staple row and/or the cutting member in order to better control blood flow and/or predict tissue behavior at certain points within the stapled tissue.
The outer row ofstaples 5217 have different characteristics than the inner row of staples and/or the middle row ofstaples 5213,5215. For example, in various instances, the outer rows ofstaples 5217 are formed into a larger "B" configuration, thereby creating a larger capture volume and/or a higher staple forming height to mitigate high tissue compression near the outer rows ofstaples 5217. Larger B shapes may also improve blood flow toward these inner rows. In each case, the outer row ofstaples 5217 can have greater resistance to deployment by utilizing a greater crown, leg width, and/or leg thickness.
The number of staples used in each row of staples may vary in circular and/or linear surgical staple cartridges. The outer rows ofstaples 5217 have a first number, the middle rows ofstaples 5215 have a second number, and the inner rows ofstaples 5213 have a third number. Fig. 99 shows a case where the first number is equal to the second number but greater than the third number. In various embodiments, the first number, the second number, and the third number are different. In various embodiments, the first number is greater than the second number, and the second number is greater than the third number.
Differing crown widths between rows of staples can provide an efficient and/or effective stapling arrangement. For example, each outer row ofstaples 5217 comprises crowns with a width greater than the width of the crowns of each inner row ofstaples 5213 and each intermediate row ofstaples 5215. The crown of each outer row ofstaples 5217 is laterally curved in order to have staples with a greater crown width while maintaining a compact circular stapling arrangement. Some embodiments are contemplated in which the crown of each outer row ofspikes 5217 is curved. One advantage of bending or bending the crowns of the outer row ofspikes 5217 can include the ability to nest, for example, outer row ofspikes 5217 closer to the middle row ofspikes 5215 and inner row ofspikes 5213. Each outer row ofstaples 5217 spans a plurality of gaps defined between inner rows ofstaples 5213 and/or intermediate rows ofstaples 5215. Each intermediate row ofstaples 5215 spans, overlaps or covers each gap defined between inner rows ofstaples 5213.
In various embodiments, the gap defined by the inner row ofstaples 5213 can be varied based on the radial position of the inner row of staples. For example, a row of inner staples having a diameter much smaller than the diameter of the bowel being stapled may include a much larger gap between the inner rows of staples to provide radial flexibility and/or stretching. A row of inside staples having a diameter smaller than but closer to the diameter of the stapled intestine may comprise smaller gaps between the inner rows of staples, since in this case no significant stretching and/or flexibility may be required.
Figure 100 illustrates acircular stapling configuration 5300 for use with a circular surgical stapler, in accordance with at least one embodiment. Thecircular stapling configuration 5300 is an arrangement of staples that can be employed with a circular staple cartridge. The circular staple cartridge in thecircular stapling configuration 5300 includes corresponding staple cavities to removably store staples as discussed herein.Circular stitching configuration 5300 includes a plurality ofstaples 5310 having inner rows ofstaples 5313A,5313B, intermediate rows ofstaples 5315C,5315D, and outer rows ofstaples 5317E, 5317F. Eachstaple 5313A,5313B is oriented such that its staple legs face outwardly toward these outer rows ofstaples 5317E, 5317F. Eachstaple 5315C,5315D is oriented such that its staple legs face inwardly toward these inner rows ofstaples 5313A, 5313B. Eachstaple 5317E,5317F is oriented such that its staple legs face outwardly away from inner row ofstaples 5313A,5313B and middle row ofstaples 5315C, 5315D. Embodiments are contemplated in which the staples in the same row face in opposite directions. Embodiments are contemplated in which each staple in each row faces in the same direction. Embodiments are contemplated in which, for example, the inner rows of staples face inwardly, the middle rows of staples face outwardly, and the outer rows of staples face inwardly.
The different crown widths between and within rows of staples can also provide an efficient and/or effective stapling arrangement. For example, inner rows ofstaples 5313A,5313B each have different crown widths, intermediate rows ofstaples 5315C,5315D each have different crown widths, and outer rows ofstaples 5317E,5317F each have different crown widths. In various embodiments, the crown width of eachnail 5313A,5313B, 5315C,5315D, 5317E, and 5317F all differ. Embodiments are contemplated in which the crown width of some of the staples in one row is equal to the crown width of some of the staples in the other row. The inner row of staples defines a stretch zone marked SZ. The stretch zone SZ may include, for example, a gap defined between thestaples 5313A. The stretching zone SZ allows the sutured tissue to flex.
Circular surgical staplers, circular staple cartridges, and/or circular stapling configurations may be usedSuch as a colectomy. Fig. 101 shows an example of a portion of a colectomy in which two portions of the intestine are joined, providing a new pathway orchannel 5400 for the digestive system. Intestine T1Includes aninner wall 5410, and the intestine T2Includes aninner wall 5420. Intestinal portion T is stapled usingmedial staples 5401,medial staples 5403 andlateral staples 54051And T2. Incising the intestinal part T1And T2Thereby forming a new pathway P-P for the passage of digestive substances. The incision forms a part of the intestine T1And T2Andcutout portions 5411 and 5421. Intestinal part T1And T2The change in diameter betweeninner wall 5410,5420 and cut-out portion 5411,5421 may in some cases constrict or narrow the passageway P-P, making it difficult for digestive substances to pass through. It may be desirable to have flexibility in the staple portions starting frominner staples 5401. One method for providing flexibility utilizes staple gaps defined between the staples in each row of deployed staples. Another method for providing flexibility utilizes larger size staples with larger crowns. In each case, the gap between the staples and the staple rows allows flexibility of the stapled section, thereby allowing easier passage of digestive substances. In each case, staples of different sizes allow for tissue flexibility.
Fig. 102-104 illustrate acurved stapling instrument 5500 configured to capture, incise and staple tissue in accordance with at least one embodiment. Thecurved stapling instrument 5500 includes aframe assembly 5510, astaple cartridge 5520, and ananvil 5530. Upon receiving the first actuation force, thestaple cartridge 5520 is driven toward theanvil 5530 capturing tissue therebetween. Thecurved stapling instrument 5500 further comprises aknife assembly 5540 that includes a cuttingmember 5541 configured to incise tissue captured between thestaple cartridge 5520 and theanvil 5530. Thestaple cartridge 5520 includes adeck 5527 that includes acutting slot 5521 configured to receive a cuttingmember 5541, a plurality ofstaple cavities 5523A and 5523B, and a plurality ofstaples 5560 removably stored within thestaple cavities 5523A, 5523B. The bendingstapling instrument 5500 further includes adriver assembly 5550 that includes a plurality ofstaple drivers 5551 configured to drive thestaples 5560 toward theanvil 5530 upon application of a second actuation force. The second actuation force acts to vertically lift thedriver assembly 5550 andknife assembly 5540 relative to thecurved stapling instrument 5500 in order to incise and staple tissue.
Thestaple cartridge 5520 also includes a plurality of deck features 5525 extending from thedeck 5527. Embodiments are contemplated in whichdeck feature 5525 is a separate portion configured to be attachable todeck 5527. The deck features 5525 may be extensions of thenail cavities 5523A,5523B to support, guide, and/or control thenails 5560 as thenails 5560 are loaded into themagazine 5520, as thenails 5560 are received or supported prior to ejection of thenails 5560, and/or as thenails 5560 are ejected from themagazine 5520. Asingle deck feature 5525 supports two different staple legs adjacent to a staple. Thedeck feature 5525 can include a plurality of support walls configured to support one or more sides, faces, and/or edges of each staple leg. Embodiments are contemplated in which the deck features 5525 on the outer rows of staples (the rows furthest from the slot) are associated with only every other staple cavity in each outer row. The closer the staple features are located from the cut, the greater the density of the staple features may follow.
Fig. 105 and 106 illustrate acurved stapling instrument 5600 configured to capture, incise, and staple tissue according to at least one embodiment. Thecurved stapling instrument 5600 includes aframe assembly 5610, astaple cartridge 5620, and ananvil 5630. Upon receiving a first actuation force, thestaple cartridge 5620 is driven toward theanvil 5630 capturing tissue therebetween. Thecurved stapling instrument 5600 also includes a knife assembly that includes a cutting member configured to incise tissue captured between thestaple cartridge 5620 and theanvil 5630. Thestaple cartridge 5620 includes adeck 5627 that includes acutting slot 5621 configured to receive a cutting member, a plurality ofstaple cavities 5623, and a plurality ofstaples 5660 removably stored within thestaple cavities 5623. Thecurved stapling instrument 5600 also includes adriver assembly 5650 that includes a plurality ofstaple drivers 5651 configured to drive thestaples 5660 toward theanvil 5630 upon application of a second actuation force. The second actuation force acts to vertically lift thedriver assembly 5650 and knife assembly relative to thecurved stapling instrument 5600 in order to incise and staple tissue.
Thestaple cartridge 5620 further includes a plurality of deck features 5625 extending from thedeck 5627. Embodiments are contemplated in whichdeck feature 5625 is a separate part configured to be attachable todeck 5627. The deck features 5625 may be extensions of thestaple cavities 5623 to support, guide, and/or control thestaples 5660 as thestaples 5660 are loaded into thecartridge 5620, as thestaples 5660 are received or supported prior to ejection of thestaples 5660, and/or as thestaples 5660 are ejected from thecartridge 5620. The deck features 5625 may include a plurality of support walls configured to support one or more sides, faces, and/or edges of each staple leg. Adeck feature 5625 extends from at least one of the staple leg walls and at least one of the staple base walls of the staple cavity.
Thestaple drivers 5651 have a flat profile that is at least substantially identical to the bottom profile of thestaples 5660. Having similar or identical profiles allows for a desirable force distribution of thestaple drivers 5651 within the staple base portion of thestaples 5660. The similar profile between thedriver 5651 and thestaples 5660 prevents thestaples 5660 from becoming misaligned when formed against theanvil 5630.
Examples
Example 1: a staple cartridge assembly for use with a surgical stapler, wherein said staple cartridge assembly comprises a cartridge body comprising a proximal end, a distal end, a deck, a longitudinal slot defined in said deck and extending from said proximal end toward said distal end, and staple cavities, wherein said staple cavities are arranged in a longitudinal row. Each staple cavity includes a top opening, a bottom opening, a proximal end, a distal end, and a staple cavity sidewall extending between the proximal and distal ends defined in the deck. The staple cartridge assembly further comprises staples removably stored in the staple cavities, wherein each staple comprises a proximal leg, a distal leg, a base extending between the proximal and distal legs, and a retention tab extending from the base, wherein the retention tabs of the staples engage the staple cavity sidewalls to prevent the staples from falling out of the bottom openings of the staple cavities.
Example 2: the staple cartridge assembly ofembodiment 1, further comprising a sled movable from said proximal end toward said distal end to eject said staples through said top openings of said staple cavities.
Example 3: the staple cartridge assembly of embodiment 2, wherein said cartridge body further comprises a bottom surface defined opposite said deck; a longitudinal channel defined in the bottom surface, wherein at least a portion of the slider is slidably positioned in the longitudinal channel; and a retaining portion configured to prevent the slider from falling out of the longitudinal channel through the bottom surface.
Example 4: the staple cartridge assembly of embodiment 3, wherein said sled is movable between a proximal position and a distal position during a firing stroke, wherein said retention portion is engaged with said sled when said sled is in said proximal position, and wherein said retention portion is not engaged with said sled when said sled is in said distal position.
Example 5: the staple cartridge assembly ofembodiments 1, 2,3, or 4, wherein said staple cartridge assembly does not comprise a cover extending around said bottom surface of said cartridge body.
Example 6: the staple cartridge assembly ofembodiments 1, 2,3, 4, or 5, wherein said cartridge body comprises at least one snap-fit feature configured to directly engage said surgical stapler.
Example 7: the staple cartridge assembly ofembodiments 3,4, or 5, wherein the sled directly engages the staples, and wherein the staple cartridge assembly does not include a driver positioned intermediate the sled and the staples.
Example 8: the staple cartridge assembly ofembodiments 1, 2,3, 4, 5, 6, or 7, wherein each staple is stamped from a sheet of material, wherein the proximal leg, the distal leg, and the base of each staple are formed in a staple plane, and wherein the retention tabs extend laterally from the staple plane.
Example 9: a staple cartridge assembly for use with a surgical stapler, wherein said staple cartridge assembly comprises a cartridge body comprising a proximal end, a distal end, a deck, a bottom portion, a longitudinal slot defined in said deck and extending from said proximal end toward said distal end, a longitudinal channel defined in said bottom portion, and staple cavities, wherein each staple cavity comprises a top opening defined in said deck and a bottom opening defined in said bottom portion. The staple cartridge assembly further comprises staples removably stored in the staple cavities; a sled slidably positioned in the longitudinal channel, wherein the sled is movable from the proximal end toward the distal end to eject the staples through the top openings of the staple cavities; and a retaining portion configured to prevent the slider from falling out of the longitudinal channel through the bottom portion.
Example 10: the staple cartridge assembly of embodiment 9, wherein said sled is movable between a proximal position and a distal position during a firing stroke, wherein said retention portion is engaged with said sled when said sled is in said proximal position, and wherein said retention portion is not engaged with said sled when said sled is in said distal position.
Example 11: the staple cartridge assembly of embodiments 9 or 10, wherein said staple cartridge assembly does not comprise a cover extending around said bottom portion of said cartridge body.
Example 12: the staple cartridge assembly of embodiments 9,10, or 11, wherein the sled directly engages the staples, and wherein the staple cartridge assembly does not include a driver positioned intermediate the sled and the staples.
Example 13: a staple cartridge assembly for use with a surgical stapler, wherein the surgical stapler comprises jaws configured to receive the staple cartridge assembly, and wherein the staple cartridge assembly comprises a cartridge body comprising a proximal end; a distal end; a deck; a bottom portion, wherein the staple cartridge assembly does not include an enclosure extending around the bottom portion; a longitudinal slot defined in the deck and extending from the proximal end toward the distal end; a longitudinal channel defined in the bottom portion; and a nail cavity, wherein each of the nail cavities includes a top opening defined in the deck and a bottom opening defined in the bottom portion. The staple cartridge assembly further comprises staples removably stored in the staple cavities; a sled slidably positioned in the longitudinal channel, wherein the sled is movable from the proximal end toward the distal end to eject the staples through the top openings of the staple cavities during a firing stroke; and means for preventing the slide from falling out of the longitudinal channel through the bottom portion.
Example 14: the staple cartridge assembly of embodiment 13, wherein said sled directly engages said staples during said firing stroke.
Example 15: the staple cartridge assembly of embodiments 13 or 14, further comprising means for preventing said staples from falling out of said staple cavities through said bottom openings.
Example 16: a staple cartridge assembly for use with a surgical stapler, wherein the surgical stapler comprises jaws configured to receive the staple cartridge assembly, and wherein the staple cartridge assembly comprises a cartridge body comprising a proximal end; a distal end; a deck; a bottom portion, wherein the staple cartridge assembly does not include an enclosure extending around the bottom portion; and a nail cavity, wherein each of the nail cavities includes a top opening defined in the deck and a bottom opening defined in the bottom portion. The staple cartridge assembly further comprises staples removably stored in the staple cavities, wherein the cartridge body comprises a shelf integrally formed with the cartridge body that prevents the staples from falling out of the staple cavities through the bottom openings.
Example 17: a staple cartridge assembly for use with a surgical stapler, wherein said staple cartridge assembly comprises a cartridge body comprising a proximal end, a distal end, a deck, a longitudinal slot defined in said deck and extending from said proximal end toward said distal end, and staple cavities. The staple cavity includes a top opening, a bottom opening, a proximal guide, a distal guide, a sidewall extending between the proximal guide and the distal guide, and a middle guide extending inwardly from the sidewall defined in the deck. The staple cartridge assembly further includes staples removably stored in the staple cavities, the staples including a proximal leg positioned within the proximal guide, a distal leg positioned within the distal guide, and a base extending between the proximal and distal legs, wherein the intermediate guide is positioned to guide the base and retain the proximal leg in the proximal guide and the distal leg in the distal guide.
Example 18: the staple cartridge assembly of embodiment 17, wherein said staple cavities further comprise a proximal cavity end proximal to said proximal guide and a distal cavity end distal to said distal guide.
Example 19: the staple cartridge assembly of embodiment 18, wherein said staples are not positioned in said proximal cavity end and said distal cavity end.
Example 20: the staple cartridge assembly of embodiments 18 or 19, wherein there is a first interstitial spacing between the staple base, the middle guide, and the distal cavity end, and wherein there is a second interstitial spacing between the staple base, the middle guide, and the proximal cavity end.
Example 21: the staple cartridge assembly ofembodiments 17, 18, 19, or 20, wherein the base comprises a flat guide surface that interfaces with the middle guide.
Example 22: the staple cartridge assembly ofembodiments 17, 18, 19, 20, or 21, wherein said cartridge body further comprises a plurality of said staple cavities, and wherein said staple cartridge assembly further comprises a plurality of said staples positioned in said staple cavities.
Example 23: the staple cartridge assembly ofembodiments 17, 18, 19, 20, 21, or 22, wherein said proximal guide, said distal guide, and said middle guide triangulate control of said staples as said staples are ejected from said staple cavities.
Example 24: the staple cartridge assembly ofembodiments 17, 18, 19, 20, 21, 22, or 23, wherein said proximal guide and said distal guide extend above said deck.
Example 25: the staple cartridge assembly ofembodiments 17, 18, 19, 20, 21, 22, 23, or 24, wherein the intermediate guide extends above the deck.
Example 26: the staple cartridge assembly ofembodiments 17, 18, 19, 20, 21, 22, 23, 24, or 25, wherein said proximal and distal legs of said staples define a leg plane, wherein said base comprises a drive surface that lies in a drive plane, and wherein said drive plane is offset from said leg plane.
Example 27: the staple cartridge assembly ofembodiments 17, 18, 19, 20, 21, 22, 23, 24, 25, or 26, wherein said proximal and distal legs are pressed toward each other by said proximal and distal guides.
Example 28: the staple cartridge assembly ofembodiments 17, 18, 19, 20, 21, 22, 23, 24, 25, 26, or 27, wherein the intermediate guide comprises a resilient biasing member engaged with the base, the resilient biasing member configured to urge the proximal leg into the proximal guide and the distal leg into the distal guide.
Example 29: the staple cartridge assembly ofembodiments 17, 18, 19, 20, 21, 22, 23, 24, 25, 26, 27, or 28, wherein the middle guide is positioned closer to the distal guide than the proximal guide.
Example 30: the staple cartridge assembly ofembodiments 17, 18, 19, 20, 21, 22, 23, 24, 25, 26, 27, or 28, wherein the middle guide is positioned at an equal distance between the distal guide and the proximal guide.
Example 31: a staple cartridge assembly for use with a surgical stapler, wherein said staple cartridge assembly comprises a cartridge body comprising a proximal end, a distal end, a deck, a longitudinal slot defined in said deck and extending from said proximal end toward said distal end, and staple cavities. The staple cavity includes a top opening, a bottom opening, a proximal guide, a distal guide, and a sidewall extending between the proximal guide and the distal guide defined in the deck. The staple cartridge assembly further comprises staples removably stored in the staple cavities, the staples comprising proximal legs positioned within the proximal guide; a distal leg positioned within the distal guide, wherein the proximal leg and the distal leg define a leg plane, and wherein the proximal leg and the distal leg are pressed toward each other by the proximal guide and the distal guide; and a base extending between the proximal leg and the distal leg, wherein the base includes a drive surface lying in a drive plane, and wherein the drive plane is offset from the leg plane.
Example 32: the staple cartridge assembly of embodiment 31, wherein said leg plane is parallel to said drive plane.
Example 33: the staple cartridge assembly of embodiments 31 or 32, wherein said cartridge body further comprises a plurality of said staple cavities, and wherein said staple cartridge assembly further comprises a plurality of said staples positioned in said staple cavities.
Example 34: a staple cartridge assembly for use with a surgical stapler, wherein said staple cartridge assembly comprises a cartridge body comprising a proximal end, a distal end, a deck, a longitudinal slot defined in said deck and extending from said proximal end toward said distal end, and staple cavities. The staple cavity includes a top opening, a bottom opening, a proximal guide, a distal guide, a sidewall extending between the proximal and distal guides, and an intermediate guide extending inwardly from the staple cavity sidewall defined in the deck. The staple cartridge assembly further comprises staples removably stored in the staple cavities, the staples comprising proximal legs positioned within the proximal guide, distal legs positioned within the distal guide, and bases extending between the proximal and distal legs, wherein the proximal, distal, and intermediate guides triangulate control of the staples as they are ejected from the staple cavities.
Example 35: the staple cartridge assembly of embodiment 34, wherein said cartridge body further comprises a plurality of said staple cavities, and wherein said staple cartridge assembly further comprises a plurality of said staples positioned in said staple cavities.
Example 36: a staple cartridge assembly for use with a surgical stapler, wherein said staple cartridge assembly comprises a cartridge body comprising a proximal cartridge end, a distal cartridge end, a deck, a longitudinal knife slot defined in said deck and extending from said proximal cartridge end toward said distal cartridge end, and staple cavities. The nail cavity includes a top opening defined in the deck; a proximal luminal end; a distal lumen end; a proximal guide; a distal guide, wherein the proximal guide and the distal guide extend above the deck; and a lumen slot extending between the proximal and distal lumen ends, wherein the proximal and distal guides extend laterally relative to the lumen slot. The staple cartridge assembly further comprises staples removably stored in the staple cavities, the staples comprising a proximal leg positioned within the proximal guide, a distal leg positioned within the distal guide, and a base extending between the proximal leg and the distal leg, wherein the base is positioned in the cavity slot.
Example 37: the staple cartridge assembly of embodiment 36, wherein said proximal guide and said distal guide extend toward said knife slot.
Example 38: the staple cartridge assembly of embodiment 36, wherein said proximal guide and said distal guide extend away from said knife slot.
Example 39: the staple cartridge assembly of embodiments 36, 37, or 38, wherein said proximal guide comprises a proximal carriage.
Example 40: the staple cartridge assembly of embodiment 39, wherein said proximal bracket does not extend around said proximal lumen end.
Example 41: the staple cartridge assembly of embodiments 39 or 40, wherein said cavity slot is defined by a longitudinal axis, and wherein said proximal bracket is not aligned with said longitudinal axis.
Example 42: the staple cartridge assembly of embodiments 36, 37, 38, 39, 40, or 41, wherein said distal guide comprises a distal carriage.
Example 43: the staple cartridge assembly of embodiment 42, wherein said distal carriage does not extend around said distal cavity end.
Example 44: the staple cartridge assembly of embodiments 42 or 43, wherein said cavity slot is defined by a longitudinal axis, and wherein said distal carriage is not aligned with said longitudinal axis.
Example 45: the staple cartridge assembly of examples 36, 37, 38, 39, 40, 41, 42, 43, or 44, wherein the proximal leg and the distal leg define a staple leg plane, wherein the base comprises a drive surface that lies in a drive plane that is offset from the staple leg plane, wherein the proximal guide and the distal guide are aligned with the staple plane, and wherein the proximal guide and the distal guide are not aligned with the drive plane.
Example 46: the staple cartridge assembly of examples 36, 37, 38, 39, 40, 41, 42, 43, or 44, wherein the proximal leg and the distal leg define a staple leg plane, wherein the base comprises a drive surface that lies in a drive plane that is offset from the staple leg plane, and wherein the proximal guide and the distal guide define a carrier plane that is aligned with the staple leg plane.
Example 47: the staple cartridge assembly of embodiments 36, 37, 38, 39, 40, 41, 42, 43, 44, 45, or 46, wherein said cartridge body further comprises a plurality of said staple cavities, and wherein said staple cartridge assembly further comprises a plurality of said staples positioned in said staple cavities.
Example 48: the staple cartridge assembly of embodiments 36, 37, 38, 39, 40, 41, 42, 43, 44, 45, 46, or 47, wherein the portion of the proximal guide that extends above the deck comprises a staple cavity extension, and wherein the portion of the distal guide that extends above the deck comprises a staple cavity extension
Example 49: a staple cartridge assembly for use with a surgical stapler, wherein said staple cartridge assembly comprises a cartridge body comprising a proximal cartridge end, a distal cartridge end, a deck, and staple cavities. The staple cavity includes a proximal cavity end, a distal cavity end, proximal guides extending above and below the deck, distal guides extending above and below the deck, and a connecting slot extending between the proximal cavity end and the distal cavity end, wherein the proximal guides and the distal guides extend laterally relative to the connecting slot. The staple cartridge assembly further comprises staples removably stored in the staple cavities, the staples comprising a proximal leg positioned within the proximal guide, a distal leg positioned within the distal guide, and a base extending between the proximal leg and the distal leg, wherein the base is positioned in the cavity slot.
Example 50: the staple cartridge assembly of embodiment 49, wherein said cartridge body further comprises a plurality of said staple cavities, and wherein said staple cartridge assembly further comprises a plurality of said staples positioned in said staple cavities.
Example 51: the staple cartridge assembly of embodiments 49 or 50, wherein the portion of the proximal guide that extends above the deck comprises a staple cavity extension, and wherein the portion of the distal guide that extends above the deck comprises a staple cavity extension
Example 52: a fastener cartridge assembly for use with a surgical fastening instrument, wherein the fastener cartridge assembly comprises a cartridge body comprising a proximal cartridge end, a distal cartridge end, a deck, and fastener pockets. The fastener pocket includes a proximal pocket end; a distal pocket end; a proximal guide; a distal guide; a proximal dimple extension, wherein the proximal dimple extension extends above the deck; a distal pocket extension, wherein the proximal pocket extension extends above the deck; and a pocket opening extending between the proximal pocket end and the distal pocket end, wherein the proximal guide and the distal guide extend laterally relative to the pocket opening. The fastener cartridge assembly further comprises a fastener removably stored in the fastener pocket, the fastener comprising a proximal leg positioned within the proximal guide, a distal leg positioned within the distal guide, and a base extending between the proximal leg and the distal leg, wherein the base is positioned in the pocket opening.
Example 53: the fastener cartridge assembly of embodiment 52, wherein said cartridge body further comprises a plurality of said fastener pockets, and wherein said fastener cartridge assembly further comprises a plurality of said fasteners positioned in said fastener pockets.
Example 54: a staple cartridge assembly for use with a surgical instrument includes a cartridge body including a proximal end, a distal end, a deck, and staple cavities defined in the deck. The staple cartridge assembly further comprises staples removably positioned in the staple cavities and a firing member having channels aligned with the staples, wherein the channels comprise first and second lateral sidewalls, and wherein the channels are configured to receive the staples between the first and second lateral sidewalls.
Example 55: the staple cartridge assembly of embodiment 54, wherein said channel is defined on an inclined surface of said firing member.
Example 56: the staple cartridge assembly of embodiments 54 or 55, wherein the channel comprises a ramp portion configured to lift the staples within the staple cavities during a firing stroke of the firing member and an apex portion configured to form the staples against an anvil of the surgical instrument to a final formed height.
Example 57: the staple cartridge assembly of embodiment 56, wherein said channel comprises a trailing portion positioned proximally relative to said apex portion, and wherein said apex portion is positioned above said trailing portion.
Example 58: the staple cartridge assembly of embodiments 54, 55, 56, or 57, wherein the firing member comprises a sled comprising a plurality of wedges, and wherein the channel is defined on one of the wedges.
Example 59: the staple cartridge assembly of embodiments 54, 55, 56, 57, or 58, wherein the firing member further comprises a ramp configured to initially lift the staples within the staple cavities and guide the staples into the channel.
Example 60: the staple cartridge assembly of embodiments 54, 55, 56, 57, 58, or 59, wherein the channel comprises a mouth portion and a longitudinal portion, wherein the mouth portion provides a lead-in to the longitudinal portion, and wherein the mouth portion is wider than the longitudinal portion.
Example 61: the staple cartridge assembly of embodiments 54, 55, 56, 57, 58, 59, or 60, wherein the staples are received within the channel without staple drivers positioned between the staples and the channel.
Example 62: the staple cartridge assembly of embodiments 54, 55, 56, 57, 58, 59, 60, or 61, wherein said first lateral sidewall is parallel to said second lateral sidewall.
Example 63: the staple cartridge assembly of embodiments 54, 55, 56, 57, 58, 59, 60, or 61, wherein said first lateral sidewall is not parallel to said second lateral sidewall.
Example 64: the staple cartridge assembly of embodiments 54, 55, 56, 57, 58, 59, 60, or 61, wherein the first and second lateral sidewalls are angled relative to each other to form a staple entry lead-in.
Example 65: the staple cartridge assembly of embodiments 54, 55, 56, 57, 58, 59, 60, 61, 62, 63, or 64, wherein the channel comprises a first channel, and wherein the firing member further comprises a second channel configured to receive the staples.
Example 66: the staple cartridge assembly of embodiment 65, wherein each staple comprises a drive portion configured to enter the first channel and a forming portion configured to enter the second channel.
Example 67: the staple cartridge assembly of embodiments 65 or 66, wherein said first channel extends at an angle relative to said second channel.
Example 68: the staple cartridge assembly of embodiments 65, 66, or 67, wherein the first channel and the second channel are parallel to each other in a first region and non-parallel to each other in a second region.
Example 69: the staple cartridge assembly of embodiments 65, 66, 67, or 68, wherein said second channel is configured to receive said staples before said first channel as said firing member is advanced toward said distal end.
Example 70: a staple cartridge assembly for use with a surgical instrument, said staple cartridge assembly comprising: a cartridge body comprising a deck and staple cavities defined therein; a staple removably positioned in the staple cavity; and a firing member comprising a ramp configured to directly engage the staples and a rail extending from the ramp and configured to orient the staples relative to the ramp.
Example 71: the staple cartridge assembly of embodiment 70, wherein said rail comprises a first rail, and wherein said firing member further comprises a second rail extending from said sled and configured to orient said staples relative to said sled.
Example 72: the staple cartridge assembly of embodiment 71, wherein said first rail is parallel to said second rail.
Example 73: a staple cartridge assembly for use with a surgical stapling instrument comprising an anvil, wherein the anvil comprises a forming pocket, and wherein the staple cartridge assembly comprises a cartridge body comprising a proximal end, a distal end, a deck, and staple cavities defined in the deck. The staple cartridge assembly comprises: staples removably positioned in the staple cavities, wherein each staple comprises a staple driving portion and a staple forming portion; and a firing member comprising first guide channels aligned with the staple driving portions of the staples and second guide channels aligned with the staple forming portions of the staples, wherein the first guide channels and the second guide channels are configured to cooperatively align the staples with the staple forming pockets of the anvil as the firing member is moved toward the distal end.
Example 74: a nail bin assembly comprises a bin body, wherein the bin body comprises a deck, a first longitudinal nail row cavity and a second longitudinal nail row cavity. The staple cartridge assembly further comprises a plurality of first staples, wherein each first staple is removably stored in the first longitudinal row of staple cavities, and wherein each first staple has a unitary structure comprising a first base having a first drive surface and a first staple leg extending from the first base and having a first tip, wherein a first unformed distance is defined between the first drive surface and the first tip; a plurality of second staples, wherein each second staple is removably stored in the second longitudinal row of staple cavities, and wherein each second staple has a unitary structure comprising a second base having a second drive surface and a second staple leg extending from the second base and having a second tip, wherein a second unformed distance is defined between the second drive surface and the second tip, the second unformed distance being different than the first unformed distance; and a firing member configured to directly engage the first and second staples.
Example 75: the staple cartridge assembly of embodiment 74, wherein said first staple and said second staple are formed from sheet metal.
Example 76: the staple cartridge assembly ofembodiments 74 or 75, wherein each first base comprises a first tissue supporting surface, wherein a first tissue capturing distance is defined between the first tissue supporting surface and the first tip, wherein each second base comprises a second tissue supporting surface, wherein a second tissue capturing distance is defined between the second tissue supporting surface and the second tip, and wherein the first tissue capturing distance is different than the second tissue capturing distance.
Example 77: the staple cartridge assembly ofembodiments 74, 75, or 76, wherein the deck has a first deck height along the first longitudinal row of staple cavities and a second deck height along the second longitudinal row of staple cavities that is different than the first deck height.
Example 78: the staple cartridge assembly of embodiment 77, wherein said cartridge body further comprises a longitudinal slot configured to receive a cutting member, wherein said first longitudinal row of staple cavities is adjacent to said longitudinal slot, wherein said second longitudinal row of staple cavities is adjacent to said first longitudinal row of staple cavities, and wherein said second deck height is shorter than said first deck height.
Example 79: the staple cartridge assembly ofembodiments 74, 75, 76, 77, or 78, wherein the cartridge body further comprises a longitudinal slot configured to receive a cutting member, wherein the first longitudinal row of staple cavities is adjacent to the longitudinal slot, and wherein the second longitudinal row of staple cavities is adjacent to the first longitudinal row of staple cavities.
Example 80: the staple cartridge assembly ofembodiments 74, 75, 76, 77, 78, or 79, wherein the first unformed distance is shorter than the second unformed distance.
Example 81: the staple cartridge assembly ofembodiments 74, 75, 76, 77, 78, 79, or 80, further comprising an anvil configured to deform the staples.
Example 82: the staple cartridge assembly of embodiment 81, wherein the anvil is configured to deform the first staples to a first deformed height and the second staples to a second deformed height, the second deformed height being different than the first deformed height.
Example 83: the staple cartridge assembly of embodiments 81 or 82, wherein the cartridge body is movable toward the anvil to clamp tissue between the anvil and the deck of the cartridge body.
Example 84: the staple cartridge assembly of embodiments 81, 82, or 83, wherein the anvil is movable toward the cartridge body to clamp tissue between the anvil and the deck of the cartridge body.
Example 85: the staple cartridge assembly ofembodiments 74, 75, 76, 77, 78, 79, 80, 81, 82, 83, or 84, further comprising staple cavity extensions extending from the deck.
Example 86: the staple cartridge assembly ofembodiments 74, 75, 76, 77, 78, 79, 80, 81, 82, 83, 84, or 85, further comprising an implantable layer positioned over the deck.
Example 87: a nail bin assembly comprises a bin body, wherein the bin body comprises a deck, a first longitudinal nail row cavity and a second longitudinal nail row cavity. The staple cartridge assembly further comprises a plurality of first staples, wherein each first staple is removably stored in the first longitudinal row of staple cavities, and wherein each first staple has a unitary structure comprising a first base having a first drive surface and a first tissue support surface, and a first staple leg extending from the first base and having a first pointed end, wherein a first tissue capture distance is defined between the first tissue support surface and the first pointed end; a plurality of second staples, wherein each second staple is removably stored in the second longitudinal row of staple cavities, and wherein each second staple has a unitary structure comprising a second base having a second drive surface and a second tissue support surface, and a second staple leg extending from the second base and having a second pointed end, wherein a second tissue capture distance is defined between the second tissue support surface and the second pointed end, the second tissue capture distance being different than the first tissue capture distance; and a firing member configured to directly engage the first and second staples.
Example 88: the staple cartridge assembly of embodiment 87, wherein said deck has a first deck height along said first longitudinal row of staple cavities and a second deck height along said second longitudinal row of staple cavities, said second deck height being different than said first deck height.
Example 89: the staple cartridge assembly of embodiment 88, wherein the cartridge body further comprises a longitudinal slot configured to receive a cutting member, wherein the first longitudinal row of staple cavities is adjacent to the longitudinal slot, wherein the second longitudinal row of staple cavities is adjacent to the first longitudinal row of staple cavities, and wherein the second deck height is shorter than the first deck height.
Example 90: the staple cartridge assembly of embodiments 87, 88, or 89, further comprising an anvil configured to deform said staples.
Example 91: the staple cartridge assembly of embodiment 90, wherein the anvil is configured to deform the first staples to a first deformed height and the second staples to a second deformed height, the second deformed height being different than the first deformed height.
Example 92: the staple cartridge assembly of embodiment 90 or 91, wherein said cartridge body is movable toward the anvil to clamp tissue between the anvil and the deck of the cartridge body.
Example 93: a staple cartridge assembly, comprising: the nail magazine comprises a magazine body, a first clamping device and a second clamping device, wherein the magazine body comprises a first longitudinal nail row cavity and a second longitudinal nail row cavity; a plurality of first staples removably stored in said first longitudinal row of staple cavities, wherein each first staple is comprised of stamped metal and comprises an integrally formed metal driver; a plurality of second staples removably stored in said second longitudinal staple rows cavities, wherein each second staple is comprised of stamped metal and includes an integrally formed metal driver; and means for forming the first staple to a first deformed height and the second staple to a second deformed height, wherein the first deformed height is different from the second deformed height.
Example 94: a staple cartridge assembly, comprising: a staple cartridge body comprising a deck and staple cavities defined in the deck; staples removably stored in said staple cavities, wherein each staple comprises a base, a leg extending from said base, and a platform extending laterally from said base; and an implantable layer positioned above the deck, wherein the deck of the staple is configured to abut the layer when the staple is implanted into tissue of a patient.
Example 95: the staple cartridge assembly of embodiment 94, wherein each staple is stamped from a sheet of material, wherein said base defines a base plane, and wherein said deck is folded out of said base plane.
Example 96: the staple cartridge assembly of embodiments 94 or 95, wherein the implantable layer comprises a woven material.
Example 97: the staple cartridge assembly of embodiments 94, 95, or 96, wherein the implantable layer comprises a nonwoven material.
Example 98: the staple cartridge assembly of embodiments 94, 95, 96, or 97 further comprising a retaining member extending from said leg adjacent to said base, wherein said retaining member is configured to engage said implantable layer when staples are implanted into said tissue of a patient.
Example 99: the staple cartridge assembly of embodiments 94, 95, 96, 97, or 98, wherein said deck is flat.
Example 100: the staple cartridge assembly of embodiments 94, 95, 96, 97, 98, or 99, wherein the deck is not directly attached to the legs.
Example 101: a staple cartridge assembly, comprising: a staple cartridge body comprising a deck and staple cavities defined in the deck; staples removably stored in said staple cavities, wherein each staple comprises a crown, first and second legs extending from said crown, and a deck extending laterally from said crown; and an implantable layer positioned above the deck, wherein the deck of the staples is configured to support the layer when the staples are implanted into tissue of a patient.
Example 102: the staple cartridge assembly of embodiment 101, wherein each staple is stamped from a sheet of material, wherein the crowns define a crown plane, and wherein the deck is folded out of the crown plane.
Example 103: the staple cartridge assembly of embodiments 101 or 102, wherein the implantable layer comprises a woven material.
Example 104: the staple cartridge assembly of embodiments 101, 102, or 103, wherein the implantable layer comprises a nonwoven material.
Example 105: the staple cartridge assembly of embodiments 101, 102, 103, or 104, further comprising a retention member extending from said leg and adjacent to said crown, wherein said retention member is configured to engage said implantable layer when staples are implanted into said tissue of a patient.
Example 106: the staple cartridge assembly of embodiments 101, 102, 103, 104, or 105, wherein the deck is planar.
Example 107: the staple cartridge assembly of embodiments 101, 102, 103, 104, 105, or 106, wherein each staple comprises a compliant adjunct positioned adjacent to the crown.
Example 108: the staple cartridge assembly of embodiment 107, wherein said compliant adjunct extends between said first leg and said second leg.
Example 109: the staple cartridge assembly of embodiments 107 or 108, wherein the compliant adjunct is attached to the first leg and the second leg.
Example 110: the staple cartridge assembly of embodiments 107, 108, or 109, wherein the compliant adjunct comprises a first aperture and a second aperture, wherein the first leg extends through the first aperture, and wherein the second leg extends through the second aperture.
Example 111: the staple cartridge assembly ofembodiments 107, 108, 109, or 110, wherein the compliant adjunct comprises a cavity and at least one medicament positioned in the cavity.
Example 112: the staple cartridge assembly ofembodiments 107, 108, 109, 110, or 111, wherein the compliant adjunct comprises a compressible enclosure.
Example 113: a staple cartridge assembly, comprising: a staple cartridge body comprising a deck and staple cavities defined in the deck; and staples removably stored in the staple cavities, wherein each staple comprises a crown, first and second legs extending from the crown, a platform extending laterally from the crown, and a compliant adjunct positioned adjacent to the crown.
Example 114: the staple cartridge assembly of embodiment 113, wherein said compliant adjunct extends between said first leg and said second leg.
Example 115: the staple cartridge assembly ofembodiments 113 or 114, wherein said compliant adjunct is attached to said first leg and said second leg.
Example 116: the staple cartridge assembly ofembodiments 113, 114, or 115, wherein said compliant adjunct comprises a first aperture and a second aperture, wherein said first leg extends through said first aperture, and wherein said second leg extends through said second aperture.
Example 117: the staple cartridge assembly ofembodiments 113, 114, 115, or 116, wherein said compliant adjunct comprises a cavity and at least one medicament positioned in said cavity.
Example 118: the staple cartridge assembly ofembodiments 113, 114, 115, 116, or 117, wherein said compliant adjunct comprises a compressible enclosure.
Example 119: a staple cartridge assembly, comprising: a cartridge body comprising a deck and a plurality of staple cavities defined in the deck; and a plurality of staples stored in the staple cavities, wherein each staple comprises a first portion comprised of an alloy comprising zinc and magnesium and a second portion comprised of a resorbable polymer, wherein the second portion is disposed on the first portion, and wherein the second portion covers less than all of the first portion.
Example 120: the staple cartridge assembly ofembodiment 119, wherein said first portion comprises a base and staple legs extending from said base, and wherein said second portion extends in a helical pattern around said staple legs.
Example 121: the staple cartridge assembly ofembodiments 119 or 120, wherein the second portion is coated on the first portion in a dot matrix pattern.
Example 122: the staple cartridge assembly ofembodiments 119, 120, or 121, wherein the first portion comprises a base and staple legs extending from the base, wherein a corner is defined between the base and the staple legs, and wherein the second portion covers the corner.
Example 123: the staple cartridge assembly ofembodiments 119, 120, 121, or 122, wherein the absorbable polymer comprises a non-crosslinked polymer.
Example 124: the staple cartridge assembly ofembodiments 119, 120, 121, 122, or 123, wherein the second portion is coated on the first portion in a mesh pattern.
Example 125: the staple cartridge assembly ofembodiments 119, 120, 121, 122, 123, or 124, wherein said first portion comprises a base and staple legs extending from said base, wherein said staple legs comprise tissue penetrating tips, and wherein said staples further comprise magnesium nitride disposed on said tips.
Example 126: the staple cartridge assembly ofembodiments 119, 120, 121, 122, 123, 124, or 125, wherein the staples further comprise a coating of ionized silver on at least a portion of the first portion not coated by the second portion.
Example 127: the staple cartridge assembly ofembodiments 119, 120, 121, 122, 123, 124, 125, or 126, further comprising at least one aperture in the first portion.
Example 128: a staple cartridge assembly, comprising: a cartridge body comprising a deck and a plurality of staple cavities defined in the deck; and a plurality of staples stored in the staple cavities, wherein each staple comprises a metal frame comprised of a magnesium alloy and an absorbable polymer coated on the metal frame, wherein the absorbable polymer does not cover every portion of the metal frame.
Example 129: a staple cartridge assembly, comprising: a cartridge body comprising a deck and a plurality of staple cavities defined in the deck; and a plurality of staples stored in the staple cavities, wherein each staple comprises a metal frame comprised of a magnesium alloy, wherein the metal frame comprises a base and a leg extending from the base, and wherein the leg comprises a tissue penetrating tip and a magnesium nitride coating on the tip.
Example 130: the staple cartridge assembly of embodiment 129, wherein each staple further comprises an absorbable polymer coated on the metal frame, and wherein the absorbable polymer does not cover every portion of the metal frame.
Example 131: the staple cartridge assembly ofembodiments 129 or 130, wherein each staple further comprises a coating comprising silver on at least a portion of the metal frame.
Example 132: a staple cartridge assembly, comprising: a cartridge body comprising a deck and a plurality of staple cavities defined in the deck; and a plurality of staples stored in the staple cavities, wherein each staple comprises a metal frame comprised of a magnesium alloy and a coating comprising silver on at least a portion of the metal frame, wherein the metal frame comprises a base and a leg extending from the base, and wherein the leg comprises a tissue penetrating tip.
Example 133: the staple cartridge assembly ofembodiment 132, wherein each staple further comprises an absorbable polymer coated on the metal frame, and wherein the absorbable polymer does not cover every portion of the metal frame.
Example 134: the staple cartridge assembly ofembodiment 132 or 133, further comprising a magnesium nitride coating on the tip.
Example 135: a staple cartridge assembly, comprising: a cartridge body comprising a deck and a plurality of staple cavities defined in the deck; and a plurality of staples stored in the staple cavities, wherein each staple comprises a metal frame comprised of a magnesium alloy and an aperture defined in the metal frame, wherein the metal frame comprises a base and a leg extending from the base, and wherein the leg comprises a tissue penetrating tip.
Example 136: the staple cartridge assembly ofembodiment 135, wherein each staple further comprises an absorbable polymer coated on the metal frame, and wherein the absorbable polymer does not cover every portion of the metal frame.
Example 137: the staple cartridge assembly ofembodiment 135, wherein each staple further comprises an absorbable polymer coated on the metal frame, and wherein the absorbable polymer is not positioned in the aperture.
Example 138: the staple cartridge assembly ofembodiment 135, wherein each staple further comprises an absorbable polymer coated on the metal frame, and wherein the absorbable polymer is positioned in the aperture.
Example 139: the staple cartridge assembly ofembodiment 135, wherein each staple further comprises an absorbable polymer coated on said metal frame, and wherein said apertures are filled with said absorbable polymer.
Example 140: a staple cartridge assembly for stapling tissue, said staple cartridge assembly comprising: a cartridge body comprising a proximal end, a distal end, and a plurality of staple cavities; a plurality of staples positioned in the staple cavities, wherein each staple comprises a base, a leg extending from the base, and a foot extending from the base, wherein the leg comprises a tip configured to penetrate the tissue; and a firing member configured to eject the staples from the staple cavities, wherein the firing member is configured to contact the foot portions of the mis-oriented staples prior to ejecting any mis-oriented staples from their staple cavities within any of their staple cavities.
Example 141: the staple cartridge assembly of embodiment 140, wherein said firing member comprises a firing ramp and an alignment ramp, said firing ramp configured to contact said bases of said staples to drive said staples out of said staple cavities, and said alignment ramp configured to contact said feet of said staples in the event said staples are misoriented.
Example 142: the staple cartridge assembly of embodiment 140 or 141, wherein said firing member further comprises a firing channel aligned with said firing ramp, wherein said firing channel is configured to receive said bases of said staples; and an alignment channel aligned with the alignment ramp, wherein the alignment channel is configured to receive the foot of the staple once the staple is properly oriented.
Example 143: the staple cartridge assembly of embodiments 141 or 142, wherein the alignment sled extends distally relative to the firing sled such that the alignment sled is configured to contact the feet of the staples before the firing sled contacts the bases of the staples.
Example 144: the staple cartridge assembly of embodiments 140, 141, 142, or 143, wherein said feet of said staples are positioned proximally relative to said bases of said staples.
Example 145: the staple cartridge assembly of examples 140, 141, 142, 143, or 144, wherein said firing member is not configured to contact said feet of said staples if said staples are properly oriented within said staple cavities.
Example 146: a staple cartridge assembly for stapling tissue, said staple cartridge assembly comprising: a cartridge body comprising a proximal end and a distal end; and a plurality of staple cavities, wherein each staple cavity comprises a top opening, a proximal wall, and a distal wall. The staple cartridge assembly further comprises a firing member and a plurality of staples positioned in the staple cavities, wherein each staple comprises a base, a proximal leg extending from the base, a distal leg extending from the base, and a centroid defined in the base, wherein the distal wall provides a distal reaction force to the staple above the centroid and the proximal wall provides a proximal reaction force to the staple below the centroid, wherein the staples are lifted by the firing member toward the top opening. The staple cartridge assembly further comprises a firing member configured to eject the staples from the staple cavities, wherein the firing member is configured to contact the feet of any misoriented staples within its staple cavity prior to ejecting the misoriented staples from its staple cavity.
Example 147: the staple cartridge assembly of embodiment 146, wherein said base defines a drive plane, and wherein said proximal leg and said distal leg are not in said drive plane.
Example 148: the staple cartridge assembly of embodiment 146 or 147, wherein said proximal leg and said distal leg are laterally offset from the centroid of the staple.
Example 149: the staple cartridge assembly of embodiments 146, 147, or 148, wherein the distal wall applies the distal reaction force to the distal leg and the proximal wall applies the proximal reaction force to the proximal leg.
Example 150: the staple cartridge assembly of embodiment 147, wherein said proximal leg extends to a first side of said drive plane and said distal leg extends to a second side of said drive plane.
Example 151: the staple cartridge assembly of embodiments 146, 147, 148, 149, or 150, wherein the base comprises a notch defined therein configured to shift the center of mass of the staple toward a side of the staple cavity.
Example 152: a staple cartridge assembly for stapling tissue, said staple cartridge assembly comprising a cartridge body comprising a proximal end, a distal end, and a plurality of staple cavities. The staple cartridge assembly further comprises a plurality of staples positioned in the staple cavities, wherein each staple comprises a base defining a drive plane and a leg extending from the base, wherein the leg extends to one side of the drive plane; a firing member configured to eject said staples from said staple cavities; and means for reducing rotation of the staples within the staple cavities as the firing member drives the staples out of the staple cavities.
Example 153: a surgical staple cartridge for use with a surgical stapling instrument, said surgical staple cartridge comprising a cartridge body, a plurality of staple cavities, and a plurality of staples removably stored in said staple cavities, wherein each staple comprises a staple base portion defining a first plane, a center of mass within said staple base portion, a first staple leg extending from said staple base portion, and a second staple leg extending from said staple base portion, wherein said first staple leg and said second staple leg define a second plane that is offset from and at least substantially parallel to said first plane.
Example 154: the surgical staple cartridge of embodiment 153, wherein said first staple leg and said second staple leg are configured to be shaped toward said staple base portion.
Example 155: the surgical staple cartridge of embodiments 153 or 154, wherein said staple base portion comprises a compression surface comprising a profile configured to limit tissue compression.
Example 156: the surgical staple cartridge of embodiments 153, 154, or 155, wherein said staple base portion comprises a bottom surface, and wherein said first staple leg further comprises an engagement foot that is raised above said bottom surface.
Example 157: the surgical staple cartridge of embodiments 153, 154, 155, or 156, wherein the staple base portion comprises an inner wall and a top surface, wherein the inner wall and the top surface comprise a cutout configured to bias the staple base portion toward the staple legs.
Example 158: the surgical staple cartridge of embodiments 153, 154, 155, 156, or 157 wherein said first staple leg extends higher than said second staple leg.
Example 159: the surgical staple cartridge of embodiments 153, 154, 155, 156, 157, or 158 wherein said staple base portion has a rectangular cross-sectional profile.
Example 160: the surgical staple cartridge of embodiments 153, 154, 155, 156, 157, 158, or 159, wherein the first staple leg and the second staple leg have a substantially circular cross-sectional profile.
Example 161: the surgical staple cartridge of embodiments 153, 154, 155, 156, 157, 158, 159, or 160, wherein said first staple leg and said second staple leg comprise coined corners.
Example 162: the surgical staple cartridge of embodiments 153, 154, 155, 156, 157, 158, 159, 160, or 161, wherein said first staple leg is proximal to said second staple leg, wherein said staple base portion comprises a distal wall, and wherein said distal wall is proximal to said second staple leg.
Example 163: the surgical staple cartridge of embodiments 153, 154, 155, 156, 157, 158, 159, 160, 161, or 162, wherein said first staple leg has a first height and said second staple leg has a second height different from said first height.
Example 164: the surgical staple cartridge of embodiments 153, 154, 155, 156, 157, 158, 159, 160, 161, 162, or 163, wherein the first staple leg and the second staple leg each comprise a staple tip configured to form against a corresponding forming pocket of an anvil, wherein the corresponding forming pocket comprises a valley and a forming surface, and wherein the valley is configured to funnel the staple tips toward the forming surface.
Example 165: the surgical staple cartridge of embodiments 153, 154, 155, 156, 157, 158, 159, 160, 161, 162, 163, or 164, wherein the first staple leg and the second staple leg are configured to be formed against corresponding forming pockets, wherein the corresponding forming pockets are configured to form the first staple leg in a first direction and the second staple leg in a second direction, and wherein the first direction is opposite and at least substantially parallel to the second direction.
Example 166: the surgical staple cartridge of embodiment 165, wherein said first direction faces away from said staple base portion, and wherein said second direction points toward said staple base portion.
Example 167: the surgical staple cartridge of embodiments 153, 154, 155, 156, 157, 158, 159, 160, 161, 162, 163, 164, 165, or 166, wherein the first staple leg and the second staple leg are configured to be formed against corresponding forming pockets, wherein the corresponding forming pockets are configured to form the first staple leg in a first bending direction and the second staple leg in a second bending direction.
Example 168: a surgical staple comprising a staple base portion defining a first plane, a first staple leg extending at least substantially perpendicularly from the staple base portion, and a second staple leg extending at least substantially perpendicularly from the staple base portion, wherein the first staple leg and the second staple leg define a second plane, wherein the first plane and the second plane intersect.
Example 169: a surgical staple cartridge comprising a plurality of surgical staples of embodiments 152, 153, 154, 155, 156, 157, 158, 159, 160, 161, 162, 163, 164, 165, 166, 167, or 168, wherein said surgical staples are arranged in a plurality of woven rows.
Example 170: the surgical staple of embodiments 168 or 169, wherein said staple is configured to be formed into an S-shaped configuration.
Example 171: a surgical staple comprising a staple base portion having a bottom surface defining a bottom plane, a center of mass located within the staple base portion, and first and second staple legs extending from the staple base portion and defining a staple leg plane that is offset from and at least substantially parallel to the staple base portion, wherein the first staple leg comprises an engagement foot that is elevated above the bottom plane.
Example 172: the surgical staple of embodiment 171, wherein said engagement foot is laterally offset relative to said staple base portion.
Example 173: a surgical staple cartridge for use with a surgical stapler comprising an anvil to staple tissue, wherein the anvil comprises a plurality of forming pockets, the surgical staple cartridge comprising a cartridge body, a plurality of staple cavities, and a plurality of staples removably stored within the staple cavities, wherein each staple comprises a base and a staple leg extending from the base, wherein the staple leg comprises a staple tip having a piercing portion, wherein the piercing portion is configured to pierce tissue and deform against the forming pockets of the anvil, and wherein the piercing portion is configured to deform into a nested configuration such that the piercing tip is isolated from the tissue.
Example 174: the surgical staple cartridge of embodiment 173, wherein said nested configuration comprises a hook configuration configured to prevent said surgical staples from pulling through said tissue.
Example 175: the surgical staple cartridge of embodiments 173 or 174, wherein the staple tip further comprises a cutout portion configured to receive the piercing portion when the piercing portion is deformed.
Example 176: the surgical staple cartridge of embodiment 175, wherein said cut-out portion is concave.
Example 177: the surgical staple cartridge of embodiments 175 or 176, wherein each staple comprises another staple leg extending from the base, wherein the other staple leg comprises another staple tip having another cut-out portion, and wherein the cut-out portion and the other cut-out portion face each other.
Example 178: the surgical staple cartridge of embodiments 173, 174, 175, 176, or 177 wherein the staple tip further comprises a crimping surface configured to ride over a corresponding forming pocket of the anvil.
Example 179: the surgical staple cartridge of embodiments 173, 174, 175, 176, 177, or 178, wherein each staple comprises another staple leg, wherein the staple leg and the another staple leg define a first plane, wherein the staple base defines a second plane, and wherein the first plane and the second plane are laterally offset from one another.
Example 180: a surgical staple for use with a surgical stapler comprising an anvil, wherein the anvil comprises a forming pocket, the surgical staple comprising a staple base portion and staple legs extending from the staple base portion, wherein the staple legs comprise staple tips, and wherein the staple tips comprise a piercing tip configured to contact the forming pocket to deform the staple legs and a cut-out portion, wherein the piercing tip is configured to crimp toward the cut-out portion upon contact with the forming pocket such that the staple tips assume a non-piercing configuration.
Example 181: the surgical staple of embodiment 180, wherein said non-piercing configuration comprises a hook configuration configured to prevent said surgical staple from pulling through said tissue.
Example 182: the surgical staple of embodiments 180 or 181, wherein the cut portion is configured to receive the piercing tip when the staple tip is deformed.
Example 183: the surgical staple of embodiments 180, 181, or 182, wherein said cut out portion is concave.
Example 184: the surgical staple of embodiments 180, 181, 182, or 183, wherein the staple tip further comprises a deformable surface configured to be formed against the forming pockets of the anvil.
Example 185: a surgical staple cartridge for use with a surgical stapler including an anvil, said surgical staple cartridge comprising a cartridge body, a plurality of staple cavities, and a plurality of flat formed staples removably stored within said staple cavities, wherein each staple comprises a staple base portion and a staple leg extending from said base portion, wherein said staple leg comprises a staple tip having a rounded profile and a piercing portion.
Example 186: the surgical staple cartridge of embodiment 185, wherein said rounded profile is achieved by a cold working process.
Example 187: the surgical staple cartridge of embodiments 185 or 186, wherein the staple tip comprises a coined portion.
Example 188: the surgical staple cartridge of embodiments 185, 186, or 187 wherein the staple tip further comprises a deformable surface configured to be formed against a forming pocket of the anvil.
Example 189: the surgical staple cartridge of embodiments 185, 186, 187, or 188, wherein said staple tips have a first hardness, and wherein said staple legs have a second hardness different from said first hardness.
Example 190: the surgical staple cartridge of embodiment 189, wherein said first durometer is greater than said second durometer.
Example 191: a surgical staple cartridge for use with a surgical stapling instrument, said surgical staple cartridge comprising a cartridge body, a plurality of staple cavities, and a plurality of staples removably stored within said staple cavities, wherein each staple comprises a staple base and a pair of staple legs extending from said staple base, wherein each staple leg comprises a staple tip, wherein said staple leg comprises a first region having a first hardness, and wherein said staple tip comprises a second region having a second hardness, said second hardness being different than said first hardness.
Example 192: the surgical staple cartridge of embodiment 191, wherein said second hardness is greater than said first hardness.
Example 193: the surgical staple cartridge of embodiment 191, wherein said second hardness is less than said first hardness.
Example 194: the surgical staple cartridge of embodiments 191, 192, or 193, wherein said staple base comprises a third region comprising a third durometer that is different than said first durometer and said second durometer.
Example 195: the surgical staple cartridge of embodiments 191, 192, 193, or 194, wherein said staple legs comprise corner portions coined to said first stiffness.
Example 196: the surgical staple cartridge of embodiment 195, wherein said corner portion provides a preferentially curved plane.
Example 197: the surgical staple cartridge of embodiments 191, 192, 193, 194, 195, or 196, wherein the first zone has a first malleability, and wherein the second zone has a second malleability that is less than the first malleability.
Example 198: a surgical staple cartridge for use with a surgical stapling instrument, said surgical staple cartridge comprising a cartridge body, a plurality of staple cavities, and
a plurality of staples removably stored within the staple cavities, wherein each staple comprises a staple base, a pair of staple legs extending from the staple base, a first region having a first durometer, and a second region having a second durometer different from the first durometer.
Example 199: the surgical staple cartridge of embodiment 198, wherein said first zone is hardened using a first method and said second zone is hardened using a second method, said second method being different than said first method.
Example 200: the surgical staple cartridge of embodiment 198, wherein only one of said first zone and said second zone is hardened by a hardening process.
Example 201: the surgical staple cartridge ofembodiments 198, 199, or 200, wherein each staple further comprises a curved portion intermediate the staple legs and the staple base, and wherein the curved portion comprises the first zone and the staple base comprises the second zone.
Example 202: the surgical staple cartridge ofembodiments 198, 199, 200, or 201, wherein said staple base comprises said first zone and said staple legs comprise said second zone.
Example 203: the surgical staple cartridge ofembodiments 198, 199, 200, 201, or 202, wherein the staple legs are unhardened and the staple base is hardened such that the staple legs are urged to assume a formed configuration and such that the staple base is configured to avoid plastic deformation.
Example 204: the surgical staple cartridge ofembodiments 198, 199, 200, 201, 202, or 203, wherein each staple leg comprises a transition portion extending from the staple base and a vertical leg portion extending from the transition portion, and wherein the staple base comprises the first zone and the vertical leg portion comprises the second zone.
Example 205: a surgical staple configured to be removably stored within a surgical staple cartridge in an unfired configuration, the surgical staple having a non-uniform hardness distribution, wherein the staple comprises a first region having a first hardness and a second region having a second hardness, wherein the first region is hardened to the first hardness when the staple is in a preloaded configuration, and wherein the second region is hardened to the second hardness when the staple is in the preloaded configuration.
Example 206: a surgical staple cartridge for use with a surgical stapling instrument, said surgical staple cartridge comprising a cartridge body, a plurality of staple cavities, and a plurality of staples removably stored within said staple cavities, wherein each staple comprises a staple base, wherein said staple base defines a first zone having a first hardness; a plurality of curved portions extending from the staple base, wherein the curved portions define a second zone having a second hardness; and staple legs extending from the bent portion, wherein each staple leg defines a third region having a third hardness, the third hardness being different from the first hardness.
Example 207: the surgical staple cartridge of embodiment 206, wherein said first hardness is greater than said third hardness.
Example 208: the surgical staple cartridge of embodiment 206, wherein said first hardness is greater than said second hardness and said third hardness.
Example 209: the surgical staple cartridge of embodiments 206, 207, or 208, wherein each staple leg comprises a staple tip defining a fourth zone having a fourth hardness that is less than the third hardness.
Example 210: a surgical staple cartridge for use with a surgical stapling instrument, said surgical staple cartridge comprising a sled, a cartridge body, a plurality of staple cavities, and a strip of staples removably stored within said staple cavities, wherein said strip of staples comprises a plurality of staples, a strip, and a plurality of connector portions connecting said staples to said strip, wherein said connector portions are configured to release said staples from said strip.
Example 211: the surgical staple cartridge ofembodiment 210, wherein each connector portion comprises an interruption configured to urge the staples away from the strip.
Example 212: the surgical staple cartridge ofembodiment 210, wherein each connector portion comprises an interruption configured to urge the staples from the strip as the strip of staples are loaded into the cartridge body.
Example 213: the surgical staple cartridge ofembodiments 210 or 211, wherein said sled is configured to separate said plurality of staples from said strip by breaking said connector portion as said sled translates through said staple cartridge.
Example 214: the surgical staple cartridge ofembodiments 210, 211, 212, or 213, wherein each staple comprises a pair of outwardly biased staple legs configured to engage the cartridge body and retain the strip of staples in the surgical staple cartridge.
Example 215: the surgical staple cartridge ofembodiments 210, 211, 212, 213, or 214, wherein said cartridge body comprises a bottom, and wherein said strip staples are configured to be loaded into said bottom of said cartridge body.
Example 216: the surgical staple cartridge ofembodiments 210, 211, 212, 213, 214, or 215, wherein said plurality of staples are arranged in a first row and a second row, and wherein said strip is connected to said staples in said first row and said second row.
Example 217: the surgical staple cartridge ofembodiments 210, 211, 212, 213, 214, 215, or 216, wherein the plurality of staples comprises a first group of staples having a first configuration and a second group of staples having a second configuration, the second configuration different than the first configuration.
Example 218: the surgical staple cartridge ofembodiments 210, 211, 212, 213, 214, 215, 216, or 217, wherein the connector portion comprises a peened portion.
Example 219: the surgical staple cartridge ofembodiments 210, 211, 212, 213, 214, 215, 216, 217, or 218, wherein the sled comprises a striking portion configured to break the connector portion.
Example 220: the surgical staple cartridge ofembodiments 210, 211, 212, 213, 214, 215, 216, 217, 218, or 219, wherein said staples comprise chamfered surfaces configured to engage said sled when said sled translates through said cartridge body.
Example 221: the surgical staple cartridge ofembodiments 210, 211, 212, 213, 214, 215, 216, 217, 218, 219, or 220, wherein said strip comprises an alignment feature configured to engage a corresponding alignment feature on said cartridge body.
Example 222: a surgical staple cartridge for use with a surgical stapling instrument, said surgical staple cartridge comprising a cartridge body, a plurality of staple cavities, and a strip staple removably stored within said cartridge body, said strip staple comprising a plurality of staples, a strip, and a plurality of connector portions connecting said staples to said strip, wherein said connector portions are engageable to release said staples from said strip, and wherein said staples, said strip, and said connector portions are metal.
Example 223: the surgical staple cartridge of embodiment 222, wherein said plurality of staples comprises a first plurality of staples having a first crown width and a second plurality of staples having a second crown width, said second crown width different than said first crown width.
Example 224: the surgical staple cartridge of embodiments 222 or 223, wherein the plurality of staples comprises a first group of staples having staple legs defining a first height and a second group of staples having staple legs defining a second height, the second height being different than the first height.
Example 225: the surgical staple cartridge of embodiment 222, wherein said strip staples comprise a uniform composition.
Example 226: the surgical staple cartridge of embodiments 222, 223, 224, or 225 wherein said strip comprises an alignment feature configured to engage a corresponding alignment feature on said cartridge body.
Example 227: the surgical staple cartridge of embodiments 222, 223, 224, 225, or 226, further comprising a second strip of staples comprising a plurality of second staples, a second strip, and a plurality of second connector portions connecting the second staples to the second strip, wherein the plurality of staples are arranged in a plurality of rows defining a first row spacing, wherein the plurality of second staples are arranged in a plurality of second rows defining a second row spacing, and wherein the first row spacing and the second row spacing are different.
Example 228: a metal strip surgical staple configured for use with a surgical staple cartridge, said metal strip surgical staple comprising a plurality of staples, a band, and a plurality of connector portions connecting said staples to said band.
Example 229: the metal strip surgical staple of embodiment 228, wherein said connector portion comprises an interruption notch.
Example 230: a surgical staple cartridge for use with a circular stapler, said surgical staple cartridge comprising a cartridge body, a plurality of staple cavities defined in said cartridge body, and a plurality of staples removably stored within said staple cavities, said plurality of staples comprising an inner row of staples having a number of first staples, wherein each first staple comprises a first crown defining a first crown width; a middle row of staples positioned radially outward relative to the inner row of staples, wherein the middle row of staples comprises a number of second staples, and wherein each second staple comprises a second crown defining a second crown width; and an outer row of staples positioned radially outward relative to the middle row of staples, wherein the outer row of staples comprises a number of third staples, wherein each third staple comprises a third crown defining a third crown width, and wherein one of the first, second, and third crown widths is different than the other of the first, second, and third crown widths.
Example 231: the surgical staple cartridge ofembodiment 230, wherein said inner row of staples defines a plurality of first gaps between said first staples, and wherein said second staples of said middle row of staples overlaps said first gaps.
Example 232: the surgical staple cartridge of embodiment 231, wherein said middle row of staples defines a plurality of second gaps between said second staples, wherein said second gaps are greater than said first gaps, and wherein said third staples of said outer row of staples overlap said second gaps.
Example 233: the surgical staple cartridge of embodiments 231 or 232, wherein said third staple of said outer row of staples also overlaps said first gap.
Example 234: the surgical staple cartridge ofembodiment 230, wherein said inner row of staples defines a plurality of first gaps between said first staples, wherein said middle row of staples defines a plurality of second gaps between said second staples, wherein said second staples overlap said first gaps, and wherein said first gaps and said second gaps are at least substantially equal.
Example 235: the surgical staple cartridge ofembodiment 230, wherein said inner row of staples defines a plurality of first gaps between said first staples, wherein said middle row of staples defines a plurality of second gaps between said second staples, wherein each first gap defines a first distance, and wherein each second gap defines a second distance less than said first distance.
Example 236: the surgical staple cartridge ofembodiments 230, 231, 232, 233, 234, or 235 wherein said first crown width is less than said second crown width.
Example 237: the surgical staple cartridge ofembodiments 230, 231, 232, 233, 234, or 235 wherein said first crown width is at least substantially equal to said second crown width.
Example 238: the surgical staple cartridge ofembodiments 230, 231, 232, 233, 234, 235, 236, or 237 wherein said third crown width is greater than said first crown width and said second crown width.
Example 239: a surgical staple cartridge for use with a circular stapler, said surgical staple cartridge comprising a cartridge body, a plurality of staple cavities defined in said cartridge body, and a plurality of staples removably stored within said staple cavities, said plurality of staples comprising an inner row of staples having a first number of first staples, wherein each first staple comprises a first crown defining a first crown width; a middle row of staples positioned radially outward relative to the inner row of staples, wherein the middle row of staples comprises a second number of second staples, and wherein each second staple comprises a second crown defining a second crown width; and an outer row of staples positioned radially outward relative to the middle row of staples, wherein the outer row of staples comprises a third number of third staples, wherein each third staple comprises a third crown defining a third crown width, wherein one of the first, second, and third crown widths is different than the other of the first, second, and third crown widths, and wherein one of the first, second, and third numbers is different than the other of the first, second, and third numbers.
Example 240: the surgical staple cartridge of embodiment 239, wherein said second number is less than said first number.
Example 241: the surgical staple cartridge of embodiments 239 or 240, wherein said second number is less than said third number.
Example 242: the surgical staple cartridge of embodiments 239, 240, or 241, wherein said plurality of staple cavities comprises a plurality of non-uniform cavity extensions.
Example 243: the surgical staple cartridge of embodiments 239, 240, 241, or 242 wherein each first staple of the inner row of staples comprises a pair of staple legs extending radially outward from each first crown.
Example 244: the surgical staple cartridge of embodiments 239, 240, 241, 242, or 243 wherein each second staple of said intermediate row of staples comprises a pair of staple legs extending radially inward from each second crown.
Example 245: the surgical staple cartridge of embodiments 239, 240, 241, 242, 243, or 244 wherein each third staple of the outer row of staples comprises a pair of staple legs extending radially inward from each third crown.
Example 246: a surgical staple cartridge for use with a surgical stapler, said surgical staple cartridge comprising a cartridge body, a plurality of staple cavities defined in said cartridge body, and a plurality of staples removably stored within said staple cavities, said plurality of staples comprising an inner row of staples having a first number of first staples, wherein each first staple comprises a first crown defining a first crown width; a middle row of staples positioned outwardly relative to the inner row of staples, wherein the middle row of staples comprises a second number of second staples, and wherein each second staple comprises a second crown defining a second crown width; and an outer row of staples positioned outwardly relative to the middle row of staples, wherein the outer row of staples comprises a third number of third staples, wherein each third staple comprises a third crown defining a third crown width, and wherein one of the first, second, and third crown widths is different than the other of the first, second, and third crown widths.
Example 247: the surgical staple cartridge of embodiment 246 wherein one of said first number, said second number, and said third number is different from the other of said first number, said second number, and said third number.
Example 248: the surgical staple cartridge of embodiment 246, wherein said first number and said second number are equal.
Example 249: the surgical staple cartridge of embodiments 246, 247, or 248, wherein the inner row of staples defines a plurality of first gaps between the first staples, wherein the middle row of staples defines a plurality of second gaps between the second staples, wherein each first gap defines a first distance, and wherein each second gap defines a second distance that is less than the first distance.
The entire disclosures of the following patents are hereby incorporated by reference:
U.S. patent 5,403,312 entitled "ELECTROSURURGICAL HEMOSTATIC DEVICE" published on 4.4.1995;
U.S. patent 7,000,818 entitled "SURGICAL STAPLING INSTRUMENT HAVING SEPARATE DISTINCT CLOSING AND FIRING SYSTEMS" published on 21.2.2006;
U.S. Pat. No. 7,422,139 entitled "MOTOR-DRIVEN SURGICAL CUTTING AND FASTENING INSTRUMENT WITH TACTILE POSITION FEEDBACK" published on 9.9.2008;
U.S. patent 7,464,849 entitled "ELECTRO-MECHANICAL SURGICAL INSTRUMENT WITH CLOSURE SYSTEM AND ANVIL ALIGNMENT COMPONENTS" published on 16.12.2008;
U.S. patent 7,670,334 entitled "SURGICAL INSTRUMENT HAVATING AN ARTICULATING END EFFECTOR" published on 3, 2/2010;
U.S. patent 7,753,245 entitled "SURGICAL STAPLING INSTRUMENTS" published on 13.7.2010;
U.S. patent 8,393,514 entitled "SELECTIVELY ORIENTABLE IMPLANTABLE FASTENER CARTRIDGE" published on 12.3.2013;
U.S. patent application Ser. No. 11/343,803 entitled "SURGICAL INSTRUMENT HAVING RECORDING CAPABILITIES"; now us patent 7,845,537;
U.S. patent application Ser. No. 12/031,573 entitled "SURGICAL CUTTING AND FASTENING INSTRUMENTT HAVAGING RF ELECTRODES" filed on 14.2.2008;
U.S. patent application Ser. No. 12/031,873, filed on 15.2.2008, entitled "END EFFECTORS FOR A SURGICAL CUTTING AND STAPLING INSTRUMENT," now U.S. patent 7,980,443;
U.S. patent application Ser. No. 12/235,782 entitled "MOTOR-DRIVEN SURGICAL CUTTING INSTRUMENT," now U.S. Pat. No. 8,210,411;
U.S. patent application Ser. No. 12/249,117 entitled "POWER SURGICAL CUTTING AND STAPLING APPATUS WITH MANUALLY RETRACTABLE FIRING SYSTEM", now U.S. patent 8,608,045;
U.S. patent application Ser. No. 12/647,100 entitled "MOTOR-DRIVEN SURGICAL CUTTING INSTRUMENT WITH ELECTRIC ACTUATOR DIRECTIONAL CONTROL ASSEMBLY" filed 24.12.2009; now us patent 8,220,688;
U.S. patent application serial No. 12/893,461, now U.S. patent 8,733,613, entitled "STAPLE CARTRIDGE", filed 9/29/2012;
U.S. patent application serial No. 13/036,647 entitled "SURGICAL STAPLING INSTRUMENT" filed on 28.2.2011, now U.S. patent 8,561,870;
U.S. patent application Ser. No. 13/118,241 entitled "SURGICAL STAPLING INSTRUMENTS WITH ROTATABLE STAPLE DEPLOYMENT ARRANGEMENTS," now U.S. Pat. No. 9,072,535;
U.S. patent application Ser. No. 13/524,049 entitled "ARTICULATABLE SURGICAL INSTRUMENT COMPRISING A FIRING DRIVE" filed 6, 15/2012; now us patent 9,101,358;
U.S. patent application serial No. 13/800,025 entitled "STAPLE CARTRIDGE TISSUE thickingsenser SYSTEM" filed on 13/3/2013, now U.S.patent application publication 2014/0263551;
U.S. patent application serial No. 13/800,067 entitled "STAPLE CARTRIDGE TISSUE thickingsenser SYSTEM" filed on 13/3/2013, now U.S.patent application publication 2014/0263552;
U.S. patent application publication 2007/0175955 entitled "SURGICAL CUTTING AND FASTENING INSTRUMENTT WITH CLOSURE TRIGGER LOCKING MECHANISM" filed on 31.1.2006; and
U.S.patent application publication 2010/0264194 entitled "SURGICAL STAPLING INSTRUMENT WITH AN ARTICULATABLE END EFFECTOR" filed on 22.4.2010, now U.S. Pat. No. 8,308,040.
While various embodiments of the device have been described herein in connection with certain disclosed embodiments, many modifications and variations to these embodiments may be implemented. In addition, where materials for certain components are disclosed, other materials may also be used. Further, according to various embodiments, a single component may be replaced with multiple components, and multiple components may also be replaced with a single component, to perform a given function or functions. It is intended that the above description and the following claims cover all such modifications and variations.
The device disclosed herein may be designed to be disposed of after a single use, or it may be designed to be capable of multiple uses. In either case, however, the device may be reconditioned for reuse after at least one use. Refurbishment may include any combination of disassembly of the device, followed by cleaning or replacement of particular parts, and subsequent reassembly steps. In particular, the device may be disassembled, and any number of the particular pieces or parts of the device may be selectively replaced or removed in any combination. After cleaning and/or replacement of particular components, the device may be reassembled for subsequent use either at a reconditioning facility, or by a surgical team immediately prior to a surgical procedure. Those skilled in the art will appreciate that the finishing assembly may be disassembled, cleaned/replaced, and reassembled using a variety of techniques. The use of such techniques and the resulting conditioning apparatus are within the scope of the present application.
By way of example only, aspects described herein may be processed prior to surgery. First, a new or used instrument can be obtained and cleaned as needed. The instrument may then be sterilized. In one sterilization technique, the instrument is placed in a closed and sealed container (such as a plastic or TYVEK bag). The container and instrument may then be placed in a field of radiation that can penetrate the container, such as gamma radiation, X-rays, or high-energy electrons. The radiation may kill bacteria on the instrument and in the container. The sterilized instrument can then be stored in a sterile container. The sealed container may keep the instrument sterile until the container is opened in a medical facility. The device may also be sterilized using any other technique known in the art, including but not limited to beta or gamma radiation, ethylene oxide, plasma peroxide, or steam.
While this invention has been described as having an exemplary design, the present invention may be further modified within the spirit and scope of this disclosure. This application is therefore intended to cover any variations, uses, or adaptations of the invention using its general principles.
Any patent, publication, or other disclosure material, in whole or in part, that is said to be incorporated by reference herein is incorporated herein only to the extent that the incorporated material does not conflict with existing definitions, statements, or other disclosure material set forth in this disclosure. Thus, and to the extent necessary, the disclosure as explicitly set forth herein supersedes any conflicting material incorporated herein by reference. Any material, or portion thereof, that is said to be incorporated by reference herein, but which conflicts with existing definitions, statements, or other disclosure material set forth herein will only be incorporated to the extent that no conflict arises between that incorporated material and the existing disclosure material.

Claims (13)

CN201680062449.8A2015-08-262016-08-17Staple cartridge assembly including staple cavities for providing better staple guidanceActiveCN108348237B (en)

Applications Claiming Priority (3)

Application NumberPriority DateFiling DateTitle
US14/836,077US10517599B2 (en)2015-08-262015-08-26Staple cartridge assembly comprising staple cavities for providing better staple guidance
US14/836,0772015-08-26
PCT/US2016/047369WO2017034885A1 (en)2015-08-262016-08-17Staple cartridge assembly comprising staple cavities for providing better staple guidance

Publications (2)

Publication NumberPublication Date
CN108348237A CN108348237A (en)2018-07-31
CN108348237Btrue CN108348237B (en)2021-06-25

Family

ID=62974843

Family Applications (1)

Application NumberTitlePriority DateFiling Date
CN201680062449.8AActiveCN108348237B (en)2015-08-262016-08-17Staple cartridge assembly including staple cavities for providing better staple guidance

Country Status (5)

CountryLink
JP (1)JP6887989B2 (en)
CN (1)CN108348237B (en)
BR (1)BR112018003698B1 (en)
MX (1)MX2018002389A (en)
RU (1)RU2727591C2 (en)

Citations (6)

* Cited by examiner, † Cited by third party
Publication numberPriority datePublication dateAssigneeTitle
CN101636114A (en)*2006-09-292010-01-27伊西康内外科公司Connected surgical staples and stapling instruments for deploying the same
CN102933159A (en)*2010-03-172013-02-13伊西康内外科公司Staple cartridge
CN103153205A (en)*2010-09-302013-06-12伊西康内外科公司Fasteners supported by a fastener cartridge support
CN103429172A (en)*2011-03-152013-12-04伊西康内外科公司Removable surgical staple cartridge
CN104053407A (en)*2011-04-292014-09-17伊西康内外科公司Staple cartridge comprising staples positioned within compressible portion thereof
CN104379069A (en)*2012-03-282015-02-25伊西康内外科公司Tissue thickness compensator comprising a reservoir

Family Cites Families (8)

* Cited by examiner, † Cited by third party
Publication numberPriority datePublication dateAssigneeTitle
RU2152756C1 (en)*1999-10-112000-07-20Открытое акционерное общество Научно-производственное объединение "Экран"Surgical clamp for connecting tissues
US7934630B2 (en)*2005-08-312011-05-03Ethicon Endo-Surgery, Inc.Staple cartridges for forming staples having differing formed staple heights
US10130359B2 (en)*2006-09-292018-11-20Ethicon LlcMethod for forming a staple
US7673782B2 (en)*2007-03-152010-03-09Ethicon Endo-Surgery, Inc.Surgical stapling instrument having a releasable buttress material
US7980443B2 (en)*2008-02-152011-07-19Ethicon Endo-Surgery, Inc.End effectors for a surgical cutting and stapling instrument
US9198662B2 (en)*2012-03-282015-12-01Ethicon Endo-Surgery, Inc.Tissue thickness compensator having improved visibility
US20150173756A1 (en)*2013-12-232015-06-25Ethicon Endo-Surgery, Inc.Surgical cutting and stapling methods
US20150173749A1 (en)*2013-12-232015-06-25Ethicon Endo-Surgery, Inc.Surgical staples and staple cartridges

Patent Citations (6)

* Cited by examiner, † Cited by third party
Publication numberPriority datePublication dateAssigneeTitle
CN101636114A (en)*2006-09-292010-01-27伊西康内外科公司Connected surgical staples and stapling instruments for deploying the same
CN102933159A (en)*2010-03-172013-02-13伊西康内外科公司Staple cartridge
CN103153205A (en)*2010-09-302013-06-12伊西康内外科公司Fasteners supported by a fastener cartridge support
CN103429172A (en)*2011-03-152013-12-04伊西康内外科公司Removable surgical staple cartridge
CN104053407A (en)*2011-04-292014-09-17伊西康内外科公司Staple cartridge comprising staples positioned within compressible portion thereof
CN104379069A (en)*2012-03-282015-02-25伊西康内外科公司Tissue thickness compensator comprising a reservoir

Also Published As

Publication numberPublication date
BR112018003698B1 (en)2022-11-22
RU2018110371A (en)2019-09-26
RU2018110371A3 (en)2020-01-22
JP2018529410A (en)2018-10-11
RU2727591C2 (en)2020-07-22
BR112018003698A2 (en)2018-09-25
CN108348237A (en)2018-07-31
JP6887989B2 (en)2021-06-16
MX2018002389A (en)2018-08-01

Similar Documents

PublicationPublication DateTitle
CN108348231B (en) Surgical staples with stiffness changes to improve tissue fastening
CN108348233B (en)Surgical staple strip for allowing changing staple characteristics and achieving easy cartridge loading
CN108348239B (en)Staple cartridge assembly including various tissue compression gaps and staple forming gaps
CN108348647B (en) nails including cover
CN108348232B (en)Surgical staples for minimizing staple rotation
CN108135596B (en)Surgical staples including features for improved tissue fastening
CN108289669B (en) staple cartridge assembly including staple guide
CN108348238B (en)Nail bin assembly without bottom covering piece
CN108348230B (en)Staples configured to support implantable accessories
CN108348240A (en) Cartridge assembly including staple alignment features on firing member
CN108348237B (en)Staple cartridge assembly including staple cavities for providing better staple guidance
CN108366795B (en)Surgical stapling configurations for curved and circular stapling instruments
CN108348234B (en)Staple cartridge assembly including features for controlling rotation of staples as they are ejected therefrom

Legal Events

DateCodeTitleDescription
PB01Publication
PB01Publication
SE01Entry into force of request for substantive examination
SE01Entry into force of request for substantive examination
GR01Patent grant
GR01Patent grant

[8]ページ先頭

©2009-2025 Movatter.jp