Movatterモバイル変換


[0]ホーム

URL:


CN108346616B - Interconnect structure and method of fabricating the same - Google Patents

Interconnect structure and method of fabricating the same
Download PDF

Info

Publication number
CN108346616B
CN108346616BCN201710056223.3ACN201710056223ACN108346616BCN 108346616 BCN108346616 BCN 108346616BCN 201710056223 ACN201710056223 ACN 201710056223ACN 108346616 BCN108346616 BCN 108346616B
Authority
CN
China
Prior art keywords
conductive pattern
interconnect structure
exposed portion
opening
gas
Prior art date
Legal status (The legal status is an assumption and is not a legal conclusion. Google has not performed a legal analysis and makes no representation as to the accuracy of the status listed.)
Active
Application number
CN201710056223.3A
Other languages
Chinese (zh)
Other versions
CN108346616A (en
Inventor
李鸿志
黄旻暄
Current Assignee (The listed assignees may be inaccurate. Google has not performed a legal analysis and makes no representation or warranty as to the accuracy of the list.)
Macronix International Co Ltd
Original Assignee
Macronix International Co Ltd
Priority date (The priority date is an assumption and is not a legal conclusion. Google has not performed a legal analysis and makes no representation as to the accuracy of the date listed.)
Filing date
Publication date
Application filed by Macronix International Co LtdfiledCriticalMacronix International Co Ltd
Priority to CN201710056223.3ApriorityCriticalpatent/CN108346616B/en
Publication of CN108346616ApublicationCriticalpatent/CN108346616A/en
Application grantedgrantedCritical
Publication of CN108346616BpublicationCriticalpatent/CN108346616B/en
Activelegal-statusCriticalCurrent
Anticipated expirationlegal-statusCritical

Links

Images

Classifications

Landscapes

Abstract

Translated fromChinese

一种内连线结构,包括基底、介电层、第一导电图案与第二导电图案。介电层设置于基底上,且具有开口。第一导电图案设置于开口中。第二导电图案设置于第一导电图案上,且暴露出第一导电图案的露出部分。第一导电图案的露出部分具有缺口。

Figure 201710056223

An internal connection structure includes a substrate, a dielectric layer, a first conductive pattern and a second conductive pattern. The dielectric layer is disposed on the substrate and has an opening. The first conductive pattern is disposed in the opening. The second conductive pattern is disposed on the first conductive pattern and exposes an exposed portion of the first conductive pattern. The exposed portion of the first conductive pattern has a notch.

Figure 201710056223

Description

Interconnect structure and method of fabricating the same
Technical Field
The present invention relates to a conductive structure and a method for fabricating the same, and more particularly, to an interconnect structure and a method for fabricating the same.
Background
As the semiconductor industry advances, as the integration level of integrated circuits increases and the surface of the chip is unable to provide enough area for the fabrication of the desired interconnects, the multilevel interconnect design is becoming a design of many integrated circuits.
As semiconductor devices are gradually scaled down, the overlap margin (overlay window) between the upper conductive element and the lower conductive element in the multilayer interconnection structure is also reduced, and thus alignment deviation is easily caused. When the alignment deviation occurs between the upper conductive element and the lower conductive element, the upper conductive element exposes the lower conductive element. As a result, the adjacent two upper conductive elements form a bridging path through the exposed lower conductive element, thereby generating a circuit bridging defect.
Disclosure of Invention
The present invention provides an interconnect structure and a method for fabricating the same, which can effectively prevent the occurrence of the defect of circuit bridging.
The invention provides an interconnect structure, which includes a substrate, a dielectric layer, a first conductive pattern and a second conductive pattern. The dielectric layer is disposed on the substrate and has an opening. The first conductive pattern is disposed in the opening. The second conductive pattern is disposed on the first conductive pattern and exposes the exposed portion of the first conductive pattern. The exposed portion of the first conductive pattern has a notch.
According to an embodiment of the present invention, in the interconnect structure, a material of the first conductive pattern is, for example, W, Ti, TiN, Ta, or TaN.
According to an embodiment of the present invention, in the interconnect structure, a material of the second conductive pattern is, for example, AlCu, Al, or W.
According to an embodiment of the present invention, in the interconnect structure, a width of the second conductive pattern may be smaller than a width of the first conductive pattern, and the exposed portion of the first conductive pattern may be located on one side or both sides of the second conductive pattern.
According to an embodiment of the present invention, in the interconnect structure, the opening exposes a portion of the sidewall of the opening.
The present invention provides a method for manufacturing an interconnect structure, which includes the following steps. A dielectric layer is formed on a substrate, wherein the dielectric layer has an opening. A first conductive pattern is formed in the opening. A second conductive pattern is formed on the first conductive pattern. The second conductive pattern exposes the exposed portion of the first conductive pattern. A gap is formed in the exposed portion of the first conductive pattern.
According to an embodiment of the present invention, in the method for manufacturing the interconnect structure, the forming method of the notch is, for example, to perform an etching process on the exposed portion of the first conductive pattern by using the second conductive pattern as a mask, so as to partially remove the exposed portion of the first conductive pattern.
According to an embodiment of the present invention, in the method for fabricating the interconnect structure, the etching gas used in the etching process includes chlorine and a shielding gas. The content of chlorine is, for example, 50 to 96% by volume, based on the total amount of chlorine and protective gas.
According to an embodiment of the present invention, in the method for fabricating the interconnect structure, the shielding gas is, for example, nitrogen (N)2) Boron trichloride (BCl)3) Trifluoromethane (CHF)3) Methane (CH)4) Or a combination thereof.
According to an embodiment of the present invention, in the method for fabricating an interconnect structure, the etching gas further includes an inert gas.
In view of the above, in the interconnect structure and the method for manufacturing the same provided by the present invention, since the exposed portion of the first conductive pattern exposed by the second conductive pattern has the gap, the bridge path between two adjacent second conductive patterns can be cut off. Therefore, the interconnect structure and the method for manufacturing the same provided by the invention can prevent the generation of the defect of circuit bridging, and can effectively increase the overlapping margin of the second conductive pattern and the first conductive pattern.
In order to make the aforementioned and other features and advantages of the invention more comprehensible, embodiments accompanied with figures are described in detail below.
Drawings
Fig. 1A to fig. 1D are cross-sectional views illustrating a manufacturing process of an interconnect structure according to an embodiment of the invention.
FIG. 2 is a cross-sectional view of an interconnect structure according to another embodiment of the present invention.
[ notation ] to show
100: substrate
102: dielectric layer
104: opening of the container
106. 110, 114: barrier layer
108. 112, 112: conductive pattern
116: gap
EP: exposed part
Detailed Description
Fig. 1A to fig. 1D are cross-sectional views illustrating a manufacturing process of an interconnect structure according to an embodiment of the invention.
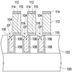
First, referring to fig. 1A, adielectric layer 102 is formed on asubstrate 100, wherein thedielectric layer 102 has anopening 104. Thesubstrate 100 may be a single-layer substrate or a multi-layer substrate, and may have other layers (not shown) or semiconductor devices (not shown) formed thereon. The material of thedielectric layer 102 is, for example, silicon oxide. Thedielectric layer 102 is formed by, for example, chemical vapor deposition. Theopening 104 is, for example, a contact hole (contact hole), a via hole (via hole) or a trench. Theopening 104 is formed by, for example, patterning thedielectric layer 102.
Next, referring to fig. 1B, abarrier layer 106 may be selectively formed on the surface of theopening 104. The material of thebarrier layer 106 is, for example, Ti, TiN, Ta, TaN, or a combination thereof.
Then, aconductive pattern 108 is formed on thebarrier layer 106 in the opening 104. The adhesion between theconductive pattern 108 and other layers can be increased by thebarrier layer 106. Theconductive pattern 108 is, for example, a plug or a conductive line, wherein the plug may be a contact plug or a via plug. The material of theconductive pattern 108 is, for example, W, Ti, TiN, Ta, or TaN.
The formation method of thebarrier layer 106 and theconductive pattern 108 is illustrated as follows, but the invention is not limited thereto. First, a barrier material layer (not shown) is conformally formed on thedielectric layer 102. The barrier material layer is formed by physical vapor deposition or chemical vapor deposition. Next, a conductive pattern material layer (not shown) is formed on the barrier material layer to fill theopening 104. The conductive pattern material layer is formed by, for example, physical vapor deposition or chemical vapor deposition. Then, the conductive pattern material layer and the barrier material layer outside theopening 104 are removed. The conductive pattern material layer and the barrier material layer outside theopening 104 are removed by, for example, chemical mechanical polishing or etch back.
Next, referring to fig. 1C, abarrier layer 110 may be selectively formed on theconductive pattern 108. The material of thebarrier layer 110 is, for example, Ti, TiN, Ta, TaN, or a combination thereof.
Thereafter, aconductive pattern 112 is formed on thebarrier layer 110. Theconductive pattern 112 exposes the exposed portion EP of theconductive pattern 108. The adhesion between theconductive pattern 112 and other layers can be increased by thebarrier layer 110. In this embodiment, the exposed portion EP of theconductive pattern 108 may be located on one side of theconductive pattern 112. The width of theconductive pattern 112 may be greater than, equal to, or less than the width of theconductive pattern 108. Theconductive pattern 112 is, for example, a conductive line or a plug, wherein the plug may be a contact plug or a via plug. The material of theconductive pattern 112 is, for example, AlCu, Al, or W.
Further, abarrier layer 114 may be selectively formed on theconductive pattern 112. The material of thebarrier layer 114 is, for example, Ti, TiN, Ta, TaN, or a combination thereof. Thebarrier layer 114 can be used to increase adhesion between a layer subsequently formed thereon and theconductive pattern 112.
The formation method of thebarrier layer 114, theconductive pattern 112 and thebarrier layer 110 is illustrated as follows, but the invention is not limited thereto. First, a stack structure of a barrier material layer (not shown), a conductive pattern material layer (not shown) and a barrier material layer (not shown) is sequentially formed on thedielectric layer 102. The barrier material layer and the conductive pattern material layer are formed by physical vapor deposition or chemical vapor deposition. Then, a patterning process is performed on the stacked structure of the barrier material layer, the conductive pattern material layer and the barrier material layer.
Next, referring to fig. 1D, agap 116 is formed in the exposed portion EP of theconductive pattern 108. Since thegap 116 can cut off the bridge path between two adjacentconductive patterns 112, the defect of circuit bridging can be prevented, and the overlapping margin between theconductive patterns 112 and theconductive patterns 108 can be effectively increased. Thenotch 116 may expose a portion of the sidewall of theopening 104. The exposed portion EP of theconductive pattern 108 exposed by thenotch 116 may have a slope.
The forming method of thenotch 116 is, for example, to perform an etching process on the exposed portion EP of theconductive pattern 108 by using theconductive pattern 112 as a mask, so as to partially remove the exposed portion EP of theconductive pattern 108. The exposed portions EP of theconductive pattern 108 may be removed by in-situ (in-situ) etching. In the etching process performed on the exposed portion EP of theconductive pattern 108, a portion of thebarrier layer 106 on the sidewall of theopening 104 may be simultaneously removed. In addition, in the etching process, the etching rate of thebarrier layer 106 is, for example, higher than that of the exposed portion EP of theconductive pattern 108.
The etching gas used in the etching process includes chlorine and a protective gas. The content of chlorine is, for example, 50 to 96% by volume, based on the total amount of chlorine and protective gas. The protective gas is, for example, nitrogen, boron trichloride, trifluoromethane, methane, or a combination thereof. In addition, the etching gas may further include an inert gas. The inert gas is, for example, argon or helium.
In one embodiment, in the etching gas used in the etching process, the flow rate of the chlorine gas may be 15sccm to 500sccm, the flow rate of the nitrogen gas may be 5sccm to 20sccm, the flow rate of the boron trichloride may be 0sccm to 100sccm, the flow rate of the trifluoromethane may be 0sccm to 20sccm, the flow rate of the methane may be 0sccm to 15sccm, and the flow rate of the inert gas (e.g., argon or helium) may be 0sccm to 200 sccm. In another embodiment, in the etching gas used in the etching process, the flow rate of the chlorine gas may be 30sccm to 100sccm, the flow rate of the nitrogen gas may be 10sccm to 20sccm, the flow rate of the boron trichloride may be 0sccm to 5sccm, the flow rate of the trifluoromethane may be 0sccm to 3sccm, the flow rate of the methane may be 0sccm to 3sccm, and the flow rate of the inert gas may be 50sccm to 200 sccm.
In addition, in one embodiment, the process pressure may be 2mTorr to 30mTorr, the RF power source may be 30W to 1500W, and the RF bias power may be 15W to 850W during the etching process. In another embodiment, the process pressure may be 2mTorr to 8mTorr, the RF power source may be 300W to 1000W, and the RF bias power may be 100W to 250W when performing the etching process.
As can be seen from the above, in the method for manufacturing an interconnect structure in the above embodiment, since the exposed portion EP of theconductive pattern 108 exposed by theconductive pattern 112 has thenotch 116, the bridge path between two adjacentconductive patterns 112 can be cut. Thus, the method for manufacturing the interconnect structure of the above embodiment can prevent the occurrence of the defect of circuit bridging, and can effectively increase the overlapping margin between theconductive patterns 112 and 108.
The interconnect structure of the present embodiment will be described with reference to fig. 1D. In addition, although the method for manufacturing the interconnect structure of the present embodiment is described as an example, the method for manufacturing the interconnect structure of the present invention is not limited thereto.
Referring to fig. 1D, the interconnect structure includes asubstrate 100, adielectric layer 102, aconductive pattern 108, and aconductive pattern 112. Thedielectric layer 102 is disposed on thesubstrate 100 and has anopening 104. Theconductive pattern 108 is disposed in theopening 104. Theconductive pattern 112 is disposed on theconductive pattern 108, and exposes the exposed portion EP of theconductive pattern 108. The exposed portion EP of theconductive pattern 108 has anotch 116. In this embodiment, the exposed portion EP of theconductive pattern 108 may be located on one side of theconductive pattern 112. In addition, the interconnect structure may optionally include at least one ofbarrier layer 106,barrier layer 110, andbarrier layer 114. Thebarrier layer 106 is disposed between theconductive pattern 108 and thedielectric layer 102, and may also be disposed between theconductive pattern 108 and thesubstrate 100. Thebarrier layer 110 is disposed between theconductive pattern 112 and theconductive pattern 108 and between theconductive pattern 112 and thedielectric layer 102. Thebarrier layer 114 is disposed on theconductive pattern 112. In addition, the materials, arrangement, forming method and effects of the components in the interconnect structure are described in detail in the manufacturing method of fig. 1A to 1D, and thus are not described herein again.
As can be seen from the above, in the interconnect structure of the above embodiment, since the exposed portion EP of theconductive pattern 108 exposed by theconductive pattern 112 has thenotch 116, the bridge path between two adjacentconductive patterns 112 can be cut. Thus, the interconnect structure of the above embodiment can prevent the occurrence of the defect of circuit bridging, and can effectively increase the overlapping margin between theconductive patterns 112 and 108.
FIG. 2 is a cross-sectional view of an interconnect structure according to another embodiment of the present invention.
Referring to fig. 1D and fig. 2, the difference between the interconnect structure of fig. 1D and the interconnect structure of fig. 2 is as follows. In the interconnect structure of fig. 2, due to process variation, the width of theconductive pattern 108a is greater than the width of theconductive pattern 108, so that the width of theconductive pattern 112 is smaller than the width of theconductive pattern 108a, and the exposed portions EP of theconductive pattern 108a are located on two sides of theconductive pattern 112. In addition, the exposed portion EP of theconductive pattern 108a may havenotches 116 on both sides of theconductive pattern 112, respectively. In addition, the forming method and the effect of the interconnect structure of fig. 2 are similar to those of the interconnect structure of fig. 1D, and the same reference numerals are used for the same components, so the description thereof is omitted.
In summary, in the interconnect structure and the method for fabricating the same of the above embodiments, since the exposed portion of the lower conductive pattern exposed by the upper conductive pattern has the gap, the bridge path between two adjacent upper conductive patterns can be cut off. Therefore, the interconnect structure and the method for manufacturing the same of the above embodiments can prevent the occurrence of the defect of circuit bridging, and can effectively increase the overlapping margin between the upper conductive pattern and the lower conductive pattern.
Although the present invention has been described with reference to the above embodiments, it should be understood that various changes and modifications can be made therein by those skilled in the art without departing from the spirit and scope of the invention.

Claims (9)

Translated fromChinese
1.一种内连线结构,其特征在于,包括:1. an interconnect structure, is characterized in that, comprises:一基底;a base;一介电层,设置于该基底上,且具有一开口;a dielectric layer disposed on the substrate and having an opening;一第一导电图案,设置于该开口中;以及a first conductive pattern disposed in the opening; and一第二导电图案,设置于该第一导电图案上,且暴露出该第一导电图案的一露出部分,其中该第一导电图案的该露出部分具有一缺口;a second conductive pattern disposed on the first conductive pattern and exposing an exposed portion of the first conductive pattern, wherein the exposed portion of the first conductive pattern has a notch;其中,该第二导电图案的宽度小于该第一导电图案的宽度,且该第一导电图案的该露出部分位于该第二导电图案的一侧或两侧,第二导电图案的底表面高于第一导电图案顶表面。Wherein, the width of the second conductive pattern is smaller than the width of the first conductive pattern, the exposed portion of the first conductive pattern is located on one side or both sides of the second conductive pattern, and the bottom surface of the second conductive pattern is higher than the top surface of the first conductive pattern.2.如权利要求1所述的内连线结构,其特征在于,其中该第一导电图案的材料包括W、Ti、TiN、Ta或TaN。2 . The interconnect structure of claim 1 , wherein the material of the first conductive pattern comprises W, Ti, TiN, Ta or TaN. 3 .3.如权利要求1所述的内连线结构,其特征在于,其中该第二导电图案的材料包括AlCu、Al或W。3 . The interconnect structure of claim 1 , wherein the material of the second conductive pattern comprises AlCu, Al or W. 4 .4.如权利要求1所述的内连线结构,其特征在于,其中该缺口暴露出该开口的部分侧壁。4 . The interconnect structure of claim 1 , wherein the notch exposes a portion of the sidewall of the opening. 5 .5.一种内连线结构的制造方法,其特征在于,包括:5. A method of manufacturing an interconnect structure, comprising:在一基底上形成一介电层,其中该介电层具有一开口;forming a dielectric layer on a substrate, wherein the dielectric layer has an opening;在该开口中形成一第一导电图案;forming a first conductive pattern in the opening;在该第一导电图案上形成一第二导电图案,其中该第二导电图案暴露出该第一导电图案的一露出部分;以及forming a second conductive pattern on the first conductive pattern, wherein the second conductive pattern exposes an exposed portion of the first conductive pattern; and在该第一导电图案的该露出部分中形成一缺口;forming a notch in the exposed portion of the first conductive pattern;其中,该第二导电图案的宽度小于该第一导电图案的宽度,且该第一导电图案的该露出部分位于该第二导电图案的一侧或两侧,第二导电图案的底表面高于第一导电图案顶表面。Wherein, the width of the second conductive pattern is smaller than the width of the first conductive pattern, the exposed portion of the first conductive pattern is located on one side or both sides of the second conductive pattern, and the bottom surface of the second conductive pattern is higher than the top surface of the first conductive pattern.6.如权利要求5所述的内连线结构的制造方法,其特征在于,其中该缺口的形成方法包括:6. The method for manufacturing an interconnect structure as claimed in claim 5, wherein the method for forming the notch comprises:以该第二导电图案为掩模,对该第一导电图案的该露出部分进行一蚀刻工艺,以部分地移除该第一导电图案的该露出部分。Using the second conductive pattern as a mask, an etching process is performed on the exposed portion of the first conductive pattern to partially remove the exposed portion of the first conductive pattern.7.如权利要求6所述的内连线结构的制造方法,其特征在于,其中该蚀刻工艺所使用的一蚀刻气体包括一氯气与一保护气体,且以该氯气与该保护气体的总量计,该氯气的含量为50体积%至96体积%。7. The method for manufacturing an interconnect structure as claimed in claim 6, wherein an etching gas used in the etching process comprises a chlorine gas and a shielding gas, and the total amount of the chlorine gas and the shielding gas is the amount of the chlorine gas and the shielding gas. The chlorine content is 50% to 96% by volume.8.如权利要求7所述的内连线结构的制造方法,其特征在于,其中该保护气体包括氮气、三氯化硼、三氟甲烷、甲烷或其组合。8 . The method of claim 7 , wherein the protective gas comprises nitrogen, boron trichloride, trifluoromethane, methane, or a combination thereof. 9 .9.如权利要求7所述的内连线结构的制造方法,其特征在于,其中该蚀刻气体还包括一惰性气体。9. The manufacturing method of the interconnect structure as claimed in claim 7, wherein the etching gas further comprises an inert gas.
CN201710056223.3A2017-01-252017-01-25Interconnect structure and method of fabricating the sameActiveCN108346616B (en)

Priority Applications (1)

Application NumberPriority DateFiling DateTitle
CN201710056223.3ACN108346616B (en)2017-01-252017-01-25Interconnect structure and method of fabricating the same

Applications Claiming Priority (1)

Application NumberPriority DateFiling DateTitle
CN201710056223.3ACN108346616B (en)2017-01-252017-01-25Interconnect structure and method of fabricating the same

Publications (2)

Publication NumberPublication Date
CN108346616A CN108346616A (en)2018-07-31
CN108346616Btrue CN108346616B (en)2021-03-05

Family

ID=62962859

Family Applications (1)

Application NumberTitlePriority DateFiling Date
CN201710056223.3AActiveCN108346616B (en)2017-01-252017-01-25Interconnect structure and method of fabricating the same

Country Status (1)

CountryLink
CN (1)CN108346616B (en)

Citations (7)

* Cited by examiner, † Cited by third party
Publication numberPriority datePublication dateAssigneeTitle
US5364817A (en)*1994-05-051994-11-15United Microelectronics CorporationTungsten-plug process
US5371410A (en)*1991-03-271994-12-06Sgs-Thomson Microelectronics, Inc.Integrated circuit metallization with zero contact enclosure requirements
JPH09134954A (en)*1995-11-081997-05-20Toshiba Microelectron Corp Semiconductor device and manufacturing method thereof
US6040627A (en)*1997-04-172000-03-21Mitsubishi Denki Kabushiki KaishaSemiconductor device and method of manufacturing semiconductor device
JP2006147653A (en)*2004-11-162006-06-08Renesas Technology CorpMethod of manufacturing semiconductor device
CN101256977A (en)*2007-03-012008-09-03台湾积体电路制造股份有限公司Semiconductor structure and method for forming semiconductor structure
CN105097775A (en)*2015-04-202015-11-25宁波时代全芯科技有限公司 Memory structure and its preparation method

Patent Citations (7)

* Cited by examiner, † Cited by third party
Publication numberPriority datePublication dateAssigneeTitle
US5371410A (en)*1991-03-271994-12-06Sgs-Thomson Microelectronics, Inc.Integrated circuit metallization with zero contact enclosure requirements
US5364817A (en)*1994-05-051994-11-15United Microelectronics CorporationTungsten-plug process
JPH09134954A (en)*1995-11-081997-05-20Toshiba Microelectron Corp Semiconductor device and manufacturing method thereof
US6040627A (en)*1997-04-172000-03-21Mitsubishi Denki Kabushiki KaishaSemiconductor device and method of manufacturing semiconductor device
JP2006147653A (en)*2004-11-162006-06-08Renesas Technology CorpMethod of manufacturing semiconductor device
CN101256977A (en)*2007-03-012008-09-03台湾积体电路制造股份有限公司Semiconductor structure and method for forming semiconductor structure
CN105097775A (en)*2015-04-202015-11-25宁波时代全芯科技有限公司 Memory structure and its preparation method

Also Published As

Publication numberPublication date
CN108346616A (en)2018-07-31

Similar Documents

PublicationPublication DateTitle
TWI882019B (en)Semiconductor structure and integrated circuit and method for manufacturing the same
TWI685938B (en)Skip via structures
KR20080023540A (en) Method for manufacturing semiconductor device with protruding tungsten plug
US10204859B2 (en)Interconnect structure and fabricating method thereof
TWI415221B (en)Method for preventing al-cu bottom damage using tin liner
CN108346616B (en)Interconnect structure and method of fabricating the same
CN101308809A (en)Method for manufacturing aluminum conductor
KR100641980B1 (en) Wiring of Semiconductor Devices and Formation Methods
KR100824627B1 (en) Manufacturing method of semiconductor device
CN108400128B (en) Interconnect structure and method of making the same
US9922876B1 (en)Interconnect structure and fabricating method thereof
TWI686912B (en)Interconnect structure and fabricating method thereof
KR20230098237A (en) Self-Aligned Top Via
KR100591179B1 (en) Metal wiring formation method of semiconductor device
US20070000860A1 (en)Method for fabricating semiconductor device
KR100613383B1 (en) Metal wiring formation method of semiconductor device
KR100857989B1 (en)Metal line formation method of semiconductor device
TWI647807B (en)Interconnect structure and fabricating method thereof
KR100571696B1 (en) Manufacturing Method of Semiconductor Device
CN119650515A (en) Contact hole forming method, semiconductor device and chip
KR100613393B1 (en) Manufacturing Method of Semiconductor Device
KR100579856B1 (en) Metal wiring formation method of semiconductor device
KR100876860B1 (en) Method of forming multi-layer metal wiring of semiconductor device
KR100457740B1 (en)A method for manufacturing a multi-layer metal line of a semiconductor device
KR100996160B1 (en) Capacitor Manufacturing Method for Semiconductor Devices

Legal Events

DateCodeTitleDescription
PB01Publication
PB01Publication
SE01Entry into force of request for substantive examination
SE01Entry into force of request for substantive examination
GR01Patent grant
GR01Patent grant

[8]ページ先頭

©2009-2025 Movatter.jp