

技术领域technical field
本发明涉及安全定位领域,特别是涉及一种基于多帧图像运动信息的蓝宝石接种检测装置和方法。The invention relates to the field of safe positioning, in particular to a sapphire inoculation detection device and method based on multi-frame image motion information.
背景技术Background technique
工业蓝宝石多以无色的宝石晶体为主。蓝宝石良好的物理化学特性,在科学技术研发中广泛应用。为满足需求,自动化生产已经成为工业蓝宝石行业发展趋势。其中利用泡生法制备蓝宝石单晶,在高温条件下籽晶接触熔融态的三氧化二铝液面,通过轻微提拉、旋转使晶体开始生长的过程称为接种。制备一次大尺寸的工业蓝宝石单晶的原料及能源成本共约十几万元,接种水平高低会影响晶体的生长,浪费所有前期成本投入,所以接种是工业蓝宝石制备过程的关键环节,直接影响宝石行业生产的效益。Industrial sapphires are mostly colorless gem crystals. Sapphire has good physical and chemical properties and is widely used in scientific and technological research and development. In order to meet the demand, automated production has become the development trend of the industrial sapphire industry. Among them, the sapphire single crystal is prepared by the bubble growth method, and the seed crystal contacts the molten aluminum oxide liquid surface under high temperature conditions, and the process of starting the crystal growth by slight pulling and rotation is called seeding. The cost of raw materials and energy for preparing a large-sized industrial sapphire single crystal is about 100,000 yuan. The level of inoculation will affect the growth of the crystal and waste all the initial cost investment. Therefore, inoculation is a key link in the production process of industrial sapphire, which directly affects the gemstone. The benefits of industry production.
目前,人工接种是最常见的方式,依靠长晶工人的经验与尝试接种,成功率低,同时消耗大量的人力、物力。提升良品率,减少人为不可控因素,实现接种过程重要参数量化的自动化接种。但泡生法蓝宝石接种过程中,坩埚内部温度1800摄氏度以上,接种过程对温度要求十分苛刻,通过现有温度控制技术难以实现精确的高温测量,即无法量化最适宜接种温度。另外,泡生法接种过程中,坩埚外置对称加热源,熔融状态的三氧化二铝表面因为温度梯度形成漩涡,加之液面表面出现轻微的翻滚现象,为自动化接种造成技术难题。At present, artificial inoculation is the most common method. It relies on the experience of crystal growth workers and attempts to inoculate, which has a low success rate and consumes a lot of manpower and material resources. Improve the yield rate, reduce human uncontrollable factors, and realize automatic inoculation for quantifying important parameters in the inoculation process. However, in the process of inoculating sapphire by the foaming method, the internal temperature of the crucible is above 1800 degrees Celsius, and the inoculation process has very strict temperature requirements. It is difficult to achieve accurate high temperature measurement through the existing temperature control technology, that is, it is impossible to quantify the optimal inoculation temperature. In addition, during the inoculation process of the bubble method, the crucible is equipped with a symmetrical heating source, and the molten aluminum oxide surface forms a vortex due to the temperature gradient. In addition, the liquid surface surface appears slightly tumbling, which causes technical difficulties for automatic inoculation.
现有的接种技术自动化程度不高,接种成功率一般,首先接种临界环境参数难以测量,而且对于泡生法蓝宝石长晶炉而言,不同设备的热场特性不一样,决定不同设备接种的零界状态环境参数不相同,无法制定统一的生长环境参数标准。其次,现有基于机器视觉的蓝宝石自动化接种技术的核心思想在于仅寻找临界接种特征点,而没有主动预测接种点位置。The existing inoculation technology is not highly automated, and the success rate of inoculation is average. First, it is difficult to measure the critical environmental parameters of inoculation. Moreover, for the bubble-grown sapphire crystal growth furnace, the thermal field characteristics of different equipment are different, which determines the zero inoculation of different equipment. The environmental parameters of the world state are not the same, and it is impossible to formulate a unified standard for the growth environment parameters. Secondly, the core idea of the existing sapphire automatic inoculation technology based on machine vision is to only find the critical inoculation feature points without actively predicting the inoculation point location.
发明内容SUMMARY OF THE INVENTION
本发明主为解决现有问题的不足之处而提供一种基于多帧图像运动信息的蓝宝石接种检测装置和方法。The present invention mainly provides a sapphire inoculation detection device and method based on multi-frame image motion information to solve the shortcomings of the existing problems.
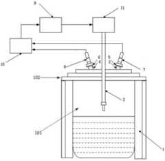
本发明采取以下技术方案:一种基于多帧图像运动信息的蓝宝石接种检测装置,包括坩埚、籽晶杆、第一观察窗、第二观察窗、第一滤光模块、第二滤光模块、第一图像采集模块、第二图像采集模块、图像分析系统、信号传输系统和控制系统;The present invention adopts the following technical scheme: a sapphire seeding detection device based on multi-frame image motion information, comprising a crucible, a seed rod, a first observation window, a second observation window, a first filter module, a second filter module, a first image acquisition module, a second image acquisition module, an image analysis system, a signal transmission system and a control system;
其中,所述坩埚包括埚体和埚盖,埚体用于承载和加热待接种的蓝宝石,埚盖中部开设通孔分别形成第一观察窗、第二观察窗及所述籽晶杆的支撑孔;所述第一滤光模块、第二滤光模块分别设置于所述第一观察窗和第二观察窗中,所述第一图像采集模块、第二图像采集模块通过所述第一观察窗和第二观察窗获取坩埚内的蓝宝石液面图像特征;所述图像分析系统连接所述第一图像采集模块和第二图像采集模块,以对所述第一图像采集模块和第二图像采集模块进行图像处理;所述控制系统连接所述图像分析系统,用于根据图像分析的结果,控制所述籽晶杆向坩埚内部移动,以进行蓝宝石晶体的接种,所述信号传输系统分别连接所述第一图像采集模块、第二图像采集模块和图像分析系统,以对信号的传输进行控制。Wherein, the crucible includes a crucible body and a crucible cover, the crucible body is used to carry and heat the sapphire to be seeded, and a through hole is opened in the middle of the crucible cover to form a first observation window, a second observation window and a support hole for the seed rod respectively The first filter module and the second filter module are respectively arranged in the first observation window and the second observation window, and the first image acquisition module and the second image acquisition module pass through the first observation window and the second observation window to obtain the image features of the sapphire liquid level in the crucible; the image analysis system is connected to the first image acquisition module and the second image acquisition module to monitor the first image acquisition module and the second image acquisition module. Image processing is performed; the control system is connected to the image analysis system, and is used to control the movement of the seed rod to the inside of the crucible according to the result of the image analysis, so as to inoculate the sapphire crystal, and the signal transmission system is respectively connected to the The first image acquisition module, the second image acquisition module and the image analysis system are used to control the transmission of signals.
其中,所述第一观察窗、第一滤光模块、第一图像采集模块,以及所述第二观察窗、第二滤光模块、第二图像采集模块均通过匹配的螺纹接口顺次连接。Wherein, the first observation window, the first filter module, the first image acquisition module, and the second observation window, the second filter module, and the second image acquisition module are connected in sequence through matching screw interfaces.
其中,第一滤光模块和第二滤光模块均是波长0.43-1.6um的滤波片,用以提供可见光和部分红外波段通道,以反映融晶液面的特征。Wherein, the first filter module and the second filter module are both filters with a wavelength of 0.43-1.6um, which are used to provide visible light and part of infrared band channels to reflect the characteristics of the molten crystal liquid surface.
其中,所述第一图像采集模块和第二图像采集模块均由物镜、放大镜、目镜、彩色工业CCD次序连接构成。Wherein, the first image acquisition module and the second image acquisition module are formed by connecting an objective lens, a magnifying glass, an eyepiece, and a color industrial CCD in sequence.
其中,所述图像分析系统包括:Wherein, the image analysis system includes:
接收单元,通过信号传输系统连接所述第一图像采集模块和第二图像采集模块,用于实时接收所述第一图像采集模块和第二图像采集模块采集的坩埚中的蓝宝石图像信息;a receiving unit, connected to the first image acquisition module and the second image acquisition module through a signal transmission system, for receiving in real time the sapphire image information in the crucible collected by the first image acquisition module and the second image acquisition module;
预处理单元,用于对所述接收单元接收的第一图像采集模块和第二图像采集模块采集的蓝宝石图像进行融合处理,对每一帧融合图像做降噪、增强滤波处理,得到融合图像中临界接种液面关键交汇线簇,提取图像中长度和夹角细微变化特征,对液面关键交汇线簇霍夫曼直线拟合,量化长度和夹角细微特征变化;The preprocessing unit is configured to perform fusion processing on the sapphire images collected by the first image acquisition module and the second image acquisition module received by the receiving unit, and perform noise reduction, enhancement filtering processing on each frame of the fusion image, and obtain the fusion image. The critical inoculation liquid level key intersection line cluster, extracts the subtle changes in length and angle in the image, and fits the Hoffman line to the liquid level key intersection line cluster to quantify the subtle feature changes of length and included angle;
分析单元,用于根据对连续多帧融合图像中拟合直线簇的长度和夹角特征分析结果,确定蓝宝石最佳接种位置。The analysis unit is used to determine the optimal inoculation position of sapphire according to the analysis results of the length and included angle characteristics of the fitted straight line clusters in the continuous multi-frame fusion images.
其中,所述分析单元根据在多帧融合图像中发现其中一者的拟合直线的数目趋于稳定,且任意一条拟合直线未在少于3600帧内消失,蓝宝石液面关键交汇线簇中至少有相邻的两条拟合直线相互吸引,重合为一条直线时,确定最佳接种位置在两条直线所成锐角角平分线上运动;Wherein, the analysis unit finds that the number of fitted straight lines in one of the multi-frame fusion images tends to be stable, and any fitted straight line does not disappear within less than 3600 frames, and the sapphire liquid surface key intersection line cluster is At least two adjacent fitted straight lines attract each other, and when they overlap into a straight line, determine the optimal inoculation position to move on the bisector of the acute angle formed by the two straight lines;
液面关键交汇线簇中拟合直线的长度不变,说明液面流动稳定,则选取交汇线簇角度关系和长度稳定变化的拟合直线,通过勾股定理计算各线在接种最佳位置运动方向上的投影长度,代表接种最佳位置在该方向上的移动速度,利用连续多帧角度和长度的变化特征,计算出最佳接种位置的运动方向和运动速度,预测最适接种位置。The length of the fitted straight line in the key intersection line cluster of the liquid level is unchanged, indicating that the liquid surface flow is stable, then the fitted straight line with the angle relationship and the length of the intersection line cluster is selected, and the movement of each line at the optimal position of inoculation is calculated by the Pythagorean theorem. The projected length in the direction represents the moving speed of the optimal inoculation position in this direction. Using the change characteristics of the angle and length of consecutive multiple frames, the movement direction and speed of the optimal inoculation position are calculated, and the optimal inoculation position is predicted.
其中,在所述分析单元分析计算预测最适接种位置后,通过一控制系统控制所述籽晶杆向最佳接种位置移动,并控制一蜂鸣器发出声音信号提示接种开始。Wherein, after the analysis unit analyzes and calculates and predicts the optimal inoculation position, a control system controls the seed rod to move to the optimal inoculation position, and controls a buzzer to emit a sound signal to prompt the start of inoculation.
其中,所述控制系统根据所述分析单元预测的最适接种位置及最佳接种位置的运动方向和运动速度,确定最佳接种位置到达最适接种位置所用时间,结合籽晶杆与最适接种位置之间的距离,控制所述籽晶杆以指定速度到达最适接种位置以进行接种。Wherein, the control system determines the time taken for the optimal inoculation position to reach the optimal inoculation position according to the optimal inoculation position predicted by the analysis unit and the movement direction and speed of the optimal inoculation position, and combines the seed rod and the optimal inoculation position The distance between the positions is controlled, and the seed rod is controlled to reach the optimum inoculation position at a specified speed for inoculation.
本发明采取以下技术方案:一种基于多帧图像运动信息的蓝宝石接种检测方法,利用如前述技术方案所述的基于多帧图像运动信息的蓝宝石接种检测装置进行检测,包括:The present invention adopts the following technical scheme: a kind of sapphire inoculation detection method based on multi-frame image motion information, utilizes the sapphire inoculation detection device based on multi-frame image motion information as described in the foregoing technical scheme to detect, including:
通过第一图像采集模块和第二图像采集模块实时采集坩埚中的蓝宝石液面的图像,并对两个图像采集模块采集的蓝宝石液面图像进行图像融合;Real-time acquisition of images of the sapphire liquid level in the crucible by the first image acquisition module and the second image acquisition module, and image fusion of the sapphire liquid level images collected by the two image acquisition modules;
对每一帧融合图像做降噪、增强滤波处理,得到融合图像中临界接种液面关键交汇线簇,提取图像中长度和夹角细微变化特征,对液面关键交汇线簇霍夫曼直线拟合,量化长度和夹角细微特征变化;Perform noise reduction and enhancement filtering on each frame of the fusion image to obtain the key intersection line cluster of the critical inoculation liquid level in the fusion image, extract the subtle changes in length and angle in the image, and simulate the Hoffman line of the key intersection line cluster of the liquid level. Combine, quantify the subtle feature changes of length and included angle;
在多帧融合图像中,若发现其中一者的拟合直线的数目趋于稳定,且任意一条拟合直线未在少于3600帧内消失,蓝宝石液面关键交汇线簇中至少有相邻的两条拟合直线相互吸引,重合为一条直线时,确定最佳接种位置在两条直线所成锐角角平分线上运动;In the multi-frame fusion image, if the number of fitted straight lines of one of them is found to be stable, and any fitted straight line does not disappear within less than 3600 frames, there are at least adjacent sapphire liquid surface key intersection line clusters in the cluster. When the two fitted straight lines attract each other and overlap into a straight line, the optimal inoculation position is determined to move on the bisector of the acute angle formed by the two straight lines;
液面关键交汇线簇中拟合直线的长度不变,说明液面流动稳定,则选取交汇线簇角度关系和长度稳定变化的拟合直线,通过勾股定理计算各线在接种最佳位置运动方向上的投影长度,代表接种最佳位置在该方向上的移动速度,利用连续多帧角度和长度的变化特征,计算出最佳接种位置的运动方向和运动速度,预测最适接种位置。The length of the fitted straight line in the key intersection line cluster of the liquid level is unchanged, indicating that the liquid surface flow is stable, then the fitted straight line with the angle relationship and the length of the intersection line cluster is selected, and the movement of each line at the optimal position of inoculation is calculated by the Pythagorean theorem. The projected length in the direction represents the moving speed of the optimal inoculation position in this direction. Using the change characteristics of the angle and length of consecutive multiple frames, the movement direction and speed of the optimal inoculation position are calculated, and the optimal inoculation position is predicted.
区别于现有技术,本发明本发明一种基于多帧图像运动信息的蓝宝石接种检测装置和方法通过对蓝宝石接种液面多帧图像特征识别技术,解决接种临界环境参数难以测量,不同长晶设备的热场特性不同,接种临界状态环境参数不同的问题。本发明识别的多帧图像运动特征仅会出现于最适合的接种环境中,分析接种液面关键交汇线簇的角度和长度变化特征即可,不再通过测量最适合接种环境参数的方法寻找接种点。本发明利用多帧图像运动信息结合图像融合技术,对蓝宝石接种液面多帧图像特征进行深度分析,预测工业蓝宝石最佳接种位置,不必检测最佳接种位置的相关理化特征。该系统实时性好,预测误判率低。Different from the prior art, a sapphire inoculation detection device and method based on multi-frame image motion information of the present invention solves the problem that the critical environmental parameters of inoculation are difficult to measure, and different crystal growth equipments are difficult to measure. The thermal field characteristics are different, and the environmental parameters of the critical state are different. The multi-frame image motion feature identified by the invention will only appear in the most suitable inoculation environment, and the angle and length variation characteristics of the key intersection line clusters of the inoculation liquid level can be analyzed, and the method of measuring the most suitable inoculation environment parameters is no longer used to find the inoculation. point. The invention utilizes the multi-frame image motion information combined with the image fusion technology to perform in-depth analysis on the multi-frame image features of the sapphire inoculation liquid surface, and predicts the optimal inoculation position of industrial sapphire without detecting the relevant physical and chemical characteristics of the optimal inoculation position. The system has good real-time performance and low prediction misjudgment rate.
附图说明Description of drawings
图1是本发明提供的一种基于多帧图像运动信息的蓝宝石接种检测装置的结构示意图。1 is a schematic structural diagram of a sapphire inoculation detection device based on multi-frame image motion information provided by the present invention.
图2是本发明提供的一种基于多帧图像运动信息的蓝宝石接种检测方法的流程示意图。2 is a schematic flowchart of a method for detecting sapphire inoculation based on multi-frame image motion information provided by the present invention.
具体实施方式Detailed ways
下面结合具体实施方式对本发明的技术方案作进一步更详细的描述。显然,所描述的实施例仅仅是本发明的一部分实施例,而不是全部的实施例。基于本发明中的实施例,本领域普通技术人员在没有作出创造性劳动的前提下所获得的所有其他实施例,都应属于本发明保护的范围。The technical solutions of the present invention will be further described in more detail below in conjunction with specific embodiments. Obviously, the described embodiments are only some, but not all, embodiments of the present invention. Based on the embodiments of the present invention, all other embodiments obtained by persons of ordinary skill in the art without creative work shall fall within the protection scope of the present invention.
参阅图1,图1是本发明提供的一种基于多帧图像运动信息的蓝宝石接种检测装置的结构示意图。该装置包括:坩埚1、籽晶杆2、第一观察窗3、第二观察窗4、第一滤光模块5、第二滤光模块6、第一图像采集模块7、第二图像采集模块8、图像分析系统9、信号传输系统10和控制系统11。Referring to FIG. 1, FIG. 1 is a schematic structural diagram of a sapphire inoculation detection device based on multi-frame image motion information provided by the present invention. The device includes: a crucible 1, a seed rod 2, a first observation window 3, a second observation window 4, a first filter module 5, a
其中,坩埚1包括埚体101和埚盖102,埚体101用于承载和加热待接种的蓝宝石,埚盖102中部开设通孔分别形成第一观察窗3、第二观察窗4及籽晶杆2的支撑孔。优选的,所述埚盖102设置为圆形,所述第一观察窗3和第二观察窗4设置于埚盖102上靠近圆心的位置,且二者相对于圆心对称设置。籽晶杆2的支撑孔设置于埚盖102的圆心位置,且直接等于或略大于籽晶杆2的直径。籽晶杆2为常用籽晶杆。The crucible 1 includes a
第一滤光模块5、第二滤光模块6分别设置于第一观察窗3和第二观察窗4中,具体为覆盖第一观察窗3和第二观察窗4。其中,第一滤光模块5和第二滤光模块6均是波长0.43-1.6um的滤波片,用以提供可见光和部分红外波段通道,以反映融晶液面的特征。第一图像采集模块7、第二图像采集模块8通过第一观察窗3和第二观察窗4获取坩埚1内的蓝宝石液面图像特征。第一图像采集模块7和第二图像采集模块8均由物镜、放大镜、目镜、彩色工业CCD次序连接构成。其中优选的彩色工业CCD,是根据不同设备的工艺,设计光路测算焦距选取。第一观察窗3、第一滤光模块5和第一图像采集模块7可通过匹配的螺纹接口顺次连接,组成第一条光路系统。第二观察窗4、第二滤光模块6和第二图像采集模块8可通过匹配的螺纹接口顺次连接,组成另一条光路系统。图像分析系统9连接第一图像采集模块7和第二图像采集模块8,以对第一图像采集模块7和第二图像采集模块8进行图像处理;控制系统11连接图像分析系统9,用于根据图像分析的结果,控制籽晶杆2向坩埚1内部移动,以进行蓝宝石晶体的接种,信号传输系统10分别连接第一图像采集模块7、第二图像采集模块8、图像分析系统9及控制系统11,以对信号的传输进行控制。具体的,第一图像采集模块7、第二图像采集模块8实时采集坩埚1内的蓝宝石液面的图像信息,发送到信号传输系统10,信号传输系统10将图像信息发送到图像分析系统9,分析完成后,图像分析系统将分析的结果信息发送到控制系统11,控制系统11根据分析结果控制籽晶杆2的移动。The first filter module 5 and the
具体的,图像分析系统9包括:Specifically, the image analysis system 9 includes:
接收单元901,通过信号传输系统连接第一图像采集模块7和第二图像采集模块8,用于实时接收第一图像采集模块7和第二图像采集模块8采集的坩埚1中的蓝宝石图像信息;The receiving unit 901 is connected to the first image acquisition module 7 and the second image acquisition module 8 through a signal transmission system, and is used to receive the sapphire image information in the crucible 1 collected by the first image acquisition module 7 and the second image acquisition module 8 in real time;
预处理单元902,用于对接收单元901接收的第一图像采集模块7和第二图像采集模块8采集的蓝宝石图像进行融合处理,对每一帧融合图像做降噪、增强滤波处理,得到融合图像中临界接种液面关键交汇线簇,提取图像中长度和夹角细微变化特征,对液面关键交汇线簇霍夫曼直线拟合,量化长度和夹角细微特征变化;The preprocessing unit 902 is used to perform fusion processing on the sapphire images collected by the first image acquisition module 7 and the second image acquisition module 8 received by the receiving unit 901, and perform noise reduction and enhancement filtering processing on each frame of the fusion image to obtain fusion. The key intersection line cluster of the critical inoculation liquid level in the image, extracting the subtle changes of length and angle in the image, fitting the Hoffman line to the key intersection line cluster of the liquid level, and quantifying the subtle feature changes of length and included angle;
分析单元903,用于根据对连续多帧融合图像中拟合直线簇的长度和夹角特征分析结果,确定蓝宝石最佳接种位置。The analyzing unit 903 is configured to determine the optimal inoculation position of sapphire according to the characteristic analysis result of the length and included angle of the fitted straight line clusters in the continuous multi-frame fusion images.
分析单元903根据在多帧融合图像中发现其中一者的拟合直线的数目趋于稳定,且任意一条拟合直线未在少于3600帧内消失,蓝宝石液面关键交汇线簇中至少有相邻的两条拟合直线相互吸引,重合为一条直线时,确定最佳接种位置在两条直线所成锐角角平分线上运动;The analysis unit 903 finds that the number of fitting straight lines in one of the multi-frame fused images tends to be stable, and any fitted straight line does not disappear within less than 3600 frames, and there are at least similar lines in the sapphire liquid surface key intersection line cluster. When the two adjacent fitted straight lines attract each other and coincide as a straight line, determine the optimal inoculation position to move on the bisector of the acute angle formed by the two straight lines;
液面关键交汇线簇中拟合直线的长度不变,说明液面流动稳定,则选取交汇线簇角度关系和长度稳定变化的拟合直线,通过勾股定理计算各线在接种最佳位置运动方向上的投影长度,代表接种最佳位置在该方向上的移动速度,利用连续多帧角度和长度的变化特征,计算出最佳接种位置的运动方向和运动速度,预测最适接种位置。The length of the fitted straight line in the key intersection line cluster of the liquid level is unchanged, indicating that the liquid surface flow is stable, then the fitted straight line with the angle relationship and the length of the intersection line cluster is selected, and the movement of each line at the optimal position of inoculation is calculated by the Pythagorean theorem. The projected length in the direction represents the moving speed of the optimal inoculation position in this direction. Using the change characteristics of the angle and length of consecutive multiple frames, the movement direction and speed of the optimal inoculation position are calculated, and the optimal inoculation position is predicted.
在分析单元903分析计算预测最适接种位置后,通过控制系统11控制籽晶杆2向最佳接种位置移动,并控制一蜂鸣器1101发出声音信号提示接种开始。After the analysis unit 903 analyzes, calculates and predicts the optimal inoculation position, the
控制系统11根据分析单元903预测的最适接种位置及最佳接种位置的运动方向和运动速度,确定最佳接种位置到达最适接种位置所用时间,结合籽晶杆与最适接种位置之间的距离,控制籽晶杆2以指定速度到达最适接种位置以进行接种。The
本发明主要利用多帧图像运动信息结合图像融合技术,分析接种液面关键交汇线簇的角度和长度特征,对于工业蓝宝石最适接种位置的预测,实现自动化接种。The invention mainly utilizes the multi-frame image motion information combined with the image fusion technology to analyze the angle and length characteristics of the key intersection line clusters of the inoculation liquid surface, and realizes the automatic inoculation for the prediction of the optimum inoculation position of the industrial sapphire.
具体的,本发明的蓝宝石接种检测装置工作过程为:Specifically, the working process of the sapphire inoculation detection device of the present invention is:
1、根据泡生法制备蓝宝石设备工艺,设计接种光路,实际物距(即第一观察窗3和第二观察窗4距离蓝宝石液面的距离)设置为44.85cm,第一观察窗3和第二观察窗4的实际视野直径为5cm的圆,计算出镜头焦距,相机焦距一般小于镜头焦距,挑选出适合的彩色工业CCD相机。选取两套与CCD相机匹配的物镜、放大镜、目镜,作为第一图像采集模块7和第二图像采集模块8,选取波长范围0.43-1.6um的滤波片作为第一滤光模块5和第二滤光模块6,以提供可见光和部分红外波段通道,从而更加精细地反映融晶液面的特征。1. According to the process of preparing sapphire equipment by the foaming method, the inoculation optical path is designed, and the actual object distance (that is, the distance between the first observation window 3 and the second observation window 4 and the sapphire liquid surface) is set to 44.85cm. 2. The actual field of view of the observation window 4 is a circle with a diameter of 5 cm, and the focal length of the lens is calculated. The focal length of the camera is generally smaller than the focal length of the lens, and a suitable color industrial CCD camera is selected. Two sets of objective lenses, magnifiers, and eyepieces that match the CCD camera are selected as the first image acquisition module 7 and the second image acquisition module 8, and filters with a wavelength range of 0.43-1.6um are selected as the first filter module 5 and the second filter. The
2、对第一图像采集模块7和第二图像采集模块8的工业CCD相机进行标定,使第一图像采集模块7和第二图像采集模块8经图像分析系统9,得到的再融合图像每个像素能对应临界接种时坩埚液面的实际位置。2. The industrial CCD cameras of the first image acquisition module 7 and the second image acquisition module 8 are calibrated, so that the first image acquisition module 7 and the second image acquisition module 8 pass through the image analysis system 9 to obtain each re-fused image. The pixel can correspond to the actual position of the crucible liquid level during the critical inoculation.
3、包括75公斤熔融态三氧化二铝的融晶液面和籽晶杆2的图像由坩埚1顶部的两个图像采集模块进行采集,具体的对融晶液面关键交汇线簇长度和夹角细微特征变化采集。3. The images of the molten crystal surface and the seed rod 2 including 75 kg of molten aluminum oxide are collected by the two image acquisition modules on the top of the crucible 1. Angular subtle feature change acquisition.
4、采集的图像信息通过信号传输系统10输送到图像分析系统9。图像分析系统9先对两个图像采集模块下每一帧图像做预处理,再使用像素级图像融合技术,得到完整的接种液面图像。图像分析系统9对每一帧融合图像继续做降噪、增强滤波处理,得到临界接种液面关键交汇线簇,并提取长度和夹角细微变化特征,对液面关键交汇线簇霍夫曼直线拟合,量化长度和夹角细微特征变化。对连续多帧融合图像中拟合直线簇的长度和夹角特征分析,此多帧图像运动特征只会出现于最适合的接种环境中,首先连续多帧融合图像中拟合直线的数目较为稳定,任意一条拟合直线不会在少于3600帧内消失,角度变化关系可对接种位置预测提供依据,液面关键交汇线簇中必有相邻的两条拟合直线相互吸引,重合为一条直线,接种最佳位置在这两条直线所成锐角角平分线上运动。其次,液面关键交汇线簇中拟合直线的长度代表液面流动速度,长度不变说明液面流动稳定,仅选取交汇线簇角度关系和长度稳定变化的拟合直线,通过勾股定理计算各线在接种最佳位置运动方向上的投影长度,代表接种最佳位置在该方向上的移动速度。利用连续多帧角度和长度的变化特征,计算出接种最佳位置的运动方向和运动速度即可预测最适接种位置。4. The collected image information is sent to the image analysis system 9 through the
5、图像分析系统8会通知提示与控制系统11采取相应动作,蜂鸣器预警提示技术工人设备接种开始,并充分考虑籽晶杆下降耗时,精准到达预测接种位置,完成自动化接种。5. The image analysis system 8 will notify the prompting and
本发明的第一目的在于提出一种蓝宝石接种液面多帧图像特征识别技术,解决接种临界环境参数难以测量,不同长晶设备的热场特性不同,接种临界状态环境参数不同的问题。本发明识别的多帧图像运动特征仅会出现于最适合的接种环境中,分析接种液面关键交汇线簇的角度和长度变化特征即可,不再通过测量最适合接种环境参数的方法寻找接种点。The first purpose of the present invention is to propose a multi-frame image feature recognition technology of sapphire inoculation liquid surface, which solves the problems that the critical environmental parameters of inoculation are difficult to measure, the thermal field characteristics of different crystal growth equipment are different, and the environmental parameters of inoculation critical state are different. The multi-frame image motion features identified by the invention will only appear in the most suitable inoculation environment, and the angle and length variation characteristics of the key intersection line clusters of the inoculation liquid level can be analyzed, and the method of measuring the most suitable inoculation environment parameters is no longer used to find the inoculation. point.
本发明的第二个目的在于利用多帧图像运动信息结合图像融合技术,对蓝宝石接种液面多帧图像特征进行深度分析,预测工业蓝宝石最佳接种位置,不必检测最佳接种位置的相关理化特征。The second object of the present invention is to use multi-frame image motion information combined with image fusion technology to perform in-depth analysis on the multi-frame image features of the sapphire inoculation liquid level, so as to predict the optimal inoculation position of industrial sapphire, and it is not necessary to detect the relevant physical and chemical characteristics of the optimal inoculation position. .
本发明的第三个目的在于提出一种基于多帧图像运动信息的蓝宝石接种检测系统,该系统实时性好,预测误判率低。The third object of the present invention is to propose a sapphire inoculation detection system based on multi-frame image motion information, which has good real-time performance and low prediction misjudgment rate.
参阅图2,图2是本发明提供的一种基于多帧图像运动信息的蓝宝石接种检测方法,该方法利用前述技术方案的蓝宝石接种检测装置进行检测,具体步骤包括:Referring to Fig. 2, Fig. 2 is a kind of sapphire inoculation detection method based on multi-frame image motion information provided by the present invention, the method utilizes the sapphire inoculation detection device of the aforementioned technical scheme to detect, and the specific steps include:
通过第一图像采集模块和第二图像采集模块实时采集坩埚中的蓝宝石液面的图像,并对两个图像采集模块采集的蓝宝石液面图像进行图像融合;Real-time acquisition of images of the sapphire liquid level in the crucible by the first image acquisition module and the second image acquisition module, and image fusion of the sapphire liquid level images collected by the two image acquisition modules;
对每一帧融合图像做降噪、增强滤波处理,得到融合图像中临界接种液面关键交汇线簇,提取图像中长度和夹角细微变化特征,对液面关键交汇线簇霍夫曼直线拟合,量化长度和夹角细微特征变化;Perform noise reduction and enhancement filtering on each frame of the fusion image to obtain the key intersection line cluster of the critical inoculation liquid level in the fusion image, extract the subtle changes in length and angle in the image, and simulate the Hoffman line of the key intersection line cluster of the liquid level. Combine, quantify the subtle feature changes of length and included angle;
在多帧融合图像中,若发现其中一者的拟合直线的数目趋于稳定,且任意一条拟合直线未在少于3600帧内消失,蓝宝石液面关键交汇线簇中至少有相邻的两条拟合直线相互吸引,重合为一条直线时,确定最佳接种位置在两条直线所成锐角角平分线上运动;In the multi-frame fusion image, if the number of fitted straight lines of one of them is found to be stable, and any fitted straight line does not disappear within less than 3600 frames, there are at least adjacent sapphire liquid surface key intersection line clusters in the cluster. When the two fitted straight lines attract each other and overlap into a straight line, the optimal inoculation position is determined to move on the bisector of the acute angle formed by the two straight lines;
液面关键交汇线簇中拟合直线的长度不变,说明液面流动稳定,则选取交汇线簇角度关系和长度稳定变化的拟合直线,通过勾股定理计算各线在接种最佳位置运动方向上的投影长度,代表接种最佳位置在该方向上的移动速度,利用连续多帧角度和长度的变化特征,计算出最佳接种位置的运动方向和运动速度,预测最适接种位置。The length of the fitted straight line in the key intersection line cluster of the liquid level is unchanged, indicating that the liquid surface flow is stable, then the fitted straight line with the angle relationship and the length of the intersection line cluster is selected, and the movement of each line at the optimal position of inoculation is calculated by the Pythagorean theorem. The projected length in the direction represents the moving speed of the optimal inoculation position in this direction. Using the change characteristics of the angle and length of consecutive multiple frames, the movement direction and speed of the optimal inoculation position are calculated, and the optimal inoculation position is predicted.
区别于现有技术,本发明本发明一种基于多帧图像运动信息的蓝宝石接种检测装置和方法通过对蓝宝石接种液面多帧图像特征识别技术,解决接种临界环境参数难以测量,不同长晶设备的热场特性不同,接种临界状态环境参数不同的问题。本发明识别的多帧图像运动特征仅会出现于最适合的接种环境中,分析接种液面关键交汇线簇的角度和长度变化特征即可,不再通过测量最适合接种环境参数的方法寻找接种点。本发明利用多帧图像运动信息结合图像融合技术,对蓝宝石接种液面多帧图像特征进行深度分析,预测工业蓝宝石最佳接种位置,不必检测最佳接种位置的相关理化特征。该系统实时性好,预测误判率低。Different from the prior art, a sapphire inoculation detection device and method based on multi-frame image motion information of the present invention solves the problem that the critical environmental parameters of inoculation are difficult to measure, and different crystal growth equipment The thermal field characteristics are different, and the environmental parameters of the critical state are different. The multi-frame image motion feature identified by the invention will only appear in the most suitable inoculation environment, and the angle and length variation characteristics of the key intersection line clusters of the inoculation liquid level can be analyzed, and the method of measuring the most suitable inoculation environment parameters is no longer used to find the inoculation. point. The invention utilizes the multi-frame image motion information combined with the image fusion technology to perform in-depth analysis on the multi-frame image features of the sapphire inoculation liquid surface, and predicts the optimal inoculation position of industrial sapphire without detecting the relevant physical and chemical characteristics of the optimal inoculation position. The system has good real-time performance and low prediction misjudgment rate.
以上所述仅为本发明的实施方式,并非因此限制本发明的专利范围,凡是利用本发明说明书及附图内容所作的等效结构或等效流程变换,或直接或间接运用在其他相关的技术领域,均同理包括在本发明的专利保护范围内。The above description is only an embodiment of the present invention, and is not intended to limit the scope of the present invention. Any equivalent structure or equivalent process transformation made by using the contents of the description and drawings of the present invention, or directly or indirectly applied to other related technologies Fields are similarly included in the scope of patent protection of the present invention.
| Application Number | Priority Date | Filing Date | Title |
|---|---|---|---|
| CN201810333442.6ACN108344742B (en) | 2018-04-13 | 2018-04-13 | A sapphire inoculation detection device and method based on multi-frame image motion information |
| Application Number | Priority Date | Filing Date | Title |
|---|---|---|---|
| CN201810333442.6ACN108344742B (en) | 2018-04-13 | 2018-04-13 | A sapphire inoculation detection device and method based on multi-frame image motion information |
| Publication Number | Publication Date |
|---|---|
| CN108344742A CN108344742A (en) | 2018-07-31 |
| CN108344742Btrue CN108344742B (en) | 2020-06-05 |
| Application Number | Title | Priority Date | Filing Date |
|---|---|---|---|
| CN201810333442.6AActiveCN108344742B (en) | 2018-04-13 | 2018-04-13 | A sapphire inoculation detection device and method based on multi-frame image motion information |
| Country | Link |
|---|---|
| CN (1) | CN108344742B (en) |
| Publication number | Priority date | Publication date | Assignee | Title |
|---|---|---|---|---|
| CN109487334A (en)* | 2018-11-22 | 2019-03-19 | 太原理工大学 | A kind of kyropoulos sapphire based on random distribution melts brilliant inoculation state control method |
| CN112642022B (en)* | 2020-12-31 | 2022-07-05 | 遵义师范学院 | A kind of infusion monitoring system and monitoring method |
| CN113252176B (en)* | 2021-04-30 | 2022-04-12 | 太原理工大学 | A high-precision sensing device and method for sapphire seeding point based on radiation spectrum |
| CN113280906B (en)* | 2021-06-18 | 2022-05-10 | 太原理工大学 | Computer vision-based vibration perception method for optimal seeding timing of seed crystals |
| Publication number | Priority date | Publication date | Assignee | Title |
|---|---|---|---|---|
| CN1307654A (en)* | 1998-06-26 | 2001-08-08 | Memc电子材料有限公司 | Crystal puller for growing low defect density, self-interstitial dominated silicon |
| Publication number | Priority date | Publication date | Assignee | Title |
|---|---|---|---|---|
| US5882402A (en)* | 1997-09-30 | 1999-03-16 | Memc Electronic Materials, Inc. | Method for controlling growth of a silicon crystal |
| JP3592909B2 (en)* | 1997-10-29 | 2004-11-24 | 東芝セラミックス株式会社 | Single crystal pulling device |
| KR20020081287A (en)* | 2000-02-01 | 2002-10-26 | 엠이엠씨 일렉트로닉 머티리얼즈 인코포레이티드 | Method for controlling growth of a silicon crystal to minimize growth rate and diameter deviations |
| JP4056206B2 (en)* | 2000-09-11 | 2008-03-05 | 株式会社荏原製作所 | Ribbon crystal growth method and apparatus |
| JP2004035352A (en)* | 2002-07-05 | 2004-02-05 | Sumitomo Mitsubishi Silicon Corp | Pull-up device for silicon single crystal |
| JP4930488B2 (en)* | 2008-10-21 | 2012-05-16 | 信越半導体株式会社 | Single crystal diameter detection method, single crystal manufacturing method using the same, and single crystal manufacturing apparatus |
| JP5109928B2 (en)* | 2008-10-21 | 2012-12-26 | 信越半導体株式会社 | Single crystal diameter detection method, single crystal manufacturing method using the same, and single crystal manufacturing apparatus |
| US8545623B2 (en)* | 2009-06-18 | 2013-10-01 | Sumco Phoenix Corporation | Method and apparatus for controlling the growth process of a monocrystalline silicon ingot |
| DE102012003114B4 (en)* | 2012-02-16 | 2014-02-13 | Audiodev Gmbh | METHOD OF MEASURING THE DISTANCE BETWEEN TWO OBJECTS |
| JP2016121023A (en)* | 2014-12-24 | 2016-07-07 | 株式会社Sumco | Production method of single crystal |
| JP6477356B2 (en)* | 2015-08-21 | 2019-03-06 | 株式会社Sumco | Single crystal manufacturing method and manufacturing apparatus |
| KR101775057B1 (en)* | 2015-09-07 | 2017-09-05 | 한국생산기술연구원 | Apparatus and method for island position detecting of furnace |
| CN107818559B (en)* | 2017-09-22 | 2021-08-20 | 太原理工大学 | Crystal seeding state detection method and crystal seeding state image acquisition device |
| Publication number | Priority date | Publication date | Assignee | Title |
|---|---|---|---|---|
| CN1307654A (en)* | 1998-06-26 | 2001-08-08 | Memc电子材料有限公司 | Crystal puller for growing low defect density, self-interstitial dominated silicon |
| Title |
|---|
| "In-situ monitoring system of the position andtemperature at the crystal–solution interface";Gen Sazaki 等;《Journal of Crystal Growth》;20021231;第236卷;第125–131页* |
| "大直径蓝宝石生长工艺及性能研究";王铎;《中国优秀硕士学位论文全文数据库 工程科技I辑》;20100215(第2期);第B014-96页* |
| Publication number | Publication date |
|---|---|
| CN108344742A (en) | 2018-07-31 |
| Publication | Publication Date | Title |
|---|---|---|
| CN108344742B (en) | A sapphire inoculation detection device and method based on multi-frame image motion information | |
| CN104005083B (en) | A kind of apparatus and method measuring single crystal growing furnace fusion silicon liquid level height | |
| CN110472698A (en) | Increase material based on the metal of depth and transfer learning and shapes fusion penetration real-time predicting method | |
| CN101655444B (en) | Algae classified detection system through video images | |
| CN110490867A (en) | Metal increasing material manufacturing forming dimension real-time predicting method based on deep learning | |
| CN111931832B (en) | Optimal data acquisition method and system for substation inspection equipment | |
| JP7541194B2 (en) | Method and apparatus for detecting diameter of single crystal silicon based on chord length ratio of concentric ellipses | |
| CN104251738B (en) | A kind of helmet-type infrared radiation thermometer and its method | |
| EP3158284B1 (en) | Apparatus and method for heating and measuring of transparent cylindrical articles | |
| CN107957245A (en) | Engine link dimension measuring device and its measuring method based on machine vision | |
| CN111126206B (en) | Smelting state detection system and method based on deep learning | |
| CN102564927B (en) | Urine holographic detecting method and equipment | |
| CN106979952A (en) | A kind of algae detection and Statistics of Density devices and methods therefor based on machine vision technique | |
| CN104266900B (en) | A kind of crack tip opening displacement measuring method based on high temperature image procossing | |
| CN102181598A (en) | Prejudgment and control method of tapping and slagging of converter based on thermal image | |
| WO2015050286A1 (en) | Device for detecting island position of single crystal ingot growing furnace and method for detecting island position | |
| CN114324080A (en) | Device for on-line detection of energetic material particle morphology and particle size distribution | |
| CN103323483A (en) | Double-wire test method for melting and crystallization properties | |
| CN207163945U (en) | Also retract rate measurement apparatus | |
| CN102135415A (en) | A device and method for measuring the pore size of foamed aluminum based on machine vision | |
| CN110487415A (en) | Molten metal fluid volume data detection device, method and system | |
| CN110514302B (en) | Marine optical fiber spectrometer detection method based on small underwater machine equipment | |
| PL1816108T3 (en) | Device and method for measuring the level of molten glass in a furnace structure | |
| CN105890528B (en) | A kind of measurement method of glue thickness | |
| CN202145259U (en) | Binocular stereoscopic vision imaging device of two-lens single-image sensor |
| Date | Code | Title | Description |
|---|---|---|---|
| PB01 | Publication | ||
| PB01 | Publication | ||
| SE01 | Entry into force of request for substantive examination | ||
| SE01 | Entry into force of request for substantive examination | ||
| GR01 | Patent grant | ||
| GR01 | Patent grant |