




技术领域technical field
本发明涉及一种输液设备,特别涉及一种可自动调压的臂绑式输液设备。The invention relates to an infusion device, in particular to an arm-tied infusion device that can automatically adjust the pressure.
背景技术Background technique
现有的输液设备包括输液瓶、输液管和针头,但是,现有输液设备存在以下缺陷:当输液温度低于室温时,易产生气泡,不利于输液进行The existing infusion equipment includes an infusion bottle, an infusion tube and a needle. However, the existing infusion equipment has the following defects: when the infusion temperature is lower than room temperature, air bubbles are easily generated, which is not conducive to the infusion process.
1)必须有体位的高度差,即必须要悬挂在病人的上方才能输液,且要有一定的高度才能保证输液的速度;1) There must be a height difference of the body position, that is, the infusion must be suspended above the patient, and a certain height can ensure the speed of the infusion;
2)由于体位限制不能随意移动,上厕所等各种活动就会感到非常的不便;2) Due to the limitation of body position, you cannot move at will, and various activities such as going to the toilet will be very inconvenient;
3)输液速度有一定的限制,在抢救严重失血、脱水高危病人时,无法进行快速输液,且不能准确控制输液速度的快慢。3) The infusion speed has certain limitations. When rescuing patients with severe blood loss and high risk of dehydration, rapid infusion cannot be performed, and the infusion speed cannot be accurately controlled.
发明内容SUMMARY OF THE INVENTION
为了克服上述现有技术的不足,本发明的目的在于提供了一种可自动调压的臂绑式输液设备,可以持续调节压强来保证输液平稳进行,并通过挤压输液管实现不同输液对象不同输液速度的目的,此外,输液设备内部具有陶瓷加热片可以对输液袋进行加热,减少气泡产生,其具有体积不大,重量轻,易携带,使用方式简单的特点。In order to overcome the above-mentioned deficiencies of the prior art, the purpose of the present invention is to provide an arm-tied infusion device that can automatically adjust the pressure, which can continuously adjust the pressure to ensure smooth infusion, and achieve different infusion objects by squeezing the infusion tube. For the purpose of infusion speed, in addition, the infusion equipment has a ceramic heating sheet inside which can heat the infusion bag and reduce the generation of air bubbles. It has the characteristics of small size, light weight, easy portability and simple use.
为了实现上述目的,本发明采用的技术方案是:一种可自动调压的臂绑式输液设备,包括盒体底盖和扣合在盒体底盖上的上盖;盒体底盖两侧设有魔术贴;盒体底盖内由下向上依次设有电池、芯片、陶瓷加热片、固定布;盒体底盖一侧两端分别设有一与电池相连的马达;马达的动力输出端通过齿轮与转动轴上的齿轮啮合;转动轴与固定布一侧相连,固定布的另一侧与固定轴相连;In order to achieve the above purpose, the technical solution adopted in the present invention is: an arm-bound infusion device with automatic pressure regulation, comprising a bottom cover of the box body and an upper cover fastened on the bottom cover of the box body; two sides of the bottom cover of the box body Velcro is provided; the bottom cover of the box body is provided with a battery, a chip, a ceramic heating sheet and a fixing cloth in sequence from bottom to top; a motor connected to the battery is respectively provided on one side of the bottom cover of the box body; the power output end of the motor passes through The gear meshes with the gear on the rotating shaft; the rotating shaft is connected with one side of the fixed cloth, and the other side of the fixed cloth is connected with the fixed shaft;
所述的芯片上设有带有锯齿的推杆,推杆设在锯齿的一端,锯齿与带有齿轮系的模式选择旋钮相连;齿轮系带动锯齿条移动,实现推杆后退或前进,使输液管保持原状或受压变形。The chip is provided with a push rod with serrations, the push rod is arranged at one end of the serrations, and the serrations are connected with a mode selection knob with a gear train; the gear train drives the sawtooth bar to move, so that the push rod can move backward or forward, so that the infusion The tube remains in its original shape or deformed under pressure.
所述的转动轴与固定轴位于盒体底盖两侧。The rotating shaft and the fixed shaft are located on both sides of the bottom cover of the box body.
所述的齿轮系包括一个与锯齿条相啮合的齿轮,齿轮通过连杆与一个锥齿轮一啮合,锥齿轮一与设在旋钮连杆一端的锥齿轮二相啮合,旋钮连杆的另一端固定模式选择旋钮。The gear train includes a gear that meshes with the sawtooth bar, the gear is meshed with a bevel gear through a connecting rod, the bevel gear is meshed with a bevel gear arranged at one end of the knob connecting rod, and the other end of the knob connecting rod is fixed. Mode selection knob.
所述的固定模式选择旋钮可选择连接青年、老年模式。The fixed mode selection knob can be selected to connect youth and old age modes.
本发明的有益效果是:The beneficial effects of the present invention are:
1)本发明不需要举着输液袋至一定高度,在上厕所等情况下解放人们的双手,方便人们工作生活。1) The present invention does not need to hold the infusion bag to a certain height, liberates people's hands when going to the toilet, etc., and facilitates people's work and life.
2)本发明是自动型设备,救生人员只需要打开开关,本设备会自动收缩固定布以提供足够的压强使输液正常进行。2) The present invention is an automatic device. The lifeguard only needs to turn on the switch, and the device will automatically shrink the fixed cloth to provide enough pressure to make the infusion proceed normally.
3)本发明是具有一定调节流速的输液设备,对于不同的输液对象,人们可以选择不同的模式,避免因流速过快带来的不便。3) The present invention is an infusion device with a certain flow rate adjustment. For different infusion objects, people can choose different modes to avoid the inconvenience caused by too fast flow rate.
4)本发明体积不大,重量轻,便于病人正常生活,此外,其工作反应速度快。最后,其制造成本不高,便于广泛推广应用。4) The present invention is small in size and light in weight, which is convenient for patients to live normally, and in addition, its working response speed is fast. Finally, its manufacturing cost is not high, which is convenient for wide popularization and application.
本发明解决了在传统输液时需要将输液袋高举的问题,并且对于不同人群可选择不同的流速。此外其还具有体积不大,重量轻,易携带,使用方式简单的特点。The present invention solves the problem that the infusion bag needs to be lifted during traditional infusion, and different flow rates can be selected for different groups of people. In addition, it has the characteristics of small size, light weight, easy portability and simple use.
附图说明Description of drawings
图1为本发明的整体示意图。FIG. 1 is an overall schematic diagram of the present invention.
图2为本发明固定布、转动轴、固定轴的结构示意图。FIG. 2 is a schematic structural diagram of a fixed cloth, a rotating shaft, and a fixed shaft of the present invention.
图3为本发明模式选择旋钮、推杆、齿轮系、锯齿的结构示意图。3 is a schematic structural diagram of a mode selection knob, a push rod, a gear train, and a saw tooth according to the present invention.
图4为本发明马达、电池、陶瓷加热片是结构示意图。FIG. 4 is a schematic structural diagram of a motor, a battery, and a ceramic heating sheet according to the present invention.
图5为本发明的爆炸结构示意图。FIG. 5 is a schematic diagram of the explosion structure of the present invention.
具体实施方式Detailed ways
下面结合附图对本发明的结构原理和工作原理作进一步详细说明。The structural principle and working principle of the present invention will be further described in detail below with reference to the accompanying drawings.
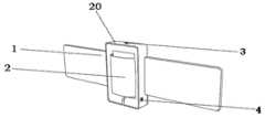
参见图1、2、3、4、5, 一种可自动调压的臂绑式输液设备,其特征在于,包括盒体底盖19和扣合在盒体底盖19上的上盖20;盒体底盖19两侧设有魔术贴1;盒体底盖19内由下向上依次设有电池17、芯片14、陶瓷加热片16、固定布2;盒体底盖19一侧两端分别设有一与电池相连的马达6;马达6的动力输出端通过齿轮与转动轴21上的齿轮5啮合;转动轴21与固定布2一侧相连,固定布2的另一侧与固定轴7相连;Referring to Figures 1, 2, 3, 4, and 5, an arm-tied infusion device that can automatically adjust the pressure is characterized in that it comprises a
所述的芯片14上设有带有锯齿9的推杆10,推杆10设在锯齿9的一端,锯齿9与带有齿轮系8的模式选择旋钮4相连;齿轮系8带动锯齿条9移动,实现推杆10后退或前进,使输液管保持原状或受压变形。The
所述的转动轴21与固定轴7位于盒体底盖19两侧。The rotating
所述的齿轮系8包括一个与锯齿条9相啮合的齿轮22,齿轮22通过连杆与一个锥齿轮一23啮合,锥齿轮一23与设在旋钮连杆24一端的锥齿轮二25相啮合,旋钮连杆24的另一端固定模式选择旋钮4。The
所述的固定模式选择旋钮4可选择连接青年、老年模式。The fixed
由于设有马达6、转动轴21、固定轴7和固定布2,所以调压功能由马达6驱动带有齿轮的转动轴21转动收缩固定布2,而固定轴7保持不动实现。Since the
由于设有电池17、芯片14、陶瓷加热片16和温度传感器11,所以其加热功能由电池17供能给芯片14,芯片14控制陶瓷加热片16加热实现,温度传感器11收集数据,芯片14分析并实时控制陶瓷加热片16温度实现输液袋内液体温度保持在合理范围内而不至于过热。Since the
由于设有模式选择旋钮4、齿轮系8、推杆10和锯齿9,所以其流速调节由模式选择旋钮4旋转带动齿轮系8和锯齿9转动,引起推杆10后退或前进,使输液管保持原状或受压变形实现。Since the
由于电池18还与USB接口18相连,所以其电力补给由USB接口18拔插USB充电线实现。电池通过导线与各用电器相连。Since the
魔术贴1将设备固定在胳膊上,开关3、电池17、马达6,固定轴7,固定布2,带有齿轮的转动轴21,打开开关3,固定轴7固定不动,电池17供能给马达6驱动带有齿轮的转轴5旋转,带动固定布2收缩。陶瓷加热片16,带有温度传感器11的芯片14,电池17供能给芯片14,芯片14控制陶瓷加热片16加热,温度传感器11收集数据,芯片14分析并实时控制陶瓷加热片16温度。带有齿轮系8的模式选择旋钮4,带有锯齿9的推杆10,模式选择旋钮4旋转到不同的模式(青年,老年),后端的齿轮系8带动锯齿条9移动,实现推杆10后退或前进,使输液管保持原状或受压变形,已实现不同人群,不同的流速。USB充电接口18用于设备电力补给。Velcro 1 fixes the device on the arm,
USB充电接口,用于固定与开关设备,固定输液袋以及为设备补给电量,固定布用于收缩固定布,加热输液袋和调节流速。The USB charging interface is used to fix and switch the device, fix the infusion bag and supply power to the device, and the fixing cloth is used to shrink the fixing cloth, heat the infusion bag and adjust the flow rate.
本发明的工作原理是:The working principle of the present invention is:
参见图1、2、3、4、5,当病人将输液袋放入固定布内,通过旋转模式选择旋钮,带动齿轮系和锯齿条转动,实现推杆后退或前进,使输液管保持原状或受压变形,调节流速。打开开关后,芯片控制加热陶瓷片加热输液袋,与此同时马达驱动带有齿轮的转动轴转动收缩固定布,挤压输液袋进入输液管,直至完成整个输液过程。Referring to Figures 1, 2, 3, 4, and 5, when the patient puts the infusion bag into the fixed cloth, by rotating the mode selection knob, the gear train and the sawtooth bar are driven to rotate, so that the push rod can be moved backward or forward, and the infusion tube can be kept in its original state or Deformed under pressure to adjust the flow rate. After the switch is turned on, the chip controls the heating ceramic sheet to heat the infusion bag, and at the same time, the motor drives the rotating shaft with gears to rotate and shrink the fixed cloth, and squeeze the infusion bag into the infusion tube until the entire infusion process is completed.
| Application Number | Priority Date | Filing Date | Title |
|---|---|---|---|
| CN201810126265.4ACN108310533B (en) | 2018-02-08 | 2018-02-08 | Arm-tying type infusion equipment capable of automatically regulating pressure |
| Application Number | Priority Date | Filing Date | Title |
|---|---|---|---|
| CN201810126265.4ACN108310533B (en) | 2018-02-08 | 2018-02-08 | Arm-tying type infusion equipment capable of automatically regulating pressure |
| Publication Number | Publication Date |
|---|---|
| CN108310533A CN108310533A (en) | 2018-07-24 |
| CN108310533Btrue CN108310533B (en) | 2020-07-17 |
| Application Number | Title | Priority Date | Filing Date |
|---|---|---|---|
| CN201810126265.4AActiveCN108310533B (en) | 2018-02-08 | 2018-02-08 | Arm-tying type infusion equipment capable of automatically regulating pressure |
| Country | Link |
|---|---|
| CN (1) | CN108310533B (en) |
| Publication number | Priority date | Publication date | Assignee | Title |
|---|---|---|---|---|
| CN109331249B (en)* | 2018-09-28 | 2021-03-02 | 青岛大学附属医院 | Clinical drainage automatic control device |
| CN119818766B (en)* | 2025-03-05 | 2025-09-30 | 合肥先觉产品设计有限公司 | Portable transfusion device |
| Publication number | Priority date | Publication date | Assignee | Title |
|---|---|---|---|---|
| CN1986009A (en)* | 2006-10-23 | 2007-06-27 | 圣美申医疗科技(上海)有限公司 | Portable intravenous injection and transfusion system |
| CN102218174A (en)* | 2011-06-02 | 2011-10-19 | 闫云涛 | Infusion set flow rate controller |
| CN105879141A (en)* | 2014-11-28 | 2016-08-24 | 郑艳辉 | Infusion equipment capable of automatically changing liquid and controlling speed and using method of infusion equipment |
| Publication number | Priority date | Publication date | Assignee | Title |
|---|---|---|---|---|
| CN203634557U (en)* | 2013-09-28 | 2014-06-11 | 王洪泉 | Portable transfusion device |
| CN204582150U (en)* | 2015-04-24 | 2015-08-26 | 湖州师范学院 | A kind of screw mandrel drive-type transfusion device |
| CN205994807U (en)* | 2016-07-08 | 2017-03-08 | 夏默涵 | A kind of blood transfusion pressurizing device |
| Publication number | Priority date | Publication date | Assignee | Title |
|---|---|---|---|---|
| CN1986009A (en)* | 2006-10-23 | 2007-06-27 | 圣美申医疗科技(上海)有限公司 | Portable intravenous injection and transfusion system |
| CN102218174A (en)* | 2011-06-02 | 2011-10-19 | 闫云涛 | Infusion set flow rate controller |
| CN105879141A (en)* | 2014-11-28 | 2016-08-24 | 郑艳辉 | Infusion equipment capable of automatically changing liquid and controlling speed and using method of infusion equipment |
| Publication number | Publication date |
|---|---|
| CN108310533A (en) | 2018-07-24 |
| Publication | Publication Date | Title |
|---|---|---|
| CN108310533B (en) | Arm-tying type infusion equipment capable of automatically regulating pressure | |
| CN111991111A (en) | A tissue retraction device used in oral surgery | |
| CN206733866U (en) | A kind of culture and education support of automatic page turning | |
| CN215509606U (en) | Preheating and heat-insulating system for welding steel structure in low-temperature oxygen-deficient environment | |
| CN113476685B (en) | Infusion heat preservation device for operating room nursing | |
| CN201585743U (en) | Electric baby rocking chair | |
| CN217392202U (en) | A red blood cell water-bath oscillation device for neonatal hemolytic disease release experiment | |
| CN115517903A (en) | Special chair for dentistry | |
| CN212661782U (en) | A convenient laparoscopic mirror cleaning device | |
| CN211326487U (en) | An electric comprehensive operating table back plate adjustment mechanism | |
| CN215425701U (en) | Rechargeable temperature-controllable hand function pad | |
| CN210019410U (en) | Electric bed for pregnant woman color ultrasound examination | |
| CN114027777A (en) | Clinical viewing device that uses of department of stomatology | |
| CN208838422U (en) | A kind of nest like incubator | |
| CN218853003U (en) | An auxiliary rising device for obstetrics and gynecology care | |
| CN109893722B (en) | Portable online rapid blood transfusion and infusion heater | |
| CN213466369U (en) | Children nursing fixing device | |
| CN217593634U (en) | A heatable radiotherapy fixture | |
| CN209269920U (en) | Electric Motors for Dental Handpieces | |
| CN221258937U (en) | Elevation angle adjustable gas warmer | |
| CN210932495U (en) | Comprehensive obstetric table | |
| CN215307981U (en) | Recovered device of taking exercise of neural patient | |
| CN210138151U (en) | Couplant heat preservation device | |
| CN221830634U (en) | A portable dental X-ray machine | |
| CN215133216U (en) | Moxibustion instrument |
| Date | Code | Title | Description |
|---|---|---|---|
| PB01 | Publication | ||
| PB01 | Publication | ||
| SE01 | Entry into force of request for substantive examination | ||
| SE01 | Entry into force of request for substantive examination | ||
| GR01 | Patent grant | ||
| GR01 | Patent grant |