Movatterモバイル変換


[0]ホーム

URL:


CN108235822B - Virtual SIM card implementation method and device, storage medium and electronic equipment - Google Patents

Virtual SIM card implementation method and device, storage medium and electronic equipment
Download PDF

Info

Publication number
CN108235822B
CN108235822BCN201780002413.5ACN201780002413ACN108235822BCN 108235822 BCN108235822 BCN 108235822BCN 201780002413 ACN201780002413 ACN 201780002413ACN 108235822 BCN108235822 BCN 108235822B
Authority
CN
China
Prior art keywords
sim card
access request
virtual
simulator
target
Prior art date
Legal status (The legal status is an assumption and is not a legal conclusion. Google has not performed a legal analysis and makes no representation as to the accuracy of the status listed.)
Active
Application number
CN201780002413.5A
Other languages
Chinese (zh)
Other versions
CN108235822A (en
Inventor
边瑞锋
Current Assignee (The listed assignees may be inaccurate. Google has not performed a legal analysis and makes no representation or warranty as to the accuracy of the list.)
Shenzhen Qianhaida Yunyun Intelligent Technology Co ltd
Original Assignee
Shenzhen Qianhaida Yunyun Intelligent Technology Co ltd
Priority date (The priority date is an assumption and is not a legal conclusion. Google has not performed a legal analysis and makes no representation as to the accuracy of the date listed.)
Filing date
Publication date
Application filed by Shenzhen Qianhaida Yunyun Intelligent Technology Co ltdfiledCriticalShenzhen Qianhaida Yunyun Intelligent Technology Co ltd
Publication of CN108235822ApublicationCriticalpatent/CN108235822A/en
Application grantedgrantedCritical
Publication of CN108235822BpublicationCriticalpatent/CN108235822B/en
Activelegal-statusCriticalCurrent
Anticipated expirationlegal-statusCritical

Links

Images

Classifications

Landscapes

Abstract

The present disclosure relates to the field of virtual machine technologies, and in particular, to a method and an apparatus for implementing a virtual SIM card, a storage medium, and an electronic device. The method can comprise the following steps: receiving an access request of a virtual machine to a virtual wireless interface daemon; the virtual wireless interface daemon transfers the access request to a simulator through a communication pipeline; invoking, by the simulator, a target SIM card in a host to process the access request. The method and the device enable the virtual machine to directly access the target SIM card, and well isolate the host machine and the virtual machine on hardware.

Description

Virtual SIM card implementation method and device, storage medium and electronic equipment
Technical Field
The present disclosure relates to the field of virtual machine technologies, and in particular, to a method and an apparatus for implementing a virtual SIM (Subscriber identity Module) card, a storage medium, and an electronic device.
Background
The virtualization technology can enable a plurality of systems (such as a host and a virtual machine) to share hardware resources of the machine, and the systems are independent from each other and do not influence each other, so that a good isolation effect is achieved, and the resource utilization rate of the systems is greatly improved.
At present, when implementing a virtual SIM card using a container technology, a shared access manner is generally adopted, that is, multiple systems (e.g., a host and a virtual machine) use the same SIM card. Obviously, because a plurality of systems in the container technology share the same kernel, the plurality of systems have good isolation at the software level, but do not have good isolation at the hardware level.
Therefore, it is necessary to provide a method for implementing a virtual SIM card that can isolate multiple systems in hardware.
It is to be noted that the information disclosed in the above background section is only for enhancement of understanding of the background of the present disclosure, and thus may include information that does not constitute prior art known to those of ordinary skill in the art.
Disclosure of Invention
An object of the present disclosure is to provide a method and an apparatus for implementing a virtual SIM card, a storage medium, and an electronic device, thereby overcoming, at least to some extent, one or more of the problems due to the limitations and disadvantages of the related art.
According to an aspect of the present disclosure, there is provided a method for implementing a virtual SIM card, the method including:
receiving an access request of a virtual machine to a virtual wireless interface daemon;
the virtual wireless interface daemon transfers the access request to a simulator through a communication pipeline;
invoking, by the simulator, a target SIM card in a host to process the access request.
In an exemplary embodiment of the disclosure, before the receiving an access request of a virtual machine to a virtual wireless interface daemon, the method further includes:
determining the target SIM card among a plurality of SIM cards in the host;
making a target SIM card invisible in the host;
and establishing connection between the target SIM card and the simulator.
In an exemplary embodiment of the present disclosure, the communication pipe includes a goldfish pipe.
In an exemplary embodiment of the present disclosure, the host includes a baseband chip;
the invoking, by the simulator, a target SIM card in a host to process the access request comprises:
forwarding, by the emulator, the access request to the target SIM card;
reporting the access request to an actual wireless interface daemon corresponding to the target SIM card through the target SIM card;
and calling the baseband chip through an actual wireless interface daemon corresponding to the target SIM card to process the access request.
In an exemplary embodiment of the present disclosure, the plurality of SIM cards correspond to one baseband chip;
if the access request is cooperatively completed by the plurality of SIM cards, the invoking, by the simulator, a target SIM card in the host to process the access request includes:
forwarding, by the emulator, the access request to the target SIM card;
and calling a preset communication mechanism through the target SIM card to process the access request.
In an exemplary embodiment of the present disclosure, the method further comprises:
if the access request cannot be transmitted through an actual wireless interface daemon process corresponding to the target SIM card and the baseband chip, forwarding the access request to the target SIM card through the simulator;
invoking a remote procedure call protocol by the target SIM card to process the access request.
In an exemplary embodiment of the present disclosure, the method further comprises:
the target SIM card receives an access request and forwards the access request to the simulator;
the simulator transfers the access request to the virtual wireless interface daemon through a communication pipeline so as to process the access request.
In an exemplary embodiment of the present disclosure, the simulator is an android simulator.
In an exemplary embodiment of the present disclosure, the forwarding, by the simulator, the access request to the target SIM card includes:
and forwarding the access request to the target SIM card by the simulator by utilizing any one of tcp (Transmission Control Protocol), udp (User Datagram Protocol), unix socket (inter-process communication) and goldfish pipe.
According to an aspect of the present disclosure, an apparatus for implementing a virtual SIM card is provided, the apparatus including:
the receiving module is used for receiving an access request of the virtual machine to the virtual wireless interface daemon;
the forwarding module is set to forward the access request to the simulator through a communication pipeline by the virtual wireless interface daemon;
and the calling module is used for calling the target SIM card in the host through the simulator so as to process the access request.
According to an aspect of the present disclosure, there is provided a computer-readable storage medium having stored thereon a computer program, which when executed by a processor implements the method of implementing a virtual SIM card as described in any one of the above.
According to an aspect of the present disclosure, there is provided an electronic device including:
a processor; and
a memory for storing executable instructions of the processor;
wherein the processor is configured to execute any one of the above-mentioned implementation methods of the virtual SIM card via executing the executable instructions.
According to the technical scheme, the implementation method of the virtual SIM card has the advantages and positive effects that:
according to the implementation method of the virtual SIM card, the virtual wireless interface daemon transfers the access request to the simulator through the communication pipeline, and the simulator calls the target SIM card in the host to process the access request, so that the virtual machine can directly access the target SIM card, and the host and the virtual machine are well isolated in terms of hardware.
Additional features and advantages of the disclosure will be set forth in the detailed description which follows, or in part will be obvious from the description, or may be learned by practice of the disclosure.
It is to be understood that both the foregoing general description and the following detailed description are exemplary and explanatory only and are not restrictive of the disclosure.
Drawings
The accompanying drawings, which are incorporated in and constitute a part of this specification, illustrate embodiments consistent with the present disclosure and together with the description, serve to explain the principles of the disclosure. It is to be understood that the drawings in the following description are merely exemplary of the disclosure, and that other drawings may be derived from those drawings by one of ordinary skill in the art without the exercise of inventive faculty.
Fig. 1 is a flowchart of an implementation method of a virtual SIM card provided in an exemplary embodiment of the present disclosure;
fig. 2 is a schematic diagram of assigning a second SIM card in a host to a virtual machine provided in an exemplary embodiment of the present disclosure;
fig. 3 is a flowchart for invoking a target SIM card in a host to process an access request through a simulator provided in an exemplary embodiment of the present disclosure;
fig. 4 is a flowchart of an implementation method of a virtual SIM card provided in another exemplary embodiment of the present disclosure;
fig. 5 is a block diagram of an apparatus for implementing a virtual SIM card provided in an exemplary embodiment of the present disclosure;
FIG. 6 is a block diagram of an electronic device in an exemplary embodiment of the present disclosure;
fig. 7 is a schematic diagram of a program product in an exemplary embodiment of the present disclosure.
Detailed Description
Example embodiments will now be described more fully with reference to the accompanying drawings. Example embodiments may, however, be embodied in many different forms and should not be construed as limited to the examples set forth herein; rather, these embodiments are provided so that this disclosure will be thorough and complete, and will fully convey the concept of example embodiments to those skilled in the art. The described features, structures, or characteristics may be combined in any suitable manner in one or more embodiments. In the following description, numerous specific details are provided to give a thorough understanding of embodiments of the disclosure. One skilled in the relevant art will recognize, however, that the subject matter of the present disclosure can be practiced without one or more of the specific details, or with other methods, components, devices, steps, and the like. In other instances, well-known technical solutions have not been shown or described in detail to avoid obscuring aspects of the present disclosure.
Furthermore, the drawings are merely schematic illustrations of the present disclosure and are not necessarily drawn to scale. The same reference numerals in the drawings denote the same or similar parts, and thus their repetitive description will be omitted. Some of the block diagrams shown in the figures are functional entities and do not necessarily correspond to physically or logically separate entities. These functional entities may be implemented in the form of software, or in one or more hardware modules or integrated circuits, or in different networks and/or processor devices and/or microcontroller devices.
The terms "a," "an," "the," and "said" are used to indicate the presence of one or more elements/components/etc.; the terms "comprising" and "having" are intended to be inclusive and mean that there may be additional elements/components/etc. other than the listed elements/components/etc.; the terms "first" and "second", etc. are used merely as labels, and are not limiting on the number of their objects.
The operating systems can be divided into two types, one type is a native system (Host system), namely a system of a Host, which can be called a Host os, a Host system, a Host end or a Host, and the Host system can be a Windows system, a Linux system, an Android system, or the like. One is a parasitic system, i.e., a virtual system (virtual machine); the virtual system may also be referred to as a Guest os, Guest system, or Guest terminal; the virtual system may be an Android system or the like.
The exemplary embodiment first discloses a method for implementing a virtual SIM card, which can be applied to control of a virtual system on hardware equipment, especially control of an SIM card, in a mobile phone, a tablet or other intelligent terminals based on a Windows system, a Linux system or an Android system. Each virtual system has an independent operating system, and each virtual system has an independent kernel control, a user space and a storage device. Referring to fig. 1, the method may include the steps of:
step S110, receiving an access request of a virtual machine to a virtual wireless interface daemon;
step S120, the virtual wireless interface daemon transfers the access request to a simulator through a communication pipeline;
and step S130, calling a target SIM card in the host through the simulator to process the access request.
According to the implementation method of the virtual SIM card in the present exemplary embodiment, the virtual wireless interface daemon transfers the access request to the simulator through the communication pipe, and calls the target SIM card in the host to process the access request through the simulator, so that the virtual machine can directly access the target SIM card, and the host and the virtual machine are well isolated in terms of hardware.
Next, referring to fig. 1, a method for implementing the virtual SIM card in the present exemplary embodiment will be further described.
In step S110, an access request from the virtual machine to the virtual wireless interface daemon is received.
In the present exemplary embodiment, the virtual machine may transmit an access request to the virtual wireless interface daemon according to an operation instruction of the user; and can receive the access request of the virtual machine to the daemon process of the virtual wireless interface through a receiving module. The operation instruction of the user may be an instruction sent by the user to the virtual machine through an input device such as a touch screen, a keyboard, a touch pen, and the like, for example, to send a short message, make a call, transmit a picture, and perform a video call, which is not limited in this exemplary embodiment.
Furthermore, in the prior art, all SIM cards in the host are connected with the application framework layer in the host, and all SIM cards are visible in the host. Under the premise, the virtual machine can only access the SIM card in the host machine through the host machine, so that voice communication and other operations can be carried out through the SIM card. In order to assign a SIM card in a host to a virtual machine such that the SIM card is visible only in the virtual machine, not visible in the host, and such that the virtual machine can directly access the SIM card without accessing the SIM card through the host, before said receiving a request for access by the virtual machine to a virtual wireless interface daemon, the method may further comprise: determining the target SIM card among a plurality of SIM cards in the host; making a target SIM card invisible in the host; and establishing connection between the target SIM card and the simulator.
In this exemplary embodiment, the target SIM card may be any one of a plurality of SIM cards, or may be a designated one of the plurality of SIM cards. After the target SIM card is determined, first, the connection between the target SIM card and the application framework layer in the host is disconnected, so that the target SIM card is invisible in the host, and then the connection between the target SIM card and the simulator can be established by using a device direct distribution technology (namely, a passthrough technology). The device direct allocation technique (i.e., passhigh technique) can exclusively allocate a hardware device to a specified domain, so that the domain has high I/O access performance, even though the virtual machine can directly manipulate the hardware device.
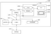
For example, fig. 2 shows a schematic diagram of assigning a second SIM card in a host comprising two SIM cards to a virtual machine. In fig. 2, the host includes: theapplication layer 201, theservice layer 202, theapplication framework layer 203, thefirst SIM card 204, thesecond SIM card 205, the first realwireless interface daemon 207 corresponding to the first SIM card, the second realwireless interface daemon 208 corresponding to the second SIM card, thesimulator 206, thedriver layer 209, and thebaseband chip 210. The virtual machine includes avirtual application layer 211, avirtual service layer 212, a virtualapplication framework layer 213, and a virtualradio interface daemon 214. Thefirst SIM card 204 is connected to theapplication framework layer 203 of the host, thesecond SIM card 205 is connected to thesimulator 206, and thesimulator 206 is connected to the virtualwireless interface daemon 214 of the virtual machine through the goldfish pipe. As is clear from fig. 2, thefirst SIM card 204 is invoked by the host and is visible only in the host, and thesecond SIM card 205 is invoked by the virtual machine and is visible only in the virtual machine.
In step S120, the virtual wireless interface daemon passes the access request to the simulator through the communication pipe.
In the present exemplary embodiment, the communication pipe may include a goldfish pipe or the like, and the simulator may be an android simulator (i.e., qemu) or the like. The goldfish pipe can provide a high-speed communication function between a virtual wireless interface daemon of the virtual machine and the simulator. The goldfish pipe is a character device in the virtual machine, the virtual machine accesses the character device to the simulator, and the simulator can establish various communication links with the host, such as any one of tcp, udp, unix socket and the like, so that the goldfish pipe plays a role in a pipeline between the virtual machine and the host.
In step S130, the target SIM card in the host is called by the simulator to process the access request.
In this exemplary embodiment, the host may include one or more baseband chips, which is not particularly limited in this exemplary embodiment, and it should be noted that the upper limit of the number of the baseband chips is the number of the SIM cards in the host. The baseband chip may be used to synthesize a baseband signal to be transmitted or to decode a received baseband signal. Specifically, at the time of transmission, the audio signal is compiled into a baseband code for transmission; when receiving, the received baseband code is interpreted into an audio signal, and meanwhile, the baseband code is also responsible for compiling address information (mobile phone numbers and website addresses), character information (short message characters and website characters) and picture information lamps. Based on this, as shown in fig. 3, the invoking, by the simulator, the target SIM card in the host to process the access request may include:
step S310, forwarding the access request to the target SIM card through the simulator. In this exemplary embodiment, specifically, the access request may be forwarded to the target SIM card through the emulator and by using any one of tcp, udp, unix socket, and goldfish pipe.
Step S320, reporting the access request to an actual wireless interface daemon corresponding to the target SIM card through the target SIM card.
Step S330, the baseband chip is called by the actual wireless interface daemon process corresponding to the target SIM card to process the access request. In the present exemplary embodiment, after the actual wireless interface daemon corresponding to the target SIM card receives the access request, the channel-ri.so converts the access request into an AT command or a command in another format that can be recognized by the baseband chip, and calls the baseband chip through the actual wireless interface daemon corresponding to the target SIM card to transmit the AT command or the command in another format to the baseband chip so that the baseband chip processes the access request. For example, when the access request is a short message sending request, the short message content in the short message sending request is sent to the target object according to the address of the target object in the short message sending request.
In addition, when the plurality of SIM cards correspond to one baseband chip, if the access request is cooperatively completed by the plurality of SIM cards, the invoking, by the simulator, the target SIM card in the host to process the access request may include: forwarding, by the emulator, the access request to the target SIM card; and calling a preset communication mechanism through the target SIM card to process the access request.
In the present exemplary embodiment, the access request cooperatively performed by the multiple SIM cards may include a request for switching a 4G network between the multiple SIM cards, a request for switching an underlying protocol stack, a request for closing a virtual machine, and the like. The preset communication mechanism may be, for example, a remote procedure call mechanism (i.e., RPC), and the like, and this exemplary embodiment is not particularly limited thereto. The process of forwarding the access request to the target SIM card through the simulator has been described in the above process, and thus is not described again.
It should be noted that, when a plurality of SIM cards correspond to one baseband chip, if the access request is not completed cooperatively by the plurality of SIM cards, the process of calling the target SIM card in the host to process the access request through the simulator is as described in the above steps S310 to S330.
In addition, if the access request cannot be transmitted through the actual wireless interface daemon corresponding to the target SIM card and the baseband chip, the access request may be forwarded to the target SIM card through the simulator, and a remote procedure call protocol may be called by the target SIM card to process the access request. The process of forwarding the access request to the target SIM card through the simulator has been described in the above process, and thus is not described again.
In summary, the virtual wireless interface daemon transfers the access request to the simulator through the communication pipeline, and calls the target SIM card in the host to process the access request through the simulator, so that the virtual machine can directly access the target SIM card, and the host and the virtual machine are well isolated in terms of hardware.
Further, as shown in fig. 4, the method may further include the steps of:
step S410, the target SIM card receives the access request, and forwards the received access request to the simulator.
Step S420, the simulator transfers the access request to the virtual wireless interface daemon through the communication pipeline to process the access request.
When a target SIM card in the host receives the access request, the access request is forwarded to the simulator, and the simulator forwards the access request to the virtual wireless interface daemon through the communication pipeline so that the virtual machine processes the access request. For example, when the access request is a request for displaying a short message, the virtual machine displays the short message content in the request for displaying the short message on the display screen of the mobile terminal.
An apparatus for implementing a virtual SIM card is also provided in the present exemplary embodiment, and as shown in fig. 5, theapparatus 500 may include: a receivingmodule 501, aforwarding module 502 and acalling module 503, wherein:
areceiving module 501, which may be configured to receive an access request of a virtual machine to a virtual wireless interface daemon;
aforwarding module 502, which may be configured to forward the access request to a simulator by the virtual wireless interface daemon through a communication pipe;
acalling module 503 may be configured to call a target SIM card in the host through the simulator to process the access request.
The specific details of the device module for implementing each virtual SIM card have been described in detail in the implementation method of the corresponding virtual SIM card, and therefore are not described herein again.
Moreover, although the steps of the methods of the present disclosure are depicted in the drawings in a particular order, this does not require or imply that the steps must be performed in this particular order, or that all of the depicted steps must be performed, to achieve desirable results. Additionally or alternatively, certain steps may be omitted, multiple steps combined into one step execution, and/or one step broken down into multiple step executions, etc.
It should be noted that although in the above detailed description several modules or units of the device for action execution are mentioned, such a division is not mandatory. Indeed, the features and functionality of two or more modules or units described above may be embodied in one module or unit, according to embodiments of the present disclosure. Conversely, the features and functions of one module or unit described above may be further divided into embodiments by a plurality of modules or units.
In an exemplary embodiment of the present disclosure, an electronic device capable of implementing the above method is also provided.
As will be appreciated by one skilled in the art, aspects of the present invention may be embodied as a system, method or program product. Thus, various aspects of the invention may be embodied in the form of: an entirely hardware embodiment, an entirely software embodiment (including firmware, microcode, etc.) or an embodiment combining hardware and software aspects that may all generally be referred to herein as a "circuit," module "or" system.
Anelectronic device 600 according to this embodiment of the invention is described below with reference to fig. 6. Theelectronic device 600 shown in fig. 6 is only an example, and should not bring any limitation to the functions and the scope of use of the embodiments of the present invention.
As shown in fig. 6, theelectronic device 600 is embodied in the form of a general purpose computing device. The components of theelectronic device 600 may include, but are not limited to: the at least oneprocessing unit 610, the at least onememory unit 620, abus 630 connecting different system components (including thememory unit 620 and the processing unit 610), and adisplay unit 640.
Wherein the storage unit stores program code that is executable by theprocessing unit 610 to cause theprocessing unit 610 to perform steps according to various exemplary embodiments of the present invention as described in the above section "exemplary methods" of the present specification. For example, theprocessing unit 610 may perform step S110 shown in fig. 1, receive an access request of a virtual machine to a virtual wireless interface daemon; step S120, the virtual wireless interface daemon transfers the access request to a simulator through a communication pipeline; and step S130, calling a target SIM card in the host through the simulator to process the access request.
Thestorage unit 620 may include readable media in the form of volatile memory units, such as a random access memory unit (RAM)6201 and/or acache memory unit 6202, and may further include a read-only memory unit (ROM) 6203.
Thememory unit 620 may also include a program/utility 6204 having a set (at least one) ofprogram modules 6205,such program modules 6205 including, but not limited to: an operating system, one or more application programs, other program modules, and program data, each of which, or some combination thereof, may comprise an implementation of a network environment.
Bus 630 may be one or more of several types of bus structures, including a memory unit bus or memory unit controller, a peripheral bus, an accelerated graphics port, a processing unit, or a local bus using any of a variety of bus architectures.
Theelectronic device 600 may also communicate with one or more external devices 670 (e.g., keyboard, pointing device, bluetooth device, etc.), with one or more devices that enable a user to interact with theelectronic device 600, and/or with any devices (e.g., router, modem, etc.) that enable theelectronic device 600 to communicate with one or more other computing devices. Such communication may occur via an input/output (I/O)interface 650. Also, theelectronic device 600 may communicate with one or more networks (e.g., a Local Area Network (LAN), a Wide Area Network (WAN), and/or a public network such as the Internet) via thenetwork adapter 660. As shown, thenetwork adapter 660 communicates with the other modules of theelectronic device 600 over thebus 630. It should be appreciated that although not shown in the figures, other hardware and/or software modules may be used in conjunction with theelectronic device 600, including but not limited to: microcode, device drivers, redundant processing units, external disk drive arrays, RAID systems, tape drives, and data backup storage systems, among others.
Through the above description of the embodiments, those skilled in the art will readily understand that the exemplary embodiments described herein may be implemented by software, or by software in combination with necessary hardware. Therefore, the technical solution according to the embodiments of the present disclosure may be embodied in the form of a software product, which may be stored in a non-volatile storage medium (which may be a CD-ROM, a usb disk, a removable hard disk, etc.) or on a network, and includes several instructions to enable a computing device (which may be a personal computer, a server, a terminal device, or a network device, etc.) to execute the method according to the embodiments of the present disclosure.
In an exemplary embodiment of the present disclosure, there is also provided a computer-readable storage medium having stored thereon a program product capable of implementing the above-described method of the present specification. In some possible embodiments, aspects of the invention may also be implemented in the form of a program product comprising program code means for causing a terminal device to carry out the steps according to various exemplary embodiments of the invention described in the above section "exemplary methods" of the present description, when said program product is run on the terminal device.
Referring to fig. 7, aprogram product 700 for implementing the above method according to an embodiment of the present invention is described, which may employ a portable compact disc read only memory (CD-ROM) and include program code, and may be run on a terminal device, such as a personal computer. However, the program product of the present invention is not limited in this regard and, in the present document, a readable storage medium may be any tangible medium that can contain, or store a program for use by or in connection with an instruction execution system, apparatus, or device.
The program product may employ any combination of one or more readable media. The readable medium may be a readable signal medium or a readable storage medium. A readable storage medium may be, for example, but not limited to, an electronic, magnetic, optical, electromagnetic, infrared, or semiconductor system, apparatus, or device, or any combination of the foregoing. More specific examples (a non-exhaustive list) of the readable storage medium include: an electrical connection having one or more wires, a portable disk, a hard disk, a Random Access Memory (RAM), a read-only memory (ROM), an erasable programmable read-only memory (EPROM or flash memory), an optical fiber, a portable compact disc read-only memory (CD-ROM), an optical storage device, a magnetic storage device, or any suitable combination of the foregoing.
A computer readable signal medium may include a propagated data signal with readable program code embodied therein, for example, in baseband or as part of a carrier wave. Such a propagated data signal may take many forms, including, but not limited to, electro-magnetic, optical, or any suitable combination thereof. A readable signal medium may also be any readable medium that is not a readable storage medium and that can communicate, propagate, or transport a program for use by or in connection with an instruction execution system, apparatus, or device.
Program code embodied on a readable medium may be transmitted using any appropriate medium, including but not limited to wireless, wireline, optical fiber cable, RF, etc., or any suitable combination of the foregoing.
Program code for carrying out operations for aspects of the present invention may be written in any combination of one or more programming languages, including an object oriented programming language such as Java, C + + or the like and conventional procedural programming languages, such as the "C" programming language or similar programming languages. The program code may execute entirely on the user's computing device, partly on the user's device, as a stand-alone software package, partly on the user's computing device and partly on a remote computing device, or entirely on the remote computing device or server. In the case of a remote computing device, the remote computing device may be connected to the user computing device through any kind of network, including a Local Area Network (LAN) or a Wide Area Network (WAN), or may be connected to an external computing device (e.g., through the internet using an internet service provider).
Furthermore, the above-described figures are merely schematic illustrations of processes involved in methods according to exemplary embodiments of the invention, and are not intended to be limiting. It will be readily understood that the processes shown in the above figures are not intended to indicate or limit the chronological order of the processes. In addition, it is also readily understood that these processes may be performed synchronously or asynchronously, e.g., in multiple modules.
Other embodiments of the disclosure will be apparent to those skilled in the art from consideration of the specification and practice of the disclosure disclosed herein. This application is intended to cover any variations, uses, or adaptations of the disclosure following, in general, the principles of the disclosure and including such departures from the present disclosure as come within known or customary practice within the art to which the disclosure pertains. It is intended that the specification and examples be considered as exemplary only, with a true scope and spirit of the disclosure being indicated by the following claims.
It will be understood that the present disclosure is not limited to the precise arrangements described above and shown in the drawings and that various modifications and changes may be made without departing from the scope thereof. The scope of the present disclosure is to be limited only by the terms of the appended claims. Other embodiments of the disclosure will be apparent to those skilled in the art from consideration of the specification and practice of the disclosure disclosed herein. This application is intended to cover any variations, uses, or adaptations of the disclosure following, in general, the principles of the disclosure and including such departures from the present disclosure as come within known or customary practice within the art to which the disclosure pertains. It is intended that the specification and examples be considered as exemplary only, with a true scope and spirit of the disclosure being indicated by the following claims.

Claims (12)

CN201780002413.5A2017-12-292017-12-29Virtual SIM card implementation method and device, storage medium and electronic equipmentActiveCN108235822B (en)

Applications Claiming Priority (1)

Application NumberPriority DateFiling DateTitle
PCT/CN2017/120171WO2019127475A1 (en)2017-12-292017-12-29Method and apparatus for implementing virtual sim card, storage medium, and electronic device

Publications (2)

Publication NumberPublication Date
CN108235822A CN108235822A (en)2018-06-29
CN108235822Btrue CN108235822B (en)2021-02-05

Family

ID=62643182

Family Applications (1)

Application NumberTitlePriority DateFiling Date
CN201780002413.5AActiveCN108235822B (en)2017-12-292017-12-29Virtual SIM card implementation method and device, storage medium and electronic equipment

Country Status (2)

CountryLink
CN (1)CN108235822B (en)
WO (1)WO2019127475A1 (en)

Families Citing this family (1)

* Cited by examiner, † Cited by third party
Publication numberPriority datePublication dateAssigneeTitle
CN114090487A (en)*2021-11-262022-02-25上海星融汽车科技有限公司Communication method, device and system of android simulator and diagnosis equipment, storage medium and electronic equipment

Citations (3)

* Cited by examiner, † Cited by third party
Publication numberPriority datePublication dateAssigneeTitle
CN101296445A (en)*2007-04-262008-10-29群联电子股份有限公司 Method for providing common platform to application program of communication terminal
CN105160213A (en)*2014-06-112015-12-16中国移动通信集团公司Terminal starting method and terminal thereof
CN105653349A (en)*2015-12-302016-06-08深圳市创想天空科技股份有限公司Multi-application opening type pipeline communication control method and system

Family Cites Families (3)

* Cited by examiner, † Cited by third party
Publication numberPriority datePublication dateAssigneeTitle
US8438256B2 (en)*2009-06-262013-05-07Vmware, Inc.Migrating functionality in virtualized mobile devices
EP3764678B1 (en)*2014-09-172023-11-01Simless, Inc.Apparatus for implementing a trusted subscription management platform
CN107077378B (en)*2016-03-252020-07-10深圳前海达闼云端智能科技有限公司Communication method, device, electronic equipment and program product

Patent Citations (3)

* Cited by examiner, † Cited by third party
Publication numberPriority datePublication dateAssigneeTitle
CN101296445A (en)*2007-04-262008-10-29群联电子股份有限公司 Method for providing common platform to application program of communication terminal
CN105160213A (en)*2014-06-112015-12-16中国移动通信集团公司Terminal starting method and terminal thereof
CN105653349A (en)*2015-12-302016-06-08深圳市创想天空科技股份有限公司Multi-application opening type pipeline communication control method and system

Also Published As

Publication numberPublication date
WO2019127475A1 (en)2019-07-04
CN108235822A (en)2018-06-29

Similar Documents

PublicationPublication DateTitle
CN108124475B (en)Virtual system Bluetooth communication method and device, virtual system, storage medium and electronic equipment
CN113296884B (en)Virtualization method, virtualization device, electronic equipment, virtualization medium and resource virtualization system
US10303491B2 (en)Method and device of running application program across systems
US8978051B2 (en)Method and apparatus for displaying application image
EP2911342A1 (en)Home gateway and intelligent terminal integrated system and communication method therefor
US20220214932A1 (en)Methods, devices and computer storage media for inter-mini program platform communication
CN114691300A (en)Hot migration method of virtual machine instance
US11055154B2 (en)Screen-shooting method and device for guest operating system in computer apparatus
CN113778593B (en)Cloud desktop control method and device, electronic equipment, storage medium and program product
US20220245005A1 (en)Methods, devices and computer storage media for inter-mini program platform discovery
KR20200117719A (en)Servers and computer programs for debugging of native programs and virtual machine programs on integrated development environment
CN120277021B (en)Method for enabling serial port equipment to pass through client based on ARM64 framework
CN115309511B (en)Xen-based data interaction method and device, storage medium and electronic equipment
CN108235822B (en)Virtual SIM card implementation method and device, storage medium and electronic equipment
US20240311097A1 (en)Cloud Technology-Based Graphics Program Online Development Method and System, and Related Device
US20180052700A1 (en)Facilitation of guest application display from host operating system
CN111443983B (en)Application program virtualization method and device, electronic equipment and storage medium
CN102999393B (en)Method, device and electronic equipment that a kind of data are transmitted
US20150373478A1 (en)Virtual machine based on a mobile device
EP4589436A1 (en)Inter-application communication method and apparatus based on virtualized device, and electronic device
HK40057841A (en)Virtualization method and device, electronic equipment, medium and resource virtualization system
CN119003391A (en)IO device sharing method and device
CN120276783A (en)Application program optimization method and system of mobile terminal, electronic equipment and storage medium
CN116680072A (en)VDI-based business scene processing method, storage medium and electronic equipment
CN113448677A (en)Data processing method and system of virtual machine

Legal Events

DateCodeTitleDescription
PB01Publication
PB01Publication
SE01Entry into force of request for substantive examination
SE01Entry into force of request for substantive examination
GR01Patent grant
GR01Patent grant

[8]ページ先頭

©2009-2025 Movatter.jp