Movatterモバイル変換


[0]ホーム

URL:


CN107492920B - Universal mobile power supply - Google Patents

Universal mobile power supply
Download PDF

Info

Publication number
CN107492920B
CN107492920BCN201710439920.7ACN201710439920ACN107492920BCN 107492920 BCN107492920 BCN 107492920BCN 201710439920 ACN201710439920 ACN 201710439920ACN 107492920 BCN107492920 BCN 107492920B
Authority
CN
China
Prior art keywords
power supply
universal mobile
mobile power
interface
adapter
Prior art date
Legal status (The legal status is an assumption and is not a legal conclusion. Google has not performed a legal analysis and makes no representation as to the accuracy of the status listed.)
Active
Application number
CN201710439920.7A
Other languages
Chinese (zh)
Other versions
CN107492920A (en
Inventor
何明明
Current Assignee (The listed assignees may be inaccurate. Google has not performed a legal analysis and makes no representation or warranty as to the accuracy of the list.)
Positec Power Tools Suzhou Co Ltd
Original Assignee
Positec Power Tools Suzhou Co Ltd
Priority date (The priority date is an assumption and is not a legal conclusion. Google has not performed a legal analysis and makes no representation as to the accuracy of the date listed.)
Filing date
Publication date
Application filed by Positec Power Tools Suzhou Co LtdfiledCriticalPositec Power Tools Suzhou Co Ltd
Priority to CN202111468307.0ApriorityCriticalpatent/CN114156983A/en
Priority to CN202111468879.9Aprioritypatent/CN114156984B/en
Publication of CN107492920ApublicationCriticalpatent/CN107492920A/en
Application grantedgrantedCritical
Publication of CN107492920BpublicationCriticalpatent/CN107492920B/en
Activelegal-statusCriticalCurrent
Anticipated expirationlegal-statusCritical

Links

Images

Classifications

Landscapes

Abstract

Translated fromChinese

一种通用移动电源,包括:电池组,包括多个单节电池;长方体的壳体,容纳所述电池组,壳体包括六个壳面,分别为一个顶面、一个底面和四个侧面,所述顶面和底面是相平行且壳面中面积最大的平面,连接端口,包括向便携电子设备供电的第一放电接口和向电动工具供电的第二放电接口;所述第二放电接口设置在所述顶面和底面限定的空间中。

Figure 201710439920

A universal mobile power supply, comprising: a battery pack, including a plurality of single-cell batteries; a cuboid housing, accommodating the battery pack, the housing comprising six shell surfaces, respectively a top surface, a bottom surface and four side surfaces, The top surface and the bottom surface are parallel planes with the largest area in the shell surface, and the connection port includes a first discharge interface for supplying power to the portable electronic device and a second discharge interface for supplying power to the power tool; the second discharge interface is provided with in the space defined by the top and bottom surfaces.

Figure 201710439920

Description

Universal mobile power supply
Technical Field
The present invention relates to a power supply device, and more particularly, to a portable power supply device for use with power tools and portable electronic devices.
Background
With the development of science and technology, portable electronic devices such as mobile phones, tablet computers, digital cameras and the like have come into operation, and the entertainment life of human beings is greatly enriched. The conventional electronic equipment needs to obtain power from a power socket through a power cord and the like, and the portable electronic equipment is internally provided with a rechargeable battery pack with a certain capacity, so that the electronic equipment can normally work for a long time under the condition of not using the power socket. Typically, such portable electronic devices will have a complementary charging device that connects to an electrical outlet to recharge the internal battery pack. Because the portable electronic equipment has no limit of use regions, people can play entertainment anytime and anywhere, and in order to meet the requirement that people still need to charge an internal battery of the portable electronic equipment to realize long-time continuous entertainment under the condition of no wired charging, the invention provides a large-capacity, universal and rechargeable and dischargeable mobile power supply.
The portable power source comprises the multisection battery of high energy density, and whole capacity is high, is equipped with a interface and one or more discharge interface that charges on the shell, can charge and discharge the use repeatedly. The charging interface can be connected with a power socket through a USB data line and a common charging seat to charge the mobile power supply, the discharging interface can be connected with the portable electronic equipment through the USB data line to supply power, and different discharging interfaces can have different discharging currents. Through the USB data line of different interface forms, portable power source has realized charging to multiple different portable electronic equipment to the molding is light and handy, and convenient to carry is the frequency of use very high in people's daily life.
In the field of electric tools, cordless electric tools often use a high energy density battery pack as a portable power source to power the electric tool. The battery pack is composed of a plurality of batteries, and has an interface unit connected to the tool or the charger, to which the battery pack discharges when coupled to the tool, and to which the charger charges the batteries in the battery pack when coupled to the charger. The battery packs of different platforms are provided with different chargers, and the charger used by the battery pack of the electric tool has larger volume and is not easy to carry.
At present, a USB interface is added on a battery pack of an electric tool, so that the portable electronic equipment can be charged, and the common use of the electric tool and the portable electronic equipment is realized. But the shortcoming is very obvious, because its structure does not change basically, and compared with special portable power source, its volume is huge and carries inconveniently, and the exterior structure is unsmooth, and is not pleasing to the eye, and the hand feeling is not good. Although the portable power source function is provided and the practical use of the portable power source function is highly demanded, people do not use the general battery pack as a portable power source which can be carried about, and the portable power source function is used when the electric tool is used in most cases.
Disclosure of Invention
In order to overcome the defects of the prior art, the invention aims to provide a universal mobile power supply which has the same appearance as a mobile power supply and can be used for electric tools and portable electronic equipment.
In order to achieve the above object, the first technical solution provided by the present invention is:
a universal mobile power supply comprising: a battery pack including a plurality of single batteries; the battery pack comprises a cuboid shell for accommodating the battery pack, the shell comprises six shell surfaces, namely a top surface, a bottom surface and four side surfaces, the top surface and the bottom surface are parallel, the area of the shell surfaces is the largest, and the connecting port comprises a first discharging interface for supplying power to the portable electronic equipment and a second discharging interface for supplying power to the electric tool; the second discharge interface is disposed in a space defined by the top and bottom surfaces.
Preferably, the second discharge interface is disposed between the battery pack and the side surface.
Preferably, the second discharge interface is disposed between a shell surface and the battery pack, the second discharge interface has a first extending direction, the second discharge interface is connected to a device that obtains electric energy from the second discharge interface along the first extending direction, and the first extending direction is perpendicular to a plane of the shell surface where the second discharge interface is disposed.
Preferably, the universal mobile power supply further comprises a circuit board, the circuit board supports the second discharge interface, and the first extending direction is perpendicular to a plane of the circuit board.
Preferably, the second discharging interface supplies power to the electric tool through the adapter, the universal mobile power supply has an insertion direction, the universal mobile power supply is mechanically connected with the adapter in the insertion direction, and the first extending direction is parallel to the insertion direction.
Preferably, the power tool includes a locking device, and the locking device of the power tool locks the universal mobile power source to the power tool when the power tool is mated with the universal mobile power source.
Preferably, the second discharging interface supplies power to the electric tool through the adapter, and the adapter includes a locking device, and when the universal mobile power supply is coupled to the adapter, the locking device of the adapter locks the universal mobile power supply on the adapter.
Preferably, the universal mobile power supply further comprises a circuit board disposed between the battery pack and the side surface.
Preferably, the universal mobile power supply further includes an insulating plate disposed between the circuit board and the battery pack.
Preferably, the universal mobile power supply further comprises: the detection unit is used for detecting and obtaining battery state information of the universal mobile power supply; and the wireless communication unit transmits the battery state information to the electric tool, and the electric tool receives the battery state information and controls the electric tool to work according to the battery state information.
Preferably, the wireless communication module is one of a hall sensing module, a bluetooth module, a Zigbee communication module, a Wi-Fi module, an infrared communication module, and an RFID radio frequency module.
In order to achieve the above object, the second technical solution provided by the present invention is:
a universal mobile power supply comprises a connection port, wherein the connection port comprises a first discharging interface for supplying power to portable electronic equipment, a second discharging interface for supplying power to an electric tool and a charging interface for obtaining electric energy from a charger to charge, and the charging interface, the first discharging interface and the second discharging interface are three independent interfaces.
Preferably, the first discharging interface is a USB interface.
Preferably, the second discharge interface has a first configuration, and the power tool is capable of receiving power from a power source coupled to the interface having a second configuration, the first configuration being different from the second configuration.
Preferably, the second discharge interface supplies power to the power tool through an adaptor.
Preferably, the charging interface and the first discharging interface are USB interfaces, the USB interface of the charging interface has a first type, the USB interface of the first discharging interface has a second type, and the first type is different from the second type.
Compared with the prior art, the invention has the beneficial effects that: through improving general portable power source's structure, make its volume reduce, the outward appearance is the same with current portable power source, portable can be used to simultaneously for portable electronic equipment and electric tool power supply, has to use the general charger of portable electronic equipment to charge it, and the commonality is high.
In order to achieve the above object, the present invention further provides an adaptor adapted to the universal mobile power supply, wherein:
a kind of adapter, including first connecting portion and second connecting portion, the first connecting portion is connected with general portable power source, the second connecting portion is connected with electric tool, the first connecting portion obtains the electric energy from the said general portable power source and then transmits to the electric tool through the second connecting portion, the structure of the power interface used for obtaining the external electric energy that is connected with the said second connecting portion on the electric tool is different from the structure of the first connecting portion; the adapter further comprises a first locking device, and when the universal mobile power supply is matched and connected with the connecting seat, the universal mobile power supply is locked on the adapter through the first locking device.
Preferably, the adapter includes an accommodation cavity, the universal mobile power supply is installed in the accommodation cavity, and the first connecting portion is disposed in the accommodation cavity.
Preferably, the adaptor is a containing box, and includes a hollow box body and a box cover, the box cover can be mounted on the hollow box body to be integrated with the box cover, and has a hollow part inside, the containing cavity is the hollow part, the locking device is the box cover, when the universal mobile power supply is coupled with the connecting base, the universal mobile power supply is mounted in the hollow part, and the box cover locks the universal mobile power supply in the hollow part.
Compared with the prior art, the invention has the beneficial effects that: through using above-mentioned adapter, can be with above-mentioned general portable power source adaptation of improving the structure to electric tool on, when improving general portable power source's structure and making it become to have the same appearance with current portable power source, also guaranteed its suitability with electric tool.
In order to achieve the above object, the present invention provides a battery pack comprising the universal mobile power supply and an adapter: a battery pack is used for supplying power to an electric tool and comprises an adapter and a universal mobile power supply, wherein the universal mobile power supply signs any one of the universal mobile power supply, the adapter is any one of the adapter, and the electric energy of the universal mobile power supply is transmitted to the electric tool through the adapter.
In order to achieve the above object, the present invention provides an electric power tool system using the above battery pack: a power tool system comprises a power tool and a battery pack for providing power for the power tool, wherein the battery pack is the battery pack.
Drawings
The invention is further explained below with reference to the drawings and the embodiments;
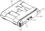
fig. 1 is an external perspective view of a universal mobile power supply according to a first embodiment of the present invention;
fig. 2 is an internal perspective view of the universal mobile power supply of the first embodiment of the present invention with the housing removed;
fig. 3 is a schematic structural component perspective view of a universal mobile power supply according to a first embodiment of the present invention;
FIG. 4 is a perspective view of a single cell according to a first embodiment of the present invention;
fig. 5 is a schematic diagram of the positions of the battery pack and the circuit board according to the first embodiment of the present invention, which is a first circuit board arrangement;
fig. 6 is a schematic diagram of the position of a battery pack and a circuit board according to a second embodiment of the present invention, which is a second circuit board arrangement;
fig. 7 is a schematic perspective view of a circuit board according to a first embodiment of the present invention;
fig. 8 is a horizontal sectional view of the universal mobile power supply of the first embodiment of the present invention with a case removed;
FIG. 9 is a diagram of the power tool and the universal mobile power source in accordance with the first embodiment of the present invention;
fig. 10 is a horizontal sectional view of the universal portable power source of the first embodiment of the present invention mounted in a power source containing case;
fig. 11 is a front view of a circuit board of the universal mobile power supply of the third embodiment of the present invention;
Detailed Description
Example one
The electric tool system according to the first embodiment of the present invention, referring to fig. 9, includes anelectric tool 35 and a battery pack, the battery pack includes a universalmobile power source 400 and anadapter 33, theadapter 33 is connected between the electric tool and the universal mobile power source, the universal mobile power source stores electric energy, and the electric energy of the universal mobile power source is transmitted to the electric tool through the adapter to provide the electric energy for the electric tool.
Referring to fig. 1 to 3, the first embodiment provides a universalmobile power supply 400 including acase 300, abattery pack 100, and acircuit board 200, and thebattery pack 100 and thecircuit board 200 are accommodated in thecase 300. The battery pack comprises a plurality of single batteries 1, the single batteries are connected in series and in parallel to form an integratedbattery pack 100, and energy is stored in the battery pack; thecircuit board 200 is connected to thebattery pack 100 to control charging or discharging of the battery pack, and is provided with a plurality ofinterfaces 201, i.e., connection ports, through which electrical connection with an external device can be achieved; the shell is provided with a plurality ofopenings 301, the openings correspond to theinterfaces 201 on the circuit board, and the interfaces are connected with external equipment such as an electric tool, a charger and portable electronic equipment in a releasable manner through the openings, so that energy transmission is realized.
In this embodiment, referring to fig. 1, the universal mobile power supply is an approximately rectangular parallelepiped structure, and the interior of the universal mobile power supply is formed by connecting 5 single batteries in series side by side, and the rectangular parallelepiped of the universal mobile power supply has a length of about 88 to 108mm, a width of about 72 to 88mm, and a height of about 19.8 to 24.2 mm. It should be noted that the size of the universal mobile power supply is not limited to this range, and the size of the universal mobile power supply varies with the number and arrangement of the internal single batteries, and the like, and can be used as an embodiment of the present invention. In the present embodiment, the battery pack is composed of a plurality of cylindrical single batteries 1 (see fig. 4), the cylindrical body includes a side surface and two circular bottom surfaces, the side surface of the cylindrical body is provided with abattery wall 5, one bottom surface of the cylindrical body is provided with apositive terminal 7a of the single battery, the other bottom surface is provided with anegative terminal 7b of the single battery, and thepositive terminal 7a and thenegative terminal 7b are collectively referred to as anelectrode terminal 7. The two base surfaces of the individual cells 1 each have acentral axis 9, whichcentral axes 9 correspond to thecentral axes 9 of the cylinders (individual cells). In the present embodiment, the plurality of single batteries are mutually close along the battery wall, the central axes of the plurality of single batteries are mutually parallel, the plurality of single batteries are arranged in parallel and tightly assembled into a whole in parallel, so as to form a battery pack structure (see fig. 5) similar to therectangular parallelepiped 11, and a plane defining the upper surface and the lower surface of therectangular parallelepiped 11 as the battery wall and having a large area is a first wall surface 11a, a plane defining the left surface and the right surface of the rectangular parallelepiped as the battery wall and having a small area is asecond wall surface 11b, a plane defining the front surface and the rear surface of the rectangular parallelepiped as theextreme end surface 11c, and the area of theextreme end surface 11c is smaller than that of the first wall surface 11 a.
In this embodiment, referring to fig. 1, thehousing 300 is a flat housing with an approximately rectangular parallelepiped shape, theinterface 201 is disposed in the housing, theopening 301 is smoothly disposed on the housing, and each surface has no protruding hook boss or the like, so that the holding comfort of the universal mobile power supply is ensured, and the appearance is similar to that of the mobile power supply. Specifically, therectangular parallelepiped case 300 has 6 case surfaces, which are a top surface, a bottom surface, and the remaining four side surfaces, where the top surface and the bottom surface are a pair of flat surfaces parallel to each other without any step-like protruding portion, the two opposite side surfaces of the side surfaces are smooth curved surfaces, the other two opposite side surfaces are flat surfaces, the top surface and the bottom surface support portions of two first wall surfaces 11a of the battery pack, and the four side surfaces support portions of asecond wall surface 11b and anextreme end surface 11c of the battery pack, respectively, corresponding to the battery pack.
Further said circuit board is arranged on the side of onepole end face 11c between the battery pack and the side of the housing corresponding to thispole end face 11c, the plane of the circuit board being orthogonal to thecentral axis 9 of said single cell. It is also conceivable that the circuit board may be arranged on one side of asecond wall surface 11b between the battery pack and a side surface of the housing corresponding to thesecond wall surface 11b, the plane of the circuit board being parallel to thecentral axis 9 of the single battery. The side surface area of the shell is smaller than that of the top surface/the bottom surface, the circuit board is arranged at the side surface, the volume of the shell is smaller than that of the circuit board arranged on the top surface/the bottom surface, the appearance of the shell is lengthened and thinned, and therefore the whole volume of the universal mobile power supply is more compact and smaller. It is easily understood by those skilled in the art that the single battery is not limited to the cylindrical single battery, and other single batteries with other shapes such as rectangular shape, flat shape, etc. which can realize energy storage can be arranged and combined into a battery pack similar to the rectangular shape according to a certain method, at this time, the shape of the housing is still the rectangular shape corresponding to the battery pack, two surfaces with the largest area of the rectangular housing are the top surface and the bottom surface, and the other surfaces are the side surfaces, accordingly, the circuit board is arranged between the battery pack and one side surface, and all the embodiments of the present invention can be regarded as the embodiments of the present invention, and are within the protection scope of the present invention.
It is easily understood by those skilled in the art that the shape of the rectangular parallelepiped of the housing is not limited to a mathematically defined standard rectangular parallelepiped, but may be a rectangular parallelepiped with two side surfaces being smooth curved surfaces as in the first embodiment, and any rectangular parallelepiped with the overall shape of the housing being substantially a rectangular parallelepiped and having no irregular parts such as protruding steps on the housing can be used as the embodiment of the present invention, and it is within the protection scope of the present invention. It should be noted that, in the prior art, the top surface of the battery pack is not a plane surface, but a high step-shaped top surface protruding from the discharge interface of the tool, which is not in the protection scope of the present invention. The battery pack includes aholder 3 for fixedly supporting a plurality of single batteries to be an integrated structure of an approximately rectangular shape. In this embodiment, the bracket is a split bracket, and includes afirst bracket 3a and asecond bracket 3b, which are respectively fixed on the upper and lower end surfaces 11c of the battery pack, referring to fig. 3, to fix the single battery. As will be appreciated by those skilled in the art, the bracket may be a one-piece bracket, which is not separable, and may also be used to secure a single battery.
A sheet-shaped insulatingplate 13 is arranged between the battery pack and the circuit board to prevent the circuit board from being conductive due to the fact that the circuit board is close to the positive and negative pole pieces of the single battery. It should be noted that the insulating plate may not be provided when the circuit board and the pole piece of the battery are far enough away from the pole piece of the battery to not affect the circuit board.
Referring to fig. 7, in this embodiment, theinterface 201 of the universal mobile power supply includes 3 independent interface units, which are a charginginterface unit 15, a first discharginginterface unit 17, and a second discharginginterface unit 19, respectively, and are disposed on thecircuit board 300. The charginginterface unit 15 can be connected with a charger, the charger is connected with a power socket on a wall, and when the universal mobile power supply is insufficient in electric quantity and needs to be charged, the universal mobile power supply is charged through the charging interface; the first discharginginterface unit 17 is connected with an external portable electronic device to supply power to the portable electronic device, a corresponding interface unit is arranged outside the portable electronic device, an energy storage unit and a working circuit are arranged inside the portable electronic device, the energy storage unit supplies power to the working circuit, when the portable electronic device is connected with the universal mobile power supply, the universal mobile power supply can charge the energy storage unit inside the portable electronic device, and when the portable electronic device is not provided with the energy storage unit or a user chooses not to charge the energy storage unit, the universal mobile power supply can directly supply power to the working circuit; the seconddischarge interface unit 19 can output the electric energy required by the electric tool to supply power to the electric tool.
In this embodiment, the charging interface is a USB interface, and the charger is a charger capable of charging the portable electronic device, for example, a USB charging socket capable of charging a mobile phone, which is produced by a manufacturer for the mobile phone, a digital camera, and the like.
In the present invention, the second discharginginterface unit 19 of the universal mobile power supply cannot be directly connected with the interface unit on the electric tool to supply electric energy to the electric tool, and needs to pass through an adapter. The seconddischarge interface unit 19 has a mechanical structure of a first configuration, and an interface capable of directly connecting an external power supply that outputs electric power to an interface unit on the electric power tool has a mechanical structure of a second configuration, and the first configuration is different from the second configuration, so that the universalportable power supply 400 cannot be directly connected to anyelectric power tool 35.
Further, in this embodiment, the top surface and the bottom surface of the housing define a space, that is, a space region (not shown) is formed between two parallel planes of the top surface and the bottom surface, and the seconddischarge interface unit 19 is located in the space region, so that there is no discharge interface structure protruding outward on the top surface and the bottom surface of the housing, and there is no uneven protruding portion of the housing surface caused by the discharge interface structure on the top surface and the bottom surface, thereby further ensuring the smoothness and flatness of the overall shape of the universal mobile power supply. Referring to fig. 1, in particular, the seconddischarge interface unit 19 is located between one side of the case and the battery pack in the space region.
Further, the charging interface unit and the first discharging interface unit are both set as universal USB interfaces, and the USB interfaces of the charging interface unit and the first discharging interface unit may be the same or different in type. The universal mobile power supply can be conveniently connected with an external charging seat or portable electronic equipment through a universalUSB data line 21. As is well known to those skilled in the art, a universal USB interface is an integrated interface, and the interface includes at least a positive terminal, a negative terminal, and two data transmission terminals (Tx, Rx), where the positive terminal and the negative terminal can implement power transmission, and the data transmission terminal can implement data transmission. Therefore, in this embodiment, power transmission is performed only through the positive and negative terminals through the USB interface on the universal mobile power supply. As is well known to those skilled in the art, a USB data line is a line having a certain length and capable of performing charging and data transmission, a section of electric wire is disposed in the middle, and USB interfaces having the same or different interface types are disposed at two ends, so that data or power transmission between two devices can be performed through the USB data line. The USB interface can be divided into a male port and a female port, and the male port and the female port with the same interface type can realize butt joint. In a specific embodiment of this embodiment, USB interfaces on the universal mobile power source are female interfaces, the charging interface unit is a micro-B type interface, the first discharging interface unit is a USB a type interface, and accordingly, when the universal mobile power source is charged, a USB data line with a micro-B type male interface at one end is connected to the charging interface unit, and the other end of the USB data line is connected to a charging dock, where the charging dock can be a charging dock used by a general portable electronic device; when the universal mobile power supply is used for charging the electronic equipment, a USB data line with one end being a USB A-type male port is adopted, and the other end interface is matched and connected with the portable electronic equipment. Different portable electronic devices have different types of USB interfaces, so different USB data lines are required. It is well known to those skilled in the art that the types of USB interfaces are not limited to the a type and the micro-B type, and other types of USB interfaces that can realize the USB interface function, such as the USB-B type, the mine-a type, the mine-B type, and the like, can be used as USB interfaces on the universal mobile power supply, and can be taken as embodiments of the present invention, and are within the protection scope of the present invention.
In a specific embodiment of this embodiment, the battery pack is a battery pack that is composed of a plurality of single batteries and provides 20V voltage, the charging interface unit is a 5V voltage input, the first discharging interface unit outputs 5V voltage, and the second discharging interface unit outputs 20V voltage and is provided by the battery pack. Further, the universal mobile power supply comprises a DC-DC boosting circuit inside, when charging, 5V voltage is input and boosted to 20V for charging the 20V battery pack, and the DC-DC voltage reduction circuit is arranged, when supplying power for the portable electronic equipment, 20V voltage of the battery pack is reduced to 5V for supplying power for the portable electronic equipment. Furthermore, the universal mobile power supply internally comprises a control module which can control the charging or discharging process of the universal mobile power supply when abnormal states such as over-temperature, over-charging, over-discharging, over-current and the like occur during charging or power supply for the portable electronic equipment. It should be noted that the battery pack voltage of the universal mobile power supply and the output voltage of the second discharging interface are not limited to 20V, and the voltage varies according to design requirements, and the corresponding internal boost circuit and the buck circuit also vary, which can be taken as embodiments of the present invention and are within the protection scope of the present invention.
In this embodiment, the seconddischarge interface unit 19 is an electrode sheet type interface, and correspondingly, the second discharge interface is provided with 2 terminals, namely a positive electrode terminal and a negative electrode terminal, on the circuit board, one electrode sheet corresponding to each terminal, and the electrode sheets are symmetrical openfemale electrode sheets 23. Correspondingly, the interface unit of the external device obtaining the electric energy from the second discharginginterface unit 19 is provided with amale electrode plate 27, which is in contact with thefemale electrode plate 23 to realize butt joint. In order to realize interface butt joint, twocircular openings 25 are formed in the shell, a positive terminal primary-secondary electrode plate 23a and a negative terminal primary-secondary electrode plate 23b are respectively arranged in the openings, and when an interface unit of external equipment is connected with a universal mobile power supply in a matching mode, a corresponding male electrode plate is connected with thefemale electrode plate 23 in an inserting mode through thecircular openings 25, and electric quantity transmission is achieved. The shape of the opening can also be square or other shapes which are beneficial to connection.
Further, thefemale electrode sheet 23 is disposed on the circuit board, and the female electrode sheet has a first extendingdirection 29, that is, a first extending direction of the second discharge interface, when the second discharge interface unit is connected with the external device, thefemale electrode sheet 23 and themale electrode sheet 27 are connected in a plugging manner in the first extendingdirection 29, and the second discharge interface is electrically connected with the adaptor to realize power transmission, in this embodiment, the seconddischarge interface unit 19 is disposed between one of the side surfaces of the housing and the battery pack, and defines the side surface as a, and the seconddischarge interface unit 19 is perpendicular to the plane of the side surface a in the first extendingdirection 29. At the moment, the external equipment interface unit can only be in direct-plug connection with the second discharge interface unit along the first extending direction, so that the unevenness of the housing caused by the horizontal sliding connection of the sliding rail in the prior art is avoided, the sliding rail is omitted, and the smoothness and the flatness of the cuboid housing can be further ensured.
Further, the seconddischarge interface unit 29 is perpendicular to the plane of the circuit board in the first extending direction 29 (see fig. 8).
In the present embodiment, the circuit board includes a wireless communication module 31 (see fig. 7) for data transmission with the electric power tool. In the present embodiment, the universal portable power source is connected to the electric power tool only by connecting the positive and negative terminals, and only the transmission of electric energy is generated. The circuit board is provided with a wireless communication module, correspondingly, the electric tool is also provided with the wireless communication module, and when the two modules are successfully butted, information transmission can occur. In this embodiment, the universalmobile power supply 400 includes a detection unit, which can detect and obtain a plurality of kinds of battery status information representing various statuses of the universal mobile power supply, and thewireless communication module 31 in the universal mobile power supply can transmit the battery status information to the electric tool, so that the electric tool can control the working process of the electric tool according to the information. The detection unit comprises a temperature detection module, a voltage detection module and a control module, wherein the temperature detection module detects the temperature of the mobile power supply, the voltage detection module detects the voltage of the mobile power supply, temperature and voltage information are sent to the control module, and the control module sends data needing to be transmitted to the wireless communication module. Those skilled in the art can easily understand that the detection module in the universal mobile power supply is not limited to the temperature and voltage detection module, and data obtained by other modules capable of realizing battery state detection can be sent to the control module to realize wireless transmission. As will be readily understood by those skilled in the art, there are a variety of methods for communicating information between the universal mobile power supply and the power tool based on the wireless communication module 31:
firstly, transmitting state information: the wireless communication module of the universal mobile power supply can transmit an integral state signal, the integral state signal is comprehensively judged and generated according to information such as temperature, voltage, current and the like, the integral state signal indicates that the mobile power supply is normal or abnormal, and the over-temperature, under-voltage, over-charge or over-current are all abnormal; or the wireless communication module of the universal mobile power supply transmits a plurality of independent state signals, such as a voltage state signal, a current state signal and a temperature state signal, wherein the state signals are normal and abnormal, and when the electric tool receives the plurality of independent state signals, the controller of the electric tool performs comprehensive judgment so as to control the discharging process of the universal mobile power supply;
secondly, data information transmission: the wireless communication module on the circuit board can transmit various battery pack data information to the electric tool, wherein the battery pack data information comprises one or more of temperature information, voltage information, current information, battery pack ID (identification) and the like of the universal mobile power supply; the wireless communication module on the circuit board can receive identification information sent by the electric tool, and the identification information comprises identification information such as tool types and tool signals of the electric tool.
The information of the interaction between the universal mobile power supply and the electric tool is various, and the interaction modes are various and are not listed.
In a specific implementation manner, the wireless communication module may be a hall sensing element, a small coil is arranged in the universal mobile power supply, a magnetic signal is generated when the small coil is powered on, a hall element is arranged in the electric tool, a high level is generated when the magnetic signal is sensed, and a low level is not sensed, so that the communication between the universal mobile power supply and the electric tool is realized. Specifically, the sensing time, the sensing frequency and the like can be controlled to transmit different information, such as setting:
when the general mobile power supply is abnormal, the small coil is electrified, and an integral state signal is transmitted: the Hall element in the electric tool senses a magnetic signal and generates a high level to be sent to an electric tool controller, and the controller controls the universal mobile power supply to stop discharging;
two, the different energization durations of the small coils represent a plurality of different individual state signals: if the small coil is electrified for 3S when the universal mobile power supply is over-temperature, the Hall element in the corresponding electric tool generates 3S high level and sends the high level to the electric tool controller, and the controller can know that the mobile power supply is over-temperature when judging the time length, so that the mobile power supply is controlled to stop discharging;
and thirdly, the small coil is electrified to be in a high power-off state and in a low power-off state, different information is represented by the on-off code of the small coil, so that the Hall element obtains a high-low level code, and various data information and state information such as temperature information, voltage information, a temperature state and a voltage state can be transmitted in a code form.
In a specific implementation mode, the wireless communication module can be a bluetooth communication module, the bluetooth communication modules are respectively arranged on the universal mobile power supply and the electric tool, and when the two modules are in butt joint, data transmission can be performed. The specifically transmitted data can also be a battery pack integral state information signal, an individual state signal, a plurality of data signals and the like, and the electric tool can control the discharge of the universal mobile power supply.
It is well known to those skilled in the art that the wireless communication module is not limited to hall sensing and bluetooth communication, and other technologies that can implement wireless communication, such as ZigBee, RFID radio frequency identification technology, IR infrared spectroscopy, wireless local area network (WiFi/WiMax), etc., may be used as embodiments of the present invention, and are within the scope of the present invention.
Referring to fig. 9, theadaptor 33 provided in the first embodiment, in order to implement the mating connection between the universal mobile power source and theelectric tool 35, includes a first connection portion and a second connection portion (not shown), the first connection portion is connected to the universal mobile power source, the second connection portion is connected to the electric tool, the first connection portion obtains electric energy from the universal mobile power source and then transmits the electric energy to the electric tool through the second connection portion, and a structure of a power interface connected to the second connection portion on the electric tool and used for obtaining external electric energy is different from that of the first connection portion, so that the universal mobile power source can be connected to the adaptor but cannot be directly connected to the electric tool, and the universal mobile power source must be connected to the electric tool through the adaptor to provide electric energy thereto.
Further, the adapter includes first locking device and second locking device, and first locking device cooperates with general portable power source, and second locking device cooperates with the instrument, and locking device's effect is carried out the buckle to two objects that have installed together, prevents because reasons such as gravity under the state of installation together that an object takes off or the landing from another object, causes both to connect contact failure or fall to damage or fall and injure the people. Correspondingly, set first locking device on the adapter, need not set up the device on so general portable power source, compare with prior art (being equipped with locking device on the battery package), under the prerequisite of having guaranteed locking effect between them, general portable power source's volume reduces, and the shell is more smooth level and smooth. The second locking device may also be provided on the power tool.
Further, in this embodiment, the adapter includes and holds the chamber, general portable power source installs and holds the intracavity, first connecting portion set up and hold the intracavity.
Referring to fig. 9, in this embodiment, the adaptor is a powersupply accommodating box 33 removable from the tool body, the powersupply accommodating box 33 includes ahollow box body 33a and abox cover 33b, thehollow box body 33a is an approximately rectangular parallelepiped structure with an opening on one side, thebox cover 33b is mountable on the opening side, the box cover is rotatably coupled to the hollow box body to form a whole, and the power supply accommodating box has a hollow portion inside, i.e., the accommodating cavity, thebox cover 33b is opened, the universal mobile power supply is inserted into the accommodating cavity from the opening side and is placed in the accommodating cavity to be coupled to the first connecting portion of the adaptor, and the box cover is closed, i.e., the universal mobile power supply is coupled to the adaptor.
Thehollow box body 33a has an inner box surface and an outer box surface, the inner box surface is an inner surface which faces the power supply accommodating box and is attached to the hollow part, the outer box surface is an outer surface of the hollow box body, the second connecting portion is arranged on the outer box surface and comprises an electrode plate interface unit and a sliding rail, and the first connecting portion of the adapter is arranged on the inner box surface and is also the electrode plate interface unit. The universal mobile power supply and the power supply containing box are both of a cuboid structure with an approximate shape, the power supply containing box is larger than the universal mobile power supply in size, the universal mobile power supply can be installed in the containing cavity in space, the universal mobile power supply is provided with an insertingdirection 39, and the universal mobile power supply can be directly inserted into the power supply containing box along the insertingdirection 39 to realize mechanical connection of the universal mobile power supply and the power supply containing box. In this embodiment, the side a of the universal mobile power supply having the second discharge interface unit is first brought into the inside of the power supply accommodation box, the side has a circuit board parallel to the side, and theinsertion direction 39 of the universal mobile power supply is perpendicular to the circuit board and parallel to the first extendingdirection 29 of the second discharge interface.
Further, the lid is first locking device promptly, holds the general portable power source of the big or small shape ability compact holding in chamber, and the lid is installed in the open-ended one side of hollow box body, and after closing the lid, the position of lid has closed just open-ended one side prevents general portable power source in inside relative movement, has prevented the second interface of discharging from the pine takes off on the first connecting portion avoids contact failure to prevent that general portable power source from taking off from the box body and having avoided the unexpected ground damage of heavy object or hinder the people, reached the effect of locking.
Furthermore, still be provided with second locking device (not shown) and electric tool on the outer box face of hollow box body and realize locking, including locking button and with the locking piece of the protruding form of locking button mechanical linkage, when not pressing down the locking button, the locking piece protrusion is on outer box face plane, and when keeping pressing down the locking button, the locking piece is collapsible under outer box face plane, and electric tool is last to be provided with the fluting that is used for blocking the locking piece correspondingly. The second locking device is used in the prior art on a battery pack, and a specific locking process of the second locking device is not described herein.
Referring to fig. 10, a horizontal sectional view of the universal mobile power supply installed in the battery accommodating box has two sides in the insertion direction inside the battery accommodating box, one side is a box cover side (not shown), the other side is a mountingside 41, and two terminals, namely a positive electrode terminal and a negative electrode terminal, are arranged on the mounting side, and are amale electrode tab 27, which can be electrically connected with afemale electrode tab 23 of a second discharge interface of the universal mobile power supply. Themale electrode plates 27 have lead-out wires, respectively, which are connected to the second connecting portion of the housing box.
Example two
Referring to fig. 6, the structure of the universal mobile power supply of the second embodiment of the present invention is substantially the same as that of the universal mobile power supply of the first embodiment, and therefore the same components are denoted by the same reference numerals and are not described in detail, and thecircuit board 200 is still disposed between a certain side surface of the housing and the battery pack, except that thecircuit board 200 is not disposed on the side of thepole end surface 11c, thecircuit board 200 is disposed on the side of thesecond wall surface 11b, and is located between a side surface of the housing corresponding to thesecond wall surface 11 and the battery pack, and the plane of the circuit board is parallel to thecentral axis 9 of the single battery.
It is worth noting that if the universal mobile power supply can be directly connected with the electric tool without the adapter, the electric tool is provided with the locking device, but the universal mobile power supply is not provided with the locking device, when the universal mobile power supply is matched and connected with the electric tool, the locking device on the electric tool locks the universal mobile power supply on the electric tool, and the shell of the universal mobile power supply is ensured to be flat.
EXAMPLE III
Referring to fig. 11, the universal mobile power supply according to the third embodiment of the present invention has substantially the same structure as the universal mobile power supply according to the first embodiment, and therefore the same components are denoted by the same reference numerals and are not described in detail, except that no wireless communication module is disposed on the circuit board, and the second discharge interface unit has four terminals including apositive terminal 37a and anegative terminal 37 b.
In the third embodiment, the second discharge interface unit includes four terminals, namely apositive terminal 37a, anegative terminal 37b and twodata transmission terminals 37 c. Thedata transmission terminal 37c may be a voltage signal transmission terminal and a temperature signal transmission terminal, respectively, when the battery pack is coupled to the electric tool through the second discharging interface, the mobile power supply may transmit the temperature information and the voltage information of the battery to the control unit of the electric tool through the two terminals, and the control unit of the tool thereby controls the battery pack to discharge; the data transmission terminals can be a Tx data transmitting terminal and an Rx data receiving terminal respectively, information interaction between the general mobile power supply and the electric tool is achieved when the general mobile power supply is connected with the electric tool through the second discharging terminal in a matching mode, the general mobile power supply can transmit various information including temperature information, voltage information, current information, mobile power supply ID and the like to the electric tool through the Tx terminal, and the general mobile power supply can receive various information including tool types, tool models and the like through the Rx terminal. The information that the universal mobile and power tool interact is various and is not listed here.
In this embodiment, corresponding to the second discharge interface unit, the mountingside 41 of the power supply containing box of the electric power tool is provided with four terminals, including a positive electrode, a negative electrode and two data transmission terminals, which are four male electrode pieces, and the four male electrode pieces have lead-out wires respectively, which are connected to the second connecting portion of the containing box. It is easily understood by those skilled in the art that the number of the data transmission terminals on the universal mobile power supply and the power supply containing box is not limited to 2, and more than 2 data transmission terminals can be used as the embodiments of the present invention, and all of them are within the protection scope of the present invention.
It should be noted that the circuit board of the mobile communication module includes various electronic components, and in the drawings of the specification, in order to ensure a clear representation of the schematic diagram, the electronic components except for the wireless communication module and the interface unit are all shown, but the protection scope of the present invention is not affected.
The invention can be implemented in other ways as will occur to those skilled in the art, provided that the technical spirit of the invention is the same as or similar to the invention, or that any conceivable changes and substitutions based on the invention are within the protective scope of the invention.

Claims (18)

1. A universal mobile power supply comprising:
a battery pack including a plurality of single batteries;
a cuboid housing for accommodating the battery pack, the housing comprising six housing faces, respectively a top face, a bottom face and four side faces, the top face and the bottom face being parallel planes with a largest area in the housing faces,
a connection port including a first discharge interface to supply power to the portable electronic device and a second discharge interface to supply power to the power tool;
the method is characterized in that: the second discharge interface is arranged in a space defined by the top surface and the bottom surface, and the first discharge interface and the second discharge interface face different side surfaces of the shell;
the second discharging interface supplies power to the electric tool through the adapter, the second discharging interface has a first structure, the electric tool can be matched and connected with a power supply of the interface with a second structure to obtain electric energy, and the first structure is different from the second structure;
the adapter comprises a first connecting part and a second connecting part, the first connecting part is connected with the universal mobile power supply, the second connecting part is connected with the electric tool, the first connecting part acquires electric energy from the universal mobile power supply and then transmits the electric energy to the electric tool through the second connecting part, and the structure of a power interface which is connected with the second connecting part and used for acquiring external electric energy on the electric tool is different from that of the first connecting part;
the adapter further comprises a first locking device, and when the universal mobile power supply is matched and connected with the adapter, the universal mobile power supply is locked on the adapter through the first locking device.
2. The universal mobile power supply according to claim 1, wherein the second discharge interface is disposed between the battery pack and the side.
3. The universal mobile power supply according to claim 1, wherein the second discharging interface is disposed between a surface and the battery pack, the second discharging interface has a first extending direction, and along the first extending direction, the second discharging interface is coupled to a device that obtains power from the second discharging interface, and the first extending direction is perpendicular to a plane of the surface on which the second discharging interface is disposed.
4. The universal mobile power supply according to claim 3, further comprising a circuit board supporting the second discharge interface, wherein the first extending direction is perpendicular to a plane of the circuit board.
5. The universal mobile power supply according to claim 3, wherein said universal mobile power supply has an insertion direction in which said universal mobile power supply is mechanically coupled to said adaptor, and said first extension direction is parallel to said insertion direction.
6. The universal mobile power supply of claim 1, wherein the power tool includes a locking device, the locking device of the power tool locking the universal mobile power supply to the power tool when the power tool is mated with the universal mobile power supply.
7. The universal mobile power supply of claim 1 wherein the adapter includes a locking mechanism that locks the universal mobile power supply to the adapter when the universal mobile power supply is mated with the adapter.
8. The universal mobile power supply according to claim 1, further comprising a circuit board disposed between the battery pack and the side.
9. The universal mobile power supply according to claim 8, further comprising an insulating plate disposed between the circuit board and the battery pack.
10. The universal mobile power supply according to claim 1, further comprising:
the detection unit is used for detecting and obtaining battery state information of the universal mobile power supply;
and the wireless communication unit transmits the battery state information to the electric tool, and the electric tool receives the battery state information and controls the electric tool to work according to the battery state information.
11. The universal mobile power supply of claim 10, wherein the wireless communication unit is one of a hall sensing module, a bluetooth module, a Zigbee communication module, a Wi-Fi module, an infrared communication module, and an RFID radio frequency module.
12. A universal mobile power supply comprises a connection port and is characterized in that,
the connection port comprises a first discharging interface for supplying power to the portable electronic equipment, a second discharging interface for supplying power to the electric tool and a charging interface for obtaining electric energy from the charger to charge, and the charging interface, the first discharging interface and the second discharging interface are three independent interfaces;
the second discharging interface supplies power to the electric tool through the adapter, the second discharging interface has a first structure, the electric tool can be matched and connected with a power supply of the interface with a second structure to obtain electric energy, and the first structure is different from the second structure;
the adapter comprises a first connecting part and a second connecting part, the first connecting part is connected with the universal mobile power supply, the second connecting part is connected with the electric tool, the first connecting part acquires electric energy from the universal mobile power supply and then transmits the electric energy to the electric tool through the second connecting part, and the structure of a power interface which is connected with the second connecting part and used for acquiring external electric energy on the electric tool is different from that of the first connecting part;
the adapter further comprises a first locking device, and when the universal mobile power supply is matched and connected with the adapter, the universal mobile power supply is locked on the adapter through the first locking device.
13. The universal mobile power supply according to claim 12, wherein the first discharging interface is a USB interface.
14. The universal mobile power supply according to claim 12, wherein the charging interface and the first discharging interface are both USB interfaces, the USB interface of the charging interface has a first type, the USB interface of the first discharging interface has a second type, and the first type is different from the second type.
15. An adapter, comprising a first connection portion and a second connection portion, wherein the first connection portion is connected with the universal mobile power supply of any one of claims 1 to 14, the second connection portion is connected with an electric tool, the first connection portion obtains electric energy from the universal mobile power supply and then transmits the electric energy to the electric tool through the second connection portion, and the universal mobile power supply comprises: a battery pack including a plurality of single batteries; the battery pack comprises a shell, a battery pack and a battery pack, wherein the shell comprises six shell surfaces, namely a top surface, a bottom surface and four side surfaces, and the top surface and the bottom surface are parallel and planes with the largest area in the shell surfaces; a connection port including a first discharge interface to supply power to the portable electronic device and a second discharge interface to supply power to the power tool; the second discharging interface is connected with the first connecting part of the adapter and provides electric energy for the first connecting part;
the method is characterized in that:
the structure of a power interface which is connected with the second connecting part and used for acquiring external electric energy on the electric tool is different from that of the first connecting part;
the adapter comprises an accommodating cavity, the universal mobile power supply is arranged in the accommodating cavity, and the first connecting part is arranged in the accommodating cavity;
the adapter further comprises a first locking device, and when the universal mobile power supply is matched and connected with the adapter, the universal mobile power supply is locked on the adapter through the first locking device.
16. The adapter of claim 15 wherein the adapter is a housing box comprising a hollow body and a cover, the cover being mountable to the hollow body to be integral with the cover and having a hollow portion therein, the housing cavity being the hollow portion, the locking device being the cover, the universal mobile power source being mounted in the hollow portion when the universal mobile power source is mated with the adapter, the cover locking the universal mobile power source in the hollow portion.
17. A battery pack for powering a power tool, comprising a docking station and a universal mobile power supply, wherein the universal mobile power supply is according to any one of claims 1-5 and 7-14, the docking station is according to any one of claims 15-16, and the power of the universal mobile power supply is transmitted to the power tool through the docking station.
18. A power tool system comprising a power tool and a battery pack for supplying power to the power tool, wherein the battery pack is the battery pack of claim 17.
CN201710439920.7A2016-06-122017-06-12Universal mobile power supplyActiveCN107492920B (en)

Priority Applications (2)

Application NumberPriority DateFiling DateTitle
CN202111468307.0ACN114156983A (en)2016-06-122017-06-12Universal mobile power supply
CN202111468879.9ACN114156984B (en)2016-06-122017-06-12Universal mobile power supply

Applications Claiming Priority (2)

Application NumberPriority DateFiling DateTitle
CN2016104082252016-06-12
CN201610408225X2016-06-12

Related Child Applications (2)

Application NumberTitlePriority DateFiling Date
CN202111468307.0ADivisionCN114156983A (en)2016-06-122017-06-12Universal mobile power supply
CN202111468879.9ADivisionCN114156984B (en)2016-06-122017-06-12Universal mobile power supply

Publications (2)

Publication NumberPublication Date
CN107492920A CN107492920A (en)2017-12-19
CN107492920Btrue CN107492920B (en)2021-12-07

Family

ID=60642893

Family Applications (3)

Application NumberTitlePriority DateFiling Date
CN202111468879.9AActiveCN114156984B (en)2016-06-122017-06-12Universal mobile power supply
CN201710439920.7AActiveCN107492920B (en)2016-06-122017-06-12Universal mobile power supply
CN202111468307.0APendingCN114156983A (en)2016-06-122017-06-12Universal mobile power supply

Family Applications Before (1)

Application NumberTitlePriority DateFiling Date
CN202111468879.9AActiveCN114156984B (en)2016-06-122017-06-12Universal mobile power supply

Family Applications After (1)

Application NumberTitlePriority DateFiling Date
CN202111468307.0APendingCN114156983A (en)2016-06-122017-06-12Universal mobile power supply

Country Status (1)

CountryLink
CN (3)CN114156984B (en)

Families Citing this family (11)

* Cited by examiner, † Cited by third party
Publication numberPriority datePublication dateAssigneeTitle
CN108988424A (en)*2018-07-252018-12-11柏宜照明(上海)股份有限公司A kind of portable power source device of nail lamp
CN109768602B (en)2018-10-112021-11-09浙江动一新能源动力科技股份有限公司Battery pack charging and discharging method and system for garden tool
CN112803508A (en)*2019-11-132021-05-14浙江动一新能源动力科技股份有限公司Mobile charging equipment and assembly of mobile charging equipment and electric tool
WO2021203237A1 (en)*2020-04-072021-10-14博世电动工具(中国)有限公司Removable power battery, electric tool, communication terminal, data transfer method, and readable storage medium
CN212210525U (en)*2020-04-162020-12-22苏州科瓴精密机械科技有限公司Gasoline engine battery pack, electric starting gasoline engine and garden tool
KR20230005878A (en)*2020-06-302023-01-10저지앙 레라 뉴 에너지 파워 테크놀로지 컴퍼니 리미티드 battery pack
CN212659631U (en)*2020-06-302021-03-05浙江动一新能源动力科技股份有限公司Multifunctional battery pack
CN111864146A (en)*2020-08-242020-10-30常州豪爵铃木摩托车有限公司 Battery packaging structure and lithium battery pack
CN215419646U (en)*2020-11-062022-01-04格力博(江苏)股份有限公司 A charger and charging system
CN112382824B (en)*2021-01-182021-05-11星逻智能科技(苏州)有限公司Universal battery charging and replacing device, battery pack and battery replacing library
CN116137453A (en)*2021-11-182023-05-19浙江齐享科技有限公司Multifunctional charging and discharging device

Citations (3)

* Cited by examiner, † Cited by third party
Publication numberPriority datePublication dateAssigneeTitle
CN1483552A (en)*2002-09-192004-03-24Electric tool with portable power source
TW200501536A (en)*2003-06-202005-01-01Chang Jen TangExternal power supply structure of tool
CN103094958A (en)*2012-12-282013-05-08肖俊仙Multifunctional mobile power supply and multifunctional mobile power supply circuit

Family Cites Families (18)

* Cited by examiner, † Cited by third party
Publication numberPriority datePublication dateAssigneeTitle
TW451516B (en)*1999-06-162001-08-21Snap On Tech IncMulti-use lead-acid power pack for use with a cordless power hand tool and other loads
JP4222362B2 (en)*2005-11-172009-02-12パナソニック電工株式会社 Charging method, charging circuit, and charging device
DE102007055184A1 (en)*2007-11-192009-05-20Robert Bosch Gmbh System comprising an electrical appliance and a rechargeable battery, electrical appliance and accumulator
EP2735078B1 (en)*2011-07-242017-10-04Makita CorporationPower tool system and adapter therefor
JP2013031301A (en)*2011-07-282013-02-07Sanyo Electric Co LtdBattery pack
CN202712897U (en)*2012-07-042013-01-30叶明祥 Electronic device with power connection function
US9055033B2 (en)*2012-07-172015-06-09Milwaukee Electric Tool CorporationUniversal protocol for power tools
CN103138345A (en)*2013-01-232013-06-05蔡吕乾Mobile power supply and conversion device thereof
CN203086221U (en)*2013-03-152013-07-24宁波动一电器有限公司Multi-purpose electric tool battery assembly
CN203695273U (en)*2014-01-132014-07-09洪健辉Backpack type electric spraying/sowing device
DE102014000431A1 (en)*2014-01-162015-07-16Jaroslav Bech Mobile AC / DC power plant
CN105082080A (en)*2014-04-242015-11-25苏州宝时得电动工具有限公司Electric tool
CN204103129U (en)*2014-07-152015-01-14深圳市三讯电子有限公司A kind of outdoor use low pressure waterproof connector and Portable power source
CN204103533U (en)*2014-08-012015-01-14特通科技有限公司 Multi-port power bank
CN104595135A (en)*2015-01-212015-05-06珠海市三森电子科技有限公司Portable mini-power station
CN204497813U (en)*2015-04-272015-07-22黄永林A kind of power brick of electric tool
TWM515230U (en)*2015-07-212016-01-01My Hand Ind Co LtdMobile power device
CN205271934U (en)*2016-01-152016-06-01余靖Multi -functional portable electric tool

Patent Citations (3)

* Cited by examiner, † Cited by third party
Publication numberPriority datePublication dateAssigneeTitle
CN1483552A (en)*2002-09-192004-03-24Electric tool with portable power source
TW200501536A (en)*2003-06-202005-01-01Chang Jen TangExternal power supply structure of tool
CN103094958A (en)*2012-12-282013-05-08肖俊仙Multifunctional mobile power supply and multifunctional mobile power supply circuit

Also Published As

Publication numberPublication date
CN107492920A (en)2017-12-19
CN114156983A (en)2022-03-08
CN114156984B (en)2024-03-15
CN114156984A (en)2022-03-08

Similar Documents

PublicationPublication DateTitle
CN107492920B (en)Universal mobile power supply
CN218124326U (en)Energy storage power supply and energy storage equipment
US7457649B1 (en)Headset charging station
EP1610438A2 (en)Mobile charger
US20080174265A1 (en)Battery charger
US20230035990A1 (en)Modular Charging System and Wall-Mounted Charging Device and Modular Power Devices
JP2019068552A (en) Portable charging system
TW201208230A (en)Power module for portable devices
JP3143554U (en) Storage type portable charging adapter
US20090079392A1 (en)Portable power supply module with winding unit
US11699816B1 (en)Rechargeable battery
US20090051318A1 (en)Pass Around Electrical Contacts
WO2016185359A1 (en)Portable power supply apparatus
KR200478882Y1 (en)Portable power pack
CA2754579A1 (en)Charger for an electronic device
JP3183177U (en) Charger
JP3166091U (en) Charger
JP3125314U (en) Charger
JP3130892U (en) Charging system
CN223181842U (en)Battery-detachable mobile power supply and electronic equipment set capable of adapting to battery
JPH11155239A (en)Charging equipment for secondary battery
CN219145056U (en)Energy storage power supply
CN215185975U (en)Primary and secondary that conveniently accomodate and use and support filling soon removes treasured that charges
CN201966654U (en) a charger
WO2009038789A1 (en)Mobile communication device with charging module

Legal Events

DateCodeTitleDescription
PB01Publication
PB01Publication
SE01Entry into force of request for substantive examination
SE01Entry into force of request for substantive examination
GR01Patent grant
GR01Patent grant

[8]ページ先頭

©2009-2025 Movatter.jp