Movatterモバイル変換


[0]ホーム

URL:


CN107181772B - Method and device for updating client state on line in real time - Google Patents

Method and device for updating client state on line in real time
Download PDF

Info

Publication number
CN107181772B
CN107181772BCN201610133683.7ACN201610133683ACN107181772BCN 107181772 BCN107181772 BCN 107181772BCN 201610133683 ACN201610133683 ACN 201610133683ACN 107181772 BCN107181772 BCN 107181772B
Authority
CN
China
Prior art keywords
client
clients
user
identifications
list
Prior art date
Legal status (The legal status is an assumption and is not a legal conclusion. Google has not performed a legal analysis and makes no representation as to the accuracy of the status listed.)
Active
Application number
CN201610133683.7A
Other languages
Chinese (zh)
Other versions
CN107181772A (en
Inventor
何林
Current Assignee (The listed assignees may be inaccurate. Google has not performed a legal analysis and makes no representation or warranty as to the accuracy of the list.)
Beijing Jingdong Century Trading Co Ltd
Beijing Jingdong Shangke Information Technology Co Ltd
Original Assignee
Beijing Jingdong Century Trading Co Ltd
Beijing Jingdong Shangke Information Technology Co Ltd
Priority date (The priority date is an assumption and is not a legal conclusion. Google has not performed a legal analysis and makes no representation as to the accuracy of the date listed.)
Filing date
Publication date
Application filed by Beijing Jingdong Century Trading Co Ltd, Beijing Jingdong Shangke Information Technology Co LtdfiledCriticalBeijing Jingdong Century Trading Co Ltd
Priority to CN201610133683.7ApriorityCriticalpatent/CN107181772B/en
Publication of CN107181772ApublicationCriticalpatent/CN107181772A/en
Application grantedgrantedCritical
Publication of CN107181772BpublicationCriticalpatent/CN107181772B/en
Activelegal-statusCriticalCurrent
Anticipated expirationlegal-statusCritical

Links

Images

Classifications

Landscapes

Abstract

The application discloses a method and a device for updating a client state online in real time. One embodiment of the method comprises: receiving broadcast information sent by other clients belonging to the same client group as the client used by the user; determining a first identification list or a second identification list to which client identifications of other clients belong; when the client identifications of other clients belong to the first identification list, sending the state information to the client used by the user; and when the client identifications of other clients belong to the second identification list, sending the state information to the client used by the user in an asynchronous mode. The real-time updating of the state of other clients currently shown on the client used by the user is realized, and the system load is reduced.

Description

Method and device for updating client state on line in real time
Technical Field
The present application relates to the field of computers, and in particular, to a method and an apparatus for updating a client status online in real time.
Background
The online customer service system is widely applied to electronic commerce, and customer service personnel can interact with each other by logging in a client in the online customer service system. The client used by the customer service personnel can display the states of the clients used by other customer service personnel, such as online, offline, suspended, away and the like. When the state of the client used by the client personnel changes, other customer service personnel need to be notified in time. At present, in an online customer service system, the following method is generally adopted to send status information of a client: 1) and (2) carrying out timed polling, namely periodically detecting the state of the client used by the customer service personnel belonging to the same customer service group, and 2) triggering an event, namely actively pushing the changed state of the client to the client used by the customer service personnel in the broadcast list when the state of the client used by the customer service personnel is changed.
However, when the state information of the client is pushed in the above manner, on one hand, no matter whether the state of the client used by the customer service staff changes, detection is required, and the system overhead is increased. On the other hand, when the state of the client used by the customer service staff changes frequently, the system overhead is increased sharply because the changed state information needs to be transmitted to the clients used by the customer staff in all the broadcast lists.
Disclosure of Invention
The application provides a method and a device for updating the client state online in real time, which are used for solving the technical problems existing in the background technology part.
In a first aspect, the present application provides a method for updating a client status online in real time, including: receiving broadcast information transmitted by other clients belonging to the same client group as a client used by a user, wherein the broadcast information comprises: client identifiers and state information of other clients; determining a first identification list or a second identification list to which the client identifications of other clients belong, wherein the first identification list comprises: the client identifiers of other clients displayed when logging in the client used by the user, wherein the second identifier list comprises: client identifiers except the displayed client identifiers of other clients in the client identifiers of other clients; when the client identifications of other clients belong to the first identification list, sending the state information to the client used by the user; and when the client identifications of other clients belong to the second identification list, sending the state information to the client used by the user in an asynchronous mode.
In a second aspect, the present application provides an apparatus for updating a client status online in real time, the apparatus comprising: a receiving unit configured to receive broadcast information transmitted by other clients belonging to the same client group as a client used by a user, the broadcast information including: client identifiers and state information of other clients; a determining unit, configured to determine a first identifier list or a second identifier list to which the client identifier of the other client belongs, where the first identifier list includes: the client identifiers of other clients displayed when logging in the client used by the user, wherein the second identifier list comprises: client identifiers except the displayed client identifiers of other clients in the client identifiers of other clients; the sending unit is configured to send the state information to the client used by the user when the client identifications of other clients belong to the first identification list; and when the client identifications of other clients belong to the second identification list, sending the state information to the client used by the user in an asynchronous mode.
According to the method and the device for updating the client state on line in real time, broadcast information sent by other clients belonging to the same client group as the client used by a user is received; determining a first identification list or a second identification list to which client identifications of other clients belong; when the client identifications of other clients belong to the first identification list, sending the state information to the client used by the user; and when the client identifications of other clients belong to the second identification list, sending the state information to the client used by the user in an asynchronous mode. The real-time updating of the state of other clients currently shown on the client used by the user is realized, and the system load is reduced.
Drawings
Other features, objects and advantages of the present application will become more apparent upon reading of the following detailed description of non-limiting embodiments thereof, made with reference to the accompanying drawings in which:
FIG. 1 is an exemplary system architecture diagram in which the present application may be applied;
FIG. 2 illustrates a flow diagram of one embodiment of a method for online real-time update of client state according to the present application;
FIG. 3 illustrates an exemplary schematic diagram of updating client state in the present application;
FIG. 4 illustrates another exemplary schematic diagram of updating client state in the present application;
FIG. 5 illustrates a schematic structural diagram of one embodiment of an apparatus for online real-time client state update according to the present application;
fig. 6 is a schematic structural diagram of a computer system suitable for implementing the terminal device or the server according to the embodiment of the present application.
Detailed Description
The present application will be described in further detail with reference to the following drawings and examples. It is to be understood that the specific embodiments described herein are merely illustrative of the relevant invention and not restrictive of the invention. It should be noted that, for convenience of description, only the portions related to the related invention are shown in the drawings.
It should be noted that the embodiments and features of the embodiments in the present application may be combined with each other without conflict. The present application will be described in detail below with reference to the embodiments with reference to the attached drawings.
FIG. 1 illustrates anexemplary system architecture 100 to which embodiments of the online real-time update client state method or apparatus of the present application may be applied.
As shown in fig. 1, thesystem architecture 100 may includeterminal devices 101, 102, 103, anetwork 104, and aserver 105. Thenetwork 104 is used to provide the medium of transmission links between theterminal devices 101, 102, 103 and theserver 105. Network 104 may include various connection types, such as wired, wireless transmission links, or fiber optic cables, among others.
The user may use theterminal devices 101, 102, 103 to interact with theserver 105 via thenetwork 104 to receive or send messages or the like. Various communication applications, such as an instant communication application, a browser application, a search application, a word processing application, etc., may be installed on theterminal devices 101, 102, 103.
Theterminal devices 101, 102, 103 may be various electronic devices having a display screen and supporting network communication, including but not limited to smart phones, tablet computers, electronic book readers, MP3 players (Moving Picture Experts Group Audio Layer III, mpeg compression standard Audio Layer 3), MP4 players (Moving Picture Experts Group Audio Layer IV, mpeg compression standard Audio Layer 4), laptop portable computers, desktop computers, and the like.
Theserver 105 may detect the status of the instant messaging application on theterminal device 101, 102, 103, and update the status of the instant messaging application displayed on the other terminal when detecting that the status of the instant messaging application on the terminal device changes.
It should be understood that the number of terminal devices, networks, and servers in fig. 1 is merely illustrative. There may be any number of terminal devices, networks, and servers, as desired for implementation.
Referring to FIG. 2, a flow diagram 200 illustrating one embodiment of a method for online real-time update of client state according to the present application is shown. It should be noted that the method for updating the client status online in real time provided by the embodiment of the present application is generally performed by theserver 105 in fig. 1, and accordingly, the apparatus for updating the client status online in real time is generally disposed in theserver 105. The method comprises the following steps:
step 201, receiving broadcast information sent by other clients belonging to the same client group as the client used by the user.
In this embodiment, an electronic device (for example, theserver 105 shown in fig. 1) on which the method for updating the client status online in real time operates may receive broadcast information from a client with which a user performs instant messaging through a wired connection manner or a wireless connection manner. Wherein the broadcast information includes: client identifiers of other clients and state information corresponding to the changed states of the other clients. In this embodiment, the user may be a customer service person, and the client may be a client used by the customer service person. In this embodiment, the state of the client may include, but is not limited to: online, busy, away. When the state of the client used by the user changes, a broadcast message can be sent out to inform other clients that the state changes.
In this embodiment, the clients may be grouped in advance, and when a user logs in any one of the clients in the client group, the state of the other clients can be seen. In order to enable the states of the clients displayed on the other clients to be updated when any one of the clients belonging to the same client group changes, broadcast information sent by the other clients belonging to the same client group as the client used by the user can be received when the states of the clients in the client group change.
Taking the example that the client group comprises the client a, the client B and the client C, and the client used by the customer service staff is the client a, the client identifiers of the client B and the client C can be displayed on the client a. When the state of any one of the client a, the client B and the client C changes, the broadcast information sent by the client with the changed state can be received.
Step 202, determining a first identification list or a second identification list to which the client identifications of other clients belong.
In this embodiment, the first identifier list includes: when logging in the client used by the user, the displayed client identifiers of other clients, wherein the second identifier list comprises: and the client identifications of the other clients except the client identifications of the other clients are shown.
In some optional implementations of this embodiment, the method further includes: and pre-configuring a first identification list corresponding to each client group.
In this embodiment, the client identifiers of other clients belonging to the same client group as the client used by the user may be displayed on the client used by the user. The first identifier list corresponding to each client group may be configured in advance, for example, a preset number of client identifiers are selected from the client identifiers of the clients in the client group to form the first identifier list. Thus, when the user logs in the client, the client identifications in the first identification list can be revealed.
In this embodiment, in addition to the client identifiers with the preset number in the first identifier list, identifiers of other clients that belong to the same client as the client used by the user may form a second identifier list. The presentation may be performed by an operation, such as a sliding operation, on an interface displaying the client identifier. For example, the user may reveal the client identifiers in the second list of identifiers by sliding down on an interface displaying the client identifiers.
Taking an example that one client group includes a client a, a client B, a client C, a client D, a client E, and a client F, the identifiers of the client D and the client E may be set in the first identifier list, and when any one of the client a, the client B, the client C, the client D, the client E, and the client F logs in, the client identifiers of the client D and the client E may be displayed on the client used by the user. And the client identifications of the client A, the client B, the client C and the client F are in the second identification list.
In some optional implementations of this embodiment, before receiving broadcast information sent by other clients belonging to the same client group as the client used by the user, the method further includes: and in response to the detection of the login operation of the user on the client used by the user, adding the client identifications of the client used by the user into the broadcast lists corresponding to other clients respectively.
In this embodiment, before receiving broadcast information sent by other clients belonging to the same client group as the client used by the user, in response to detecting that the user logs in to the client used by the user, client identifiers of the clients used by the user may be respectively added to broadcast lists corresponding to other clients belonging to the same client group as the client used by the user. Therefore, when the state of any one of other clients belonging to the same client group as the client used by the user changes, the changed client can find out the client identifier of the client used by the user according to the broadcast list, and then can send a broadcast message to the client used by the user so as to update the state of the changed client on the client used by the user.
Step 203, based on the identifier list to which the client identifiers of other clients belong, sending the state information to the client used by the user.
In this embodiment, when other client identifiers belonging to the same client group as the client used by the user are in the first identifier list, that is, when the other client identifiers are the clients used by the user during login, the client identifier that is initially displayed is sent to the client used by the user, that is, the state of the other client is updated on the client used by the user in a synchronous manner. When other clients belonging to the same client group as the client used by the user are identified in the second identification list, the state information is sent to the client used by the user in an asynchronous manner, that is, the states of the other clients are updated on the client used by the user in an asynchronous manner.
Taking the example that the client group includes a client a, a client B, a client C, a client D, a client E, and a client F, the client used by the user may be any one of the clients in the client group. The client identifiers of the client C and the client D may be set in the first identifier list, and when any one client in the client group logs in, the client identifiers of the client C and the client D may be displayed on the client used by the user. And the client identifications of the client A, the client B, the client E and the client F are in the second identification list.
Assuming that the client used by the user is the client a, when the received broadcast information is a broadcast message sent by a client corresponding to the client identifier in the first identifier list, for example, a broadcast message sent by the client C when the state changes, the broadcast message is sent to the client a, and the state of the client C is updated on the client used by the user in a synchronous manner. When the received broadcast information is broadcast information sent by a client corresponding to the identifier in the second identifier list, for example, a broadcast message sent by the client B when the state changes, the broadcast message is sent to the client a in an asynchronous manner, that is, the state of the client B is updated on the client a in an asynchronous manner.
Referring to fig. 3, an exemplary schematic diagram of updating client state in the present application is shown.
Taking the example that the user logs in one of the clients a in one client group, the server may obtain the states of the other clients in the client group in response to detecting that the user logs in the client a, and update the broadcast lists of the other clients in the client group, that is, add the client identifier of the client a to the broadcast lists of the other clients in the client group. When the state of the client of the corresponding client identifier in the first identifier list changes, the server may send the state information of the changed client to the client a in a synchronous manner. When the state of the client of the corresponding client identifier in the second identifier list changes, the server may send the state information of the changed client to the client a in an asynchronous manner.
In some optional implementations of this embodiment, the method further includes: in response to receiving a display request, acquiring a third identification list and a fourth identification list corresponding to other client groups, wherein the display request is generated based on a preset operation on the client used by a user on the identifications of the other client groups, and the third identification list comprises: the fourth identification list includes client identifiers of the clients of the other client groups, which are displayed when the clients of the other client groups log in, and the fourth identification list includes: the client identifications of the clients of the other client groups are shown; the third list of identities is sent to the clients used by the user, and the fourth list of identities is sent to the clients used by the user in an asynchronous manner.
In some optional implementations of this embodiment, the method further includes: and adding the client identification of the client used by the user into the broadcast list corresponding to the clients of other client groups.
In this embodiment, a preset operation, such as a click operation, on the client used by the user on the identifiers of the other client groups may also be detected, and when the click operation on the identifiers of the other client groups on the client used by the user is detected, the third identifier list and the fourth identifier list corresponding to the other client groups are obtained.
Taking the example that other client groups belonging to the same client group as the client used by the user include client G, client H, client I, client J, client K, and client L, in the client group, the client identifiers of client I and client J may be set in the third identifier list, and when any one client in the client group logs in, the client identifiers of client H and client I may be displayed on the client used by the user. And the identifications of the client G, the client H, the client K and the client L are in a fourth identification list.
In this embodiment, when a click operation on the identifiers of the other client groups on the client used by the user is detected, the third identifier list may be sent to the client used by the user, that is, the client identifiers of the other clients in the third identifier list are sent to the client used by the user in a synchronous manner, so that the client identifiers of the other clients in the third identifier list are displayed on the client used by the user. When a click operation on the identifiers of other client groups on the client used by the user is detected, the fourth identifier list can be sent to the client used by the user in an asynchronous manner, so that the client identifiers of other clients in the fourth identifier list are displayed on the client used by the user.
Referring to fig. 4, another exemplary schematic diagram of updating client state in the present application is shown.
Taking the client used by the user as one of the clients a in one client group as an example, the identifiers of other client groups can be simultaneously shown on the client a. When the user performs a preset operation, for example, a click operation, on the client a on the identifier of the other client group, the server may receive the display request sent by the client a, and the server may update the broadcast list of the clients in the other client group, that is, add the client identifier of the client a to the broadcast list of the clients in the other client group. Meanwhile, the states of the clients in the other clients in the third identifier list may be obtained in a synchronous manner, and the states of the clients in the other clients in the fourth identifier list may be obtained in an asynchronous manner.
Referring to fig. 5, as an implementation of the method shown in the above diagrams, the present application provides an embodiment of an apparatus for updating a client status online in real time, where the embodiment of the apparatus corresponds to the embodiment of the method shown in fig. 2, and the apparatus may be applied to various electronic devices.
As shown in fig. 5, theapparatus 500 for updating the client status online in real time according to the present embodiment includes: receivingsection 501, determiningsection 502, and transmittingsection 503. The receivingunit 501 is configured to receive broadcast information sent by other clients belonging to the same client group as a client used by a user, where the broadcast information includes: client identifiers and state information of other clients; the determiningunit 502 is configured to determine a first identifier list or a second identifier list to which the client identifiers of the other clients belong, where the first identifier list includes: the client identifiers of other clients displayed when logging in the client used by the user, wherein the second identifier list comprises: client identifiers except the displayed client identifiers of other clients in the client identifiers of other clients; the sendingunit 503 is configured to send the state information to the client used by the user when the client identifier of the other client belongs to the first identifier list; and when the client identifications of other clients belong to the second identification list, sending the state information to the client used by the user in an asynchronous mode.
In some optional implementations of this embodiment, theapparatus 500 for online real-time updating of the client status further includes: and a first response unit (not shown) configured to add the client identifiers of the clients used by the user to the broadcast lists corresponding to the other clients respectively in response to detecting the login operation of the user on the client used by the user before receiving the broadcast information sent by the other clients belonging to the same client group as the client used by the user.
In some optional implementations of this embodiment, theapparatus 500 for online real-time updating of the client status further includes: a second response unit (not shown), configured to, in response to receiving a presentation request, obtain a third identification list and a fourth identification list corresponding to the other client group, where the presentation request is generated based on a preset operation on the client used by the user on the identification of the other client group, and the third identification list includes: the fourth identifier list includes client identifiers of the clients of the other client groups, which are displayed when the client in the other client group logs in, and the fourth identifier list includes: the client identifications of the clients of the other client groups are shown; an identity transmitting unit (not shown) configured to transmit the third identity list to the client used by the user, and to transmit the fourth identity list to the client used by the user in an asynchronous manner.
In some optional implementations of this embodiment, theapparatus 500 for online real-time updating of the client status further includes: and an adding unit (not shown) configured to add the client identifier of the client used by the user into the broadcast list corresponding to the clients of the other client group.
In some optional implementations of this embodiment, theapparatus 500 for online real-time updating of the client status further includes: and a configuration unit (not shown) configured to pre-configure the first identifier list corresponding to each client group.
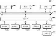
Fig. 6 shows a schematic structural diagram of a computer system suitable for implementing the terminal device or the server according to the embodiment of the present application.
As shown in fig. 6, thecomputer system 600 includes a Central Processing Unit (CPU)601 that can perform various appropriate actions and processes according to a program stored in a Read Only Memory (ROM)602 or a program loaded from astorage section 608 into a Random Access Memory (RAM) 603. In theRAM 603, various programs and data necessary for the operation of thesystem 600 are also stored. TheCPU 601,ROM 602, andRAM 603 are connected to each other via abus 604. An input/output (I/O)interface 605 is also connected tobus 604.
The following components are connected to the I/O interface 605: an input portion 606 including a keyboard, a mouse, and the like; anoutput portion 607 including a display such as a Cathode Ray Tube (CRT), a Liquid Crystal Display (LCD), and the like, and a speaker; astorage section 608 including a hard disk and the like; and acommunication section 609 including a network interface card such as a LAN card, a modem, or the like. Thecommunication section 609 performs communication processing via a network such as the internet. Thedriver 610 is also connected to the I/O interface 605 as needed. Aremovable medium 611 such as a magnetic disk, an optical disk, a magneto-optical disk, a semiconductor memory, or the like is mounted on thedrive 610 as necessary, so that a computer program read out therefrom is mounted in thestorage section 608 as necessary.
In particular, according to an embodiment of the present disclosure, the processes described above with reference to the flowcharts may be implemented as computer software programs. For example, embodiments of the present disclosure include a computer program product comprising a computer program tangibly embodied on a machine-readable medium, the computer program comprising program code for performing the method illustrated in the flow chart. In such an embodiment, the computer program may be downloaded and installed from a network through thecommunication section 609, and/or installed from theremovable medium 611.
The flowchart and block diagrams in the figures illustrate the architecture, functionality, and operation of possible implementations of systems, methods and computer program products according to various embodiments of the present application. In this regard, each block in the flowchart or block diagrams may represent a module, segment, or portion of code, which comprises one or more executable instructions for implementing the specified logical function(s). It should also be noted that, in some alternative implementations, the functions noted in the block may occur out of the order noted in the figures. For example, two blocks shown in succession may, in fact, be executed substantially concurrently, or the blocks may sometimes be executed in the reverse order, depending upon the functionality involved. It will also be noted that each block of the block diagrams and/or flowchart illustration, and combinations of blocks in the block diagrams and/or flowchart illustration, can be implemented by special purpose hardware-based systems which perform the specified functions or acts, or combinations of special purpose hardware and computer instructions.
As another aspect, the present application also provides a non-volatile computer storage medium, which may be the non-volatile computer storage medium included in the apparatus in the above-described embodiments; or it may be a non-volatile computer storage medium that exists separately and is not incorporated into the terminal. The non-transitory computer storage medium stores one or more programs that, when executed by a device, cause the device to: receiving broadcast information sent by other clients belonging to the same client group as a client used by a user, wherein the broadcast information comprises: client identifiers and state information of other clients; determining a first identification list or a second identification list to which client identifications of other clients belong, wherein the first identification list comprises: the client identifiers of other clients displayed when logging in the client used by the user, wherein the second identifier list comprises: the client identifications of other clients except the displayed client identifications of other clients are included in the client identifications of other clients; when the client identifications of the other clients belong to a first identification list, the state information is sent to the client used by the user; and when the client identifications of other clients belong to the second identification list, sending the state information to the client used by the user in an asynchronous mode.
The above description is only a preferred embodiment of the application and is illustrative of the principles of the technology employed. It will be appreciated by a person skilled in the art that the scope of the invention as referred to in the present application is not limited to the embodiments with a specific combination of the above-mentioned features, but also covers other embodiments with any combination of the above-mentioned features or their equivalents without departing from the inventive concept. For example, the above features may be replaced with (but not limited to) features having similar functions disclosed in the present application.

Claims (12)

CN201610133683.7A2016-03-092016-03-09Method and device for updating client state on line in real timeActiveCN107181772B (en)

Priority Applications (1)

Application NumberPriority DateFiling DateTitle
CN201610133683.7ACN107181772B (en)2016-03-092016-03-09Method and device for updating client state on line in real time

Applications Claiming Priority (1)

Application NumberPriority DateFiling DateTitle
CN201610133683.7ACN107181772B (en)2016-03-092016-03-09Method and device for updating client state on line in real time

Publications (2)

Publication NumberPublication Date
CN107181772A CN107181772A (en)2017-09-19
CN107181772Btrue CN107181772B (en)2021-08-10

Family

ID=59829729

Family Applications (1)

Application NumberTitlePriority DateFiling Date
CN201610133683.7AActiveCN107181772B (en)2016-03-092016-03-09Method and device for updating client state on line in real time

Country Status (1)

CountryLink
CN (1)CN107181772B (en)

Families Citing this family (1)

* Cited by examiner, † Cited by third party
Publication numberPriority datePublication dateAssigneeTitle
CN107612646B (en)*2017-10-312019-05-31携程计算机技术(上海)有限公司The emergency broadcase system and method for online customer service

Citations (4)

* Cited by examiner, † Cited by third party
Publication numberPriority datePublication dateAssigneeTitle
US6677968B1 (en)*1997-02-242004-01-13America Online, Inc.User definable on-line co-user lists
CN101119329A (en)*2007-09-192008-02-06北京亿企通信息技术有限公司Method to display fellow on-line state in instant communication instrument
CN102368747A (en)*2011-09-112012-03-07上海量明科技发展有限公司Method for providing online information in instant messaging and system thereof
CN102394924A (en)*2011-10-282012-03-28上海汉翔信息技术有限公司System and method for achieving contacted person list state management based on mobile communication terminal device

Family Cites Families (1)

* Cited by examiner, † Cited by third party
Publication numberPriority datePublication dateAssigneeTitle
CN102571618B (en)*2010-12-072015-08-05腾讯科技(深圳)有限公司A kind of method and apparatus of instant messaging

Patent Citations (4)

* Cited by examiner, † Cited by third party
Publication numberPriority datePublication dateAssigneeTitle
US6677968B1 (en)*1997-02-242004-01-13America Online, Inc.User definable on-line co-user lists
CN101119329A (en)*2007-09-192008-02-06北京亿企通信息技术有限公司Method to display fellow on-line state in instant communication instrument
CN102368747A (en)*2011-09-112012-03-07上海量明科技发展有限公司Method for providing online information in instant messaging and system thereof
CN102394924A (en)*2011-10-282012-03-28上海汉翔信息技术有限公司System and method for achieving contacted person list state management based on mobile communication terminal device

Also Published As

Publication numberPublication date
CN107181772A (en)2017-09-19

Similar Documents

PublicationPublication DateTitle
CN105787077B (en)Data synchronization method and device
CN107622135B (en)Method and apparatus for displaying information
US11038975B2 (en)Information pushing method and device
CN107731229B (en)Method and apparatus for recognizing speech
US10860280B2 (en)Display method and device
CN112306340B (en)Information display method, information transmission device, electronic equipment and medium
JP2017501497A (en) Method and apparatus for pushing target information
CN112311656B (en)Message aggregation and display method and device, electronic equipment and computer readable medium
US11244153B2 (en)Method and apparatus for processing information
CN113568699A (en)Content display method, device, equipment and storage medium
CN112838980A (en)Message processing method, system, device, electronic equipment and storage medium
WO2020078050A1 (en)Comment information processing method and apparatus, and server, terminal and readable medium
CN109413056B (en)Method and apparatus for processing information
CN110798495B (en)Method and server for end-to-end message push in cluster architecture mode
CN108549586B (en)Information processing method and device
CN113127561B (en)Method and device for generating service single number, electronic equipment and storage medium
CN107181772B (en)Method and device for updating client state on line in real time
CN110708238B (en)Method and apparatus for processing information
CN106933449B (en)Icon processing method and device
CN111143740B (en)Information processing method and device and electronic equipment
CN112468849B (en)Method, apparatus, electronic device and medium for video information transmission
CN116775977A (en)Information query method, device, equipment and storage medium
CN106778353B (en)Method and apparatus for saving messages
CN112752323A (en)Method and device for changing hotspot access state
CN113612676B (en)Social group message synchronization method, device, equipment and storage medium

Legal Events

DateCodeTitleDescription
PB01Publication
PB01Publication
SE01Entry into force of request for substantive examination
SE01Entry into force of request for substantive examination
GR01Patent grant
GR01Patent grant
TG01Patent term adjustment
TG01Patent term adjustment

[8]ページ先頭

©2009-2025 Movatter.jp