Movatterモバイル変換


[0]ホーム

URL:


CN107137803B - High-pressure injector needle cylinder rotation fixing device with plunger limiting function and method - Google Patents

High-pressure injector needle cylinder rotation fixing device with plunger limiting function and method
Download PDF

Info

Publication number
CN107137803B
CN107137803BCN201710412079.2ACN201710412079ACN107137803BCN 107137803 BCN107137803 BCN 107137803BCN 201710412079 ACN201710412079 ACN 201710412079ACN 107137803 BCN107137803 BCN 107137803B
Authority
CN
China
Prior art keywords
cover plate
syringe
needle cylinder
flange
protective sleeve
Prior art date
Legal status (The legal status is an assumption and is not a legal conclusion. Google has not performed a legal analysis and makes no representation as to the accuracy of the status listed.)
Active
Application number
CN201710412079.2A
Other languages
Chinese (zh)
Other versions
CN107137803A (en
Inventor
张小元
李燕
Current Assignee (The listed assignees may be inaccurate. Google has not performed a legal analysis and makes no representation or warranty as to the accuracy of the list.)
Nanjing Jusha Display Technology Co Ltd
Nanjing Jusha Medical Technology Co Ltd
Original Assignee
Nanjing Jusha Display Technology Co Ltd
Nanjing Jusha Medical Technology Co Ltd
Priority date (The priority date is an assumption and is not a legal conclusion. Google has not performed a legal analysis and makes no representation as to the accuracy of the date listed.)
Filing date
Publication date
Application filed by Nanjing Jusha Display Technology Co Ltd, Nanjing Jusha Medical Technology Co LtdfiledCriticalNanjing Jusha Display Technology Co Ltd
Priority to CN201710412079.2ApriorityCriticalpatent/CN107137803B/en
Publication of CN107137803ApublicationCriticalpatent/CN107137803A/en
Application grantedgrantedCritical
Publication of CN107137803BpublicationCriticalpatent/CN107137803B/en
Activelegal-statusCriticalCurrent
Anticipated expirationlegal-statusCritical

Links

Images

Classifications

Landscapes

Abstract

The invention discloses a high-pressure injector needle cylinder rotation fixing device with plunger limiting and a method, wherein the device comprises the following components: the syringe protective sleeve is sleeved on the outer side of the high-pressure syringe and the syringe seat is fixedly matched with one end of the syringe protective sleeve, wherein the syringe seat is provided with a plurality of elastic plunger pieces located in the radial direction of the syringe protective sleeve, and the syringe protective sleeve is provided with an annular groove matched with the elastic plunger pieces. The invention has simple and convenient operation, is not easy to generate misoperation when the needle cylinder is replaced, and can take out the needle cylinder or put the needle cylinder into the needle cylinder protective sleeve without pulling down the needle tube.

Description

High-pressure injector needle cylinder rotation fixing device with plunger limiting function and method
Technical Field
The invention relates to a high-pressure injector needle cylinder rotation fixing device with plunger limiting function and a method.
Background
High pressure syringes are one of the devices often used in medical equipment for injecting liquids such as contrast media, saline, and the like into the body to enhance the effectiveness of medical imaging such as X-ray or electromagnetic imaging. Which is operated by a nurse to administer the contrast media injection to the patient. The general process comprises the steps of installing and fixing the syringe, setting injection parameters, injecting, disassembling the syringe and the like. The replacement of the syringe of the high-pressure injector on the existing market has the following actions:
step1, taking down the syringe protective sleeve and the syringe integrally
Step2, separating the needle tube from the needle cylinder
Step3, replacing the new syringe and reinserting the new syringe into the syringe protective sleeve
Step4, connecting the needle tube with a new needle cylinder
Step5: the needle cylinder protective sleeve and the needle cylinder are integrally installed back to the high-pressure injector head, the needle cylinder is limited through the front end of the needle cylinder protective sleeve, and the needle cylinder is fixed through the fixed needle cylinder protective sleeve.
And most reach in the high pressure syringe product that injection pressure is greater than 1000PSI on the market, its cylinder fixed mode is mostly the cylinder and arranges the cylinder in the cylinder protective sheath, the cylinder inserts from the protective sheath rear portion, accomplish the assembly after whole installation again to high pressure syringe needle cylinder seat on, this kind of structure has directly leaded to the nurse when changing the cylinder, must take out the cylinder from cylinder protective sheath rear portion earlier, change the cylinder again, this action inevitable needs pull out the needle tubing, thereby caused the secondary pollution of external environment to the cylinder.
Disclosure of Invention
In view of the above, an object of the present invention is to provide a high-pressure syringe needle cylinder rotation fixing device with plunger limiting, which is simple and convenient to operate, is not prone to misoperation during replacement of a needle cylinder, and can be taken out or put into a needle cylinder protective sleeve without pulling out a needle tube.
According to the purpose of the invention, the following technical scheme is provided: the utility model provides a rotatory fixing device of high pressure syringe cylinder with plunger is spacing, its includes that the cover establishes the cylinder protective sheath in the high pressure syringe cylinder outside and with the fixed complex syringe seat of cylinder protective sheath one end, wherein the syringe seat is provided with a plurality of elasticity plunger pieces that are located cylinder protective sheath radial direction, and the cylinder protective sheath then be provided with elasticity plunger piece complex annular groove.
The technical scheme further comprises the following auxiliary technical scheme on the basis of the technical scheme:
the high-pressure injector further comprises a first cover plate which is used for fixing the rear end of the high-pressure injector needle cylinder, is abutted against and contacted with the needle cylinder seat and is fixed with the needle cylinder protective sleeve, and a flooding plug valve which is positioned between the needle cylinder seat and the first cover plate and is attached to the needle cylinder protective sleeve.
The high-pressure injector is characterized by further comprising a second cover plate for fixing the front end of the high-pressure injector needle cylinder and a flange cover plate sleeved on the outer side of the second cover plate, wherein the flange cover plate is provided with a notch, and the front end of the needle cylinder is provided with a flange matched with the notch.
And the columnar piece is arranged on the flange cover plate and can be correspondingly inserted into the limiting hole in the second cover plate, and the moving direction of the columnar piece is mutually parallel to the central axial direction of the second cover plate and the flange cover plate.
The second cover plate comprises a cover plate hole, a pair of rib plates oppositely arranged at the edge of the cover plate hole, and rotation stopping convex blocks arranged on the corresponding rib plates.
Still including preventing that the direct friction of flange apron and second apron from causing metal damage and being located the friction ring between flange apron and the second apron.
The flange cover plate, the first cover plate and the second cover plate are made of metal materials, and the friction ring is made of wear-resistant materials.
According to the purpose of the invention, another technical scheme is provided: a high pressure injector syringe rotational fixation device with plunger limiting, comprising: the cover is established at the cylinder protective sheath in the high pressure syringe cylinder outside, with cylinder protective sheath one end fixed coordination's syringe seat, with syringe seat fixed coordination and with the fixed first apron of cylinder protective sheath, fixed high pressure syringe cylinder front end and have spacing hole the second apron, the cover establish the flange apron in the second apron outside and install on the flange apron and can correspond the column piece that inserts spacing hole in the second apron, wherein the syringe seat is provided with a plurality of elastic column plug parts that are located cylinder protective sheath radial direction, and the cylinder protective sheath then be provided with elastic plunger spare complex annular groove.
According to the purpose of the invention, another technical scheme is provided: a method of rotationally securing a high pressure syringe barrel with a plunger stop, comprising:
step1: inserting the needle cylinder protective sleeve into the needle cylinder seat, wherein a plurality of elastic plunger pieces are arranged on the needle cylinder seat, and after the needle cylinder protective sleeve is completely inserted into the needle cylinder seat, steel balls at the front end of the elastic plunger pieces can slide into an annular groove of the needle cylinder protective sleeve to form primary fixation;
step2: then the general plug valve at the inner hole of the first cover plate is attached to the needle cylinder protective sleeve through deformation to form secondary fixation;
step3: inserting the high-pressure syringe needle cylinder into the needle cylinder protective sleeve and simultaneously ensuring that the flange direction of the high-pressure syringe needle cylinder faces to the right upper side and is aligned with the mark on the needle cylinder protective sleeve;
step4: turning over the flange cover plate, wherein the notch of the flange cover plate is fit with the flange at the moment, and the flange cover plate and the high-pressure injector needle cylinder rotate simultaneously at the moment;
step5: the flange cover plate is rotated clockwise, after the flange cover plate is rotated by 90 degrees, the columnar head of the columnar piece arranged on the flange cover plate enters the limiting hole of the second cover plate, and theflange cover plate 8 can only rotate clockwise by 90 degrees on thesecond cover plate 7 until the end.
Therefore, the invention has the following characteristics:
the operation is simple and convenient, the error operation is not easy to occur when the needle cylinder is replaced, and the needle cylinder can be taken out or put into the needle cylinder protective sleeve without pulling the needle tube.
Drawings
In order to more clearly illustrate the embodiments of the present invention or the technical solutions in the prior art, the drawings used in the description of the embodiments or the prior art will be briefly described below, it is obvious that the drawings in the following description are only some embodiments of the present invention, and for those skilled in the art, other drawings can be obtained according to the drawings without creative efforts.
FIG. 1 is an assembled view of a syringe jacket, syringe mount, and elastomeric plunger assembly of the present invention.
Fig. 2 is a sectional view of fig. 1.
Fig. 3 is a schematic cross-sectional view of the present invention.
Fig. 4 is a side view of fig. 3 and in an initial state.
FIG. 5 is a side view similar to FIG. 4, rotated 90 degrees.
Fig. 6 is a sectional view of the second cover plate and the flange cover plate assembled in the present invention.
Fig. 7 is a structural view of a second cover plate in the present invention.
Fig. 8 is a perspective view of the present invention from a first perspective.
Fig. 9 is a perspective view of the present invention from a second perspective.
Fig. 10 is a cross-sectional view of the present invention with the syringe withdrawn.
Fig. 11 is another cross-sectional view of the present invention to reveal the relationship between the second cover plate and the flange cover plate.
Detailed Description
The technical solution of the present invention will be clearly and completely described by the following detailed description. It is to be understood that the described embodiments are merely exemplary of the invention, and not restrictive of the full scope of the invention. All other embodiments, which can be derived by a person skilled in the art from the embodiments given herein without making any creative effort, shall fall within the protection scope of the present invention.
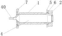
As shown in fig. 1-11, the present invention provides an embodiment of a high-pressure syringe needle cylinder rotation fixing device with plunger position limitation, which includes a needlecylinder protecting sleeve 1 that is sleeved outside a high-pressuresyringe needle cylinder 4 and is in abutting contact with the rear end of the high-pressuresyringe needle cylinder 4, aneedle cylinder seat 2 that is fixedly matched with one end of the needlecylinder protecting sleeve 1 and is in abutting contact with the needlecylinder protecting sleeve 1, afirst cover plate 5 that is fixedly matched with theneedle cylinder seat 2 and is fixed with the needlecylinder protecting sleeve 1, aflooding valve 6 that is located between theneedle cylinder seat 2 and thefirst cover plate 5 and is attached to the needlecylinder protecting sleeve 1, asecond cover plate 7 that fixes the front end of the high-pressuresyringe needle cylinder 4, aflange cover plate 8 that is sleeved outside thesecond cover plate 7, and a column-shaped member 9 that is installed on theflange cover plate 8 and can be inserted into aposition limiting hole 76 in thesecond cover plate 7 correspondingly. Thefirst cover plate 5 and thesecond cover plate 7 are DSA circular cover plates.
The syringeprotective sleeve 1 is used for preventing the high-pressure syringe 4 under high pressure from bursting, is roughly cylindrical, and the tail end of the syringe protective sleeve is provided with an inclined part, and thesyringe seat 2 is used for installing aspring plunger piece 3 and fixing the syringeprotective sleeve 1 and is connected with the back vertical keel.
Thesyringe mount 2 is provided with a plurality ofelastic plunger elements 3 in the radial direction of the syringeprotective sheath 1, and the syringeprotective sheath 1 is provided with anannular groove 10 cooperating with theelastic plunger elements 3. Theelastic plunger member 3 includes a plunger head, and a spring in abutting contact with one end of the plunger head. Thecolumn 9 includes a column head, and a spring in abutting contact with one end of the column head. The plunger head or cylinder head is preferably a steel ball.
Theflange cover plate 8 is provided with aflange hole 80 at the center, anotch 82 at one end communicating with theflange hole 80 and extending radially, and a pair ofside edges 84 at the other end provided with thecolumn member 9, and the front end of the high-pressure syringe 4 is provided with aflange 40 fitting with thenotch 82.
Thesecond cover 7 includes acover hole 70, a pair ofribs 72 disposed at an edge of thecover hole 70 and at one end, arotation stopping protrusion 74 disposed on thecorresponding rib 72 and stopping the movement of theside edge 84, and alimiting hole 76 disposed on therib 72 and corresponding to thepillar 9.
Syringeprotective sheath 1 passes throughfirst apron 5, insertsyringe seat 2 withsecond apron 7, the rake of syringeprotective sheath 1 andgeneral stopper valve 6 contact this moment, syringeprotective sheath 1 is under the effect of elasticity plunger spare 3, can't be separated fromsyringe seat 2 under the condition of no exogenic action,general stopper valve 6 is in the down Cheng Xingbian of exogenic action on the rake inclined plane of syringeprotective sheath 1, thereby makegeneral stopper valve 6 and syringeprotective sheath 1 stroke face contact, accomplish sealed when fixed syringeprotective sheath 1.
Theflange 40 of the high-pressuresyringe needle cylinder 4 keeps the direction upward, after theflange cover plate 8 is closed, thenotch 82 of theflange cover plate 8 is matched with theflange 40 to form a whole, the initial position is as shown in figure 4, then theflange cover plate 8 is rotated clockwise by 90 degrees as shown in figure 5, all the steps of fixing the needle cylinder are completed, at the moment, the high-pressuresyringe needle cylinder 4 and the needle cylinderprotective sleeve 1 are matched with thelimiting step 12 of the needle cylinderprotective sleeve 1 through the tail end of the high-pressuresyringe needle cylinder 4, and the needle cylinderprotective sleeve 1 is abutted and contacted with theneedle cylinder seat 2, so that the fixation is completed. At the same time, in order to prevent erroneous operation, thecolumn member 9 mounted on theflange cover 8 is slid into thestopper hole 76 of thesecond cover 7 and fixed. In order to prevent thecover flange 8 from being rotated too much (i.e. thecover flange 8 is rotated more than 90 °) when thecover flange 8 is rotated, as shown in fig. 7 and 11, thesecond cover 7 also enables thecover flange 8 to be rotated only 90 ° during the rotation process through therotation stopping protrusions 74, thereby ensuring that the over-rotation condition does not occur.
Preferably, the present invention further comprises afriction ring 92 between theflange cover plate 8 and thesecond cover plate 7 for preventing metal damage due to direct friction between theflange cover plate 8 and thesecond cover plate 7. Theflange cover plate 8, thefirst cover plate 5 and thesecond cover plate 7 are all made of metal materials. Thefriction ring 92 is preferably an abrasion resistant material, more preferably a POM plastic material.
Therefore, on the basis of the structure, the invention also comprises a method which is as follows:
step1: the syringeprotective sleeve 1 is inserted into thesyringe seat 2, and fourelastic plunger pieces 3 are arranged on thesyringe seat 2, after the syringeprotective sleeve 1 is inserted into thesyringe seat 2, the front steel balls of theelastic plunger pieces 3 can slide into theannular groove 10 of the syringeprotective sleeve 1, so that the first layer of fixation is formed on the syringeprotective sleeve 1, namely the fixation of theelastic plunger pieces 3.
Step2: syringeprotective sheath 1 end has an rake, installsfirst apron 5 beforesyringe seat 2, and the hole department offirst apron 5 is equipped with one and can be deformedgeneral stopper valve 6, shouldgeneral stopper valve 6 through deformation laminating syringeprotective sheath 1 completely to it is fixed to form the second floor to syringeprotective sheath 1, and it is fixed to general stopper valve deformation promptly, thereby accomplishes the action of fixing syringeprotective sheath 1, notices: this action merely secures thesyringe sheath 1 and facilitates insertion of the highpressure syringe barrel 4.
Step3: the high-pressure syringe cylinder 4 is inserted into the cylinderprotective sleeve 1, and simultaneously, theflange 40 of the high-pressure syringe cylinder 4 is ensured to face to the right upper side and is aligned with the mark on the cylinderprotective sleeve 1, and a foolproof design is arranged at the position, namely, if theflange 40 does not face to the right upper side, theflange cover plate 8 cannot be turned to the right position.
Step4: theflange cover 8 is turned over, therecess 82 of theflange cover 8 now engaging with theflange 40, and theflange cover 8 and the high-pressure injector syringe 4 can now be rotated simultaneously.
Step5: theflange cover plate 8 is rotated clockwise, after theflange cover plate 8 is rotated by 90 degrees, the columnar head of thecolumnar piece 9 enters the limitinghole 76 of thesecond cover plate 7, thecolumnar piece 9 is installed on theflange cover plate 8, and in Step5, thesecond cover plate 7 is provided with therotation stopping lug 74, so that theflange cover plate 8 can only rotate 90 degrees clockwise on thesecond cover plate 7 until the end.
At this time, the high-pressure syringe 4 and the syringeprotective sleeve 1 are completely fixed, and when the high-pressure syringe 4 is subjected to high pressure, the pressure applied to the high-pressure syringe 4 is completely acted on two ears on two sides of theflange cover plate 8 through theflange cover plate 8.
It should be understood that the above-mentioned embodiments are only illustrative of the technical concepts and features of the present invention, and are intended to enable those skilled in the art to understand the contents of the present invention and implement the present invention, and not to limit the scope of the present invention. All equivalent changes or modifications made according to the spirit of the main technical scheme of the invention are covered in the protection scope of the invention.

Claims (5)

CN201710412079.2A2017-06-022017-06-02High-pressure injector needle cylinder rotation fixing device with plunger limiting function and methodActiveCN107137803B (en)

Priority Applications (1)

Application NumberPriority DateFiling DateTitle
CN201710412079.2ACN107137803B (en)2017-06-022017-06-02High-pressure injector needle cylinder rotation fixing device with plunger limiting function and method

Applications Claiming Priority (1)

Application NumberPriority DateFiling DateTitle
CN201710412079.2ACN107137803B (en)2017-06-022017-06-02High-pressure injector needle cylinder rotation fixing device with plunger limiting function and method

Publications (2)

Publication NumberPublication Date
CN107137803A CN107137803A (en)2017-09-08
CN107137803Btrue CN107137803B (en)2023-04-18

Family

ID=59780964

Family Applications (1)

Application NumberTitlePriority DateFiling Date
CN201710412079.2AActiveCN107137803B (en)2017-06-022017-06-02High-pressure injector needle cylinder rotation fixing device with plunger limiting function and method

Country Status (1)

CountryLink
CN (1)CN107137803B (en)

Families Citing this family (2)

* Cited by examiner, † Cited by third party
Publication numberPriority datePublication dateAssigneeTitle
CN111939378A (en)*2019-05-172020-11-17南京感控通化工产品经营部High-pressure injection device and high-pressure injection system
CN110448757A (en)*2019-06-252019-11-15南京感控通化工产品经营部A kind of syringe and injector system loaded with pressure sleeve rotation

Family Cites Families (7)

* Cited by examiner, † Cited by third party
Publication numberPriority datePublication dateAssigneeTitle
US5779675A (en)*1995-08-251998-07-14Medrad, Inc.Front load pressure jacket system with syringe holder
US7549977B2 (en)*2002-12-202009-06-23Medrad, Inc.Front load pressure jacket system with syringe holder and light illumination
US20060106347A1 (en)*2004-11-172006-05-18Liebel-Flarsheim CompanyDisposable front loadable syringe and injector
US20110251481A1 (en)*2009-10-152011-10-13Strobl Geoffrey SPiezoelectrically-Driven Power Injector
AU2014337084B2 (en)*2013-10-182019-06-20Bayer Healthcare LlcMagnetic pressure jacket for fluid injector
CN203647808U (en)*2013-11-222014-06-18华耀星辰(上海)医疗设备有限公司Needle cylinder connecting device for injector
CN207679808U (en)*2017-06-022018-08-03南京感控通化工产品经营部High pressure injector syringe rotary fixing device with plunger limit

Also Published As

Publication numberPublication date
CN107137803A (en)2017-09-08

Similar Documents

PublicationPublication DateTitle
CN104847992B (en)Bayonet coupling for the detachable connection of pipelines
US10022505B2 (en)Safety pen needle
EP1078643A1 (en)Apparatus for administering drugs to a patient
CN107137803B (en)High-pressure injector needle cylinder rotation fixing device with plunger limiting function and method
CN204017006U (en)Adapter, medicament delivery device and comprise adapter and the assembly of adapter
CN105655806A (en)Floating connector and connector assembly using same
CN106299871B (en) A lock ball connector and its connector housing
CN109159552B (en)A kind of seal quick assembling unit for intelligent seal
CN103353000B (en)A kind of relief valve on hydraulic tube
CN106887760A (en)A kind of connector seal closure and connector assembly
US20200041001A1 (en)Jig for press-fitting divided sealing ring
CN207679808U (en)High pressure injector syringe rotary fixing device with plunger limit
CN109140085A (en)One kind fluidly connecting device assembly and its terminative connector
CN104075021B (en)A kind of valve anti-disassembling device and valve
CN207961203U (en)A kind of shell locating pin structure
CN107126601B (en)Detection device for fixing high-pressure injector needle cylinder in place
CN218338779U (en)Split type protection type syringe device
CN205334060U (en)Connecting structure
CN211068471U (en)Disposable syringe with embedded needle
CN205841423U (en)The broken pin assembly that can automatically shrink after pin fracture
CN107812281B (en)Needleless injector, needleless injector medicine tube and piston rod thereof
CN207336822U (en)Optical fiber interface component
CN219847681U (en)Converter capable of avoiding accidental falling of injection needle
CN211723204U (en)Rotary joint and computed tomography apparatus
CN207333916U (en)A kind of limiter of moment for valve

Legal Events

DateCodeTitleDescription
PB01Publication
PB01Publication
SE01Entry into force of request for substantive examination
SE01Entry into force of request for substantive examination
TA01Transfer of patent application right

Effective date of registration:20210319

Address after:210029 Block A, 8th Floor, 301 Hanzhongmen Street, Gulou District, Nanjing City, Jiangsu Province

Applicant after:Nanjing Jusha Display Technology Co.,Ltd.

Applicant after:NANJING JUSHA MEDICAL TECHNOLOGY Co.,Ltd.

Address before:210003 No.5, Hongmiao Lane 1, Fujian Road, Gulou District, Nanjing City, Jiangsu Province

Applicant before:NANJING GANKONGTONG CHEMICAL PRODUCT OPERATION PORTION

TA01Transfer of patent application right
GR01Patent grant
GR01Patent grant

[8]ページ先頭

©2009-2025 Movatter.jp