Movatterモバイル変換


[0]ホーム

URL:


CN106713526B - Positioning terminal, data center management method and management controller - Google Patents

Positioning terminal, data center management method and management controller
Download PDF

Info

Publication number
CN106713526B
CN106713526BCN201710046916.4ACN201710046916ACN106713526BCN 106713526 BCN106713526 BCN 106713526BCN 201710046916 ACN201710046916 ACN 201710046916ACN 106713526 BCN106713526 BCN 106713526B
Authority
CN
China
Prior art keywords
server
mac
positioning
positioning terminal
address
Prior art date
Legal status (The legal status is an assumption and is not a legal conclusion. Google has not performed a legal analysis and makes no representation as to the accuracy of the status listed.)
Active
Application number
CN201710046916.4A
Other languages
Chinese (zh)
Other versions
CN106713526A (en
Inventor
黄树福
Current Assignee (The listed assignees may be inaccurate. Google has not performed a legal analysis and makes no representation or warranty as to the accuracy of the list.)
Lenovo Beijing Ltd
Original Assignee
Lenovo Beijing Ltd
Priority date (The priority date is an assumption and is not a legal conclusion. Google has not performed a legal analysis and makes no representation as to the accuracy of the date listed.)
Filing date
Publication date
Application filed by Lenovo Beijing LtdfiledCriticalLenovo Beijing Ltd
Priority to CN201710046916.4ApriorityCriticalpatent/CN106713526B/en
Publication of CN106713526ApublicationCriticalpatent/CN106713526A/en
Application grantedgrantedCritical
Publication of CN106713526BpublicationCriticalpatent/CN106713526B/en
Activelegal-statusCriticalCurrent
Anticipated expirationlegal-statusCritical

Links

Images

Classifications

Landscapes

Abstract

The application provides a positioning terminal, includes: the positioning module can determine the position of the positioning module; and the MAC chip can be connected with the server to acquire the MAC address of the server. The present application further provides a method for managing servers of a data center, the data center being deployed with at least one server, the at least one server being connected to a data center network, the method comprising, on a management controller of the data center network: scanning a server to obtain an IP address/MAC information pair of the server; acquiring a MAC/position information pair of a server, wherein the MAC/position information pair of the server is acquired by connecting a positioning terminal and the server; and determining an IP address/MAC/position information group of the server according to the IP address/MAC information pair and the MAC/position information pair. The application also provides a management controller of the data center network, which is used for executing the management method aiming at the server.

Description

Positioning terminal, data center management method and management controller
Technical Field
The present application relates generally to a management method of a data center network, and in particular, to a positioning terminal, a data center management method, and a management controller capable of automatically positioning a server.
Background
With the explosion of data services, data centers are often deployed with a large number of servers in order to provide various data services. In the case of a data center with a large number of servers, it is often inconvenient for an administrator to quickly find a specific server.
The existing methods mainly comprise the following steps:
the method comprises the following steps: the specific grouping or code is added manually according to the server position, and then the searching is carried out according to the code of the server. The method is characterized by large coding workload, easy error and relatively difficult maintenance.
The second method comprises the following steps: the position information of the server is added in the baseboard management controller BMC, and the position information of each server is manually set. The method has the defects similar to the method, large setting workload, difficult maintenance, easy error and special support of BMC.
The third method comprises the following steps: and adding a positioning device in the server. The method is costly and cannot be applied to existing production servers.
Therefore, a method capable of automatically determining the location information of the server at low cost is required.
Disclosure of Invention
One aspect of the present application provides a positioning terminal, including: the positioning module can determine the position of the positioning module; and the MAC chip can be connected with the server to acquire the MAC address of the server.
According to the embodiment of the application, the MAC chip acquires the MAC address of the server in a mode of sending MAC broadcast to the server.
Another aspect of the present application provides a method of managing servers for a data center deployed with at least one server connected to a data center network, the method comprising, at a management controller of the data center network: scanning a server to obtain an IP address/MAC information pair of the server; acquiring a MAC/position information pair of a server, wherein the MAC/position information pair of the server is acquired by connecting a positioning terminal and the server; and determining an IP address/MAC/position information group of the server according to the IP address/MAC information pair and the MAC/position information pair.
According to an embodiment of the application, the management method further comprises: the description information of the server is acquired from the server to construct an IP address/MAC/location information/description information table of the server.
According to an embodiment of the application, the MAC/location information pair of the server is obtained by: disconnecting the server from the data center network; connecting the positioning terminal with a server; the positioning terminal acquires the MAC address of the server through communication with the server; the positioning terminal determines the position of the positioning terminal; and the positioning terminal sends the position of the positioning terminal and the obtained MAC address to the management controller as the MAC/position information pair of the server.
According to an embodiment of the present application, the positioning terminal acquiring the MAC address of the server by communicating with the server includes: and the MAC chip of the positioning terminal acquires the MAC address of the server in a mode of sending MAC broadcast to the server.
According to an embodiment of the present application, the sending the location of the positioning terminal and the acquired MAC address includes: and the positioning terminal directly sends the MAC/position information pair of the server to the management controller.
According to an embodiment of the present application, the sending the location of the positioning terminal and the acquired MAC address includes: and the positioning terminal sends the MAC/position information pair of the server to a positioning base station, and the positioning base station forwards the received MAC/position information pair of the server to the management controller.
According to an embodiment of the application, the management controller is any one of the servers.
According to the embodiment of the application, the management controller draws the 3D graph of the server and the server layout of the data center according to the IP address/MAC/position information group of the server and the description information of the server.
According to an embodiment of the present application, obtaining a MAC/location information pair of a server comprises: MAC/position information pairs of the servers are acquired one by one using a single positioning terminal, wherein the positioning terminals are placed at the same position of the servers.
According to an embodiment of the present application, obtaining a MAC/location information pair of a server comprises: each server is connected to a positioning terminal to obtain a MAC/location information pair for each server, wherein the positioning terminals are placed at the same location of each server.
According to the embodiment of the application, the positioning terminal determines the position of the positioning terminal by utilizing one of infrared optical positioning, laser positioning, microwave positioning and millimeter wave positioning.
Another aspect of the present application provides a management controller of a data center network, the data center being deployed with at least one server, the at least one server being connected to the data center network, the management controller comprising: a processor; and a memory storing machine executable instructions that, when executed by the processor, cause the processor to be configured to: scanning the server to obtain an IP address/MAC information pair of the server; acquiring a MAC/position information pair of a server, wherein the MAC/position information pair of the server is acquired by connecting a positioning terminal and the server; and determining an IP address/MAC/position information group of the server according to the IP address/MAC information pair and the MAC/position information pair.
Drawings
For a more complete understanding of the present application and the advantages thereof, reference is now made to the following descriptions taken in conjunction with the accompanying drawings, in which:
fig. 1 schematically shows a simplified schematic of an arrangement of a data center;
fig. 2 schematically shows a schematic view of a positioning terminal according to an embodiment of the application;
FIG. 3 schematically shows a flow chart of a method of managing servers for a data center according to an embodiment of the invention;
FIG. 4 shows a simplified schematic diagram of a data center corresponding to FIG. 1, according to an embodiment of the application; and
fig. 5 schematically shows a block diagram of a management controller for performing the method described with reference to fig. 3 according to an embodiment of the application.
Detailed Description
Other aspects, advantages, and salient features of the application will become apparent to those skilled in the art from the following detailed description of exemplary embodiments of the application, which is to be read in connection with the accompanying drawings.
In the present application, the terms "include" and "comprise," as well as derivatives thereof, mean inclusion without limitation; the term "or" is inclusive, meaning and/or.
In this specification, the various embodiments described below which are used to describe the principles of the present application are by way of illustration only and should not be construed in any way to limit the scope of the application. The following description with reference to the accompanying drawings is provided to assist in a comprehensive understanding of exemplary embodiments of the application defined by the claims and their equivalents. The following description includes various specific details to aid understanding, but such details are to be regarded as illustrative only. Accordingly, those of ordinary skill in the art will recognize that various changes and modifications of the embodiments described herein can be made without departing from the scope and spirit of the application. Moreover, descriptions of well-known functions and constructions are omitted for clarity and conciseness. Moreover, throughout the drawings, the same reference numerals are used for similar functions and operations.
Fig. 1 schematically shows a simplified schematic of the arrangement of a data center. As shown in FIG. 1, a data center houses a plurality of server racks 100-1 and 100-2. A plurality of servers 1-n and 2-1-2-n are arranged on each server cabinet. Each server is connected to a switch placed on the cabinet by a network cable. The servers may exchange data through the switch. The server racks are designed in a layered configuration to reduce the space occupied by a large number of servers and other network equipment. In addition to servers, a wide variety of other network devices (e.g., storage drives, routers, hardware firewalls, power supplies), etc. may be installed on the server chassis.
Although fig. 1 shows only two server racks, it will be understood by those skilled in the art that the number of server racks is not limited to 2. In fact, the number of server racks deployed in a data center is enormous.
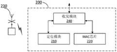
Fig. 2 schematically shows a schematic view of a positioning terminal according to an embodiment of the application. As shown in fig. 2, apositioning terminal 200 according to an embodiment of the present application includes apositioning module 210 capable of determining its own location, and a Media Access Control (MAC)chip 220 capable of connecting with a server to acquire a MAC address of the server.
Thepositioning module 210 in thepositioning terminal 200 according to the embodiment of the present application may utilize various positioning technologies, such as infrared optical positioning technology, laser positioning technology, microwave positioning technology, millimeter wave positioning technology, and the like. Accordingly, when using infrared optical positioning technology, for example, thepositioning module 210 has infrared reflective dots, and cooperates with an infrared emission camera disposed at another position, and the infrared emission camera can determine the position of the infrared reflective dots in the space by capturing the images reflected by the infrared reflective dots. For another example, when the laser positioning technology is adopted, thepositioning module 210 has a laser sensing receiver, and cooperates with a positioning tower disposed at another position to emit laser light, and the laser sensing receiver calculates the difference in the angle of arrival of the laser light and calculates the position of the laser light in space. Fig. 2 also shows apositioning tower station 230 that works in coordination with thepositioning module 210. As described above, when infrared optical positioning technology is employed, thepositioning tower station 230 may be an infrared emitting camera; when laser positioning technology is employed, thepositioning tower station 230 may be a laser-emitting positioning tower. Accordingly, when other positioning technologies, such as microwave positioning technology or millimeter wave positioning technology, are employed, thepositioning tower station 230 may be a transmitting station that transmits the corresponding microwave or millimeter wave.
TheMAC chip 220 in thepositioning terminal 200 according to the embodiment of the present application transmits a MAC broadcast to a server when thepositioning terminal 200 is connected to the server, and the server includes its MAC address in information fed back when receiving the broadcast packet. TheMAC chip 220, upon receiving the feedback from the server, may determine the MAC address of the server.
Fig. 2 also shows that thepositioning terminal 200 according to the embodiment of the present application further includes a transceivingmodule 240 for receiving an input from the outside and transmitting information, such as the location information determined by thepositioning module 210 and the MAC address determined by theMAC chip 220, to the outside.
Fig. 3 schematically shows a flowchart of a management method for servers of a data center according to an embodiment of the present application. At least one server is deployed at a data center. The at least one server is connected to a data center network. The server may include a baseboard management controller, BMC, to support IPMI specifications that describe management functions built into the motherboard, including local and remote diagnostics, console support, configuration management, hardware management, troubleshooting, and the like. The method may be performed by a management controller connected in a data center network.
As shown in fig. 3, the management method 300 according to the embodiment of the present application starts with step S310, scanning all connected servers through the data center network to obtain IP address/MAC information pairs of the respective servers. Then, in step S320, the MAC/location information pair of the server is acquired. Thereafter, in step S330, an IP address/MAC/location information group of the server is determined according to the IP address/MAC information pair and the MAC/location information pair.
As shown in fig. 3, step S320 may be performed by using a positioning terminal according to an embodiment of the present application. As shown in fig. 3, step S320 may include step S3210 of disconnecting the server from the data center network; step S3220, connecting the positioning terminal and the server; step S3230, the positioning terminal obtains the MAC address of the server, for example, the positioning terminal sends MAC broadcast to the server, and determines the MAC address of the server according to the feedback aiming at the MAC broadcast received from the server; step S3240, the positioning terminal determines the location of the server, which may be determined, for example, by placing the positioning terminal at a specific location of the server and determining the location of the positioning terminal; in step S3250, the positioning terminal transmits the determined position of the positioning terminal and the acquired MAC address to the management controller as a MAC/position information pair of the server.
Those skilled in the art will appreciate that the management method 300 according to the embodiment of the present application is not limited to the above-mentioned manner of obtaining the MAC/location information pair, and may also take other manners to obtain the MAC/location information pair of the server.
The flow chart shown in fig. 3 also does not limit the order of execution of the steps of the illustrated method. The execution sequence of steps S310 and S320 in the management method 300 according to the embodiment of the present application may be that step S310 is executed first and then step S320, or that step S320 is executed first and then step S310. For example, the servers are connected to the data center network, and step S310 is executed to acquire the IP addresses of the servers through IP scanning. Then, the server is disconnected from the data center network, the server is connected to the positioning terminal, and step S320 is executed. Or in another example, the server is connected with the positioning terminal, and step S320 is performed. Then, the server is disconnected from the positioning terminal, the server is connected to the data center network, and step S310 is executed.
In step S320 of the management method 300 according to the embodiment of the present application, the step S320 may be performed for each server one by one using a single positioning terminal, that is, the MAC/location information pair of each server is acquired one by one. In step S320 performed one by one for each server, the positioning terminals are placed at the same positions of the servers.
In step S320 of the management method 300 according to the embodiment of the present application, each server may also be connected to a positioning terminal, where the positioning terminals are placed at the same position of each server.
Fig. 3 further shows that the management method 300 according to the embodiment of the present application further includes step S340, obtaining the description information of the server from the server, and constructing an IP address/MAC/location information/description information table of the server. The description information of the server can be obtained through remote IPMI over IP. According to an embodiment of the present application, the description information of the server includes, but is not limited to: product name, model number, serial number, globally unique identifier UUID, asset tag. Step S340 may further include: drawing a 3D graph of the server and the position of the server in the data center according to the relative position of the positioning terminal placed on the server and the basic size information of the server; and adding information of the server cabinet, and drawing a three-dimensional model of the data center.
FIG. 4 shows a simplified schematic diagram of a data center corresponding to FIG. 1, according to an embodiment of the application. For example, a positioning terminal (shown as a circle in the drawing) is placed on one end of the side of each server. And the management controller connected to the data center network obtains the position of the positioning terminal determined by the positioning terminal, namely the position of one end of the side edge of the server. Based on the server's basic size information, the management controller can draw a 3D graphic of the server and the server's location in the data center. Then, according to the server cabinet information, the management controller can draw a three-dimensional model of the data center as shown in fig. 4.
According to the management method of the embodiment of the application, the three-dimensional model of the data center can be drawn. Therefore, managers of the data center can conveniently check the drawn three-dimensional model of the data center, quickly find and position a specific server, and conveniently maintain the data center.
According to embodiments of the present application, the management controller may be any one of the servers connected in the data center network (more specifically, a baseboard management controller in the server), or may be a dedicated controller for managing the data center.
According to one embodiment of the application, the positioning terminal is connected with the management controller in a wireless or wired mode. For example, the positioning terminal and the management controller each have a wireless network card, and the positioning terminal wirelessly transmits the MAC/location information pair of the server to the management controller. For another example, the positioning terminal is connected to the management controller via a wired network, and the positioning terminal transmits the MAC/location information pair of the server to the management controller via the wired network.
According to another embodiment of the application, a positioning base station is arranged in the data center, and the positioning terminal sends the MAC/position information pair of the server to the positioning base station. The positioning base station is connected with the management controller in a wireless or wired mode. The positioning base station forwards the MAC/location information pair of the server received from the positioning terminal to the management controller. For example, the positioning base station may be a wireless network card plugged into the management controller through a USB interface. In this way, the management controller can acquire the MAC/location information pair of the server from the positioning terminal via the positioning base station.
The positioning terminal according to the embodiment of the application can be separated from the server, and therefore can be repeatedly used. For example, MAC/location information pairs of the respective servers may be acquired one by one for the respective servers using a single positioning terminal. For another example, after the layout of the data center is changed each time, the positioning of the server of the data center and the rendering of the stereoscopic model of the data center are performed once by the positioning terminal.
Fig. 5 schematically shows a block diagram of a management controller 500 for performing the method described with reference to fig. 3 according to an embodiment of the application. As shown in fig. 5, the management controller 500 includes a processing unit or processor 506. The processor 506 may be a single unit or a combination of units for performing the different steps of the method. The management controller 500 may further include: an input unit 502 for receiving signals from other devices or components (e.g., a server, a positioning base station, etc. connected thereto); and an output unit 504 for providing signals to other devices or components (e.g., a server connected thereto, etc.). The input unit and the output unit may be arranged as one body.
In addition, the management controller 500 further comprises a memory 508, the memory 508 having stored therein instructions 510 for causing the management controller 500 to perform the steps of the method described in connection with fig. 3 when executed by a processor in the management controller 500.
The 510 instructions may be configured as computer program code. In an exemplary embodiment, the code in instructions 510 of controller 500 may include an IP scan module 510A for scanning servers to obtain IP address/MAC information pairs for the various servers. The code in instructions 510 of management controller 500 may also include a location information pair acquisition module 510B for acquiring a MAC/location information pair for a server. The code in instructions 510 of controller 500 may also include a determining module 510C for determining an IP address/MAC/location information set for the server based on the IP address/MAC information pair and the MAC/location information pair.
In an exemplary embodiment, the code in the instructions 510 of the controller 500 may further include a construction module 510D for obtaining description information of the server from the server to construct an IP address/MAC/location information/description information table of the server.
The above methods, apparatuses, units and/or modules according to embodiments of the present application may be implemented by an electronic device with computing capabilities executing software containing computer instructions. The system may include storage devices to implement the various storage described above. The computing-capable electronic device may include, but is not limited to, a general-purpose processor, a digital signal processor, a special-purpose processor, a reconfigurable processor, and the like capable of executing computer instructions. Execution of such instructions causes the electronic device to be configured to perform the operations described above in accordance with the present application. The above devices and/or modules may be implemented in one electronic device, or may be implemented in different electronic devices. Such software may be stored in a computer readable storage medium. The computer readable storage medium stores one or more programs (software modules) comprising instructions which, when executed by one or more processors in an electronic device, cause the electronic device to perform the methods of the present application.
Such software may be stored in the form of volatile memory or non-volatile storage (such as storage devices like ROM), whether erasable or rewritable, or in the form of memory (e.g. RAM, memory chips, devices or integrated circuits), or on optically or magnetically readable media (such as CD, DVD, magnetic disks or tapes, etc.). It should be appreciated that the storage devices and storage media are embodiments of machine-readable storage suitable for storing one or more programs, the one or more programs comprising instructions, which when executed, implement embodiments of the present application. Embodiments provide a program and a machine-readable storage device storing such a program, the program comprising code for implementing an apparatus or method as claimed in any one of the claims of the present application. Further, these programs may be delivered electronically via any medium (e.g., communication signals carried via a wired connection or a wireless connection), and embodiments suitably include these programs.
Methods, apparatus, units and/or modules according to embodiments of the application may also be implemented using hardware or firmware, for example Field Programmable Gate Arrays (FPGAs), Programmable Logic Arrays (PLAs), systems on a chip, systems on a substrate, systems on a package, Application Specific Integrated Circuits (ASICs), or in any other reasonable manner for integrating or packaging circuits, or in any suitable combination of software, hardware and firmware implementations. The system may include a storage device to implement the storage described above. When implemented in these manners, the software, hardware, and/or firmware used is programmed or designed to perform the corresponding above-described methods, steps, and/or functions according to the present application. One skilled in the art can implement one or more of these systems and modules, or one or more portions thereof, using different implementations as appropriate to the actual needs. Such implementations are all within the scope of the present application.
While the present application has been shown and described with reference to certain exemplary embodiments thereof, it will be understood by those skilled in the art that various changes in form and details may be made therein without departing from the spirit and scope of the application as defined by the appended claims and their equivalents. Accordingly, the scope of the present application should not be limited to the above-described embodiments, but should be defined not only by the appended claims, but also by equivalents thereof.

Claims (10)

CN201710046916.4A2017-01-192017-01-19Positioning terminal, data center management method and management controllerActiveCN106713526B (en)

Priority Applications (1)

Application NumberPriority DateFiling DateTitle
CN201710046916.4ACN106713526B (en)2017-01-192017-01-19Positioning terminal, data center management method and management controller

Applications Claiming Priority (1)

Application NumberPriority DateFiling DateTitle
CN201710046916.4ACN106713526B (en)2017-01-192017-01-19Positioning terminal, data center management method and management controller

Publications (2)

Publication NumberPublication Date
CN106713526A CN106713526A (en)2017-05-24
CN106713526Btrue CN106713526B (en)2020-02-04

Family

ID=58910168

Family Applications (1)

Application NumberTitlePriority DateFiling Date
CN201710046916.4AActiveCN106713526B (en)2017-01-192017-01-19Positioning terminal, data center management method and management controller

Country Status (1)

CountryLink
CN (1)CN106713526B (en)

Families Citing this family (2)

* Cited by examiner, † Cited by third party
Publication numberPriority datePublication dateAssigneeTitle
CN110113219A (en)*2019-05-292019-08-09山东浪潮人工智能研究院有限公司A kind of Server location information management method
CN112040016A (en)*2019-06-042020-12-04鸿富锦精密电子(天津)有限公司Server management method and server management device

Citations (2)

* Cited by examiner, † Cited by third party
Publication numberPriority datePublication dateAssigneeTitle
CN104079678A (en)*2014-05-282014-10-01赵海林Method for automatically obtaining WDS host information based on wireless terminal
CN105556932A (en)*2013-09-172016-05-04思科技术公司 Enables mobile apps to obtain MAC address for location information

Family Cites Families (1)

* Cited by examiner, † Cited by third party
Publication numberPriority datePublication dateAssigneeTitle
JP2016062507A (en)*2014-09-192016-04-25富士通株式会社Apparatus monitoring system, apparatus monitor, apparatus monitoring method and apparatus monitoring program

Patent Citations (2)

* Cited by examiner, † Cited by third party
Publication numberPriority datePublication dateAssigneeTitle
CN105556932A (en)*2013-09-172016-05-04思科技术公司 Enables mobile apps to obtain MAC address for location information
CN104079678A (en)*2014-05-282014-10-01赵海林Method for automatically obtaining WDS host information based on wireless terminal

Also Published As

Publication numberPublication date
CN106713526A (en)2017-05-24

Similar Documents

PublicationPublication DateTitle
USRE48128E1 (en)Method of capturing information about a rack and equipment installed therein
US8793351B2 (en)Automated configuration of new racks and other computing assets in a data center
US8887991B2 (en)Method and apparatus for configuring and validating telecom and datacom systems
CN106598527B (en)The method and apparatus of position of display unit in identification display equipment
US11435976B2 (en)Methods and systems for displaying media data, host computers, devices, and media
CN108573290A (en) Apparatus and location determination system and method for a data center
CN106713526B (en)Positioning terminal, data center management method and management controller
CN105635140A (en)Dish ordering method based on two-dimensional code and system thereof, mobile terminal and server side
CN104954167A (en)Physical device maintenance method and system
CN110166823A (en)Throw screen method and relevant apparatus
US20210153106A1 (en)Wireless Networking Method and Apparatus for Air-Conditioning System
CN111124603A (en)CD-ROM mounting method, device and related equipment
US20150017911A1 (en)Monitoring system and monitoring method
KR102014866B1 (en)Antenna function extension apparatus and device and method for function extension of antenna
US10257679B2 (en)Relative location determination for auto-configuration of computing systems in a network environment
CN105656643A (en)Method and equipment for performing compatible management based on network configuration protocol
TWI578738B (en)Server positioning system
CN109660371B (en)Automatic deployment method and automatic deployment device
CN110602458B (en)Image forwarding method and related device
CN104966112A (en)Electronic tag system capable of being configured remotely, method, and subsystem
WO2021097825A1 (en)Device marking method, apparatus, and system, computer device, and storage medium
US9480042B2 (en)Dynamic identifier modification of physical resources for resource discovery in a data center
JP7607185B2 (en) Computer system and configuration method
CN111314159B (en)Cabinet, and system and method for testing electronic device arranged in cabinet
US10243806B2 (en)Spatial ordering determination of devices using set-wise analysis of radio device proximity set comparisons

Legal Events

DateCodeTitleDescription
PB01Publication
PB01Publication
SE01Entry into force of request for substantive examination
GR01Patent grant
GR01Patent grant

[8]ページ先頭

©2009-2025 Movatter.jp