Movatterモバイル変換


[0]ホーム

URL:


CN105322066B - Photoelectric element and method of manufacturing the same - Google Patents

Photoelectric element and method of manufacturing the same
Download PDF

Info

Publication number
CN105322066B
CN105322066BCN201410327049.8ACN201410327049ACN105322066BCN 105322066 BCN105322066 BCN 105322066BCN 201410327049 ACN201410327049 ACN 201410327049ACN 105322066 BCN105322066 BCN 105322066B
Authority
CN
China
Prior art keywords
electrode
semiconductor layer
electrical
layer
insulating layer
Prior art date
Legal status (The legal status is an assumption and is not a legal conclusion. Google has not performed a legal analysis and makes no representation as to the accuracy of the status listed.)
Active
Application number
CN201410327049.8A
Other languages
Chinese (zh)
Other versions
CN105322066A (en
Inventor
陈昭兴
王佳琨
廖健智
曾咨耀
柯淙凯
沈建赋
Current Assignee (The listed assignees may be inaccurate. Google has not performed a legal analysis and makes no representation or warranty as to the accuracy of the list.)
Epistar Corp
Original Assignee
Epistar Corp
Priority date (The priority date is an assumption and is not a legal conclusion. Google has not performed a legal analysis and makes no representation as to the accuracy of the date listed.)
Filing date
Publication date
Application filed by Epistar CorpfiledCriticalEpistar Corp
Priority to CN201410327049.8ApriorityCriticalpatent/CN105322066B/en
Priority to CN202011253368.0Aprioritypatent/CN112510131B/en
Publication of CN105322066ApublicationCriticalpatent/CN105322066A/en
Application grantedgrantedCritical
Publication of CN105322066BpublicationCriticalpatent/CN105322066B/en
Activelegal-statusCriticalCurrent
Anticipated expirationlegal-statusCritical

Links

Images

Landscapes

Abstract

Translated fromChinese

本发明公开一种光电元件及其制造方法,该光电元件包含:一第一半导体层,具有至少四个边界、一第一表面、一与第一表面相对的第二表面,其中任意两相邻些边界可构成一角落;一第二半导体层形成于第一半导体层的第一表面之上;一第二电性电极形成于第二半导体层之上;以及至少两个第一电性电极形成于第一半导体层的第一表面之上,其中该些第一电性电极彼此分离并形成一设计型态。

Figure 201410327049

The present invention discloses a photoelectric element and a manufacturing method thereof, wherein the photoelectric element comprises: a first semiconductor layer having at least four boundaries, a first surface, and a second surface opposite to the first surface, wherein any two adjacent boundaries can form a corner; a second semiconductor layer formed on the first surface of the first semiconductor layer; a second electrical electrode formed on the second semiconductor layer; and at least two first electrical electrodes formed on the first surface of the first semiconductor layer, wherein the first electrical electrodes are separated from each other and form a design pattern.

Figure 201410327049

Description

Translated fromChinese
光电元件及其制造方法Photoelectric element and method of manufacturing the same

技术领域technical field

本发明涉及一种光电元件,尤其是涉及一种光电元件的电极设计。The present invention relates to an optoelectronic element, in particular to an electrode design of the optoelectronic element.

背景技术Background technique

发光二极管(light-emitting diode,LED)的发光原理是利用电子在n型半导体与p型半导体间移动的能量差,以光的形式将能量释放,这样的发光原理有别于白炽灯发热的发光原理,因此发光二极管被称为冷光源。此外,发光二极管具有高耐久性、寿命长、轻巧、耗电量低等优点,因此现今的照明市场对于发光二极管寄予厚望,将其视为新一代的照明工具,已逐渐取代传统光源,并且应用于各种领域,如交通号志、背光模块、路灯照明、医疗设备等。The light-emitting principle of light-emitting diodes (LEDs) is to use the energy difference between electrons moving between n-type semiconductors and p-type semiconductors to release energy in the form of light. This light-emitting principle is different from incandescent lamps. principle, so light-emitting diodes are called cold light sources. In addition, light-emitting diodes have the advantages of high durability, long life, light weight, and low power consumption. Therefore, today's lighting market places high hopes on light-emitting diodes, and regards them as a new generation of lighting tools, which have gradually replaced traditional light sources and are widely used in light-emitting diodes. In various fields, such as traffic signs, backlight modules, street lighting, medical equipment, etc.

图1为现有的发光元件结构示意图,如图1所示,现有的发光元件100,包含有一透明基板10、一位于透明基板10上的半导体叠层12,以及至少一电极14位于上述半导体叠层12上,其中上述的半导体叠层12由上而下至少包含一第一导电型半导体层120、一活性层122,以及一第二导电型半导体层124。FIG. 1 is a schematic structural diagram of a conventional light-emitting element. As shown in FIG. 1, the conventional light-emitting element 100 includes atransparent substrate 10, asemiconductor stack 12 on thetransparent substrate 10, and at least oneelectrode 14 on the semiconductor On thestack 12 , the above-mentionedsemiconductor stack 12 at least includes a first conductivitytype semiconductor layer 120 , anactive layer 122 , and a second conductivitytype semiconductor layer 124 from top to bottom.

此外,上述的发光元件100还可以进一步地与其他元件组合连接以形成一发光装置(light-emitting apparatus)。图2为现有的发光装置结构示意图,如图2所示,一发光装置200包含一具有至少一电路202的次载体(sub-mount)20;至少一焊料(solder)22位于上述次载体20上,通过此焊料22将上述发光元件100黏结固定于次载体20上并使发光元件100的基板10与次载体20上的电路202形成电连接;以及,一电连接结构24,以电连接发光元件100的电极14与次载体20上的电路202;其中,上述的次载体20可以是导线架(lead frame)或大尺寸镶嵌基底(mounting substrate),以方便发光装置200的电路规划并提高其散热效果。In addition, the above-mentioned light-emitting element 100 can be further combined and connected with other elements to form a light-emitting apparatus. FIG. 2 is a schematic structural diagram of a conventional light-emitting device. As shown in FIG. 2 , a light-emitting device 200 includes asub-mount 20 having at least onecircuit 202 ; at least onesolder 22 is located on thesub-mount 20 the above-mentioned light-emitting element 100 is bonded and fixed on thesub-carrier 20 through thesolder 22, and thesubstrate 10 of the light-emitting element 100 is electrically connected with thecircuit 202 on thesub-carrier 20; Theelectrode 14 of theelement 100 and thecircuit 202 on thesub-carrier 20; wherein, the above-mentionedsub-carrier 20 can be a lead frame or a large-scale mounting substrate, so as to facilitate the circuit planning of the light-emitting device 200 and improve its heat radiation.

发明内容SUMMARY OF THE INVENTION

为解决上述问题,本发明提供一种光电元件,包含:一第一半导体层,具有至少四个边界、一第一表面、一与第一表面相对的第二表面,其中任意两相邻些边界可构成一角落;一第二半导体层形成于第一半导体层的第一表面之上;一第二电性电极形成于第二半导体层之上;以及至少两个第一电性电极形成于第一半导体层的第一表面之上,其中该些第一电性电极彼此分离并形成一设计型态。In order to solve the above problems, the present invention provides a photoelectric element, comprising: a first semiconductor layer with at least four borders, a first surface, and a second surface opposite to the first surface, wherein any two adjacent borders A corner can be formed; a second semiconductor layer is formed on the first surface of the first semiconductor layer; a second electrical electrode is formed on the second semiconductor layer; and at least two first electrical electrodes are formed on the first On the first surface of a semiconductor layer, the first electrical electrodes are separated from each other and form a design pattern.

附图说明Description of drawings

图1为一结构图,显示一现有阵列光电元件侧视结构图;FIG. 1 is a structural diagram showing a side view structural diagram of a conventional array optoelectronic element;

图2为一示意图,显示一现有发光装置结构示意图;FIG. 2 is a schematic diagram showing the structure of a conventional light-emitting device;

图3A为一结构图,显示依据本发明一实施例的光电元件单元上视结构图;3A is a structural diagram showing a top-view structural diagram of a photoelectric element unit according to an embodiment of the present invention;

图3B为一结构图,显示依据本发明一实施例的光电元件单元侧视结构图;3B is a structural diagram showing a side view of a photoelectric element unit according to an embodiment of the present invention;

图3C为一结构图,显示依据本发明另一实施例的光电元件单元上视结构图;3C is a structural diagram showing a top-view structural diagram of a photoelectric element unit according to another embodiment of the present invention;

图4A-图4D为一结构图,显示依据本发明另一实施例的光电元件单元上视结构图;4A-4D are structural diagrams showing a top-view structural diagram of an optoelectronic element unit according to another embodiment of the present invention;

图5A-图5C为一发光模块示意图;5A-5C are schematic diagrams of a light-emitting module;

图6A-图6B为一光源产生装置示意图;及6A-6B are schematic diagrams of a light source generating device; and

图7为一灯泡示意图。FIG. 7 is a schematic diagram of a light bulb.

符号说明Symbol Description

发光元件100、200、300、400、500、600、700、700’Light-emitting elements 100, 200, 300, 400, 500, 600, 700, 700'

透明基板10Transparent substrate 10

半导体叠层12Semiconductor stack 12

电极14、E1、E2Electrodes 14, E1, E2

基板30Substrate 30

外延叠层31Epitaxial stack 31

第一半导体层311first semiconductor layer 311

活性层312Active layer 312

第二半导体层313Thesecond semiconductor layer 313

沟槽SGroove S

第一绝缘层341The firstinsulating layer 341

第二绝缘层342The secondinsulating layer 342

第一开口3421first opening 3421

第二开口3422second opening 3422

第三开口3423third opening 3423

第四开口3424Fourth opening 3424

第五开口3425Fifth opening 3425

第一第一电性电极321The first firstelectrical type electrode 321

第二第一电性电极322The second firstelectrical type electrode 322

第三第一电性电极323The third firstelectrical type electrode 323

第四第一电性电极324The fourth firstelectrical type electrode 324

第二电性电极33The secondelectrical electrode 33

第三电极35third electrode 35

第一长边B1The first long side B1

第二长边B3The second long side B3

第一短边B2The first short side B2

第二短边B4Second short side B4

长形延伸部351elongated extension 351

凹口RNotch R

第四电极36fourth electrode 36

发光模块800Lighting module 800

下载体501Download body 501

载体502Carrier 502

上载体503Uploadcarrier 503

透镜504、506、508、510Lenses 504, 506, 508, 510

电源供应终端512、514Power supply terminals 512, 514

通孔515Throughhole 515

反射层519Reflective layer 519

胶材521Adhesive 521

外壳540Shell 540

光源产生装置900Lightsource generating device 900

灯泡1000Bulb 1000

外壳721Shell 721

透镜722Lens 722

照明模块724Lighting Module 724

支架725Bracket 725

散热器726Radiator 726

串接部727Serial connection 727

电串接器728Electric tandem 728

方向ABCDirection ABC

距离D1Distance D1

高度H1、H2Height H1, H2

具体实施方式Detailed ways

本发明公开一种发光元件及其制造方法,为了使本发明的叙述更加详尽与完备,请参照下列描述并配合图3A至图7的图示。The present invention discloses a light-emitting element and a manufacturing method thereof. In order to make the description of the present invention more detailed and complete, please refer to the following description and cooperate with the diagrams in FIGS. 3A to 7 .

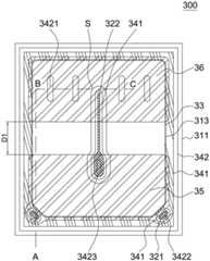
图3A与图3B所示为本发明第一实施例的光电元件300的上视图与侧视图。图3B显示图3A中A-B-C方向的侧视结构图。光电元件300具有一个基板30。基板30并不限定为单一材料,也可以是由多种不同材料组合而成的复合式基板。例如:基板30可以包含两个相互接合的第一基板(图未示)与第二基板(图未示)。3A and 3B are the top view and the side view of thephotoelectric element 300 according to the first embodiment of the present invention. FIG. 3B shows a side view of the structure in the direction A-B-C in FIG. 3A . Thephotovoltaic element 300 has asubstrate 30 . Thesubstrate 30 is not limited to a single material, and may also be a composite substrate formed by combining multiple different materials. For example, thesubstrate 30 may include two mutually bonded first substrates (not shown) and second substrates (not shown).

在基板30上以传统的外延成长制作工艺,形成一外延叠层31,包含第一半导体层311,具有一第一表面3111及一与第一表面相对的第二表面3112,一活性层312形成于第一半导体层311的第一表面3111之上,以及一第二半导体层313,形成于活性层312之上。接着,通过黄光光刻制作工艺技术选择性移除部分外延叠层以在光电元件300的边界裸露出部分第一半导体层311,并形成一沟槽S于光电元件300之中。在一实施例中,此沟槽S裸露出部分第一半导体层311且被第二半导体层313所围绕。在一实施例中,沟槽S于上视图中为一长条形。On thesubstrate 30, a conventional epitaxial growth process is used to form anepitaxial stack 31, which includes afirst semiconductor layer 311, has afirst surface 3111 and asecond surface 3112 opposite to the first surface, and anactive layer 312 is formed On thefirst surface 3111 of thefirst semiconductor layer 311 , and asecond semiconductor layer 313 is formed on theactive layer 312 . Next, a part of the epitaxial stack is selectively removed by a yellow photolithography process technology to expose a part of thefirst semiconductor layer 311 at the border of thephotoelectric element 300 , and a trench S is formed in thephotoelectric element 300 . In one embodiment, the trench S exposes part of thefirst semiconductor layer 311 and is surrounded by thesecond semiconductor layer 313 . In one embodiment, the groove S is a long strip in the top view.

接着,在光电元件300外延叠层31的表面及上述沟槽S侧壁上以化学气相沉积方式(CVD)或物理气相沉积方式(PVD)等技术沉积形成第一绝缘层341。Next, a first insulatinglayer 341 is deposited on the surface of theepitaxial stack 31 of thephotovoltaic element 300 and the sidewall of the trench S by chemical vapor deposition (CVD) or physical vapor deposition (PVD) techniques.

接着,形成至少一第一第一电性电极321于上述光电元件300的边界旁所裸露出的第一半导体层311之上。在一实施例中,第一第一电性电极321未被第二半导体层313围绕,以及一第二第一电性电极322形成于上述沟槽S之中。在此实施例中,分离的第一第一电性电极321及第二第一电性电极322形成一种第一电性电极的电极设计型态。Next, at least one first firstelectrical type electrode 321 is formed on the exposedfirst semiconductor layer 311 beside the boundary of thephotoelectric element 300 . In one embodiment, the first firstelectrical type electrode 321 is not surrounded by thesecond semiconductor layer 313 , and a second firstelectrical type electrode 322 is formed in the trench S. In this embodiment, the separated first firstelectrical type electrode 321 and the second firstelectrical type electrode 322 form an electrode design type of the first electrical type electrode.

在本发明的实施例中,电极设计型态可包括电极数量、电极形状及电极位置的选择,以增进光电元件靠近边界区域的电流散布。例如,第一电性电极的电极设计型态可以包含一或多个第一第一电性电极321以及一或多个第二第一电性电极322,且第二第一电性电极322自上视观之是被第二半导体层313围绕,且为一延伸状。In the embodiment of the present invention, the electrode design pattern may include the selection of the number of electrodes, the shape of the electrodes, and the position of the electrodes, so as to improve the current spreading of the photovoltaic element near the boundary region. For example, the electrode design type of the first electrical type electrode may include one or more first firstelectrical type electrodes 321 and one or more second firstelectrical type electrodes 322 , and the second firstelectrical type electrode 322 is automatically When viewed from above, it is surrounded by thesecond semiconductor layer 313 and has an extended shape.

在一实施例中,光电元件300的第一半导体层311具有至少四个边界,相邻两边界可构成一角落,且无跨越边界的导电结构。在本实施例中,第一第一电性电极321形成于光电元件300的同一边界上的两个角落,彼此分离且未跨越光电元件300的边界。In one embodiment, thefirst semiconductor layer 311 of theoptoelectronic device 300 has at least four borders, two adjacent borders may form a corner, and there is no conductive structure spanning the borders. In this embodiment, thefirst electrodes 321 of the first electrical type are formed at two corners on the same boundary of thephotoelectric element 300 , separated from each other and not crossing the boundary of thephotoelectric element 300 .

在一实施例中,第一第一电性电极321于第一半导体层上311的投影可具有一图形,此图形可为一多边形、一圆形、一椭圆形、一半圆形或具有一圆弧面。第二第一电性电极322可为线形、弧形、线形与弧形混合形、或可具有至少一分支。在一实施例中,第二第一电性电极322可具有一头端与尾端,且上述头端具有一宽度大于尾端的一宽度。In one embodiment, the projection of the first firstelectrical type electrode 321 on thefirst semiconductor layer 311 may have a shape, and the shape may be a polygon, a circle, an ellipse, a semicircle, or a circle. Arc. The second firstelectrical type electrode 322 may be linear, arc, a mixture of linear and arc, or may have at least one branch. In one embodiment, the second firstelectrical type electrode 322 may have a head end and a tail end, and the head end has a width greater than that of the tail end.

接着,形成一第二电性电极33于第二半导体层313之上。在一实施例中,第二电性电极33于第一半导体层311的投影面积与第二半导体层313的上表面积的比值介于90~100%。Next, a secondelectrical type electrode 33 is formed on thesecond semiconductor layer 313 . In one embodiment, the ratio of the projected area of the secondelectrical type electrode 33 on thefirst semiconductor layer 311 to the upper surface area of thesecond semiconductor layer 313 is 90-100%.

之后,可形成一第二绝缘层342于上述第一第一电性电极321、第二第一电性电极322、第二电性电极33及部分第一绝缘层341之上。其中第二绝缘层342可具有第一开口3421以作为第二电性电极33与后续形成的第四电极36电连接之用,第二绝缘层342也可具有一第二开口3422以作为第一第一电性电极321与后续形成的第三电极35电连接之用。在一实施例中,第一绝缘层341或第二绝缘层342可完全覆盖上述裸露出的第一半导体层311。After that, a second insulatinglayer 342 can be formed on the first firstelectrical type electrode 321 , the second firstelectrical type electrode 322 , the secondelectrical type electrode 33 and part of the first insulatinglayer 341 . The secondinsulating layer 342 may have afirst opening 3421 for electrically connecting the secondelectrical type electrode 33 and the subsequently formedfourth electrode 36, and the second insulatinglayer 342 may also have asecond opening 3422 as the first The firstelectrical electrode 321 is used for electrical connection with thethird electrode 35 formed later. In one embodiment, the first insulatinglayer 341 or the second insulatinglayer 342 can completely cover the above-mentioned exposedfirst semiconductor layer 311 .

在一实施例中,上述第一绝缘层341或第二绝缘层342可为一透明绝缘层。上述第一绝缘层341或第二绝缘层342的材质可以是氧化物、氮化物、或聚合物(polymer),氧化物可包含氧化铝(Al2O3)、氧化硅(SiO2)、二氧化钛(TiO2)、五氧化二钽(Tantalum Pentoxide,Ta2O5)或氧化铝(AlOx);氮化物可包含氮化铝(AlN)、氮化硅(SiNx);聚合物可包含聚酰亚胺(polyimide)或苯并环丁烷(benzocyclobutane,BCB)等材料或为上述的复合组合。在一实施例中,第一绝缘层341或第二绝缘层342可为一布拉格反射镜(Distributed BraggReflector)结构。In one embodiment, the first insulatinglayer 341 or the second insulatinglayer 342 may be a transparent insulating layer. The material of the first insulatinglayer 341 or the second insulatinglayer 342 may be oxide, nitride, or polymer, and the oxide may include aluminum oxide (Al2 O3 ), silicon oxide (SiO2 ), titanium dioxide (TiO2 ), Tantalum Pentoxide (Ta2 O5 ) or aluminum oxide (AlOx ); the nitride may include aluminum nitride (AlN), silicon nitride (SiNx ); the polymer may include poly Materials such as polyimide (polyimide) or benzocyclobutane (BCB) or a composite combination of the above. In one embodiment, the first insulatinglayer 341 or the second insulatinglayer 342 may be a Bragg reflector (Distributed Bragg Reflector) structure.

最后,形成一第三电极35于上述第二绝缘层342、第一第一电性电极321、第二第一电性电极322之上并与第一第一电性电极321、第二第一电性电极322电连接;及形成一第四电极36于上述第二绝缘层342、第二电性电极33之上并与第二电性电极33电连接。在一实施例中,自上视观之,第三电极35与第四电极36于第一半导体层311上的投影面积的比值介于80~100%。Finally, athird electrode 35 is formed on the second insulatinglayer 342 , the first firstelectrical type electrode 321 and the second firstelectrical type electrode 322 and is connected with the first firstelectrical type electrode 321 and the second firstelectrical type electrode 321 Theelectrical electrodes 322 are electrically connected; and afourth electrode 36 is formed on the second insulatinglayer 342 and the secondelectrical electrodes 33 and electrically connected to the secondelectrical electrodes 33 . In one embodiment, viewed from the top, the ratio of the projected areas of thethird electrode 35 and thefourth electrode 36 on thefirst semiconductor layer 311 is between 80% and 100%.

在一实施例中,第三电极35可以只覆盖部分第一第一电性电极321;在另一实施例中,第三电极35可以完全不覆盖第一第一电性电极321。In one embodiment, thethird electrode 35 may only cover part of the first firstelectrical type electrode 321 ; in another embodiment, thethird electrode 35 may not cover the first firstelectrical type electrode 321 at all.

在一实施例中,第三电极35的上缘至基板30上缘有一高度H1,第四电极36的上缘至基板30上缘有一高度H2,且H1大致相等于H2。在一实施例中,H1与H2的差异小于5~10%。通过调整H1与H2的差异,可减少光电元件300后续与载板或电路元件形成倒装式结构的断线机率,进而增加产品良率。在一实施例中,第三电极35的边界与第四电极36的边界具有一最小距离D1,且D1大于50μm,在一实施例中D1可为50-200μm、100-200μm。In one embodiment, there is a height H1 from the upper edge of thethird electrode 35 to the upper edge of thesubstrate 30 , and a height H2 from the upper edge of thefourth electrode 36 to the upper edge of thesubstrate 30 , and H1 is substantially equal to H2 . In one embodiment, the difference between H1 and H2 is less than 5-10%. By adjusting the difference between H1 and H2, the probability of disconnection of theoptoelectronic element 300 in the subsequent flip-chip structure formed with the carrier board or the circuit element can be reduced, thereby increasing the product yield. In one embodiment, the boundary of thethird electrode 35 and the boundary of thefourth electrode 36 have a minimum distance D1, and D1 is greater than 50 μm. In one embodiment, D1 may be 50-200 μm, 100-200 μm.

在一实施例中,第一第一电性电极321、第二第一电性电极322、第二电性电极33、第三电极35及第四电极36可为一多层结构,及/或包含一反射层(图未示),且可对活性层312发出的光线具有80%以上的反射率。在一实施例中,第一第一电性电极321、第二第一电性电极322及第三电极35也可于同一制作工艺中形成。在一实施例中,光电元件300发出的光线可经第一第一电性电极321、第二第一电性电极322、第二电性电极33、第三电极35或第四电极36反射而从基板30方向离开光电元件300。In one embodiment, the first firstelectrical type electrode 321 , the second firstelectrical type electrode 322 , the secondelectrical type electrode 33 , thethird electrode 35 and thefourth electrode 36 may be a multi-layer structure, and/or It includes a reflective layer (not shown in the figure), and can have a reflectivity of more than 80% for the light emitted by theactive layer 312 . In one embodiment, the first firstelectrical type electrode 321 , the second firstelectrical type electrode 322 and thethird electrode 35 can also be formed in the same fabrication process. In one embodiment, the light emitted by theoptoelectronic element 300 can be reflected by the first firstelectrical type electrode 321 , the second firstelectrical type electrode 322 , the secondelectrical type electrode 33 , thethird electrode 35 or thefourth electrode 36 . Thephotovoltaic element 300 is separated from the direction of thesubstrate 30 .

为了达到一定的导电度,第一第一电性电极321、第二第一电性电极322、第二电性电极33、第三电极35及第四电极36的材质较佳例如可以是金属,例如金(Au)、银(Ag)、铜(Cu)、铬(Cr)、铝(Al)、铂(Pt)、镍(Ni)、钛(Ti)、锡(Sn)等,其合金或其叠层组合。In order to achieve a certain degree of conductivity, the material of the first firstelectrical type electrode 321 , the second firstelectrical type electrode 322 , the secondelectrical type electrode 33 , thethird electrode 35 and thefourth electrode 36 can preferably be metal, for example, For example, gold (Au), silver (Ag), copper (Cu), chromium (Cr), aluminum (Al), platinum (Pt), nickel (Ni), titanium (Ti), tin (Sn), etc., their alloys or its stacking combination.

在一实施例中,可提供一载板或一电路元件(图未示),通过打线或焊锡等方式于载板或电路元件上形成一第一载板电极(图未示)、及一第二载板电极(图未示)。此第一载板电极、及第二载板电极可与光电元件300的第三电极35、第四电极36形成一倒装式结构。In one embodiment, a carrier or a circuit element (not shown) can be provided, and a first carrier electrode (not shown) and a The second carrier electrode (not shown). The first carrier electrode and the second carrier electrode can form a flip-chip structure with thethird electrode 35 and thefourth electrode 36 of theoptoelectronic element 300 .

在一实施例中,可形成一第一调整层(图未示)于第一第一电性电极321、及/或第二第一电性电极322与第三电极35之间,且电连接于第一第一电性电极321、及/或第二第一电性电极322与第三电极35。在一实施例中,可形成一第二调整层(图未示)于第二电性电极33与第四电极36之间,且电连接于第二电性电极33与第四电极36。在本实施例中,第一调整层及第二调整层可分别具有一高度,且因为第一调整层及第二调整层的形成位置,使得第一调整层及第二调整层的高度会影响上述H1与H2的高度。因此通过分别设计第一调整层及/或第二调整层的形成高度,可以减少上述H1与H2的高度差异,而可减少光电元件300后续与载板或电路元件形成倒装式结构的断线机率,进而增加产品良率。在一实施例中,第一调整层于第一半导体层311上的投影面积大于第三电极35于第一半导体层311上的投影面积,或第二调整层于第一半导体层311上的投影面积大于第四电极36于第一半导体层311上的投影面积。在一实施例中,第一调整层或第二调整层的材质较佳例如可以是金属,例如金(Au)、银(Ag)、铜(Cu)、铬(Cr)、铝(Al)、铂(Pt)、镍(Ni)、钛(Ti)、锡(Sn)等,其合金或其叠层组合。在一实施例中,第一调整层或第二调整层可为一多层结构,及/或包含一反射层(图未示),且可对活性层312发出的光线具有80%以上的反射率。In one embodiment, a first adjustment layer (not shown) may be formed between the first firstelectrical type electrode 321 , and/or the second firstelectrical type electrode 322 and thethird electrode 35 and electrically connected on the first firstelectrical type electrode 321 , and/or the second firstelectrical type electrode 322 and thethird electrode 35 . In one embodiment, a second adjustment layer (not shown) may be formed between the secondelectrical type electrode 33 and thefourth electrode 36 and electrically connected to the secondelectrical type electrode 33 and thefourth electrode 36 . In this embodiment, the first adjustment layer and the second adjustment layer may have a height respectively, and due to the formation positions of the first adjustment layer and the second adjustment layer, the heights of the first adjustment layer and the second adjustment layer will affect The heights of H1 and H2 above. Therefore, by separately designing the formation heights of the first adjustment layer and/or the second adjustment layer, the height difference between the above-mentioned H1 and H2 can be reduced, and the disconnection of theoptoelectronic element 300 to form a flip-chip structure with the carrier board or circuit element subsequently can be reduced probability, thereby increasing product yield. In one embodiment, the projected area of the first adjustment layer on thefirst semiconductor layer 311 is larger than the projected area of thethird electrode 35 on thefirst semiconductor layer 311 , or the projected area of the second adjustment layer on thefirst semiconductor layer 311 The area is larger than the projected area of thefourth electrode 36 on thefirst semiconductor layer 311 . In one embodiment, the material of the first adjustment layer or the second adjustment layer may preferably be, for example, a metal, such as gold (Au), silver (Ag), copper (Cu), chromium (Cr), aluminum (Al), Platinum (Pt), nickel (Ni), titanium (Ti), tin (Sn), etc., alloys thereof, or laminate combinations thereof. In one embodiment, the first adjustment layer or the second adjustment layer can be a multi-layer structure, and/or include a reflective layer (not shown), and can reflect more than 80% of the light emitted by theactive layer 312 Rate.

图3C显示本发明第二实施例的光电元件400上视图。本实施例其制作方法、使用材料及标号等与上述第一实施例相同,在此不再赘述。在本发明的实施例中,电极设计型态可包括电极数量、电极形状及电极位置的选择,以增进光电元件400靠近边界区域的电流散布。FIG. 3C shows a top view of thephotovoltaic element 400 according to the second embodiment of the present invention. The manufacturing method, used materials, and labels of this embodiment are the same as those of the above-mentioned first embodiment, and will not be repeated here. In the embodiment of the present invention, the electrode design pattern may include the selection of the number of electrodes, the shape of the electrodes, and the position of the electrodes, so as to improve the current spreading of thephotovoltaic element 400 near the boundary region.

在一实施例中,光电元件400的第一半导体层311具有至少四个边界,相邻两边界可构成一角落,且无跨越边界的导电结构。在本实施例中,第一第一电性电极321形成于第一半导体层311的任一角落之上,且第二绝缘层342可具有一第二开口3422以作为第一第一电性电极321与后续形成的第三电极35电连接之用。第二第一电性电极322形成于第一半导体层311之上,且被第二半导体层313围绕,且第二绝缘层342也可具有一第三开口3423以作为第二第一电性电极322与后续形成的第三电极35电连接之用。In one embodiment, thefirst semiconductor layer 311 of theoptoelectronic device 400 has at least four borders, two adjacent borders may form a corner, and there is no conductive structure crossing the borders. In this embodiment, the first firstelectrical type electrode 321 is formed on any corner of thefirst semiconductor layer 311, and the second insulatinglayer 342 may have asecond opening 3422 as the first firstelectrical type electrode 321 is used for electrical connection with thethird electrode 35 formed later. The second firstelectrical type electrode 322 is formed on thefirst semiconductor layer 311 and surrounded by thesecond semiconductor layer 313, and the second insulatinglayer 342 may also have athird opening 3423 as the second firstelectrical type electrode 322 is used for electrical connection with thethird electrode 35 formed subsequently.

在本实施例中,第一第一电性电极321于第一半导体层上311的投影可具有一图形,其中此图形可为一多边形、一圆形、一椭圆形、一半圆形或具有一圆弧面。第二第一电性电极322为延伸状,且形状可为线形、弧形、线形与弧形混合形、或可具有至少一分支。在一实施例中,第二第一电性电极322可具有一头端及一尾端,且上述头端可具有一宽度大于尾端的一宽度。In this embodiment, the projection of the first firstelectrical type electrode 321 on thefirst semiconductor layer 311 may have a shape, wherein the shape may be a polygon, a circle, an ellipse, a semi-circle, or a Arc face. The second firstelectrical type electrode 322 is an extending shape, and the shape may be a line shape, an arc shape, a mixed shape of a line shape and an arc shape, or may have at least one branch. In one embodiment, the second firstelectrical type electrode 322 may have a head end and a tail end, and the head end may have a width greater than that of the tail end.

在本实施例中,第三第一电性电极323形成于光电元件400的边界旁所裸露出的第一半导体层311之上。在一实施例中,第三第一电性电极323未被第二半导体层313围绕,且第二绝缘层342具有一第四开口3424以作为第三第一电性电极323与后续形成的第三电极35电连接之用。第四第一电性电极324形成于光电元件400的边界旁所裸露出的第一半导体层311之上。在一实施例中,第四第一电性电极324未被第二半导体层313围绕,且第二绝缘层342具有一第五开口3425以作为第四第一电性电极324与后续形成的第三电极35电连接之用。In this embodiment, the third firstelectrical type electrode 323 is formed on the exposedfirst semiconductor layer 311 beside the boundary of thephotoelectric element 400 . In one embodiment, the third firstelectrical type electrode 323 is not surrounded by thesecond semiconductor layer 313 , and the second insulatinglayer 342 has afourth opening 3424 to serve as the third firstelectrical type electrode 323 and the subsequently formedsecond electrode 323 . The threeelectrodes 35 are used for electrical connection. The fourth firstelectrical type electrode 324 is formed on the exposedfirst semiconductor layer 311 beside the boundary of thephotoelectric element 400 . In one embodiment, the fourth firstelectrical type electrode 324 is not surrounded by thesecond semiconductor layer 313 , and the second insulatinglayer 342 has afifth opening 3425 to serve as the fourth firstelectrical type electrode 324 and the subsequently formed firstelectrical type electrode 324 . The threeelectrodes 35 are used for electrical connection.

在本实施例中,第三第一电性电极323于第一半导体层上311的投影可具有一图形,其中此图形可为一多边形、一圆形、一椭圆形、一半圆形或具有一圆弧面。第四第一电性电极324的形状可为线形、弧形、线形与弧形混合形、或可具有至少一分支。在一实施例中,第四第一电性电极324可具有一头端及一尾端,且上述头端可具有一宽度大于尾端的一宽度。在一实施例中,第三第一电性电极323与第四第一电性电极324的形状不同。In this embodiment, the projection of the third firstelectrical type electrode 323 on thefirst semiconductor layer 311 may have a shape, wherein the shape may be a polygon, a circle, an ellipse, a semi-circle, or a Arc face. The shape of the fourth firstelectrical type electrode 324 may be linear, arc, a mixture of linear and arc, or may have at least one branch. In one embodiment, the fourth firstelectrical type electrode 324 may have a head end and a tail end, and the head end may have a width greater than that of the tail end. In one embodiment, the shapes of the third firstelectrical type electrodes 323 and the fourth firstelectrical type electrodes 324 are different.

在一实施例中,依据产品设计的要求,第一第一电性电极321与第三第一电性电极323可形成在光电元件400的同一边界旁,且彼此分离。在一实施例中,第一第一电性电极321及第四第一电性电极324、或第三第一电性电极323及第四第一电性电极324不形成在光电元件400的同一边界旁。In one embodiment, according to product design requirements, the first firstelectrical type electrode 321 and the third firstelectrical type electrode 323 can be formed beside the same boundary of theoptoelectronic device 400 and separated from each other. In one embodiment, the first firstelectrical type electrode 321 and the fourth firstelectrical type electrode 324 , or the third firstelectrical type electrode 323 and the fourth firstelectrical type electrode 324 are not formed on the same part of thephotoelectric element 400 . next to the border.

在一实施例中,第四第一电性电极324的头端可被第三电极35所覆盖,且第四第一电性电极324的尾端不被第四电极36所覆盖。在本实施例中,第三电极35于第一半导体层311上的投影面积大于第四电极36于第一半导体层311上的投影面积,且第三电极35及第四电极36于第一半导体层311上的投影面积的比值介于110~120%。在一实施例中,上述第二第一电性电极322及第四第一电性电极324的尾端延伸方向为大致相互平行。In one embodiment, the head end of the fourth firstelectrical type electrode 324 may be covered by thethird electrode 35 , and the tail end of the fourth firstelectrical type electrode 324 is not covered by thefourth electrode 36 . In this embodiment, the projected area of thethird electrode 35 on thefirst semiconductor layer 311 is larger than the projected area of thefourth electrode 36 on thefirst semiconductor layer 311 , and thethird electrode 35 and thefourth electrode 36 are on thefirst semiconductor layer 311 . The ratio of the projected area on thelayer 311 is between 110-120%. In one embodiment, the extending directions of the tail ends of the second firstelectrical type electrode 322 and the fourth firstelectrical type electrode 324 are substantially parallel to each other.

图4A显示本发明第三实施例的光电元件500上视图。本实施例其制作方法、使用材料及标号等与上述第一实施例相同,在此不再赘述。在本发明的实施例中,电极设计型态可包括电极数量、电极形状及电极位置的选择,以增进光电元件500靠近边界区域的电流散布。FIG. 4A shows a top view of aphotovoltaic element 500 according to a third embodiment of the present invention. The manufacturing method, used materials, and labels of this embodiment are the same as those of the above-mentioned first embodiment, and will not be repeated here. In the embodiment of the present invention, the electrode design patterns may include the selection of the number of electrodes, the shape of the electrodes, and the positions of the electrodes, so as to improve the current spreading of thephotovoltaic element 500 near the boundary region.

在本实施例中,光电元件500的四个边界形成一长方形,相邻两边界可构成一角落,且无跨越边界的导电结构,上述边界具有一第一长边B1、一第二长边B3、一第一短边B2及一第二短边B4。在一实施例中,上述第一长边B1或第二长边B3的长度大于第一短边B2或第二短边B4。在本实施例中,第三电极35及第四电极36于第一半导体层311上的投影沿着第一长边B1或第二长边B3排列。In this embodiment, the four borders of theoptoelectronic element 500 form a rectangle, two adjacent borders may form a corner, and there is no conductive structure spanning the borders, and the borders have a first long side B1 and a second long side B3 , a first short side B2 and a second short side B4. In one embodiment, the length of the first long side B1 or the second long side B3 is greater than the length of the first short side B2 or the second short side B4 . In this embodiment, the projections of thethird electrode 35 and thefourth electrode 36 on thefirst semiconductor layer 311 are arranged along the first long side B1 or the second long side B3 .

在本实施例中,两个彼此分离的第一第一电性电极321形成于第一短边B2的两个角落之上,且第二绝缘层342也可具有一第二开口3422以作为第一第一电性电极321与后续形成的第三电极35电连接之用。两个第四第一电性电极324分别位于第一长边B1及一第二长边B3的边界旁所裸露出的第一半导体层311之上。在本实施例中,第三第一电性电极323形成于第一短边B2之上,且第二绝缘层342也可具有一第四开口3424以作为第三第一电性电极323与后续形成的第三电极35电连接之用。第四第一电性电极324未被第二半导体层313围绕,且第二绝缘层342也可具有一第三开口3423以作为第四第一电性电极324与后续形成的第三电极35电连接之用。In this embodiment, the twofirst electrodes 321 of the first electrical type separated from each other are formed on the two corners of the first short side B2, and the second insulatinglayer 342 may also have asecond opening 3422 as thesecond opening 3422. A firstelectrical electrode 321 is used for electrical connection with thethird electrode 35 formed subsequently. The two fourth firstelectrical type electrodes 324 are respectively located on the exposedfirst semiconductor layer 311 beside the boundary between the first long side B1 and a second long side B3 . In this embodiment, the third firstelectrical type electrode 323 is formed on the first short side B2, and the second insulatinglayer 342 may also have afourth opening 3424 to serve as the third firstelectrical type electrode 323 and the subsequent The formedthird electrode 35 is used for electrical connection. The fourth firstelectrical type electrode 324 is not surrounded by thesecond semiconductor layer 313 , and the second insulatinglayer 342 may also have athird opening 3423 to serve as the fourth firstelectrical type electrode 324 and thethird electrode 35 formed subsequently. for connection.

在一实施例中,第三第一电性电极323与上述两第一第一电性电极321的距离大致相等。此外,第一第一电性电极321、第四第一电性电极324、及第三电极35可于同一制作工艺中形成。In one embodiment, the distance between the third firstelectrical type electrode 323 and the above-mentioned two first firstelectrical type electrodes 321 is substantially equal. In addition, the first firstelectrical type electrode 321 , the fourth firstelectrical type electrode 324 , and thethird electrode 35 can be formed in the same fabrication process.

在本实施例中,第一第一电性电极321于第一半导体层上311的投影可具有一图形,其中图形为一多边形、一圆形、一椭圆形、一半圆形或具有一圆弧面。第三第一电性电极323于第一半导体层上311的投影可具有一图形,其中图形为一多边形、一圆形、一椭圆形、一半圆形或具有一圆弧面。第四第一电性电极324为延伸状,可为线形、弧形、线形与弧形混合形、或可具有至少一分支。在一实施例中,第四第一电性电极324具有一头端及一尾端,且上述头端可具有一宽度大于尾端的一宽度。在一实施例中,第三第一电性电极323与第四第一电性电极324的形状不同。In this embodiment, the projection of the first firstelectrical type electrode 321 on thefirst semiconductor layer 311 may have a shape, wherein the shape is a polygon, a circle, an ellipse, a semi-circle or has an arc noodle. The projection of the third firstelectrical type electrode 323 on thefirst semiconductor layer 311 may have a figure, wherein the figure is a polygon, a circle, an ellipse, a semicircle or a circular arc surface. The fourth firstelectrical type electrode 324 is an extension shape, and can be a line shape, an arc shape, a mixed shape of a line shape and an arc shape, or can have at least one branch. In one embodiment, the fourth firstelectrical type electrode 324 has a head end and a tail end, and the head end may have a width greater than that of the tail end. In one embodiment, the shapes of the third firstelectrical type electrodes 323 and the fourth firstelectrical type electrodes 324 are different.

在一实施例中,上述第四第一电性电极324的头端指向第一短边B2且尾端指向第二短边B4。在一实施例中,此第四第一电性电极324的头端可被第三电极35所覆盖,且第四第一电性电极324的尾端不被第四电极36所覆盖。在一实施例中,上述两第四第一电性电极324的尾端延伸方向大致相互平行。在本实施例中,第三电极35于第一半导体层311上的投影面积大于第四电极36于第一半导体层311上的投影面积;且第三电极35及第四电极36于第一半导体层311上的投影面积的比值介于110~120%。In one embodiment, the head end of the fourth firstelectrical type electrode 324 points to the first short side B2 and the tail end points to the second short side B4. In one embodiment, the head end of the fourth firstelectrical type electrode 324 can be covered by thethird electrode 35 , and the tail end of the fourth firstelectrical type electrode 324 is not covered by thefourth electrode 36 . In one embodiment, the extending directions of the tail ends of the two fourth firstelectrical type electrodes 324 are substantially parallel to each other. In this embodiment, the projected area of thethird electrode 35 on thefirst semiconductor layer 311 is larger than the projected area of thefourth electrode 36 on thefirst semiconductor layer 311 ; and thethird electrode 35 and thefourth electrode 36 are on the first semiconductor layer The ratio of the projected area on thelayer 311 is between 110-120%.

图4B显示本发明第四实施例的光电元件600的上视图。本实施例其制作方法、使用材料及标号等与上述第一实施例相同,在此不再赘述。在本发明的实施例中,电极设计型态可包括电极数量、电极形状及电极位置的选择,以增进光电元件600靠近边界区域的电流散布。FIG. 4B shows a top view of thephotovoltaic element 600 according to the fourth embodiment of the present invention. The manufacturing method, used materials, and labels of this embodiment are the same as those of the above-mentioned first embodiment, and will not be repeated here. In the embodiment of the present invention, the electrode design patterns may include the selection of the number of electrodes, the shape of the electrodes, and the positions of the electrodes, so as to improve the current spreading of thephotovoltaic element 600 near the boundary region.

在本实施例中,光电元件600的四个边界形成一长方形,相邻两边界可构成一角落,且无跨越边界的导电结构。光电元件600具有一第一长边B1、一第二长边B3、一第一短边B2及一第二短边B4。在一实施例中,上述第一长边B1或第二长边B3的长度大于第一短边B2或第二短边B4。在本实施例中,第三电极35及第四电极36于第一半导体层311上的投影沿着第一长边B1或第二长边B3排列。In this embodiment, the four borders of theoptoelectronic element 600 form a rectangle, two adjacent borders may form a corner, and there is no conductive structure crossing the borders. Thephotoelectric element 600 has a first long side B1, a second long side B3, a first short side B2 and a second short side B4. In one embodiment, the length of the first long side B1 or the second long side B3 is greater than the length of the first short side B2 or the second short side B4 . In this embodiment, the projections of thethird electrode 35 and thefourth electrode 36 on thefirst semiconductor layer 311 are arranged along the first long side B1 or the second long side B3 .

在本实施例中,包含至少一个第一第一电性电极321。在一实施例中,可形成四个第一第一电性电极321于第一半导体层311的四个角落之上,且第二绝缘层342也可具有一第二开口3422以作为第一第一电性电极321与后续形成的第三电极35电连接之用。两个第二第一电性电极322形成于第一半导体层311之上,且被第二半导体层313围绕,且第二绝缘层342也可具有一第三开口3423以作为第二第一电性电极322与后续形成的第三电极35电连接之用。In this embodiment, at least onefirst electrode 321 of the first electrical type is included. In one embodiment, four first firstelectrical type electrodes 321 may be formed on the four corners of thefirst semiconductor layer 311, and the second insulatinglayer 342 may also have asecond opening 3422 as the first Anelectrical electrode 321 is used for electrical connection with the subsequently formedthird electrode 35 . Two second firstelectrical type electrodes 322 are formed on thefirst semiconductor layer 311 and surrounded by thesecond semiconductor layer 313, and the second insulatinglayer 342 may also have athird opening 3423 as the second first electrical electrode. Thesex electrode 322 is used for electrical connection with thethird electrode 35 formed later.

在本实施例中,第一第一电性电极321于第一半导体层上311的投影可具有一图形,其中图形为一多边形、一圆形、一椭圆形、一半圆形或具有一圆弧面。第二第一电性电极322于第一半导体层上311的投影可具有一图形,其中图形为一多边形、一圆形、一椭圆形、一半圆形或具有一圆弧面。在一实施例中,上述两个第二第一电性电极322于第一半导体层311上的投影形状可为相同或不同。In this embodiment, the projection of the first firstelectrical type electrode 321 on thefirst semiconductor layer 311 may have a shape, wherein the shape is a polygon, a circle, an ellipse, a semi-circle or has an arc noodle. The projection of the second firstelectrical type electrode 322 on thefirst semiconductor layer 311 may have a figure, wherein the figure is a polygon, a circle, an ellipse, a semicircle, or a circular arc surface. In one embodiment, the projected shapes of the two second firstelectrical type electrodes 322 on thefirst semiconductor layer 311 may be the same or different.

在本实施例中,第三电极35包含两个延伸部351,且上述两延伸部351可大致形成一凹口R,且第四电极36位于凹口R内。此外,第一第一电性电极321、第二第一电性电极322及第三电极35可于同一制作工艺中形成。In the present embodiment, thethird electrode 35 includes two extendingportions 351 , and the two extendingportions 351 may substantially form a recess R, and thefourth electrode 36 is located in the recess R. In addition, the first firstelectrical type electrode 321 , the second firstelectrical type electrode 322 and thethird electrode 35 can be formed in the same fabrication process.

图4C显示本发明第五实施例的光电元件700的上视图。本实施例其制作方法、使用材料及标号等与上述第一实施例相同,在此不再赘述。在本发明的实施例中,电极设计型态可包括电极数量、电极形状及电极位置的选择,以增进光电元件700靠近边界区域的电流散布。FIG. 4C shows a top view of thephotovoltaic element 700 according to the fifth embodiment of the present invention. The manufacturing method, used materials, and labels of this embodiment are the same as those of the above-mentioned first embodiment, and will not be repeated here. In the embodiment of the present invention, the electrode design pattern may include the selection of the number of electrodes, the shape of the electrodes, and the positions of the electrodes, so as to improve the current spreading of thephotovoltaic element 700 near the boundary region.

在一实施例中,光电元件700的第一半导体层311具有至少四个边界,相邻两边界可构成一角落,且无跨越边界的导电结构。在本实施例中,包含四个第一第一电性电极321,分别形成于第一半导体层311的四个角落之上,且第二绝缘层342也可具有一第二开口3422以作为第一第一电性电极321与后续形成的第三电极35电连接之用。多个第二第一电性电极322形成于第一半导体层311之上,被第二半导体层313围绕,且第二绝缘层342也可具有一第四开口3424以作为第二第一电性电极322与后续形成的第三电极35电连接之用。多个第三第一电性电极323,形成于光电元件700的边界旁所裸露出的第一半导体层311之上。换言之,第三第一电性电极323未被第二半导体层313围绕,且第一半导体层311的任一边界旁可包含一个或多个第三第一电性电极323。第二绝缘层342可具有一第三开口3423以作为第二第一电性电极322与后续形成的第三电极35电连接之用。In one embodiment, thefirst semiconductor layer 311 of theoptoelectronic device 700 has at least four borders, two adjacent borders may form a corner, and there is no conductive structure crossing the borders. In this embodiment, four first firstelectrical type electrodes 321 are included, which are respectively formed on the four corners of thefirst semiconductor layer 311, and the second insulatinglayer 342 may also have asecond opening 3422 as asecond opening 3422. A firstelectrical electrode 321 is used for electrical connection with thethird electrode 35 formed subsequently. A plurality of second firstelectrical type electrodes 322 are formed on thefirst semiconductor layer 311, surrounded by thesecond semiconductor layer 313, and the second insulatinglayer 342 may also have afourth opening 3424 as the second first electrical type Theelectrode 322 is used for electrical connection with thethird electrode 35 formed later. A plurality of third firstelectrical type electrodes 323 are formed on the exposedfirst semiconductor layer 311 beside the boundary of thephotoelectric element 700 . In other words, the third firstelectrical type electrode 323 is not surrounded by thesecond semiconductor layer 313 , and any boundary of thefirst semiconductor layer 311 may include one or more third firstelectrical type electrodes 323 . The secondinsulating layer 342 may have athird opening 3423 for electrically connecting the second firstelectrical type electrode 322 and the subsequently formedthird electrode 35 .

在本实施例中,第一第一电性电极321于第一半导体层上311的投影可具有一图形,其中图形为一多边形、一圆形、一椭圆形、一半圆形或具有一圆弧面。第二第一电性电极322于第一半导体层上311的投影可具有一图形,其中图形为一多边形、一圆形、一椭圆形、一半圆形或具有一圆弧面。在一实施例中,第二第一电性电极322的形状可为延伸状,且其延伸方向可平行于延伸部351的延伸方向。第二第一电性电极322可为线形、弧形、线形与弧形混合形、或可具有至少一分支。在一实施例中,上述多个第二第一电性电极322于第一半导体层311上的投影面积可为相同或不同。第三第一电性电极323于第一半导体层上311的投影可具有一图形,其中图形为一多边形、一圆形、一椭圆形、一半圆形或具有一圆弧面。In this embodiment, the projection of the first firstelectrical type electrode 321 on thefirst semiconductor layer 311 may have a shape, wherein the shape is a polygon, a circle, an ellipse, a semi-circle or has an arc noodle. The projection of the second firstelectrical type electrode 322 on thefirst semiconductor layer 311 may have a figure, wherein the figure is a polygon, a circle, an ellipse, a semicircle, or a circular arc surface. In one embodiment, the shape of the second firstelectrical type electrode 322 can be extended, and the extending direction thereof can be parallel to the extending direction of the extendingportion 351 . The second firstelectrical type electrode 322 may be linear, arc, a mixture of linear and arc, or may have at least one branch. In one embodiment, the projected areas of the plurality of second firstelectrical type electrodes 322 on thefirst semiconductor layer 311 may be the same or different. The projection of the third firstelectrical type electrode 323 on thefirst semiconductor layer 311 may have a figure, wherein the figure is a polygon, a circle, an ellipse, a semicircle or a circular arc surface.

在本实施例中,第三电极35包含三个延伸部351,且上述三个延伸部351可大致形成两凹口R,且两个第四电极36可形成于上述两个凹口R内。在本实施例中,至少一第二第一电性电极322可形成于上述延伸部351之中。In this embodiment, thethird electrode 35 includes three extendingportions 351 , and the three extendingportions 351 may substantially form two notches R, and the twofourth electrodes 36 may be formed in the two notches R. In this embodiment, at least one second firstelectrical type electrode 322 may be formed in the above-mentionedextension portion 351 .

在一实施例中,上述第一第一电性电极321、第二第一电性电极322、第三第一电性电极323于第一半导体层311上的投影形状也可为相同或不同。此外,第一第一电性电极321、第二第一电性电极322、第三第一电性电极323及第三电极35也可于同一制作工艺中形成。In one embodiment, the projection shapes of the first firstelectrical type electrode 321 , the second firstelectrical type electrode 322 , and the third firstelectrical type electrode 323 on thefirst semiconductor layer 311 can also be the same or different. In addition, the first firstelectrical type electrode 321 , the second firstelectrical type electrode 322 , the third firstelectrical type electrode 323 and thethird electrode 35 can also be formed in the same manufacturing process.

图4D显示本发明第六实施例的光电元件700’的上视图。本实施例为第五实施例的可能变化例,其制作方法、使用材料、电极设计及标号等与上述第五实施例相同,在此不再赘述。Figure 4D shows a top view of a photovoltaic element 700' according to the sixth embodiment of the present invention. This embodiment is a possible variation of the fifth embodiment, and its fabrication method, materials used, electrode design, and labels are the same as those of the fifth embodiment described above, and will not be repeated here.

在本实施例中,光电元件700’的第二绝缘层342具有多个第一开口3421’以作为第二电性电极33与后续形成的第四电极36电连接之用。在本实施例中,第二绝缘层342具有多个第一开口3421可以减少第三电极35及第四电极36高度的差异,减少后续与载板或电路元件形成倒装式结构的断线机率,进而增加产品良率。In this embodiment, the second insulatinglayer 342 of the optoelectronic element 700' has a plurality of first openings 3421' for electrically connecting the secondelectrical type electrode 33 and the subsequently formedfourth electrode 36. In this embodiment, the second insulatinglayer 342 has a plurality offirst openings 3421 to reduce the height difference between thethird electrode 35 and thefourth electrode 36 , thereby reducing the probability of disconnection in the subsequent flip-chip structure formed with the carrier board or circuit element , thereby increasing the product yield.

图5A至图5C绘示出一发光模块示意图,图5A显示一发光模块外部透视图,一发光模块800可包含一载体502,一光电元件(未显示),多个透镜504、506、508及510,及两电源供应终端512及514。此发光模块800可连接于之后描述的发光单元540。5A to 5C are schematic diagrams of a light emitting module, and FIG. 5A shows an external perspective view of a light emitting module. Alight emitting module 800 may include acarrier 502, a photoelectric element (not shown), a plurality oflenses 504, 506, 508 and 510, and twopower supply terminals 512 and 514. Thelight emitting module 800 can be connected to thelight emitting unit 540 described later.

图5B-图5C图显示一发光模块800的剖面图,其中图5C是图5B的E区的放大图。载体502可包含一上载体503及下载体501,其中下载体501的一表面可与上载体503接触。透镜504及508形成在上载体503之上。上载体503可形成至少一通孔515,而依本发明实施例形成的光电元件300或其他实施例的光电元件(图未示)可形成在上述通孔515中并与下载体501接触,且被胶材521围绕。胶材521之上具有一透镜508,其中胶材521的材料可为硅胶树脂、环氧树脂或其他材料。在一实施例中,通孔515的两侧壁之上可形成一反射层519以增加出光效率;下载体501的下表面可形成一金属层517以增进散热效率。5B-5C show cross-sectional views of alight emitting module 800, wherein FIG. 5C is an enlarged view of the E region of FIG. 5B. Thecarrier 502 can include anupper carrier 503 and alower carrier 501 , wherein a surface of thelower carrier 501 can be in contact with theupper carrier 503 .Lenses 504 and 508 are formed on theupper carrier 503 . Theupper carrier 503 can form at least one throughhole 515, and theoptoelectronic element 300 formed according to the embodiment of the present invention or the optoelectronic element of other embodiments (not shown) can be formed in the throughhole 515 and contact with thelower carrier 501, and be Theglue material 521 surrounds. There is alens 508 on theglue material 521, wherein the material of theglue material 521 can be silicone resin, epoxy resin or other materials. In one embodiment, areflective layer 519 can be formed on the two sidewalls of the throughhole 515 to increase the light extraction efficiency; ametal layer 517 can be formed on the lower surface of thecarrier 501 to improve the heat dissipation efficiency.

图6A-图6B绘示出一光源产生装置示意图900,一光源产生装置900可包含一发光模块800、一发光单元540、一电源供应系统(未显示)以供应发光模块800一电流、以及一控制元件(未显示),用以控制电源供应系统(未显示)。光源产生装置900可以是一照明装置,例如路灯、车灯或室内照明光源,也可以是交通号志或一平面显示器中背光模块的一背光光源。6A-6B illustrate a schematic diagram 900 of a light source generating device. A lightsource generating device 900 may include alight emitting module 800, alight emitting unit 540, a power supply system (not shown) for supplying a current to thelight emitting module 800, and a A control element (not shown) for controlling the power supply system (not shown). The lightsource generating device 900 can be a lighting device, such as a street lamp, a vehicle lamp or an indoor lighting source, or a traffic sign or a backlight source of a backlight module in a flat panel display.

图7绘示一灯泡示意图。灯泡1000包括一个外壳921,一透镜922,一照明模块924,一支架925,一散热器926,一串接部927及一电串接器928。其中照明模块924包括一载体923,并在载体923上包含至少一个上述实施例中的光电元件300或其他实施例的光电元件(图未示)。FIG. 7 is a schematic diagram of a light bulb. Thebulb 1000 includes ahousing 921 , alens 922 , alighting module 924 , abracket 925 , aheat sink 926 , aseries connection portion 927 and anelectrical series connector 928 . Thelighting module 924 includes acarrier 923, and thecarrier 923 includes at least oneoptoelectronic element 300 in the above embodiment or an optoelectronic element in other embodiments (not shown).

具体而言,基板30为一成长及/或承载基础。候选材料可包含导电基板或不导电基板、透光基板或不透光基板。其中导电基板材料其一可为锗(Ge)、砷化镓(GaAs)、铟化磷(InP)、碳化硅(SiC)、硅(Si)、铝酸锂(LiAlO2)、氧化锌(ZnO)、氮化镓(GaN)、氮化铝(AlN)、金属。透光基板材料其一可为蓝宝石(Sapphire)、铝酸锂(LiAlO2)、氧化锌(ZnO)、氮化镓(GaN)、玻璃、钻石、CVD钻石、与类钻碳(Diamond-Like Carbon;DLC)、尖晶石(spinel,MgAl2O4)、氧化铝(Al2O3)、氧化硅(SiOX)及镓酸锂(LiGaO2)。Specifically, thesubstrate 30 is a growth and/or carrying base. Candidate materials may include conductive or non-conductive substrates, light transmissive or opaque substrates. One of the conductive substrate materials can be germanium (Ge), gallium arsenide (GaAs), indium phosphorus (InP), silicon carbide (SiC), silicon (Si), lithium aluminate (LiAlO2 ), zinc oxide (ZnO) ), Gallium Nitride (GaN), Aluminum Nitride (AlN), Metals. One of the transparent substrate materials can be sapphire (Sapphire), lithium aluminate (LiAlO2 ), zinc oxide (ZnO), gallium nitride (GaN), glass, diamond, CVD diamond, and diamond-like carbon (Diamond-Like Carbon). DLC), spinel (spinel, MgAl2 O4 ), aluminum oxide (Al2 O3 ), silicon oxide (SiOX ) and lithium gallate (LiGaO2 ).

外延叠层31包含第一半导体层311,一活性层312,以及一第二半导体层313。第一半导体层311及第二半导体层313例如为包覆层(cladding layer)或限制层(confinementlayer),可为一单层或多层结构。上述第一半导体层311与第二半导体层313电性、极性或掺杂物相异,其电性选择可以为p型、n型、及i型中至少任意二者的组合,可分别提供电子、空穴,使电子、空穴于活性层312中结合以发光。第一半导体层311、活性层312,以及第二半导体层313的材料可包含Ⅲ-Ⅴ族半导体材料,例如AlxInyGa(1-x-y)N或AlxInyGa(1-x-y)P,其中0≦x,y≦1;(x+y)≦1。依据活性层312的材料,外延叠层可发出波长介于610nm及650nm之间的红光,波长介于530nm及570nm之间的绿光,波长介于450nm及490nm之间的蓝光,或是波长小于400nm的紫外光。Theepitaxial stack 31 includes afirst semiconductor layer 311 , anactive layer 312 , and asecond semiconductor layer 313 . Thefirst semiconductor layer 311 and thesecond semiconductor layer 313 are, for example, a cladding layer or a confinement layer, which can be a single-layer or multi-layer structure. Thefirst semiconductor layer 311 and thesecond semiconductor layer 313 are different in electrical properties, polarities or dopants, and their electrical properties can be a combination of at least any two of p-type, n-type, and i-type, which can be provided separately. Electrons and holes are combined in theactive layer 312 to emit light. Materials of thefirst semiconductor layer 311, theactive layer 312, and thesecond semiconductor layer 313 may include III-V semiconductor materials, such asAlxInyGa (1-xy) N orAlxInyGa (1-xy) P, where 0≦x, y≦1; (x+y)≦1. Depending on the material of theactive layer 312, the epitaxial stack can emit red light with wavelengths between 610 nm and 650 nm, green light with wavelengths between 530 nm and 570 nm, blue light with wavelengths between 450 nm and 490 nm, or Ultraviolet light less than 400nm.

在本发明的另一实施例中,光电元件300、400、500、600、700、700’可为一外延元件或一发光二极管,其发光频谱可以通过改变外延叠层单层或多层的物理或化学要素进行调整。此单层或多层的外延叠层材料可选自铝(Al)、镓(Ga)、铟(In)、磷(P)、氮(N)、锌(Zn)以及氧(O)所构成群组。活性层312的结构如:单异质结构(single heterostructure;SH)、双异质结构(double heterostructure;DH)、双侧双异质结构(double-side doubleheterostructure;DDH)、或多层量子阱(multi-quantum well;MQW)结构。再者,调整活性层312量子阱的对数也可以改变发光波长。In another embodiment of the present invention, theoptoelectronic element 300, 400, 500, 600, 700, 700' can be an epitaxial element or a light emitting diode, and its emission spectrum can be changed by changing the physical properties of the epitaxial single layer or multiple layers. or chemical elements to adjust. The single-layer or multi-layer epitaxial stack material can be selected from aluminum (Al), gallium (Ga), indium (In), phosphorus (P), nitrogen (N), zinc (Zn) and oxygen (O). group. The structure of theactive layer 312 is, for example, a single heterostructure (SH), a double heterostructure (DH), a double-side doubleheterostructure (DDH), or a multilayer quantum well ( multi-quantum well; MQW) structure. Furthermore, the emission wavelength can also be changed by adjusting the logarithm of the quantum wells in theactive layer 312 .

在本发明的一实施例中,第一半导体层311与基板30间尚可选择性地包含一缓冲层(buffer layer,未显示)。此缓冲层介于二种材料系统之间,使基板30的材料系统“过渡”至第一半导体层311的材料系统。对发光二极管的结构而言,一方面,缓冲层用以降低二种材料间晶格不匹配的材料层。另一方面,缓冲层也可以是用以结合二种材料或二个分离结构的单层、多层或结构,其可选用的材料如:有机材料、无机材料、金属、及半导体等;其可选用的结构如:反射层、导热层、导电层、欧姆接触(ohmic contact)层、抗形变层、应力释放(stress release)层、应力调整(stress adjustment)层、接合(bonding)层、波长转换层、及机械固定构造等。在一实施例中,此缓冲层的材料可选自氮化铝或氮化镓,且此缓冲层可由溅镀或原子层沉积(Atomic Layer Deposition,ALD)的方式形成。In an embodiment of the present invention, a buffer layer (not shown) may be optionally included between thefirst semiconductor layer 311 and thesubstrate 30 . The buffer layer is between the two material systems, and the material system of thesubstrate 30 "transitions" to the material system of thefirst semiconductor layer 311 . For the structure of the light emitting diode, on the one hand, the buffer layer is used to reduce the lattice mismatch between the two materials. On the other hand, the buffer layer can also be a single layer, a multi-layer or a structure for combining two materials or two separate structures, and the optional materials are: organic materials, inorganic materials, metals, and semiconductors, etc.; Selected structures such as: reflective layer, thermally conductive layer, conductive layer, ohmic contact layer, anti-deformation layer, stress release layer, stress adjustment layer, bonding layer, wavelength conversion layers, and mechanical fixing structures, etc. In one embodiment, the material of the buffer layer can be selected from aluminum nitride or gallium nitride, and the buffer layer can be formed by sputtering or atomic layer deposition (ALD).

第二半导体层313与第二电性电极33之间更可选择性地形成一接触层(未显示)。具体而言,接触层可以为光学层、电学层、或其二者的组合。光学层可以改变来自于或进入活性层的电磁辐射或光线。在此所称的「改变」指改变电磁辐射或光的至少一种光学特性,前述特性包含但不限于频率、波长、强度、通量、效率、色温、演色性(rendering index)、光场(light field)、及可视角(angle of view)。电学层可以使得接触层的任一组相对侧间的电压、电阻、电流、电容中至少其一的数值、密度、分布发生变化或有发生变化的趋势。接触层的构成材料包含氧化物、导电氧化物、透明氧化物、具有50%或以上穿透率的氧化物、金属、相对透光金属、具有50%或以上穿透率的金属、有机质、无机质、荧光物、磷光物、陶瓷、半导体、掺杂的半导体、及无掺杂的半导体中至少其一。在某些应用中,接触层的材料为氧化铟锡、氧化镉锡、氧化锑锡、氧化铟锌、氧化锌铝、与氧化锌锡中至少其一。若为相对透光金属,其厚度较佳地约为0.005μm~0.6μm。A contact layer (not shown) can be selectively formed between thesecond semiconductor layer 313 and the secondelectrical type electrode 33 . Specifically, the contact layer may be an optical layer, an electrical layer, or a combination of the two. The optical layer can alter electromagnetic radiation or light from or into the active layer. "Modifying" as used herein refers to changing at least one optical property of electromagnetic radiation or light, including but not limited to frequency, wavelength, intensity, flux, efficiency, color temperature, rendering index, light field ( light field), and the angle of view. The electrical layer can cause the value, density, and distribution of at least one of voltage, resistance, current, and capacitance between any set of opposite sides of the contact layer to change or have a tendency to change. The constituent materials of the contact layer include oxides, conductive oxides, transparent oxides, oxides with a transmittance of 50% or more, metals, relatively light-transmitting metals, metals with a transmittance of 50% or more, organic substances, inorganic materials at least one of a substance, a phosphor, a phosphor, a ceramic, a semiconductor, a doped semiconductor, and an undoped semiconductor. In some applications, the material of the contact layer is at least one of indium tin oxide, cadmium tin oxide, antimony tin oxide, indium zinc oxide, zinc aluminum oxide, and zinc tin oxide. If it is a relatively light-transmitting metal, its thickness is preferably about 0.005 μm to 0.6 μm.

以上各附图与说明虽仅分别对应特定实施例,然而,各个实施例中所说明或公开的元件、实施方式、设计准则、及技术原理除在彼此显相冲突、矛盾、或难以共同实施之外,吾人当可依其所需任意参照、交换、搭配、协调、或合并。虽然本发明已说明如上,然而其并非用以限制本发明的范围、实施顺序、或使用的材料与制作工艺方法。对于本发明所作的各种修饰与变更,都不脱离本发明的精神与范围。Although the above drawings and descriptions only correspond to specific embodiments, the elements, implementations, design criteria, and technical principles described or disclosed in each embodiment are in conflict with each other, contradict each other, or are difficult to implement together. In addition, we shall be free to refer to, exchange, collocate, coordinate, or combine as desired. Although the present invention has been described above, it is not intended to limit the scope of the present invention, the order of implementation, or the materials and fabrication methods used. Various modifications and changes made to the present invention do not depart from the spirit and scope of the present invention.

Claims (15)

CN201410327049.8A2014-07-102014-07-10 Photoelectric element and method of manufacturing the sameActiveCN105322066B (en)

Priority Applications (2)

Application NumberPriority DateFiling DateTitle
CN201410327049.8ACN105322066B (en)2014-07-102014-07-10 Photoelectric element and method of manufacturing the same
CN202011253368.0ACN112510131B (en)2014-07-102014-07-10 Photoelectric element and method for manufacturing the same

Applications Claiming Priority (1)

Application NumberPriority DateFiling DateTitle
CN201410327049.8ACN105322066B (en)2014-07-102014-07-10 Photoelectric element and method of manufacturing the same

Related Child Applications (1)

Application NumberTitlePriority DateFiling Date
CN202011253368.0ADivisionCN112510131B (en)2014-07-102014-07-10 Photoelectric element and method for manufacturing the same

Publications (2)

Publication NumberPublication Date
CN105322066A CN105322066A (en)2016-02-10
CN105322066Btrue CN105322066B (en)2020-11-27

Family

ID=55249062

Family Applications (2)

Application NumberTitlePriority DateFiling Date
CN201410327049.8AActiveCN105322066B (en)2014-07-102014-07-10 Photoelectric element and method of manufacturing the same
CN202011253368.0AActiveCN112510131B (en)2014-07-102014-07-10 Photoelectric element and method for manufacturing the same

Family Applications After (1)

Application NumberTitlePriority DateFiling Date
CN202011253368.0AActiveCN112510131B (en)2014-07-102014-07-10 Photoelectric element and method for manufacturing the same

Country Status (1)

CountryLink
CN (2)CN105322066B (en)

Citations (4)

* Cited by examiner, † Cited by third party
Publication numberPriority datePublication dateAssigneeTitle
CN102122694A (en)*2010-01-072011-07-13首尔Opto仪器股份有限公司Light emitting diode having electrode pads
CN102169940A (en)*2010-02-172011-08-31丰田合成株式会社Semiconductor light-emitting element
CN103500790A (en)*2013-10-082014-01-08杭州士兰明芯科技有限公司Flip high-voltage light-emitting diode (LED) chip structure and manufacturing method thereof
CN103794695A (en)*2014-02-252014-05-14深圳市兆明芯科技控股有限公司Flip chip type light-emitting diode (LED) chip

Family Cites Families (4)

* Cited by examiner, † Cited by third party
Publication numberPriority datePublication dateAssigneeTitle
JP3941464B2 (en)*2001-11-062007-07-04日亜化学工業株式会社 Manufacturing method of nitride semiconductor light emitting device
CN102779918B (en)*2007-02-012015-09-02日亚化学工业株式会社Semiconductor light-emitting elements
KR101204430B1 (en)*2011-01-112012-11-26갤럭시아포토닉스 주식회사Light emitting diode having bonding pads formed on recess region and light emitting diode package
CN103346218B (en)*2013-07-092016-03-23佛山市国星半导体技术有限公司A kind of LED chip and preparation method thereof

Patent Citations (4)

* Cited by examiner, † Cited by third party
Publication numberPriority datePublication dateAssigneeTitle
CN102122694A (en)*2010-01-072011-07-13首尔Opto仪器股份有限公司Light emitting diode having electrode pads
CN102169940A (en)*2010-02-172011-08-31丰田合成株式会社Semiconductor light-emitting element
CN103500790A (en)*2013-10-082014-01-08杭州士兰明芯科技有限公司Flip high-voltage light-emitting diode (LED) chip structure and manufacturing method thereof
CN103794695A (en)*2014-02-252014-05-14深圳市兆明芯科技控股有限公司Flip chip type light-emitting diode (LED) chip

Also Published As

Publication numberPublication date
CN105322066A (en)2016-02-10
CN112510131B (en)2024-09-13
CN112510131A (en)2021-03-16

Similar Documents

PublicationPublication DateTitle
US12218279B2 (en)Optoelectronic device and method for manufacturing the same
JP6636237B2 (en) Photoelectric components
CN111599832A (en) Photoelectric element and method of manufacturing the same
CN103943748B (en)Light emitting element
CN105322066B (en) Photoelectric element and method of manufacturing the same
TWI758603B (en)Optoelectronic device and method for manufacturing the same
TWI787987B (en)Optoelectronic device
TWI790911B (en)Optoelectronic device
TWI842276B (en)Optoelectronic device
TWI790912B (en)Optoelectronic device
JP7361168B2 (en) photoelectric parts
TWI883921B (en)Optoelectronic device
KR102631848B1 (en)Optoelectronic device
JP6942780B2 (en) Photoelectric parts
TWI662720B (en)Optoelectronic device and method for manufacturing the same
KR102331621B1 (en)Optoelectronic device
KR102146966B1 (en)Optoelectronic device
KR102059974B1 (en)Optoelectronic device
KR101974976B1 (en)Optoelectronic device and method for manufacturing the same
TWI659545B (en)Light-emitting device

Legal Events

DateCodeTitleDescription
C06Publication
PB01Publication
SE01Entry into force of request for substantive examination
SE01Entry into force of request for substantive examination
GR01Patent grant
GR01Patent grant

[8]ページ先頭

©2009-2025 Movatter.jp