











技术领域technical field
本发明的红外挑选装置和红外挑选方法,涉及红外检测的应用领域。 The infrared selection device and the infrared selection method of the present invention relate to the application field of infrared detection. the
背景技术Background technique
自热像检测技术应用以来,使用者一直困惑于对正确拍摄部位、拍摄角度下被摄体成像形态的认知和拍摄距离的控制,这些取决于使用者的主观意念和经验,导致目前如果要确保检测的质量则需边拍摄边思考,拍摄速度很慢,如果加快速度则易遗漏关键拍摄部位或被摄体缺陷,影响状态评估的效果。通常需要数年的实践积累,使用者才能达到较高的检测水平。 Since the application of thermal image detection technology, users have been confused about the cognition of the correct shooting position, the imaging form of the subject under the shooting angle, and the control of the shooting distance. These depend on the user's subjective ideas and experience. To ensure the quality of the inspection, you need to think while shooting. The shooting speed is very slow. If you speed up, it is easy to miss key shooting parts or object defects, which will affect the effect of status evaluation. It usually takes several years of practice accumulation before the user can reach a higher detection level. the
本领域的技术人员一直在试图解决这个问题,存在这样的技术,将体现了被摄体预定形态特征的参考图像与拍摄获得的红外热像进行连续重叠显示,使用者以该参考图像作为拍摄被摄体热像的视觉参照,进行被摄体的拍摄,来确保被摄体热像在红外热像中的位置、尺寸和被摄体热像的形态特征的正确,以保证了拍摄的质量。例如专利文献申请号:201210008404.6公开了这样的热像拍摄装置。 Those skilled in the art have been trying to solve this problem. There is such a technology that continuously overlaps and displays the reference image that reflects the predetermined morphological characteristics of the object and the infrared thermal image obtained by shooting. The visual reference of the thermal image of the subject is used to shoot the subject to ensure that the position and size of the thermal image of the subject in the infrared thermal image and the morphological characteristics of the thermal image of the subject are correct, so as to ensure the quality of the shooting. For example, the patent document application number: 201210008404.6 discloses such a thermal imaging device. the
然而,上述方式需要使用者通过视觉人工来判断参考图像和被摄体热像的匹配程度,使用者容易产生视觉上的疲劳;当使用的是手持的热像装置时,对准拍摄的操作容易疲劳,反复的瞄准延长的拍摄的时间,并影响了拍摄的热像质量。并且,这种方式操作呆板,对拍摄对准的要求高。 However, the above method requires the user to visually judge the matching degree of the reference image and the thermal image of the subject, and the user is prone to visual fatigue; when using a handheld thermal imaging device, the operation of aligning and shooting is easy Fatigue, repeated aiming prolongs the shooting time and affects the quality of the thermal image captured. Moreover, this method is rigid in operation and has high requirements for shooting alignment. the
因此,所理解需要一种红外挑选装置,其能解决现有技术问题。 Accordingly, there is an understood need for an infrared selection device that solves the problems of the prior art. the
发明内容Contents of the invention
本发明提供一种红外挑选装置和红外挑选方法,在红外热像中显示参考图像,并能自动检测出所获取的热像数据帧中特定被摄体热像的位置、尺寸、倾斜角度、相关度的值等规定信息,或还考虑辅助信息的因素,以此自动选择符合规定条件的热像数据帧,以利于进一步进行通知、分析、存储等处理或操作。从而使拍摄的操作简单,拍摄速度快,热像质量高。 The invention provides an infrared selection device and an infrared selection method, which can display reference images in infrared thermal images, and can automatically detect the position, size, inclination angle, and correlation degree of a specific subject's thermal image in the acquired thermal image data frame The value and other specified information, or also consider the factors of auxiliary information, so as to automatically select the thermal image data frame that meets the specified conditions, so as to facilitate further processing or operations such as notification, analysis, and storage. Therefore, the shooting operation is simple, the shooting speed is fast, and the thermal image quality is high. the
为此,本发明采用以下技术方案,红外挑选装置,包括,拍摄部,用于连续拍摄获取热像数据帧;热像存储部,用于存储连续获取的多帧热像数据帧;显示控制部,用于控制使显示基于所获取的热像数据帧获得的动态的红外热像和参考图像;检测部,基于热像存储部中存储的多帧热像数据帧,检测与特定被摄体热像有关的规定信息;比较部,用于基于检测部检测获得的规定信息和/或基于检测获得的规定信息而得到的评价值,与规定的对比值进行比较;选择部,基于比较部的比较结果,选择与规定的热像数据帧有关的特定信息。 For this reason, the present invention adopts the following technical solutions, the infrared selection device includes a shooting unit, which is used to continuously shoot and obtain thermal image data frames; a thermal image storage unit, which is used to store continuously acquired multiple frames of thermal image data frames; a display control unit , used to control the display of dynamic infrared thermal images and reference images obtained based on the acquired thermal image data frames; the detection unit detects thermal images related to specific objects based on multiple frames of thermal image data frames stored in the thermal image storage unit Like the relevant specified information; the comparison part is used to compare the specified information obtained based on the detection part and/or the evaluation value obtained based on the specified information obtained by the detection with the specified comparison value; the selection part is based on the comparison of the comparison part As a result, specific information related to the specified frame of thermal imaging data is selected. the
也可采用以下技术方案,红外挑选装置,包括,获取部,用于连续获取热像数据帧;热像存储部,用于存储连续获取的多帧热像数据帧;显示控制部,用于控制使显示基于所获取的热像数据帧获得的动态的红外热像和参考图像;检测部,用于基于热像存储部中存储的多帧热像数据帧,检测与特定被摄体热像有关的规定信息;比较部,用于基于检测部检测获得的规定信息和/或基于检测获得的规定信息而得到的评价值,与规定的对比值进行比较;选择部,基于比较部的比较结果,选择与规定的热像数据帧有关的特定信息。 The following technical solutions can also be adopted. The infrared selection device includes an acquisition unit for continuously acquiring thermal image data frames; a thermal image storage unit for storing continuously acquired multiple frames of thermal image data frames; a display control unit for controlling The dynamic infrared thermal image and the reference image obtained based on the acquired thermal image data frame are displayed; the detection part is used to detect the thermal image related to the specific object based on the multiple frames of thermal image data frames stored in the thermal image storage part. the specified information; the comparison part is used to compare the specified information obtained by the detection part and/or the evaluation value obtained based on the specified information obtained by the detection with the specified comparison value; the selection part is based on the comparison result of the comparison part, Select specific information related to a specified frame of thermal image data. the
本发明的红外挑选方法,包括,拍摄步骤,用于连续拍摄获取热像数据帧;热像存储步骤,用于存储连续获取的多帧热像数据帧;显示控制步骤,用于控制使显示基于所获取的热像数据帧获得的动态的红外热像和参考图像;检测步骤,基于热像存储步骤中存储的多帧热像数据帧,检测与特定被摄体热像有关的规定信息;比较步骤,用于基于检测步骤检测获得 的规定信息和/或基于检测获得的规定信息而得到的评价值,与规定的对比值进行比较;选择步骤,基于比较步骤的比较结果,选择与规定的热像数据帧有关的特定信息。 The infrared selection method of the present invention includes a shooting step for continuously shooting and obtaining thermal image data frames; a thermal image storage step for storing continuously acquired multiple frames of thermal image data frames; a display control step for controlling the display based on A dynamic infrared thermal image and a reference image obtained from the acquired thermal image data frame; the detection step is based on the multi-frame thermal image data frames stored in the thermal image storage step, detecting specified information related to the thermal image of a specific subject; comparing The step is used to compare the specified information obtained based on the detection step and/or the evaluation value obtained based on the specified information obtained by the detection with the specified comparison value; the selection step is to select the specified thermal value based on the comparison result of the comparison step. Like specific information about the data frame. the
也可采用以下技术方案,红外挑选方法,包括,获取步骤,用于连续获取热像数据帧;热像存储步骤,用于存储连续获取的多帧热像数据帧;显示控制步骤,用于控制使显示基于所获取的热像数据帧获得的动态的红外热像和参考图像;检测步骤,用于基于热像存储步骤中存储的多帧热像数据帧,检测与特定被摄体热像有关的规定信息;比较步骤,用于基于检测步骤检测获得的规定信息和/或基于检测获得的规定信息而得到的评价值,与规定的对比值进行比较;选择步骤,基于比较步骤的比较结果,选择与规定的热像数据帧有关的特定信息。 The following technical solutions can also be adopted, the infrared selection method includes an acquisition step for continuously acquiring thermal image data frames; a thermal image storage step for storing continuously acquired multiple frames of thermal image data frames; a display control step for controlling The dynamic infrared thermal images and reference images obtained based on the acquired thermal image data frames are displayed; the detection step is used to detect the thermal images related to the specific subject based on the multiple frames of thermal image data frames stored in the thermal image storage step The specified information; the comparison step is used to compare the specified information obtained based on the detection step and/or the evaluation value obtained based on the specified information obtained by the detection with the specified comparison value; the selection step is based on the comparison result of the comparison step, Select specific information related to a specified frame of thermal image data. the
也可采用以下技术方案,红外挑选方法,包括,拍摄步骤,用于连续拍摄获取热像数据帧;热像存储步骤,用于存储连续获取的多帧热像数据帧;显示控制步骤,用于控制使显示基于所获取的热像数据帧获得的动态的红外热像和参考图像;检测步骤,用于基于热像存储步骤中存储的多帧热像数据帧,检测与特定被摄体热像有关的规定信息;比较步骤,用于基于检测步骤检测获得的规定信息和/或基于检测获得的规定信息而得到的评价值,对多个热像数据帧进行比较;选择步骤,基于比较步骤的比较结果,选择与规定的热像数据帧有关的特定信息。 The following technical solutions can also be adopted, the infrared selection method, including the shooting step, which is used to continuously shoot and obtain thermal image data frames; the thermal image storage step, which is used to store continuously acquired multiple frames of thermal image data frames; the display control step, which is used to Controlling the display of dynamic infrared thermal images and reference images based on the acquired thermal image data frames; the detection step is used to detect the thermal image of a specific object based on the multiple frames of thermal image data frames stored in the thermal image storage step Relevant specified information; the comparison step is used to compare multiple thermal image data frames based on the specified information obtained by the detection step and/or the evaluation value obtained based on the specified information obtained by the detection; the selection step is based on the comparison step. The results are compared and specific information related to the specified frame of thermal imaging data is selected. the
也可采用以下技术方案,红外挑选方法,包括,获取步骤,用于连续获取热像数据帧;热像存储步骤,用于存储所述获取步骤连续获取的多帧热像数据帧;显示控制步骤,用于控制使显示基于所获取的热像数据帧获得的动态的红外热像和参考图像;检测步骤,用于基于热像存储步骤中存储的多帧热像数据帧,检测与特定被摄体热像有关的规定信息;比较步骤,用于基于检测步骤检测获得的规定信息和/或基于检测获得的规定信息而得到的评价值,对多个热像数据帧进行比较;选择步骤,基于比较步骤的比较结果,选择与规定的热像数据帧有关的特定信息。 The following technical solutions can also be adopted, the infrared selection method, including an acquisition step for continuously acquiring thermal image data frames; a thermal image storage step for storing multiple frames of thermal image data frames continuously acquired by the acquisition step; a display control step , used to control the display of dynamic infrared thermal images and reference images obtained based on the acquired thermal image data frames; the detection step is used to detect the specific subject based on the multiple frames of thermal image data frames stored in the thermal image storage step The specified information related to the body thermal image; the comparison step is used to compare multiple thermal image data frames based on the specified information obtained by the detection step and/or the evaluation value obtained based on the specified information obtained by the detection; the selection step is based on As a result of the comparison of the comparison step, specific information related to the specified thermal image data frame is selected. the
本发明的其他方面和优点将通过下面的说明书进行阐述。 Other aspects and advantages of the invention will be set forth in the following description. the
附图说明:Description of drawings:
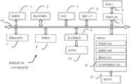
图1是表示本发明的实施例1的热像装置100的概略构成的框图。 FIG. 1 is a block diagram showing a schematic configuration of a thermal imaging device 100 according to Embodiment 1 of the present invention. the
图2是实施例1的热像装置100的外型图。 FIG. 2 is an external view of the thermal imaging device 100 of the first embodiment. the
图3是实施例1存储介质中存储的被摄体信息、被摄体识别信息等的示意图。 FIG. 3 is a schematic diagram of subject information, subject identification information, and the like stored in a storage medium in Embodiment 1. FIG. the
图4是不同参数的检测窗口的示意图。 Figure 4 is a schematic diagram of the detection window for different parameters. the
图5是检测区域中设置检测窗口进行检测的示意图。 Fig. 5 is a schematic diagram of setting a detection window in the detection area for detection. the
图6是实施例1的控制处理的显示界面的显示例。 FIG. 6 is a display example of a display interface of the control process of the first embodiment. the
图7是表示本发明的实施例2的热像装置100的概略构成的框图。 FIG. 7 is a block diagram showing a schematic configuration of a thermal imaging device 100 according to
图8是表示实施例1的控制流程图。 FIG. 8 is a control flowchart showing the first embodiment. the
图9是表示实施例2的控制流程图。 Fig. 9 is a control flow diagram showing the second embodiment. the
图10是实施例2的处理过程的显示界面的显示例。 Fig. 10 is a display example of a display interface of the processing procedure of the second embodiment. the
图11-12是表示实施例3的控制流程图。 11-12 are control flowcharts showing the third embodiment. the
图13是实施例3的控制处理的显示界面的显示例。 FIG. 13 is a display example of a display screen of the control process of the third embodiment. the
具体实施方式Detailed ways
现在将根据附图详细说明本发明的典型实施例。注意,以下要说明的实施例用于更好地理解本发明,所以不限制本发明的范围,并且可以改变本发明的范围内的各种形式。而且, 虽然本发明在以下实施例中用于手持式的热像拍摄设备,但对于本发明来说拍摄功能不是必须的,可以使用要进行特定被摄体热像检测的任意热像数据源。因此本发明广泛用于接收和处理热像的热像处理设备。所述热像处理设备包括如个人计算机、个人数字助理等各种装置。 Exemplary embodiments of the present invention will now be described in detail with reference to the accompanying drawings. Note that the examples to be described below are for better understanding of the present invention, so do not limit the scope of the present invention, and various forms may be changed within the scope of the present invention. Moreover, although the present invention is used in a handheld thermal image shooting device in the following embodiments, the shooting function is not necessary for the present invention, and any thermal image data source for thermal image detection of a specific object can be used. Therefore, the present invention is widely used in thermal image processing equipment for receiving and processing thermal images. The thermal image processing equipment includes various devices such as personal computers and personal digital assistants. the
实施例1 Example 1
实施方式1的热像装置100(红外挑选装置100)基于由拍摄部1拍摄获得的热像数据帧并存储在临时存储部2中的多帧热像数据帧,根据规定的指示,检测临时存储部2中存储的多帧热像数据帧与被摄体识别信息之间的相关度等,基于比较结果,来选择热像数据帧有关的特定信息。 The thermal imaging device 100 (infrared selection device 100 ) of Embodiment 1 is based on the multiple frames of thermal image data frames captured by the imaging unit 1 and stored in the
图1是表示本发明的实施例1的红外挑选装置100的示例的的热像装置100的概略构成的框图。 FIG. 1 is a block diagram showing a schematic configuration of an example thermal imaging device 100 of an infrared selection device 100 according to Embodiment 1 of the present invention. the
具体而言,热像装置100具有拍摄部1、临时存储部2、闪存3、通信I/F4、存储卡I/F5、存储卡6、图像处理部7、检测部8、显示控制部9、显示部10,控制部11、操作部12、控制部11通过控制与数据总线13与上述相应部分进行连接,负责热像装置100的总体控制。 Specifically, the thermal imaging device 100 has a photographing unit 1, a
拍摄部1由未图示的光学部件、镜头驱动部件、红外探测器、信号预处理电路等构成。光学部件由红外光学透镜组成,用于将接收的红外辐射聚焦到红外探测器。镜头驱动部件根据控制部11的控制信号驱动透镜来执行聚焦或变焦操作。此外,也可为手动调节的光学部件。红外探测器如制冷或非制冷类型的红外焦平面探测器,把通过光学部件的红外辐射转换为电信号。信号预处理电路包括采样电路、AD转换电路、定时触发电路等,将从红外探测器输出的电信号在规定的周期内进行取样等信号处理,经AD转换电路转换为数字的热像信号,该热像信号例如为14位或16位的二进制数据(又称为热像AD值数据,简称AD值数据)。在实施例1中,拍摄部1作为获取部的实例,用于获取热像数据帧。 The imaging unit 1 is composed of unillustrated optical components, lens driving components, infrared detectors, signal preprocessing circuits, and the like. The optics consist of an infrared optical lens for focusing the received infrared radiation onto the infrared detector. The lens driving section drives the lens according to a control signal of the
所谓热像数据帧,根据获取部不同的实施方式,可以是热像信号(红外探测器输出信号经AD转换后获得的热像AD值数据),或红外热像的图像数据,或温度值的阵列数据,或其他基于热像信号生成的数据等。在下文中热像数据帧以热像信号为例。 The so-called thermal image data frame, according to different implementations of the acquisition unit, can be a thermal image signal (the thermal image AD value data obtained after the output signal of the infrared detector is converted by AD), or the image data of the infrared thermal image, or the temperature value Array data, or other data generated based on thermal image signals, etc. In the following, the thermal image data frame takes the thermal image signal as an example. the
临时存储部2如RAM、DRAM等易失性存储器,作为对拍摄部1输出的热像数据帧进行临时存储的缓冲存储器,例如重复如下处理,将获取的热像数据帧临时存储规定时间份,并在由所述获取部(拍摄部1)获取新的帧时,删除旧的帧后存储新的热像数据帧;同时,作为图像处理部7、检测部8、控制部11等的工作存储器起作用,暂时存储进行处理的数据。不限于此,图像处理部7、检测部8、控制部11等处理器内部包含的存储器或者寄存器等也可以解释为一种临时存储介质。
临时存储部2中分配了特定的区域临时存储多帧份(例如50帧)的热像数据帧的循环存储区(热像存储部的例子),循环存储由拍摄部1拍摄获得的多个热像数据帧。或者也可以单独配置能临时存储多帧份(例如50帧)的热像数据帧的循环存储器。但不限于临时存储部2,也可在其他的存储介质中分配作为热像存储部。 The
闪存3,存储有用于控制的程序,以及各部分控制中使用的各种数据。本实施例中,如图3所示的表,与参考图像、检测等有关的数据存储在存储介质如闪存3中,例如存储被摄体识别信息的数据库,如图3所示的表,将每个被摄体的被摄体信息、参考图像的构成数据、被摄体识别信息相互对应,存储在该特征数据库中,此外,也可以以特定格式的数据文件等 来存储。所谓参考图像的构成数据,例如矢量图形数据,点阵图像数据,也包括由多个坐标点数据构成参考图像的构成数据。其中模板数据可以与参考图像相同或不同。 The
被摄体信息为与被摄体有关的信息,例如代表被摄体地点、类型、编号等的信息,此外,还可以例举被摄体有关的归属单位、分类等级(如电压等级、重要等级等)、型号、制造厂商、性能和特性、过去的拍摄或检修的履历、制造日期、使用期限等各种信息。根据应用的不同可以准备各种适用的被摄体信息。 Object information refers to information related to the object, such as information representing the location, type, number, etc. etc.), model, manufacturer, performance and characteristics, history of past shooting or inspection, date of manufacture, expiration date and other information. Various applicable subject information can be prepared depending on the application. the
通信I/F4是例如按照USB、1394、网络等通信规范,将热像装置100与外部装置进行连接并数据交换的接口,作为外部装置,例如可以列举个人计算机、服务器、PDA(个人数字助理装置)、其他的热像装置、可见光拍摄装置、存储装置等。 The communication I/F4 is, for example, an interface for connecting the thermal imaging device 100 with an external device and exchanging data according to communication standards such as USB, 1394, and the Internet. As an external device, for example, a personal computer, a server, a PDA (personal digital assistant) ), other thermal imaging devices, visible light shooting devices, storage devices, etc. the
存储卡I/F5,作为存储卡6的接口,在存储卡I/F5上,连接有作为可改写的非易失性存储器的存储卡6,可自由拆装地安装在热像装置100主体的卡槽内,根据控制部11的记录控制单元(省略图示)的控制记录热像数据帧等数据。 Memory card I/F5, as the interface of memory card 6, on memory card I/F5, is connected with the memory card 6 as the rewritable non-volatile memory, can be freely installed on the thermal imaging device 100 main body In the card slot, data such as thermal image data frames are recorded according to the control of the recording control unit (not shown) of the
图像处理部7用于对通过拍摄部1获得的热像数据帧进行规定的处理,例如其在显示定时每次到来之际,从临时存储在所述临时存储部2的规定时间份的热像数据帧中,选择并读出每个规定时间间隔的帧;图像处理部7的处理如修正、插值、伪彩、合成、压缩、解压等,进行转换为适合于显示用、记录用等数据的处理。图像处理部7例如可以采用DSP或其他微处理器或可编程的FPGA等来实现,或者,也可与检测部8、控制部11对应的处理器为一体。 The
图像处理部7用于对拍摄部1拍摄获得的热像数据帧(如热像信号)实施规定的处理来获得红外热像的图像数据。具体而言,例如,图像处理部7对拍摄部1拍摄获得的热像数据帧进行非均匀性校正、插值等规定处理,对规定处理后的热像数据帧进行伪彩处理,获得红外热像的图像数据;伪彩处理的一种实施方式,例如根据热像AD值数据的范围或热像AD值数据的设定范围来确定对应的伪彩表范围,将热像数据在伪彩板范围中对应的具体颜色值作为其在红外热像中对应像素位置的图像数据。从图像处理部7伪彩处理后获得的图像数据传送到作为缓冲存储器使用的临时存储部2中。 The
另外,图像处理部7具备合成单元(未图示),所述合成单元基于参考图像指定部11F所指定的参考图像的构成数据,及位置设置部11G设置的位置参数,来获得参考图像,并与图像处理部7生成的红外热像,进行合成后产生合成图像的图像数据。具体地说,图像合成单元根据规定的透明率,将参考图像与红外热像进行合成;包括这种情况,参考图像的透明率为1(如参考图像为边缘轮廓的线条图像),即不透明与红外热像合成。 In addition, the
图像处理部7,用于基于所指定的参考图像的构成数据及位置设置部11G所设置的位置参数,对所获取的热像数据帧进行规定处理,生成体现了参考图像的红外热像。 The
此外,合成也可以是根据这样的处理,例如根据参考图像位于红外热像中的像素位置,来对热像数据帧进行伪彩处理,以生成体现了参考图像和红外热像的显示用图像数据(类似重叠的效果);例如,根据参考图像的位于红外热像中的像素位置,对该像素位置的热像数据不进行伪彩处理,将参考图像的像素位置以外的热像数据进行伪彩处理,而后结合参考图像的图像数据,来生成显示用图像数据。 In addition, the synthesis can also be based on such processing, such as performing pseudo-color processing on the thermal image data frame according to the pixel position of the reference image in the infrared thermal image, so as to generate display image data that embodies the reference image and the infrared thermal image (similar overlapping effect); for example, according to the pixel position of the reference image in the infrared thermal image, the thermal image data at the pixel position will not be processed with false color, and the thermal image data other than the pixel position of the reference image will be processed with false color processing, and then combined with the image data of the reference image to generate image data for display. the
或者,也可以将参考图像对应热像数据帧中的像素位置的热像数据,进行与生成红外热像的其他像数位置的热像数据的伪彩处理所不同的处理(如不同的伪彩处理),来生成带有体 现该参考图像的图像。这种情况下,在热像装置100中可以去除用来将参考图像的图像数据与红外热像的图像数据合成的图像合成单元。 Alternatively, the thermal image data corresponding to the pixel position in the thermal image data frame of the reference image can be processed differently from the pseudo-color processing of the thermal image data at other image positions that generate the infrared thermal image (such as different pseudo-color processing), to generate an image with a representation of that reference image. In this case, the image synthesis unit used to synthesize the image data of the reference image and the image data of the infrared thermal image may be eliminated in the thermal imaging device 100 . the
所谓的参考图像,与红外热像共同显示,可帮助使用者拍摄特定被摄体。例如,体现该特定被摄体的形态特征的图像;参考图像也可以是其他的形状,如方形、圆形;例如,体现被摄体热像位于红外热像中的期望成像位置的的标识图像;例如体现红外热像中的检测区域(检测区域可以包含一个或多个检测窗口)的标识图像;例如体现了期望的被摄体热像的分析区域的标识图像等。优选的方式,参考图像按照规定的位置参数(位置、或还包括尺寸,或还包括旋转角度)与红外热像重叠显示。 The so-called reference image, displayed together with the thermal image, helps the user to capture a specific subject. For example, an image that reflects the morphological characteristics of the specific subject; the reference image can also be in other shapes, such as a square or a circle; for example, an identification image that reflects the thermal image of the subject at the desired imaging position in the infrared thermal image ; For example, an identification image that reflects the detection area in the infrared thermal image (the detection area may contain one or more detection windows); for example, an identification image that reflects the analysis area of the desired thermal image of the subject, etc. In a preferred manner, the reference image is superimposed and displayed with the infrared thermal image according to specified position parameters (position, or size, or rotation angle). the
此外,参考图像也可显示于显示部中,红外热像窗口之外的区域;此外,也可以将代表参考图像与红外热像的位置及尺寸比例等关系的缩略图显示在红外热像窗口之外的显示部的区域。 In addition, the reference image can also be displayed in the display part, outside the infrared thermal image window; in addition, the thumbnail representing the position and size ratio of the reference image and the infrared thermal image can also be displayed on the infrared thermal image window area outside the display section. the
检测部8基于临时存储部2(热像存储部)中存储的多帧的热像数据帧,进行与被摄体识别信息之间的相关度计算;其中,可以是对临时存储部2中的部分或全部热像数据帧进行检测处理,例如依次读取全部的热像数据帧进行检测处理,例如只读取规定间隔的热像数据帧进行检测处理;例如当第一次检测到与相关度和/或评价值大于对比值的热像数据帧时,即不再继续检测;例如响应使用者的预定操作来开始进行检测或停止检测;或者还对读取的热像数据帧或检测窗口中的热像数据检测前进行了缩小处理;以此,能减轻伴随着检测的处理负担。 The
与检测相关的热像数据帧,可以是热像信号(热像AD值数据),或红外热像的图像数据,或热像温度值的阵列数据,或其他基于热像信号获得的数据等。例如,检测部8基于控制部11的控制,可以通过读取临时存储部2中所存储的拍摄部1拍摄获得的热像数据帧,或通过读取临时存储部2中所存储的图像处理部对拍摄部1拍摄获得的热像数据帧进行规定处理获得的数据(例如伪彩处理获得的红外热像的图像数据),来执行与所登记的被摄体识别信息之间的相关度的检测处理。 The thermal image data frame related to detection can be thermal image signal (thermal image AD value data), or image data of infrared thermal image, or array data of thermal image temperature value, or other data obtained based on thermal image signal. For example, based on the control of the
不限定于拍摄部1拍摄获取的热像数据帧,在其他的例子中,如也可以从外部输入的数据获得的,例如通过I/F4从其他热像装置所连续接收并解码获得的热像数据帧。 It is not limited to the thermal image data frames captured by the shooting unit 1. In other examples, it can also be obtained from external input data, such as thermal images continuously received and decoded from other thermal imaging devices through I/F4 Data Frame. the
在实施例1中,检测部8包括特征登记单元、检测窗口设置单元、检测单元(未图示)。 In Embodiment 1, the
特征登记单元,用于登记用来相关度计算有关的被摄体识别信息。例如,可根据存储介质中预先存储的被摄体识别信息来登记被摄体识别信息;例如,根据使用者的选择的被摄体信息关联的被摄体识别信息,来登记用于相关度计算的被摄体识别信息。此外,也可以由用户来指定被摄体识别信息,例如可以通过从显示图像中指定被摄体区域来获得被摄体识别信息(例如模板数据,或提取的特征量)。所登记的被摄体识别信息例如被存储在临时存储部2的规定位置,或存储时以标记与存储的其他被摄体识别信息区别。 The feature registration unit is used for registering relevant object identification information used for correlation calculation. For example, the subject identification information can be registered according to the subject identification information pre-stored in the storage medium; for example, the subject identification information associated with the subject information selected by the user can be registered for correlation calculation subject recognition information. In addition, the subject identification information may also be specified by the user, for example, the subject identification information (such as template data or extracted feature value) may be obtained by specifying the subject region from the displayed image. The registered subject identification information is stored in, for example, a predetermined location of the
所谓被摄体识别信息可以是用于模板匹配的模板数据(如模板图像);此外,被摄体识别信息也可以是参数描述的特征量,所谓特征量(点、线、面等特征),例如,为根据检测窗口中所包含的像素的状态所决定的值,如为特定检测窗口中的规定部分像素的比例、像素值的平均值、特定被摄体的轮廓的中心点、面积等。例如,对于如图3所示的表中的被摄体1,被摄体识别信息为模板数据301,对于如图3所示的表中的被摄体2,被摄体识别信息为特征量302。在具体应用中,可以根据情况选择其中一种或多种被摄体识别信息方式的结合。 The so-called subject identification information can be template data (such as a template image) used for template matching; in addition, the subject identification information can also be feature quantities described by parameters, so-called feature quantities (features such as points, lines, and surfaces), For example, it is a value determined according to the state of the pixels included in the detection window, such as the ratio of a predetermined part of pixels in a specific detection window, the average value of pixel values, the center point and area of the outline of a specific object, and the like. For example, for object 1 in the table as shown in Figure 3, the object identification information is the template data 301, and for
检测窗口设置单元,用于设置检测窗口。例如根据一定范围的检测区域(如图5中的G1),在该检测区域G1中设置多个检测窗口(例如按照质量要求来预定检测窗口的参数),可以是多个不同尺寸的检测窗口,也可以是近一步倾斜后的检测窗口,如图4所示,其中图4(a)为标准的检测窗口,图4(b)为根据缩小尺寸的检测窗口,图4(c)为放大尺寸设置的检测窗口,图4(d)为按照规定角度倾斜而设置的检测窗口。为了等于检测窗口的尺寸,此处模板图像以缩小或放大或还倾斜的状态被使用,或者,也可以准备及存储尺寸等于窗口尺寸的模板图像以备使用。此外,也可将检测窗口中的热像数据以缩小或放大或还倾斜的状态被使用,以对应模板图像。检测窗口不限定于方形,也可以是其它形状,例如可以根据模板图像的形状来定。 The detection window setting unit is used for setting the detection window. For example, according to a certain range of detection areas (such as G1 in Figure 5), multiple detection windows are set in the detection area G1 (for example, the parameters of the detection windows are predetermined according to the quality requirements), which can be multiple detection windows of different sizes, It can also be a detection window after a further tilt, as shown in Figure 4, where Figure 4(a) is the standard detection window, Figure 4(b) is the detection window according to the reduced size, and Figure 4(c) is the enlarged size The set detection window, Figure 4(d) is the detection window set according to the specified angle tilt. In order to be equal to the size of the detection window, the template image is used here in a reduced, enlarged or tilted state, or a template image whose size is equal to the window size can also be prepared and stored for use. In addition, the thermal image data in the detection window can also be used in a state of zooming out, zooming in, or tilting, so as to correspond to the template image. The detection window is not limited to a square shape, and may also have other shapes, for example, it may be determined according to the shape of the template image. the
检测区域可由使用者根据拍摄习惯来设置;或者也可以是预存的如与被摄体信息关联的;也可以根据上次检测出特定被摄体热像的位置生成的;也可不设置特定的检测区域,而将热像数据帧的范围为检测区域。也可以是使用者指定的位置和尺寸来设置多个检测窗口。此外,并非必须设置多个检测窗口,也可以只设置一个检测窗口。 The detection area can be set by the user according to the shooting habits; or it can be pre-stored such as associated with the subject information; it can also be generated based on the position where the thermal image of a specific subject was detected last time; or no specific detection area can be set area, and the range of the thermal image data frame is the detection area. It is also possible to set multiple detection windows with positions and sizes specified by the user. In addition, it is not necessary to set multiple detection windows, and only one detection window may be set. the
需要注意的是,对于红外检测的应用领域,例如变电站中充斥着大量外形类似,但名称不同的设备,为避免误导使用者及误拍摄,优选的是设置检测区域。在红外热像上重叠显示检测区域的标识,使用者易于明白所拍摄的特定被摄体热像的大致位置、尺寸等,便于拍摄参照,并且能加快检测处理的速度,但检测区域也可不显示。 It should be noted that for the application field of infrared detection, for example, there are a large number of devices with similar shapes but different names in substations. In order to avoid misleading users and taking pictures by mistake, it is preferable to set the detection area. Overlapping and displaying the mark of the detection area on the infrared thermal image, it is easy for the user to understand the general position and size of the thermal image of the specific subject, which is convenient for shooting and reference, and can speed up the detection process, but the detection area can also not be displayed . the
检测单元,将所读取的热像数据帧中基于检测窗口设置单元所设置的检测窗口中的热像数据,根据被摄体识别信息,获得用于评价相关度的值。当设置了多个检测窗口时,例如可将其中检测获得的最大相关度的值作为该热像数据帧的相关度的值。 The detection unit obtains a value for evaluating the correlation degree based on the object identification information based on the thermal image data in the read thermal image data frame in the detection window set by the detection window setting unit. When multiple detection windows are set, for example, the value of the maximum correlation obtained through detection may be used as the value of the correlation of the thermal image data frame. the
检测部8的检测处理可以是基于模板匹配的检测方式,基于检测窗口中的热像数据与模板图像进行相关度的计算和比较;例如,检测单元计算检测窗口中的红外热像和作为模板的红外热像相互对应的位置的像素之间的差的和,所计算出的差的和越小,相关度越高。例如, The detection processing of the
也可配置为提取特征量进行匹配的实施方式,利用模板图像与检测窗口中的热像数据的特征量之间的比较来确定相关度。例如,提取检测窗口中的被摄体图像的特定像素的比例,与模板图像中的特定像素的比例越接近,相关度越高。 It can also be configured as an embodiment of extracting feature quantities for matching, and using a comparison between the feature quantities of the template image and the thermal image data in the detection window to determine the degree of correlation. For example, the closer the ratio of the specific pixel of the object image in the extracted detection window to the ratio of the specific pixel in the template image, the higher the correlation. the
检测部8的检测处理可以是基于参数描述的特征量的检测实施方式,进行规定的运算来获得检测窗口中的热像数据的特征量,并与特征量的基准值(被摄体识别信息)进行比较,来获得相关度的值。例如,所述特征量的基准值为特定像素值的像素的比例,检测单元计算热像数据中特定像素值的像素的比例,与特征量的基准值进行比较,来获得二者之间的相关度的值。 The detection processing of the
优选的方式,采用轮廓图像作为匹配的模板,检测部8例如通过以下的处理来计算相关度,首先,检测部8提取位于检测窗口中的热像数据,按照AD值的预定阀值对读取的检测窗口中的热像数据进行二值化;接着,提取该二值图像的具有预定像素值(1或0)的像素相连通的连通图像;而后判断该连通图像是否具有预定范围的大小;如果判断出该连通图像的大小在预定范围内,则近一步在提取的连通图像与所登记的模板之间执行比较处理,例如计算二者之间的重叠面积在各自总面积中的比例之和,由此,获得所提取热像数据与模板之间相关度。 In a preferred manner, the contour image is used as a matching template, and the
对于检测的示例,如图5所示,检测部8从热像数据帧501的规定检测区域G1的左上角到右下角移动窗口J1以进行检测,剪切窗口中的热像数据,并检测其与模板图像T1的相关度。具体而言,窗口J1从左端向右以规定值的窗口位移(例如一个像素)逐步地移动,并在到达右端后,被设置返回左端并向下移动窗口位移,以及随后再次逐步地向右移动。为高精度地检测被摄体,检测的窗口尺寸、窗口位移、窗口的倾斜角度的变换范围被预先定义,例如窗口尺寸的变化范围从150×50像素到120×40像素,窗口位移的变化范围从10个像素到1个像素,窗口的倾斜角度的变化范围为基于中心点的0°到10°。检测部8逐次的,每次5个像素地改变窗口尺寸,并每次1个像素地改变窗口位移,并每次2°地改变窗口倾斜角度。检测部8进行模板图像T1和热像数据帧501的相关度计算;在完成所有检测窗口的检测后,从中选择相关度最高的检测窗口所获得的相关度的值,作为该热像数据帧501对应的相关度的值。 For the example of detection, as shown in Figure 5, the
注意,可以基于被摄体识别信息,来计算热像数据帧的相关度的各种方法,上述例举的处理仅是可使用方法的示例。 Note that various methods for calculating the correlation degree of the thermal imaging data frame can be based on the object identification information, and the above-mentioned processing is only an example of the applicable method. the
显示控制部9,用于将临时存储部2所存储的显示用的图像数据显示在显示部10。例如,在拍摄待机模式中,连续显示拍摄获得的热像数据生成的红外热像;在回放模式,显示从存储卡6读出和扩展的红外热像,此外,还可显示各种设定信息。具体而言,显示控制部9具有VRAM、VRAM控制单元、信号生成单元(未图示)等,并且,信号生成单元在控制部11的控制下,从VRAM中定期读出图像数据(从临时存储部2读出并存储到VRAM的图像数据),产生视频信号输出,显示在显示部10。在热像装置100中,显示部10例如是液晶显示装置。不限于此,显示部10还可以是与热像装置100连接的其他显示装置,而热像装置100自身的电气结构中可以没有显示部,这时显示控制部9也可作为图像输出部件的实例。 The
另外,在实施例1中,显示部10基于通知部11C的控制,用于对通知信息进行显示;例如以文字和图像进行警告,如显示最大相关度的信息,显示最大相关度的热像数据帧获得的红外热像,或者还伴随着文字、图像的透明率、颜色、尺寸、线形、粗细、闪烁、亮度、边框的变化等方式来进行通知。 In addition, in Embodiment 1, the
其中,通知的方式可以持续规定的时间。此外,也可控制热像装置100中的振动部件、指示灯(未图示),分析部件(未图示),诊断部件(未图示),在检测到最大相关度的热像数据帧时,也可由指示灯产生灯光变化,由振动装置产生震动,由分析部件进行分析并显示分析结果,由诊断部件进行诊断并显示诊断结果;或同时以上述方式之一或多个进行通知,只要是使用者可以感知的方式都可。 Wherein, the manner of notification may last for a specified time. In addition, vibration components, indicator lights (not shown), analysis components (not shown), and diagnostic components (not shown) in the thermal imaging device 100 can also be controlled. , can also produce light changes by the indicator light, vibrate by the vibration device, analyze and display the analysis result by the analysis component, and perform diagnosis and display the diagnosis result by the diagnosis component; or notify in one or more of the above ways at the same time, as long as it is Any form that the user can perceive can be used. the
控制部11控制了热像装置100的整体的动作,在存储介质例如闪存3中存储有用于控制的程序,以及各部分控制中使用的各种数据。控制部11例如由CPU、MPU、SOC、可编程的FPGA等来实现。在本实施例中,控制部11、显示部10等还作为被摄体信息选择部的构成,用来选择被摄体信息。 The
另外,控制部11具备比较部11A,用于对检测部8检测获得的规定信息和/或基于检测获得的规定信息而得到的评价值与规定的对比值进行比较,所述规定信息,至少包括特定被摄体热像的位置、尺寸、倾斜角度、相关度的值中的一种或任意组合的信息;实施例1中,将检测部8所获得的热像数据帧的相关度的值,与相关度的对比值进行比较。注意,相关度的对比值可以是预先准备的相关度的判断值(例如与被摄体识别信息对应存储在如图3所示 的表中,例如使用者设置的对比值),当大于该对比值时,判断该热像数据帧中具有特定被摄体热像;也可不必预先准备的相关度的对比值,而根据热像数据帧中的相关度的值来获得,例如将第一次检测处理获得的相关度的值作为后续对比相关度的对比值,并且,当后续检测到相关度大于该对比值时,予以更新。 In addition, the
另外,控制部11具有选择部11B,基于比较部11A的比较结果,选择与规定的热像数据帧有关的特定信息。所选择的特定信息可用于将经历的规定处理,如分析、记录、通知等。 In addition, the
其中,规定的热像数据帧有关的特定信息,为在临时存储部2的多帧热像数据帧中的一帧或多帧热像数据帧有关的特定信息;例如,基于比较部11A的比较结果,选择具有最大相关度的热像数据帧有关的特定信息;但并不限定于所检测到的最大相关度的那一帧热像数据帧,例如,也可以选择次优的,或例如检测到最大相关度的帧的时序之前或之后的那一帧,或由多帧运算获得的那一帧,或最早检测到大于规定的对比值的相关度对应的热像数据帧有关的特定信息。也可以配置为选择多个热像数据帧有关的特定信息,例如选择相关度第一、第二、第三的三帧热像数据帧有关的特定信息,也可能选择多帧相关度一样的热像数据帧的特定信息。 Wherein, the specific information related to the specified thermal image data frame is the specific information related to one or more thermal image data frames in the multi-frame thermal image data frame in the
所述特定信息为从临时存储部2的多帧热像数据帧中选择的热像数据帧,从多帧热像数据帧中选择的热像数据帧进行规定处理获得的数据,检测获得的规定信息,基于检测获得的规定信息而得到的评价值,基于检测获得的规定信息和/或所述评价值生成的提示信息,其中的一项或多项。 The specific information is the thermal image data frame selected from the multi-frame thermal image data frame of the
其中,从多帧热像数据帧中选择的热像数据帧进行规定处理获得的数据,例如将所选择的热像数据帧进行规定处理后获得的数据,例如从该热像数据帧中提取的特定被摄体热像,例如生成的红外热像的图像数据,例如将该热像数据帧转换为分析数值例如温度数值的阵列等。 Among them, the data obtained by performing specified processing on the selected thermal image data frame from the multiple thermal image data frames, for example, the data obtained after the selected thermal image data frame is subjected to specified processing, for example, the data extracted from the thermal image data frame The thermal image of a specific object, such as the image data of the generated infrared thermal image, for example, converts the thermal image data frame into an array of analysis values such as temperature values. the
其中,检测获得的规定信息,所述规定信息例如至少包括特定被摄体热像的位置、尺寸、倾斜角度、相关度的值中的一种或任意组合的信息。 Wherein, the obtained specified information is detected, and the specified information includes, for example, at least one of the position, size, inclination angle, and correlation value of a specific subject's thermal image, or any combination of information. the
其中,基于检测获得的规定信息而得到的评价值,例如为根据检测获得的规定信息根据加权系数进行加权获得、或可根据规定信息与评价值的对照表等来获得评价热像质量等的评价值。 Wherein, the evaluation value obtained based on the specified information obtained by detection is, for example, obtained by weighting the specified information obtained by detection according to the weighting coefficient, or the evaluation value for evaluating the quality of the thermal image can be obtained according to the comparison table between the specified information and the evaluation value, etc. value. the
其中,基于检测获得的规定信息和/或所述评价值生成的提示信息,例如将检测获得的规定信息和/或所述评价值转换为使用者便于理解的百分比信息的提示等。 Wherein, the prompt information generated based on the prescribed information obtained through detection and/or the evaluation value is, for example, a prompt for converting the prescribed information obtained through detection and/or the evaluation value into percentage information that is easy for the user to understand. the
选择部11B对所选择的特定信息进行保持/或不保持的控制;所保持的特定信息保持在临时存储部2的规定区域,此外,也可保持(存储)在例如闪存3等存储介质中。在下文中,选择部11B将热像数据帧等特定信息保持在临时存储部2的规定区域为例。 The selection unit 11B controls whether to hold or not hold the selected specific information; the held specific information is held in a predetermined area of the
选择部11B可以将所选择的特定信息始终保持,也可以在规定的条件下进行保持,例如当前选择的特定信息保持规定的时间;例如在检测到更大相关度的热像数据帧之前始终保持当前的特定信息;例如在用于检测比对的被摄体识别信息或选择的被摄体信息被变更之前始终保持所选择的特定信息;例如根据使用者的指示(如使用者选择了显示部中显示的某个特定信息来确定保持)来保持或不保持的特定信息。此外也可不保持,例如通过通信I/F4发送至其他外部装置;例如经历其他处理如在通知后即删除等。 The selection part 11B can keep the selected specific information all the time, or keep it under specified conditions, for example, keep the currently selected specific information for a specified time; The current specific information; for example, the selected specific information is always maintained until the subject identification information used for detection and comparison or the selected subject information is changed; for example, according to the user's instruction (such as the user selects the display part to keep or not to keep specific information shown in In addition, it may not be retained, for example, to send to other external devices through the communication I/F4; for example, undergo other processing such as deletion after notification. the
并且,选择部11B,用于按照规定的条件将临时存储部2所保持的特定信息,更新为选择部11B后续选择的特定信息。所谓规定的条件,例如规定的时间,例如检测了规定数量的热像数据帧,例如根据比较部11A的比较结果(获得了相关度大于所保持的热像数据帧的相关度等情况),例如使用者的指示等。此外,还可将之前予以保持的特定信息继续保持。 In addition, the selection unit 11B is configured to update the specific information held in the
实施例1中,基于比较部11A的比较结果,选择部11B对特定信息进行选择、保持及更新的控制。如当检测部8检测到的特定被摄体热像的相关度的值大于相关度的对比值时,将选择该相关度的值及对应的热像数据帧等特定信息予以保持在临时存储部2等存储介质中;当之前有相关度的值及对应的热像数据帧等特定信息时,将替换之前的特定信息;直到后续有相关度更高的热像数据帧时,可被替换(也可保持规定数量的相关度较高的热像数据帧)。这样,作为最大的相关度的值及对应的热像数据帧等特定信息得以保持。此外,还可将之前予以保持的特定信息继续保持。 In Embodiment 1, based on the comparison result of the comparison unit 11A, the selection unit 11B performs control to select, hold, and update specific information. For example, when the correlation value of the thermal image of a specific subject detected by the
优选的,控制部11具备通知部11C,基于选择部11B所选择与规定的热像数据帧有关的特定信息,进行通知。通知部11C,优选的,将当前所选择的特定信息获得的通知信息与获取部连续获取的热像数据帧获得的红外热像、参考图像等共同显示。例如将当前所选择的并保持的热像数据帧获得的红外热像(如缩小后)与拍摄部1获取的连续的红外热像、参考图像等共同显示,此外,也可以同时或单独显示其他的通知信息,例如相关度的值,评价值等。此外,也可将动态红外热像切换为显示该热像数据帧的冻结图像。 Preferably, the
其中,当选择部11B选择保持了多个热像数据帧有关的特定信息时,通知部11C可以对其中之一或多个进行通知,例如,将多个热像数据帧获得的缩小的红外热像与拍摄部1获取的连续的红外热像共同显示。 Among them, when the selection unit 11B selects and holds specific information related to multiple thermal image data frames, the notification unit 11C can notify one or more of them, for example, the reduced infrared thermal image obtained by multiple thermal image data frames The image is displayed together with the continuous infrared thermal images acquired by the photographing unit 1 . the
其中,根据选择部11B所选择与规定的热像数据帧有关的特定信息,来获得通知信息,例如可以将相关度的值换算为示意类似程度的便于使用者理解的信息,进行显示;例如根据相关度的值与百分比的规定的对照表,或计算的方式(如所提取的特定被摄体轮廓与轮廓T1重叠面积在各自总面积中的比例之和,除以200%,即可换算为相关度的百分比值)将相关度的值换算为百分比值);也可以是其他的方式,例如直接将计算相关度的值显示,如直接显示像素值之差的和的数值等。注意,当未与代表检测到特定被摄体热像与否的规定对比值(代表特定被摄体热像与被摄体识别信息匹配与否的判断值)做对比时,所显示的相关度的信息并不一定代表检测到特定被摄体热像(匹配)与否。为便于说明,在下文中,将相关度的值、评价值、对比值换算的百分比值作为示例,但实际中并不必须换算成百分比值。 Among them, the notification information is obtained according to the specific information related to the specified thermal image data frame selected by the selection part 11B, for example, the value of the degree of correlation can be converted into information that is easy for the user to understand, indicating a similar degree, and displayed; for example, according to The specified comparison table of correlation value and percentage, or the method of calculation (for example, the sum of the proportions of the overlapping areas of the extracted specific subject outline and outline T1 in their respective total areas, divided by 200%, can be converted into The percentage value of the correlation degree) converts the value of the correlation degree into a percentage value); other methods are also possible, such as directly displaying the value of the calculated correlation degree, such as directly displaying the value of the sum of the difference between pixel values, etc. Note that when it is not compared with the specified comparison value representing whether the thermal image of a specific object is detected (the judgment value representing whether the thermal image of a specific object matches the object identification information), the displayed correlation The information does not necessarily mean that the thermal image of a specific subject is detected (matched) or not. For the convenience of explanation, in the following, the percentage value converted from the value of the correlation degree, the evaluation value, and the comparison value is used as an example, but it is not necessarily converted into a percentage value in practice. the
其中,通知的方式可以持续规定的时间。并且,基于通知部11C的控制,可以使显示部10产生显示内容的变化、热像装置100中的振动部件的振动、指示灯的灯光变化、声音部件的声音、分析部件的分析处理(并使显示部10显示分析结果),诊断部件进行诊断(并使显示部10显示诊断结果)、参考图像闪烁显示或变色等、红外热像的伪彩变化等之一或多项的变化;只要是使用者可以感知的方式都可。 Wherein, the manner of notification may last for a specified time. Moreover, based on the control of the notification unit 11C, the
另外,控制部11具有记录部11E(未图示),响应规定的记录指示,将选择部11B所选择并保持在临时存储部2中的热像数据帧进行记录到存储卡8。例如响应使用者对所通知的热像数据帧的选择等指示,例如定时的自动记录等指示,将所述热像数据帧进行记录到存储卡8。 In addition, the
另外,控制部11具备参考图像指定部11F(未图示),用于指定要与红外热像共同显示的参考图像的构成数据;例如,基于存储介质中存储的被摄体信息关联的参考图像的构成数据(点阵数据或矢量数据),根据使用者对被摄体信息的选择,来指定与被摄体信息关联的参考图像的构成数据;并不限定于通过被摄体信息,也可从存储介质中选择例如热像文件等来获得参考图像的构成数据;此外,也可以根据热像装置100的默认配置,来指定参考图像的构成数据,例如默认的检测区域的数据;此外,也可以例如从显示部显示的红外热像中指定区域,并将该区域的红外热像作为参考图像等各种指定的方式。 In addition, the
另外,控制部11具备位置设置部11G(未图示),用于设置参考图像位于显示部中的位置参数(位置,或还包括尺寸,或还包括旋转角度)。优选的,位置设置部11G用于设置参考图像位于红外热像中的位置参数;例如,根据红外热像中规定的自适应显示区域,根据所计算的参考图像在该自适应区域中最大化居中显示的位置参数,从而来设置参考图像位于红外热像中的位置参数;例如,也可根据参考图像所附带的参数(例如体现了红外热像中的位置参数),根据该参数来设置参考图像位于红外热像中的位置参数;或者,也可以根据热像装置100的配置(居中,原始尺寸)来设置参考图像位于红外热像中的位置参数;或者,也可以根据使用者输入的位置参数。 In addition, the
操作部12:用于使用者进行各种指示操作,或者输入设定信息等各种操作,控制部11根据操作部12的操作信号,执行相应的程序。参考图2来说明操作部12,提供使用者操作的按键有记录键1、调焦键2、确认键3、回放键4、菜单健5、方向键6等;此外,也可采用触摸屏7或语音识别部件(未图示)等来实现相关的操作。 Operation unit 12 : used for the user to perform various instruction operations or input setting information and other operations. The
参见图8来说明热像装置100的检测模式的控制流程,参考图6来说明拍摄过程中的显示界面的变化。本应用场景如使用者手持热像装置100对变电站的被摄体进行拍摄。控制部11基于闪存3中存储的控制程序,以及各部分控制中使用的各种数据,控制了热像装置100的整体的动作及执行多种模式处理的控制。在接通电源后,控制部11进行内部电路的初始化, Referring to FIG. 8 to illustrate the control flow of the detection mode of the thermal imaging device 100 , and referring to FIG. 6 to illustrate the changes of the display interface during the shooting process. In this application scenario, a user holds a thermal imaging device 100 to shoot an object in a substation. Based on the control program stored in the
而后,进入待机拍摄模式,即拍摄部1拍摄获得热像数据帧,图像处理部7将拍摄部1拍摄获得的热像数据帧进行规定的处理,存储在临时存储部2中,显示部10上以动态图像形式连续显示红外热像,在此状态,控制部11实施其控制,持续监视是否按照预定操作切换到了其他模式的处理或进行了关机操作,如果有,则进入相应的处理控制。检测模式的控制步骤如下: Then, it enters the standby shooting mode, that is, the image processing unit 1 captures and obtains thermal image data frames, and the
步骤A01,显示部显示动态的红外热像和参考图像,临时存储部2循环存储拍摄部1拍摄获得的热像数据帧; Step A01, the display unit displays dynamic infrared thermal images and reference images, and the
基于控制部11的控制,显示部10显示动态的红外热像和参考图像,临时存储部2中循环存储拍摄部1拍摄获得的热像数据帧。 Based on the control of the
具体而言,为保证拍摄质量规范,通过操作部12的预定操作选择参考图像的显示模式,控制部11基于闪存3中存储的如图3所示的表,将被摄体信息生成的被摄体指示信息显示在显示部10(未图示); Specifically, in order to ensure the shooting quality standard, the display mode of the reference image is selected through the predetermined operation of the
而后,当使用者根据拍摄现场的被摄体“被摄体1”,通过操作部12来选择显示部10上所显示的“被摄体1”; Then, when the user selects the “subject 1” displayed on the
参考图像指定部11F根据使用者的选择,就确定了参考图像T1,从闪存3中读取参考图像T1的构成数据,传送到临时存储部2;并且位置设置部11G设置参考图像T1位于红外热 像的位置参数(位置和尺寸)。例如,根据所附带位置参数,来设置参考图像T1位于红外热像中的位置参数。此外,也可根据规定的自适应显示区,或使用者指定的位置参数,来确定参考图像T1位于红外热像中的位置参数。 The reference image specifying part 11F determines the reference image T1 according to the user's selection, reads the constituent data of the reference image T1 from the
图像处理部7对所获取的热像数据帧进行规定处理例如伪彩转换,获得红外热像的图像数据,并且,合成单元将所确定的构成数据根据设置的规定尺寸获得参考图像T1的图像数据,按照所设置的规定位置,与生成的红外热像的图像数据进行合成(重叠),将合成的图像数据存放在临时存储部2; The
接着,显示控制部9将合成图像显示在显示部10,如图6(a)所示,被摄体热像与轮廓图像T1之间存在位置、尺寸的差异,使用者可根据参考图像来拍摄被摄体热像。 Next, the
并且,临时存储部2中循环存储拍摄部1拍摄获得的热像数据帧。 Moreover, the thermal image data frames captured by the photographing unit 1 are circularly stored in the
步骤A02,以往使用者会困惑于根据轮廓图像T1对被摄体热像的对准操作,为保证拍摄质量并操作简单,通过操作部12的预定操作选择发出检测指示,当控制部11检测到使用者的检测指示(步骤A02:是),则进入检测处理。 Step A02. In the past, users would be confused by the alignment operation of the thermal image of the subject based on the contour image T1. In order to ensure the shooting quality and make the operation simple, the predetermined operation of the
并且,检测的指示并不限定于使用者发出,也可以是规定的定时,或与热像装置100连接的外部装置的触发信号等,控制部11响应并进行检测部8检测的控制。 In addition, the detection instruction is not limited to the user, and can also be a predetermined timing, or a trigger signal from an external device connected to the thermal imaging device 100 , and the
在步骤A03,特征登记单元登记被摄体识别信息。特征登记单元根据使用者的之前选择“被摄体1”,就确定了用来匹配的被摄体识别信息,在此,假定将参考图像T1作为计算相关度的模板图像。(此外,也可以从闪存3中读取模板数据301来作为计算相关度的被摄体识别信息)。该步骤也可以在A02步骤之前完成,如选择了被摄体信息后完成。 In step A03, the feature registration unit registers subject identification information. The feature registration unit determines the subject identification information for matching according to the user's previous selection of "subject 1". Here, it is assumed that the reference image T1 is used as a template image for calculating the correlation. (In addition, the template data 301 may also be read from the
接着,在步骤A04,从临时存储部2中读取热像数据帧; Then, in step A04, read the thermal image data frame from the
步骤A05,检测窗口设置单元,设置检测窗口。例如,基于规定的检测区域G1的左上角,首先设置了检测窗口; Step A05, the detection window setting unit, to set the detection window. For example, based on the upper left corner of the specified detection area G1, the detection window is first set;
步骤A06,进行检测窗口中的热像数据与被摄体识别信息之间的相关度计算的处理。 Step A06, performing a process of calculating the correlation between the thermal image data in the detection window and the subject identification information. the
检测部8基于检测窗口设置单元所设置的检测窗口,抽取位于该检测窗口中的热像数据,根据特征登记单元所登记的轮廓图像T1,计算二者之间的相关度。例如,根据检测窗口中的热像数据所提取的特定被摄体热像的轮廓,与轮廓图像T1的轮廓对比,计算二者之间的重叠面积在各自总面积中的比例之和,由此获得相关度的值。 The
并且,在步骤A07,将所得到的相关度的值存储在临时存储部2。 And, in step A07 , the value of the obtained degree of correlation is stored in the
在步骤A08中,检测部8判断在热像数据帧中设置检测窗口时,是否已经针对所有检测窗口计算了相关度。如果剩余还没有计算相关度的区域(步骤A08中为否)则回到步骤A05中,检测窗口设置单元在预定方向上将检测窗口的位置偏移预定像素数,将该位置设置为检测窗口的下一位置,并重复后续的处理。 In step A08 , the
此外,从热像数据帧中搜索与模板类似的帧部分时,对于放大及缩小、以及将检测窗口J1倾斜规定角度后的检测窗口时,也进行类似上述说明的检测处理。 In addition, when searching for a frame portion similar to the template from the thermal image data frame, when zooming in and out, and when the detection window J1 is tilted at a predetermined angle, detection processing similar to the above description is also performed. the
如果已经针对要在热像数据帧中设置的所有检测窗口计算了相关度(步骤A08中为是),则在步骤A09中将检测到的最大相关度的值(或还有所对应的检测窗口的位置参数)保持在临时存储部2的规定区域;获得该热像数据帧的相关度的值。 If the correlation has been calculated for all detection windows to be set in the thermal image data frame (Yes in step A08), then in step A09 the value of the maximum correlation detected (or the corresponding detection window The location parameter) is stored in a specified area of the
在步骤A10中,是否已经针对所有的热像数据帧计算了相关度。如否,则回到步骤A04,重复后续的处理。如是,则在步骤A11中,将所检测的多帧份的热像数据帧中,挑选出最大的相关度,与相关度的对比值进行比较; In step A10, whether the correlation degree has been calculated for all thermal image data frames. If not, return to step A04 and repeat subsequent processing. If so, then in step A11, select the maximum degree of correlation among the detected thermal image data frames of multiple frames, and compare it with the contrast value of the degree of correlation;
在步骤A11中,与相关度的对比值进行比较; In step A11, compare with the contrast value of correlation;
其中,相关度的对比值可以是预先准备的起始的相关度的对比值(例如将判断是否检测到特定被摄体热像与被摄体识别信息匹配与否的判断值,作为起始的相关度的对比值)。 Wherein, the comparison value of the correlation degree can be the comparison value of the initial correlation degree prepared in advance (for example, the judgment value for judging whether the thermal image of a specific object is detected matches the object identification information, as the initial Correlation comparison value). the
如果小于该对比值,则表示未检测到与相关度优于对比值的热像数据帧;进入步骤A13;如未退出,则回到步骤A01,显示为动态红外热像,或也可在显示部10中显示“未检测到特定被摄体热像”的字样来通知使用者,如图6(a)所示;而后,使用者通过改变拍摄的位置和调整热像装置100的光学部件和被摄体热像之间的拍摄距离、成像位置、角度,当再次发出检测指示时,重复后续的处理。 If it is less than the comparison value, it means that no thermal image data frame with a correlation degree better than the comparison value has been detected; enter step A13; if not exit, return to step A01, and display it as a dynamic infrared thermal image, or it can also be displayed on the display The words "no thermal image of a specific object has been detected" are displayed in
当检测获得的相关度的值大于该判断值,则进入步骤A12,选择相关度最高的热像数据帧(也可选择相关度高的若干帧)有关的特定信息,并保持在临时存储部2,以便进行后续的处理。并且,所保持的特定信息,在选择部11B未重新选择的特定信息之前,可一直被保持在临时存储部2中。 When the value of the detected correlation degree is greater than the judgment value, enter step A12, select the specific information related to the thermal image data frame with the highest correlation degree (you can also select several frames with high correlation degree), and keep it in the
如图6(b)所示,检测到的最大相关度的热像数据帧的相关度为80%,则选择部11B将与该热像数据帧有关的特定信息例如相关度的值、该热像数据帧保持在临时存储部2。或者,还由通知部11C进行通知,将该热像数据帧获得的红外热像601与动态的红外热像、参考图像共同显示。 As shown in FIG. 6( b), the detected correlation degree of the thermal image data frame with the maximum correlation degree is 80%, then the selection part 11B will use specific information related to the thermal image data frame, such as the value of the correlation degree, the thermal image data frame The image data frame is held in the
不限定于显示红外热像601,也可以是其他的方式,如图6(b)所示,将相关度的值换算为示意匹配程度的信息,进行显示;例如将相关度的值换算为百分比作为示例(根据相关度的值与百分比的规定的对照表,或换算获得),也可以是其他的方式,例如直接将计算相关度的值显示,如直接显示重叠面积在各自面积中的比例之和的数值等。注意,当未与判断是否具有特定被摄体热像的对比值(代表特定被摄体热像与被摄体识别信息匹配与否的判断值)做对比时,所显示的相关度的信息并不一定代表检测到特定被摄体热像与否。此外,也可将显示动态红外热像切换为显示该热像数据帧的冻结图像;优选的方式,还可将所检测到的具有最大相关度的检测窗口的区域(或被摄体的位置参数等)进行通知。例如在冻结的红外热像中示意检测到的具有最大相关度的被摄体热像的位置的标识等。或将显示动态红外热像切换为显示该热像数据帧的冻结图像,而后,响应使用者的指示,再切换回动态红外热像的显示状态,或该热像数据帧获得的图像与动态的红外热像共同显示的状态。此外,也可不显示该热像数据帧获得的红外热像,而显示提示信息;或以振动、指示灯闪烁等,各种使用者能察觉的方式。 It is not limited to displaying the infrared
这时,如果使用者按下记录键,则将红外热像601对应的热像数据帧进行规定的处理(如压缩等)记录到存储卡8。并且,即便是不显示提示信息或红外热像的方式,例如指示灯闪烁的方式,由于该热像数据帧保持在临时存储部2等存储介质中,同样可以在使用者的按下确认键或记录键时,进行显示、记录等处理。此外,也可选择了热像数据帧直接进行记录,而不必须使用者的操作。此外,也可以对选择的热像数据帧进行与热像拍摄有关的分析、诊断等处理。 At this time, if the user presses the record key, the thermal image data frame corresponding to the infrared
并且,可能从临时存储部2中检测出多个相关度大于规定的对比值的情况,当选择部11B配置为指示保持多帧热像数据帧时,则可以同时显示多个所保持的热像数据帧获得的红外热像,如图6(c)所示,或还按照相关度的高低来排序显示。使用者可以从中选择将要经历后续处理的热像数据帧等。 Moreover, it is possible to detect multiple correlations greater than a specified comparison value from the
此外,相关度的对比值,也可以没有预先准备,这时,例如,选择部11B根据比较部11A的比较结果,选择临时存储部2中相关度最大的热像数据帧或若干帧予以保持。注意,当未与作为判断是否与被摄体识别信息一致的对比值做对比时,所选择的相关度最大的热像数据帧并不一定代表具有特定被摄体热像(匹配)与否。 In addition, the comparison value of the correlation degree may not be prepared in advance. In this case, for example, the selection unit 11B selects the thermal image data frame or frames with the highest correlation degree in the
步骤A13,判断是否退出,如未退出,则回到步骤A01,重复后续的处理。并且,在下一次检测处理后,之前选择部11B所选择的特定信息,可以被配置为继续保持,并且,通知部11C可以将前后不同检测处理时,选择部所指示保持的特定信息共同显示。或者,也可以将后续获得的特定信息来替换之前的特定信息。 Step A13, judging whether to exit, if not, return to step A01, and repeat subsequent processing. Moreover, after the next detection process, the specific information selected by the previous selection unit 11B may be configured to continue to be kept, and the notification unit 11C may jointly display the specific information instructed to be kept by the selection unit during the different detection process. Alternatively, the specific information obtained later may also be used to replace the previous specific information. the
如上所述,在本实施例中,由于设定了规定的检测区域,能便于使用者理解拍摄的范围,当接收到检测的指示,则检测临时存储部2中所存储得热像数据帧中的相关度最高的帧,并且,能保持该特定信息以便于后续的记录、分析等处理;能减低视觉匹配对准的操作强度, As mentioned above, in this embodiment, since the specified detection area is set, it is easy for the user to understand the scope of shooting. When receiving the detection instruction, the thermal image data frame stored in the
普通使用者容易掌握这种拍摄技能,操作简单,并能降低处理器的运算速度负担,降低热像装置100的成本等的有益效果,并适用于对快速运动目标的拍摄。 Ordinary users are easy to master this shooting skill, the operation is simple, and it can reduce the computational speed burden of the processor, reduce the cost of the thermal imaging device 100 and other beneficial effects, and is suitable for shooting fast moving objects. the
此外,也可去除通知部11C的结构,如当检测到特定被摄体热像时,进行记录、分析等处理。 In addition, the structure of the notification unit 11C can also be removed, for example, when a thermal image of a specific object is detected, processing such as recording and analysis is performed. the
实施例2 Example 2
实施例2,与实施例1的不同之处在于,热像装置100(红外挑选装置100)具有对比值更新部11D,用于将对比值进行更新。图7是表示本发明的实施例2的红外挑选装置100的示例的的热像装置100的概略构成的框图。对与实施例1相同的构成赋予了相同的编号,省略了说明。
并且,当对比值更新后,所述比较部11A,对检测部8检测获得的规定信息和/或基于检测获得的规定信息而得到的评价值,与更新后的对比值进行比较;由于根据使用者对拍摄的调整,对比值可能会不断提升,这样,更加易于在多次检测处理中获得的最大相关度对应的热像数据帧的特定信息,来通知使用者。 Moreover, after the comparison value is updated, the comparison unit 11A compares the predetermined information obtained by detection by the
其中,对比值的更新条件,例如使用者的指示来更新;例如根据规定的时间来进行更新;例如根据比较部11A的比较结果,将对比值进行更新。 Here, the update condition of the comparison value is, for example, an instruction from the user to update; for example, to update according to a predetermined time; for example, to update the comparison value according to the comparison result of the comparison unit 11A. the
用于更新的对比值,可以是根据预先准备的多个对比值,依次进行更新;例如准备了三个相关度的对比值,当检测部8检测到的相关度大于第一个对比值时,后续将更新为第二个对比值,当大于第二个对比值时,将更新为第三个对比值。 The comparison value used for updating may be updated sequentially according to a plurality of comparison values prepared in advance; for example, three comparison values of correlation degrees are prepared, and when the correlation degree detected by the
用于更新的对比值,也可以是根据检测获得的规定信息来获得;例如根据检测部8检测获得相关度的值,当该相关度的值大于预先准备的相关度的对比值时,将根据所获得相关度的值来替换对比值进行更新。其中,所述规定信息,至少包括特定被摄体热像的位置、尺寸、倾斜角度、分析值、相关度的值中的一种或任意组合的信息。 The comparison value used for updating can also be obtained according to the specified information obtained by detection; for example, the
根据比较部11A的比较结果,将对比值进行更新,也可以是根据检测获得的规定信息来自我更新,其中,没有预先准备的对比值;例如根据检测部8检测获得相关度的值,当该相 关度的值大于相关度的对比值(例如之前所检测到的相关度最大的值来作为对比值)时,将所获得相关度的值相应替换对比值进行更新。 According to the comparison result of the comparison unit 11A, the comparison value is updated, or it can be self-updated according to the specified information obtained by detection, wherein there is no comparison value prepared in advance; When the value of the correlation degree is greater than the comparison value of the correlation degree (for example, the value of the highest correlation degree detected before is used as the comparison value), the value of the obtained correlation degree is correspondingly replaced with the comparison value and updated. the
优选的,具有通知部11C,基于选择部11B所选择与规定的热像数据帧有关的特定信息和/或对比值更新的信息,进行通知。 Preferably, there is a notification unit 11C, which notifies based on the specific information related to the specified thermal image data frame selected by the selection unit 11B and/or the updated information of the comparison value. the
并且,在本实施例中,所述选择部11B,用于将对比值更新之前所保持的多个热像数据帧有关的特定信息,在对比值更新之后,根据比较部的比较结果,至少替换其中一个之前所选择的热像数据帧有关的特定信息。但不限定于此,也可保持更新前后的特定信息。并且,通知部11C,通知选择部11B所新选择的热像数据帧有关的特定信息。 Moreover, in this embodiment, the selection unit 11B is used to update the specific information related to the plurality of thermal image data frames held before the comparison value is updated. After the comparison value is updated, according to the comparison result of the comparison unit, at least replace Specific information about one of the previously selected thermal image data frames. However, it is not limited thereto, and specific information before and after the update may be held. Moreover, the notifying part 11C notifies the specific information related to the thermal image data frame newly selected by the selecting part 11B. the
参见图9来说明热像装置100的检测模式的控制流程,参考图10来说明拍摄过程中的显示界面的变化。 Referring to FIG. 9 to illustrate the control flow of the detection mode of the thermal imaging device 100 , and referring to FIG. 10 to illustrate the changes of the display interface during the shooting process. the
步骤A01-步骤A02,类同于实施例1的步骤A01-A02,省略了说明; Steps A01-A02 are similar to steps A01-A02 of Embodiment 1, and the description is omitted;
步骤B03,类同于实施例1的步骤A03-A10,检测获得多帧份的热像数据帧的相关度,省略了说明; Step B03, similar to steps A03-A10 of Embodiment 1, detects and obtains the correlation degree of multiple frames of thermal image data frames, and the description is omitted;
在步骤B04,与相关度的对比值进行比较;即将其中最大相关度的值与对比值进行比较; In step B04, compare with the comparison value of the correlation degree; that is to say, compare the value of the maximum correlation degree with the comparison value;
如果小于该对比值,则表示未检测到与相关度优于之前的对比值或之前所获得的热像数据帧的最大相关度(作为更新后的对比值);回到步骤A01,显示未检测到更好的热像数据帧的字样;也可配置为到步骤B08,如未退出则回到A01。而后,使用者通过改变拍摄的位置和调整热像装置100的光学部件和被摄体热像之间的拍摄距离、成像位置、角度,当使用者再次发出指示,则重复后续的处理。 If it is less than the comparison value, it means that the maximum correlation degree (as the updated comparison value) is not detected and the correlation degree is better than the previous comparison value or the previously obtained thermal image data frame; return to step A01, and it is displayed that it is not detected to a better thermal image data frame; it can also be configured to go to step B08, and return to A01 if it does not exit. Then, the user changes the shooting position and adjusts the shooting distance, imaging position, and angle between the optical components of the thermal imaging device 100 and the thermal image of the object, and when the user issues another instruction, the subsequent processing is repeated. the
其中,优选的方式,可设置一个起始的相关度的对比值(例如将判断是否具有特定被摄体热像的对比值,作为起始的相关度的对比值),当检测获得的相关度的值大于该判断值,代表所检测的特定被摄体热像的相关度优于所准备的判断值,则将该判断值替换为当前所检测的相关度的值所获得的对比值;作为后续检测相关度的对比值,以便后续是否能获得相关度更高的特定被摄体热像。本实施例中,假定热像装置100起始相关度的对比值为72%,该起始的对比值为判断是否检测到特定被摄体热像的判断值,如果所获得的热像数据帧的相关度小于该对比值,则代表该热像数据帧中未检测到特定被摄体热像;其效果是当使用者反复拍摄也无法获得通知信息时,意味着是否拍摄了错误的被摄体。 Among them, in a preferred manner, a contrast value of an initial correlation can be set (for example, the contrast value of judging whether there is a thermal image of a specific subject is used as the contrast value of the initial correlation), when the correlation obtained by detecting If the value is greater than the judgment value, it means that the correlation degree of the detected thermal image of the specific subject is better than the prepared judgment value, then replace the judgment value with the contrast value obtained by the value of the currently detected correlation degree; as Subsequent detection of the contrast value of the correlation, so as to obtain a thermal image of a specific subject with a higher correlation. In this embodiment, it is assumed that the contrast value of the initial correlation degree of the thermal imaging device 100 is 72%. If the correlation degree is less than the comparison value, it means that the thermal image of the specific subject has not been detected in the thermal image data frame; the effect is that when the user cannot get the notification information after repeated shooting, it means whether the wrong subject was taken body. the
此外,相关度的对比值,也可以没有预先准备,这时,例如,当将第一次检测到的热像数据帧的相关度的值,作为后续检测热像数据帧获得的相关度的值的对比值,当后续检测到大于该对比值时,则替换该对比值。 In addition, the comparison value of the correlation degree may not be prepared in advance. At this time, for example, when the value of the correlation degree of the thermal image data frame detected for the first time is used as the value of the correlation degree obtained by subsequent detection of the thermal image data frame The comparison value of , when it is detected later that it is greater than the comparison value, the comparison value will be replaced. the
在此,以是否大于对比值为评价相关度的依据,但也有小于对比值或接近对比值(预先准备的判断值)作为评价相关度的情况。并且,对比值可以是相关度的值,也可以是相关度的值经过换算获得的值等。 Here, whether it is greater than the comparison value is used as the basis for evaluating the correlation degree, but there are also cases where it is smaller than the comparison value or close to the comparison value (prepared judgment value) as the evaluation correlation degree. In addition, the comparison value may be a value of the correlation degree, or a value obtained by converting the correlation degree value, or the like. the
当在步骤B04检测到的相关度大于相关度的对比值,则进入步骤B05;其中,如果之前没有存储了相关度的对比值,可将第一次获得的相关度的值作为相关度的对比值。 When the degree of correlation detected in step B04 is greater than the contrast value of the degree of correlation, then enter step B05; wherein, if the contrast value of the degree of correlation has not been stored before, the value of the degree of correlation obtained for the first time can be used as the contrast value of the degree of correlation value. the
步骤B05,对比值更新部11D,将根据所检测到的具有最大相关度的值,来更新相关度的对比值,并且,更新后的对比值作为后续的热像数据帧的比较相关度的对比值。 Step B05, the comparison value update unit 11D will update the comparison value of the correlation degree according to the detected value with the largest correlation degree, and the updated comparison value will be used as the comparison value of the comparison correlation degree of the subsequent thermal image data frames. value. the
步骤B06,选择部11B将所检测到的具有最大相关度的值对应的热像数据帧等特定信息,保持在临时存储部2的规定区域,替换之前的特定信息(如果有)。此外,也可以保持规定数 量的多个热像数据帧有关的特定信息,例如保持相关度最高的3帧热像数据帧及其相关度的值等特定信息。而后,在步骤B07,可以进行后续的通知、分析、记录、诊断等处理。并且,不限于通知选择部11B所选择的特定信息,也可对对比值进行更新的事件或还进一步通知更新后的对比值。 In step B06, the selection unit 11B stores specific information such as thermal imaging data frames corresponding to the detected value with the maximum correlation degree in a specified area of the
步骤B08,判断是否退出,如未退出,则回到步骤A01,重复后续的处理。这时,当使用者再次发出检测的指示,由于对相关度的对比值进行了更新,因此,在后续从热像存储部中读取并检测热像数据帧时,将与更新后的相关度的对比值进行比较,并且,当大于相关度的对比值时,将所保持的特定信息予以更新,并且,在步骤B07,进行通知。 Step B08, judge whether to exit, if not, return to step A01, and repeat subsequent processing. At this time, when the user issues a detection instruction again, since the comparison value of the correlation degree is updated, when the thermal image data frame is subsequently read and detected from the thermal image storage unit, the updated correlation degree The comparison value of the correlation degree is compared, and when it is greater than the comparison value of the correlation degree, the retained specific information is updated, and, in step B07, a notification is made. the
在实施例1中,由于仅与规定的比较值(例如,代表被摄体热像与被摄体识别信息匹配与否的对比值)进行比较,并且不更新比较值,因此,在后续的拍摄中,如发出检测指示,有可能获得的热像数据帧的质量比之前的要差。 In Embodiment 1, since the comparison is only made with the specified comparison value (for example, the comparison value representing whether the thermal image of the subject matches or not the identification information of the subject), and the comparison value is not updated, the subsequent shooting In , if a detection indication is issued, it is possible that the quality of the obtained thermal image data frame is worse than that of the previous one. the
而在实施例2中,如先检测到如图10(a)所示的红外热像1001,因为对相关度的对比值(假定起始的对比值为72%)进行了更新(更新为85%),因此,当再次发出检测指示后,临时存储部2中所检测到的热像数据帧的相关度低于85%时,将不会选择、通知,或通知“未拍摄到更好的红外热像”的字样。而后,当发出检测指示后,当检测到拍摄了如图6(b)所示的红外热像1002(95%)时,才进行选择,并进一步进行通知;并且,选择部11B始终选择最大相关度的热像数据帧有关的特定信息进行保持,这样使用者就可放心地调整热像装置100,以追求拍摄最佳效果的热像。 In Example 2, if the infrared
需要指出,在实施例1和2中,对是否检测到特定被摄体热像,并不限于相关度的值与相关度的对比值之间的比较,也可变形为例如根据检测获得的规定信息和/或规定信息获得的评价值及预定的对比值的比较结果,来作为是否检测到特定被摄体热像的依据。 It should be pointed out that in
如上所述,在本实施例中,当检测到相关度高于比较值的热像数据帧时,才选择该热像数据帧或还予以通知,并在后续每当检测到高于之前的相关度的对比值时,能不断更新对比值,并保持后续所挑选的热像数据帧有关的特定信息,或还替换原有保持的特定信息;显然,根据选择部所选择的特定信息,进行通知、分析等后续的处理,能提高处理的效力;并能达到大幅度降低视觉匹配对准的操作难度,大幅度降低拍摄的体力强度,提高最终获得的热像数据帧的质量的有益效果。普通使用者容易掌握这种拍摄技能。当然,实施本发明的实施方式的任一产品并不一定需要同时达到以上所述的所有优点。 As mentioned above, in this embodiment, when a thermal image data frame whose correlation degree is higher than the comparison value is detected, the thermal image data frame is selected or notified, and every time a higher correlation value is detected in the subsequent When the comparison value of the degree is selected, the comparison value can be continuously updated, and the specific information related to the subsequent selected thermal image data frame can be kept, or the specific information kept can be replaced; obviously, according to the specific information selected by the selection part, it will be notified Subsequent processing, such as analysis and analysis, can improve the effectiveness of processing; and can greatly reduce the operational difficulty of visual matching and alignment, greatly reduce the physical strength of shooting, and improve the quality of the final thermal image data frame. Ordinary users can easily master this shooting skill. Of course, any product that implements the embodiments of the present invention does not necessarily need to achieve all the above-mentioned advantages at the same time. the
并且,在红外检测的领域,由于考虑到特定被摄体热像在红外热像中的位置、尺寸、倾斜角度等的不同,对应了不同的拍摄质量,即便相关度高,如果上述参数不理想,所获取的热像数据帧的质量不一定高;因此,优选的,考虑特定被摄体热像位于热像数据帧中的位置、尺寸、倾斜角度、相关度的值等因素,例如根据上述因素来获得评价值(可以是一个或多个),与规定的对比值进行比较,作为进行规定热像数据帧的选择和进行通知的因素,来提示使用者注意拍摄的质量,或选择最佳拍摄质量的热像数据帧进行后续的处理。 Moreover, in the field of infrared detection, due to the consideration of the position, size, inclination angle, etc. of the thermal image of a specific subject in the infrared thermal image, it corresponds to different shooting qualities. Even if the correlation is high, if the above parameters are not ideal , the quality of the acquired thermal image data frame is not necessarily high; therefore, it is preferable to consider factors such as the position, size, inclination angle, and correlation value of the thermal image of a specific subject in the thermal image data frame, for example, according to the above-mentioned Factors to obtain the evaluation value (can be one or more), compared with the specified comparison value, as a factor for selecting and notifying the specified thermal image data frame, to remind the user to pay attention to the quality of the shooting, or to choose the best Capture quality thermal image data frames for subsequent processing. the
实施例3 Example 3
与实施例1,2的不同之处在于,热像装置100(红外挑选装置100)基于临时存储部2中的多帧热像数据帧,根据规定的指示,检测临时存储部2中存储的多帧热像数据帧中的与特定被摄体热像有关的规定信息;其中,所述规定信息,例如至少包括特定被摄体热像的位置、尺寸、倾斜角度、相关度的值中的一种或任意组合的信息。控制部11具有辅助信息获取 部(未图示),用于获取辅助信息;比较部11A,用于将检测部检测获得的规定信息、辅助信息获取部获取的辅助信息、检测部8检测获得的规定信息得到的评价值、辅助信息获取部获取的辅助信息而得到的评价值、检测部8检测获得的规定信息及辅助信息获取部获取的辅助信息而得到的评价值,其中的一项或多项,与对应的一个或多个对比值进行比较;选择部11B,基于比较部11A的比较结果,选择与规定的热像数据帧有关的特定信息,当有多项比较,根据不同的比较结果,所选择的特定信息可能是一帧或多帧热像数据帧有关的特定信息;通知部11C,基于选择部11B所选择与规定的热像数据帧有关的特定信息,进行通知。对比值更新部11D,用于对比值的更新。 The difference from
在红外检测的领域,由于考虑到特定被摄体热像在红外热像中的位置、尺寸、倾斜角度等的不同,对应了不同的拍摄质量,即便相关度高,如果上述参数不理想,所获取的热像数据帧的质量不一定高;因此,考虑特定被摄体热像位于热像数据帧中的位置、尺寸、倾斜角度等因素,作为生成通知的因素,来提示使用者注意拍摄的质量,或选择最佳拍摄质量的热像数据帧进行后续的处理。 In the field of infrared detection, due to the consideration of the position, size, tilt angle, etc. of the thermal image of a specific subject in the infrared thermal image, it corresponds to different shooting quality, even if the correlation is high, if the above parameters are not ideal, so The quality of the acquired thermal image data frame is not necessarily high; therefore, consider the position, size, inclination angle and other factors of the thermal image of a specific subject in the thermal image data frame as factors for generating notifications to remind users to pay attention to the shooting quality, or select the thermal image data frame with the best shooting quality for subsequent processing. the
其中,所述辅助信息,例如至少包括分析值、环境温度、背景因素、风速、湿度、距离中的一种或任意组合的信息,或其他由热像装置100所获取的辅助信息(包括由使用者进行设置),包括其他各种对选择部11B所选择的规定热像数据帧有关的信息和/或对通知部11C所通知的信息有影响的因素都在其范围中。 Wherein, the auxiliary information, for example, includes at least one or any combination of analysis value, ambient temperature, background factor, wind speed, humidity, distance, or other auxiliary information obtained by the thermal imaging device 100 (including set by others), including various other factors that affect the information related to the specified thermal imaging data frame selected by the selection unit 11B and/or the information notified by the notification unit 11C are all within its scope. the
在红外检测的应用领域,根据上述的辅助信息的不同,所获得的热像数据帧的质量及重要程度不同,应有不同的条件来应对规定的热像数据帧的比较、选择、通知等处理;例如,当获得的特定被摄体热像中具有大于规定的对比值(例如缺陷的阀值)的分析值时,代表被摄体具有缺陷,那么,应引起使用者的重视,这时在相关度接近的情况下,也优选选择并通知分析值超标的热像数据帧有关的特定信息,将立即引起使用者的注意,对红外检测的意义重大;例如考虑环境温度、背景、风速、背景因素(例如背景与被摄体热像的差异性,背景的热场分布等)等的影响因素,在相关度接近的情况下,这些影响因素可能会导致不同的热像质量及后续分析的价值降低,应选择并通知其他影响因素干扰小的热像数据帧。 In the application field of infrared detection, according to the above-mentioned different auxiliary information, the quality and importance of the obtained thermal image data frames are different, and there should be different conditions to deal with the comparison, selection, notification and other processing of the specified thermal image data frames ; For example, when the obtained thermal image of a specific subject has an analysis value greater than the specified contrast value (such as the threshold value of the defect), it means that the subject has a defect, so the user should pay attention to it. When the correlation is close, it is also preferred to select and notify the specific information about the thermal image data frame whose analysis value exceeds the standard, which will immediately attract the user's attention, which is of great significance to infrared detection; for example, consider the ambient temperature, background, wind speed, background Factors (such as the difference between the thermal image of the background and the subject, the thermal field distribution of the background, etc.), etc., when the correlation is close, these influencing factors may lead to different thermal image quality and subsequent analysis value The thermal image data frame with less interference from other influencing factors should be selected and notified. the
其中,辅助信息获取部,例如可以根据热像装置100或与热像装置100中连接的装置或相应功能的部件(未图示)来获取上述辅助信息,例如,通过分析部件获取分析值(分析值可以是分析获得的温度值,并不限定于温度值,例如,也可以是AD值、伪彩热像中的颜色值、特定像数值的比例,或还将这些数值按照规定公式计算获得的值等,分析部件所获取的分析值可以针对热像数据帧中的全部像素或特定分析区域中的像素),通过温度传感器来获取环境温度,通过湿度计来获得湿度,通过测距仪来获得热像装置100与被摄体的距离等。也可以根据存储介质中预先存储的上述辅助信息来获取,例如,辅助信息的历史数据;或结合当前测量获取的辅助信息与存储介质中预先存储的辅助信息的历史数据的对比来获得辅助信息。各种辅助信息的获得为本领域技术人员所公知的技术。 Wherein, the auxiliary information acquiring part, for example, can obtain the above-mentioned auxiliary information according to the thermal imaging device 100 or a device connected to the thermal imaging device 100 or components (not shown) with corresponding functions, for example, obtain an analysis value through an analysis component (analysis The value can be the temperature value obtained by analysis, and is not limited to the temperature value. For example, it can also be the AD value, the color value in the pseudo-color thermal image, the ratio of the specific image value, or these values are calculated according to the prescribed formula. value, etc., the analysis value obtained by the analysis component can be for all pixels in the thermal image data frame or pixels in a specific analysis area), the ambient temperature is obtained through the temperature sensor, the humidity is obtained through the hygrometer, and the rangefinder is used to obtain The distance between the thermal imaging device 100 and the subject, etc. The auxiliary information may also be acquired according to the above-mentioned auxiliary information pre-stored in the storage medium, for example, historical data of the auxiliary information; or the auxiliary information may be obtained by comparing the auxiliary information acquired by current measurement with the historical data of the auxiliary information pre-stored in the storage medium. The acquisition of various auxiliary information is well known to those skilled in the art. the
并且,可以通过规定信息和/或辅助信息来获得综合的评价值;例如,可以采用所检测的规定信息中的特定信息对应了不同的系数,而由所检测的规定信息中的其他的规定信息结合该系数来获得评价值;例如,可以采用不同的信息所占的权重,通过加权来获得评价值。可以通过各种不同的计算方式来获得最终的评价值。 In addition, a comprehensive evaluation value can be obtained through prescribed information and/or auxiliary information; for example, specific information in the detected prescribed information can be used to correspond to different coefficients, and other prescribed information in the detected prescribed information The evaluation value is obtained by combining the coefficients; for example, the weight of different information can be used to obtain the evaluation value through weighting. The final evaluation value can be obtained through various calculation methods. the
例如,如图13所示,假定图13(c)的红外热像1301根据窗口系数为0.94的检测窗口获得,而红外热像1302根据窗口系数为0.8的检测窗口获得,评价值=相关度的值×窗口系数(检测窗口如可体现粗略的位置、尺寸),因此,即便红外热像1301的相关度小于红外热像1302的相关度,但评价值反而高。 For example, as shown in Figure 13, it is assumed that the infrared
例如,可通过所述规定信息和所述辅助信息,来获得综合的评价值。例如,获得综合了特定被摄体热像的位置、尺寸、倾斜角度、分析值、相关度的值获得的评价值,例如根据下式来获得综合评价值,综合评价值=位置×位置加权系数+尺寸×尺寸加权系数+倾斜角度×倾斜角度加权系数+分析值×分析值加权系数+相关度的值×相关度加权系数;或者,另一种优选的方式,根据所检测的规定信息和所获取的辅助信息与综合评价值的对照表来获得评价值。 For example, a comprehensive evaluation value can be obtained through the prescribed information and the auxiliary information. For example, to obtain an evaluation value obtained by combining the position, size, tilt angle, analysis value, and correlation value of a specific subject’s thermal image, for example, to obtain a comprehensive evaluation value according to the following formula, comprehensive evaluation value = position × position weighting coefficient + size × size weighting coefficient + inclination angle × inclination angle weighting coefficient + analysis value × analysis value weighting coefficient + correlation value × correlation weighting coefficient; or, another preferred way, according to the detected specified information and the obtained The comparison table of the obtained auxiliary information and the comprehensive evaluation value is used to obtain the evaluation value. the
并且,也可以根据所述规定信息和所述辅助信息,将其中部分来获得评价值,而后,根据其中的未参与获得评价值的规定信息和/或辅助信息,与获得的评价值一起,作为比较部与规定的对比值进行比较的对象。 In addition, part of them may be used to obtain an evaluation value based on the prescribed information and the auxiliary information, and then, according to the prescribed information and/or auxiliary information that did not participate in obtaining the evaluation value, together with the obtained evaluation value, as The comparison section compares the object with the specified comparison value. the
其中,对比值更新部11D,根据比较部11A的比较结果,将对比值进行更新;并且,当有多项对比值时,将对应的对比值中的至少一项进行更新;其中,当多项对比值全部更新,在更新后,所述比较部11A,用于对检测部8后续检测获得的规定信息,和/或,基于辅助信息获取部获取的辅助信息,和/或,由所述规定信息和/或所述辅助信息而得到的评价值,与多项更新的对比值进行比较;其中,当多项对比值中的部分更新,在更新后,与多项对比值中的更新项的对比值及未更新项的对比值进行比较。优选的,根据比较部比较获得的最优的规定信息、或最优的辅助信息、或最优的根据检测获得的规定信息和/或辅助信息获得的评价值中的一项,将相应的至少一项对比值进行更新。 Wherein, the comparison value update unit 11D updates the comparison value according to the comparison result of the comparison unit 11A; and, when there are multiple comparison values, at least one of the corresponding comparison values is updated; wherein, when there are multiple comparison values All the comparison values are updated. After the update, the comparison unit 11A is used to detect the predetermined information obtained by the
其中,当检测部8被配置为检测特定被摄体热像的多个规定信息,并且比较部11A,对检测部8检测获得的规定信息和/或基于检测获得的规定信息而得到的评价值与规定的多项对比值进行比较时,基于比较的结果,选择部11B可能选择多个热像数据帧有关的特定信息,这时,通知部11C可以对其中之一或多个进行通知。优选的,所述选择部,基于比较部的比较结果,选择相关度的值和/或规定信息和/或辅助信息和/或评价值(规定信息和/或辅助信息获得的评价值)优于规定的对比值的热像数据帧有关的特定信息进行保持。所述通知部,基于选择部所选择并保持的与规定的热像数据帧有关的特定信息,选择相关度的值和/或规定信息和/或辅助信息和/或评价值(规定信息和/或辅助信息获得的评价值)优于规定的对比值的热像数据帧有关的特定信息进行通知。 Wherein, when the
参见图11、12来说明实施例3的热像装置100的检测模式的控制流程,在本例中,配置了三个对比值为例。将检测部8所检测的热像数据帧中与特定被摄体热像有关的规定信息(相关度的值)、基于检测获得的规定信息及辅助信息获取部获取的辅助信息(分析值)而得到的评价值,与第一、第二、第三对比值进行比较。 Referring to FIGS. 11 and 12 to illustrate the control flow of the detection mode of the thermal imaging device 100 in
第一对比值预先准备(在本实施例中为相关度的第一对比值),用来判断是否具有特定被摄体热像的对比值(代表特定被摄体热像与被摄体识别信息匹配与否的判断值),第一对比值不更新。 The first comparison value is prepared in advance (in this embodiment, it is the first comparison value of the correlation degree), which is used to determine whether there is a contrast value of the thermal image of the specific object (representing the thermal image of the specific object and the identification information of the object) match or not), the first comparison value is not updated. the
第二对比值(在本实施例中为相关度的第二对比值),为大于第一对比值的相关度的对比值,其根据检测到的热像数据帧的相关度的值而获得,当后续的热像数据帧检测到更高的相关度的值时,第二对比值将随之更新为更高的值。 The second comparison value (in this embodiment, the second comparison value of the correlation degree) is a comparison value of the correlation degree greater than the first comparison value, which is obtained according to the value of the correlation degree of the detected thermal image data frame, When a higher correlation value is detected in subsequent thermal image data frames, the second comparison value will be updated accordingly to a higher value. the
第三对比值,以位置、尺寸、倾斜角度、相关度的值、分析值等获得综合评价值,作为与对应(例如预先准备的)第三对比值进行比较,当后续的热像数据帧检测到更高(更优)的综合评价值时,第三对比值将随之更新为更高的值。 The third comparison value is to obtain a comprehensive evaluation value based on the position, size, inclination angle, correlation value, analysis value, etc., as a comparison with the corresponding (for example, pre-prepared) third comparison value, when the subsequent thermal image data frame detection When a higher (better) comprehensive evaluation value is reached, the third comparison value will be updated to a higher value accordingly. the
最终,选择部11B将选择优于第二对比值和/或优于第三对比值的热像数据帧有关的特定信息;便于后续的通知、分析、诊断、记录等处理。 Finally, the selection unit 11B will select specific information related to the thermal image data frame that is superior to the second comparison value and/or superior to the third comparison value; it is convenient for subsequent notification, analysis, diagnosis, recording and other processing. the
步骤C01-步骤C02,类同于实施例1的步骤A01-A02,省略了说明; Steps C01-C02 are similar to steps A01-A02 of Embodiment 1, and the description is omitted;
步骤C03,类同于实施例1的步骤A03-A10,检测获得多帧份的热像数据帧的相关度,省略了说明; Step C03, similar to steps A03-A10 of Embodiment 1, detects and obtains the correlation degree of multiple frames of thermal image data frames, and the description is omitted;
步骤C04,判断所检测的热像数据帧的相关度的值,是否大于第一对比值,如否,表示未检测到特定的特定被摄体热像,回到步骤C01,例如还显示未检测到匹配的热像的字样。重复后续的处理;也可配置为到步骤C32,如未退出则回到C01。 Step C04, determine whether the correlation value of the detected thermal image data frame is greater than the first comparison value, if not, it means that no specific thermal image of a specific subject has been detected, and return to step C01, for example, it also displays undetected to the matching thermal image. Repeat subsequent processing; it can also be configured to go to step C32, and return to C01 if not exited. the
当在步骤C04检测到的相关度大于第一对比值,则进入步骤C05。 When the degree of correlation detected in step C04 is greater than the first comparison value, go to step C05. the
步骤C05,辅助信息获取部对相关度大于第一对比值的热像数据帧和/或该热像数据帧检测窗口中的热像数据,获得辅助信息例如与特定被摄体热像有关的分析值等,例如控制分析部件进行分析获得分析值。此外,例如,当检测部8配置为通过检测像素比例等来计算相关度时,不限于根据检测窗口的位置参数来决定所检测到的特定被摄体热像的位置参数,这时,也可根据检测到的检测窗口中进一步提取特定被摄体的轮廓,来获得更为精确的位置、尺寸、倾斜角度等与特定被摄体热像有关的规定信息。 Step C05, the auxiliary information acquisition unit obtains auxiliary information such as analysis related to the thermal image of a specific object for the thermal image data frame whose correlation degree is greater than the first comparison value and/or the thermal image data in the detection window of the thermal image data frame Values, etc., such as controlling analysis components to perform analysis to obtain analysis values. In addition, for example, when the
步骤C06,获得评价值,获得综合了特定被摄体热像的位置、尺寸、倾斜角度、分析值、相关度的值获得的评价值,例如根据下式来获得综合评价值,综合评价值=位置×位置加权系数+尺寸×尺寸加权系数+倾斜角度×倾斜角度加权系数+分析值×分析值加权系数+相关度的值×相关度加权系数;或者,另一种优选的方式,根据所检测的信息与综合评价值的对照表来获得评价值。 Step C06, obtain the evaluation value, obtain the evaluation value obtained by combining the position, size, inclination angle, analysis value, and correlation value of the thermal image of the specific subject, for example, obtain the comprehensive evaluation value according to the following formula, the comprehensive evaluation value = Position × position weighting coefficient + size × size weighting coefficient + inclination angle × inclination angle weighting coefficient + analysis value × analysis value weighting coefficient + correlation value × correlation weighting coefficient; or, another preferred way, according to the detected The comparison table of the information and the comprehensive evaluation value is used to obtain the evaluation value. the
步骤C07,判断所检测的热像数据帧中的最大相关度和最大评价值的热像数据帧是否是同一帧? Step C07, judging whether the thermal image data frame with the maximum correlation degree and the maximum evaluation value among the detected thermal image data frames is the same frame? the
如是(步骤C07:是),则进入步骤C08,将评价值与第三对比值进行比较。 If yes (step C07: yes), go to step C08, and compare the evaluation value with the third comparison value. the
如小于第三对比值时(步骤C08:否),则在步骤C09,将检测获得的相关度的值与第二对比值进行比较;如否,则跳到步骤C32,例如代表之前已检测到相关度、比当前检测的热像数据帧高的热像数据帧。如是,则在步骤C10-C11,对比值更新部11D将根据所检测到的最大相关度的值,来更新第二对比值。并且,选择部11B将该热像数据帧有关的特定信息,保持在临时存储部2的规定区域,替换之前的特定信息(如果有之前的热像数据帧有关的特定信息,并且之前的热像数据帧的相关度小于当前检测的热像数据帧,并且评价值在所保持的热像数据帧中并不最大时,才进行替换),并且在步骤C12,对相关度大于第二对比值的热像数据帧有关的特定信息进行通知。 If it is less than the third comparison value (step C08: No), then in step C09, compare the value of the correlation degree obtained by detection with the second comparison value; if not, skip to step C32, for example, it means that Correlation, the thermal image data frame higher than the currently detected thermal image data frame. If yes, then in steps C10-C11, the comparison value updating unit 11D will update the second comparison value according to the detected maximum correlation value. And, the selection part 11B keeps the specific information related to the thermal image data frame in the specified area of the
如综合评价值大于第三对比值(步骤C08:是),则在步骤C13,将相关度的值与第二对比值进行比较; If the comprehensive evaluation value is greater than the third comparison value (step C08: yes), then in step C13, compare the value of the degree of correlation with the second comparison value;
如果大于第二对比值(步骤C13:是),则在C14-C15,对比值更新部11D将根据该热像数据帧所检测到的最大相关度的值,最大综合评价值来更新第二对比值、第三对比值。并且,选择部11B将与该热像数据帧有关的特定信息,保持在临时存储部2的规定区域,替换之前 的特定信息(如果有),并且在步骤C16,对相关度大于第二对比值并且综合评价值大于第三对比值的热像数据帧有关的特定信息进行通知。 If it is greater than the second comparison value (step C13: Yes), then at C14-C15, the comparison value update unit 11D will update the second comparison according to the maximum correlation value and the maximum comprehensive evaluation value detected by the thermal image data frame value, the third comparison value. And, the selection part 11B keeps the specific information related to the thermal image data frame in the specified area of the
如果小于第二对比值(步骤C13:否),则在C17-C18,对比值更新部11D将根据所检测到的该热像数据帧的综合评价值,来更新第三对比值。并且,选择部11B将所检测到的具有最大综合评价值对应的热像数据帧有关的特定信息,保持在临时存储部2的规定区域,替换之前的特定信息(如果有之前的热像数据帧有关的特定信息,并且之前的热像数据帧的评价值小于当前检测的热像数据帧,并且相关度在所保持的热像数据帧中并不最大时,才进行替换),并且在步骤C19,对综合评价值大于第三对比值的热像数据帧有关的特定信息进行通知。 If it is smaller than the second comparison value (step C13: No), then at C17-C18, the comparison value updating unit 11D will update the third comparison value according to the detected comprehensive evaluation value of the thermal image data frame. And, the selection part 11B keeps the specific information related to the detected thermal image data frame corresponding to the maximum comprehensive evaluation value in the specified area of the
如步骤C07(否),代表了在所检测的热像数据帧中,相关度最大的热像数据帧及评价值最大的热像数据帧为不同的二帧(也可能有多帧),则进入步骤C20,将最大评价值的热像数据帧的评价值与第三对比值进行比较,见图12。 For example, in step C07 (No), it means that among the detected thermal image data frames, the thermal image data frame with the greatest correlation and the thermal image data frame with the largest evaluation value are two different frames (there may be multiple frames), then Enter step C20, compare the evaluation value of the thermal image data frame with the maximum evaluation value with the third comparison value, see FIG. 12 . the
如小于第三对比值时(步骤C20:否),则在步骤C21,将检测获得最大相关度的热像数据帧的相关度的值与第二对比值进行比较;如否,则跳到步骤B32,代表之前已检测到相关度、评价值比当前检测的热像数据帧高的热像数据帧,显示部将不显示,或显示未检测到更好的热像数据帧的字样。如是,则在步骤C22-C23,对比值更新部11D将根据所检测到的最大相关度的值,来更新第二对比值。并且,选择部11B将该热像数据帧有关的特定信息,保持在临时存储部2的规定区域,替换之前的特定信息(如果有之前的热像数据帧有关的特定信息,并且之前的热像数据帧的相关度小于当前检测的热像数据帧,并且评价值在所保持的热像数据帧中并不最大时,才进行替换),并且在步骤C24,对相关度大于第二对比值的热像数据帧有关的特定信息进行通知。 If it is less than the third comparison value (step C20: No), then in step C21, compare the correlation value of the thermal image data frame that obtains the maximum correlation with the second comparison value; if not, skip to step B32, which represents the thermal image data frame whose correlation degree has been detected before and whose evaluation value is higher than the currently detected thermal image data frame, the display unit will not display it, or display the words that no better thermal image data frame has been detected. If yes, then in steps C22-C23, the comparison value updating unit 11D will update the second comparison value according to the detected maximum correlation value. And, the selection part 11B keeps the specific information related to the thermal image data frame in the specified area of the
如综合评价值大于第三对比值(步骤C20:是),则在步骤C25,将相关度的值与第二对比值进行比较;如果大于第二对比值(步骤C25:是),则在C26-C27,对比值更新部11D将根据热像数据帧所检测到的最大相关度的值,最大综合评价值来更新第二对比值、第三对比值。并且,选择部11B将与热像数据帧有关的特定信息,保持在临时存储部2的规定区域,替换之前的特定信息(如果有),并且在步骤C28,对相关度大于第二对比值的热像数据帧、综合评价值大于第三对比值的热像数据帧有关的特定信息进行通知(例如二帧同时显示)。 If the comprehensive evaluation value is greater than the third comparison value (step C20: yes), then in step C25, compare the value of the degree of correlation with the second comparison value; if it is greater than the second comparison value (step C25: yes), then in step C26 - C27, the comparison value update unit 11D updates the second comparison value and the third comparison value according to the maximum correlation value and the maximum comprehensive evaluation value detected by the thermal image data frame. And, the selection part 11B keeps the specific information related to the thermal image data frame in the specified area of the
如果小于第二对比值(步骤C25:否),则在C29-C30,对比值更新部11D将根据所检测到的该热像数据帧的综合评价值,来更新第三对比值。并且,选择部11B将所检测到的具有最大综合评价值对应的热像数据帧有关的特定信息,保持在临时存储部2的规定区域,替换之前的特定信息(如果有之前的热像数据帧有关的特定信息,并且之前的热像数据帧的评价值小于当前检测的热像数据帧,并且相关度在所保持的热像数据帧中并不最大时,才进行替换),并且在步骤C31,对综合评价值大于第三对比值的热像数据帧有关的特定信息进行通知。 If it is smaller than the second comparison value (step C25: No), then at C29-C30, the comparison value updating unit 11D will update the third comparison value according to the detected comprehensive evaluation value of the thermal image data frame. And, the selection part 11B keeps the specific information related to the detected thermal image data frame corresponding to the maximum comprehensive evaluation value in the specified area of the
步骤C32,判断是否退出检测模式,如退出,则结束,如未退出,则回到步骤C01,显然,如选择有特定信息,则可显示所选择的特定信息获得的通知信息、红外热像、参考图像;重复上述的处理。这样,对连续拍摄获得的热像数据帧并循环存储在临时存储部2中时,当响应检测指示,将根据所检测的规定信息,将优于第二对比值和/或优于第三对比值的热像数据帧有关的特定信息进行选择和通知;便于后续的通知、分析、诊断、记录、保持等处理。其中,将检测的热像数据帧的相关度是否大于第一对比值作为进一步检测规定信息的条件,能 进一步避免拍摄错误部位、提示有效特定信息的有益效果。这里所谓的优于,根据对比值的不同,可能有小于或大于对比值等的情况。 Step C32, judge whether to exit the detection mode, if exit, then end, if not exit, then return to step C01, obviously, if you select specific information, you can display the notification information obtained from the selected specific information, infrared thermal image, Reference image; repeat the above process. In this way, when the thermal image data frames obtained by continuous shooting are cyclically stored in the
参考图13来说明拍摄过程中的显示界面的变化。 Referring to FIG. 13 , the changes of the display interface during the shooting process will be described. the
如图13(a)所示,当响应检测指示,如未检测到相关度大于第一对比值(假定第一对比值换算的相关度百分比为72%)的热像数据帧时,显示动态的红外热像。 As shown in Figure 13(a), when responding to the detection indication, for example, no thermal image data frame whose correlation degree is greater than the first contrast value (assuming that the correlation percentage converted from the first contrast value is 72%) is detected, a dynamic Infrared thermal image. the
响应第一次检测指示,如图13(b)所示,当第一次检测到相关度大于第一对比值的热像数据帧时,显示动态的红外热像、参考图像与所检测到的热像数据帧有关的通知信息,该通知信息基于选择部11B所指示存储的该热像数据帧的特定信息例如该热像数据帧、相关度的值、评价值来生成;通知信息包括该热像数据帧生成的红外热像1301,相关度的值换算的相关度百分比85%,评价值换算的评价值百分比80%。并且,对比值更新部11D将第二对比值例如更新为85%,第三对比值例如更新为80%;并且,当后续未检测到大于第二对比值和/或大于第三对比值的热像数据帧时,显示部10将保持显示红外热像1301等通知信息及动态红外热像的状态;并且,由于红外热像1301为当前所新获得的特定信息生成的通知信息,加粗的边框予以提醒使用者。 In response to the first detection indication, as shown in Figure 13(b), when a thermal image data frame whose correlation degree is greater than the first comparison value is detected for the first time, the dynamic infrared thermal image, the reference image and the detected The notification information related to the thermal image data frame, the notification information is generated based on the specific information of the thermal image data frame indicated by the selection unit 11B, such as the thermal image data frame, the value of the correlation degree, and the evaluation value; the notification information includes the thermal image data frame Like the infrared
响应第二次检测指示,如图13(c)所示,当检测到大于第二对比值或第三对比值的热像数据帧时,显示动态的红外热像与所检测到的热像数据帧有关的特定信息,该特定信息包括该热像数据帧生成的红外热像1302等,在此,由于红外热像1302所对应的相关度大于红外热像1301,而其评价值又小于红外热像1301,于是,选择部11B将该二个热像数据帧有关的特定信息进行保持;并且对比值更新部11D将根据红外热像1302所对应的相关度,将第二对比值进行更新;通知部11C将使显示部10显示二个不同的热像数据帧所获得的特定信息生成的通知信息。这时,由于红外热像1301、1302所对应的热像数据帧等特定信息保持在临时存储部2,使用者可以从显示部10显示的信息如红外热像1301、1302中,来选择后续进行记录或分析的所对应的热像数据帧。 In response to the second detection indication, as shown in Figure 13(c), when a thermal image data frame greater than the second comparison value or the third comparison value is detected, the dynamic infrared thermal image and the detected thermal image data are displayed The specific information related to the frame, the specific information includes the infrared thermal image 1302 generated by the thermal image data frame, etc. Here, because the correlation degree corresponding to the infrared thermal image 1302 is greater than that of the infrared
响应第三次检测指示,并且,如图13(d)所示,当第检测到的相关度大于第二对比值并且评价值大于第三对比值的热像数据帧时,选择部11B将与红外热像1303有关的特定信息进行保持,或还将红外热像1301、1302有关的特定信息予以删除;并且,对比值更新部11D将根据红外热像1303所对应的相关度(95%)和评价值(95%),将第二、第三对比值进行更新;通知部11C将使显示部10显示动态的红外热像、参考图像与所检测到的该热像数据帧有关的特定信息,该特定信息包括该热像数据帧生成的红外热像1303等。 In response to the third detection instruction, and, as shown in FIG. 13( d ), when the first detected correlation degree is greater than the second comparison value and the evaluation value is greater than the third comparison value of the thermal image data frame, the selection part 11B will The specific information related to the infrared
这样,选择部11B,基于比较部的比较结果,选择并保持相关度的值和/或评价值大于规定的对比值(第二对比值、第三对比值)的热像数据帧有关的特定信息;在显示部10的界面中,总是能显示通知相关度最高和/或评价值最高的热像数据帧获得的信息,对使用者的拍摄帮助极大。 In this way, the selection unit 11B, based on the comparison result of the comparison unit, selects and maintains the specific information related to the thermal image data frame whose correlation value and/or evaluation value is greater than the specified comparison value (second comparison value, third comparison value) ; In the interface of the
如上所述,在本实施例中,不仅可以获得实施例1的效果,并且,设置了根据检测到的特定被摄体热像的规定信息及辅助信息,来作为比较的因素,当检测到更优的热像数据帧时,选择部则选择并保持该热像数据帧有关的特定信息,对比值更新部对对比值进行相应的更新,从而能选择到更为理想的热像数据帧有关的特定信息;能达到进一步减低视觉对准的操作难度,提高拍摄时的热像数据帧的质量,提示特定状态的有益效果,普通使用者容易掌握这种 拍摄技能,随意的拍摄也易于获得高质量的热像数据帧。当然,实施本发明的实施方式的任一产品并不一定需要同时达到以上所述的所有优点。 As mentioned above, in this embodiment, not only the effect of Embodiment 1 can be obtained, but also the specified information and auxiliary information based on the detected thermal image of a specific object are set as factors for comparison. When there is an excellent thermal image data frame, the selection part selects and maintains the specific information related to the thermal image data frame, and the contrast value update part updates the contrast value accordingly, so as to select a more ideal thermal image data frame. Specific information; it can further reduce the operational difficulty of visual alignment, improve the quality of the thermal image data frame during shooting, and prompt the beneficial effect of a specific state. It is easy for ordinary users to master this shooting skill, and it is easy to obtain high-quality shooting at will. The thermal image data frame. Of course, any product that implements the embodiments of the present invention does not necessarily need to achieve all the above-mentioned advantages at the same time. the
此外,虽然例举了三个对比值,也可以更多的对比值,对应了几个不同侧重的评价值和/或辅助信息和/或检测获得的规定信息,例如由特定被摄体热像的位置、尺寸、倾斜角度获得的评价值,由分析值、环境温度等获得的评价值等。 In addition, although three contrast values are exemplified, there may be more contrast values, corresponding to several evaluation values with different emphasis and/or auxiliary information and/or specified information obtained from detection, for example, the thermal image of a specific subject The evaluation value obtained from the position, size, and inclination angle of the product, the evaluation value obtained from the analysis value, the ambient temperature, etc. the
此外,虽然实施例2中例举了多个对比值(三个,或者也可以减少为二个),其中部分更新、部分不更新;但也可以配置为全部更新;或也可去除对比值更新部11D的结构,而预先准备多个相应的对比值,全部不更新。 In addition, although multiple comparison values (three, or can also be reduced to two) are exemplified in Example 2, some of which are updated and some are not updated; but it can also be configured to update all; or the comparison value update can also be removed The structure of the part 11D, and a plurality of corresponding comparison values are prepared in advance, and none of them are updated. the
在实施例3中,介绍了根据相关度的值及评价值作为示例,也根据将根据检测部8所检测到的规定信息来获得多个评价值,根据多个评价值与相应的对比值的比较,来决定是否进行进行特定信息的选择和保持;或者,还将通知多个根据不同的评价值所获得的热像数据帧;或者,还将相关度的值及多个评价值按照次序或优先等级来进行通知。并且优选的,将选择部最新选择(通常是相关度和/或评价值大于对比值)的规定热像数据帧有关的特定信息进行通知。这样,使用者非常的方便;例如将热定被摄体的位置、尺寸、倾斜度、相关度的值,作为评价因素,便于获得高质量的热像数据帧或特定拍摄要求的热像数据帧;将热像分析值、相关度的值作为评价因素,便于获得及时地被摄体分析状况。使用者易于把握和了解到拍摄的质量等关注点。 In
并且,当检测到大于之前的相关度和/或评价值的热像数据帧时,选择部11B将之前的热像数据帧所获得的特定信息予以删除,但也可继续保持,这时,通知部11C也可显示多个热像数据帧有关的特定信息,例如按照相关度和/或评价值的高低等因素来排序显示这些特定信息。 And, when a thermal image data frame greater than the previous correlation degree and/or evaluation value is detected, the selection part 11B deletes the specific information obtained by the previous thermal image data frame, but it can also continue to keep it. At this time, a notification The part 11C may also display specific information related to a plurality of thermal image data frames, for example, sort and display the specific information according to factors such as correlation degree and/or evaluation value. the
在上述实施例中各自说明了示例的热像装置100,显然可适用于便携拍摄或在线拍摄的各种热像装置;然而,本发明不仅适用于带有拍摄功能的热像装置,还适用于接收和处理热像的热像处理设备,如从外部连续接收和处理热像(如按时序获取热像数据帧)的热像处理装置(如计算机、个人数字助理、与拍摄功能的热像装置配套使用的显示装置等),该热像处理装置例如为计算机,通过通信口(获取部的例子,例如按照USB、1394、网络等通信规范,将热像处理装置与外部设备连接)与热像装置进行有线或无线连接,通过连续接受与其连接的热像装置输出的热像数据帧,来实现一个实施例子,其检测处理、比较处理、选择处理等处理方式与上述实施方式类同,省略了说明。 The thermal imaging device 100 of the example has been described in the above-mentioned embodiments, and it is obviously applicable to various thermal imaging devices for portable shooting or online shooting; however, the present invention is not only applicable to thermal imaging devices with a shooting function, but also applicable to Thermal image processing equipment that receives and processes thermal images, such as thermal image processing devices that continuously receive and process thermal images from the outside (such as acquiring thermal image data frames in time series) (such as computers, personal digital assistants, thermal imaging devices with shooting functions) Supporting display devices, etc.), the thermal image processing device is, for example, a computer, through the communication port (the example of the acquisition part, such as connecting the thermal image processing device with external equipment according to USB, 1394, network and other communication standards) and the thermal image The device is wired or wirelessly connected, and an implementation example is realized by continuously receiving the thermal image data frames output by the thermal imaging device connected to it. The detection processing, comparison processing, selection processing, etc. illustrate. the
并且,不限于拍摄或从外部获取热像数据帧,也可作为热像装置或热像处理装置中的一个构成部件或功能模块,例如从其他部件来获取热像数据帧,这时,也构成本发明的实施方式。 Moreover, it is not limited to shooting or obtaining thermal image data frames from the outside, and can also be used as a component or functional module in a thermal imaging device or a thermal image processing device, such as obtaining thermal image data frames from other components. At this time, it also constitutes Embodiments of the present invention. the
此外,热像存储部并不限定于循环存储由拍摄部1拍摄获得的多个热像数据帧的实施方式,也可以是间隔或其他获取方式获取(如使用者多次按下记录键来拍摄存储的)而存储的,或多种方式的混合来获得热像数据帧并存储。 In addition, the thermal image storage unit is not limited to the embodiment in which multiple frames of thermal image data captured by the photographing unit 1 are stored cyclically, and may also be acquired at intervals or by other acquisition methods (for example, the user presses the record key several times to capture stored) and stored, or a combination of multiple methods to obtain thermal image data frames and store them. the
此外,优选的具有通知部,但也可以没有通知部,如由使用者通过操作来查看所选择的特定信息; In addition, it is preferable to have a notification part, but there may be no notification part, for example, the user can check the selected specific information through operation;
此外,也可设置规定的检测时间或规定数量帧的检测,来通知其中最优(如相关度最高)的帧。也不限定于仅通知最优的帧,也可以通知多帧。 In addition, a specified detection time or detection of a specified number of frames may also be set to notify the optimal (for example, the most relevant) frame among them. The notification is not limited to only the optimal frame, and multiple frames may be notified. the
并且,可以不仅检测整个被摄体的整体区域,而且检测将被摄体划分为多个部件构成的多个检测窗口,这样,能够更精确检测;其中,对于各部件,与整体相同,准备对应的被摄体识别信息(可以是模板或特征量)。也可根据模板的多个特征量,来计算相应的检测窗口中的多个对应的特征量,并根据多个特征量所对应的对比值,来获得判断结果,例如,根据多个特征量的加权,来获得最终的判断结果。也可根据多个特征量,先计算其中的一个特征量与红外热像的比较结果,当大于规定的阀值,计算下一个特征量与红外热像的比较结果,根据多次比较,来获得最终的判断结果。 In addition, it is possible to detect not only the whole area of the entire subject, but also detect the multiple detection windows that divide the subject into multiple parts, so that it can be detected more accurately; wherein, for each part, it is the same as the whole, and the corresponding The object identification information (can be a template or feature value). It is also possible to calculate multiple corresponding feature quantities in the corresponding detection window according to multiple feature quantities of the template, and obtain a judgment result according to the comparison values corresponding to the multiple feature quantities, for example, according to the multiple feature quantities Weighted to obtain the final judgment result. It is also possible to calculate the comparison result of one of the feature quantities and the infrared thermal image based on multiple feature quantities, and when it is greater than the specified threshold, calculate the comparison result of the next feature quantity and the infrared thermal image, and obtain the result based on multiple comparisons. final judgment. the
在实施例中,可显示检测区域作为参考图像或部分;显然,例如当参考图像体现了形态特征时,也可根据该参考图像位于红外热像中的位置参数,来设置检测区域(如根据参考图像的外包矩形来放大规定比例获得的检测区域);可加快检测处理的速度并确保拍摄的质量。 In an embodiment, the detection area can be displayed as a reference image or part; obviously, for example, when the reference image embodies morphological features, the detection area can also be set according to the position parameters of the reference image in the infrared thermal image (such as according to the reference The outer rectangle of the image is used to enlarge the detection area obtained by the specified ratio); it can speed up the detection process and ensure the quality of the shooting. the
注意,在上述的实施例中,可以对热像数据帧的检测、选择、通知、对比值的数量、对比值的更新、辅助信息的获取等处理,进行不同的组合,这些组合均在本发明的范围之内。 Note that in the above-mentioned embodiments, different combinations can be performed on the detection, selection, notification, number of contrast values, update of contrast values, acquisition of auxiliary information, etc. of thermal image data frames, and these combinations are all included in the present invention within the range. the
并且,对是否检测到特定被摄体热像,并不限于相关度的值与相关度的对比值之间的比较,也可变形为例如根据检测获得的规定信息、辅助信息、规定信息获得的评价值、辅助信息获得的评价值、规定信息和辅助信息获得的评价值,其中的一项或多项,与规定的对比值的比较,来决定是否检测到特定被摄体热像。 Moreover, whether a thermal image of a specific subject is detected is not limited to the comparison between the value of the correlation degree and the contrast value of the correlation degree, and can also be modified, for example, according to the specified information obtained by detection, auxiliary information, and specified information. One or more of the evaluation value, the evaluation value obtained from the auxiliary information, the predetermined information and the evaluation value obtained from the auxiliary information, and a predetermined comparison value are compared to determine whether to detect a specific thermal image of the subject. the
在上述实施例中,对比值更新部,可根据比较部比较获得的最优的规定信息、或最优的辅助信息、或根据检测获得的规定信息和/或辅助信息获得的最优的评价值中的一项,将相应的至少一项对比值进行更新。选择部,基于比较部的比较结果,可选择规定信息和/或辅助信息和/或评价值其中的至少一项优于规定的对比值的热像数据帧有关的特定信息,或还进行保持;选择的条件如检测获得的规定信息和/或辅助信息和/或评价值,其中的至少一项,优于规定的对比值。所述通知部,基于选择部所选择并保持的与规定的热像数据帧有关的特定信息,可对相关度的值和/或规定信息和/或辅助信息和/或评价值最优或优于规定的对比值的热像数据帧有关的特定信息进行通知。这些所说的优于,可能存在小于对比值、或大于对比值、或位于对比值的范围、或超出对比值的范围、或接近对比值等的各种情况;当有多个对比值时,可能存在其中之一或全部大于、小于对比值、位于对比值的范围、或超出对比值的范围、或接近对比值等的情况;所说的最优,如检测获得的规定信息和/或辅助信息和/或评价值等相关的值,可能有最大的情况、或最小的情况、或最接近对比值或对比值范围中的某个值等的情况,应能理解优于和最优的含义。 In the above-mentioned embodiment, the comparison value update unit may obtain the optimal specified information or the optimal auxiliary information obtained by comparing with the comparing unit, or the optimal evaluation value obtained based on the specified information and/or auxiliary information obtained by detection. One of the items, update the corresponding at least one comparison value. The selection part, based on the comparison result of the comparison part, can select the specific information related to the thermal image data frame in which at least one of the specified information and/or auxiliary information and/or evaluation value is better than the specified comparison value, or also keep it; The selected condition, such as the specified information and/or auxiliary information and/or evaluation value obtained by detection, at least one of them is better than the specified comparison value. The notification unit, based on the specific information related to the specified thermal image data frame selected and held by the selection unit, can optimize or optimize the value of the correlation degree and/or the specified information and/or the auxiliary information and/or the evaluation value. Notify the specific information related to the thermal image data frame of the specified contrast value. These said to be superior may be smaller than the comparison value, or greater than the comparison value, or within the range of the comparison value, or beyond the range of the comparison value, or close to the comparison value, etc.; when there are multiple comparison values, There may be situations where one or all of them are greater than, less than, within the range of the comparison value, or beyond the range of the comparison value, or close to the comparison value, etc.; the so-called optimal, such as the specified information obtained by testing and/or auxiliary Information and/or evaluation values and other related values may have the largest situation, or the smallest situation, or the situation closest to the comparison value or a value in the comparison value range, etc., and the meaning of superiority and optimality should be understood . the
所选择的热像数据帧可用于后续的显示、分析、诊断、发送、记录等处理;所述分析如可获得分析值如温度值、特定像数值的比例值、或还将这些数值按照规定公式计算获得的值等,所述诊断如将分析值与规定的阈值进行比较可获得诊断结果如诊断结论(例如缺陷、正常等信息)、触发信号等,这些处理的含义为本领域技术人员所公知。 The selected thermal image data frame can be used for subsequent display, analysis, diagnosis, transmission, recording and other processing; the analysis can obtain analysis values such as temperature values, ratio values of specific image values, or these values can be obtained according to the prescribed formula Values obtained by calculation, etc., the diagnosis such as comparing the analysis value with the prescribed threshold value can obtain the diagnosis result such as diagnosis conclusion (such as defect, normal information, etc.), trigger signal, etc. The meaning of these processes is well known to those skilled in the art . the
在上述的例子,是按照一定的步骤次序来描述,但根据不同的实施方式可以有各种先后顺序,并不限于上述例子所描述的处理次序。当控制部11和图像处理部等包含了多个处理器时,还可能存在部分步骤适用的并行处理。 In the above examples, the steps are described according to a certain sequence, but there may be various sequences according to different implementation manners, and are not limited to the processing sequences described in the above examples. When the
存储被摄体识别信息等的存储介质,可以是热像装置100中的存储介质,如闪存3、存储卡6等非易失性存储介质,临时存储部2等易失性存储介质;还可以是与热像装置100有 线或无线连接的其他存储介质,如通过与通信I/F4有线或无线连接的其他装置如其他存储装置、热像装置、电脑等中的存储介质或网络目的地的存储介质。 The storage medium for storing subject identification information, etc., can be a storage medium in the thermal imaging device 100, such as non-volatile storage media such as
采用被摄体信息关联被摄体识别信息的实施方式,为优选的方式,可根据应用的不同可以准备各种适用的被摄体信息。例如对于电力行业的应用,优选的,被摄体信息为使用者可辨识的代表被摄体的身份信息,如代表被摄体地点、类型、相别的信息;但也可以是代表被摄体类型的信息。显然,被摄体识别信息并不限于必须与被摄体信息关联。 The embodiment in which the subject information is associated with the subject identification information is a preferred manner, and various applicable subject information can be prepared according to different applications. For example, for applications in the electric power industry, preferably, the subject information is user-recognizable identity information representing the subject, such as information representing the location, type, and phase of the subject; but it may also be information representing the subject type of information. Obviously, the subject identification information is not limited to be associated with the subject information. the
本发明的方面还可以通过独处和执行记录在存储装置上的程序来执行上述实施例的功能的系统或设备的计算机(或诸如CPU、MPU等的装置)、以及通过其步骤由系统或设备的计算机通过例如读出和执行记录在存储装置上的程序来执行上述实施例的功能而知性的方法来实现。为此目的,例如经由网络或从用作存储装置的各种类型的记录介质(例如,计算机可读介质)中将程序提供至计算机或热像装置。 Aspects of the present invention can also be implemented by a computer (or a device such as a CPU, MPU, etc.) of a system or device that executes the functions of the above-described embodiments by itself and executing a program recorded on a storage device, and by the steps of the system or device The computer is implemented by, for example, reading and executing a program recorded on a storage device to execute the functions of the above-described embodiments. For this purpose, the program is supplied to a computer or a thermal imaging device, for example, via a network or from various types of recording media (eg, computer-readable media) used as storage devices. the
本发明提供一种计算机程序,计算机程序构成的数字信号记录在计算机或热像装置可读的记录介质中,例如硬盘、存储器等中。该程序运行后执行如下步骤: The present invention provides a computer program, and the digital signal formed by the computer program is recorded in a recording medium readable by a computer or a thermal imaging device, such as a hard disk, a memory, and the like. After the program runs, perform the following steps:
拍摄步骤,用于连续拍摄获取热像数据帧;热像存储步骤,用于存储连续获取的多帧热像数据帧;显示控制步骤,用于控制使显示基于所获取的热像数据帧获得的动态的红外热像和参考图像;检测步骤,基于热像存储步骤中存储的多帧热像数据帧,检测与特定被摄体热像有关的规定信息;比较步骤,用于基于检测步骤检测获得的规定信息和/或基于检测获得的规定信息而得到的评价值,与规定的对比值进行比较;选择步骤,基于比较步骤的比较结果,选择与规定的热像数据帧有关的特定信息。 The shooting step is used to continuously shoot and obtain thermal image data frames; the thermal image storage step is used to store multiple frames of thermal image data frames obtained continuously; the display control step is used to control the display based on the obtained thermal image data frames A dynamic infrared thermal image and a reference image; a detection step, based on the multi-frame thermal image data frames stored in the thermal image storage step, to detect specified information related to a specific subject’s thermal image; a comparison step, used to detect and obtain based on the detection step The specified information and/or the evaluation value obtained based on the specified information obtained by detection are compared with the specified comparison value; the selection step is to select specific information related to the specified thermal image data frame based on the comparison result of the comparison step. the
或可执行如下步骤,获取步骤,用于连续获取热像数据帧;热像存储步骤,用于存储连续获取的多帧热像数据帧;显示控制步骤,用于控制使显示基于所获取的热像数据帧获得的动态的红外热像和参考图像;检测步骤,用于基于热像存储步骤中存储的多帧热像数据帧,检测与特定被摄体热像有关的规定信息;比较步骤,用于基于检测步骤检测获得的规定信息和/或基于检测获得的规定信息而得到的评价值,与规定的对比值进行比较;选择步骤,基于比较步骤的比较结果,选择与规定的热像数据帧有关的特定信息。 Or the following steps can be performed, the acquisition step is used to continuously acquire thermal image data frames; the thermal image storage step is used to store multiple frames of thermal image data frames that are continuously acquired; the display control step is used to control the display based on the obtained thermal image A dynamic infrared thermal image and a reference image obtained by the image data frame; a detection step for detecting specified information related to a specific subject thermal image based on multiple frames of thermal image data frames stored in the thermal image storage step; a comparison step, It is used to compare the specified information obtained based on the detection step and/or the evaluation value obtained based on the specified information obtained by the detection with the specified comparison value; the selection step is to select the specified thermal image data based on the comparison result of the comparison step Specific information about the frame. the
本发明的实施方式还提供一种可读存储介质,其存储用于电子数据交换的计算机程序,其中,所述计算机程序使得热像装置中的计算机执行如下步骤: Embodiments of the present invention also provide a readable storage medium, which stores a computer program for electronic data exchange, wherein the computer program causes the computer in the thermal imaging device to perform the following steps:
包括,拍摄步骤,用于连续拍摄获取热像数据帧;热像存储步骤,用于存储连续获取的多帧热像数据帧;显示控制步骤,用于控制使显示基于所获取的热像数据帧获得的动态的红外热像和参考图像;检测步骤,用于基于热像存储步骤中存储的多帧热像数据帧,检测与特定被摄体热像有关的规定信息;比较步骤,用于基于检测步骤检测获得的规定信息和/或基于检测获得的规定信息而得到的评价值,对多个热像数据帧进行比较;选择步骤,基于比较步骤的比较结果,选择与规定的热像数据帧有关的特定信息。 Including, the shooting step is used to continuously shoot and acquire thermal image data frames; the thermal image storage step is used to store multiple frames of thermal image data frames acquired continuously; the display control step is used to control the display based on the acquired thermal image data frames The obtained dynamic infrared thermal image and reference image; the detection step is used to detect the specified information related to the thermal image of a specific subject based on the multi-frame thermal image data frames stored in the thermal image storage step; the comparison step is used to detect the prescribed information based on the thermal image storage step The detection step detects the specified information obtained by detecting and/or the evaluation value obtained based on the specified information obtained by the detection, and compares multiple thermal image data frames; the selection step selects the specified thermal image data frame based on the comparison result of the comparison step specific information about. the
或可执行如下步骤,获取步骤,用于连续获取热像数据帧;热像存储步骤,用于存储所述获取步骤连续获取的多帧热像数据帧;显示控制步骤,用于控制使显示基于所获取的热像数据帧获得的动态的红外热像和参考图像;检测步骤,用于基于热像存储步骤中存储的多帧热像数据帧,检测与特定被摄体热像有关的规定信息;比较步骤,用于基于检测步骤检测获得的规定信息和/或基于检测获得的规定信息而得到的评价值,对多个热像数据帧进行比较;选择步骤,基于比较步骤的比较结果,选择与规定的热像数据帧有关的特定信息。 Or the following steps can be performed, the acquisition step is used to continuously acquire thermal image data frames; the thermal image storage step is used to store multiple frames of thermal image data frames continuously acquired by the acquisition step; the display control step is used to control the display based on A dynamic infrared thermal image and a reference image obtained from the acquired thermal image data frame; a detection step for detecting specified information related to a specific subject thermal image based on multiple frames of thermal image data frames stored in the thermal image storage step ; The comparison step is used to compare multiple thermal image data frames based on the specified information obtained by the detection step and/or the evaluation value obtained based on the specified information obtained by the detection; the selection step is based on the comparison result of the comparison step, select Specific information pertaining to a specified frame of thermal image data. the
虽然,可以通过硬件、软件或其结合来实现附图中的功能块,但通常不需要设置以一对一的对应方式来实现功能块的结构。可以通过一个软件或硬件模块来实现多个功能的块。或也可通过多个软件或硬件单元来实现一个功能的块。此外,也可以用专用电路或通用处理器或可编程的FPGA实现本发明的实施方式中的部分或全部功能部的处理和控制功能。 Although the functional blocks in the figures may be realized by hardware, software or a combination thereof, there is generally no need to set up a structure to realize the functional blocks in a one-to-one correspondence. A block that can realize multiple functions by one software or hardware module. Alternatively, one functional block may also be realized by a plurality of software or hardware units. In addition, the processing and control functions of some or all of the functional parts in the embodiments of the present invention can also be realized by a dedicated circuit, a general-purpose processor, or a programmable FPGA. the
此外,例子以电力行业的被摄体应用作为场景例举,也适用在红外检测的各行业广泛运用。上述所描述的仅为发明的具体例子(实施方式),各种例举说明不对发明的实质内容构成限定,并且,各种实施方式进行相应的替换和组合,可构成更多的实施方式。所属领域的技术人员在阅读了说明书后可对具体实施方式进行其他的修改和变化,而不背离发明的实质和范围。 In addition, the example uses the subject application in the power industry as an example, and it is also applicable to the wide application of infrared detection in various industries. What is described above is only a specific example (implementation mode) of the invention, and various illustrations do not limit the essence of the invention, and various implementation modes can be replaced and combined accordingly to form more implementation modes. Those skilled in the art can make other modifications and changes to the specific implementation after reading the specification without departing from the spirit and scope of the invention. the
| Application Number | Priority Date | Filing Date | Title |
|---|---|---|---|
| CN202210407107.2ACN114923581A (en) | 2012-12-27 | 2013-12-26 | Infrared selection device and infrared selection method |
| CN201310732936.9ACN103900711A (en) | 2012-12-27 | 2013-12-26 | Infrared selecting device and infrared selecting method |
| Application Number | Priority Date | Filing Date | Title |
|---|---|---|---|
| CN201210584421 | 2012-12-27 | ||
| CN201210584421.4 | 2012-12-27 | ||
| CN201310732936.9ACN103900711A (en) | 2012-12-27 | 2013-12-26 | Infrared selecting device and infrared selecting method |
| Application Number | Title | Priority Date | Filing Date |
|---|---|---|---|
| CN202210407107.2ADivisionCN114923581A (en) | 2012-12-27 | 2013-12-26 | Infrared selection device and infrared selection method |
| Publication Number | Publication Date |
|---|---|
| CN103900711Atrue CN103900711A (en) | 2014-07-02 |
| Application Number | Title | Priority Date | Filing Date |
|---|---|---|---|
| CN201310732936.9APendingCN103900711A (en) | 2012-12-27 | 2013-12-26 | Infrared selecting device and infrared selecting method |
| CN202210407107.2AWithdrawnCN114923581A (en) | 2012-12-27 | 2013-12-26 | Infrared selection device and infrared selection method |
| Application Number | Title | Priority Date | Filing Date |
|---|---|---|---|
| CN202210407107.2AWithdrawnCN114923581A (en) | 2012-12-27 | 2013-12-26 | Infrared selection device and infrared selection method |
| Country | Link |
|---|---|
| CN (2) | CN103900711A (en) |
| WO (1) | WO2014101805A1 (en) |
| Publication number | Priority date | Publication date | Assignee | Title |
|---|---|---|---|---|
| CN108896186A (en)* | 2018-05-15 | 2018-11-27 | 云南电网有限责任公司迪庆供电局 | The method and device of equipment intelligent diagnosis |
| WO2022121901A1 (en)* | 2020-12-07 | 2022-06-16 | 王浩 | Correction control apparatus, correction system, correction control method and correction method |
| Publication number | Priority date | Publication date | Assignee | Title |
|---|---|---|---|---|
| CN111695227B (en)* | 2019-03-13 | 2024-02-20 | 宁波方太厨具有限公司 | Cooking utensils heating uniformity evaluation method |
| Publication number | Priority date | Publication date | Assignee | Title |
|---|---|---|---|---|
| WO2006136958A2 (en)* | 2005-01-25 | 2006-12-28 | Dspv, Ltd. | System and method of improving the legibility and applicability of document pictures using form based image enhancement |
| CN101505372A (en)* | 2008-02-06 | 2009-08-12 | 凹凸电子(武汉)有限公司 | System and method for optimizing camera settings |
| CN102147290A (en)* | 2011-01-14 | 2011-08-10 | 北京广微积电科技有限公司 | Infrared imaging temperature-monitoring method and system |
| CN102169017A (en)* | 2010-12-25 | 2011-08-31 | 江西九江供电公司 | Online monitoring system for infrared thermal imaging of converting station |
| CN102538980A (en)* | 2012-01-12 | 2012-07-04 | 杭州美盛红外光电技术有限公司 | Thermal image device and shooting method for thermal image |
| Publication number | Priority date | Publication date | Assignee | Title |
|---|---|---|---|---|
| US8509482B2 (en)* | 2009-12-21 | 2013-08-13 | Canon Kabushiki Kaisha | Subject tracking apparatus, subject region extraction apparatus, and control methods therefor |
| JP5567853B2 (en)* | 2010-02-10 | 2014-08-06 | キヤノン株式会社 | Image recognition apparatus and method |
| JP6016332B2 (en)* | 2011-05-12 | 2016-10-26 | キヤノン株式会社 | Image processing apparatus and image processing method |
| CN102564607A (en)* | 2012-01-12 | 2012-07-11 | 杭州美盛红外光电技术有限公司 | Thermal imaging device and standard thermal image photographing method |
| CN102538974A (en)* | 2012-01-12 | 2012-07-04 | 杭州美盛红外光电技术有限公司 | Thermal image display device, thermal image display system and thermal image display method |
| Publication number | Priority date | Publication date | Assignee | Title |
|---|---|---|---|---|
| WO2006136958A2 (en)* | 2005-01-25 | 2006-12-28 | Dspv, Ltd. | System and method of improving the legibility and applicability of document pictures using form based image enhancement |
| CN101505372A (en)* | 2008-02-06 | 2009-08-12 | 凹凸电子(武汉)有限公司 | System and method for optimizing camera settings |
| CN102169017A (en)* | 2010-12-25 | 2011-08-31 | 江西九江供电公司 | Online monitoring system for infrared thermal imaging of converting station |
| CN102147290A (en)* | 2011-01-14 | 2011-08-10 | 北京广微积电科技有限公司 | Infrared imaging temperature-monitoring method and system |
| CN102538980A (en)* | 2012-01-12 | 2012-07-04 | 杭州美盛红外光电技术有限公司 | Thermal image device and shooting method for thermal image |
| Title |
|---|
| 王志明: "《数字图像处理与分析》", 28 February 2012* |
| 程玉兰: "《红外诊断现场实用技术》", 31 December 2002* |
| Publication number | Priority date | Publication date | Assignee | Title |
|---|---|---|---|---|
| CN108896186A (en)* | 2018-05-15 | 2018-11-27 | 云南电网有限责任公司迪庆供电局 | The method and device of equipment intelligent diagnosis |
| WO2022121901A1 (en)* | 2020-12-07 | 2022-06-16 | 王浩 | Correction control apparatus, correction system, correction control method and correction method |
| Publication number | Publication date |
|---|---|
| WO2014101805A1 (en) | 2014-07-03 |
| CN114923581A (en) | 2022-08-19 |
| Publication | Publication Date | Title |
|---|---|---|
| CN103063314B (en) | Thermal imagery device and thermal imagery image pickup method | |
| US10230907B2 (en) | Thermal imaging device and normative photographing method for thermal image | |
| US20160005156A1 (en) | Infrared selecting device and method | |
| WO2015078418A1 (en) | Determining apparatus and determining method | |
| CN103900712A (en) | Thermal image selection device and thermal image selection method | |
| CN104655638A (en) | Analytical comparison device and analytical comparison method | |
| CN104796585A (en) | Image dynamic recording device, playback device, image dynamic recording method and playback method | |
| CN105163055A (en) | Dynamic recording device, playback device, dynamic recording method and playback method | |
| CN103900711A (en) | Infrared selecting device and infrared selecting method | |
| US20150334314A1 (en) | Device and method for detecting thermal images | |
| CN103900714A (en) | Device and method for thermal image matching | |
| CN104748862A (en) | Analyzing device and analyzing method | |
| CN116358711A (en) | Infrared matching updating device and infrared matching updating method | |
| CN103900705A (en) | Thermal image selection notification device and thermal image selection notification method | |
| CN104219425A (en) | Thermal-image dynamic recording device, thermal-image dynamic playback device, thermal-image dynamic recording method and thermal-image dynamic playback method | |
| CN103900709A (en) | Thermal image selection notification device and thermal image selection notification method | |
| CN103900708A (en) | Infrared selection notification device and infrared selection notification method | |
| CN115993191A (en) | Thermal image matching updating device and thermal image matching updating method | |
| CN103900706A (en) | Infrared selection notification device and infrared selection notification method | |
| WO2014101802A1 (en) | Thermal image choosing apparatus and thermal image choosing method | |
| CN103900720A (en) | Device and method for thermal image detection and configuration | |
| CN115452166A (en) | Thermal image recording control device and thermal image recording control method | |
| CN113125016A (en) | Infrared recording control device and infrared recording control method | |
| CN103900719A (en) | Device and method for recording thermal image | |
| CN104748861A (en) | Selecting device and selecting method |
| Date | Code | Title | Description |
|---|---|---|---|
| C06 | Publication | ||
| PB01 | Publication | ||
| C10 | Entry into substantive examination | ||
| SE01 | Entry into force of request for substantive examination | ||
| CB02 | Change of applicant information | Address after:310030 Building 1, qixianqiao village, Liangzhu street, Yuhang District, Hangzhou City, Zhejiang Province Applicant after:MISSION INFRARED ELECTRO OPTICS TECHNOLOGY Co.,Ltd. Address before:310030 Zhejiang city of Hangzhou province Xihu District city Hongkong No. 386 thick Renlu 14 Building 3 floor Applicant before:MISSION INFRARED ELECTRO OPTICS TECHNOLOGY Co.,Ltd. | |
| CB02 | Change of applicant information | ||
| RJ01 | Rejection of invention patent application after publication | Application publication date:20140702 | |
| RJ01 | Rejection of invention patent application after publication |