Movatterモバイル変換


[0]ホーム

URL:


CN103896186A - Reach forklift truck driven in sitting mode - Google Patents

Reach forklift truck driven in sitting mode
Download PDF

Info

Publication number
CN103896186A
CN103896186ACN201410100649.0ACN201410100649ACN103896186ACN 103896186 ACN103896186 ACN 103896186ACN 201410100649 ACN201410100649 ACN 201410100649ACN 103896186 ACN103896186 ACN 103896186A
Authority
CN
China
Prior art keywords
reach
driven
cylinder
stacker
balladeur train
Prior art date
Legal status (The legal status is an assumption and is not a legal conclusion. Google has not performed a legal analysis and makes no representation as to the accuracy of the status listed.)
Pending
Application number
CN201410100649.0A
Other languages
Chinese (zh)
Inventor
朱鲲鹏
Current Assignee (The listed assignees may be inaccurate. Google has not performed a legal analysis and makes no representation or warranty as to the accuracy of the list.)
Suzhou Pioneer Material Handling Equipment and Technology Co Ltd
Original Assignee
Suzhou Pioneer Material Handling Equipment and Technology Co Ltd
Priority date (The priority date is an assumption and is not a legal conclusion. Google has not performed a legal analysis and makes no representation as to the accuracy of the date listed.)
Filing date
Publication date
Application filed by Suzhou Pioneer Material Handling Equipment and Technology Co LtdfiledCriticalSuzhou Pioneer Material Handling Equipment and Technology Co Ltd
Priority to CN201410100649.0ApriorityCriticalpatent/CN103896186A/en
Publication of CN103896186ApublicationCriticalpatent/CN103896186A/en
Pendinglegal-statusCriticalCurrent

Links

Images

Landscapes

Abstract

The invention discloses a reach forklift truck driven in a sitting mode. The reach forklift truck driven in the sitting mode comprises a truck frame, a control console, a fork frame assembly, an electric steering driving device and a hydraulic control system; the fork frame assembly is arranged at the front end of the truck frame, and the control console is arranged at the rear end of the truck frame. A cab is arranged at the control console, the cab allows an operator to be capable of driving the reach forklift truck in the sitting mode, work intensity of the operator is lowered, and work efficiency is improved. The fork frame assembly comprises a fork frame, a sliding frame, a goods stopping frame, an inner gantry and an outer gantry. The electric steering control device comprises an electric steering device and a driving motor, the electric steering device is used for replacing common mechanical steering, steering operation is more convenient, and control is more accurate. The hydraulic control system comprises a hydraulic pump station, a lifting system, a forward moving system and a tilting system. The lifting system controls lifting of the sliding frame and the inner gantry, the forward moving system controls forward and backward movement of the fork frame assembly, and the tilting system controls forward tilting and backward tilting of the fork frame.

Description

A kind of seat driven formula reach carrier-and-stacker
Technical field
The present invention relates to a kind of carrier-and-stacker, particularly a kind of seat driven formula reach carrier-and-stacker.
Background technology
Existing carrier-and-stacker mostly is stand-type operation, and labour intensity is large, affects work efficiency, and operating position do not protect, and in the time that carrier-and-stacker rises more goods, goods may fall, and injures operating personal by a crashing object; The steering swivel system of general carrier-and-stacker is mechanical type, and handling is not good, and the long-time use of mechanical limiting steering device is easy to wear, stability and safety that impact turns to.
Summary of the invention
For the technical matters of above-mentioned existence, the object of the invention is: proposed a kind of seat and driven formula reach carrier-and-stacker.
Technical solution of the present invention is achieved in that a kind of seat drive formula reach carrier-and-stacker, comprises vehicle frame, operator's station, crotch assembly, electric steer-drive and hydraulic control system; Described crotch assembly is arranged on the front end of vehicle frame, and operator's station is arranged on the rear end of vehicle frame; The front end of described vehicle frame is provided with loadwheel, and rear end is provided with balance wheel; On described operator's station, be provided with corresponding car chamber; Described crotch assembly comprises goods shelf, balladeur train, gear shelf, inner upright mounting and outer mast; Described goods shelf and gear shelf are all arranged on balladeur train; Described balladeur train is slidably disposed on inner upright mounting, and inner upright mounting is slidably disposed on outer mast; Described electric steer-drive comprises electric steering hardware and drive motor, the turning to of electric steering hardware control entirety, the advance and retreat of drive motor control entirety; Described hydraulic control system comprises hydraulic power unit, jacking system, reach system and pitch system; The lifting of described jacking system control balladeur train and inner upright mounting; Moving forward and backward of described reach system control crotch assembly; The leaning forward and swinging back of described pitch system control goods shelf.
Preferably, described electric steering hardware comprises fixed mount, steer motor, coder, main steering gear and wheel flutter; Described steer motor and coder are all arranged on fixed mount; The gear of described steer motor and coder all engages with main steering gear; Described wheel flutter is followed main steering gear and is turned to.
Preferably, described electric steer-drive also comprises inductive disks and two inductance approach switches; Described inductive disks is semicircle plate-like, and inductive disks is followed main steering gear and rotated; Described two inductance approach switches are all arranged on fixed mount, and the induction end of two inductance approach switches is all near inductive disks.
Preferably, described jacking system comprises limit cylinder and elevating chain; One end of described limit cylinder is arranged on inner upright mounting, and the other end is arranged on outer mast; One end of described elevating chain is connected to outer mast, and the other end is connected on balladeur train; Described limit cylinder is driven by hydraulic power unit, promotes inner upright mounting and moves up and down, and inner upright mounting drives balladeur train to move up and down by elevating chain.
Preferably, described reach system comprises reach cylinder; One end of described reach cylinder is arranged on the bottom of vehicle frame, and the other end is arranged on outer mast; Described reach cylinder is driven by hydraulic power unit, promotes outer mast, and then drives whole crotch assembly along fore-and-aft direction displacement.
Preferably, described pitch system comprises inclined cylinder; Described inclined cylinder is arranged on balladeur train; The telescopic end of described inclined cylinder is near the rear end of goods shelf; Described inclined cylinder is driven by hydraulic power unit, drives goods shelf to lean forward or swing back.
Due to the utilization of technique scheme, the present invention compared with prior art has following advantages:
Seat of the present invention is driven formula reach carrier-and-stacker, by car chamber is set, makes the operating personal driving that can be seated, and has alleviated the working strength of operating personal, increases work efficiency; And electric steering hardware replaces general mechanical type to turn to, make steering operation convenient, and make to turn to control more accurate by induction type limiting steering, improve steering safety.
Accompanying drawing explanation
Below in conjunction with accompanying drawing, technical solution of the present invention is described further:
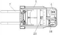
Accompanyingdrawing 1 is the block diagram that seat of the present invention is driven formula reach carrier-and-stacker;
Accompanyingdrawing 2 is the upward view that seat of the present invention is driven formula reach carrier-and-stacker;
Accompanying drawing 3 is the electric steer-drive schematic diagram that seat of the present invention is driven formula reach carrier-and-stacker;
The schematic diagram of the electric steer-drive that accompanyingdrawing 4 is driven formula reach carrier-and-stacker for seat of the present invention in another direction;
Accompanying drawing 5 is the partial enlarged drawing that seat of the present invention is driven the inclined cylinder place of formula reach carrier-and-stacker;
Accompanying drawing 6 is the handwheel place structural representation that seat of the present invention is driven formula reach carrier-and-stacker;
Wherein: 1, vehicle frame; 2, operator's station; 3, loadwheel; 4, balance wheel; 6, car chamber; 7, goods shelf; 8, balladeur train; 9, gear shelf; 10, inner upright mounting; 11, outer mast; 12, fixed mount; 13, drive motor; 14, steer motor; 15, car door; 16, coder; 17, main steering gear; 18, wheel flutter; 19, inductive disks; 20, inductance approach switch; 21, hydraulic power unit; 22, limit cylinder; 23, reach cylinder; 24, inclined cylinder; 25, potentiometer.
The specific embodiment
Below in conjunction with accompanying drawing, the present invention is described.
As shown in Fig. 1-6, a kind of seat of the present invention driven formula reach carrier-and-stacker, comprisesvehicle frame 1, operator'sstation 2, crotch assembly, electric steer-drive and hydraulic control system; Described crotch assembly is arranged on the front end ofvehicle frame 1, and operator'sstation 2 is arranged on the rear end ofvehicle frame 1; The front end of describedvehicle frame 1 is provided with loadwheel 3, and rear end is provided withbalance wheel 4; Described operator'sstation 2 places are provided with corresponding car chamber 6, in car chamber 6, are provided with seat, and bottom is provided with pedal brake switch; On described operator'sstation 2, be provided with traversing handwheel, electricity meter, key switch, accelerator, the joystick that hoists, reach joystick, bank control bar and cut-off switch; Described crotch assembly comprisesgoods shelf 7,balladeur train 8, gear shelf 9, inner upright mounting 10 andouter mast 11; Describedgoods shelf 7 and gear shelf 9 are all fixed onballadeur train 8; Describedballadeur train 8 is slidably disposed on inner upright mounting 10, and inner upright mounting 10 is slidably disposed onouter mast 11; Described electric steer-drive comprises electric steering hardware anddrive motor 13; Described electric steering hardware comprises fixedmount 12,steer motor 14,coder 16,main steering gear 17,wheel flutter 18,inductive disks 19 and twoinductance approach switches 20; Describedfixed mount 12 is arranged on the rear end ofvehicle frame 1, the rear end ofvehicle frame 1, being provided with at close fixedmount 12 places to be open mode in the car door 15(figure of switch); Describedsteer motor 14 andcoder 16 are all arranged onfixed mount 12; The gear of describedsteer motor 14 andcoder 16 all engages withmain steering gear 17; On described traversing handwheel, be connected withpotentiometer 25,potentiometer 25 is connected withsteer motor 14 by controller (not shown), angle signal is sent to controller bypotentiometer 25, moved by controllercontrol steer motor 14, themain steering gear 17 of gear driven ofsteer motor 14 rotates,main steering gear 17 drives the gear ofcoder 16 to rotate simultaneously, position signal is fed back to controller bycoder 16, carry out position correction by controllercontrol steer motor 14, completemain steering gear 17 and drive the steering procedure ofwheel flutter 18; Describedinductive disks 19 is semicircle plate-like, andinductive disks 19 is followedmain steering gear 17 and rotated; Described twoinductance approach switches 20 are all arranged on fixedmount 12, twoinductance approach switches 20 are responded toinductive disks 19, in the time that any oneinductance approach switch 20 is responded to less thaninductive disks 19, controller is by self check, automatically by consistent with traveldirection wheel flutter 18 positions adjustment, get off and check without chaufeur; Describedwheel flutter 18 is driven bydrive motor 13, drives entirety advance and retreat; Described hydraulic control system compriseshydraulic power unit 21, jacking system, reach system and pitch system; Described jacking system comprises elevating chain and twolimit cylinders 22; Twolimit cylinders 22 separate from the left and right sides of crotch assembly, and one end oflimit cylinder 22 is arranged on inner upright mounting 10, and the other end is arranged onouter mast 11; One end of described elevating chain is connected toouter mast 11, and the other end is connected onballadeur train 8; Describedlimit cylinder 22 is driven byhydraulic power unit 21, promotes inner upright mounting 10 and moves up and down, and inner upright mounting 10drives balladeur train 8 to move up and down by elevating chain, and then realizesballadeur train 8 and drive the lifting ofgoods shelf 7; Described reach system comprises reachcylinder 23; One end of describedreach cylinder 23 is arranged on the bottom ofvehicle frame 1 rear end, and the other end is arranged onouter mast 11; Describedreach cylinder 23 is driven byhydraulic power unit 21, promotesouter mast 11, and then drives whole crotch assembly along fore-and-aft direction displacement; Described pitch system comprises 24, twoinclined cylinders 24 of two inclined cylinders and is separately positioned on the left and right sides ofballadeur train 8; The telescopic end of describedinclined cylinder 24 is near the rear end ofgoods shelf 7; Describedinclined cylinder 24 is driven byhydraulic power unit 21, drivesgoods shelf 7 to lean forward or swing back.
Due to the utilization of technique scheme, the present invention compared with prior art has following advantages:
Seat of the present invention is driven formula reach carrier-and-stacker, by car chamber is set, makes the operating personal driving that can be seated, and has alleviated the working strength of operating personal, increases work efficiency; And electric steering hardware replaces general mechanical type to turn to, make steering operation convenient, and make to turn to control more accurate by induction type limiting steering, improve steering safety.
Above-described embodiment is only explanation technical conceive of the present invention and feature; its object is to allow person skilled in the art can understand content of the present invention and be implemented; can not limit the scope of the invention with this; all equivalences that Spirit Essence is done according to the present invention change or modify, and all should be encompassed in protection scope of the present invention.

Claims (6)

1. seat is driven a formula reach carrier-and-stacker, it is characterized in that: comprise vehicle frame (1), operator's station (2), crotch assembly, electric steer-drive and hydraulic control system; Described crotch assembly is arranged on the front end of vehicle frame (1), and operator's station (2) is arranged on the rear end of vehicle frame (1); The front end of described vehicle frame (1) is provided with loadwheel (3), and rear end is provided with balance wheel (4); On described operator's station (2), be provided with corresponding car chamber (6); Described crotch assembly comprises goods shelf (7), balladeur train (8), gear shelf (9), inner upright mounting (10) and outer mast (11); Described goods shelf (7) and gear shelf (9) are all arranged on balladeur train (8); It is upper that described balladeur train (8) is slidably disposed on inner upright mounting (10), and inner upright mounting (10) is slidably disposed on outer mast (11); Described electric steer-drive comprises electric steering hardware and drive motor (13), the turning to of electric steering hardware control entirety, and drive motor (13) is controlled overall advance and retreat; Described hydraulic control system comprises hydraulic power unit (21), jacking system, reach system and pitch system; The lifting of described jacking system control balladeur train (8) and inner upright mounting (10); Moving forward and backward of described reach system control crotch assembly; The leaning forward and swinging back of described pitch system control goods shelf (7).
CN201410100649.0A2014-03-192014-03-19Reach forklift truck driven in sitting modePendingCN103896186A (en)

Priority Applications (1)

Application NumberPriority DateFiling DateTitle
CN201410100649.0ACN103896186A (en)2014-03-192014-03-19Reach forklift truck driven in sitting mode

Applications Claiming Priority (1)

Application NumberPriority DateFiling DateTitle
CN201410100649.0ACN103896186A (en)2014-03-192014-03-19Reach forklift truck driven in sitting mode

Publications (1)

Publication NumberPublication Date
CN103896186Atrue CN103896186A (en)2014-07-02

Family

ID=50987822

Family Applications (1)

Application NumberTitlePriority DateFiling Date
CN201410100649.0APendingCN103896186A (en)2014-03-192014-03-19Reach forklift truck driven in sitting mode

Country Status (1)

CountryLink
CN (1)CN103896186A (en)

Cited By (10)

* Cited by examiner, † Cited by third party
Publication numberPriority datePublication dateAssigneeTitle
CN104370244A (en)*2014-11-072015-02-25浙江诺力机械股份有限公司Stepping type electric tray carriage
CN105883678A (en)*2016-06-272016-08-24安徽宇锋仓储设备有限公司Multifunctional dual-layer forklift
CN105908670A (en)*2016-06-202016-08-31无锡虹业自动化工程有限公司Steel wire waste disposal forklift
CN106698270A (en)*2017-02-142017-05-24苏州先锋物流装备科技有限公司Man-machine operation device applied to forward moving forklift
CN106744525A (en)*2017-02-142017-05-31苏州先锋物流装备科技有限公司A kind of integral type back door structure applied on reach truck
CN107140583A (en)*2017-07-182017-09-08湖北先行专用汽车有限公司Double freedom portal frame system
CN107434228A (en)*2017-09-122017-12-05松灵机器人(东莞)有限公司 A backpack forklift
CN108466978A (en)*2018-06-082018-08-31佛山市光华智能设备有限公司With the carrier-and-stacker into quality testing brake
CN108714297A (en)*2018-05-252018-10-30昆明理工大学A kind of table tennis balls collecting machine people of automatic obstacle avoiding
CN110451432A (en)*2019-08-212019-11-15广东博智林机器人有限公司A kind of transfer robot

Citations (7)

* Cited by examiner, † Cited by third party
Publication numberPriority datePublication dateAssigneeTitle
US5890086A (en)*1994-12-301999-03-30Crown Equipment CorporationRemovable programmable cartridge for a lift truck control system
JP2004330998A (en)*2003-05-122004-11-25Nippon Yusoki Co Ltd Travel restriction device for omni-directional steering forklift
CN101161587A (en)*2007-10-122008-04-16无锡合力叉车制造有限公司Lower hanging portal frame
CN201087110Y (en)*2007-07-162008-07-16浙江佳力科技股份有限公司Inclined fork rack
CN201784478U (en)*2010-01-292011-04-06合肥搬易通科技发展有限公司Forklift multi-mode running control device
CN203283288U (en)*2013-04-132013-11-13山东山推机械有限公司Automatic resetting device of tire of electric reach forklift truck
CN203820381U (en)*2014-03-192014-09-10苏州先锋物流装备科技有限公司Sitting driving type front moving stacking truck

Patent Citations (7)

* Cited by examiner, † Cited by third party
Publication numberPriority datePublication dateAssigneeTitle
US5890086A (en)*1994-12-301999-03-30Crown Equipment CorporationRemovable programmable cartridge for a lift truck control system
JP2004330998A (en)*2003-05-122004-11-25Nippon Yusoki Co Ltd Travel restriction device for omni-directional steering forklift
CN201087110Y (en)*2007-07-162008-07-16浙江佳力科技股份有限公司Inclined fork rack
CN101161587A (en)*2007-10-122008-04-16无锡合力叉车制造有限公司Lower hanging portal frame
CN201784478U (en)*2010-01-292011-04-06合肥搬易通科技发展有限公司Forklift multi-mode running control device
CN203283288U (en)*2013-04-132013-11-13山东山推机械有限公司Automatic resetting device of tire of electric reach forklift truck
CN203820381U (en)*2014-03-192014-09-10苏州先锋物流装备科技有限公司Sitting driving type front moving stacking truck

Non-Patent Citations (2)

* Cited by examiner, † Cited by third party
Title
张克军: "CQD15L型站式前移式叉车", 《工程机械》, no. 01, 10 January 2004 (2004-01-10)*
李宏等: "《叉车驾驶作业》", 30 June 2010, article "前移式叉车的基本结构"*

Cited By (13)

* Cited by examiner, † Cited by third party
Publication numberPriority datePublication dateAssigneeTitle
CN104370244A (en)*2014-11-072015-02-25浙江诺力机械股份有限公司Stepping type electric tray carriage
CN105908670A (en)*2016-06-202016-08-31无锡虹业自动化工程有限公司Steel wire waste disposal forklift
CN105883678A (en)*2016-06-272016-08-24安徽宇锋仓储设备有限公司Multifunctional dual-layer forklift
CN106698270A (en)*2017-02-142017-05-24苏州先锋物流装备科技有限公司Man-machine operation device applied to forward moving forklift
CN106744525A (en)*2017-02-142017-05-31苏州先锋物流装备科技有限公司A kind of integral type back door structure applied on reach truck
CN106698270B (en)*2017-02-142023-06-20苏州先锋物流装备科技有限公司Man-machine operating device applied to forward forklift
CN107140583B (en)*2017-07-182022-10-25湖北先行专用汽车有限公司Two-degree-of-freedom gantry system
CN107140583A (en)*2017-07-182017-09-08湖北先行专用汽车有限公司Double freedom portal frame system
CN107434228A (en)*2017-09-122017-12-05松灵机器人(东莞)有限公司 A backpack forklift
CN108714297A (en)*2018-05-252018-10-30昆明理工大学A kind of table tennis balls collecting machine people of automatic obstacle avoiding
CN108466978A (en)*2018-06-082018-08-31佛山市光华智能设备有限公司With the carrier-and-stacker into quality testing brake
CN108466978B (en)*2018-06-082024-02-20佛山市光华智能设备有限公司Piling car with feeding detection function
CN110451432A (en)*2019-08-212019-11-15广东博智林机器人有限公司A kind of transfer robot

Similar Documents

PublicationPublication DateTitle
CN103896186A (en)Reach forklift truck driven in sitting mode
CN103896188A (en)Sit-on driving mode forward-moving piling car with canopy guard
CN203820381U (en)Sitting driving type front moving stacking truck
CN104444946A (en)Electric steering type forward moving carrier-and-stacker
CN104528595A (en)Electronic steering type stand-on forward-moving piling car
CN104528596A (en)Stand-on type forward-moving piling car with overhead guard
CN104401907A (en)Ride type forward-moving stacking truck with overhead guard frame
CN203903908U (en)Lifting type carrier
US3202242A (en)Industrial truck with an elevatable operator platform that is movable with and relative to the load handling means
CN104340927A (en)Sitting type forward-moving stacking truck
CN204529229U (en)Comprehensive operation crawler-type forklift
JP2005061050A5 (en)
CN101811652A (en)Electric forklift
CN103707949A (en) tracked vehicle
CN104326400A (en)Ridden-driven fully-electric pallet truck and mounting and use methods thereof
KR20160043542A (en)Electric Forklift
CN102815643B (en)Vehicle mounted type handling goods implement
CN203820392U (en)Seated forward piling car provided with protection roof
CN103641032A (en)Electric reach truck
KR20140145756A (en)Leg Structure of Reach Type Forklift
CN103288009B (en)A kind of Small electric forklift
CN201713269U (en)Special forklift
RU2012157416A (en) SMALL ELECTRIC LOADER
CN204035978U (en)The all-hydraulic dismounting car of large-sized grinder feed opening flange dish
CN109114988A (en)Kiln car delivery vehicle with auxiliary brake

Legal Events

DateCodeTitleDescription
C06Publication
PB01Publication
C10Entry into substantive examination
SE01Entry into force of request for substantive examination
RJ01Rejection of invention patent application after publication
RJ01Rejection of invention patent application after publication

Application publication date:20140702


[8]ページ先頭

©2009-2025 Movatter.jp