Movatterモバイル変換


[0]ホーム

URL:


CN103697193A - Openly-mounted two-inlet and two-outlet tap - Google Patents

Openly-mounted two-inlet and two-outlet tap
Download PDF

Info

Publication number
CN103697193A
CN103697193ACN201310688473.0ACN201310688473ACN103697193ACN 103697193 ACN103697193 ACN 103697193ACN 201310688473 ACN201310688473 ACN 201310688473ACN 103697193 ACN103697193 ACN 103697193A
Authority
CN
China
Prior art keywords
water
pottery
crescent shape
inlet openings
water outlet
Prior art date
Legal status (The legal status is an assumption and is not a legal conclusion. Google has not performed a legal analysis and makes no representation as to the accuracy of the status listed.)
Granted
Application number
CN201310688473.0A
Other languages
Chinese (zh)
Other versions
CN103697193B (en
Inventor
谢尚锦
Current Assignee (The listed assignees may be inaccurate. Google has not performed a legal analysis and makes no representation or warranty as to the accuracy of the list.)
Zeng Jianfeng
Original Assignee
Individual
Priority date (The priority date is an assumption and is not a legal conclusion. Google has not performed a legal analysis and makes no representation as to the accuracy of the date listed.)
Filing date
Publication date
Application filed by IndividualfiledCriticalIndividual
Priority to CN201310688473.0ApriorityCriticalpatent/CN103697193B/en
Publication of CN103697193ApublicationCriticalpatent/CN103697193A/en
Application grantedgrantedCritical
Publication of CN103697193BpublicationCriticalpatent/CN103697193B/en
Expired - Fee Relatedlegal-statusCriticalCurrent
Anticipated expirationlegal-statusCritical

Links

Images

Classifications

Landscapes

Abstract

The invention discloses an openly-mounted two-inlet and two-outlet tap. The openly-mounted two-inlet and two-outlet tap comprises a two-inlet and two-outlet valve core, a two-inlet and two-outlet valve core seat, a tap shell, two water inlet pipelines and two water outlet pipelines, wherein the tap shell is provided with an accommodating chamber which is used for accommodating the two-inlet and two-outlet valve core; the two-inlet and two-outlet valve core seat and the tap shell are integrally molded; the two-inlet and two-outlet valve core seat is provided with a top surface platform and a bottom surface; the top surface platform also serves as the bottom of the accommodating chamber; the two water inlet pipelines and the two water outlet pipelines are arranged in the two-inlet and two-outlet valve core seat and extend from the bottom surface to the top surface platform; two water inlets and two water outlets are formed in the top surface platform respectively; the two water inlets are communicated with the two water inlet pipelines respectively; the two water outlets are communicated with the two water outlet pipelines respectively; the water inlets and the water outlets are distributed around the axis in an olive shape; the two water inlets are distributed in the middle of the olive, and the two water outlets are distributed at two ends of the olive shape. The openly-mounted two-inlet and two-outlet tap is simple in structure and is applied to the using occasions such as bathrooms.

Description

Brightly fill two and enter two depotition cocks
Technical field
The present invention relates to a kind ofly brightly fill two and enter two depotition cocks.
Background technique
In prior art, cold, hot two-purpose water tap is widely used, this water tap adopts two to enter a water channel design outing, if when in bathroom, shower flower sprayer and bathtub water outlet share a water tap, configuration lifts switch in addition or water knockout drum uses together, could realize water route conversion, make parts numerous and diverse, outward appearance is in disorder, and lift switch or water knockout drum and be prone to and leak, often occur reprocessing or return of goods problem, and this water tap often adopts concealed installation mode, the separated Tibetan separately of the valve core case of water tap is entered in wall embedded box and installed, make maintenance inconvenient.
Summary of the invention
Technical problem to be solved by this invention is, provide a kind of have hot and cold water regulatory function and to two water outlets, can independently realize water route conversion brightly fill two and enter two depotition cocks.
The technical solution adopted in the present invention is: brightly fill two and enter two depotition cocks, comprise that two enterscene 2 spool, this two entersscene 2 spool and sets gradually from top to down and rotate and oscillator device along axis, the moving plate of water distribution pottery, the water distribution quiet plate of pottery and water distribution seal four hole bottom panels, this water distribution quiet plate of pottery and water distribution seal four hole bottom panels all curved crescent shape water outlet opening in two circular water inlet openings Ji Lianggexiang valve core axis, this circle water inlet openings and crescent shape water outlet opening are symmetrical around valve core axis, the end face of the bottom surface of the moving plate of water distribution pottery and the quiet plate of water distribution pottery fits, on bottom surface, there are two bow-shaped recess, rotate and the moving plate rotation of oscillator device drive water distribution pottery or mobile, by bow-shaped recess, make two circular water inlet openings on the quiet plate of described water distribution pottery can be simultaneously and crescent shape water outlet open communication, or by a bow-shaped recess make a circular water inlet openings on the quiet plate of water distribution pottery can with a crescent shape water outlet open communication, the moving plate of water distribution pottery can all cover circular water inlet openings and crescent shape water outlet opening in moving process, in water distribution, seal the front of four hole bottom panels and reverse side along the equal scarf sealing joint strip of the periphery circle of circular water inlet openings and crescent shape water outlet opening, the sealing joint strip circle of two circular water inlet openings is tangent, to seal the lower edge of sealing joint strip circle and the sealing joint strip circle of two described circular water inlet openings that the crescent shape water outlet opening of four hole bottom panel reverse side matches tangent simultaneously with water distribution, to seal the lower edge of sealing joint strip circle and the sealing joint strip circle of two described circular water inlet openings that the positive crescent shape water outlet opening of four hole bottom panels matches outer tangent respectively with water distribution, two enterscene 2 valve core case, swivel body, this swivel body has and holds two cavity volumes that enterscene 2 spool, this two enterscene 2 valve core case and swivel body one-body molded, two enterscene 2 valve core case has end face platform and bottom surface, the cavity volume bottom that this end face platform is this cavity volume simultaneously, also comprise that being located at two enters inscene 2 valve core case, from bottom surface, point to two inlet pipelines and two rising pipes of end face platform, on end face platform, form respectively two water intakes and two water outlets, two water intakes communicate with two inlet pipelines respectively, two water outlets communicate with two rising pipes respectively, water intake and water outlet are olive shape around axis and distribute, two water intakes are distributed in olive shape middle part, two water outlets are distributed in olive shape two ends, twoenter scene 2 spool is inserted in swivel body, make end face platform and water distribution seal the positive laminating of four hole bottom panels, two circular water inlet openings connect with two water inlet tones respectively, two water outlets are placed in respectively in the sealing joint strip circle of two crescent shape water outlet openings, the lower edge of two crescent shape water outlet openings and sealing joint strip circle between form recessed cut one's throat flat.
Beneficial effect: in technique scheme, due to twoenter scene 2 valve core case and swivel body one-body molded, two enter in the cavity volume thatscene 2 spool is inserted in swivel body, make end face platform and water distribution seal the positive laminating of four hole bottom panels, make two to enter two depotition cocks and can directly install and use, do not need embedded box to fix two and enterscene 2 valve core case, reached the object of bright dress; Easy for installation; Rotate and the moving plate rotation of oscillator device drive water distribution pottery or mobile, by two bow-shaped recess, make two circular water inlet openings on the quiet plate of water distribution pottery can be simultaneously and crescent shape water outlet open communication, hot water or cold water enters respectively two circular water inlet openings from two two intake pipes that enterscene 2 valve core case by water intake respectively, by two bow-shaped recess, enter same crescent shape water outlet opening more simultaneously, reach the rear effect for user of hot and cold water mediation; From two bow-shaped recess, enter same crescent shape water outlet opening, to two water outlets, can independently realize water route conversion, or a circular water inlet openings on the quiet plate of water distribution pottery can be passed through a groove and a crescent shape water outlet open communication, make to realize the water outlet that list is cold or list the is warm selection that only goes out cold water or only go out hot water, the moving plate of water distribution pottery can all cover circular water inlet openings and crescent shape water outlet opening in moving process, make to stop water outlet, solved the problem that there is hot and cold water regulatory function and two water outlets are independently realized to water route conversion.Spool can be communicated with or cover two two water intakes and two water outlets that enterscene 2 valve core case, the distribution of sealing joint strip circle makes two two water intakes and two water outlets that enterscene 2 valve core case can not gang up voluntarily water route, stopped water leakage phenomenon, made quality of product more stable; Due to the lower edge of two crescent shape water outlet openings and sealing joint strip circle between form and recessedly cut one's throat flatly, the centre distance of two water outlets can further be dwindled, and also can guarantee that two water outlets are placed in respectively in the sealing joint strip circle of two crescent shape water outlet openings.
As to technique scheme concrete scheme, two bow-shaped recess are crooked and take the line of centres of two crescent shape water outlet openings to be that symmetrical line is symmetrical arrange towards axial direction, bow-shaped recess is placed in surrounding in circle of two crescent shape water outlet opening lower edges, the minimum edge of two bow-shaped recess inner side edges is apart from the minimum range that is less than or equal to two circular water inlet openings inner sides, also comprise two elongate recesses concentric with circular water inlet openings that are placed on end face, elongate recesses and bow-shaped recess in the same way, with long, with wide.Rotation and oscillator device drive the moving plate of water distribution pottery to move, one end of two bow-shaped recess and two elongate recesses on the quiet plate of water distribution pottery are partly overlapped, the other end of two bow-shaped recess and two crescent shape water outlet open parts are overlapping, make cold water and hot water by circular water inlet openings, through two elongate recesses, enter two bow-shaped recess simultaneously, from two bow-shaped recess, entering same crescent shape water outlet opening, when needs regulate water temperature, rotate and the moving plate rotation of oscillator device drive water distribution pottery, the one end that makes two bow-shaped recess ratio overlapping from two elongate recesses on the quiet plate of water distribution pottery is different, thereby change the different objects that regulate temperature that reach of water-outlet quantity that area of overlap makes hot and cold water, in like manner, when needs are during in another crescent shape water outlet opening water outlet, rotate and oscillator device drives the moving plate of water distribution pottery oppositely to move, when needs regulate water temperature, rotate and oscillator device drives the moving plate of water distribution pottery to rotate, reach equally the object that regulates water temperature.When water tap does not need water outlet, the moving plate of water distribution pottery moves to neutral position, and bow-shaped recess and elongate recesses are completely overlapping, and two circular water inlet openings are hidden completely by bow-shaped recess, water can not outflow, and other parts of the moving plate of the pottery of water distribution simultaneously can all cover crescent shape water outlet opening.The bow-shaped recess of this concrete scheme and stacked mode of coordinating of elongate recesses, change in the relatively little water route of can realizing of distance that the moving plate of water distribution pottery is moved, and the moving little boundary dimension of water tap that makes of plate displacement distance of water distribution pottery reduces, more compact structure.
As the further improvement to technique scheme, two described inlet pipelines and two described rising pipes all have internal thread.Installation when this improvement is convenient to connect the intake pipe of outer water channel system and outlet pipe is fixed.
As the another kind to technique scheme, improve, also comprise two location pits being located on end face platform, be located at two positive positioning convex, this location pit and positioning convex are suitable.This improvement is convenient to two and is enteredscene 2 valve core case and two and enter while installing betweenscene 2 spool, makes to locate the corresponding position accurate positioning of two water intakes and two water outlets and spool.
As the further improvement to technique scheme, two to enterscene 2 valve core case be copper casting, and swivel body is zinc-iron alloy foundry goods.This improvement is beneficial to while making two to enterscene 2 valve core case for water tap safeguards that water quality, swivel body are that zinc-iron alloy foundry goods can reduce costs.
Accompanying drawing explanation
Fig. 1 of the present invention two enters the STRUCTURE DECOMPOSITION figure of two depotition cocks;
Fig. 2 two enters the plan view ofscene 2 valve core case;
Fig. 3 is the A-A sectional view of Fig. 2;
Fig. 4 is the three-dimensional cutaway view of spool;
Fig. 5 is the plan view that water distribution seals four hole bottom panels;
Fig. 6 is the rear view that water distribution seals four hole bottom panels;
Fig. 7 is the B-B sectional view of Fig. 6;
Fig. 8 is the stereogram of the moving plate of water distribution pottery;
Fig. 9 is the stereogram of the quiet plate of water distribution pottery;
Figure 10 is that of the present invention two the first of entering two depotition cocks are used state sectional view;
Figure 11 is that of the present invention two the second that enter two depotition cocks are used state sectional view;
Figure 12 be of the present invention two enter two depotition cocks the third use state sectional view.
Embodiment
Below in conjunction with drawings and Examples, the present invention is further described.
Bright two embodiments that enter two depotition cocks that fill
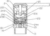
Referring to Fig. 1, a kind ofly brightly fill two and enter two depotition cocks, comprise that two enterscene 2spool 2, two enterscene 2valve core case 1,swivel body 3 andhandle 4,swivel body 3 has and holds twocavity volumes 31 that enterscene 2spool 2, two to enterscene 2valve core case 1 be copper casting, andswivel body 3 is zinc-iron alloy foundry goods, and two to enterscene 2valve core case 1 one-body molded withswivel body 3.
Referring to Fig. 2, twoenter scene 2valve core case 1 hasend face platform 11, andwater intake 15 andwater outlet 16 are olive shape around axis and distribute, and twowater intakes 15 are distributed in olive shape middle part, and twowater outlets 16 are distributed in olive shape two ends; Also comprise twolocation pits 18 being located onend face platform 11.
Referring to Fig. 3,end face platform 11 is the cavity volume bottom ofcavity volume 31 simultaneously, article two,inlet pipeline 12 and two risingpipes 13 are located at two and are entered inscene 2valve core case 1, frombottom surface 19 and point toend face platforms 11, twowater intakes 15 and twowater outlets 16 that onend face platform 11, form respectively, wherein twowater intakes 15 communicate with twointake pipe 12 tunnels respectively, and twowater outlets 16 communicate with two risingpipes 13 respectively.Article two,inlet pipeline 12 and two risingpipes 13 all have internal thread, and the installation while being convenient to connect the intake pipe of outer water channel system and outlet pipe is fixed.
Referring to Fig. 4, spool sets gradually from top to down and rotates andoscillator device 21, the movingplate 22 of water distribution pottery, the water distributionquiet plate 23 of pottery and water distribution seal fourhole bottom panels 24 along axis, in water distribution, seals thefront 241 of fourhole bottom panels 24 andreverse side 242 along the equal scarf sealing joint strip of theperiphery circle 25 of circular water inlet openings and crescent shape water outlet opening.The end face of the bottom surface of the movingplate 22 of water distribution pottery and thequiet plate 23 of water distribution pottery fits,
Referring to Fig. 5, water distribution seals four hole bottom panels all curved crescent shape water outlet opening 243 in two circularwater inlet openings 244 Ji Lianggexiang valve core axis, circularwater inlet openings 244 and crescent shape water outlet opening 243Rao valve core axis are symmetrical, the sealingjoint strip circle 251 of two circular water inlet openings of positive 241 is tangent, and to seal the sealingjoint strip circle 252 that crescent shape water outlet opening 243 lower edges 245 in thefront 241 of four hole bottom panels match tangent outward respectively with the sealingjoint strip circle 251 of two circularwater inlet openings 244 with water distribution.
Referring to Fig. 6, to seal the lower edge of sealingjoint strip circle 252 and the sealing joint strip circle of two circularwater inlet openings 251 that thereverse side 242 crescent shapewater outlet openings 243 of four hole bottom panels match tangent simultaneously with water distribution.
Referring to Fig. 7, the lower edge of two crescent shapewater outlet openings 243 and sealing joint strip circle between form and recessedly cut one's throat flat 246.
Referring to Fig. 8, on the bottom surface of the movingplate 22 of water distribution pottery, there are two bow-shaped recess 221 crooked towards axial direction, and take the line of centres of two crescent shape water outlet openings and be that symmetrical line is symmetrical and arrange, bow-shaped recess 221 is placed in surrounding in circle of two crescent shape water outlet opening lower edges, and the minimum edge of two bow-shaped recess 221 inner side edges is apart from the minimum range that is less than or equal to two circular water inlet openings inner sides.
Referring to Fig. 9, thequiet plate 23 of water distribution pottery has curved crescent shape water outlet opening 243 in two circularwater inlet openings 244 Ji Lianggexiang valve core axis, and this circlewater inlet openings 244 and crescent shape water outlet opening 243Rao valve core axis are symmetrical.Also comprise twoelongate recesses 231 concentric with circular water inlet openings that are placed onquiet plate 23 end faces of water distribution pottery,elongate recesses 231 and the bow-shaped recess 221 shown in Figure 10 in the same way, with growing, with wide
Rotate and oscillatordevice moving plate 22 rotations of 21 drive water distribution pottery or mobile, by bow-shaped recess 221, two circularwater inlet openings 244 on thequiet plate 23 of water distribution pottery can be communicated with simultaneously with crescent shape water outlet opening 243, or by a bow-shaped recess 221, a circularwater inlet openings 244 on thequiet plate 23 of water distribution pottery can being communicated with a crescent shape water outlet opening 243, the movingplate 22 of water distribution pottery can all cover circularwater inlet openings 244 and crescent shape water outlet opening 243 in moving process.
Referring to Figure 10, two enter in thecavity volume 31 thatscene 2spool 2 is inserted in swivel body, whenend face platform 11 seals positive 241 laminating of four hole bottom panels with water distribution, two circularwater inlet openings 244 connect with two water intakes, 15 kisses respectively, be located at two positioning convex 248 of positive 241,location pit 18 is suitable with positioning convex 248.Twowater outlets 16 are placed in respectively in the sealing joint strip circle of two crescent shape water outlet openings 243.Rotation andoscillator device 21 drive the movingplate 22 of water distribution pottery to move, one end of two bow-shaped recess 221 and twoelongate recesses 231 on the quiet plate of water distribution pottery are partly overlapped, the other end of two bow-shaped recess 221 and two crescent shapewater outlet openings 243 partly overlap, make cold water and hot water by circularwater inlet openings 244, through twoelongate recesses 231, enter two bow-shaped recess 221 simultaneously, from two bow-shaped recess 221, entering same crescent shape water outlet opening 243.Gondola water faucet in bathroom there are flowing out, and enters use state.When needs regulate water temperature, rotate and movingplate 22 rotations ofoscillator device 21 drive water distribution pottery, the one end that makes two bow-shaped recess 221 ratio overlapping from twoelongate recesses 231 on thequiet plate 23 of water distribution pottery is different, thereby changes the different objects that regulate temperature that reach of water-outlet quantity that area of overlap makes hot and cold water.
Referring to Figure 11, when there are flowing out by the bath water tap in bathroom, while entering use state, rotation andoscillator device 21 drive the movingplate 22 of water distribution pottery oppositely to move, in like manner, water outlet bow-shaped recess 221 is communicated with cold water and hot water simultaneously with another crescent shape water outlet opening 243 by circularwater inlet openings 244 after, when needs regulate water temperature, rotate and the moving plate rotation of oscillator device drive water distribution pottery, reach equally the object that regulates water temperature.
Referring to Figure 12, when water tap does not need water outlet, the movingplate 22 of water distribution pottery moves to neutral position, bow-shaped recess 221 andelongate recesses 231 are completely overlapping, two circularwater inlet openings 244 are hidden completely by bow-shaped recess 221, water can not outflow, and other parts of the movingplate 22 of the pottery of water distribution simultaneously can all cover crescent shape water outlet opening 243.

Claims (5)

Two enter scene 2 spool, described two enter scene 2 spool sets gradually from top to down and rotates and oscillator device along axis, the moving plate of water distribution pottery, the water distribution quiet plate of pottery and water distribution seal four hole bottom panels, the described water distribution quiet plate of pottery and water distribution seal four hole bottom panels all curved crescent shape water outlet opening in two circular water inlet openings Ji Lianggexiang valve core axis, described circular water inlet openings and described crescent shape water outlet opening are symmetrical around valve core axis, the end face of the bottom surface of the moving plate of described water distribution pottery and the quiet plate of described water distribution pottery fits, on described bottom surface, there are two bow-shaped recess, rotation and oscillator device drive the moving plate of described water distribution pottery to rotate or are mobile, by described bow-shaped recess, make two circular water inlet openings on the quiet plate of described water distribution pottery can be simultaneously and described crescent shape water outlet open communication, or by a described bow-shaped recess make a circular water inlet openings on the quiet plate of described water distribution pottery can with a described crescent shape water outlet open communication, the moving plate of described water distribution pottery can all cover described circular water inlet openings and described crescent shape water outlet opening in moving process, in described water distribution, seal the front of four hole bottom panels and reverse side along the equal scarf sealing joint strip of the periphery circle of described circular water inlet openings and described crescent shape water outlet opening, the sealing joint strip circle of two described circular water inlet openings is tangent, to seal the lower edge of sealing joint strip circle and the sealing joint strip circle of two described circular water inlet openings that the described crescent shape water outlet opening of four hole bottom panel reverse side matches tangent simultaneously with described water distribution, to seal the lower edge of sealing joint strip circle and the sealing joint strip circle of two described circular water inlet openings that the front described crescent shape water outlet opening of four hole bottom panels matches outer tangent respectively with described water distribution,
Described swivel body has and holds described two cavity volumes that enter scene 2 spool, described two enter scene 2 valve core case and described swivel body is one-body molded, described two enter scene 2 valve core case has end face platform and bottom surface, the cavity volume bottom that described end face platform is described cavity volume simultaneously, also comprise that being located at described two enters in scene 2 valve core case, from described bottom surface, point to two inlet pipelines and two rising pipes of described end face platform, on described end face platform, form respectively two water intakes and two water outlets, two described water intakes communicate with two described inlet pipelines respectively, two described water outlets communicate with two described rising pipes respectively, described water intake and described water outlet are olive shape around described axis and distribute, two described water intakes are distributed in olive shape middle part, two water outlets are distributed in olive shape two ends,
2. according to claim 1 two enter two depotition cocks, it is characterized in that: two described bow-shaped recess are crooked and take the line of centres of two described crescent shape water outlet openings to be that symmetrical line is symmetrical arrange towards axial direction, described bow-shaped recess is placed in surrounding in circle of two described crescent shape water outlet opening lower edges, the minimum edge of two described bow-shaped recess inner side edges is apart from the minimum range that equals two described circular water inlet openings inner sides, also comprise two elongate recesses concentric with described circular water inlet openings that are placed on described end face, described elongate recesses and described bow-shaped recess are in the same way, with long, with wide.
CN201310688473.0A2013-12-172013-12-17Openly-mounted two-inlet and two-outlet tapExpired - Fee RelatedCN103697193B (en)

Priority Applications (1)

Application NumberPriority DateFiling DateTitle
CN201310688473.0ACN103697193B (en)2013-12-172013-12-17Openly-mounted two-inlet and two-outlet tap

Applications Claiming Priority (1)

Application NumberPriority DateFiling DateTitle
CN201310688473.0ACN103697193B (en)2013-12-172013-12-17Openly-mounted two-inlet and two-outlet tap

Publications (2)

Publication NumberPublication Date
CN103697193Atrue CN103697193A (en)2014-04-02
CN103697193B CN103697193B (en)2017-04-26

Family

ID=50358823

Family Applications (1)

Application NumberTitlePriority DateFiling Date
CN201310688473.0AExpired - Fee RelatedCN103697193B (en)2013-12-172013-12-17Openly-mounted two-inlet and two-outlet tap

Country Status (1)

CountryLink
CN (1)CN103697193B (en)

Cited By (4)

* Cited by examiner, † Cited by third party
Publication numberPriority datePublication dateAssigneeTitle
CN109695756A (en)*2017-10-202019-04-30开平市祥吉卫浴科技有限公司A kind of integrated molding tap
CN110422929A (en)*2019-09-052019-11-08朱兆明A kind of domestic sewage processing system and its sewage water treatment method
CN110966427A (en)*2019-12-302020-04-07温州市信谊卫浴有限公司Water diversion device
CN112013128A (en)*2019-05-282020-12-01帕克-汉尼芬公司Shuttle valve

Citations (4)

* Cited by examiner, † Cited by third party
Publication numberPriority datePublication dateAssigneeTitle
US4960154A (en)*1987-09-241990-10-02American Standard Inc.Sanitary water valve
CN202659967U (en)*2012-06-082013-01-09高密市海纳卫浴制品有限公司Flat-turn type one-handled and double-controlled ceramic valve core
CN203009914U (en)*2012-12-282013-06-19孟凡亚Water faucet valve core and water faucet
CN103486297A (en)*2013-10-122014-01-01谢尚锦Two-inlet and two-outlet water faucet valve core seat and two-inlet and two-outlet water faucet body

Patent Citations (4)

* Cited by examiner, † Cited by third party
Publication numberPriority datePublication dateAssigneeTitle
US4960154A (en)*1987-09-241990-10-02American Standard Inc.Sanitary water valve
CN202659967U (en)*2012-06-082013-01-09高密市海纳卫浴制品有限公司Flat-turn type one-handled and double-controlled ceramic valve core
CN203009914U (en)*2012-12-282013-06-19孟凡亚Water faucet valve core and water faucet
CN103486297A (en)*2013-10-122014-01-01谢尚锦Two-inlet and two-outlet water faucet valve core seat and two-inlet and two-outlet water faucet body

Cited By (5)

* Cited by examiner, † Cited by third party
Publication numberPriority datePublication dateAssigneeTitle
CN109695756A (en)*2017-10-202019-04-30开平市祥吉卫浴科技有限公司A kind of integrated molding tap
CN112013128A (en)*2019-05-282020-12-01帕克-汉尼芬公司Shuttle valve
CN112013128B (en)*2019-05-282024-05-28帕克-汉尼芬公司Shuttle valve
CN110422929A (en)*2019-09-052019-11-08朱兆明A kind of domestic sewage processing system and its sewage water treatment method
CN110966427A (en)*2019-12-302020-04-07温州市信谊卫浴有限公司Water diversion device

Also Published As

Publication numberPublication date
CN103697193B (en)2017-04-26

Similar Documents

PublicationPublication DateTitle
CN103697193A (en)Openly-mounted two-inlet and two-outlet tap
CN102720888B (en)Concealed-installation-type tap embedding main body structure
CN203138280U (en)Multifunctional shower
CN203604714U (en)Two-in and two-out faucet valve element seat and two-in and two-out faucet main body
CN103486297A (en)Two-inlet and two-outlet water faucet valve core seat and two-inlet and two-outlet water faucet body
CN202955282U (en) shower
CN202510756U (en)Water faucet
CN104832689A (en)Handle faucet embedded body and manufacturing method thereof
CN202203444U (en)Handle-free temperature controlled basin faucet
CN109611584B (en)Faucet valve element mounting structure
CN217030062U (en)Double-handle water tap
CN216789322U (en) A bathtub faucet water channel main body and bathtub faucet
CN201963954U (en)Temperature control type mixed faucet structure
CN204692689U (en)A kind of split type constant-temperature tap
CN214367946U (en)Pipeline liquid flow direction adjusting device
CN208535220U (en)A kind of cold and hot plastic tap of inside and outside integrative molding
CN103330520B (en)Folding type shower room
CN105697813A (en)Faucet with water overflow device
CN208886069U (en)A kind of mounting structure of landing faucet
CN206572010U (en)tap
CN202706121U (en)Concealed type faucet embedding main body structure
CN203363272U (en)Automatic water distribution structure for bathroom faucet
CN206280529U (en)A kind of economical kitchen faucet
CN103669493B (en)Concealed installation buries main body in advance
CN204592408U (en) Precision ceramic valves for faucets

Legal Events

DateCodeTitleDescription
C06Publication
PB01Publication
C10Entry into substantive examination
SE01Entry into force of request for substantive examination
CB03Change of inventor or designer information

Inventor after:Zeng Jianfeng

Inventor before:Xie Shangjin

CB03Change of inventor or designer information
TA01Transfer of patent application right

Effective date of registration:20170327

Address after:529619 Guangdong province Yangchun City Shui Zhen Ping Dong Cun Wei Hui Mountain Village No. 36

Applicant after:Zeng Jianfeng

Address before:Anhui province 236416 county administrative village unity AI Ting Zhen Bridge No. 4

Applicant before:Xie Shangjin

TA01Transfer of patent application right
GR01Patent grant
GR01Patent grant
CF01Termination of patent right due to non-payment of annual fee

Granted publication date:20170426

Termination date:20181217

CF01Termination of patent right due to non-payment of annual fee

[8]ページ先頭

©2009-2025 Movatter.jp