


技术领域technical field
本发明涉及半导体模块的测试技术,特别涉及一种功率半导体模块的温度分布特性测试系统。The invention relates to a testing technology of a semiconductor module, in particular to a temperature distribution characteristic testing system of a power semiconductor module.
背景技术Background technique
通常,功率半导体器件,例如:绝缘双极型晶体管(IGBT)器件,在通电工作过程中会发热。一般来讲,不同拓扑结构的电路由一个或多个功率半导体模块构成,每个功率半导体模块主要包括功率半导体芯片、DBC、铜基板等。随着芯片集成度的提高,由其形成的功率半导体模块的单位体积热流密度越来越高,导致发热量和温度急剧上升。同时,由于功率半导体模块各部位的电流强度不相等,导致功率半导体模块中的芯片表面各部位的温度也不同。Generally, a power semiconductor device, such as an insulated bipolar transistor (IGBT) device, generates heat during power-on operation. Generally speaking, circuits with different topological structures are composed of one or more power semiconductor modules, and each power semiconductor module mainly includes a power semiconductor chip, a DBC, a copper substrate, and the like. With the improvement of chip integration, the heat flux per unit volume of the power semiconductor module formed by it is getting higher and higher, resulting in a sharp rise in calorific value and temperature. At the same time, since the current intensity of each part of the power semiconductor module is not equal, the temperature of each part of the chip surface in the power semiconductor module is also different.
如果功率半导体模块的布局设计合理、材料和封装工艺均没有缺陷,那么在实际工况条件下运行其温度分布也是合理的,因温度而失效的概率也降低,相应的其工作寿命也随之增加;相反如果功率半导体模块的布局设计不合理、材料缺陷、工艺缺陷等都会造成在实际运行条件下功率半导体模块内部温度分布的异常,进而导致功率半导体模块失效概率的增加和可靠性的降低。If the layout design of the power semiconductor module is reasonable, and the material and packaging process are free of defects, then its temperature distribution is also reasonable under actual working conditions, the probability of failure due to temperature is also reduced, and its working life is correspondingly increased. On the contrary, if the layout design of the power semiconductor module is unreasonable, material defects, process defects, etc. will cause abnormal temperature distribution inside the power semiconductor module under actual operating conditions, which will lead to an increase in the failure probability of the power semiconductor module and a decrease in reliability.
因此,需要对功率半导体模块进行温度分布特性测试。目前,对功率半导体模块进行温度分布特性测试的主要方法是:通过电源单元为功率半导体模块加电,并用控制单元控制其处于工作状态,在功率半导体模块正常工作情况下,用红外热像测温系统对该功率半导体模块进行温度分布特性测试。Therefore, it is necessary to test the temperature distribution characteristics of the power semiconductor module. At present, the main method of testing the temperature distribution characteristics of the power semiconductor module is: power the power semiconductor module through the power supply unit, and use the control unit to control it to be in the working state. The system tests the temperature distribution characteristics of the power semiconductor module.
这种功率半导体模块温度分布特性测试方法,不能模拟实际工况,进行实时测试。This method for testing the temperature distribution characteristics of the power semiconductor module cannot simulate actual working conditions for real-time testing.
发明内容Contents of the invention
有鉴于此,本发明的主要目的在于提供一种功率半导体模块温度分布特性测试系统,以实现模拟实际工况下的实时测试。In view of this, the main purpose of the present invention is to provide a power semiconductor module temperature distribution characteristic testing system to realize real-time testing under simulated actual working conditions.
为达到上述目的,本发明提供了一种功率半导体模块温度分布特性测试系统,包括:电源单元、控制单元、红外热像仪、负载、功率半导体模块的驱动单元和上位机;In order to achieve the above object, the present invention provides a power semiconductor module temperature distribution characteristic testing system, including: a power supply unit, a control unit, an infrared thermal imaging camera, a load, a drive unit of a power semiconductor module, and a host computer;
所述控制单元与电源单元、负载和所述驱动单元分别相连,该驱动单元还与被测功率半导体模块相连;所述上位机与红外热像仪和控制单元分别相连;The control unit is respectively connected to the power supply unit, the load and the drive unit, and the drive unit is also connected to the power semiconductor module under test; the host computer is connected to the infrared thermal imager and the control unit respectively;
所述控制单元通过电源单元为负载供电,并控制调节恒压模式下的负载电流和/或恒流模式下的负载电压,并按照上位机发送的不同实际工作状态的工作参数,通过驱动单元控制被测功率半导体模块处于不同的实际工作状态;The control unit supplies power to the load through the power supply unit, and controls and adjusts the load current in the constant voltage mode and/or the load voltage in the constant current mode, and controls the load through the drive unit according to the working parameters of different actual working states sent by the host computer. The power semiconductor modules under test are in different actual working states;
所述上位机接收红外热像仪发送的被测功率半导体模块的温度数据,获得被测功率半导体模块的温度分布特性;产生不同实际工作状态的工作参数,发送给控制单元。The upper computer receives the temperature data of the power semiconductor module under test sent by the infrared thermal imager, obtains the temperature distribution characteristics of the power semiconductor module under test, generates working parameters of different actual working states, and sends them to the control unit.
较佳地,该系统还包括冷却装置和温度传感器;所述冷却装置设置在功率半导体模块下方,其与控制单元相连,在控制单元控制下为被测功率半导体模块降温;所述温度传感器安装在功率半导体模块底板上,其与控制单元相连,向控制单元发送温度信号;所述控制单元进一步接收温度传感器发送的温度信号,根据被测功率半导体模块的温度,向冷却装置发送工作参数,控制冷却装置为被测功率半导体模块降温。Preferably, the system also includes a cooling device and a temperature sensor; the cooling device is arranged under the power semiconductor module, which is connected to the control unit, and is controlled by the control unit to cool down the power semiconductor module under test; the temperature sensor is installed on The base plate of the power semiconductor module is connected to the control unit and sends a temperature signal to the control unit; the control unit further receives the temperature signal sent by the temperature sensor, and sends working parameters to the cooling device according to the temperature of the power semiconductor module under test to control the cooling. The device cools down the power semiconductor module under test.
较佳地,该系统还包括电流传感器和电压传感器;所述电流传感器和电压传感器安装在负载的电源输入端,均与控制单元相连,向控制单元发送负载的电流信号和电压信号;所述控制单元进一步接收所述负载的电流信号和电压信号,根据所述负载的电流信号和电压信号,控制调节恒压模式下的负载电流或者恒流模式下的负载电压;并将所述温度信号、输入电流信号和输出电压信号发送给上位机进行显示。Preferably, the system also includes a current sensor and a voltage sensor; the current sensor and the voltage sensor are installed at the power input end of the load, are connected to the control unit, and send the current signal and voltage signal of the load to the control unit; the control The unit further receives the current signal and voltage signal of the load, controls and adjusts the load current in constant voltage mode or the load voltage in constant current mode according to the current signal and voltage signal of the load; and inputs the temperature signal, The current signal and output voltage signal are sent to the host computer for display.
较佳地,所述控制单元连接有报警电路,控制单元在输入电流信号或输出电压信号异常时,通过驱动单元关断被测功率半导体模块,并控制报警电路发出声和/或光报警信号。Preferably, the control unit is connected with an alarm circuit, and when the input current signal or output voltage signal is abnormal, the control unit shuts off the power semiconductor module under test through the drive unit, and controls the alarm circuit to send out an audible and/or optical alarm signal.
较佳地,所述被测功率半导体模块为:单独的IGBT模块、IGCT模块、MOSFET模块或IPM模块;Preferably, the power semiconductor module under test is: a separate IGBT module, IGCT module, MOSFET module or IPM module;
或所述被测功率半导体模块为:由多个IGBT模块、IGCT模块、MOSFET模块或IPM模块构成不同拓扑结构的被测模块,则所述驱动单元包括多个相同类型的驱动模块,其中每个IGBT模块、IGCT模块或MOSFET模块通过一个驱动模块连接到控制单元,IPM模块直接通过本身集成的驱动单元连接到控制单元。Or the power semiconductor module under test is: a plurality of IGBT modules, IGCT modules, MOSFET modules or IPM modules form modules under test with different topological structures, then the drive unit includes a plurality of drive modules of the same type, wherein each The IGBT module, IGCT module or MOSFET module is connected to the control unit through a driver module, and the IPM module is directly connected to the control unit through its own integrated driver unit.
较佳地,若所述被测功率半导体模块为:功率半导体模块中的分立部件,则该系统还包括:大电流开关模块;所述大电流开关模块设置在电源单元与被测功率半导体模块之间。Preferably, if the power semiconductor module under test is a discrete component in the power semiconductor module, the system further includes: a high-current switch module; the high-current switch module is arranged between the power supply unit and the power semiconductor module under test between.
较佳地,所述大电流开关模块由1个IGBT模块实现。Preferably, the high-current switch module is realized by one IGBT module.
较佳地,该系统还包括与控制单元相连的显示单元,用于显示被测功率半导体模块不同的实际工作状态。Preferably, the system further includes a display unit connected to the control unit, for displaying different actual working states of the power semiconductor module under test.
较佳地,所述控制单元为DSP控制模块;所述冷却装置为风冷或水冷装置;所述负载为阻感性负载;所述驱动单元由被测功率半导体模块对应的驱动芯片及其外围电路实现。Preferably, the control unit is a DSP control module; the cooling device is an air-cooled or water-cooled device; the load is a resistance-inductive load; the drive unit is composed of a drive chip corresponding to the power semiconductor module under test and its peripheral circuit accomplish.
较佳地,所述电源单元通过RS485接口与控制单元相连;所述负载、驱动单元、冷却装置通过I/O口与控制单元相连;所述上位机通过RS232接口与控制单元相连,通过网线接口与红外热像仪相连。Preferably, the power supply unit is connected to the control unit through the RS485 interface; the load, the drive unit, and the cooling device are connected to the control unit through the I/O port; the host computer is connected to the control unit through the RS232 interface, and the network cable interface Connected to an infrared camera.
由上述的技术方案可见,本发明提供的这种功率半导体模块温度分布特性测试系统,由控制单元控制调节恒压模式下的负载电流或者恒流模式下的负载电压,并按照上位机发送的实际工作状态的工作参数,通过驱动单元控制被测功率半导体模块处于不同的实际工作状态。上位机接收红外热像仪发送的被测功率半导体模块的温度数据,获得被测功率半导体模块的温度分布特性;并产生不同实际工作状态的工作参数,发送给控制单元。因此,能够实现模拟实际工况下的实时测试,进而为功率半导体模块的布局设计提供可靠的温度数据。It can be seen from the above technical solution that the temperature distribution characteristic test system of power semiconductor modules provided by the present invention is controlled by the control unit to adjust the load current in constant voltage mode or the load voltage in constant current mode, and according to the actual temperature sent by the host computer The working parameters of the working state control the power semiconductor module under test to be in different actual working states through the drive unit. The upper computer receives the temperature data of the power semiconductor module under test sent by the infrared thermal imager, obtains the temperature distribution characteristics of the power semiconductor module under test, and generates working parameters of different actual working states, which are sent to the control unit. Therefore, real-time testing under simulated actual working conditions can be realized, thereby providing reliable temperature data for the layout design of the power semiconductor module.
附图说明Description of drawings
图1为本发明测试系统的第一较佳实施例的结构图;Fig. 1 is the structural diagram of the first preferred embodiment of testing system of the present invention;
图2为本发明测试系统的第二较佳实施例的结构图;Fig. 2 is the structural diagram of the second preferred embodiment of testing system of the present invention;
图3为本发明测试系统的第三较佳实施例的结构图。Fig. 3 is a structural diagram of a third preferred embodiment of the testing system of the present invention.
具体实施方式Detailed ways
以下参照附图并举具体实施例对本发明进行详细说明。The present invention will be described in detail below with reference to the accompanying drawings and specific embodiments.
本发明提供了一种功率半导体模块温度分布特性测试系统,以实现模拟实际工况下的实时测试,进而为功率半导体模块的布局设计提供可靠的温度数据。The invention provides a power semiconductor module temperature distribution characteristic testing system to realize real-time testing under simulated actual working conditions, and further provide reliable temperature data for the layout design of the power semiconductor module.
以下举两个具体实施例对本发明进行详细说明。The present invention will be described in detail with two specific examples below.
第一较佳实施例。First preferred embodiment.
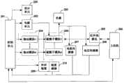
如图1所示,本实施例的功率半导体模块的温度分布特性测试系统,包括:控制单元101、电源单元102、负载103、功率半导体模块的驱动单元104、红外热像仪105、和上位机106、电流传感器107、电压传感器108、冷却装置109、温度传感器110和显示单元120。As shown in Figure 1, the temperature distribution characteristic testing system of the power semiconductor module of the present embodiment includes: a
其中,控制单元101与电源单元102、负载103、驱动单元104、电流传感器107、电压传感器108、冷却装置109和温度传感器110分别相连。该驱动单元104还与被测功率半导体模块100相连;上位机106与红外热像仪105和控制单元101分别相连。Wherein, the
如图1所示,控制单元101通过电源单元102为负载103供电,并控制调节恒压模式下的负载电流或者恒流模式下的负载电压,并按照上位机106发送的实际工况的工作参数,通过驱动单元104控制被测功率半导体模块100处于不同的实际工作状态。As shown in Figure 1, the
上位机106接收红外热像仪105发送的被测功率半导体模块100的温度数据,获得被测功率半导体模块的温度分布特性。上位机106还能够产生实际工况的工作参数,发送给控制单元101。The
为了防止被测功率半导体模块100过热被损坏,及获得被测功率半导体模块100的实时温度,本实施例设置了冷却装置109和温度传感器110。具体地,冷却装置109设置在被测功率半导体模块100的下方,其与控制单元101相连,在控制单元101的控制下为被测功率半导体模块100降温。温度传感器110安装在被测功率半导体模块100底板上,其与控制单元101相连,向控制单元101发送温度信号。In order to prevent the
这样,控制单元101接收温度传感器110发送的温度信号,根据被测功率半导体模块100的实时温度,向冷却装置109发送工作参数,控制冷却装置109为被测功率半导体模块降温。In this way, the
本实施例中,冷却装置109采用常用的冷却装置,具体可以是水冷装置也可以是风冷装置,例如:风扇。因此,控制单元101向冷却装置109发送的工作参数,可以是风扇的风速或水冷装置的水流速。具体的控制方式与现有技术完全相同,这里不再赘述。In this embodiment, the
本实施例中,为了防止被测功率半导体模块100过流或过压被损坏,及获得被测功率半导体模块100的实时电流和电压,本系统中还设置了电流传感器107、电压传感器108及报警电路(图1中未示出)。具体地,电流传感器107和电压传感器108都安装在负载103的电源输入端,均与控制单元101相连,向控制单元101发送负载103的输入电流信号和电压信号。报警电路与控制单元101直接相连,可以是声报警电路如:蜂鸣器,也可以是光报警电路:如LED灯等。In this embodiment, in order to prevent the
这样,控制单元101接收所述负载的电流信号和电压信号,根据所述电流信号和电压信号,控制调节恒压模式下的负载电流,和/或恒流模式下的负载电压,并将输入电流信号、电压信号及从温度传感器接收的温度信号发送给上位机106进行显示。当所述输入电流信号或电压信号异常时,例如:超过预先设定的阈值时,控制单元101通过控制电源单元102关断被测功率半导体模块100,并控制报警电路发出声和/或光报警信号。In this way, the
另外,本实施例中为了更直观的看到被测功率半导体模块100当前的工作状态,设置了显示单元120,用于显示被测功率半导体模块100不同的实际工作状态。具体可以用LED显示屏或LCD显示屏来实现。In addition, in this embodiment, in order to see the current working state of the
本实施例中的被测功率半导体模块100可以为:单独IGBT模块、IGCT模块、MOSFET模块或IPM模块等,以及模块内部其他分立部件。The
本实施例中的控制单元101可以为DSP控制模块,负载103可以为阻感性负载,例如:电动机、功率电阻等。驱动单元104可以由由各个被测模块对应的驱动芯片,例如:IGBT模块对应使用KA962F芯片及其外围电路实现。电源单元102通过RS485接口与控制单元101相连,负载103、驱动单元104、冷却装置109、温度传感器110、电流传感器107、电压传感器108和显示单元120均通过I/O口与控制单元101相连。The
本实施例中,上位机106可以由计算机实现,其通过RS232接口与控制单元101相连,通过网线接口与红外热像仪105相连。上位机106内部安装有红外热像仪105的控制软件,能够根据红外热像仪105发送的温度数据,生成温度分布特性结果,通过显示器显示出来。另外,本实施例中,上位机106内部还有控制和显示界面,能够输入或预先存储了多种不同实际工作状态对应的工作参数,按照测试需要向控制单元101发送控制命令及工作参数。In this embodiment, the
以下简述一下本系统的工作过程:The working process of this system is briefly described as follows:
首先,在上位机上输入被测功率半导体模块的工作方式、负载电流、测试脉冲参数,如占空比、周期等,发送给控制单元。First, input the working mode, load current, and test pulse parameters of the power semiconductor module under test on the host computer, such as duty cycle, period, etc., and send them to the control unit.
控制单元根据收到的参数,向电源单元发送负载电流参数,并产生测试脉冲通过驱动单元发送给被测功率半导体模块,并向冷却装置发送风速/水流速度等工作参数。The control unit sends load current parameters to the power supply unit according to the received parameters, generates test pulses and sends them to the power semiconductor module under test through the drive unit, and sends working parameters such as wind speed/water flow speed to the cooling device.
驱动单元驱动被测功率半导体模块。The drive unit drives the power semiconductor module under test.
温度传感器、电流传感器和电压传感器采集到的信号输入到控制单元。The signals collected by the temperature sensor, the current sensor and the voltage sensor are input to the control unit.
控制单元将采集到的电压、电流、温度值实时传送到上位机中,并根据这些信号通过PID控制算法进行闭环控制,实现温度的恒定控制及电压和电流的控制。同时,根据采集的电压、电流值与预先设置的阈值进行比较判断,若超出则通过驱动单元关断被测功率半导体模块,并控制报警电路发出声和/或光报警信号。The control unit transmits the collected voltage, current, and temperature values to the host computer in real time, and performs closed-loop control through the PID control algorithm according to these signals to realize constant temperature control and voltage and current control. At the same time, compare and judge according to the collected voltage and current value with the preset threshold, if it exceeds, the power semiconductor module under test will be shut down through the drive unit, and the alarm circuit will be controlled to send out sound and/or light alarm signals.
红外热像仪实时将被测功率半导体模块表面温度场分布传送至上位机进行显示。The thermal imaging camera transmits the surface temperature field distribution of the power semiconductor module under test to the host computer for display in real time.
第二较佳实施例。Second preferred embodiment.
如图2所示,本实施例的功率半导体模块的温度分布特性测试系统,与第一较佳实施例相同,也包括:控制单元201、电源单元202、负载203、功率半导体模块的驱动单元204、红外热像仪205、和上位机206、电流传感器207、电压传感器208、冷却装置209、温度传感器210和显示单元220。As shown in Figure 2, the temperature distribution characteristic testing system of the power semiconductor module of the present embodiment is the same as the first preferred embodiment, and also includes: a
本实施例中的各个模块之间的连接关系和工作原理与第一较佳实施例基本相同,区别仅在于:被测功率半导体模块200为:由多个IGBT模块构成的不同拓扑结构的被测模块。驱动单元204包括多个相同的驱动模块,其中每个IGBT模块(图2中成为被测子模块)通过一个驱动模块连接到控制单元201。The connection relationship and working principle between the various modules in this embodiment are basically the same as those in the first preferred embodiment. module. The driving
第三较佳实施例。Third preferred embodiment.
本实施例的功率半导体模块的温度分布特性测试系统,本实施例中的被测功率半导体模块为由多个MOSFET模块(图2中成为被测子模块)构成的功率半导体模块。In the temperature distribution characteristic testing system of a power semiconductor module in this embodiment, the power semiconductor module under test in this embodiment is a power semiconductor module composed of a plurality of MOSFET modules (referred to as sub-modules under test in FIG. 2 ).
如图3所示,本实施例的功率半导体模块的温度分布特性测试系统,除了包括与第二较佳实施例相同的部分:控制单元301、电源单元302、负载303、功率半导体模块的驱动单元304、红外热像仪305、和上位机306、电流传感器307、电压传感器308、冷却装置309、温度传感器310和显示单元320外,还包括:大电流开关模块311,该大电流开关模块311设置在电源单元302与被测功率半导体模块300之间。As shown in Figure 3, the temperature distribution characteristic test system of the power semiconductor module of the present embodiment, except comprising the same part as the second preferred embodiment: the drive unit of
本实施例中的被测功率半导体模块300为功率半导体模块中的多个分立部件,通过大电流开关模块311来控制这些分立部件的同时导通和关断。具体地,本实施例中,大电流开关模块311可以由一个IGBT模块实现。The
本实施例中的各个模块之间的连接关系和工作原理与第二较佳实施例基本相同,区别仅在于:控制单元301通过控制电源单元302控制大电流开关模块311来实现对被测功率半导体模块300的导通/关断控制。The connection relationship and working principle between the various modules in this embodiment are basically the same as those in the second preferred embodiment, the only difference is that the
另外,需要说明的是,上述实施例中,如果被测半导体模块是IPM模块,可以由该模块集成的驱动单元实现实施例中驱动单元的功能。In addition, it should be noted that, in the above embodiments, if the semiconductor module under test is an IPM module, the driving unit integrated in the module can realize the function of the driving unit in the embodiment.
由上述的实施例可见,应用本发明的功率半导体模块的温度分布特性测试系统,能够模拟不同工况,实现对实际工作状态的实时测试,进而为功率半导体模块的布局设计提供可靠的温度数据。It can be seen from the above embodiments that the application of the temperature distribution characteristic testing system of the power semiconductor module of the present invention can simulate different working conditions, realize real-time testing of the actual working state, and provide reliable temperature data for the layout design of the power semiconductor module.
| Application Number | Priority Date | Filing Date | Title | 
|---|---|---|---|
| CN201210254542.2ACN103575401A (en) | 2012-07-20 | 2012-07-20 | System for testing temperature distribution characteristics of power semiconductor module | 
| Application Number | Priority Date | Filing Date | Title | 
|---|---|---|---|
| CN201210254542.2ACN103575401A (en) | 2012-07-20 | 2012-07-20 | System for testing temperature distribution characteristics of power semiconductor module | 
| Publication Number | Publication Date | 
|---|---|
| CN103575401Atrue CN103575401A (en) | 2014-02-12 | 
| Application Number | Title | Priority Date | Filing Date | 
|---|---|---|---|
| CN201210254542.2APendingCN103575401A (en) | 2012-07-20 | 2012-07-20 | System for testing temperature distribution characteristics of power semiconductor module | 
| Country | Link | 
|---|---|
| CN (1) | CN103575401A (en) | 
| Publication number | Priority date | Publication date | Assignee | Title | 
|---|---|---|---|---|
| CN104360697A (en)* | 2014-09-24 | 2015-02-18 | 河北工业大学 | Power-temperature control and detection device for IGBT (insulated gate bipolar transistor) modules of three-phase inverter system | 
| CN104914893A (en)* | 2015-04-16 | 2015-09-16 | 福州瑞芯微电子有限公司 | Temperature control method of semiconductor device and temperature control system of semiconductor device | 
| CN105912065A (en)* | 2015-02-24 | 2016-08-31 | 英飞凌科技股份有限公司 | Novel partition of chip supporting SW-control architecture for inductive loads | 
| CN106226673A (en)* | 2016-09-12 | 2016-12-14 | 河北工业大学 | A kind of combination type failure automatic detection device of IGBT | 
| CN108051093A (en)* | 2017-12-02 | 2018-05-18 | 北京工业大学 | For the infrared thermal imaging temp measuring method in IGBT module temperature field in probe power circulation experiment | 
| CN109490740A (en)* | 2018-11-26 | 2019-03-19 | 中电普瑞电力工程有限公司 | IGCT valve module | 
| CN110887863A (en)* | 2018-09-10 | 2020-03-17 | 湖南中车时代电动汽车股份有限公司 | System and method for analyzing performance of heat conduction material under power device application condition | 
| CN111426929A (en)* | 2020-03-20 | 2020-07-17 | 致瞻科技(上海)有限公司 | Method, apparatus and storage medium for performing dynamic and static testing of semiconductors | 
| CN112166308A (en)* | 2018-06-26 | 2021-01-01 | 舍弗勒技术股份两合公司 | Method for determining the service life of a semiconductor power module | 
| CN112612307A (en)* | 2020-12-18 | 2021-04-06 | 北京京仪自动化装备技术有限公司 | Linkage control system and method for special temperature control equipment and load device for semiconductor | 
| CN114487633A (en)* | 2020-10-23 | 2022-05-13 | 中车时代电动汽车股份有限公司 | Device, method and system for testing junction temperature of power module under inversion working condition in real time | 
| CN115236472A (en)* | 2022-06-14 | 2022-10-25 | 重庆长安汽车股份有限公司 | A MOSFET opening detection system and method | 
| CN117665526A (en)* | 2024-02-01 | 2024-03-08 | 成都恒合控制系统有限公司 | IGBT monitoring system of wind power converter | 
| Publication number | Priority date | Publication date | Assignee | Title | 
|---|---|---|---|---|
| US20080174929A1 (en)* | 2007-01-24 | 2008-07-24 | Vastview Technology Inc. | Light emitting diode driver | 
| CN101673097A (en)* | 2009-09-27 | 2010-03-17 | 电子科技大学 | Comprehensive control device of digitizer | 
| US20100102231A1 (en)* | 2006-07-14 | 2010-04-29 | Nec Electronics Corporation | Semiconductor device | 
| CN101968664A (en)* | 2010-09-30 | 2011-02-09 | 东南大学 | Surface temperature signal fast generating device | 
| CN102556114A (en)* | 2012-03-14 | 2012-07-11 | 北京康拓红外技术股份有限公司 | Photon probe refrigerating control device of infrared axle temperature detection system based on PWM (Pulse-Width Modulation) principle and control method of the photon probe refrigerating control device | 
| Publication number | Priority date | Publication date | Assignee | Title | 
|---|---|---|---|---|
| US20100102231A1 (en)* | 2006-07-14 | 2010-04-29 | Nec Electronics Corporation | Semiconductor device | 
| US20080174929A1 (en)* | 2007-01-24 | 2008-07-24 | Vastview Technology Inc. | Light emitting diode driver | 
| CN101673097A (en)* | 2009-09-27 | 2010-03-17 | 电子科技大学 | Comprehensive control device of digitizer | 
| CN101968664A (en)* | 2010-09-30 | 2011-02-09 | 东南大学 | Surface temperature signal fast generating device | 
| CN102556114A (en)* | 2012-03-14 | 2012-07-11 | 北京康拓红外技术股份有限公司 | Photon probe refrigerating control device of infrared axle temperature detection system based on PWM (Pulse-Width Modulation) principle and control method of the photon probe refrigerating control device | 
| Publication number | Priority date | Publication date | Assignee | Title | 
|---|---|---|---|---|
| CN104360697B (en)* | 2014-09-24 | 2016-10-05 | 河北工业大学 | A kind of three-phase inversion system IGBT module power temperature controls and detection device | 
| CN104360697A (en)* | 2014-09-24 | 2015-02-18 | 河北工业大学 | Power-temperature control and detection device for IGBT (insulated gate bipolar transistor) modules of three-phase inverter system | 
| CN105912065B (en)* | 2015-02-24 | 2019-08-02 | 英飞凌科技股份有限公司 | Support the new subregion of the chip of the SW control framework for inductive load | 
| CN105912065A (en)* | 2015-02-24 | 2016-08-31 | 英飞凌科技股份有限公司 | Novel partition of chip supporting SW-control architecture for inductive loads | 
| US10514715B2 (en) | 2015-02-24 | 2019-12-24 | Infineon Technologies Ag | Partitioning of a chip supporting a SW-control architecture for inductive loads | 
| CN104914893A (en)* | 2015-04-16 | 2015-09-16 | 福州瑞芯微电子有限公司 | Temperature control method of semiconductor device and temperature control system of semiconductor device | 
| CN106226673A (en)* | 2016-09-12 | 2016-12-14 | 河北工业大学 | A kind of combination type failure automatic detection device of IGBT | 
| CN106226673B (en)* | 2016-09-12 | 2023-02-17 | 河北工业大学 | A combined fault automatic detection device for IGBT | 
| CN108051093A (en)* | 2017-12-02 | 2018-05-18 | 北京工业大学 | For the infrared thermal imaging temp measuring method in IGBT module temperature field in probe power circulation experiment | 
| CN112166308A (en)* | 2018-06-26 | 2021-01-01 | 舍弗勒技术股份两合公司 | Method for determining the service life of a semiconductor power module | 
| CN110887863A (en)* | 2018-09-10 | 2020-03-17 | 湖南中车时代电动汽车股份有限公司 | System and method for analyzing performance of heat conduction material under power device application condition | 
| CN109490740A (en)* | 2018-11-26 | 2019-03-19 | 中电普瑞电力工程有限公司 | IGCT valve module | 
| CN111426929A (en)* | 2020-03-20 | 2020-07-17 | 致瞻科技(上海)有限公司 | Method, apparatus and storage medium for performing dynamic and static testing of semiconductors | 
| CN114487633A (en)* | 2020-10-23 | 2022-05-13 | 中车时代电动汽车股份有限公司 | Device, method and system for testing junction temperature of power module under inversion working condition in real time | 
| CN112612307A (en)* | 2020-12-18 | 2021-04-06 | 北京京仪自动化装备技术有限公司 | Linkage control system and method for special temperature control equipment and load device for semiconductor | 
| CN115236472A (en)* | 2022-06-14 | 2022-10-25 | 重庆长安汽车股份有限公司 | A MOSFET opening detection system and method | 
| CN115236472B (en)* | 2022-06-14 | 2025-04-15 | 重庆长安汽车股份有限公司 | A MOSFET opening detection system and method | 
| CN117665526A (en)* | 2024-02-01 | 2024-03-08 | 成都恒合控制系统有限公司 | IGBT monitoring system of wind power converter | 
| CN117665526B (en)* | 2024-02-01 | 2024-04-19 | 成都恒合控制系统有限公司 | IGBT monitoring system of wind power converter | 
| Publication | Publication Date | Title | 
|---|---|---|
| CN103575401A (en) | System for testing temperature distribution characteristics of power semiconductor module | |
| CN204241639U (en) | The aging demo plant of high-power die | |
| WO2014079038A1 (en) | Led backlight drive circuit, backlight module and liquid crystal display apparatus | |
| CN101498435A (en) | Luminous diode lighting device and method for reducing heating power thereof | |
| CN108514343A (en) | Double protection temperature control circuits and air fryer | |
| CN103219955B (en) | The aging method of radio-frequency power amplifier and device | |
| TWM461277U (en) | Multiple-specification mixing-use LED chip driving device | |
| CN102595732B (en) | LED (light-emitting diode) temperature control method and system based on PWM (pulse width modulation) | |
| CN103574544B (en) | A kind of LED automobile lamp drive system and control method thereof | |
| CN108226733B (en) | Hybrid power cycle detection device for IGBT module and detection method thereof | |
| CN203503964U (en) | Water-cooled laser power supply | |
| CN101672292A (en) | Alarmed fan module of temperature-control industrial personal computer | |
| US8626343B2 (en) | Monitor and control system and method for server model | |
| CN201231217Y (en) | IGBT drive module and IGBT drive device | |
| CN205665490U (en) | Open touch display with intelligence heat dissipation function | |
| WO2019047742A1 (en) | Low-temperature start up system for stage lamp | |
| CN205119164U (en) | Temperature protection system and high -frequency heating apparatus | |
| US20130100588A1 (en) | Computer with fan speed control system for synchronizing speeds of system fan and power fan | |
| KR20100008199A (en) | Velocity controlling system of cooling fan | |
| TW201427118A (en) | Method for heat dissipation of LED and lighting device | |
| CN102148487B (en) | Fusing device for printed circuit board (PCB) short-circuit power supply and control method thereof | |
| CN202455609U (en) | Light-emitting diode (LED) gardening lamp with current monitoring device | |
| JP5802657B2 (en) | Optical module | |
| CN205811887U (en) | A kind of have the pwm control signal generation circuit that minimum duty cycle sets | |
| CN210840144U (en) | LED driving system | 
| Date | Code | Title | Description | 
|---|---|---|---|
| C06 | Publication | ||
| PB01 | Publication | ||
| SE01 | Entry into force of request for substantive examination | ||
| SE01 | Entry into force of request for substantive examination | ||
| C02 | Deemed withdrawal of patent application after publication (patent law 2001) | ||
| WD01 | Invention patent application deemed withdrawn after publication | Application publication date:20140212 |