Movatterモバイル変換


[0]ホーム

URL:


CN103540873A - Liquid-state near-net forming method and device for continuous carbon fiber enhanced aluminum-based composite material - Google Patents

Liquid-state near-net forming method and device for continuous carbon fiber enhanced aluminum-based composite material
Download PDF

Info

Publication number
CN103540873A
CN103540873ACN201310432463.0ACN201310432463ACN103540873ACN 103540873 ACN103540873 ACN 103540873ACN 201310432463 ACN201310432463 ACN 201310432463ACN 103540873 ACN103540873 ACN 103540873A
Authority
CN
China
Prior art keywords
casting mold
crucible
pressure
valve
argon gas
Prior art date
Legal status (The legal status is an assumption and is not a legal conclusion. Google has not performed a legal analysis and makes no representation as to the accuracy of the status listed.)
Granted
Application number
CN201310432463.0A
Other languages
Chinese (zh)
Other versions
CN103540873B (en
Inventor
王振军
余欢
徐志锋
蔡长春
卢百平
严青松
熊博文
Current Assignee (The listed assignees may be inaccurate. Google has not performed a legal analysis and makes no representation or warranty as to the accuracy of the list.)
Nanchang Hangkong University
Original Assignee
Nanchang Hangkong University
Priority date (The priority date is an assumption and is not a legal conclusion. Google has not performed a legal analysis and makes no representation as to the accuracy of the date listed.)
Filing date
Publication date
Application filed by Nanchang Hangkong UniversityfiledCriticalNanchang Hangkong University
Priority to CN201310432463.0ApriorityCriticalpatent/CN103540873B/en
Publication of CN103540873ApublicationCriticalpatent/CN103540873A/en
Application grantedgrantedCritical
Publication of CN103540873BpublicationCriticalpatent/CN103540873B/en
Expired - Fee Relatedlegal-statusCriticalCurrent
Anticipated expirationlegal-statusCritical

Links

Images

Landscapes

Abstract

Translated fromChinese

本发明公开了一种连续碳纤维增强铝基复材的液态近净成形方法及装置(即:真空辅助调压浸渗铸造法及装置),该方法包括合金熔炼及纤维预热、真空辅助气压浸渗、高压凝固和快速冷却四个工序,装置由合金熔炼装置、真空辅助调压浸渗装置和铸件快速冷却装置组成。本发明的特点在于:(1)实现了镀镍碳纤维的低氧控温预热;(2)实现了铝基复合材料的低压浸渗和高压凝固制备;(3)实现了复合材料铸件凝固中的冷却速度控制。本发明解决了碳纤维预热时的氧化烧损、浸渗时的预制体变形和复合材料凝固时的界面反应问题。本发明可实现连续碳纤维增强铝基复合材料的液态近净成形,所制备的复合材料具有组织致密、界面反应少、力学性能高等优点。

Figure 201310432463

The invention discloses a liquid-state near-net forming method and device for continuous carbon fiber reinforced aluminum-based composite materials (namely: vacuum-assisted pressure-regulating infiltration casting method and device). Infiltration, high-pressure solidification and rapid cooling are four processes. The device is composed of an alloy melting device, a vacuum-assisted pressure regulating impregnation device and a casting rapid cooling device. The characteristics of the present invention are: (1) low-oxygen temperature-controlled preheating of nickel-plated carbon fibers; (2) low-pressure impregnation and high-pressure solidification of aluminum matrix composites; (3) solidification of composite castings Cooling rate control. The invention solves the problems of oxidative burning loss during carbon fiber preheating, preform deformation during impregnation and interface reaction during solidification of composite materials. The invention can realize the liquid near-net shape of the continuous carbon fiber reinforced aluminum matrix composite material, and the prepared composite material has the advantages of compact structure, less interface reaction, high mechanical performance and the like.

Figure 201310432463

Description

A kind of continuous carbon fibre strengthens liquid near-net-shape method and the device of aluminium base multiple material
Technical field
The invention belongs to the liquid near-net-shape of high-performance metal based composites field, specifically relate to liquid near-net-shape method and device that a kind of continuous carbon fibre strengthens aluminium base multiple material.
Background technology
The continuous reinforced aluminum matrix composites of carbon fiber has excellent mechanics and physicals, at new and high technology engineering fields such as aerospace and advanced weaponries, be with a wide range of applications, the main preparation method of this matrix material has at present: solid-state High temperature diffusion connection method, squeeze casting method, vacuum suction casting technique and vacuum pressure infiltration method.Wherein, the advantage such as that High temperature diffusion connection method has is little to fibre-tendering, matrix material designability is strong, shortcoming is: complex technical process, production cost are high; Squeeze casting method has that composite pressure is high, Liquid Infiltration is complete, can eliminate the defects such as hole and shrinkage cavity, improves the advantages such as composite materials property, but shortcoming is: foundry goods shape is restricted, be difficult to realize near-net-shape, under high pressure, easily make the impaired cracking of precast body and produce casting flaw; The generation of the casting flaw such as vacuum suction casting technique can reduce bubble in matrix material, be mingled with, vacuum environment also can be avoided aluminium liquid and fiber oxidation, but shortcoming is: the wettability of fiber and aluminium liquid is poor, and high temperature aluminum liquid easily and between fiber serious surface reaction occurs and damaged composite material performance.The advantage of vacuum pressure infiltration method is: preparation technology is simple, can prepare complex-shaped composite material parts, realize the near-net-shape of matrix material, but its shortcoming is: infiltration temperature is higher, easily cause matrix alloy to react with carbon fiber, need carry out surface modification to improve the wetting property of itself and aluminum melt and to control surface reaction to carbon fiber.
Above preparation method respectively has feature, generally speaking, preparation for continuous fibre reinforced aluminum matrix composites, vacuum pressure infiltration method has preparation technology is simple, pressure is easily controlled, be difficult for causing precast body deformation and failure, can realize the advantages such as near-net-shape, is therefore suitable for the high complex precise part of manufacturing property requirement.In order to solve the low wetting property of carbon fiber and aluminum melt in vacuum pressure infiltration and to control the surface reaction problem between the two, generally need carry out surface modification treatment to carbon fiber, it is a kind of comparatively ideal carbon fiber surface modification method that plating nickel on surface is processed.But in current carbon fiber reinforced aluminum matrix composite vacuum pressure infiltration technique, there are following two deficiencies: surface oxidation and scaling loss that (1) nickel-coated carbon fibers is hankered in advance, not only damaged the performance of fiber own, and can reduce the wettability of itself and aluminium liquid, cause low pressure infiltration preparation difficulty; (2) nickel-coated carbon fibers and aluminium liquid high temperature are longer lower duration of contact, and serious surface reaction can occur, and not only damage the integrity of fiber own and performance, and easily generate a large amount of interfacial brittle phases, thereby worsen composite materials property.
summary of the invention:
First object of the present invention is to provide a kind of continuous carbon fibre to strengthen the liquid near-net-shape method (that is: vacuum aided pressure regulation infiltration casting method) of aluminium base multiple material, it has solved the damage of carbon fiber surface high temperature oxidation and surface reaction is controlled this two difficult problems, contribute to improve microstructure of composite density and integrity, improve composite materials property, and reduce its preparation cost, for technical foundation is established in the liquid near-net-shape preparation of the continuous reinforced aluminum matrix composites of high-performance carbon fibre.
Second object of the present invention is to provide a kind of continuous carbon fibre to strengthen the liquid near-net-shape device (that is: vacuum aided pressure regulation infiltration casting device) of aluminium base multiple material.
First object of the present invention is achieved in that
A liquid near-net-shape method that strengthens aluminium base multiple material, feature is: step is as follows:
A, according to the requirement of fiber volume fraction 35%-55%, prepare continuous carbon fibre precast body, quantitatively cut aluminum alloy ingot and obtain aluminum matrix alloy, carbon fabric perform and aluminum matrix alloy are respectively charged in casting mold and crucible in, whole device is connected to the laggard row airtight test of sealing;
B, fiber preheating and alloy melting: open crucible heater and casting mold well heater and carry out aluminium alloy smelting and carbon fiber preheating simultaneously, open vacuum pump valve and casting mold valve, crucible and casting mold are vacuumized and are kept simultaneously the air pressure balance of the two, after reaching 5-10Pa, the vacuum tightness of crucible tracheal pressure table and casting mold tracheal pressure table stops vacuumizing, close vacuum pump valve, open argon gas valve and pass into highly purified argon gas in crucible and casting mold, the argon pressure of crucible tracheal pressure table and casting mold tracheal pressure table reaches after 20-30KPa, close argon gas valve and keep pressure 10-20 minute, open vacuum pump valve and be evacuated to vacuum tightness 5-10Pa, then close vacuum pump valve, open argon gas valve and pass into argon gas pressurize, after 20-30KPa, close argon gas valve and keep pressure 10-20 minute, repeat above step, by vacuumizing and the hocketing of logical argon gas, realize alloy melting and fiber preheating under hypoxic atmosphere, until alloy melting and fiber preheating finish, by crucible thermopair, control the smelting temperature 650-800 ℃ of aluminium alloy, by casting mold thermopair, control the preheating temperature 400-650 ℃ of carbon fiber,
C, vacuum aided gas pressure infiltration: aluminium alloy is heated to the above 50-100 ℃ of liquidus temperature, carbon fabric perform is heated to 400-650 ℃, the two was all incubated after 1 hour, closing crucible well heater and casting mold well heater, close argon gas valve, opens vacuum pump valve, crucible and casting mold are vacuumized simultaneously, keep the two identical environment vacuum tightness, the vacuum tightness of crucible tracheal pressure table and casting mold tracheal pressure table, to 5-10Pa, is closed vacuum pump valve and casting mold valve; Open argon gas valve, molten aluminium liquid level in crucible is passed into the argon gas that pressure is 200-500KPa, under the differential pressure action of crucible and casting mold, make high temperature aluminum liquid with controlled pressure permeation in the carbon fabric perform in casting mold and the space of filling carbon fiber, realize the compound of aluminium alloy and carbon fiber, complete the vacuum aided low pressure infiltration of matrix material;
D, High Pressure Solidification is shaped: the temperature variation that embeds the casting mold thermopair in mould wall by several is monitored the temperature variation of mould wall in vacuum low-pressure infiltration process, after low pressure infiltration finishes, regulate argon gas valve, the argon pressure that makes to act on the molten aluminium liquid level in crucible rises to 800-1000KPa, remove casting mold well heater simultaneously and open cooling water valve, in watercooling jacket, pass into water coolant, by watercooling jacket, the composite castings in casting mold is carried out cooling fast, by casting mold thermocouple monitoring composite castings rate of cooling, by regulating the speed of cooling of the flow control composite castings of cooling-water pump, control the surface reaction degree between carbon fiber and aluminium alloy,
E, composite castings are cooled to after room temperature, open the bolt that is tightly connected between casting mold and casting mold tracheae, watercooling jacket, riser pipe, take off the casting mold demoulding, obtain continuous carbon fibre reinforced aluminum matrix composites foundry goods.
In step B, the mode hocketing by vacuumizing and pass into high-purity argon gas, controls the oxygen level in crucible and casting mold, realizes the protection to nickel-coated carbon fibers under high temperature.
Second object of the present invention is achieved in that
A kind of continuous carbon fibre strengthens the liquid near-net-shape device of aluminium base multiple material, feature is: comprise crucible and casting mold, at the interior outer wall that the crucible of aluminium alloy is housed, be surrounded by crucible heater, top at crucible is fixed with seal cover board, and the detecting end of crucible thermopair is embedded in the wall of crucible through after crucible heater from outside to inside, casting mold well heater is arranged on above the seal cover board of crucible, the casting mold that carbon fabric perform is inside housed is seated in casting mold well heater, outer wall at casting mold is wound with watercooling jacket, one end of watercooling jacket is connected with cyclic water tank, the other end of watercooling jacket is connected with the cooling-water pump with cooling water valve, and the detecting end that is several casting mold thermopairs that are arranged in parallel up and down is all embedded in the wall of casting mold through after casting mold well heater from outside to inside, with one end of the crucible tracheae of crucible tracheal pressure table, through the seal cover board of crucible, extend in crucible downwards, the other end of crucible tracheae is connected with first interface of four-way pipe connecting, the suction end of vacuum pump is connected with second interface of four-way pipe connecting by vacuum pump valve, the outlet side of argon tanks is connected with the 3rd interface of four-way pipe connecting by argon gas valve, one end with the casting mold tracheae of casting mold tracheal pressure table extend in crucible downwards, the other end of casting mold tracheae is connected with the 4th interface of four-way pipe connecting with after the series connection of casting mold valve, the upper end of riser pipe is connected with the bottom of casting mold, the seal cover board that the lower end of riser pipe is passed down through crucible extend in the aluminium liquid in crucible.
The present invention compares with traditional carbon fiber reinforced aluminum matrix composite preparation method, and the feature of the method applied in the present invention and device is: (1) has realized the hypoxemia temperature control preheating of nickel-coated carbon fibers; (2) low pressure infiltration and the High Pressure Solidification preparation of aluminum matrix composite have been realized; (3) speed of cooling having realized during composite castings solidifies is controlled.Surface reaction problem when the precast body distortion when oxidization burning loss while the invention solves carbon fiber preheating, infiltration and composite material solidification.
The pre-hot atmosphere control of carbon fiber and the control of composite castings process of cooling have been realized.Pre-hot atmosphere is controlled and has been avoided on the one hand the oxidation ablation under high temperature in carbon fiber warm, guaranteed the integrity of carbon fiber itself, avoid its mechanical property damage, protected on the other hand carbon fiber surface nickel coating integrity, improve wetting property between carbon fiber and molten aluminium, reduce Liquid Infiltration resistance, reduce fiber segregation and precast body distortion; Composite cools down process control can suppress surface reaction excessive between C/Al, reduces the damage to carbon fiber, controls interface A l4c3the quantity of fragility phase and pattern, contribute to improve composite materials property.In addition, improve composite cools down speed and be conducive to its matrix of refinement, further improve composite materials property.
Adopting present method and device to prepare continuous carbon fibre reinforced aluminum matrix composites, to have processing parameter controlled, technique integrated level height and the low advantage of cost, composite castings has good dense structure's property and mechanical property simultaneously, can solve the liquid near-net-shape technical barrier of continuous filament reinforced metallic matrix composite in engineering Application Areas.
accompanying drawing explanation
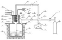
Fig. 1 is structural representation of the present invention;
Fig. 2 is unidirectional continuous enhancing Cfthe schematic diagram of/Al composite product;
Fig. 3 is unidirectional continuous enhancing Cfthe microcosmic schematic diagram of/Al microstructure of composite pattern, wherein:(a), vertical fibers bundle; (b) parallel fibers bundle;
Fig. 4 is that three-dimensional four-way strengthens C continuouslyfthe schematic diagram of/Al microstructure of composite pattern.
embodiment:
Below in conjunction with embodiment, method of the present invention is further detailed.
A liquid near-net-shape method that strengthens aluminium base multiple material, step is as follows:
A, according to the requirement of fiber volume fraction 35%-55%, prepare continuous carbon fibre precast body, quantitatively cut aluminum alloy ingot and obtain aluminum matrix alloy, carbon fabric perform and aluminum matrix alloy are respectively charged in casting mold and crucible in, whole device is connected to the laggard row airtight test of sealing;
B, fiber preheating and alloy melting: open crucible heater and casting mold well heater and carry out aluminium alloy smelting and carbon fiber preheating simultaneously, open vacuum pump valve and casting mold valve, crucible and casting mold are vacuumized and are kept simultaneously the air pressure balance of the two, after reaching 5-10Pa, the vacuum tightness of crucible tracheal pressure table and casting mold tracheal pressure table stops vacuumizing, close vacuum pump valve, open argon gas valve and pass into highly purified argon gas in crucible and casting mold, the argon pressure of crucible tracheal pressure table and casting mold tracheal pressure table reaches after 20-30KPa, close argon gas valve and keep pressure 10-20 minute, open vacuum pump valve and be evacuated to vacuum tightness 5-10Pa, then close vacuum pump valve, open argon gas valve and pass into argon gas pressurize, after 20-30KPa, close argon gas valve and keep pressure 10-20 minute, repeat above step, by vacuumizing and the hocketing of logical argon gas, realize alloy melting and fiber preheating under hypoxic atmosphere, until alloy melting and fiber preheating finish, by crucible thermopair, control the smelting temperature 650-800 ℃ of aluminium alloy, by casting mold thermopair, control the preheating temperature 400-650 ℃ of carbon fiber,
C, vacuum aided gas pressure infiltration: aluminium alloy is heated to the above 50-100 ℃ of liquidus temperature, carbon fabric perform is heated to 400-650 ℃, the two was all incubated after 1 hour, closing crucible well heater and casting mold well heater, close argon gas valve, opens vacuum pump valve, crucible and casting mold are vacuumized simultaneously, keep the two identical environment vacuum tightness, the vacuum tightness of crucible tracheal pressure table and casting mold tracheal pressure table, to 5-10Pa, is closed vacuum pump valve and casting mold valve; Open argon gas valve, molten aluminium liquid level in crucible is passed into the argon gas that pressure is 200-500KPa, under the differential pressure action of crucible and casting mold, make high temperature aluminum liquid with controlled pressure permeation in the carbon fabric perform in casting mold and the space of filling carbon fiber, realize the compound of aluminium alloy and carbon fiber, complete the vacuum aided low pressure infiltration of matrix material;
D, High Pressure Solidification is shaped: the temperature variation that embeds the casting mold thermopair in mould wall by several is monitored the temperature variation of mould wall in vacuum low-pressure infiltration process, after low pressure infiltration finishes, regulate argon gas valve, the argon pressure that makes to act on the molten aluminium liquid level in crucible rises to 800-1000KPa, remove casting mold well heater simultaneously and open cooling water valve, in watercooling jacket, pass into water coolant, by watercooling jacket, the composite castings in casting mold is carried out cooling fast, by casting mold thermocouple monitoring composite castings rate of cooling, by regulating the speed of cooling of the flow control composite castings of cooling-water pump, control the surface reaction degree between carbon fiber and aluminium alloy,
E, composite castings are cooled to after room temperature, open the bolt that is tightly connected between casting mold and casting mold tracheae, watercooling jacket, riser pipe, take off the casting mold demoulding, obtain continuous carbon fibre reinforced aluminum matrix composites foundry goods.
In step B, the mode hocketing by vacuumizing and pass into high-purity argon gas, controls the oxygen level in crucible and casting mold, realizes the protection to nickel-coated carbon fibers under high temperature.
A kind of continuous carbon fibre strengthens the liquid near-net-shape device of aluminium base multiple material, comprise crucible 15 and casting mold 22, at the interior outer wall that the crucible 15 of aluminium alloy is housed, be surrounded by crucible heater 18, top at crucible 15 is fixed with seal cover board 19, and the detecting end of crucible thermopair 16 is embedded in the wall of crucible 15 through after crucible heater 18 from outside to inside, casting mold well heater 23 is arranged on above the seal cover board 19 of crucible 15, the casting mold 22 that carbon fabric perform is inside housed is seated in casting mold well heater 23, outer wall at casting mold 22 is wound with watercooling jacket 24, one end of watercooling jacket 24 is connected with cyclic water tank 11, the other end of watercooling jacket 24 is connected with the cooling-water pump 8 with cooling water valve 21, and the detecting end that is three the casting mold thermopairs 12,13,14 that are arranged in parallel up and down is all embedded in the wall of casting mold 22 through after casting mold well heater 23 from outside to inside, seal cover board 19 with one end of the crucible tracheae 20 of crucible tracheal pressure table 7 through crucible 15 extend into downwards in crucible 15, the other end of crucible tracheae 20 is connected with first interface of four-way pipe connecting 4, the suction end of vacuum pump 6 is connected with second interface of four-way pipe connecting 4 by vacuum pump valve 5, the outlet side of argon tanks 1 is connected with the 3rd interface of four-way pipe connecting 4 by argon gas valve 2, one end with the casting mold tracheae 10 of casting mold tracheal pressure table 9 extend into downwards in casting mold 22, the other end of casting mold tracheae 10 is connected with the 4th interface of four-way pipe connecting 4 with after 3 series connection of casting mold tracheae valve, the upper end of riser pipe 17 is connected with the bottom of casting mold 22, the seal cover board 19 that the lower end of riser pipe 17 is passed down through crucible 15 extend in the aluminium liquid in crucible 15.Aluminium liquid in crucible 15 is entered in the fiber preform of casting mold 22 and is gone by riser pipe 17 under crucible-casting mold differential pressure action, regulates the air pressure in crucible 15 can complete low-pressure liquid infiltration and High Pressure Solidification forming process.
Embodiment 1:
Present embodiment is arranged in parallel and is inserted in silica tube by continuous carbon fibre, makes unidirectional fibre precast body, through vacuum aided pressure regulation infiltration casting near-net-shape, goes out unidirectional continuous enhancing Cf/ Al matrix material, carbon fiber volume fraction is 35%, aluminium alloy volume fraction is 65%.As shown in Figure 2, its microtexture as shown in Figure 3 for the continuous carbon fibre single-way reinforced aluminium base composite material goods of near-net-shape.
The nickel-coated carbon fibers T300 that selects 3K, aluminium alloy is selected ZL114A.
Embodiment 2:
Present embodiment is woven into precast body by continuous carbon fibre by three-dimensional four-way, goes out three-dimensional four-way strengthen continuously C through vacuum aided pressure regulation infiltration casting near-net-shapef/ Al matrix material, carbon fiber volume fraction is 45%, aluminium alloy volume fraction is 55%.Prepared matrix material microtexture as shown in Figure 4.
Embodiment 3:
Present embodiment is woven into precast body by continuous carbon fibre by three-dimensional four-way, through vacuum aided pressure regulation infiltration casting near-net-shape, goes out C/Al matrix material, and carbon fiber volume fraction is 55%, and aluminium alloy volume fraction is 45%.

Claims (3)

1. continuous carbon fibre strengthens a liquid near-net-shape method for aluminium base multiple material, it is characterized in that: step is as follows:
A, according to the requirement of fiber volume fraction 35%-55%, prepare continuous carbon fibre precast body, quantitatively cut aluminum alloy ingot and obtain aluminum matrix alloy, carbon fabric perform and aluminum matrix alloy are respectively charged in casting mold and crucible in, whole device is connected to the laggard row airtight test of sealing;
B, fiber preheating and alloy melting: open crucible heater and casting mold well heater and carry out aluminium alloy smelting and carbon fiber preheating simultaneously, open vacuum pump valve and casting mold valve, crucible and casting mold are vacuumized and are kept simultaneously the air pressure balance of the two, after reaching 5-10Pa, the vacuum tightness of crucible tracheal pressure table and casting mold tracheal pressure table stops vacuumizing, close vacuum pump valve, open argon gas valve and pass into highly purified argon gas in crucible and casting mold, the argon pressure of crucible tracheal pressure table and casting mold tracheal pressure table reaches after 20-30KPa, close argon gas valve and keep pressure 10-20 minute, open vacuum pump valve and be evacuated to vacuum tightness 5-10Pa, then close vacuum pump valve, open argon gas valve and pass into argon gas pressurize, after 20-30KPa, close argon gas valve and keep pressure 10-20 minute, repeat above step, by vacuumizing and the hocketing of logical argon gas, realize alloy melting and fiber preheating under hypoxic atmosphere, until alloy melting and fiber preheating finish, by crucible thermopair, control the smelting temperature 650-800 ℃ of aluminium alloy, by casting mold thermopair, control the preheating temperature 400-650 ℃ of carbon fiber,
C, vacuum aided gas pressure infiltration: aluminium alloy is heated to the above 50-100 ℃ of liquidus temperature, carbon fabric perform is heated to 400-650 ℃, the two was all incubated after 1 hour, closing crucible well heater and casting mold well heater, close argon gas valve, opens vacuum pump valve, crucible and casting mold are vacuumized simultaneously, keep the two identical environment vacuum tightness, the vacuum tightness of crucible tracheal pressure table and casting mold tracheal pressure table, to 5-10Pa, is closed vacuum pump valve and casting mold valve; Open argon gas valve, molten aluminium liquid level in crucible is passed into the argon gas that pressure is 200--500KPa, under the differential pressure action of crucible and casting mold, make high temperature aluminum liquid with controlled pressure permeation in the carbon fabric perform in casting mold and the space of filling carbon fiber, realize the compound of aluminium alloy and carbon fiber, complete the vacuum aided low pressure infiltration of matrix material;
D, High Pressure Solidification is shaped: the temperature variation that embeds the casting mold thermopair in mould wall by several is monitored the temperature variation of mould wall in vacuum low-pressure infiltration process, after low pressure infiltration finishes, regulate argon gas valve, the argon pressure that makes to act on the molten aluminium liquid level in crucible rises to 800-1000KPa, remove casting mold well heater simultaneously and open cooling water valve, in watercooling jacket, pass into water coolant, by watercooling jacket, the composite castings in casting mold is carried out cooling fast, by casting mold thermocouple monitoring composite castings rate of cooling, by regulating the speed of cooling of the flow control composite castings of cooling-water pump, control the surface reaction degree between carbon fiber and aluminium alloy,
E, composite castings are cooled to after room temperature, open the bolt that is tightly connected between casting mold and casting mold tracheae, watercooling jacket, riser pipe, take off the casting mold demoulding, obtain continuous carbon fibre reinforced aluminum matrix composites foundry goods.
2. liquid near-net-shape method according to claim 1, is characterized in that: in step B, the mode hocketing by vacuumizing and pass into high-purity argon gas, controls the oxygen level in crucible and casting mold, realizes the protection to nickel-coated carbon fibers under high temperature.
3. a continuous carbon fibre strengthens the aluminium base liquid near-net-shape device of material again, it is characterized in that: comprise crucible and casting mold, at the interior outer wall that the crucible of aluminium alloy is housed, be surrounded by crucible heater, top at crucible is fixed with seal cover board, and the detecting end of crucible thermopair is embedded in the wall of crucible through after crucible heater from outside to inside, casting mold well heater is arranged on above the seal cover board of crucible, the casting mold that carbon fabric perform is inside housed is seated in casting mold well heater, outer wall at casting mold is wound with watercooling jacket, one end of watercooling jacket is connected with cyclic water tank, the other end of watercooling jacket is connected with the cooling-water pump with cooling water valve, and the detecting end that is several casting mold thermopairs that are arranged in parallel up and down is all embedded in the wall of casting mold through after casting mold well heater from outside to inside, with one end of the crucible tracheae of crucible tracheal pressure table, through the seal cover board of crucible, extend in crucible downwards, the other end of crucible tracheae is connected with first interface of four-way pipe connecting, the suction end of vacuum pump is connected with second interface of four-way pipe connecting by vacuum pump valve, the outlet side of argon tanks is connected with the 3rd interface of four-way pipe connecting by argon gas valve, one end with the casting mold tracheae of casting mold tracheal pressure table extend in crucible downwards, the other end of casting mold tracheae is connected with the 4th interface of four-way pipe connecting with after the series connection of casting mold valve, the upper end of riser pipe is connected with the bottom of casting mold, the seal cover board that the lower end of riser pipe is passed down through crucible extend in the aluminium alloy in crucible.
CN201310432463.0A2013-09-232013-09-23Liquid-state near-net forming method and device for continuous carbon fiber enhanced aluminum-based composite materialExpired - Fee RelatedCN103540873B (en)

Priority Applications (1)

Application NumberPriority DateFiling DateTitle
CN201310432463.0ACN103540873B (en)2013-09-232013-09-23Liquid-state near-net forming method and device for continuous carbon fiber enhanced aluminum-based composite material

Applications Claiming Priority (1)

Application NumberPriority DateFiling DateTitle
CN201310432463.0ACN103540873B (en)2013-09-232013-09-23Liquid-state near-net forming method and device for continuous carbon fiber enhanced aluminum-based composite material

Publications (2)

Publication NumberPublication Date
CN103540873Atrue CN103540873A (en)2014-01-29
CN103540873B CN103540873B (en)2015-05-20

Family

ID=49964714

Family Applications (1)

Application NumberTitlePriority DateFiling Date
CN201310432463.0AExpired - Fee RelatedCN103540873B (en)2013-09-232013-09-23Liquid-state near-net forming method and device for continuous carbon fiber enhanced aluminum-based composite material

Country Status (1)

CountryLink
CN (1)CN103540873B (en)

Cited By (14)

* Cited by examiner, † Cited by third party
Publication numberPriority datePublication dateAssigneeTitle
RU2613830C1 (en)*2015-10-072017-03-21Федеральное государственное унитарное предприятие "Всероссийский научно-исследовательский институт авиационных материалов" (ФГУП "ВИАМ")Fibrous composite material
CN106637938A (en)*2016-12-282017-05-10陕西科技大学Preparation device and preparation method of metallic aluminum coating on surface of carbon fiber
CN108251768A (en)*2018-01-232018-07-06沈阳工业大学A kind of regular polygon crucible prepares the device and method of carbon fiber aluminum-based compound material
CN108746553A (en)*2018-08-232018-11-06苏州沧海真空机械有限公司Vacuum and the compound aluminum alloy casting apparatus and its method of low pressure
CN109304452A (en)*2018-11-022019-02-05罗源县白塔乡企业服务中心A kind of preparation method of Cu-Al bimetal composite material
CN109468549A (en)*2018-12-102019-03-15南昌航空大学 A near-net-shape method for 3D braided fiber-reinforced metal matrix composites
CN110125367A (en)*2019-04-292019-08-16上海工程技术大学A kind of device being used to prepare more metal fiber composites and control method
CN110408864A (en)*2019-09-122019-11-05王书杰 Preparation method of carbon fiber reinforced aluminum matrix composite material, composite material and parts
CN110444320A (en)*2019-08-092019-11-12大连理工大学A kind of high-strength highly-conductive fibre reinforced ALuminum matrix composite wires and preparation method thereof
CN110527931A (en)*2019-09-192019-12-03王书杰The forming method and material of carbon fiber reinforced aluminum matrix composite
CN110527932A (en)*2018-05-242019-12-03中国科学院金属研究所A kind of liquid suction casting preparation method of SiC precursor enhancing TiAl based composites
CN111070802A (en)*2018-10-222020-04-28有研工程技术研究院有限公司Composite structure barrel and forming method thereof
CN111331139A (en)*2020-02-192020-06-26哈尔滨工业大学 A method for high-throughput preparation of metal matrix composites under different compounding pressures
CN111809072A (en)*2020-07-092020-10-23南昌航空大学 A kind of preparation method of graphene reinforced Ti2AlNb composite material

Citations (4)

* Cited by examiner, † Cited by third party
Publication numberPriority datePublication dateAssigneeTitle
JPS59153860A (en)*1983-02-191984-09-01Nippon Denso Co LtdComposite aluminum material reinforced with carbon fiber and its manufacture
JPH08325653A (en)*1995-05-311996-12-10Ishikawajima Harima Heavy Ind Co Ltd Carbon long fiber reinforced Al-based composite material for wear resistant members
CN1472354A (en)*2002-07-312004-02-04������ɫ�����о���Ժ Near Net Shape Process of Particle Reinforced Aluminum Matrix Composites and Its Components and Components
CN101787503A (en)*2010-01-142010-07-28西北工业大学Device and method for preparing nanometer fiber orientation and location reinforced metal-based composite material

Patent Citations (4)

* Cited by examiner, † Cited by third party
Publication numberPriority datePublication dateAssigneeTitle
JPS59153860A (en)*1983-02-191984-09-01Nippon Denso Co LtdComposite aluminum material reinforced with carbon fiber and its manufacture
JPH08325653A (en)*1995-05-311996-12-10Ishikawajima Harima Heavy Ind Co Ltd Carbon long fiber reinforced Al-based composite material for wear resistant members
CN1472354A (en)*2002-07-312004-02-04������ɫ�����о���Ժ Near Net Shape Process of Particle Reinforced Aluminum Matrix Composites and Its Components and Components
CN101787503A (en)*2010-01-142010-07-28西北工业大学Device and method for preparing nanometer fiber orientation and location reinforced metal-based composite material

Cited By (17)

* Cited by examiner, † Cited by third party
Publication numberPriority datePublication dateAssigneeTitle
RU2613830C1 (en)*2015-10-072017-03-21Федеральное государственное унитарное предприятие "Всероссийский научно-исследовательский институт авиационных материалов" (ФГУП "ВИАМ")Fibrous composite material
CN106637938A (en)*2016-12-282017-05-10陕西科技大学Preparation device and preparation method of metallic aluminum coating on surface of carbon fiber
CN106637938B (en)*2016-12-282019-03-26陕西科技大学A kind of preparation facilities and method of carbon fiber surface metal aluminized coating
CN108251768A (en)*2018-01-232018-07-06沈阳工业大学A kind of regular polygon crucible prepares the device and method of carbon fiber aluminum-based compound material
CN110527932A (en)*2018-05-242019-12-03中国科学院金属研究所A kind of liquid suction casting preparation method of SiC precursor enhancing TiAl based composites
CN110527932B (en)*2018-05-242021-03-26中国科学院金属研究所Liquid suction casting preparation method of SiC precursor reinforced TiAl-based composite material
CN108746553A (en)*2018-08-232018-11-06苏州沧海真空机械有限公司Vacuum and the compound aluminum alloy casting apparatus and its method of low pressure
CN111070802A (en)*2018-10-222020-04-28有研工程技术研究院有限公司Composite structure barrel and forming method thereof
CN109304452A (en)*2018-11-022019-02-05罗源县白塔乡企业服务中心A kind of preparation method of Cu-Al bimetal composite material
CN109468549A (en)*2018-12-102019-03-15南昌航空大学 A near-net-shape method for 3D braided fiber-reinforced metal matrix composites
CN110125367A (en)*2019-04-292019-08-16上海工程技术大学A kind of device being used to prepare more metal fiber composites and control method
CN110125367B (en)*2019-04-292020-11-20上海工程技术大学 A device and control method for preparing multi-metal fiber composite material
CN110444320A (en)*2019-08-092019-11-12大连理工大学A kind of high-strength highly-conductive fibre reinforced ALuminum matrix composite wires and preparation method thereof
CN110408864A (en)*2019-09-122019-11-05王书杰 Preparation method of carbon fiber reinforced aluminum matrix composite material, composite material and parts
CN110527931A (en)*2019-09-192019-12-03王书杰The forming method and material of carbon fiber reinforced aluminum matrix composite
CN111331139A (en)*2020-02-192020-06-26哈尔滨工业大学 A method for high-throughput preparation of metal matrix composites under different compounding pressures
CN111809072A (en)*2020-07-092020-10-23南昌航空大学 A kind of preparation method of graphene reinforced Ti2AlNb composite material

Also Published As

Publication numberPublication date
CN103540873B (en)2015-05-20

Similar Documents

PublicationPublication DateTitle
CN103540873A (en)Liquid-state near-net forming method and device for continuous carbon fiber enhanced aluminum-based composite material
CN110230012B (en)Vacuum air pressure infiltration forming method of fiber reinforced aluminum matrix composite
CN103145437B (en)Resin isobaric liquid-phase impregnation densification method for rapidly filling pores inside carbon/carbon composite material
CN102728813B (en)Device and preparation method for continuously preparing magnesium-based composite material irregular-shape piece by vacuum pressure infiltration
CN106735186B (en)A kind of method that 3D printing-isostatic cool pressing prepares titanium alloy multi-stage gear
CN102019401B (en)Cast forming method of small titanium alloy or titanium-aluminum alloy complicated casting
CN109468549B (en)Near-net forming method of 3D woven fiber reinforced metal matrix composite
CN101244454B (en) Precision casting method of metal mold bottom drain vacuum suction casting titanium base alloy
CN105312513B (en)A kind of method of mold core integration composite casting large size alloy steel ingot
CN103160760B (en)Continuous filament reinforced metallic matrix composite strip casting moulding process and equipment
CN102699311A (en)Precesion casting method for high temperature alloy complex thin-walled castings
CN104532045B (en)A kind of preparation method of high volume fraction grain enhanced aluminum-base compound material
CN101569924A (en)High-counter-pressure casting method for high-tensile and high-density aluminum silicon alloy
CN102691021B (en)Device and method for preparing aluminum-base composite material by using vacuum impregnation andsolid-liquid direct extrusion
CN107177749B (en)A kind of device and method of convertible vacuum pressure near-net-shape magnesium-based composite material
CN104785757A (en)Multi-core reducing multi-ladle co-casting method and device for casting large composite steel ingots
CN103464728B (en)Magnesium matrix composite forming device and method for forming magnesium matrix composite by device
CN101653825B (en)High-pressure counter-pressure casting method of Al-5 percent Cu base alloy
CN113199008A (en)Vacuum low-pressure casting device and method for large aluminum and magnesium alloy castings
CN105543735B (en)A method of eliminating β/B2 phases in casting high Nb containing TiAl based alloy
CN104174831A (en)Casting method of high-volume-fraction reinforced-phase titanium-based composite material casting
CN117340274A (en)Ordered heterostructure multi-metal composite material and preparation method thereof
WO2007079482B1 (en)Metal casting system
CN104399981A (en)Three-dimensional printing method of metal-based composite material
CN205324701U (en)Device and have its system of infiltrating infiltrates

Legal Events

DateCodeTitleDescription
C06Publication
PB01Publication
SE01Entry into force of request for substantive examination
SE01Entry into force of request for substantive examination
C14Grant of patent or utility model
GR01Patent grant
CF01Termination of patent right due to non-payment of annual fee
CF01Termination of patent right due to non-payment of annual fee

Granted publication date:20150520

Termination date:20160923


[8]ページ先頭

©2009-2025 Movatter.jp