Movatterモバイル変換


[0]ホーム

URL:


CN103476719A - Methods for mechanically forming crack initiation defects in thin glass substrates - Google Patents

Methods for mechanically forming crack initiation defects in thin glass substrates
Download PDF

Info

Publication number
CN103476719A
CN103476719ACN2012800163987ACN201280016398ACN103476719ACN 103476719 ACN103476719 ACN 103476719ACN 2012800163987 ACN2012800163987 ACN 2012800163987ACN 201280016398 ACN201280016398 ACN 201280016398ACN 103476719 ACN103476719 ACN 103476719A
Authority
CN
China
Prior art keywords
glass substrate
flaw
described glass
milled fibre
crack
Prior art date
Legal status (The legal status is an assumption and is not a legal conclusion. Google has not performed a legal analysis and makes no representation as to the accuracy of the status listed.)
Pending
Application number
CN2012800163987A
Other languages
Chinese (zh)
Inventor
詹姆斯·W·布朗
尼古拉斯·D·卡瓦拉罗三世
切斯特·H·H·张
伊恩·大卫·特蕾西
撒迪厄斯·弗朗西斯·泰锡斯克
Current Assignee (The listed assignees may be inaccurate. Google has not performed a legal analysis and makes no representation or warranty as to the accuracy of the list.)
Corning Inc
Original Assignee
Corning Inc
Priority date (The priority date is an assumption and is not a legal conclusion. Google has not performed a legal analysis and makes no representation as to the accuracy of the date listed.)
Filing date
Publication date
Application filed by Corning IncfiledCriticalCorning Inc
Publication of CN103476719ApublicationCriticalpatent/CN103476719A/en
Pendinglegal-statusCriticalCurrent

Links

Images

Classifications

Landscapes

Abstract

Methods for mechanically forming crack initiation defects in thin glass substrates are described. In one embodiment, a method for separating a glass substrate into a plurality of substrates includes directing a flow of carrier fluid having abrasive material entrained therein onto the surface of the glass substrate to form an initiation defect in the surface of the glass substrate. The initiation defect does not extend through a thickness of the glass substrate. Thereafter, the initiation defect is heated with a laser source and subsequently cooled with a cooling fluid such that a crack initiates from the initiation defect. The crack extends through the thickness of the glass substrate and propagates across the glass substrate such that the glass substrate is separated into a plurality of substrates.

Description

Form for mechanical type on thin glass substrate the method that crack generates flaw
the cross reference of related application
The application's case is advocated the U.S. Provisional Patent Application case the 61/475th of application on April 11st, 2011 according to patent law, the senior interest of No. 409, and the content of described provisional application case is incorporated herein by reference accordingly.
Technical field
Specification sheets of the present invention relates generally to the separation by laser of thin glass substrate, and more particularly, relates to for mechanical type and form crack generation flaw for separate the method for thin glass substrate by laser separation technique.
Background technology
Such as the arrogant glass substrate formation substantially of the glass substrate for flat-panel monitor and other electron device, described large glass substrate is divided into to a plurality of less glass substrates, these less glass substrates are incorporated in individual devices.Various isolation technique can be used to large glass substrate is separated into to a plurality of less glass substrates, and these technology comprise laser cutting technique.In order to carry out the separation of glasses substrate by laser cutting, at first use tracing wheel to form in glass substrate and generate flaw or hole seam.In order to form the generation flaw, tracing wheel is contacted and the power that then will be orthogonal to the surface of glass substrate is applied to tracing wheel with glass substrate, thereby tracing wheel is pressed into to glass baseplate surface during through short range on the surface at glass substrate at tracing wheel.The power on tracing wheel of putting on produces and generates flaw, described generation flaw extend and part through the thickness of glass substrate.After this, will generate flaw heating and rapidly cooling so that through hole self-generating flaw propagate with the separation of glasses substrate.
Yet, when the thickness of glass substrate reduces, form as mentioned above the generation flaw and generally cause forming series crack and non-local flaw in the surface of glass substrate in the surface of glass substrate, this is larger because of the value that forms the required normal force of flaw with tracing wheel.Even, under the situation that only forms single crack, this single crack also generally extends through the thickness of glass substrate.Can be easily and spread all over uncontrollably the width of glass substrate and propagate in these cracks, thereby often causes glass substrate of serious failure before separation by laser.
Therefore, need alternative method and device to generate flaw to produce crack in thin glass substrate, so that by separation by laser, thin glass substrate is separated into to a plurality of single glass substrates.
Summary of the invention
Embodiment as herein described relates to a kind of method, described method forms crack for the surface at thin glass substrate and generates flaw and do not pierce through thin glass substrate or generate uncontrolled crack propagation in thin glass substrate, and therefore is convenient to thin glass substrate is separated into to a plurality of single substrates.Also disclose the device for manner of execution.
According to an embodiment, a kind ofly do not pierce through thin glass substrate for glass substrate is separated into to a plurality of substrates or comprise the following steps in the method that glass substrate generates uncontrolled crack propagation: glass substrate is provided; And will be with abrasive substance the stream of carrier fluid therein guide on the surface of glass substrate generate flaw to form in the surface of glass substrate.After this, available laser source heating generates flaw and uses subsequently the cooling described generation flaw of cooling fluid, makes self-generating flaw in crack generate.Fracture propagation is through the thickness of glass substrate and spread all over glass substrate and propagate, glass substrate is separated into to a plurality of substrates.
In another embodiment, a kind ofly do not pierce through thin glass substrate for glass substrate being separated into to a plurality of single substrates or comprise the following steps in the method that glass substrate generates uncontrolled crack propagation: glass substrate is provided; And the surface of glass substrate is contacted with the milled fibre that comprises abrasive substance.After this, milled fibre process on the surface of glass substrate generates flaw so that the abrasive substance of milled fibre forms in the surface of glass substrate.
In another embodiment, a kind ofly do not pierce through thin glass substrate for glass substrate being separated into to a plurality of single substrates or comprise the following steps in the method that glass substrate generates uncontrolled crack propagation: glass substrate is provided; And near spin finishing wheel compliant type support glass substrate.The surface of glass substrate then contacts with the spin finishing wheel, make by spin finishing and take turns the surface that the principal components that is applied to the power on glass substrate is parallel in fact glass substrate, to minimize the deflection of glass substrate, wherein, grinding miller grinds the generation flaw in the surface of glass substrate.
Additional features structure of the present invention and advantage will be described in hereinafter in embodiment, and part from those embodiments and in by technique those of skill in the art understood or understood by putting into practice embodiment as herein described (comprising hereinafter embodiment, claims and alterations).
Should be understood that above large volume description and hereinafter embodiment both various embodiment are all described, and be intended to provide general introduction or framework for character and the characteristic of understanding the target of advocating.Alterations is included in herein so that the further understanding of various embodiment to be provided, and is incorporated in this specification sheets and forms the part of this specification sheets.Alterations illustrates various embodiment as herein described, and is used for together with the description explaining principle and the operation of the target of advocating.
The accompanying drawing explanation
The 1st figure indicative icon according to illustrated in this paper and describe one or more embodiment for carrier fluid with abrasive substance and form the method that crack generates flaw in thin glass substrate;
The 2nd figure indicative icon utilizes illustrated method in the 1st figure and a plurality of cracks that form in the surface of glass substrate generate flaws;
A plurality of cracks of the 3rd figure indicative icon the 2nd figure generate the enlarged view of flaw;
The 4th figure indicative icon according to illustrated in this paper and another embodiment described form for the surface at thin glass substrate the milling apparatus that one or more cracks generate flaws;
The 5th figure indicative icon according to illustrated in this paper and another embodiment described form for the surface at thin glass substrate the milling apparatus that one or more cracks generate flaws;
6A figure and 6B figure indicative icon are according to illustrated in this paper and the crack generation flaw that forms in the surface of thin glass substrate with milling apparatus of the one or more embodiment that describe;
The 7th figure indicative icon is for forming at thin glass substrate the embodiment that crack generates the milling apparatus of flaw;
A plurality of cracks that the 8th figure indicative icon forms in the surface of thin glass substrate with the milling apparatus of the 7th figure generate flaw;
The 9th figure indicative icon generates another embodiment of the method for flaw for form crack with milled fibre;
The 10th figure indicative icon according to illustrated in this paper and the one or more embodiment that describe for the spin finishing wheel and form at thin glass substrate the method that crack generates flaw;
The 11st figure indicative icon according to illustrated in this paper and the one or more embodiment that describe for the spin finishing wheel and form at thin glass substrate the method that crack generates flaw;
The 12nd figure indicative icon utilizes illustrated method in the 11st figure and the crack that forms in the surface of thin glass substrate generates flaw; And
13A figure and 13B figure indicative icon according to illustrated in this paper and the one or more embodiment that describe generate for endokinetic fissure the method that flaw carrys out the separation by laser glass substrate.
Embodiment
With detailed reference to the embodiment of the method for form crack generation flaw at thin glass substrate mechanical type, the example of the embodiment of these methods is illustrated in alterations.Whenever possible, the similar elements symbol will be used for meaning same or similar part in graphic all.In the 1st figure, indicative icon forms for the surface at glass substrate the embodiment that crack generates the method for flaw.Method comprises following steps substantially: by the stream of carrier fluid with abrasive substance guide on the surface of glass substrate and generate flaw with the crack that forms a plurality of parts.The concrete description in this article with reference to alterations at glass substrate, forming crack generated to the method for flaw and the various embodiment of device.
The thin glass substrate formation that can certainly there is 0.2mm or the thickness below 0.2mm for the cover glass of the electron device such as flat-panel monitor, smart phone etc.These thin glass substrates can form large thin slice or the band of glass substantially, and described thin slice or band are divided into a plurality of single glass substrates by laser separation technique subsequently.Now determine, generate flaw so that the conventional art of separation by laser can cause the uncontrolled separation of thin glass substrate for form crack at thin glass substrate, thus pierce through thin glass substrate or under worst-case because the high normal force that is used to form crack and generates flaw causes the of serious failure of thin glass substrate.Therefore, form crack generation flaw in thin glass substrate and can be loss and expensive source.This paper describe can alleviate above-mentioned difficulties at glass substrate, forming method and the device that crack generates flaw.
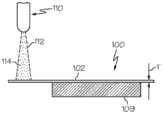
Refer now to the 1st figure, indicative icon is a kind of at thin glass substrate 100(namely, has the glass substrate of the thickness that is less than or equal to about 0.2mm)surface 102 in form the method that crack generates flaw.With carrier fluid 112(such as, pressurized air or similar substrates gas) stream inabrasive substance 114 and form crack generate flaw in the surface of glass substrate.In alternate embodiment, the stream ofcarrier fluid 112 can be the liquid withabrasive substance 114, such as, water.In embodiment as herein described, in the compressed-air actuated stream penetrated fromnozzle 110 with abrasive substance 114.To guide to the stream of thecarrier fluid 112 ofabrasive substance 114 on thesurface 102 ofglass substrate 100 with the zone of lapped face, and therefore produce local crack and generate flaw.
In embodiment as herein described,abrasive substance 114 has from about 400 orders to about 600 purpose order numbers, in order to form crack, generates flaw, and these cracks generate flaws to have and be suitable for generating from these cracks the size that flaw is propagated cracks.These values that However, it should be understood that the order number of abrasive substance are exemplary and abrasive substance with greater or lesser order number also can be used for utilizing this method and forms crack generate flaw in the surface of glass substrate.
Various types of abrasive substances can be used for generating flaw in order to form crack in the stream of carrier fluid 112.For instance, in one embodiment, in the stream ofcarrier fluid 112 withabrasive substance 114 be aluminum oxide.However, it should be understood that and also can use other suitable abrasive substance, include but not limited to, silicon carbide, boron nitride, diamond and similar abrasive substance.
With the erosion of the part on thesurface 102 that is suitable for causingglass substrate 100 and do not cause the pressure of the excessive damage (namely, not causing the hole through the thickness of glass substrate 100) to glass substrate and will guide on the surface ofglass substrate 100 with the stream of thecarrier fluid 112 of abrasive substance 114.In one embodiment, be less than or equal under the pressure of about 60psi and will guiding on the surface of glass substrate with the stream of thecarrier fluid 112 of abrasive substance 114.For instance, availablely be more than or equal to about 30psi and be less than or equal to the pressure of about 60psi and will guide on thesurface 102 ofglass substrate 100 with the stream of thecarrier fluid 112 of abrasive substance 114.The pressure of the stream ofcarrier fluid 112 is maintained at and is less than excessive damage and the erosion that 60psi helps to alleviateglass substrate 100, and excessive damage and erosion can cause forming through hole or uncontrolled crack propagation.Although the pressure of the stream ofcarrier fluid 112 need to be maintained at and be less than 60psi and also be used in glass substrate and form crack and generate flaw to alleviate excessive damage, should understand the pressure that is less than about 30psi or is greater than about 60psi.
Nozzle 110 andglass substrate 100 are positioned relative to each other, making stream with thecarrier fluid 112 ofabrasive substance 114 have contact (area) pattern 118(is illustrated in the 3rd figure), contact (area)pattern 118 has and is less than 1 inch (25.4mm), the better diameter D that is less than or equal to 0.75 inch (19mm), in contact (area)pattern 118, formed local crack and generated flaw 116.Contact (area)pattern 118 is maintained at and is less than the formation that 1 inch (25.4mm) minimizes the crack generation flaw in unwanted zone, and alleviation is to the damage of the glass substrate in so-called " quality region " of glass substrate, the formation that crack in unwanted zone generates flaw can cause generating uncontrolled separation, and " quality region " should keep not being damaged.In an embodiment as herein described, contact (area)pattern 118 has and is more than or equal to approximately 0.25 inch (6.35mm) and is less than or equal to the approximately diameter D of 0.75 inch (19mm).
Glass substrate 100 can be through location so that compliant type supports the zone with respect to the glass substrate of the contact (area)pattern 118 of carrier fluid, such as, whenglass substrate 100dangles carrier fluid 112 times.This layout drawing is shown in the 1st figure, and whereinglass substrate 100 is positioned onstrut member 109, makes the end of at least a portion self-supportingpart 109 ofglass substrate 100 dangle.In this is arranged, compliant typesupport glass substrate 100, make when the stream ofcarrier fluid 112 andabrasive substance 114 clash into thesurface 102 ofglass substrates 100,glass substrate 100 deflections, and minimize the degree of depth of the generation flaw that abrasive substance causes.Therefore, should be understood that term " compliant type support " meaning is that at least a portion of glass substrate freely generates mechanism's deflection or rebounds away from crack when forming crack generation flaw.
Perhaps, in the time of on thesurface 102 that will guide to the stream of thecarrier fluid 112 ofabrasive substance 114glass substrate 100, butglass substrate 100 compliant types are supported on the compliant type surface.For instance, the compliant type surface can be foam pad or similar cushion plate, and when the stream bycarrier fluid 112 guides on thesurface 102 ofglass substrate 100,glass substrate 100 is positioned on described foam pad or similar cushion plate.In another embodiment, the compliant type surface can be air bearing (such as, Bernoulli chuck or similar air floating device),glass substrate 100 be positioned on described air bearing in case when the stream bycarrier fluid 112 guides on thesurface 102 ofglass substrate 100 buffering glass substrate 100.Compliant type surface compliant type supports andcushions glass substrate 100, and allowglass substrate 100 slightly to rebound when thesurface 102 that stream and theabrasive substance 114 ofcarrier fluid 112 clashes intoglass substrates 100, make the degree of depth of the generation flaw that minimizes the part that abrasive substance causes.The exemplary embodiment on compliant type surface (air bearing specifically) is schematically illustrated in the 4th figure and the 5th figure and is described in herein in further detail.
Refer now to the 2nd figure and the 3rd figure, can be used to form at least one crack in the zone of the part on thesurface 102 ofglass substrate 100 with the stream of thecarrier fluid 112 ofabrasive substance 114 and generateflaw 116, the zone of described part is corresponding to the position of the contact (area)pattern 118 of the stream of carrier fluid 112.More particularly, in the stream ofcarrier fluid 112 withabrasive substance 114 generateflaw 116 in a plurality of cracks of the interior formation of contact (area)pattern 118 of the stream of carrier fluid 112.Crack generates the residence time of the stream of thecarrier fluid 112 that the surface density (namely, the crack of per unit area generates the number of flaw) offlaw 116 can be by the particular locations on thesurface 102 ofglass substrate 100 and controls.Therefore, residence time is longer, and the surface density that the crack of generation generates flaw is higher.For given contact (area)pattern 118, a plurality of cracks that are arranged in contact (area)pattern 118 generateflaws 116 any one can be used to use laser separation technique to generate sorting hole or crack, as described in more detail.
Refer now to the 4th figure, indicative icon forms another embodiment of the method that generates flaw forsurface 102 mechanical types at glass substrate 100.As mentioned above, glass substrate has the thickness T that is less than or equal to 0.2mm.In this embodiment, utilizemilling apparatus 140 and form crack generationflaw.Milling apparatus 140 comprisesrotary drum member 141 and one or moremilled fibre 142 substantially.Rotarydrum member 141 is substantially columniform, hasrotary middle spindle 143, androtary middle spindle 143 is substantially corresponding to the longitudinal axis of rotary drum member 141.One or more milled fibre 142(the 4th picture in pictures have shown four) from thesurface 146 ofrotary drum member 141, extend, make atrotary drum member 141 when turningaxle 143 rotates, milledfibre 142 rotates around turningaxle 143 together withrotary drum member 141.
In embodiment as herein described, milledfibre 142 be fixed in thesurface 146 ofrotary drum member 141 formed single take inmouthfuls 148 and be anchored on the single ofmilled fibre 142 with epoxy resin or another suitable material take in mouth.Milled fibre 142 comprises thefilament 144 that scribbles abrasive substance 114.In embodiment as herein described,filament 144 has from about 0.15mm to the diameter of about 0.22mm and is formed by steel wire.However, it should be understood that filament can form from other material, includes but not limited to polymeric material, carbon fiber or other metallic substance.In addition, also should be understood that filament can be formed with the diameter that is greater than about 0.22mm or is less than 0.15mm.
In embodiment as herein described, at milledfibre 142 andglass substrate 100, produce while contacting,glass substrate 100 and angle [alpha] between milledfibre 142 are enough little of to prevent that fiber from mentioning glass substrate when contacting glass substrate 100.For instance, in one embodiment, the angle [alpha] between milledfibre 142 andglass substrate 100 is less than or equal to approximately 45 degree.For the ease of when the initial contact betweenmilled fibre 142 andglass substrate 100 required angle [alpha], thefilament 144 that forms milledfibre 142 can be bending, illustrated in the 4th figure.Additionally or alternati, milledfibre 142 can be positioned inrotary drum member 141, makes the surface of milled fibre and wheel tangent, illustrated in the 4th figure.
In embodiment as herein described, the abrasive substance that is coated to filament is to have be more than or equal to approximately 600 orders and be less than or equal to the approximately diamond of 1000 purpose order numbers.However, it should be understood that other abrasive substance can be used to be coated with filament, includes but not limited to aluminum oxide, silicon carbide or boron nitride.Also should be understood that and also can use other order number.
Milling apparatus 140 can be coupled to such as the motor of speed change electric notor (not shown), so that make rotate turningaxle 143 rotation of bulging member ofrotary drum member 141 and milled fibre 142.In embodiment as herein described, the speed of rotation that is suitable formilling apparatus 140 formation crack generation flaw in glass substrate comprises the scope to about 2000rpm from about 60rpm.However, it should be understood that and also can use the extraneous speed of rotation to about 2000rpm from about 60rpm.
Still, with reference to the 4th figure, in one embodiment, when withmilling apparatus 140, forming crack generation flaw in glass substrate,glass substrate 100 is positioned on compliant type surface 130.As mentioned above,compliant type surface 130 can comprise foam material, or, illustrated in the 4th figure,compliant type surface 130 can be air bearing.In this embodiment, whenmilling apparatus 140 contacts withglass substrate 100, compliant type surface 130(namely, air bearing) atair cushion 132 upper support glass substrates 100.When thesurface 102 of milledfibre 142contact glass substrates 100,air cushion 132 compliant typesupport glass substrates 100, thus bufferingglass substrate 100 and absorption are applied to the excessive force ofglass substrate 100, therefore prevent thatglass substrate 100 from occurring badly damaged.
Although the 4th figure illustrates a kind of layout for compliant type support glass substrate, should be understood that other layout is also possible.For instance, in alternate embodiment, can be by glass substrate being positioned to compliant typesupport glass substrate 100 on strut member so that the end of the end self-supporting part of theglass substrate 100 of milled fibre contact dangles, illustrated in the 1st figure.In this is arranged, compliant typesupport glass substrate 100, make when milledfibre 142 clashes into thesurface 102 ofglass substrates 100, andglass substrate 100 deflections make the degree of depth that minimizes the generation flaw that milled fibre causes.
Generate flaw in order to form crack in thesurface 102 atglass substrate 100, milledfibre 142 contacts with thesurface 102 ofglass substrate 100 and passes through from the teeth outwards by makingmilling apparatus 140 rotations, make rotate turningaxle 143 rotation of bulgingmember 141 ofmilled fibre 142, and therefore, milledfibre 142 is around in fact perpendicular to the turning axle rotation of the major axis of (namely, 90 degree ± 10 degree) each milled fibre.In one embodiment,milling apparatus 140 is positioned adjacent to thesurface 102 ofglass substrate 100, make the turningaxle 143 ofrotary drum member 141 spaced apart with thesurface 102 ofglass substrate 100, and when milled fibre rotates, namely, milledfibre 142 and surperficial 102 carries out contacting the surperficial 102(of theonly tip portion 145contact glass substrates 100 of eachmilled fibre 142).When milling apparatus rotates, be arranged in abrasive substance on thetip portion 145 of each milledfibre 142 and grind cracks on thesurface 102 ofglass substrate 100 and generate flaws.Location milling apparatus 140 so that theonly tip portion 145 of each milledfibre 142 and thesurface 102 ofglass substrate 100 carry out contacting, this measure makes to be ground to the length that crack in thesurface 102 ofglass substrate 100 generates flaw and minimizes, and also guarantees that the gained crack generates the thickness that flaw does not extend through glass substrate 100.In 6A figure, indicative icon utilizes aforementioned techniques and the crack that forms with milling apparatus generates an embodiment of flaw 116.In this embodiment, by locatemilling apparatus 140 with respect to glass substrate, make crack generate the edge offset offlaw 116 from glass substrate, make thesurface 102 of the tip contact glass substrate of milled fibre, and at first do not contact the edge of glass substrate.However, it should be understood that in other embodiments, crack generatesflaw 116 can extend from the edge ofglass substrate 100, as described in more detail.
With reference to the 5th figure, in another embodiment, rotary grinding device 140(specifically, the turningaxle 143 of milling apparatus 140) spaced apart with thesurface 102 ofglass substrate 100, make milledfibre 142 at first contact substrate edge and then with thesurface 102 ofglass substrate 100, surpass the contact (namely, line contacts) that single-point contacts.More particularly, in this embodiment,rotary grinding device 140 is located with respect toglass substrate 100, make when milledfibre 142 rotation, milledfibre 142 deflections and carry out line against thesurface 102 ofglass substrate 100 and near the partial-length of the milled fibre of thetip portion 145 ofmilled fibre 142 with thesurface 102 ofglass substrate 100 and contact, therefore increase the length of the gained crack formed in thesurface 102 of theglass substrate 100 generation flaw with milled fibre 142.In embodiment more as herein described, the part of carrying out themilled fibre 142 that line contacts withglass substrate 100 can be less than or equal to approximately 0.25 inch (6.35mm).6B figure indicative icon is used aforementioned techniques and the crack that forms in thesurface 102 ofglass substrate 100 generates flaw 116.In this embodiment, when thesurface 102 that is spreading all overglass substrate 100 at milled fibre initially contacts with the edge ofglass substrate 100 before moving, crack generatesflaw 116 and extends from the edge ofglass substrate 100.
Refer now to the 7th figure, an embodiment of indicative icon milling apparatus 140.In this embodiment, milledfibre 142 is positioned onrotary drum member 141 to obtain the predetermined pattern that generates flaw on thesurface 102 at glass substrate 100.In particular, the 7th figure illustrates the embodiment ofmilling apparatus 140, and wherein, a plurality ofmilled fibres 142 are according torow 170 layouts, and theserow 170 extend in the axial direction on thesurface 146 of rotary drum member 141.Milledfibre 142 in eachrow 170 is spaced apart predetermined distance s equidistantly in the axial direction.Themilled fibre 142 of multiple row is equidistantly spaced apart on thesurface 146 ofrotary drum member 141 in a circumferential direction.
Refer now to the 8th figure,diagram glass substrate 100, wherein utilize the milling apparatus of the 7th figure to form the pattern that crack generates flaw 116.Crack generates each S spaced apart inflaw 116, described apart from S the spacing corresponding to themilled fibre 142 on themilling apparatus 140 of the 7th figure.Therefore, should be understood thatmilling apparatus 140 can form with a plurality of milled fibre construction, these milled fibres are through arranging with the single passage with milling apparatus in thesurface 102 at glass substrate that producing a plurality of cracks generates flaw 116.In addition, milledfibre 142 can be arranged in the required pattern that generatesflaw 116 on therotary drum member 141 ofmilling apparatus 140 to reach crack on thesurface 102 atglass substrate 100, and the required pattern that crack generatesflaw 116 can be used to again glass substrate is divided into to a plurality of single glass substrate with desired size.In these embodiments, need a plurality of milled fibres to form crack and generate the wide regional 117 offlaws 116, illustrated in the 8th figure.Thezone 117 of a plurality ofgeneration flaws 116 is convenient to during follow-up separation by laser processing procedure laser is faster aimed at at least one in flaw in described zone.
Although above-described embodiment utilizes the spin finishing fiber to generate flaw to form crack in the surface of glass substrate, but should be understood that milled fibre can be used to by carry out the movable glass substrate with respect to milled fibre form crack in the surface of glass substrate and generates flaw.With reference to the 9th figure, with the way of example indicative icon, for using milledfibre 142, thesurface 102 atglass substrate 100 produces another embodiment that cracks generate the technology of flaws.In this embodiment, milled fibre is immobilizated in fixed position.Milledfibre 142, by process on thesurface 102 atglass substrate 100 bymovable glass substrate 100 onarrow 200 indicated directions, makes when glass substrate moves, thesurface 102 of milledfibre 142 contact glass substrates 100.As mentioned above, milledfibre 142 is mentionedglass substrate 100 so that the contact angle α between the surface of milledfibre 142 andglass substrate 100 minimizes (namely, being less than or equal to 45 degree) to prevent milledfibre 142 through location.
Based on aforementioned content, should be understood that milled fibre can pass through on the surface of glass substrate with respect to glass substrate rotation or with respect to fixing milled fibre movable glass substrate by making milled fibre.
Refer now to the 10th figure, indicative icon forms for the surface at glass substrate another embodiment that crack generates the method for flaw.In this embodiment,spin finishing wheel 150 forms crack for the surface atglass substrate 100 and generates flaw.Grindingmiller 150 comprises the abrasive substance such as silicon carbide, aluminum oxide, diamond etc. substantially, and described abrasive substance has and is less than approximately 1000 order number.For instance, in certain embodiments, abrasive substance can have and is more than or equal to approximately 300 or be less than or equal to approximately 1000 order number.In other embodiments, abrasive substance can have and is more than or equal to approximately 400 and be less than or equal to approximately 600 order number.In another embodiment, abrasive substance can have from approximately 300 to about 400 order number.
In one embodiment, when withgrinding miller 150, forming crack generation flaw in glass substrate,glass substrate 100 is positioned on compliant type surface 130.As mentioned above,compliant type surface 130 can comprise foam material, or, illustrated in the 10th figure,compliant type surface 130 can be air bearing.When thesurface 102 ofgrinding miller 150contact glass substrates 100,air cushion 132 compliant typesupport glass substrates 100, thusbuffering glass substrate 100 and absorption are applied to the excessive force ofglass substrate 100, and prevent the damage toglass substrate 100.
Although the 10th figure illustrates a kind of layout for compliant type support glass substrate, should be understood that other layout is also possible.For instance, in alternate embodiment, can be by glass substrate being positioned to compliant typesupport glass substrate 100 on strut member, so that the end of the end self-supporting part of theglass substrate 100 of grinding miller contact dangles, illustrated in the 1st figure.In this arranges, compliant typesupport glass substrate 100, make when thesurface 102 of grinding millercontact glass substrate 100, andglass substrate 100 deflections make the degree of depth that minimizes the generation flaw that grinding miller causes.
Spin finishing wheel 150 contacts withglass substrate 100 in the mode of the deflection according to reducingglass substrate 100 crack is generated in thesurface 102 that flaw is ground to glass substrate 100.For instance, concrete with reference to the 10th figure, in one embodiment, grindingmiller 150 is around turningaxle 154 rotations, and described turningaxle 154 is parallel to thesurface 102 of glass substrate 100.Spin finishing wheel 150 then contacts with thesurface 102 of glass substrate 100.Because grindingmiller 150 is rotating, so it is tangent that grindingmiller 150 is applied to fundamental component and the grinding miller of the power onglass substrate 100, and therefore, on the in-plane of theglass substrate 100 of the deflection in reducing glass substrate (plane that namely, is parallel to glass substrate).Grinding miller 150 is applied to the less important component of the power onglass substrate 100 perpendicular to glass substrate 100.Yet, because the glass substrate compliant type is supported oncompliant type surface 130, so the less important component of power causesglass substrate 100 at compliant type surface top offset, therefore minimizes the infringement of glass substrate and prevent that grindingmiller 150 from piercing through glass substrate.
Refer now to the 11st figure, in another embodiment,grinding miller 150 is around turningaxle 154 rotations on thesurface 102 that is not parallel toglass substrate 100, in order to, when grindingmiller 150 contact glass substrate, minimizegrinding miller 150 and be applied to the normal force on glass substrate 100.For instance, in one embodiment, interior angle between the turningaxle 154 ofgrinding miller 150 and thesurface 102 of glass substrate (namely, minimum angle) be greater than 45 degree and be less than 90 degree, makinggrinding miller 150 be applied to that advocating onglass substrate 100 will be parallel to the plane ofglass substrate 100 but not the plane that is orthogonal to glass substrate 100.More particularly, arrow 160 indications of the 11st figure are applied to the value of the component of force on glass substrate on the direction on the plane that is parallel toglass substrate 100 by grindingmiller 150, andarrow 162 indications are applied to the value of the component of force on glass substrate on the direction on the plane that is orthogonal toglass substrate 100.
As indicated, makegrinding miller 150 around the turning axle 154(on thesurface 102 that is not parallel toglass substrate 100 in particular, to be greater than approximately 45 degree and to be less than the angle of 90 degree) rotation cause the power onglass substrate 100 that is applied to fundamental component (namely, component of force with maximum magnitude) in the plane of glass substrate 100 (namely, but not be orthogonal to thesurface 102 ofglass substrate 100 plane that is parallel to glass substrate).Contact withglass substrate 100 at grindingmiller 150 like this when forming crack by grinding and generate flaw, minimize the amount due to the deflection with inspin finishing wheel 150 glass substrates that contact 100.
In in the aforementioned embodiment any one, the normal force that grindingmiller 150 applies on thesurface 102 ofglass substrate 100 power ofarrow 162 indication (namely, by) is more than or equal to substantially approximately 0.1 newton and is less than or equal to approximately 24 newton.In one embodiment, the normal force that grinding miller applies is more than or equal to approximately 1 newton and is less than or equal to approximately 10 newton.
In certain embodiments, the normal force that grindingmiller 150 applies on thesurface 102 ofglass substrate 100 depends on the order number of the abrasive sand of grinding miller 150.For instance, approximately 1000 order number can be in conjunction with using to about 10 newton's normal force from about 0.1 newton.Yet, the order number in be more than or equal to 400 and be less than or equal to 600 scope in the time, the normal force that grindingmiller 150 applies on thesurface 102 ofglass substrate 100 for from about 1 newton to about 24 newton.
Grindingmiller 150 can generate flaw in order to form crack by various speed of rotation rotations.Generally, the speed of rotation ofgrinding miller 150 can be at certainly about 200rpm to approximately 40, in the scope of 000rpm.
In another embodiment,grinding miller 150 can be around turningaxle 154 rotations, described turningaxle 154 can spin rotatingshaft 154 be parallel toglass substrate surface 102 be directed to the directed change that turningaxle 154 is not parallel to thesurface 102 ofglass substrate 100, or spin rotatingshaft 154 be not parallel toglass substrate surface 102 be directed to the directed change that turningaxle 154 is parallel to thesurface 102 ofglass substrate 100, or spin rotatingshaft 154 be not parallel toglass substrate surface 102 be directed to another directed change that turningaxle 154 is not parallel to thesurface 102 of glass substrate 100.Turningaxle 154 can repeatedly change, and wherein turningaxle 154 is made and repeated to change.Therefore the effect changed for achange grinding miller 150, with respect to the orientation on the plane ofglass substrate 100, and changes the contact position on the direction perpendicular to turningaxle 154 between grinding miller and glass substrate, and produces wider defect areas on the surface of glass substrate.In other words, the direction that is orthogonal to the plane of grinding miller changes.Grindingmiller 150 is regarded as swinging.
Can reach otherwise this swing.For instance, in alternate embodiment, grindingmiller 150 is installed on axle, and its orientation makes the plane of grindingmiller 150 be not orthogonal to axle.Therefore, when turningaxle 154 does not change, the orientation on the plane of grindingmiller 150 changes with respect toglass substrate 100, and the contact position betweengrinding miller 150 andglass substrate 100 for example, perpendicular to turning axle (, perpendicular to axle) direction on change, thereby again produce wider defect areas.In other words, the direction that is orthogonal to the plane of grinding miller changes.Therefore, swing as grindingmiller 150 when grinding miller rotates with respect to the change on the plane ofglass substrate 100.
With reference to the 12nd figure, the crack that indicativeicon grinding miller 150 forms generates flaw 116.Crack generates the thickness thatflaw 116 does not extend through glass substrate 100.Yet the degree of depth ofcrack generation flaw 116 can be depending on the thickness of glass substrate.For instance, in certain embodiments, the degree of depth that generates flaw is 0.1 * T, the thickness that wherein T is glass substrate 100.Crack generatesflaw 116 can have 8mm or the following length of 8mm.For instance, in certain embodiments, the length that crack generatesflaw 116 is more than or equal to about 2mm and is less than or equal to about 8mm.In other embodiments, generation flaw in crack has the nominal length of about 5mm.
Refer now to 13A figure and 13B figure, the crack that utilizes method as herein described and form generates flaw and can be used for along required defiber forming through hole (namely in glass substrate, crack) and through hole is propagated, to use laser separation technique, thin glass substrate is separated into to a plurality of substrates.For instance, after one in utilizing method as herein described forms crack generation flaw in thesurface 102 ofglass substrate 100, utilizelaser source 180 to guide on thesurface 102 ofglass substrate 100 with thebeam 182 by bylaser source 180, and firecrack generation flaw 116 reach the part that generates the glass offlaw 116 around crack.In the embodiment shown in 13A figure and 13B figure, thebeam 182 oflaser source 180 hasbeam spot 190 on thesurface 102 ofglass substrate 100, and the size of describedbeam spot 190 is enough greatly to generateflaw 116 aroundcrack.Beam spot 190 is positioned crack and generates onflaw 116 with the heating flaw.
Onceglass substrate 100 reaches necessary temperature by LASER HEATING, such as the coolingblast 186use cooling jets 184 of the cooling fluid of water, air or another suitable cooling fluid, penetrate to crack and generate on flaw 116.Coolingblast 186forms cooling spot 192 substantially on thesurface 102 ofglass substrate 100, and the size of describedcooling spot 192 is enough greatly to generateflaw 116 around crack.The rapid cooling crack endokinetic fissure that causes of glass that will generate aroundcrack flaw 116 generates the flaw development and propagates the thickness T through glass substrate 100.In order to make crack, oncrack propagation direction 194, along requireddefiber 196, propagate, glass substrate can be onarrow 188 indicated directions with respect to thebeam 182 of coolingblast 186 andlaser source 180 and move, perhaps, coolingblast 186 and beam spot can pass through along the line of requireddefiber 196 on thesurface 102 of glass substrate, make crack propagate along required defiber, thereby thethinnest glass substrate 100 is separated into a plurality of less glass substrates.
Should be understood that method as herein described and device can be used to mechanical type in thin glass substrate and form crack generation flaw, so that glass substrate laser is separated into to a plurality of single glass substrates.As herein describedly be used to form technology that crack generates flaw and be convenient to use and the normal force of relatively small amount is applied to glass substrate and forms crack and generate flaw, and therefore, these technology prevent the crack of generation uncontrollably of glass substrate or pierce through, especially when glass substrate has the thickness that is less than about 0.2mm.Yet, also should be understood that the techniques described herein also can effectively form crack for the substrate having the thickness that is greater than about 0.2mm and generate flaw.
Therefore, exemplary unrestricted embodiment comprises:
C1. one kind for form generating flaw so that glass substrate is separated into to the method for a plurality of substrates at glass substrate, and method comprises following steps: glass substrate is provided; Will be with abrasive substance the stream of carrier fluid therein guide on the surface of glass substrate generate flaw to form in the surface of glass substrate; Heat the generation flaw with laser source; And carry out cooling generation flaw with cooling fluid, and make self-generating flaw in crack generate, fracture propagation is through the thickness of glass substrate and spread all over glass substrate and propagate, glass substrate is separated into to a plurality of substrates.
C2. method as described as C1, wherein the stream of carrier fluid comprises pressurized air, and abrasive substance has 400 to 600 order number.
C3. as C1 or the described method of C2, wherein: generate flaw and comprise a plurality of generation flaws; And a plurality of generation flaws are located in the diameter of contact (area) pattern of stream of lip-deep carrier fluid of glass substrate.
C4. method as described as C3, wherein the diameter of contact (area) pattern is less than approximately 0.75 inch (19mm) on the surface of glass substrate.
C5. one kind for form generating flaw so that glass substrate is separated into to the method for a plurality of substrates at glass substrate, and method comprises following steps: glass substrate is provided; The surface of glass substrate is contacted with the milled fibre that comprises abrasive substance; And make milled fibre process on the surface of glass substrate, make the abrasive substance of milled fibre form the generation flaw in the surface of glass substrate.
C6. method as described as C5, wherein milled fibre and the surface of glass substrate carry out contacting.
C7. method as described as C5, wherein milled fibre carries out line with the surface of glass substrate and contacts.
C8. method as described as any one in C5 to C7, wherein the contact angle between the surface of milled fibre and glass substrate is less than or equal to 45 degree.
C9. method as described as C5, wherein, by when milled fibre contact glass substrate surperficial, make glass substrate move with respect to milled fibre, and milled fibre is passed through on the surface of glass substrate.
C10. method as described as C5, wherein by make milled fibre around in fact perpendicular to the turning axle rotation of the longitudinal axis of milled fibre, milled fibre is passed through on the surface of glass substrate.
C11. method as described as any one in C5 to C10, described method further comprises following steps: when milled fibre contact glass substrate surperficial, compliant type support glass substrate.
C12. method as described as any one in C5 to C11, wherein the glass substrate compliant type is supported on air bearing.
C13. one kind for form generating flaw so that glass substrate is separated into to the method for a plurality of substrates at glass substrate, and method comprises following steps: glass substrate is provided; Near spin finishing wheel compliant type support glass substrate; And the surface of glass substrate is contacted with the spin finishing wheel, the principal components that makes the spin finishing wheel be applied to the power on glass substrate is parallel to the surface of glass substrate, to minimize the deflection of glass substrate, wherein, grinding miller grinds and generates flaw in the surface of glass substrate.
C14. method as described as C13, wherein the turning axle of spin finishing wheel is parallel to the surface of glass substrate.
C15. method as described as C13, wherein the turning axle of spin finishing wheel is not parallel to the surface of glass substrate.
C16. method as described as C15, wherein the angle between the surface of the turning axle of spin finishing wheel and glass substrate is greater than 45 degree and is less than 90 degree.
C17. method as described as any one in C13 to C16, the degree of depth that wherein generates flaw is 0.1 * T, the thickness that wherein T is glass substrate.
C18. method as described as any one in C13 to C17, wherein the spin finishing wheel is applied to power on glass substrate and is more than or equal to approximately 0.1 newton and is less than or equal to approximately 10 newton, and the spin finishing wheel scribbles the material of the order number that has approximately 1000.
C19. method as described as any one in C13 to C17, wherein spin finishing wheel is applied to power on glass substrate and is more than or equal to approximately 1 newton and is less than or equal to approximately 24 newton, and the spin finishing wheel scribbles to have and is more than or equal to approximately 400 and be less than or equal to approximately the material of 600 order number.
C20. method as described as any one in C13 to C19, wherein the glass substrate compliant type is supported on air bearing.
C21. method as described as any one in C13 to C20, wherein swing rotary grinding miller.
C22. method as described as C21, wherein the turning axle of spin finishing wheel changes.
C23. method as described as C21, wherein the turning axle of spin finishing wheel does not change.
It is evident that for those of skill in the art in technique, can carry out various modifications and changes to embodiment as herein described, and not depart from spirit and the category of advocated target.Therefore, this specification sheets is intended to contain the modifications and changes of various embodiment as herein described, as long as these modifications and changes fall in the category of equivalent of enclose claims and claims.

Claims (20)

CN2012800163987A2011-04-142012-03-26Methods for mechanically forming crack initiation defects in thin glass substratesPendingCN103476719A (en)

Applications Claiming Priority (3)

Application NumberPriority DateFiling DateTitle
US201161475409P2011-04-142011-04-14
US61/475,4092011-04-14
PCT/US2012/030498WO2012141874A1 (en)2011-04-142012-03-26Methods for mechanically forming crack initiation defects in thin glass substrates

Publications (1)

Publication NumberPublication Date
CN103476719Atrue CN103476719A (en)2013-12-25

Family

ID=47009638

Family Applications (1)

Application NumberTitlePriority DateFiling Date
CN2012800163987APendingCN103476719A (en)2011-04-142012-03-26Methods for mechanically forming crack initiation defects in thin glass substrates

Country Status (5)

CountryLink
JP (1)JP5878623B2 (en)
KR (1)KR20140016928A (en)
CN (1)CN103476719A (en)
TW (1)TWI539506B (en)
WO (1)WO2012141874A1 (en)

Cited By (1)

* Cited by examiner, † Cited by third party
Publication numberPriority datePublication dateAssigneeTitle
CN107108323A (en)*2014-11-072017-08-29康宁股份有限公司Using lapped face, mechanically formed crackle triggers defect in thin glass baseplate

Families Citing this family (5)

* Cited by examiner, † Cited by third party
Publication numberPriority datePublication dateAssigneeTitle
TWI586612B (en)*2011-11-182017-06-11康寧公司Apparatus and method for trimming a moving glass ribbon
US20150299021A1 (en)*2012-11-092015-10-22Nippon Electric Glass Co., Ltd.Initial crack formation device, and formation method
DE102015104815A1 (en)*2015-03-272016-09-29Schott Ag Method and apparatus for continuous separation of glass
KR102571224B1 (en)2017-09-152023-08-25코닝 인코포레이티드 Systems and methods for processing glass ribbons
DE102023213187A1 (en)*2023-12-212025-06-26Carl Zeiss Smt Gmbh Method for smoothing a surface of a substrate

Citations (5)

* Cited by examiner, † Cited by third party
Publication numberPriority datePublication dateAssigneeTitle
US4702042A (en)*1984-09-271987-10-27Libbey-Owens-Ford Co.Cutting strengthened glass
CN1337298A (en)*2000-08-042002-02-27三星钻石工业股份有限公司Scriber wheel for brittle base-board
JP2003200336A (en)*2001-12-272003-07-15Optrex CorpChamfering method for liquid crystal display panel
CN1572736A (en)*2003-05-202005-02-02本田制锁有限公司Process and apparatus for cutting sheet glass
CN1736914A (en)*2004-08-192006-02-22Mj技术股份公司Roller scraping cutter

Family Cites Families (9)

* Cited by examiner, † Cited by third party
Publication numberPriority datePublication dateAssigneeTitle
JPH0796452B2 (en)*1993-11-191995-10-18坂東機工株式会社 Glass plate processing machine
US5622540A (en)*1994-09-191997-04-22Corning IncorporatedMethod for breaking a glass sheet
KR100657196B1 (en)*2002-11-062006-12-14미쓰보시 다이야몬도 고교 가부시키가이샤Scribe line forming device and scribe line forming method
KR100497820B1 (en)*2003-01-062005-07-01로체 시스템즈(주)Glass-plate cutting machine
JP2004292278A (en)*2003-03-282004-10-21Kawaguchiko Seimitsu Co LtdGlass cutter wheel, method of manufacturing the same, automatic glass scriber provided with the same, glass cutter, glass cut by using the same and electronic instrument device employing the glass
WO2005054142A1 (en)*2003-12-052005-06-16Asahi Glass Company, LimitedMethod and device for cutting plate glass
JP2009242184A (en)*2008-03-312009-10-22Nippon Electric Glass Co LtdCutting method and cutting device for brittle platy object
US20100294746A1 (en)*2008-11-192010-11-25Applied Materials, Inc.Laser scribing platform with moving gantry
CZ302636B6 (en)*2010-09-102011-08-10Capka@VlastimilFlat glass treatment method and apparatus for making the same

Patent Citations (5)

* Cited by examiner, † Cited by third party
Publication numberPriority datePublication dateAssigneeTitle
US4702042A (en)*1984-09-271987-10-27Libbey-Owens-Ford Co.Cutting strengthened glass
CN1337298A (en)*2000-08-042002-02-27三星钻石工业股份有限公司Scriber wheel for brittle base-board
JP2003200336A (en)*2001-12-272003-07-15Optrex CorpChamfering method for liquid crystal display panel
CN1572736A (en)*2003-05-202005-02-02本田制锁有限公司Process and apparatus for cutting sheet glass
CN1736914A (en)*2004-08-192006-02-22Mj技术股份公司Roller scraping cutter

Cited By (1)

* Cited by examiner, † Cited by third party
Publication numberPriority datePublication dateAssigneeTitle
CN107108323A (en)*2014-11-072017-08-29康宁股份有限公司Using lapped face, mechanically formed crackle triggers defect in thin glass baseplate

Also Published As

Publication numberPublication date
TW201250811A (en)2012-12-16
KR20140016928A (en)2014-02-10
JP5878623B2 (en)2016-03-08
JP2014511821A (en)2014-05-19
WO2012141874A1 (en)2012-10-18
TWI539506B (en)2016-06-21

Similar Documents

PublicationPublication DateTitle
CN103476719A (en)Methods for mechanically forming crack initiation defects in thin glass substrates
CN105198198B (en)The machinery scribing line and separation of strengthened glass
KR101577857B1 (en)Separation of glass sheets from a laser-scored curved glass ribbon
KR101948382B1 (en)Apparatus and methods for continuous laser cutting of flexible glass
KR101589112B1 (en)Methods and apparatus for initiating scoring
Li et al.Study on the surface formation mechanism in scratching test with different ultrasonic vibration forms
TWI434812B (en) Breaking device and breaking method
TWI385047B (en) Method for cutting brittle material substrates
JP2009132614A (en)Method of scribing brittle material substrate and device therefor
KR101712668B1 (en)Method and apparatus for chamfering hard brittle plate
CN104097269B (en)A kind of multi-wire saw guide wheel customizing grooved and preparation method thereof
CN102741179A (en)Methods for laser scribing and separating glass substrates
Lv et al.Experimental investigations on subsurface damage in rotary ultrasonic machining of glass BK7
JP4080484B2 (en) Scribing method and scribing apparatus for brittle material substrate
TW201238711A (en)Vacuum device by using centrifugal resources
TWI418434B (en) Laser cutting device
CN112210774A (en)Laser cladding repair method for machine tool failure gear
JP2014031293A (en)Scribing method of brittle material substrate
KR20150026770A (en)Method of dividing semiconductor wafer
JP5370913B2 (en) Glass substrate end surface polishing apparatus and end surface polishing method thereof
JP2017538650A (en) Mechanical formation of crack initiation defects in thin glass substrates using polished surfaces
CN101517159A (en)Wood fiber separation device and method thereof
CN105189039B (en)For the method on processing object surface
Majumdar et al.Effective application of scraper board in grinding
Chen et al.Development of a diamond scribing wheel with unequal-pitch micro-penetration teeth

Legal Events

DateCodeTitleDescription
C06Publication
PB01Publication
SE01Entry into force of request for substantive examination
SE01Entry into force of request for substantive examination
AD01Patent right deemed abandoned
AD01Patent right deemed abandoned

Effective date of abandoning:20170811


[8]ページ先頭

©2009-2025 Movatter.jp