Movatterモバイル変換


[0]ホーム

URL:


CN103448796A - Forklift steering axle - Google Patents

Forklift steering axle
Download PDF

Info

Publication number
CN103448796A
CN103448796ACN 201310360822CN201310360822ACN103448796ACN 103448796 ACN103448796 ACN 103448796ACN 201310360822CN201310360822CN 201310360822CN 201310360822 ACN201310360822 ACN 201310360822ACN 103448796 ACN103448796 ACN 103448796A
Authority
CN
China
Prior art keywords
steering
hydraulic
speed reduction
reduction gearing
steeraxle
Prior art date
Legal status (The legal status is an assumption and is not a legal conclusion. Google has not performed a legal analysis and makes no representation as to the accuracy of the status listed.)
Withdrawn
Application number
CN 201310360822
Other languages
Chinese (zh)
Inventor
杨鹏波
王大鹏
Current Assignee (The listed assignees may be inaccurate. Google has not performed a legal analysis and makes no representation or warranty as to the accuracy of the list.)
Individual
Original Assignee
Individual
Priority date (The priority date is an assumption and is not a legal conclusion. Google has not performed a legal analysis and makes no representation as to the accuracy of the date listed.)
Filing date
Publication date
Application filed by IndividualfiledCriticalIndividual
Priority to CN 201310360822priorityCriticalpatent/CN103448796A/en
Publication of CN103448796ApublicationCriticalpatent/CN103448796A/en
Priority to CN201410047071.7Aprioritypatent/CN103754258A/en
Withdrawnlegal-statusCriticalCurrent

Links

Images

Landscapes

Abstract

The invention provides a forklift steering axle, which is provided with an axle body. The vertical centerline of the axle body and the centerline of a wheel axle for installing two steering wheels are perpendicularly and crossly arranged to enable the steering wheels to rotate leftwards and rightwards within 180 degrees. The upper end of the axle body is fixedly arranged at the lower end of the rear part of a body. A driving mechanism and a speed reducing mechanism are arranged on the body. The driving mechanism is connected with a vehicle control system and drives the steering axle to rotate leftwards and rightwards or move straightly through the speed reducing mechanism. Since the centerline of the axle body of the forklift steering axle and the centerline of the steering axle for installing the steering wheels are arranged by adopting a cross layout structure and double tires are arranged, the effect that the steering wheels rotate leftwards and rightwards within 180 degrees can be realized; the steering flexibility of the steering axle is high, the resistance is small and the bearing capacity is strong; since an angle detection device is connected with the vehicle control system, the demand of accurate steering control when an electric vehicle is unmanned can be met; the forklift steering axle is suitable for small turning radius vehicles such as fuel forklifts or electric forklifts.

Description

Forklift steering bridge
Technical field
The invention belongs to the fork truck technical field, be specifically related to a kind of forklift steering bridge.
Background technology
Existing forklift steering bridge, steering angle is 172 ° to the maximum, and the steeraxle of this kind of structure turns to that heavy resistance is large flexibly, weight capacity is poor, when basic out of reach propons drives turning, turning center is on the vehicle front axle centre, so turn radius and turn control are just different, and turning to of existing forklift steering bridge can not accurately control, can only manual operation, can not adopt unmanned automation mechanized operation, therefore be necessary to improve.
Summary of the invention
The technical matters that the present invention solves: a kind of forklift steering bridge is provided, the line of centers of the wheel shaft of two wheel flutters of the vertical line of centers of pontic and installation is arranged vertically and is crosswise, can realize the wheel flutter 180 ° of rotations in left and right, steeraxle is provided with speed reduction gearing, adopt HM Hydraulic Motor or motor drive axle body left-right rotation or craspedodrome, pontic is provided with angle detection device simultaneously.
The technical solution used in the present invention: forklift steering bridge, there is pontic, the line of centers of described pontic line of centers and the wheel shaft that two wheel flutters are installed is arranged vertically and is crosswise and makes the wheel flutter 180 ° of rotations in left and right, the pontic upper end is fixed on the rear vehicle lower end, described car body is provided with driver train and speed reduction gearing, and described driver train is connected with vehicle control system and drives steeraxle left-right rotation or craspedodrome by speed reduction gearing.
Further, also be provided with angle detection device on described car body, described angle detection device feeds back to vehicle control system by the detection signal of pontic rotational angle, and described vehicle control system reaches closed loop according to feedback signal to the direction information correction of steeraxle and accurately controls.
Preferred version one, described driver train is motor, described vehicle control system output termination input end of motor, described motor output end connects the speed reduction gearing input end, and described speed reduction gearing drives steeraxle left-right rotation or craspedodrome.
Preferred version two, described driver train is HM Hydraulic Motor, described vehicle control system output termination hydraulic power unit input end, described hydraulic power unit output termination hydraulic control unit input end is controlled hydraulic flow direction and flow, described hydraulic control unit drives HM Hydraulic Motor and rotates, described HM Hydraulic Motor output termination speed reduction gearing input end, described speed reduction gearing drives steeraxle left-right rotation or craspedodrome.
Preferred version three, described driver train is HM Hydraulic Motor, Hydraulic Pump output termination hydraulic steering gear input end, described hydraulic steering gear output termination HM Hydraulic Motor input end, described HM Hydraulic Motor output termination speed reduction gearing input end, described speed reduction gearing drives steeraxle left-right rotation or craspedodrome, and the output torque that the mechanical differential gear box of simultaneously installing on steeraxle adapts to the steering angle of steeraxle automatic synchronization two wheel flutters automatically realizes the steering manipulation of fork truck.
The present invention compared with prior art line of centers of the vertical line of centers of pontic and the wheel shaft that two wheel flutters are installed is arranged vertically and is crosswise, can realize the wheel flutter 180 ° of rotations in left and right, this steeraxle turns to flexibly, resistance is little, weight capacity is strong, angle detection device docks with vehicle control system, in the time of can realizing the elec. vehicle driverless operation, turns to accurate demand for control, is applicable to the tight turn radius vehicle of fuel oil fork truck or electri forklift.
The accompanying drawing explanation
Fig. 1 is the first embodiment of the invention structural front view;
Fig. 2 is first embodiment of the invention structure birds-eye view;
Fig. 3 is the second embodiment of the invention structural front view;
Fig. 4 is the third embodiment of the invention structural front view;
Fig. 5 is third embodiment of the invention structure birds-eye view.
The specific embodiment
Below in conjunction with accompanying drawing 1-2, the first embodiment of the present invention is described.
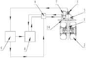
Forklift steering bridge, there is pontic 1, the line of centers of described pontic 1 line of centers and thesteeraxle 12 that twowheel flutters 2 are installed is arranged vertically and is crosswise and makes wheel flutter 180 ° of 2 left and right rotation, pontic 1 upper end is fixed oncar body 14 front lower ends, describedcar body 14 is provided with driver train andspeed reduction gearing 3, described driver train is connected withvehicle control system 6 and passes throughspeed reduction gearing 3 and drives steeraxle left-right rotation or craspedodromes, specifically, described driver train is motor 4, describedvehicle control system 6 output termination motor 4 input ends, described motor 4 output terminationspeed reduction gearing 3 input ends, described speed reduction gearing 3drives steeraxle 12 left-right rotation or craspedodrome.Also be provided withangle detection device 5 on describedcar body 14, describedangle detection device 5 feeds back tovehicle control system 6 by the detection signal ofsteeraxle 12 rotational angles, and describedvehicle control system 6 reaches closed loop according to feedback signal to the direction information correction of pontic 1 and accurately controls.
Principle of work: when the present invention adopts motor 4 to drive, byvehicle control system 6, according to program, need output motor to drive parameter, drive motor 4 runnings,angle detection device 5 arrivesvehicle control system 6 by the detection signal immediate feedback ofsteeraxle 12 rotational angles simultaneously,vehicle control system 6 to turning to data revised, is accurately controlled requirement thereby reach closed loop according to feedback signal.
Below in conjunction with accompanyingdrawing 3, the second embodiment of the present invention is described.
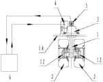
Forklift steering bridge, there is pontic 1, the line of centers of described pontic 1 line of centers and thesteeraxle 12 that twowheel flutters 2 are installed is arranged vertically and is crosswise and makes wheel flutter 180 ° of 2 left and right rotation, pontic 1 upper end is fixed oncar body 14 front lower ends, describedcar body 14 is provided with driver train andspeed reduction gearing 3, described driver train is connected withvehicle control system 6 and passes throughspeed reduction gearing 3 and drives steeraxle left-right rotation or craspedodromes, specifically, described driver train is HM HydraulicMotor 7, describedvehicle control system 6 output terminationhydraulic power unit 8 input ends, describedhydraulic power unit 8 output terminationhydraulic control unit 9 input ends are controlled hydraulic flow direction and flow, describedhydraulic control unit 9 drives HMHydraulic Motor 7 and rotates, described HMHydraulic Motor 7 output termination speed reduction gearing 3 input ends, describedspeed reduction gearing 3drives steeraxle 12 left-right rotation or craspedodrome.Also be provided withangle detection device 5 on describedcar body 14, describedangle detection device 5 feeds back tovehicle control system 6 by the detection signal ofsteeraxle 12 rotational angles, and describedvehicle control system 6 reaches closed loop according to feedback signal to the direction information correction of pontic 1 and accurately controls.
Principle of work: when HM Hydraulic Motor 7 of the present invention drives, byvehicle control system 6, according to program, need output motor to drive parameter, drivehydraulic power unit 8 runnings, byhydraulic control unit 9, control hydraulic flow direction and flow, pressure etc., drive HMHydraulic Motor 7 and rotate, meet and turn to requirement; By the detection signal immediate feedback of steeraxle rotational angle, tovehicle control system 6,vehicle control system 6 to turning to data revised, is accurately controlled requirement thereby reach closed loop according to feedback signal toangle detection device 5 simultaneously.
Below in conjunction with accompanying drawing 4-5, the third embodiment of the present invention is described.
Forklift steering bridge, there is pontic 1, the line of centers of described pontic 1 line of centers and thesteeraxle 12 that twowheel flutters 2 are installed is arranged vertically and is crosswise and makes wheel flutter 180 ° of 2 left and right rotation, pontic 1 upper end is fixed oncar body 14 front lower ends, describedcar body 14 is provided with driver train andspeed reduction gearing 3, described driver train drives steeraxle left-right rotation or craspedodrome byspeed reduction gearing 3, specifically, described driver train is HMHydraulic Motor 7,Hydraulic Pump 10 output terminationhydraulic steering gear 11 input ends, describedhydraulic steering gear 11 output termination HMHydraulic Motor 7 input ends, described HMHydraulic Motor 7 output terminationspeed reduction gearing 3 input ends, describedspeed reduction gearing 3drives steeraxle 12 left-right rotation or craspedodrome, the steering angle of theautomatic adaptation steeraxle 12 of mechanicaldifferential gear box 13 of simultaneously installing ondrive axle 15 output torque of automatic synchronization twodrive wheels 16 realize the steering manipulation of fork truck.
Principle of work: when the present invention is applicable to fuel power type fork truck, the HM Hydraulic Motor 7 of steeraxle directly, by theHydraulic Pump 10 output hydraulic pressure power of fork truck, drives throughhydraulic steering gear 11 output hydraulic pressure oil, and the steering angle ofsteeraxle 12 is without detection.The mechanicaldifferential gear box 13 of thedrive axle 15 of fork truck can adapt to the steering angle ofsteeraxle 12 output torque of automatic synchronization left andright wheels 16 automatically, realizes the steering manipulation of fork truck.Above-mentioned mechanicaldifferential gear box 13 can be adjusted output speed and the moment of left and right sidesing drivingwheel 16 automatically, thereby the whole center of gyration of fork truck that reaches the 16 speeds discrepancy formation of drive axle left and right sidesing driving wheel overlaps with steeraxle line of centers and drive axle line of centers intersection point O point, guarantee that fork truck is turned normally, nothing tows.
It should be noted that in addition, in existing fork lift truck structure, when steeraxle is used with propons with the drive axle structure of mechanical differential gear box, the rotating that can't realize left and right wheels due to mechanical differential gear box drives (can only rotate forward), so the center of gyration of this fork truck certainty outside the fork truck body scope, that is to say fork truck and can't realize pivot stud.
Above-described embodiment, be preferred embodiment of the present invention, not is used for limiting the scope of the present invention, and the equivalence of being done with the described content of the claims in the present invention therefore all changes, within all should being included in the claims in the present invention scope.

Claims (5)

CN 2013103608222013-08-162013-08-16Forklift steering axleWithdrawnCN103448796A (en)

Priority Applications (2)

Application NumberPriority DateFiling DateTitle
CN 201310360822CN103448796A (en)2013-08-162013-08-16Forklift steering axle
CN201410047071.7ACN103754258A (en)2013-08-162014-02-11Forklift steering axle

Applications Claiming Priority (1)

Application NumberPriority DateFiling DateTitle
CN 201310360822CN103448796A (en)2013-08-162013-08-16Forklift steering axle

Publications (1)

Publication NumberPublication Date
CN103448796Atrue CN103448796A (en)2013-12-18

Family

ID=49731745

Family Applications (2)

Application NumberTitlePriority DateFiling Date
CN 201310360822WithdrawnCN103448796A (en)2013-08-162013-08-16Forklift steering axle
CN201410047071.7APendingCN103754258A (en)2013-08-162014-02-11Forklift steering axle

Family Applications After (1)

Application NumberTitlePriority DateFiling Date
CN201410047071.7APendingCN103754258A (en)2013-08-162014-02-11Forklift steering axle

Country Status (1)

CountryLink
CN (2)CN103448796A (en)

Cited By (2)

* Cited by examiner, † Cited by third party
Publication numberPriority datePublication dateAssigneeTitle
CN108646045A (en)*2018-04-202018-10-12华南农业大学A kind of forklift wheel corner measuring device and method
CN119469045A (en)*2025-01-092025-02-18晋江市安海柳峰汽车配件工贸有限公司 A device for detecting the rotation angle of a steering drive axle

Families Citing this family (3)

* Cited by examiner, † Cited by third party
Publication numberPriority datePublication dateAssigneeTitle
CN111497925B (en)*2019-01-302022-05-13比亚迪股份有限公司 Forklift Steering Axle and Forklift
CN115476920A (en)*2021-05-312022-12-16比亚迪股份有限公司Driving motor mounting steering seat, double-wheel steering drive axle and automobile
CN114044466A (en)*2021-12-142022-02-15合肥搬易通科技发展有限公司 An independent electronic steering axle and a four-pivot counterbalanced forklift

Family Cites Families (7)

* Cited by examiner, † Cited by third party
Publication numberPriority datePublication dateAssigneeTitle
CN2633703Y (en)*2003-07-012004-08-18浙江杭叉工程机械股份有限公司Forklift hydraulic device for lifting and turning with one motor
US20050279563A1 (en)*2004-06-162005-12-22Peterson Robin ASteerable bogie
ITMO20050258A1 (en)*2005-10-112007-04-12Ivan Borghi STEERING ASSEMBLY FOR OPERATING MACHINES, PARTICULARLY FOR LIFT TRUCKS, TRACTORS, TRAILERS AND OR SIMILAR
CN201056231Y (en)*2007-05-242008-05-07储吉旺Forklift truck steering bridge
CN201342939Y (en)*2009-01-212009-11-11宁波如意股份有限公司Driving axle for counter balanced forklift truck
CN102806941B (en)*2012-08-022014-12-03宁波海迈克动力科技有限公司High-precision forklift hydraulic steering system and control method thereof
CN203727462U (en)*2013-08-162014-07-23杨鹏波Forklift steering axle

Cited By (3)

* Cited by examiner, † Cited by third party
Publication numberPriority datePublication dateAssigneeTitle
CN108646045A (en)*2018-04-202018-10-12华南农业大学A kind of forklift wheel corner measuring device and method
CN119469045A (en)*2025-01-092025-02-18晋江市安海柳峰汽车配件工贸有限公司 A device for detecting the rotation angle of a steering drive axle
CN119469045B (en)*2025-01-092025-04-11晋江市安海柳峰汽车配件工贸有限公司Steering drive axle rotation angle detection device

Also Published As

Publication numberPublication date
CN103754258A (en)2014-04-30

Similar Documents

PublicationPublication DateTitle
EP2956350B1 (en)Load carrying trucks
CN107792168A (en)Sleeve motor steer-by-wire device and control method
CN103419673B (en)Driverless operation electri forklift
CN103448796A (en)Forklift steering axle
CN203186409U (en)Multi-wheel steering vehicle
CN203078587U (en)Hydraulic power steering device capable of being remotely controlled and steering system
CN103496396A (en)Novel energy-saving differential power-assisted steering system of electric wheel automobile and control method thereof
CN106218710A (en)A kind of automobile steering system
CN205890972U (en)Electric automobile intelligence corner drive arrangement
CN103569197A (en)Four-wheel steering system and control method thereof
CN102530061A (en)Carrier-and-stacker with electric power steering
CN104843059A (en)Steering system of multi-axle vehicle, and multi-axle vehicle
CN103112487A (en)Vehicle steering-by-wire steering wheel device
CN202529027U (en)Eight-axle automobile steering mechanism
CN206171556U (en)Unmanned vehicle's a steering system
CN202358160U (en)Turning control device for electric automobile
CN204038440U (en)A kind of AGV transport trolley
CN203727462U (en)Forklift steering axle
CN203920396U (en)For the motor driving wheel assembly of automatical pilot transportation vehicle
CN203228845U (en)Four-wheel electric steering control system for forklift
CN102490779A (en)Digital steering wheel system with force feedback
CN201856802U (en)Electronic steering system of industrial vehicle
CN204937210U (en)A kind of driverless operation steering transmission linkage
CN202624358U (en)Hydraulic power-assisted steering control system
CN203158056U (en)Vehicular steering-by-wire steering wheel device

Legal Events

DateCodeTitleDescription
C06Publication
PB01Publication
C10Entry into substantive examination
SE01Entry into force of request for substantive examination
C04Withdrawal of patent application after publication (patent law 2001)
WW01Invention patent application withdrawn after publication

Application publication date:20131218


[8]ページ先頭

©2009-2025 Movatter.jp