Movatterモバイル変換


[0]ホーム

URL:


CN103413389A - Management and payment method for non-bank accounts based on bank accounts - Google Patents

Management and payment method for non-bank accounts based on bank accounts
Download PDF

Info

Publication number
CN103413389A
CN103413389ACN2013101816845ACN201310181684ACN103413389ACN 103413389 ACN103413389 ACN 103413389ACN 2013101816845 ACN2013101816845 ACN 2013101816845ACN 201310181684 ACN201310181684 ACN 201310181684ACN 103413389 ACN103413389 ACN 103413389A
Authority
CN
China
Prior art keywords
payment system
account
banking
consumption
payment
Prior art date
Legal status (The legal status is an assumption and is not a legal conclusion. Google has not performed a legal analysis and makes no representation as to the accuracy of the status listed.)
Granted
Application number
CN2013101816845A
Other languages
Chinese (zh)
Other versions
CN103413389B (en
Inventor
熊强
李家琦
潘林
梁光瑞
吴林燕
刘辉
Current Assignee (The listed assignees may be inaccurate. Google has not performed a legal analysis and makes no representation or warranty as to the accuracy of the list.)
SHENZHEN INTELLIGENT PREFERENTIAL PAY IT Co Ltd
SHENZHEN UNIONPAY FINANCIAL NETWORK
SHENZHEN TAOTAOGU INFORMATION TECHNOLOGY Co Ltd
Original Assignee
SHENZHEN INTELLIGENT PREFERENTIAL PAY IT Co Ltd
SHENZHEN UNIONPAY FINANCIAL NETWORK
SHENZHEN TAOTAOGU INFORMATION TECHNOLOGY Co Ltd
Priority date (The priority date is an assumption and is not a legal conclusion. Google has not performed a legal analysis and makes no representation as to the accuracy of the date listed.)
Filing date
Publication date
Application filed by SHENZHEN INTELLIGENT PREFERENTIAL PAY IT Co Ltd, SHENZHEN UNIONPAY FINANCIAL NETWORK, SHENZHEN TAOTAOGU INFORMATION TECHNOLOGY Co LtdfiledCriticalSHENZHEN INTELLIGENT PREFERENTIAL PAY IT Co Ltd
Priority to CN201310181684.5ApriorityCriticalpatent/CN103413389B/en
Publication of CN103413389ApublicationCriticalpatent/CN103413389A/en
Priority to PCT/CN2014/071350prioritypatent/WO2014183486A1/en
Application grantedgrantedCritical
Publication of CN103413389BpublicationCriticalpatent/CN103413389B/en
Activelegal-statusCriticalCurrent
Anticipated expirationlegal-statusCritical

Links

Images

Classifications

Landscapes

Abstract

Disclosed is a management and payment method for non-bank accounts based on bank accounts to solve the current problems of there being many non-bank accounts and inconvenience in use. According to the invention, a multi-account management and payment system is employed which establishes connections with various non-bank accounts and bank accounts and through the multi-account management and payment system, management of all non-bank accounts and orderly payment in a unified manner according to the sequence of set priority levels are achieved through bank accounts. The management and payment method for the non-bank accounts based on the bank accounts has the beneficial effects that employment of bank account transaction approach provides convenience; meanwhile consumable balances in all non-bank accounts can be preferably used; and the problems of restricted usage scenario, range and consuming amount of non-bank accounts are solved. Unified merchant liquidation is much easier for merchants, compared with separate reconciliation and independent liquidation of current multiple systems.

Description

Based on bank account to non-banking account management and method of payment
Affiliated technical field
The present invention relates to payment technical field under the bank account line, relate in particular to a kind of based on management and the method for payment of bank account enforcement to the non-banking account.
Background technology
Along with the development of financial circles, in society, each consumer has bank account, and simultaneously almost each consumer has the non-banking accounts such as integration, bank card integration, electronic coupons, purchase card of different operators.But, when most consumers consume down online, all can only be under given conditions, a certain non-banking account of single use is paid.The non-banking accounts such as consumer's integration account, electronic coupons account all are in idle state mostly, and even these non-banking accounts were not until expired all used.Its reason is management and the method for payment inconvenience of these non-banking accounts, and more integration account, reward voucher account can only be used under very limited occasion.
Referring to accompanying drawing 1, it is the schematic diagram of present common non-banking bill payment.Under line under trade company 1 and line trade company 2 Renminbi POS terminal is arranged, this terminal is for accepting bank card consumption.Under line, there is the integration terminal that certain bank places in trade company 1, and is exclusively used in the integration consumer sale of accepting this bank.Equally, under line, trade company's 2 those integration terminals that have certain operator to place, be exclusively used in and accept the transaction of accumulated point exchanging gift.
The non-banking account is used and is inconvenient to be mainly reflected in following several respects:
1, to non-banking account management person, as telecom operators, bank etc., need in person look for trade company's negotiation, by increasing the modes such as terminal device, make the non-banking account specifying trade company to use.
2, to non-banking account user, it can not mix use with bank account, so the consumer can only, by limited consumption amount on the non-banking account, consume or be consumed on the commodity of appointment.
3, to the non-banking account person of accepting, itself and bank account transaction, respectively to trade company's clearance, increase complexity and the workload of trade company's reconciliation.
Summary of the invention
Many in order to solve in prior art the non-banking account, and use inconvenient present situation, the purpose of this invention is to provide based on bank account non-banking account management and method of payment and many account managements payment system, realize implementing the management of all non-banking accounts and unified priority orders by setting are paid successively by bank account.
The present invention is based on bank account is realized by following steps non-banking account management and method of payment: the method is based on many account managements payment system, bank account managing payment system, non-banking account management payment system and the realization of consumption request input end, and it is characterized in that: the method realizes according to the following steps:
(1), non-banking account management payment system and many account managements payment system of a plurality of different consumption or integrated form are set up communication contact:
, many account managements of non-banking account management payment system mandate payment system used the account of this system management,
Authorization method is: the owner with non-banking account logins non-banking account management payment system, to specifying the non-banking account, input the bank account of my empowerment management, agree that many account managements payment system used this non-banking account by bank account, after many account managements payment system receives the above-mentioned request of non-banking account management payment system, set up authorized agreement, and preserve this authorized agreement, many account managements payment system arranges the service regeulations of non-banking account according to this agreement:
(3), when consumption request input end is initiated the consumption request by bank account to many account managements payment system, at first many account managements payment system searches the non-banking account whether this bank account has empowerment management, lookup result has, the priority orders that many account managements payment system is set by agreement, to first order non-banking account management payment system, send the consumption request, after first order non-banking account management payment system agrees that this consumption ask and completed this and pay, successful message occurs to the consumption of consumption request input end in many account managements payment system, this message is put down in writing this non-banking account management payment system description information, the consumption amount of money, the information such as consumption time and consumption request input end, when as not enough as this time consumption request first order non-banking account balance, after the remaining sum of first order non-banking account management payment system payment account, enter next step,
(4), many account managements payment system is for first order non-banking account balance insufficient section, to next stage non-banking account management payment system, send the consumption request of remaining sum part, after to next stage non-banking account management payment, agreeing that this consumption ask and completed this and pay, successful message occurs to the consumption of consumption request input end in many account managements payment system, produce that Sorry, your ticket has not enough value as equally as non-banking account management payment system at the corresponding levels, enter next step after the remaining sum of non-banking account management payment system payment at the corresponding levels account;
(5), (4) many account managements payment system sends the consumption request to different non-banking account management payment systems successively according to step, after all rank non-banking account management payment systems complete this consumption of whole agreements and asks and complete this and pay, successful message occurs to the consumption of consumption request input end in many account managements payment system, after all non-banking account management payment system absolute payments, same produce that Sorry, your ticket has not enough value, enter next step after the remaining sum of all non-banking account management payment systems payments account;
(6), many account managements payment system sends the consumption request of whole non-banking account management payment system payment of balance rear section to bank account managing payment system, after bank account managing payment system agrees that this consumption ask and completed this and pay, successful message occurs to the consumption of consumption request input end in many account managements payment system, this message is put down in writing the description information of this non-banking account management payment system and bank account managing payment system, the consumption amount of money, the information such as consumption time and consumption request input end, enter next step, produce that Sorry, your ticket has not enough value or pay unsuccessfully as equally as bank account managing payment system, many account managements payment system has been paid each successful rank non-banking account management payment system to this consumption request and has just been initiated punching, failure message occurs to the consumption of consumption request input end in many account managements payment system,
(7), by the reconciliation time node designed, the reconciliation respectively of many account managements payment system and each non-banking account management payment system, determine the end-state of single consumer sale, generate non-banking account reconciliation mistake detail, and according to the mistake detail, carry out the adjustment of account mistake in non-banking account management payment system;
, many account managements payment system is according to the reconciliation result, to non-banking account management payment system, bank account managing payment system, settle accounts respectively.
The invention has the beneficial effects as follows:
1, by the mode of using bank account to conclude the business, the preferential interior consumable remaining sum of all non-banking accounts of using of convenient, while, solve non-banking account use scenes, scope and consume the limited problem of amount.
2, adopt that transaction processing is separated mutually with payment processes, the universal payment interface is as the system of both exchange methods, reduces the complexity of transaction processing, during newly-increased non-banking account system, do not need to change transaction processing, improves system robustness.
3, the access to your account mode of access supports reward voucher to give a discount, compared with directly giving a discount when the transaction processing, and reduction transaction processing complexity.
4, merchant tenninal does not need newly added equipment or does too much change, reduces lower deployment cost;
5, the unified trade company's clearance of doing, separate reconciliation with current a plurality of systems and independently clear and compare, and trade company processes simpler.
The present invention is described in detail below in conjunction with accompanying drawing.
Accompanying drawing 1 is non-banking bill payment schematic flow sheet in present technology.
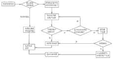
Accompanying drawing 2 is that bank account of the present invention is to non-banking account management and method of payment schematic flow sheet.
Accompanying drawing 3 forms schematic diagram for system hardware of the present invention.
Accompanying drawing 4 is system architecture diagram for the present invention.
Accompanying drawing 5 is protocol processes subsystem processes process flow diagram of the present invention.
Accompanying drawing 6 is the processing flow chart of payment processes subsystem of the present invention.
Accompanying drawing 7 is cleared processing subsystem reconciliation processing flow chart for the present invention.
Embodiment
Referring to accompanying drawing, based on bank account to non-banking account management and method of payment, the method asks input end to be realized based on many account managements payment system, bank account managing payment system, non-banking account management payment system and consumption, and the method realizes according to the following steps:
(1), non-banking account management payment system and many account managements payment system of a plurality of different consumption or integrated form are set up communication contact:
, many account managements of non-banking account management payment system mandate payment system used the account of this system management,
Authorization method is: the owner with non-banking account logins non-banking account management payment system, to specifying the non-banking account, input the bank account of my empowerment management, agree that many account managements payment system used this non-banking account by bank account, after many account managements payment system receives the above-mentioned request of non-banking account management payment system, set up authorized agreement, and preserve this authorized agreement, many account managements payment system arranges the service regeulations of non-banking account according to this agreement:
(3), when consumption request input end is initiated the consumption request by bank account to many account managements payment system, at first many account managements payment system searches the non-banking account whether this bank account has empowerment management, lookup result has, the priority orders that many account managements payment system is set by agreement, to first order non-banking account management payment system, send the consumption request, after first order non-banking account management payment system agrees that this consumption ask and completed this and pay, successful message occurs to the consumption of consumption request input end in many account managements payment system, this message is put down in writing this non-banking account management payment system description information, the consumption amount of money, the information such as consumption time and consumption request input end, when as not enough as this time consumption request first order non-banking account balance, after the remaining sum of first order non-banking account management payment system payment account, enter next step,
(4), many account managements payment system is for first order non-banking account balance insufficient section, to next stage non-banking account management payment system, send the consumption request of remaining sum part, after to next stage non-banking account management payment, agreeing that this consumption ask and completed this and pay, successful message occurs to the consumption of consumption request input end in many account managements payment system, produce that Sorry, your ticket has not enough value as equally as non-banking account management payment system at the corresponding levels, enter next step after the remaining sum of non-banking account management payment system payment at the corresponding levels account;
(5), (4) many account managements payment system sends the consumption request to different non-banking account management payment systems successively according to step, after all rank non-banking account management payment systems complete this consumption of whole agreements and asks and complete this and pay, successful message occurs to the consumption of consumption request input end in many account managements payment system, after all non-banking account management payment system absolute payments, same produce that Sorry, your ticket has not enough value, enter next step after the remaining sum of all non-banking account management payment systems payments account;
(6), many account managements payment system sends the consumption request of whole non-banking account management payment system payment of balance rear section to bank account managing payment system, after bank account managing payment system agrees that this consumption ask and completed this and pay, successful message occurs to the consumption of consumption request input end in many account managements payment system, this message is put down in writing the description information of this non-banking account management payment system and bank account managing payment system, the consumption amount of money, the information such as consumption time and consumption request input end, enter next step, produce that Sorry, your ticket has not enough value or pay unsuccessfully as equally as bank account managing payment system, many account managements payment system has been paid each successful rank non-banking account management payment system to this consumption request and has just been initiated punching, failure message occurs to the consumption of consumption request input end in many account managements payment system,
(7), by the reconciliation time node designed, the reconciliation respectively of many account managements payment system and each non-banking account management payment system, determine the end-state of single consumer sale, generate non-banking account reconciliation mistake detail, and according to the mistake detail, carry out the adjustment of account mistake in non-banking account management payment system;
, many account managements payment system is according to the reconciliation result, to non-banking account management payment system, bank account managing payment system, settle accounts respectively.
In the embodiment of the present invention, consumption request input end is the POS terminal.
The step of the embodiment of the present invention (8) in, non-banking account management payment system foundation and many account managements payment system reconciliation result, to many account managements payment system payment settlement fund, after many account managements payment system is received non-banking account management payment system settlement fund, settle accounts according to the agreement of signing between many account managements payment system and non-banking account management payment system, bank account managing payment system.
The step of the embodiment of the present invention (3) in, the priority orders that described many account managements payment system is set by agreement is press the effective time of non-banking account sequentially.Avoid due to the expired loss brought of non-banking account.
Referring to accompanying drawing 3, the hardware of the system that the embodiment of the present invention relates to formation comprises: application server, database server and management server be totally three station servers, and a coding machine and a set of disk array memory device.Wherein, the two-node cluster hot backup each other of application server and database server, and shared disk array stores.Database Systems are deployed on database server, and transaction processing subsystem, clearance processing subsystem, payment interface subsystem, protocol processes subsystem are deployed on application server, and ADMINISTRATION SUBSYSTEM is deployed on management server.
Referring to accompanying drawing 4, in the embodiment of the present invention, many account managements payment system comprises: Database Systems, transaction processing subsystem, clearance processing subsystem, ADMINISTRATION SUBSYSTEM, payment interface subsystem.The POS terminal is carried out message interaction by net control device and transaction processing subsystem, and the payment interface subsystem is by the financial Intranet private line access CUPS of Unionpay.The payment interface subsystem is by private line access non-banking account management payment system, as bank card integrating system, operator's integrating system, reward voucher account system etc.
Referring to accompanying drawing 5, in the embodiment of the present invention, the treatment step of protocol processes subsystem is as follows:
1, the holder logins the own terminal of non-banking account management payment system, for example mobile phone application, portal website, indoor billboard, outdoor billboard, after authentication by non-banking account management payment system, input holder's account No. (or card number), the non-banking account of authorizing this management of bank account and use holder.
2, this non-banking account management payment system forms the subscription request message, and the message of transmission band signature is the account management payment system at the most.Wherein signature field is the key by non-banking account management payment system and many account managements payment system agreement, and for example bank card number, non-banking card account ID, the time of contracting carry out MD5 or SHA-1 computing and obtains to the message key.
3, many account managements payment system receives the subscription request message of non-banking account management payment system, preserves the authorized agreement storehouse table of message to database.
4, many account managements payment system checks whether the subscription request message format is correct, whether sign correct.If incorrect, the treatment state of putting this agreement of database is unsuccessfully, and the signing failed receipt message of group, send to non-banking account management payment system, and non-banking account management payment system is showed and contracted unsuccessfully to the holder, process ends.
5, protocol testing passes through, and the treatment state of putting this agreement of database is successfully, and the signing success receipt message of group, send to non-banking account management payment system, and non-banking account management payment system is showed and contracted successfully to the holder, process ends.
Referring to accompanying drawing 6, the treatment scheme schematic diagram of payment processes subsystem, treatment step is as follows:
1, the holder swipes the card by the POS terminal, the input bank card password.POS terminal assembling POS message is sent to net control device, and message content comprises the bank card password after bank card number, the consumption amount of money, encryption at least.
2, net control device forwards the listening port of POS message to the payment processes subsystem.
3, after payment processes subsystem monitors program listens to the connection request of network control, connect, receive transaction message, at first preserve transaction message to database.
4, the payment processes subsystem checks whether message format is correct, whether security code is correct, message has or not and is tampered, and checks whether transaction request meets business rule.If message audit or service observation are not passed through, payment processing system is set to failure to the stateful transaction of this transaction in database so, organizes failed receipt message, send to net control device, net control device retransmission failure receipt message is to the POS terminal, and the POS terminal shows Fail Transaction information, process ends.
5, according to card number, search the non-banking account aggregation of authorizing this card to use from the authorized agreement storehouse table of database, according to the non-banking account aggregation that trade company number can be used from searching this trade company business rule, the common factor of above-mentioned two non-banking account aggregations is the non-banking account aggregation that this transaction can be used.
If 6 these transaction also have the non-banking account to use, by the account priority orders, to corresponding non-banking account management payment system, send expired consumption message by the payment interface subsystem so.Otherwise, jump to step 9.
7, receive the consumption receipt message of non-banking account management payment system, in the tran list of database, search former transaction by the trade company in message number, terminal number, batch number, system keeps track number.
8, the result of judgement non-banking account management payment system consumption receipt message.If the non-banking account has enough been paid this transaction, revise so the treatment state of this transaction in tran list for to process successfully, form merit receipt message, in the remarks territory of message, fill in the payment detail of non-banking account.Send the success receipt message to net control device, net control device E-Packets receipt to the POS terminal.The POS terminal is printed the consumption result on POS shopping receipt, wherein the receipt remarks column is printed the payment detail of non-banking account, process ends.Otherwise the deficient payment of non-banking account management is enough paid, repeating step 6.
9, use the residue amount of money to be paid to bank account managing payment system, to continue to send the consumption message by the payment interface subsystem, message comprises in POS terminal message the bank card password after encrypting.
10, receive the consumption receipt message of bank card managing payment system, in the tran list of database, search former transaction by the trade company in message number, terminal number, batch number, system keeps track number.
11, the result of judgement bank account managing payment system consumption receipt message.If bank card is withholdd successfully, revise so the treatment state of this transaction in tran list for to process successfully, form merit receipt message, in the remarks territory of message, fill in the payment detail of non-banking account.Send the success receipt message to net control device, net control device E-Packets receipt to the POS terminal.The POS terminal is printed the consumption result on POS shopping receipt, wherein the receipt remarks column is printed the payment detail of non-banking account, process ends.
12 otherwise, bank card is withholdd unsuccessfully, the non-banking bill payment detail of using according to the 6th step, by the payment interface subsystem, send consumption to corresponding non-banking account management payment system and cancel message, non-banking account management payment system is returned the holder to the money of having detained after receiving the request cancelled.After the EM end of message is cancelled in transmission, send the failed receipt message of consumption to net control device, net control device E-Packets receipt to the POS terminal, and the POS terminal shows Fail Transaction information, process ends.
As specific embodiment, suppose that this transaction overall consumption is 200 yuan, can use certain operator's integration and certain bank card integration.So, to certain operator's integrating system transmission amount of money, be at first the expired consumption order of 200 yuan, operator's integrating system returns to real button 50, and remaining the amount of money to be paid is 150.Then, to certain bank card integrating system transmission amount of money, be the expired consumption order of 150 yuan, the bank card integrating system returns to real button 100, and remaining the amount of money to be paid is 50.Finally, to the bank card paying system transmission amount of money, be 50 consumption order, complete the payment of last 50 yuan.
Referring to accompanying drawing 7, are reconciliation schematic flow sheets of clearance processing subsystem.
A consumer sale may relate to many payment details, and wherein one may be that the bank account payment is detailed, and other are non-banking card account and pay detail.The key step of reconciliation is as follows:
1, resolve the reconciliation file of non-banking account management payment system and the reconciliation file of bank account system, the transaction details in the reconciliation file is all inserted to the reconciliation detail list.
2, compare bank card payment account detail and reconciliation detail, determine the end-state of bank card business dealing.Scanning reconciliation detail list, search this transaction according to trade company number, terminal number, batch number, system keeps track number in tran list.If can find and element of transaction such as card number, the amount of money consistent, the reconciliation state that this transaction is set is " reconciliation success "; If can find but element of transaction such as card number, the amount of money are inconsistent, the reconciliation state that this transaction is set is " reconciliation failure ".
3, get the detailed contrast of non-banking card payment account detail corresponding to transaction and reconciliation.Scanning payment detail list, the non-banking card payment account detail of getting transaction " reconciliation is successful ", search in the reconciliation detail according to the detailed numbering of payment.If can find and key element such as account, the amount of money consistent, the reconciliation state that this payment detail is set is " reconciliation success "; If can find but element of transaction such as card number, the amount of money are inconsistent, the reconciliation state that this transaction of payment detail list is set is " reconciliation failure ".
4, use the bank card of every transaction to pay the final reconciliation result that detailed reconciliation result is defined as this transaction.
If the reconciliation result of the payment detail that 5 transaction the first strokes are later and the final reconciliation result of transaction are inconsistent, the detailed reconciliation error list that inserts of this payment.
6, after the execution reconciliation completes, add up receivable bank card channel of disbursement settlement fund, receivable non-banking card channel of disbursement settlement fund, receivable merchant transaction service charge, deal with trade company's settlement fund according to the reconciliation result.
The payment interface subsystem is done the message conversion between universal account payment interface and bank account system interface and non-banking account system interface.The universal account payment interface comprises the inquiry into balance message interface, supplements message interface with money, consumes message interface, consumes and cancel message interface.The function of clearance subsystem is to carry out and the reconciliation of bank account managing payment system, the reconciliation of non-banking account management payment system, transaction funds calculating, account formality charge calculating, trade company's service charge calculating, mistake transaction processing etc.
The function of ADMINISTRATION SUBSYSTEM is merchant tenninal management, terminal key management, account formality charge tariff management, trade company's service charge tariff management, the configuration of non-banking account system routing parameter, the management of non-banking account system priority, other Business Rule Management.

Claims (4)

  1. (3), when consumption request input end is initiated the consumption request by bank account to many account managements payment system, at first many account managements payment system searches the non-banking account whether this bank account has empowerment management, lookup result has, the priority orders that many account managements payment system is set by agreement, to first order non-banking account management payment system, send the consumption request, after first order non-banking account management payment system agrees that this consumption ask and completed this and pay, successful message occurs to the consumption of consumption request input end in many account managements payment system, this message is put down in writing this non-banking account management payment system description information, the consumption amount of money, the information such as consumption time and consumption request input end, when as not enough as this time consumption request first order non-banking account balance, after the remaining sum of first order non-banking account management payment system payment account, enter next step,
    (6), many account managements payment system sends the consumption request of whole non-banking account management payment system payment of balance rear section to bank account managing payment system, after bank account managing payment system agrees that this consumption ask and completed this and pay, successful message occurs to the consumption of consumption request input end in many account managements payment system, this message is put down in writing the description information of this non-banking account management payment system and bank account managing payment system, the consumption amount of money, the information such as consumption time and consumption request input end, enter next step, produce that Sorry, your ticket has not enough value or pay unsuccessfully as equally as bank account managing payment system, many account managements payment system has been paid each successful rank non-banking account management payment system to this consumption request and has just been initiated punching, failure message occurs to the consumption of consumption request input end in many account managements payment system,
CN201310181684.5A2013-05-162013-05-16Based on bank account to non-banking account management and method of paymentActiveCN103413389B (en)

Priority Applications (2)

Application NumberPriority DateFiling DateTitle
CN201310181684.5ACN103413389B (en)2013-05-162013-05-16Based on bank account to non-banking account management and method of payment
PCT/CN2014/071350WO2014183486A1 (en)2013-05-162014-01-24Management and payment method for non-bank account based on bank account

Applications Claiming Priority (1)

Application NumberPriority DateFiling DateTitle
CN201310181684.5ACN103413389B (en)2013-05-162013-05-16Based on bank account to non-banking account management and method of payment

Publications (2)

Publication NumberPublication Date
CN103413389Atrue CN103413389A (en)2013-11-27
CN103413389B CN103413389B (en)2015-09-30

Family

ID=49606394

Family Applications (1)

Application NumberTitlePriority DateFiling Date
CN201310181684.5AActiveCN103413389B (en)2013-05-162013-05-16Based on bank account to non-banking account management and method of payment

Country Status (2)

CountryLink
CN (1)CN103413389B (en)
WO (1)WO2014183486A1 (en)

Cited By (16)

* Cited by examiner, † Cited by third party
Publication numberPriority datePublication dateAssigneeTitle
WO2014183486A1 (en)*2013-05-162014-11-20深圳市淘淘谷信息技术有限公司Management and payment method for non-bank account based on bank account
WO2016123793A1 (en)*2015-02-062016-08-11华为技术有限公司Payment method, payment terminal and cash collection terminal
WO2016127407A1 (en)*2015-02-132016-08-18华为技术有限公司Account information management method and apparatus
CN106022759A (en)*2016-06-202016-10-12中国银联股份有限公司Electronic payment method supporting multiple accounts
CN106056382A (en)*2016-06-202016-10-26中国银联股份有限公司Mobile terminal payment method
CN106067110A (en)*2016-02-042016-11-02安投融(北京)网络科技有限公司Improve quick payment and call Third-party payment success rate the method saving the fee
WO2016172912A1 (en)*2015-04-302016-11-03深圳市星电商科技有限公司Electronic transaction certificate management system
CN106161550A (en)*2015-04-152016-11-23阿里巴巴集团控股有限公司A kind of data processing method and platform
CN106603636A (en)*2016-11-292017-04-26中国银联股份有限公司Error transaction standardization method and device
CN107369014A (en)*2016-05-122017-11-21银联数据服务有限公司A kind of prepaid card method of payment, network payment platform and prepaid card systems
CN107516345A (en)*2016-06-152017-12-26西安艾润物联网技术服务有限责任公司 Parking lot charging method and device
CN108009814A (en)*2017-12-262018-05-08福建省农村信用社联合社A kind of method for cooperateing with the dual accounts system application of division of labor bank
CN109727117A (en)*2018-09-072019-05-07网联清算有限公司 Reserve fund allocation method, device and storage medium
CN110852866A (en)*2019-08-052020-02-28中国银联股份有限公司 Method, apparatus and storage medium for managing multiple resources
CN110910155A (en)*2018-09-182020-03-24富士施乐株式会社 Information processing apparatus, recording medium, and information processing method
TWI847077B (en)*2020-12-282024-07-01日商樂天集團股份有限公司 Information processing device, information processing method and program product

Families Citing this family (2)

* Cited by examiner, † Cited by third party
Publication numberPriority datePublication dateAssigneeTitle
CN107451801A (en)*2017-07-112017-12-08谢奉见A kind of management of differential account system based on banking supervision
CN115099977A (en)*2022-07-272022-09-23电子科大科园股份有限公司 Consumer correction method, device, electronic device and storage medium

Citations (5)

* Cited by examiner, † Cited by third party
Publication numberPriority datePublication dateAssigneeTitle
CN1464680A (en)*2002-06-112003-12-31华为技术有限公司Method and system for implementing payment with SIM card in mobile intelligent network
JP2005157986A (en)*2003-10-312005-06-16Mars Engineering Corp Price settlement settlement device, price settlement settlement method, settlement machine, settlement method, money identification device, price settlement device, money identification method, price settlement method, shopping basket lock device, shopping basket lock method, shopping basket, price settlement system, cash register Group, cashier system, deposit change management device and sales management device
US20070214091A1 (en)*2005-05-182007-09-13The Western Union CompanyElectronic payment instrument system and method
CN101354770A (en)*2007-03-232009-01-28田小平Electronic business system and method for binding membership name with bank card
CN101436332A (en)*2008-12-192009-05-20福建今日特价网络有限公司Payment system and method

Family Cites Families (2)

* Cited by examiner, † Cited by third party
Publication numberPriority datePublication dateAssigneeTitle
CN101944214A (en)*2009-07-102011-01-12海南新生信息技术有限公司Multi-card multi-acquiring-bank payment and settlement method and system
CN103413389B (en)*2013-05-162015-09-30深圳市淘淘谷信息技术有限公司Based on bank account to non-banking account management and method of payment

Patent Citations (5)

* Cited by examiner, † Cited by third party
Publication numberPriority datePublication dateAssigneeTitle
CN1464680A (en)*2002-06-112003-12-31华为技术有限公司Method and system for implementing payment with SIM card in mobile intelligent network
JP2005157986A (en)*2003-10-312005-06-16Mars Engineering Corp Price settlement settlement device, price settlement settlement method, settlement machine, settlement method, money identification device, price settlement device, money identification method, price settlement method, shopping basket lock device, shopping basket lock method, shopping basket, price settlement system, cash register Group, cashier system, deposit change management device and sales management device
US20070214091A1 (en)*2005-05-182007-09-13The Western Union CompanyElectronic payment instrument system and method
CN101354770A (en)*2007-03-232009-01-28田小平Electronic business system and method for binding membership name with bank card
CN101436332A (en)*2008-12-192009-05-20福建今日特价网络有限公司Payment system and method

Cited By (19)

* Cited by examiner, † Cited by third party
Publication numberPriority datePublication dateAssigneeTitle
WO2014183486A1 (en)*2013-05-162014-11-20深圳市淘淘谷信息技术有限公司Management and payment method for non-bank account based on bank account
WO2016123793A1 (en)*2015-02-062016-08-11华为技术有限公司Payment method, payment terminal and cash collection terminal
CN106062796A (en)*2015-02-062016-10-26华为技术有限公司Payment method, payment terminal and cash collection terminal
CN106062798A (en)*2015-02-132016-10-26华为技术有限公司 Method and device for account information management
WO2016127407A1 (en)*2015-02-132016-08-18华为技术有限公司Account information management method and apparatus
CN106161550A (en)*2015-04-152016-11-23阿里巴巴集团控股有限公司A kind of data processing method and platform
WO2016172912A1 (en)*2015-04-302016-11-03深圳市星电商科技有限公司Electronic transaction certificate management system
CN106067110A (en)*2016-02-042016-11-02安投融(北京)网络科技有限公司Improve quick payment and call Third-party payment success rate the method saving the fee
CN107369014A (en)*2016-05-122017-11-21银联数据服务有限公司A kind of prepaid card method of payment, network payment platform and prepaid card systems
CN107516345A (en)*2016-06-152017-12-26西安艾润物联网技术服务有限责任公司 Parking lot charging method and device
CN112862991A (en)*2016-06-152021-05-28西安艾润物联网技术服务有限责任公司Parking lot charging method and device
CN106056382A (en)*2016-06-202016-10-26中国银联股份有限公司Mobile terminal payment method
CN106022759A (en)*2016-06-202016-10-12中国银联股份有限公司Electronic payment method supporting multiple accounts
CN106603636A (en)*2016-11-292017-04-26中国银联股份有限公司Error transaction standardization method and device
CN108009814A (en)*2017-12-262018-05-08福建省农村信用社联合社A kind of method for cooperateing with the dual accounts system application of division of labor bank
CN109727117A (en)*2018-09-072019-05-07网联清算有限公司 Reserve fund allocation method, device and storage medium
CN110910155A (en)*2018-09-182020-03-24富士施乐株式会社 Information processing apparatus, recording medium, and information processing method
CN110852866A (en)*2019-08-052020-02-28中国银联股份有限公司 Method, apparatus and storage medium for managing multiple resources
TWI847077B (en)*2020-12-282024-07-01日商樂天集團股份有限公司 Information processing device, information processing method and program product

Also Published As

Publication numberPublication date
WO2014183486A1 (en)2014-11-20
CN103413389B (en)2015-09-30

Similar Documents

PublicationPublication DateTitle
CN103413389B (en)Based on bank account to non-banking account management and method of payment
CN103413216A (en)Multi-account management payment method
TWI427548B (en) Data processing system for supporting action payment and operation method thereof
EP2284784B1 (en)Universal merchant platform for payment authentication
US8140429B2 (en)Universal merchant platform for payment authentication
US20100211491A1 (en)Universal mobile electronic commerce
US20070266131A1 (en)Obtaining and Using Primary Access Numbers Utilizing a Mobile Wireless Device
CN107563747A (en)For being combined the method and device of payment
WO2008102935A1 (en)Discount payment method and system using a temporary card number
CN103975352A (en)Securely reloadable electronic wallet
EP2473957A2 (en)Real time accounts payable web service
JP2010506262A (en) System and method for making payments
CN103679464A (en)Terminal as well as electronic ticket management platform, use system and method
US20080103966A1 (en)System and/or method for dynamic determination of transaction processing fees
JP2024026862A (en)Vacant house determination system, vacant house determination method, and vacant house determination program
KR20120100283A (en)System and method for electronic payment
KR100435854B1 (en)System and method for managing a payment relation between the enterprises
CN108762727B (en)Event-driven financial information processing method and system
EP4092594A1 (en)Electronic payment system and method suitable for ott environment
KR100503944B1 (en)Pre-paid card system and related method having integrated authorization processing, new cash-deposit functions, and inter-card cash-sending
US20120271763A1 (en)Method and system for mobile remittance
KR102472450B1 (en)System for providing settlement instant payment service
KR100476236B1 (en)System and method for treating sales check of credit card based on Internet
KR102329686B1 (en)A method and apparatus for automatic payment service
KR102103473B1 (en)Operating Apparatus for Community Money Platform and Method of Providing Service thereof

Legal Events

DateCodeTitleDescription
C06Publication
PB01Publication
C10Entry into substantive examination
SE01Entry into force of request for substantive examination
C14Grant of patent or utility model
GR01Patent grant

[8]ページ先頭

©2009-2025 Movatter.jp