













技术领域technical field
本发明涉及一种具有定位平板电子设备的桌面装置及其座椅,尤其涉及在一般交通载具的座位上的桌面板枢设有可翻转的收折置放架体,以供旅客的平板电子设备置放之一种技术范畴。The present invention relates to a tabletop device with positioning tablet electronic equipment and its seat, in particular to a tabletop panel pivotally provided with a reversible foldable shelf body on the seat of a general transportation vehicle for passenger's tablet electronic equipment. A technical category of equipment placement.
背景技术Background technique
请参阅图15所示,其为一般交通载具的座椅6后面设有简易的小桌板7用于提供旅客用餐或置放书本、杂志等物品。小桌板7通过两个支撑臂71连接于座椅6后的下端部,小桌板7相对于支撑臂71以及支撑臂71相对于座椅6均可以转动,以方便不使用小桌板7时,能够将小桌板7折迭,且藉一旋钮61贴合于座椅6后面以减少占用空间。See also shown in Figure 15, it is provided with the simple and easy
所欲解决的技术问题The technical problem to be solved
然,在现代产品制造、供应链体系的全球化下,世界各国俨然凝聚成一个地球村,促使现代人出国出差的次数频繁,又拜现代计算机科技突飞猛进之赐,计算机已朝向薄型化设计而有利于繁忙现代人随身携带。又现代人在长途旅行之际,通常会在其所搭乘的交通载具的座位上操作薄型化计算机,以打发无聊时段或善用时间处理公务,但目前交通载具的座位上却没有提供固定该薄型化计算机的装置而有利旅客们操作。However, under the globalization of modern product manufacturing and supply chain systems, all countries in the world have become a global village, prompting modern people to travel abroad frequently, and thanks to the rapid advancement of modern computer technology, computers have moved towards thinner designs. Busy modern people take it with them. And when modern people travel long distances, they usually operate a thin computer on the seat of the vehicle they take to pass the boring time or make good use of time to handle official duties, but there is no fixed computer on the seat of the current vehicle. The thin computer device is beneficial for passengers to operate.
发明内容Contents of the invention
本发明的最主要目的:在于提供一种具有定位平板电子设备的桌面装置及其座椅。The main purpose of the present invention is to provide a desktop device with positioning flat electronic equipment and its seat.
解决问题的技术手段technical means to solve problems
本发明人有鉴于此,乃凭恃着长期对交通载具上座椅的构思与研究,而发明提出一种具有定位平板电子设备的桌面装置及其座椅,包含有:一座椅;一桌面板,系枢设于座椅背面或座椅的扶手,该桌面板设有一角度调整装置及一定位部,且该角度调整装置俾供收折置放架体倾斜角度上的调整及固定;及一收折置放架体,系枢接于桌面板的两侧,以致可呈角度旋转,其中该收折置放架体另包含一定位装置,又该定位装置系为在横杆上设有一定位滑槽与至少有二定位块;又桌面板、收折置放架体与平板电子设备的接触之处均设有止滑缓冲材。In view of this, the present inventor relies on long-term conception and research on seats on transportation vehicles, and proposes a desktop device with a positioning flat-panel electronic device and its seat, which includes: a seat; a desktop The board is pivotally arranged on the back of the seat or the armrest of the seat. The desktop board is provided with an angle adjustment device and a positioning part, and the angle adjustment device is used for adjustment and fixation of the inclination angle of the folded shelf body; and A retractable shelf body is pivotally connected to both sides of the desktop so that it can be rotated at an angle, wherein the retractable shelf body further includes a positioning device, and the positioning device is provided with a The positioning chute has at least two positioning blocks; and anti-slip buffering materials are provided at the contact points of the desktop board, the foldable shelf body and the flat electronic equipment.
发明提出一种具有定位平板电子设备的桌面装置,包含有:桌面板、收折置放架体;桌面板包含一角度调整装置与一定位部;收折置放架体枢接于桌面板上,且可呈角度旋转,其中该收折置放架体包含一定位装置;藉由打开该收折置放架体至一角度后,置放平板电子设备装置上,以利观看或操作。The invention proposes a desktop device with positioning flat-panel electronic equipment, including: a desktop board, a foldable shelf body; the desktop board includes an angle adjustment device and a positioning part; the foldable shelf body is pivotally connected to the desktop board , and can be rotated at an angle, wherein the retractable shelf body includes a positioning device; after opening the retractable shelf body to an angle, it is placed on the tablet electronic device for viewing or operation.
发明提出另一种具有定位平板电子设备的桌面装置,包含有:桌面板、收折置放架体;桌面板包含一角度调整装置与一定位部;收折置放架体,枢接于桌面板上,且可呈角度旋转;藉由打开该收折置放架体至一角度后,将平板电子设备装置插入于该定位部,以利观看或操作。The invention proposes another desktop device with positioning flat-panel electronic equipment, which includes: a desktop board, a foldable shelf body; the desktop board includes an angle adjustment device and a positioning part; the foldable shelf body is pivotally connected to the desktop on the board, and can be rotated at an angle; after opening the retractable shelf body to an angle, the tablet electronic device is inserted into the positioning part to facilitate viewing or operation.
发明提出一种具有定位平板电子设备装置的桌面座椅,包含有:座椅、桌面板、收折置放架体;桌面板枢设于座椅上,其中该桌面板包含一角度调整装置与一定位部;收折置放架体枢接于桌面板上,且可呈角度旋转,其中该收折置放架体包含一定位装置;藉由打开该收折置放架体至一角度后,置放平板电子设备装置上,以利观看或操作。The invention proposes a desktop seat with a positioning flat-panel electronic equipment device, which includes: a seat, a desktop board, and a foldable shelf body; the desktop board is pivotally arranged on the seat, wherein the desktop board includes an angle adjustment device and A positioning part; the foldable shelf body is pivotally connected to the desktop and can be rotated at an angle, wherein the foldable shelf body includes a positioning device; after opening the foldable shelf body to an angle , placed on the tablet electronic device for easy viewing or operation.
对照现有技术的功效Efficacy compared to existing technologies
兹由以上说明得知,本发明相较现有技术,确可达到如下之功效:It is known from the above description that the present invention can indeed achieve the following effects compared with the prior art:
本发明设于交通载具座椅上的桌面,桌面板上的收折置放架体、定位部可以用来定位及固定旅客所携带的平板电子设备,同时该收折置放架体设有调整功能,可调整及定位该平板电子设备至适当的倾斜角度以利于旅客观看操作;又该收折置放架体、定位部铺设有止滑缓冲材以强化本发明的抗振效果,可让平板电子设备不会因座椅振动而有跟着振动位移的现象。The present invention is arranged on the table top on the seat of the transport vehicle. The foldable shelf body and the positioning part on the desktop board can be used to locate and fix the tablet electronic equipment carried by passengers. At the same time, the foldable shelf body is equipped with The adjustment function can adjust and position the tablet electronic device to an appropriate inclination angle to facilitate passengers to watch and operate; the folded shelf body and the positioning part are laid with anti-slip buffer materials to strengthen the anti-vibration effect of the present invention, allowing The tablet electronic device will not be displaced by the vibration of the seat.
附图说明Description of drawings
图1:系为本发明较佳实施例实施于座椅背的立体图。Fig. 1: is the perspective view of the preferred embodiment of the present invention implemented on the seat back.
图2:系为本发明较佳实施例桌面处于平整状态的立体图。Fig. 2: is the perspective view of the desktop in a flat state according to the preferred embodiment of the present invention.
图3:系为本发明较佳实施例的收折置放架体处于被翻开状态的立体外观图。Fig. 3 is a three-dimensional appearance view of the folded and placed rack body in the opened state according to the preferred embodiment of the present invention.
图4:系为本发明较佳实施例置放有平板电子设备的态样图。Fig. 4: It is a view of a preferred embodiment of the present invention with a flat-panel electronic device placed therein.
图5:系为本发明较佳实施例桌面板、定位摩擦装置及收折置放架体的局部分解图。Fig. 5: It is a partial exploded view of the desktop board, the positioning friction device and the foldable shelf body of the preferred embodiment of the present invention.
图6:系为本发明图5的组合剖面图。Fig. 6: is the combined sectional view of Fig. 5 of the present invention.
图7:系为本发明较佳实施例置放有平板电子设备,且调整及固定收折置放架体致该平板电子设备倾斜特定角度的示意图。Fig. 7 is a schematic diagram of a preferred embodiment of the present invention where a tablet electronic device is placed, and the shelf body is adjusted and fixed so that the tablet electronic device is tilted at a specific angle.
图8:系为本发明较佳实施例置放有平板电子设备,且调整及固定收折置放架体致该平板电子设备倾斜另一角度的示意图。Fig. 8 is a schematic diagram of a preferred embodiment of the present invention where a tablet electronic device is placed, and the shelf body is adjusted and fixed so that the tablet electronic device is tilted at another angle.
图9a:系为本发明较佳实施例收折置放架体上的定位装置的第一实施例分解图。Fig. 9a is an exploded view of the first embodiment of the positioning device folded and placed on the frame body according to the preferred embodiment of the present invention.
图9b:系为本发明较佳实施例收折置放架体上的定位装置的第二实施例的剖面组合图。Fig. 9b is a cross-sectional combined view of the second embodiment of the positioning device folded and placed on the frame body according to the preferred embodiment of the present invention.
图9c:系为本发明较佳实施例收折置放架体上的定位装置的第三实施例的剖面组合图。Fig. 9c is a cross-sectional combined view of the third embodiment of the positioning device folded and placed on the frame body according to the preferred embodiment of the present invention.
图10:系为本发明较佳实施例收折置放架体的另一实施例的侧视图。Fig. 10 is a side view of another embodiment of the folded and placed shelf body of the preferred embodiment of the present invention.
图11:系为本发明较佳实施例收折置放架体的角度调整装置的另一实施例立体图。Fig. 11 is a perspective view of another embodiment of the angle adjustment device for folding and placing the shelf body according to the preferred embodiment of the present invention.
图12:系为本发明另一可行实施例的立体外观图。Fig. 12 is a three-dimensional appearance view of another feasible embodiment of the present invention.
图13:系为本发明另一可行实施例收折置放架体处于被翻开状态的立体图。Fig. 13 is a perspective view of another possible embodiment of the present invention where the folded shelf body is unfolded.
图14:系为本发明较佳实施例实施于座椅扶手的态样图。Fig. 14: It is the appearance diagram of the preferred embodiment of the present invention implemented in the armrest of the chair.
图15:系为习知结构。Figure 15: The system is known structure.
附图标记:Reference signs:
本发明this invention
1:桌面板1: desktop board
11:圆形凹槽11: circular groove
12:枢设处12: Pivot Office
121:穿孔121: perforation
2:收折置放架体2: Fold and place the shelf body
21:横杆21: cross bar
22:侧边杆22: Side bars
221:枢接端221: Pivot end
222:结合槽222: Combination groove
223:螺丝223: screw
224:垫圈224: Gasket
23:定位装置23: Positioning device
231:定位滑槽231: positioning chute
232:定位块232: positioning block
233:弹性顶抵装置233: Elastic resisting device
234:挡止板234: stop plate
235:接触面235: contact surface
236:螺杆236: screw
24:角度调整装置24: Angle adjustment device
241:摩擦定位装置241: Friction positioning device
2411:螺丝2411: screw
2412:转轴2412: Shaft
242:固定旋钮242: Fixed Knob
3:定位部3: Positioning Department
31:止滑缓冲材31: Anti-slip buffer
32:凹槽32: Groove
33:插入定位件33: Insert locator
4:座椅4: Seat
41:扶手41: Armrest
42:枢钮装置42: Hinge device
5:平板电子设备5: Tablet Electronic Devices
现有技术current technology
6:座椅6: Seat
61:旋钮61: Knob
7:小桌板7: small table board
71:支撑臂71: Support arm
具体实施方式Detailed ways
为进一步说明本发明上述目的、所运用技术方法手段及其达成功效,本发明人将举数个实施例予以详细说明如后;In order to further illustrate the above-mentioned purpose of the present invention, the technical methods and means used and the effects thereof, the inventor will cite several embodiments to describe in detail as follows;
首先,请参阅图1-4所示,系关于一种具有定位平板电子设备的桌面装置及其座椅,系包含有:一桌面板1、一收折置放架体2、一定位部3及一座椅4;设该桌面1至少藉由一收折置放架体2及桌面一定位部3供平板电子设备置设容设平板,并设以一夹合或卡合或抵顶方式供平板电子设备固定置放其上;其中,First of all, please refer to Figures 1-4, which is related to a desktop device with a positioning tablet electronic device and its seat. and a seat 4; the
该桌面板1,由碳纤材、金属材、木板材或塑胶材成型或预设材质制成并枢设于交通载具内的座椅4背面或扶手41(本发明枢设于座椅4的背面可参考如图1,本发明枢设于座椅4的扶手41可参考如图14),其中该交通载具可以是汽车、公车、火车、飞机、船舶...等等,又其中在桌面板1上设有一角度调整装置24,又该角度调整装置24俾供收折置放架体2角度上的调整及固定,其中该角度调整装置24设为至少如图5所示的一定位摩擦装置241(Friction Hinge)或至少一固定旋钮242(如图8所示),又该定位摩擦装置241的内部结构已揭示于US.RE37712E专利中,因此该定位摩擦装置241的内部结构在此不再赘述;本发明须特别说明,该角度调整装置24并不以US.RE37712E专利所叙述的元件为限,可为具相同类似功能系以棘轮装置、固定旋钮元件亦可达到US.RE37712E专利的效果。The desktop board 1 is made of carbon fiber material, metal material, wood plate or plastic material or is made of a predetermined material and is pivotally mounted on the back of the seat 4 or the armrest 41 in the vehicle (the present invention is pivotally mounted on the seat 4 The back can refer to Fig. 1, and the armrest 41 pivotally arranged on the seat 4 of the present invention can refer to Fig. 14), wherein the transportation vehicle can be a car, a bus, a train, an airplane, a ship... etc., and wherein The desktop board 1 is provided with an angle adjustment device 24, and the angle adjustment device 24 is provided for adjusting and fixing the angle of the folded shelf body 2, wherein the angle adjustment device 24 is set to at least a position as shown in Figure 5 Friction Hinge 241 (Friction Hinge) or at least one fixed knob 242 (as shown in Figure 8), and the internal structure of this positioning friction device 241 has been disclosed in the US.RE37712E patent, so the internal structure of this positioning friction device 241 is here No more details; the present invention must be specially explained that the angle adjustment device 24 is not limited to the components described in the US.RE37712E patent, but can be used with the same and similar functions. Effect.
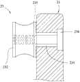
该收折置放架体2,以其侧边杆22枢接于桌面板1,以致该收折置放架体2可呈角度旋转,而收折置放架体2由一横杆21的两端垂向延伸出侧边杆22,其中该收折置放架体2另包含一定位装置23,又该定位装置23为在横杆21上设有一定位滑槽231,而该定位滑槽231内装设至少有二定位块232,又其中该定位滑槽231可为齿条或沟槽型式的滑槽,且该定位块232的定位方式可设以螺栓端面卡合或卡合或呈现以弹力迫紧方式或依平板装置之本体形状所预设之固定方式,且该定位块232另包含有可打开、闭合的一挡止板234,另在收折置放架体2的横杆21铺设有止滑缓冲材31。The
特别一提,本发明的收折置放架体2枢设于桌面板1有两种态样,如图3所示者为该收折置放架体1从桌面板1往后翻旋转的方式,另一种则可为如图13所示该收折置放架体1从桌面板1往前翻旋转的方式;请参考图5、6所示,又其中在桌面板1供收折置放架体2枢接的枢设处12设有一穿孔121,该穿孔121俾供收折置放架体2的侧边杆22的枢接端221穿设,另该定位摩擦装置241系藉多个螺丝2411将该定位摩擦装置241固定于桌面板1的下方,通常该摩擦装置241所设的一转轴2412的前端设为扁平状得插入于前述侧边杆22的枢接端221所设的结合槽222,然后再藉多个螺丝223将前述的转轴2412及该结合槽222两者予以结合,又其中在收折置放架体2的侧边杆22与桌面板1的侧壁之间设有一垫圈224,且该垫圈224具有降低收折置放架体2的侧边杆22与桌面板1侧壁间的摩擦阻力;及In particular, there are two forms of the
该定位部3,系设于桌面板1上且该定位部3铺设有止滑缓冲材31,通常该定位部3可为如图3所示的一凹槽32或如图13所示的插入定位件33。The
请参阅图4所示,因此,本发明较佳实施例的桌面板1的定位部3为凹槽状,俾以容纳前述收折置放架体2使该桌面板1的顶面呈现平整状,除了有利于置放旅客物品外,尚有利于桌面板1收合于座椅4,所以当本发明的桌面板1枢设于交通载具内的座椅4背面或扶手41上,如图1所示者,使本发明收合于座椅4背面时,致座椅4背面呈现平整状,使旅客的脚部有较大的活动空间。若当旅客要用餐或阅读书籍、杂志时,则可轻易从位于其前方的椅背打开本发明,使桌面板1呈现水平状,也因桌面板1的顶面为平整的关系将有利于餐盘或书籍、杂志的置放。See also shown in Fig. 4, therefore, the
请参阅图7-8所示,若当旅客要使用平板电子设备5时,当打开本发明使桌面板1呈现水平状,再从桌面板1上打开收折置放架体2,通过摩擦定位装置241(Friction Hinge)可随意调整及固定收折置放架体2倾斜的角度,通常该收折置放架体2会往后翻转倾斜角度θ1度,如图7所示者。又所倾斜的角度会与旅客观看及操作该平板电子设备5的习惯有关系,即该该收折置放架体2亦可往后翻转倾斜较大角度θ2度,如图8所示者。然后再从收折置放架体2的横杆2的定位滑槽23上的二定位块232,推离成适当的距离后,然后在朝上翻转定位块232上的挡止板234,接续再置放平板电子设备5,最后将前述二定位块232与挡止板234朝向平板电子设备5的两侧边靠紧,如此旅客就可操作平板电子设备5。Please refer to Figures 7-8, if the passenger wants to use the tablet
须特别说明,本发明的定位装置23可以以多种实施方式,以达到定位的效果。请参阅图9a所示者,为本发明的定位装置23的第一实施例分解图,其中该定位装置23的定位块232在定位滑槽231的滑动过程中,该定位块232所设的凸点2321会与定位滑槽231的凹槽2311卡合进而产生定位效果。It should be particularly noted that the
又如图9b所示者,为本发明的定位装置23的第二实施例剖面图,其中该定位块232的底部装置于定位滑槽231内,而该定位块232的底部与定位滑槽231之间设有一弹性顶抵装置233,该弹性顶抵装置233将促使定位块232与定位滑槽231的接触面234的摩擦力,或者将该接触面234之间设有凹凸不平的波浪形状,如此便能使定位块232定位固定于定位滑槽231。故该第二实施例要调整定位块232相对于定位滑槽231的位置时,须将定位块232朝上提再移动该定位块232,然后放手后则因弹性顶抵装置233的弹性而促使定位块232定位固定于定位滑槽231的位置。As shown in Figure 9b, it is a sectional view of the second embodiment of the
又如图9c所示者,为本发明的定位装置23的第三实施例剖面图,其中该定位块232制作成一具塑弹性材质(如橡胶材质等)之弧端面螺帽状而外露于定位滑槽231,又设一螺杆236的前端则从定位滑槽231的底面插入后再与该定位块232作结合。故该第三实施例要调整定位块232相对于定位滑槽231的位置时,须将定位块232旋松后就可移动定位块232至指定位置后,再锁紧定位块232而促使定位块232定位固定于定位滑槽231的位置,并可藉由其该定位块232弧端面与平板装置呈顶掣卡合固定。As shown in Figure 9c, it is a cross-sectional view of the third embodiment of the
请参阅图10、11所示,本发明的角度调整装置24亦可为固定旋钮242。其中该固定旋钮242系设于收折置放架体2枢设于桌面板1的枢设处(如图11所示者),或者设于收折置放架体2的侧边杆22的中间(如图10所示者),因此旅客可藉由该固定旋钮242可调整及固定收折置放架体2的倾斜角度。Referring to FIGS. 10 and 11 , the
请再参阅图12-13所示者,为本发明的定位部3的凹槽32内的中间可再容设有一浅槽区藉一固定件(譬如以螺丝或设与螺栓结合,图中未示)或设以粘胶设与桌面板1呈一体成型地或以外加式结设有一插入定位件33的态样,又该插入定位件33系可设为塑性弹性材质所制而成,旅客若欲使用时,则先将架体2翻转至预设的倾斜角度,然后再将平板电子设备5的底部插入于插入定位件33的凹槽内藉由该定位件33的弹性夹掣,再将平板电子设备5的背面靠于架体2的横杆21上,如此亦可达到倾斜及定位平板电子设备5的效果。若收合架体2时,因该插入定位件33为一具塑性软弹性材质,故该定位部3的凹槽32可完全容纳该架体2,使桌面板1呈现平整状而不会受该插入定位件33的影响。Please refer to those shown in Figures 12-13 again, for the center of the
另本发明可能与平板电子设备5的接触之处均设有止滑缓冲材31,若以本发明较佳实施例为例,则桌面板1的定位部3、收折置放架体2的横杆21的顶面、定位块232的顶面及挡止板234的内侧面均可设置有止滑缓冲材31,以保护旅客的平板电子设备5。In addition, the present invention may be provided with an
请参阅图14所示,为本发明枢设于交通载具的座椅4的扶手41,其中将桌面板1的侧边接有一枢钮装置42,该枢钮装置42接设有一连杆43而将该桌面板1系设于座椅4的扶手41上。该桌面板1通常位于座椅4的侧边。若旅客须操作平板电子设备5或用餐、阅读书籍杂志时,才从位于座椅4侧边的桌面板1翻扳开至旅客的面前使用。Please refer to FIG. 14 , which is the
综合以上得知本发明的结构装置可设于交通载具内座椅4如图1所示的椅背面或如图14所示的座椅4的扶手41。因此,本发明结构装置的各实施例均未曾见于书刊或公开使用,诚符合发明专利的申请要件,恳请钧局明鉴,早日准予专利,至为感祷,而需陈明者,若依本发明的各实施例所作的简单改变且其所产生功能仍未超出说明书及附图所涵盖的精神时,均应在本发明的范围内,合予陈明。Based on the above, we know that the structural device of the present invention can be installed on the back of the seat 4 in the vehicle as shown in FIG. 1 or the
| Application Number | Priority Date | Filing Date | Title |
|---|---|---|---|
| CN201210101759.XACN103358958B (en) | 2012-04-09 | 2012-04-09 | Desktop device with positioning tablet electronic equipment and its seat |
| Application Number | Priority Date | Filing Date | Title |
|---|---|---|---|
| CN201210101759.XACN103358958B (en) | 2012-04-09 | 2012-04-09 | Desktop device with positioning tablet electronic equipment and its seat |
| Publication Number | Publication Date |
|---|---|
| CN103358958Atrue CN103358958A (en) | 2013-10-23 |
| CN103358958B CN103358958B (en) | 2016-12-14 |
| Application Number | Title | Priority Date | Filing Date |
|---|---|---|---|
| CN201210101759.XAExpired - Fee RelatedCN103358958B (en) | 2012-04-09 | 2012-04-09 | Desktop device with positioning tablet electronic equipment and its seat |
| Country | Link |
|---|---|
| CN (1) | CN103358958B (en) |
| Publication number | Priority date | Publication date | Assignee | Title |
|---|---|---|---|---|
| CN104924943A (en)* | 2015-06-17 | 2015-09-23 | 苏州中航中振汽车饰件有限公司 | Foldable and adjustable small table plate of seat |
| CN104986080A (en)* | 2015-06-29 | 2015-10-21 | 苏州中航中振汽车饰件有限公司 | Seat tray table for multifunctional vehicle |
| WO2017048319A1 (en)* | 2015-09-15 | 2017-03-23 | Zodiac Seats Us Llc | Portable electronic device holder for tray tables |
| WO2020207482A1 (en)* | 2019-04-12 | 2020-10-15 | 爱驰汽车有限公司 | Object carrying apparatus used in vehicle |
| US11008103B1 (en) | 2019-10-28 | 2021-05-18 | B/E Aerospace, Inc. | Aircraft cabin apparatus including personal electronic device holder |
| Publication number | Priority date | Publication date | Assignee | Title |
|---|---|---|---|---|
| US4044980A (en)* | 1976-04-26 | 1977-08-30 | Cummins Enterprises | Collapsible desktop stand for portable electronic calculator |
| US5655651A (en)* | 1995-05-31 | 1997-08-12 | Maier; Michael Lynn | Palette and easel assembly |
| WO2000002745A1 (en)* | 1998-07-11 | 2000-01-20 | Mile High Marketing Limited | Vehicle seat, vehicle seat table and vehicle communication system |
| US20050178297A1 (en)* | 2004-02-13 | 2005-08-18 | Pipkin Marc C. | Seat supported reading tray |
| US20070283855A1 (en)* | 2006-03-27 | 2007-12-13 | Alexander Pozzi | Tray tables principally for use in passenger vehicles |
| CN201398643Y (en)* | 2009-03-26 | 2010-02-10 | 刘增民 | Reading frame |
| CN201721362U (en)* | 2010-01-22 | 2011-01-26 | 浙江吉利控股集团有限公司 | Automobile seat |
| CN202302616U (en)* | 2011-06-02 | 2012-07-04 | 黄崑棣 | Support frame capable of being folded into a flat plate and adjusting angle |
| Publication number | Priority date | Publication date | Assignee | Title |
|---|---|---|---|---|
| US4044980A (en)* | 1976-04-26 | 1977-08-30 | Cummins Enterprises | Collapsible desktop stand for portable electronic calculator |
| US5655651A (en)* | 1995-05-31 | 1997-08-12 | Maier; Michael Lynn | Palette and easel assembly |
| WO2000002745A1 (en)* | 1998-07-11 | 2000-01-20 | Mile High Marketing Limited | Vehicle seat, vehicle seat table and vehicle communication system |
| US20050178297A1 (en)* | 2004-02-13 | 2005-08-18 | Pipkin Marc C. | Seat supported reading tray |
| US20070283855A1 (en)* | 2006-03-27 | 2007-12-13 | Alexander Pozzi | Tray tables principally for use in passenger vehicles |
| CN201398643Y (en)* | 2009-03-26 | 2010-02-10 | 刘增民 | Reading frame |
| CN201721362U (en)* | 2010-01-22 | 2011-01-26 | 浙江吉利控股集团有限公司 | Automobile seat |
| CN202302616U (en)* | 2011-06-02 | 2012-07-04 | 黄崑棣 | Support frame capable of being folded into a flat plate and adjusting angle |
| Publication number | Priority date | Publication date | Assignee | Title |
|---|---|---|---|---|
| CN104924943A (en)* | 2015-06-17 | 2015-09-23 | 苏州中航中振汽车饰件有限公司 | Foldable and adjustable small table plate of seat |
| CN104924943B (en)* | 2015-06-17 | 2017-08-08 | 苏州中航中振汽车饰件有限公司 | Collapsible adjustable seat small table plate |
| CN104986080A (en)* | 2015-06-29 | 2015-10-21 | 苏州中航中振汽车饰件有限公司 | Seat tray table for multifunctional vehicle |
| WO2017048319A1 (en)* | 2015-09-15 | 2017-03-23 | Zodiac Seats Us Llc | Portable electronic device holder for tray tables |
| US10744921B2 (en) | 2015-09-15 | 2020-08-18 | Safran Seats Usa Llc | Portable electronic device holder for tray tables |
| WO2020207482A1 (en)* | 2019-04-12 | 2020-10-15 | 爱驰汽车有限公司 | Object carrying apparatus used in vehicle |
| US11008103B1 (en) | 2019-10-28 | 2021-05-18 | B/E Aerospace, Inc. | Aircraft cabin apparatus including personal electronic device holder |
| Publication number | Publication date |
|---|---|
| CN103358958B (en) | 2016-12-14 |
| Publication | Publication Date | Title |
|---|---|---|
| TW201340915A (en) | Tabletop apparatus for positioning electronic tablet device and chair thereof | |
| US8991319B2 (en) | Airplane tray CIP | |
| CN103358958B (en) | Desktop device with positioning tablet electronic equipment and its seat | |
| US10113691B2 (en) | Stabilising device | |
| US9074725B2 (en) | Mobile electronic device positioning unit | |
| US9372507B2 (en) | Adjustable support and a mobile computing device having an adjustable support | |
| US20110297581A1 (en) | Portable, adjustable protective case for electronic devices and methods of use thereof | |
| US8537533B2 (en) | Electronic device with support assembly | |
| US8567740B2 (en) | Deployable support unit for reading material | |
| US20120026684A1 (en) | Computer holding apparatus | |
| US20110180682A1 (en) | Deployable support unit for reading material | |
| TW201106132A (en) | Notebook computer | |
| WO2010138632A2 (en) | A portable, collapsible, workstation tray table apparatus | |
| CN107709159B (en) | Portable electronic equipment support | |
| TWI444558B (en) | Multipurpose support device | |
| TWM470486U (en) | Electronic device | |
| CN203395548U (en) | Multifunctional handheld device for tablet computer | |
| WO2019030591A1 (en) | A multi-purpose desktop accessory for reading, writing and computer usage | |
| TW201122772A (en) | Notebook computer stand | |
| US11858427B2 (en) | PED holder arm concept | |
| CN203784590U (en) | Shelves for monitors | |
| CN209898630U (en) | Panel clamp and rack panel | |
| TW201239588A (en) | Notebook computer | |
| CN201435031Y (en) | Portable bracket for notebook computer | |
| KR100940481B1 (en) | A chair board |
| Date | Code | Title | Description |
|---|---|---|---|
| C06 | Publication | ||
| PB01 | Publication | ||
| C10 | Entry into substantive examination | ||
| SE01 | Entry into force of request for substantive examination | ||
| C14 | Grant of patent or utility model | ||
| GR01 | Patent grant | ||
| CF01 | Termination of patent right due to non-payment of annual fee | Granted publication date:20161214 Termination date:20180409 | |
| CF01 | Termination of patent right due to non-payment of annual fee |