Movatterモバイル変換


[0]ホーム

URL:


CN103345334A - Optical filter box and touch display screen using optical filter box - Google Patents

Optical filter box and touch display screen using optical filter box
Download PDF

Info

Publication number
CN103345334A
CN103345334ACN2013102827688ACN201310282768ACN103345334ACN 103345334 ACN103345334 ACN 103345334ACN 2013102827688 ACN2013102827688 ACN 2013102827688ACN 201310282768 ACN201310282768 ACN 201310282768ACN 103345334 ACN103345334 ACN 103345334A
Authority
CN
China
Prior art keywords
conductive
layer
conductive layer
grid
optical filter
Prior art date
Legal status (The legal status is an assumption and is not a legal conclusion. Google has not performed a legal analysis and makes no representation as to the accuracy of the status listed.)
Pending
Application number
CN2013102827688A
Other languages
Chinese (zh)
Inventor
唐根初
刘伟
董绳财
唐彬
何世磊
Current Assignee (The listed assignees may be inaccurate. Google has not performed a legal analysis and makes no representation or warranty as to the accuracy of the list.)
Nanchang OFilm Tech Co Ltd
Original Assignee
Nanchang Ofilm Display Tech Co ltd
Suzhou OFilm Tech Co Ltd
Shenzhen OFilm Tech Co Ltd
Priority date (The priority date is an assumption and is not a legal conclusion. Google has not performed a legal analysis and makes no representation as to the accuracy of the date listed.)
Filing date
Publication date
Application filed by Nanchang Ofilm Display Tech Co ltd, Suzhou OFilm Tech Co Ltd, Shenzhen OFilm Tech Co LtdfiledCriticalNanchang Ofilm Display Tech Co ltd
Priority to CN2013102827688ApriorityCriticalpatent/CN103345334A/en
Publication of CN103345334ApublicationCriticalpatent/CN103345334A/en
Pendinglegal-statusCriticalCurrent

Links

Images

Landscapes

Abstract

An optical filter box comprises a substrate, a first imprinting glue layer, a first conducting layer, a filtering layer, a second imprinting glue layer and a second conducting layer. The first imprinting glue layer and the second imprinting glue layer are directly formed on two sides of the substrate, the first conducting layer and the second conducting layer are arranged in the imprinting glue layer and the second imprinting glue layer respectively in an embedded mode, and the wire width of conducting wires of the first conducting layer and conducting wires of the second conducting layer is 0.2-0.5micrometers. According to the optical filter box, the first conducting layer and the second conducting layer form a sensing structure, and therefore the optical filter box can achieve touch operation and filtering, is beneficial to reducing the thickness of electronic equipment, and saves materials and assembly cost. The substrate has good bonding force performance, and therefore the first imprinting glue layer and the second imprinting glue layer can be more tightly bonded with the substrate. Meanwhile, the conducting layer is transparent visually and can be aligned to or not aligned to a shading portion. The invention further provides a touch display screen.

Description

Optical filter box and use the touch display screen of this optical filter box
Technical field
The present invention relates to display technique field, plane, particularly relate to a kind of optical filter box and use the touch display screen of this optical filter box.
Background technology
Touch-screen is the inductive arrangement that can receive input signals such as touch.Touch-screen has given information interaction brand-new looks, is extremely attractive brand-new information interaction equipment.The development of touch screen technology has caused the common concern of domestic and international information medium circle, has become the Chaoyang new high-tech industry that the photoelectricity industry is a dark horse.
At present, having the electronic product that touches Presentation Function includes display screen and is positioned at touch-screen on the display screen.Yet, touch-screen as with display screen assembly independently, when being used for the electronic product that some realize man-machine interactions, all need to order according to the size of display screen, assemble afterwards, with the formation touch display screen, but touch display screen can have touch control operation and Presentation Function simultaneously again.The assembling of existing touch-screen and display screen mainly contains dual mode, and namely frame pastes and full the applying.The frame subsides are to be fitted in the edge of touch-screen and display screen, and full applying is whole the applying of upper surface with lower surface and the display screen of touch-screen.
Display screen mainly comprises polaroid, optical filter box, Liquid Crystal Module and thin film transistor (TFT) (TFT, Thin Film Transistor), when being combined into display screen by polaroid, optical filter box, Liquid Crystal Module and thin film transistor (TFT), had bigger thickness, and when continuing on the display screen applying touch-screen, will further increase its thickness, moreover, many one attaching process, just meaning has increased the bad probability of product, increases production cost of products greatly.
Summary of the invention
Based on this, be necessary to reach the cost problem of higher more greatly at thickness, a kind of touch display screen that is conducive to reduce the optical filter box of electronic product thickness and production cost and uses this optical filter box is provided.
A kind of optical filter box comprises:
Substrate comprises first surface and second surface, and described first surface and second surface are oppositely arranged;
The first impression glue-line covers the first surface in described substrate, and the described first impression glue-line offers first groove;
First conductive layer, be embedded at the described first impression glue-line, comprise first conductive pattern that a plurality of intervals arrange, described first conductive pattern comprises conductive grid, described conductive grid is intersected to form by conductive thread, conductive thread intersects to form grid node, and described conductive thread is contained in described first groove;
Filter layer, cover in the side of described first impression glue-line and first conductive layer away from described first surface, comprise light shielding part and a plurality of filter unit, described light shielding part is lattice-shaped, comprise cross one another gridline, the space of being cut apart by described gridline forms some grid cells, and each filter unit is contained in the corresponding grid cell, and described a plurality of filter units form optical filtering portion;
The second impression glue-line covers the second surface in described substrate, and the described second impression glue-line offers second groove;
Second conductive layer, be embedded at the described second impression glue-line, comprise second conductive pattern that a plurality of intervals arrange, described second conductive pattern comprises conductive grid, described conductive grid is intersected to form by conductive thread, conductive thread intersects to form grid node, and described conductive thread is contained in described second groove;
Wherein, the live width of the conductive thread of described first conductive layer and second conductive layer is 0.2 μ m~5 μ m.
Among embodiment, the distance of adjacent two described grid nodes is 50 μ m~800 μ m in described first conductive layer therein, and the distance of adjacent two described grid nodes is 50 μ m~800 μ m in described second conductive layer.
Therein among embodiment, described first conductive layer and second conductive layer one of them conductive grid at least are random grid.
Among embodiment, the interval width of two adjacent first conductive patterns is 0.5 μ m~50 μ m in described first conductive layer therein, and the interval width of two adjacent second conductive patterns is 0.5 μ m~50 μ m in described second conductive layer.
Among embodiment, at least one conductive thread all falls within on the described gridline in the projection of described filter layer in described first conductive layer and described second conductive layer therein.
Therein among embodiment, the thickness of described optical filtering portion is not less than the thickness of described light shielding part.
Therein among embodiment, described light shielding part is to have the lattice-shaped structure that the photoresist of black dyes forms at the described first impression glue-line.
Among embodiment, each described conductive grid projection on described filter layer of described first conductive layer and described second conductive layer accommodates at least one filter unit therein.
Therein among embodiment, the filter unit number that the described conductive grid of each of described first conductive layer holds in each described conductive grid projection on described filter layer of filter unit number that the projection on the described filter layer is held and described second conductive layer is inequality.
A kind of touch display screen comprises the TFT electrode, Liquid Crystal Module, optical filter box and the polaroid that stack gradually, and described optical filter box is above-described optical filter box.
Above-mentioned optical filter box and use the touch display screen of this optical filter box, optical filter box can be realized touch control operation and filtering functions simultaneously, combination as indispensable two assemblies in the display screen, when being used for display screen, can directly make display screen have touch controllable function, need not to assemble a touch-screen at display screen again, not only be conducive to reduce the thickness of electronic product, also saved material and assembly cost simultaneously greatly.
Description of drawings
Fig. 1 is the structural representation of the touch display screen of an embodiment;
Fig. 2 is the structural representation of the optical filter box of an embodiment;
Fig. 3 is the structural representation of the optical filter box of another embodiment;
Fig. 4 is the structural representation of the optical filter box of another embodiment;
Fig. 5 is again the structural representation of the optical filter box of an embodiment;
Fig. 6 is the structural representation at another visual angle of optical filter box shown in Figure 5;
Fig. 7 all falls within the interval synoptic diagram of two adjacent conductive patterns of the conductive layer on the gridline in the projection of filter layer for conductive thread in the optical filter box;
Fig. 8 does not fall within the interval synoptic diagram of two adjacent conductive patterns of the conductive layer on the gridline in the projection of filter layer for conductive thread in the optical filter box;
Fig. 9 projects to the structural representation of an embodiment of filter layer for the conductive thread of conductive layer shown in Figure 7;
Figure 10 projects to the structural representation of an embodiment of filter layer for the conductive thread of conductive layer shown in Figure 8;
Figure 11 projects to the structural representation of another embodiment of filter layer for the conductive thread of conductive layer shown in Figure 7;
Figure 12 projects to the structural representation of the another embodiment of filter layer for the conductive thread of conductive layer shown in Figure 7;
Figure 13 projects to the structural representation of an embodiment again of filter layer for the conductive thread of conductive layer shown in Figure 7;
Figure 14 projects to the structural representation of the another embodiment of filter layer for the conductive thread of conductive layer shown in Figure 8;
Figure 15 projects to the structural representation of the another embodiment of filter layer for the conductive thread of conductive layer shown in Figure 8;
Figure 16 projects to the structural representation of an embodiment again of filter layer for the conductive thread of conductive layer shown in Figure 8.
Embodiment
For above-mentioned purpose of the present invention, feature and advantage can be become apparent more, below in conjunction with accompanying drawing the specific embodiment of the present invention is described in detail.A lot of details have been set forth in the following description so that fully understand the present invention.But the present invention can implement much to be different from alternate manner described here, and those skilled in the art can do similar improvement under the situation of intension of the present invention, so the present invention is not subjected to the restriction of following public concrete enforcement.
Need to prove that when element is called as " being fixed in " another element, can directly can there be element placed in the middle in it on another element or also.When an element is considered to " connection " another element, it can be to be directly connected to another element or may to have element placed in the middle simultaneously.
Unless otherwise defined, the employed all technology of this paper are identical with the implication that belongs to those skilled in the art's common sense of the present invention with scientific terminology.Employed term is not intended to be restriction the present invention just in order to describe the purpose of specific embodiment in instructions of the present invention herein.Term as used herein " and/or " comprise one or more relevant Listed Items arbitrarily with all combinations.
Seeing also Fig. 1, is thetouch display screen 100 of an embodiment, comprises followingpolaroid 10, TFT electrode 20, Liquid CrystalModule 30,public electrode 40,diaphragm 50, theoptical filter box 200 that stacks gradually and goes up polaroid 60.In other embodiment, need not to arrangediaphragm 50 and also can.
TFT electrode 20 comprises glass-base 24 and the show electrode 22 that is arranged on the glass-base 24.Liquid Crystal Module comprisesliquid crystal 32 and is held on thealignment film 34 ofliquid crystal 32 both sides.
Be appreciated that when using backlight as polarized light source as the OLED polarized light source, need not downpolaroid 10, only needing upward,polaroid 60 gets final product.Structure and the function of the followingpolaroid 10 of present embodiment, TFT electrode 20, Liquid CrystalModule 30,public electrode 40,diaphragm 50,last polaroid 60 can be identical with existing product, do not repeat them here.
But butoptical filter box 200 has touch control operation and filtering functions simultaneously, makestouch display screen 100 have touch display function.Touch display screen can be the LCDs of straight-down negative or side entering type light source.
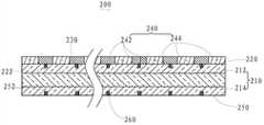
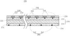
See also Fig. 2 to Fig. 5, expression be 200 4 different embodiment of optical filter box.Optical filter box 200 among above-mentioned four embodiment includessubstrate 210, the first impression glue-line 220, firstconductive layer 230,filter layer 240, second impression glue-line 250 and second conductive layer 260.Whereinsubstrate 210 comprisesfirst surface 212 andsecond surface 214, andfirst surface 212 andsecond surface 214 are oppositely arranged.Substrate 210 is the material of transparent insulation, as glass, can be sillico aluminate glass and calcium soda-lime glass particularly, has good cohesive force through the plasma treatment rear surface.General, the thickness range ofsubstrate 210 can be 0.1mm~0.5mm.
The first impression glue-line 220 coversfirst surface 212 insubstrate 210, and the first impression glue-line 220 offersfirst groove 222 away from a side of first surface 212.First groove 222 is the groove of mesh shape, and mesh shape can be preset to required figure as required.Firstconductive layer 230 is embedded at the first impression glue-line 220, comprises a plurality of firstconductive patterns 232, and 232 of a plurality of first conductive patterns are provided with at interval, so that 232 insulation of a plurality of first conductive pattern.Firstconductive pattern 232 comprises conductive grid, and conductive grid is intersected to form byconductive thread 270, andconductive thread 270 intersects to form grid node, and describedconductive thread 270 is contained in described first groove 222.In other embodiments, can also offerfirst groove 222 in a side of the first impression glue-line, 220 closefirst surfaces 212.
Filter layer 240 covers in first impression glue-line 220 and firstconductive layer 230 away from a side of thefirst surface 212 ofsubstrate 210, compriseslight shielding part 242 and a plurality of filter unit.Light shielding part 242 is lattice-shaped, comprises some cross one another gridlines.The space of being cut apart by gridline forms some grid cells, and each filter unit is contained in the corresponding grid cell, and a plurality of filter units form optical filtering portion 244.General, the thickness range oflight shielding part 242 andoptical filtering portion 244 is 0.5 μ m~2 μ m.
The second impression glue-line 250 covers insecond surface 214, the second impression glue-lines 250 ofsubstrate 210 and offerssecond groove 252 away from a side of second surface 214.Second groove 252 is the groove of mesh shape, and mesh shape can be preset to required figure as required.Secondconductive layer 260 is embedded at the second impression glue-line 250, comprises a plurality of second conductive patterns 262.262 of a plurality of second conductive patterns are provided with at interval, so that a plurality of second conductive pattern, 262 mutually insulateds.Secondconductive pattern 262 comprises some conductive grids, and conductive grid is intersected to form byconductive thread 270, and theconductive thread 270 of secondconductive pattern 262 and the conductive thread of firstconductive pattern 232 270 solidify to form by conductive material.Conductive thread 270 intersects to form grid node, andconductive thread 270 is contained in second groove 252.In other embodiments, can also offersecond groove 252 in a side of the second impression glue-line, 250 closesecond surfaces 214.
Wherein, the live width scope of theconductive thread 270 of firstconductive layer 230 and secondconductive layer 260 is 0.2 μ m~5 μ m, so that firstconductive layer 230 and secondconductive layer 260 reach visually-clear, namely naked eyes are invisible.As shown in Figure 2, expression be that theconductive thread 270 of firstconductive layer 230 and secondconductive layer 260 is random grid, to reduce the aligning difficulty of conductive thread 270.As shown in Figure 3, expression be that theconductive thread 270 of firstconductive layer 230 all falls within on the gridline in the projection offilter layer 240, theconductive thread 270 of secondconductive layer 260 is random grid.In other embodiment,conductive thread 270 that can also firstconductive layer 230 is random grid, theconductive thread 270 of secondconductive layer 260 all falls within on the gridline in the projection offilter layer 240, is conducive to the optimization of cost of manufacture and avoids the Moire fringe phenomenon.As shown in Figure 4 and Figure 5, expression be that theconductive thread 270 of firstconductive layer 230 and secondconductive layer 260 all falls within on the gridline in the projection offilter layer 240, to reduce the risk thatconductive thread 270 is exposed to the gridline side direction.
The distance of mutually adjacent two grid nodes is 50 μ m~800 μ m in first conductive layer, and the distance of adjacent two described grid nodes is 50 μ m~800 μ m in second conductive layer.When the distance of grid node was more big, the density of conductive grid was more little, and this moment, light permeable rate wanted big, and cost also can be low, but resistance can be bigger.When the distance of grid node more hour, the density of conductive grid is more big, resistance is less, but transmitance reduces, the consumption of conductive material is also more big simultaneously, so that cost is more high.So take all factors into consideration cost, transmittance and resistance factor, the grid node spacing be traditionally arranged to be 50 μ m~800 μ m.
Above-mentionedoptical filter box 200, the firstconductive layers 230 and secondconductive layer 260 arrange at interval and constitute the capacitive sensing structure, makeoptical filter box 200 can realize touch control operation and filtering functions simultaneously, and the design that need not to put up a bridge, and have reduced task difficulty.When above-mentionedoptical filter box 200 is applied to display screen, can directly make display screen have touch controllable function, need not to assemble a touch-screen at display screen again, not only be conducive to reduce the thickness of electronic product, also save material and assembly cost greatly.While first impression glue-line 220 and the second impression glue-line 250 cover respectively in the both sides ofsubstrate 210, have utilizedsubstrate 210 to have the performance of better cohesive force, can make the first impression glue-line 220 and the second impression glue-line 250 andsubstrate 210 in conjunction with tightr.When the live width of theconductive thread 270 of firstconductive layer 230 and secondconductive layer 260 is 0.2 μ m~5 μ m, can reach the effect of visually-clear.Thereby no matterconductive thread 270 falls within or do not fall within on the gridline in the projection offilter layer 240, can both reach visually-clear.
See also Fig. 5 and Fig. 6, in present embodiment,optical filtering portion 244 comprises chromatic photoresist, is formed with a chromatic photoresist in each grid cell, and chromatic photoresist forms filter unit.Chromatic photoresist is that the photoresist that has coloured dye forms, and can adopt exposure-developing manufacture process.That chromatic photoresist is generally is red (red, R) photoresistance, it is green that (green, G) (blue, B) photoresistance are used for making incident light be transformed into monochromatic light, realize filtering functions for photoresistance or indigo plant.Light shielding part is that the photoresist that has a black dyes is formed at the first impression glue-line 220, andlight shielding part 242 is lattice-shaped, has opaqueness, can adopt exposure-developing manufacture process.Grid cell is square in the lattice-shaped, makes the photoresistance ofoptical filtering portion 244 arrange compacter and even.Light shielding part 242 can effectively be avoided chromatic photoresist colour contamination each other, and can increase the contrast of R, G, B light.
In present embodiment, the material of the first impression glue-line 220 and the second impression glue-line 250 is solvent-free ultra-violet curing acrylic resin, and thickness is 2 μ m~10 μ m.The first impression glue-line 220 and the second impression glue-line 250 are transparence, do not influence whole transmitance.In other embodiments, the material of the first impression glue-line 220 and the second impression glue-line 250 can also be visible-light curing resin or heat reactive resin.
The above-mentioned optical filter box that has touch controllable function, firstconductive pattern 232 and secondconductive pattern 262 are the impression mode and form, and can make by following dual mode particularly, and method one is:
(1)first surface 212 and thesecond surface 214 atsubstrate 210 at first carries out plasma (Plasma) processing.Dirty with thefirst surface 212 of removingsubstrate 210 andsecond surface 214, and makefirst surface 212 andsecond surface 214 ionizations, increase cohesive force follow-up and the first impression glue-line 220 and the second impression glue-line 250.
(2)first surface 212 and thesecond surface 214 atsubstrate 210 is coated with impression glue simultaneously, forms the first impression glue-line 220 and the second impression glue-line 250 respectively.Present embodiment adopts solvent-free ultra-violet curing acrylic resin.And impress on the first impression glue-line 220 and the second impression glue-line, 250 surfaces respectively and solidify with nested with firstconductive pattern 232 and secondconductive pattern 262 respectively impression block, obtain required andfirst groove 222 andsecond grooves 252 firstconductive pattern 232 and second conductive pattern, 262 couplings.Wherein, impression block is transparent material, can avoid the mutual shading in two sides, can't ultraviolet ray (UV) solidify.
(3) filled conductive materials and solidifying simultaneously infirst groove 222 that mates respectively with firstconductive pattern 232 and secondconductive pattern 262 andsecond groove 252 obtain first conductive thread 2322 and second conductive thread 2622.First conductive thread 2322 intersects to form conductive grid mutually, and conductive grid forms firstconductive pattern 232 that first conductive pattern, 232, the firstconductive layers 230 comprise that a plurality of intervals arrange.Second conductive thread 2622 intersects to form conductive grid mutually, and conductive grid forms second conductive pattern 2622 that second conductive pattern, 2622, the secondconductive layers 260 comprise that a plurality of intervals arrange.The live width scope of theconductive thread 270 of firstconductive layer 230 and secondconductive layer 260 is 0.2 μ m~5 μ m.Conductive material comprises at least a among metal, carbon nano-tube, Graphene, organic conductive macromolecule and the ITO, forms byconductive thread 270 to intersect the conductive grid that constitutes.Be preferably metal, as nanometer silver paste.When selecting metal for use, the energy consumption that can reduce resistance and reduce touch display screen.
(4) the whole face of a side at the second impression glue-line 250 and secondconductive layer 260 covers layer protecting film 50.Can be the transparentprotective film 50 that is coated with/plates, final products keep; Also can be one deck intermediate process diaphragm, remove at last, to avoid when makingfilter layer 240, influencing the effect of secondconductive pattern 262.
(5) cover the photoresist that one deck has black dyes at first conductive pattern, 232 surperficial whole faces.
(6) adopt exposure-developing technique, the photoresist in filter unit zone is removed, form thelight shielding part 242 of lattice-shaped.
(7) in the grid cell gradation R/G/B chromatic photoresist is set, forms optical filtering portion 244.If what use in above-mentioned the 4th step is intermediateprocess usefulness diaphragm 50, after the 7th step, also need it is removed.
In the said method, the first impression glue-line 220 and the second impression glue-line 250 are coated with simultaneously, are conducive to simplify flow process, raise the efficiency.
(1)first surface 212 and thesecond surface 214 atsubstrate 210 at first carries out the Plasma processing, remove the dirty ofsubstrate 210first surfaces 212 andsecond surface 214, and makefirst surface 212 andsecond surface 214 ionizations, increase cohesive force follow-up and the first impression glue-line 220 and the second impression glue-line 250.
(2) at thefirst surface 212 coatings first impression glue-line 220 ofsubstrate 210, present embodiment adopts solvent-free ultra-violet curing acrylic resin.And use the impression block that is nested with firstconductive pattern 232 to impress on the first impression glue-line, 220 surfaces and solidify, obtainfirst groove 222 that mates with firstconductive pattern 232.
(3) to 222 interior filled conductive materials and the curing of first groove, obtain first conductive layer 230.The live width scope of theconductive thread 270 of firstconductive layer 230 is 0.2 μ m~5 μ m.Conductive material can be metal, carbon nano-tube, Graphene, organic conductive macromolecule or ITO, forms the conductive grid that is made of conductive thread 270.Be preferably metal, as nanometer silver paste.When selecting metal for use, the energy consumption that can reduce resistance and reduce touch display screen.
(4) cover the photoresist that one deck has black dyes at first conductive pattern, 232 surperficial whole faces.
(5) adopt exposure-developing technique, the photoresist in filter unit zone is removed, form thelight shielding part 242 of lattice-shaped.
(6) plate/coat the R/G/B chromatic photoresist in filter unit zone gradation, form optical filtering portion 244.Optical filtering portion 244 andlight shielding part 242form filter layer 240.
(7) coverlayer protecting film 50 at the whole face offilter layer 240 1 sides, to avoid when making secondconductive pattern 262, influencing the effect of filter layer 240.Can be the transparentprotective film 50 that is coated with/plates, final products keep; Also can be one deckintermediate process diaphragm 50, remove at last.
(8)second surface 214 coatings second atsubstrate 210 impress glue-line 250.Present embodiment adopts solvent-free ultra-violet curing acrylic resin.And use the impression block that is nested with secondconductive pattern 262 to impress on the second impression glue-line, 250 surfaces and solidify, obtainsecond groove 252 that mates with secondconductive pattern 262.
(9) to 252 interior filled conductive materials and the curing of second groove, obtain secondconductive layer 260, and guarantee that theconductive thread 270 live width scopes of secondconductive layer 260 are 0.2 μ m~5 μ m.Conductive material can be metal, carbon nano-tube, Graphene, organic conductive macromolecule or ITO, forms the conductive grid that is made of conductive thread 270.Be preferably metal, as nanometer silver paste.When selecting metal for use, the energy consumption that can reduce resistance and reduce touch display screen.If what use in above-mentioned the 7th step is intermediateprocess usefulness diaphragm 50, after the 9th step, also need it is removed.
As Fig. 2 and shown in Figure 8, when theconductive thread 270 of firstconductive layer 230 and secondconductive layer 260 when the projection offilter layer 240 does not fall within on the gridline, the interval width of two adjacent firstconductive patterns 232 is 0.5 μ m~50 μ m in described firstconductive layer 230, and the interval width of two adjacent secondconductive patterns 262 is 0.5 μ m~50 μ m in described second conductive layer 260.This moment can be by cutting offconductive thread 270 marginal portions disappearance.
As Fig. 5 and shown in Figure 7, when theconductive thread 270 of firstconductive layer 230 and secondconductive layer 260 when the projection offilter layer 240 all falls within on the gridline, the interval width of two adjacent firstconductive patterns 232 is the width of a filter unit in firstconductive layer 230, and the interval width of two adjacent secondconductive patterns 262 is the width of a filter unit in second conductive layer 260.Can cut off this moment by full line or permutationconductive thread 270 disappearances.
As Fig. 3, Fig. 7 and shown in Figure 8, when firstconductive layer 230conductive thread 270 when the projection offilter layer 240 does not drop on the gridline, when theconductive thread 270 of secondconductive layer 260 all fell within on the gridline in the projection offilter layer 240, the interval width of two adjacent firstconductive patterns 232 can be 0.5 μ m~50 μ m in first conductive layer 230.The interval width of two adjacent secondconductive patterns 262 of secondconductive layer 260 can be the width of a filter unit.Certainly, in other embodiment,conductive thread 270 that can also firstconductive layer 230 all falls within on the gridline in the projection offilter layer 240, theconductive thread 270 of secondconductive layer 260 does not drop on the gridline in the projection offilter layer 240, the interval width of two adjacent firstconductive patterns 232 of firstconductive layer 230 is the width of a filter unit at this moment, and the interval width of two adjacent secondconductive patterns 262 is 0.5 μ m~50 μ m in secondconductive layer 260.
The thickness of firstconductive layer 230 is not more than the degree of depth of describedfirst groove 222, and the thickness of described secondconductive layer 260 is not more than the degree of depth of described second groove 252.In present embodiment, the thickness of firstconductive layer 230 is less than the thickness offirst groove 222, and the degree of depth offirst groove 222 is less than the thickness of the first impression glue-line 220.Secondconductive layer 260 is less than the degree of depth ofsecond groove 252, and the degree of depth ofsecond groove 252 is less than the thickness of the second impression glue-line 250, can prevent firstconductive layer 230 and secondconductive layer 260 form the back in subsequent technique by scratch.
In present embodiment, the thickness ofoptical filtering portion 244 is not less than the thickness of light shielding part 242.See also Fig. 5 and Fig. 6, expression be that the thickness of filter unit is greater than the thickness of gridline.When the thickness ofoptical filtering portion 244 during greater than the thickness oflight shielding part 242, from the light thatoptical filtering portion 244 appears, not only can see from the front, also can see from the side, thereby can increase the light emission rate of optical filtering portion 244.Certainly, as shown in Figure 4, the thickness ofoptical filtering portion 244 also can equal the thickness of gridline.
See also Fig. 6, in present embodiment,conductive thread 270 is straight line, curve or broken line.Whenconductive thread 270 can be for difformity, reduced production requirement.
As Fig. 9 and shown in Figure 10, Figure 10 represents be whenconductive thread 270 when the projection offilter layer 240 does not drop on the gridline, the projection of each described conductive grid on describedfilter layer 240 of firstconductive layer 230 and/or secondconductive layer 260 accommodates one filter unit.Fig. 9 represents be whenconductive thread 270 when the projection offilter layer 240 all falls within on the gridline, the projection of each described conductive grid on describedfilter layer 240 of firstconductive layer 230 and/or described secondconductive layer 260 accommodates one filter unit.Because each grid cell is to there being a conductive grid, so the density of conductive grid is bigger, electric conductivity is better.
Extremely shown in Figure 13 as Figure 11, the expression be whenconductive thread 270 when the projection offilter layer 240 all falls within on the gridline, the projection of each described conductive grid on describedfilter layer 240 of firstconductive layer 230 and/or described secondconductive layer 260 accommodates at least two filter unit, can be according to the resistance of conductive layer being required and the requirement of the coating weight of conductive material decides the filter unit quantity of holding.Can be divided into three kinds of situations this moment, and laterally to be X-axis, the direction of vertical transverse is Y-axis.As shown in figure 11, only on X-direction, at least two filter units are held in the projection of each conductive grid onfilter layer 240 of firstconductive layer 230 and second conductive layer 260.As shown in figure 12, only on Y direction, at least two filter units are held in the projection of each conductive grid onfilter layer 240 of firstconductive layer 230 and second conductive layer 260.As shown in figure 13, on X-axis and Y direction, at least two filter units are held in the projection of each conductive grid onfilter layer 240 of firstconductive layer 230 and secondconductive layer 260 simultaneously.
Extremely shown in Figure 16 as Figure 14, the expression be when conductive grid when the projection offilter layer 240 does not drop on the gridline, the projection of each described conductive grid on describedfilter layer 240 of firstconductive layer 230 and/or described secondconductive layer 260 accommodates at least two filter unit.Also can be divided into three kinds of situations this moment, and laterally to be X-axis, the direction of vertical transverse is Y-axis.As shown in figure 14, only on X-direction, at least two integers filter unit is held in the projection of each conductive grid onfilter layer 240 of firstconductive layer 230 and second conductive layer 260.As shown in figure 15, only on Y direction, at least two integers filter unit is held in the projection of each conductive grid onfilter layer 240 of firstconductive layer 230 and second conductive layer 260.As shown in figure 16, on X-axis and Y direction, at least two integers filter unit is held in the projection of each conductive grid onfilter layer 240 of firstconductive layer 230 and secondconductive layer 260 simultaneously.
In present embodiment, the filter unit number that the filter unit number that the projection of each conductive grid onfilter layer 240 of firstconductive layer 230 held and the projection of each conductive grid on filter layer of secondconductive layer 260 are held can be inequality.Can effectively reduce manufacture difficulty.Certainly, in other embodiment, the filter unit number that the projection of each conductive grid onfilter layer 240 of firstconductive layer 230 held is all right identical with the filter unit number that the projection of each conductive grid on filter layer of secondconductive layer 260 held.
The above embodiment has only expressed several embodiment of the present invention, and it describes comparatively concrete and detailed, but can not therefore be interpreted as the restriction to claim of the present invention.Should be pointed out that for the person of ordinary skill of the art without departing from the inventive concept of the premise, can also make some distortion and improvement, these all belong to protection scope of the present invention.Therefore, the protection domain of patent of the present invention should be as the criterion with claims.

Claims (10)

CN2013102827688A2013-07-052013-07-05Optical filter box and touch display screen using optical filter boxPendingCN103345334A (en)

Priority Applications (1)

Application NumberPriority DateFiling DateTitle
CN2013102827688ACN103345334A (en)2013-07-052013-07-05Optical filter box and touch display screen using optical filter box

Applications Claiming Priority (1)

Application NumberPriority DateFiling DateTitle
CN2013102827688ACN103345334A (en)2013-07-052013-07-05Optical filter box and touch display screen using optical filter box

Publications (1)

Publication NumberPublication Date
CN103345334Atrue CN103345334A (en)2013-10-09

Family

ID=49280136

Family Applications (1)

Application NumberTitlePriority DateFiling Date
CN2013102827688APendingCN103345334A (en)2013-07-052013-07-05Optical filter box and touch display screen using optical filter box

Country Status (1)

CountryLink
CN (1)CN103345334A (en)

Citations (8)

* Cited by examiner, † Cited by third party
Publication numberPriority datePublication dateAssigneeTitle
US6483498B1 (en)*1999-03-172002-11-19International Business Machines CorporationLiquid crystal display with integrated resistive touch sensor
US7106307B2 (en)*2001-05-242006-09-12Eastman Kodak CompanyTouch screen for use with an OLED display
CN101403830A (en)*2008-11-122009-04-08友达光电股份有限公司Touch control type substrates, colored optical filtering substrates and touch control type LCD
CN102279662A (en)*2010-06-132011-12-14明兴光电股份有限公司 Touch display panel and color filter touch substrate
CN102903423A (en)*2012-10-252013-01-30南昌欧菲光科技有限公司Conduction structure in transparent conduction film, transparent conduction film and manufacture method thereof
CN103033979A (en)*2012-12-142013-04-10京东方科技集团股份有限公司Color filter and manufacturing method thereof and touch liquid crystal display screen
CN103135292A (en)*2011-11-302013-06-05乐金显示有限公司Liquid crystal display device having touch screen
CN203338296U (en)*2013-07-052013-12-11南昌欧菲光显示技术有限公司Optical filter assembly and touch displaying screen with optical filter assembly

Patent Citations (8)

* Cited by examiner, † Cited by third party
Publication numberPriority datePublication dateAssigneeTitle
US6483498B1 (en)*1999-03-172002-11-19International Business Machines CorporationLiquid crystal display with integrated resistive touch sensor
US7106307B2 (en)*2001-05-242006-09-12Eastman Kodak CompanyTouch screen for use with an OLED display
CN101403830A (en)*2008-11-122009-04-08友达光电股份有限公司Touch control type substrates, colored optical filtering substrates and touch control type LCD
CN102279662A (en)*2010-06-132011-12-14明兴光电股份有限公司 Touch display panel and color filter touch substrate
CN103135292A (en)*2011-11-302013-06-05乐金显示有限公司Liquid crystal display device having touch screen
CN102903423A (en)*2012-10-252013-01-30南昌欧菲光科技有限公司Conduction structure in transparent conduction film, transparent conduction film and manufacture method thereof
CN103033979A (en)*2012-12-142013-04-10京东方科技集团股份有限公司Color filter and manufacturing method thereof and touch liquid crystal display screen
CN203338296U (en)*2013-07-052013-12-11南昌欧菲光显示技术有限公司Optical filter assembly and touch displaying screen with optical filter assembly

Similar Documents

PublicationPublication DateTitle
CN203338316U (en)Optical filter assembly and touch displaying screen with optical filter assembly
CN103336632B (en)Optical filter box and use the touch display screen of this optical filter box
CN203338310U (en)Polarizing-filtering module and touch display screen
CN103345332A (en)Optical filter box and touch display screen using optical filter box
CN103336623B (en)Optical filter box and use the touch display screen of this optical filter box
CN103345324A (en)Touch display screen and optical filter assembly thereof
CN203386168U (en)Touch display screen and optical filter assembly thereof
CN203338317U (en)Optical filter assembly and touch displaying screen with optical filter assembly
CN203338314U (en)Optical filter assembly and touch displaying screen with optical filter assembly
CN203366275U (en)Optical filter box and touch display screen with optical filter box
CN203338311U (en)Optical filter assembly and touch displaying screen with optical filter assembly
CN203338296U (en)Optical filter assembly and touch displaying screen with optical filter assembly
CN203338313U (en)Optical filter assembly and touch displaying screen with optical filter assembly
CN103365475B (en)Optical filter box and use the touch display screen of this optical filter box
CN203338301U (en)Optical filter assembly and touch displaying screen with optical filter assembly
CN103345336A (en)Light polarization-light filtering module and touch display screen
CN103336616A (en)Light polarizing-filtering module and touch display screen using same
CN203338315U (en)Optical filter assembly and touch displaying screen with optical filter assembly
CN203350829U (en)Polarization-filter module and touch display screen
CN103336614A (en)Light polarizing-filtering module and touch display screen using same
CN203338318U (en)Optical filter assembly and touch displaying screen with optical filter assembly
CN203338304U (en)Optical filter assembly and touch displaying screen with optical filter assembly
CN103365473B (en)Optical filter box and touch display screen
CN103336628A (en)Optical filter component and touch display screen
CN103345334A (en)Optical filter box and touch display screen using optical filter box

Legal Events

DateCodeTitleDescription
C06Publication
PB01Publication
C10Entry into substantive examination
SE01Entry into force of request for substantive examination
TA01Transfer of patent application right

Effective date of registration:20170630

Address after:330000 Jiangxi city of Nanchang Province Economic and Technological Development Zone HUANGJIAHU Road

Applicant after:Nanchang OFilm Tech. Co.,Ltd.

Address before:North to the East, 330013 in Jiangxi province Nanchang city Nanchang economic and technological development zones clove road Longtan ditch

Applicant before:Nanchang Ofilm Display Tech Co.,Ltd.

Applicant before:Shenzhen OFilm Tech Co.,Ltd.

Applicant before:Suzhou OFilm Tech. Co.,Ltd.

RJ01Rejection of invention patent application after publication

Application publication date:20131009

RJ01Rejection of invention patent application after publication

[8]ページ先頭

©2009-2025 Movatter.jp