Movatterモバイル変換


[0]ホーム

URL:


CN103336623A - Optical filter assembly and touch display screen using same - Google Patents

Optical filter assembly and touch display screen using same
Download PDF

Info

Publication number
CN103336623A
CN103336623ACN2013102826007ACN201310282600ACN103336623ACN 103336623 ACN103336623 ACN 103336623ACN 2013102826007 ACN2013102826007 ACN 2013102826007ACN 201310282600 ACN201310282600 ACN 201310282600ACN 103336623 ACN103336623 ACN 103336623A
Authority
CN
China
Prior art keywords
conductive
layer
conductive layer
optical filter
grid
Prior art date
Legal status (The legal status is an assumption and is not a legal conclusion. Google has not performed a legal analysis and makes no representation as to the accuracy of the status listed.)
Granted
Application number
CN2013102826007A
Other languages
Chinese (zh)
Other versions
CN103336623B (en
Inventor
唐根初
刘伟
董绳财
唐彬
何世磊
Current Assignee (The listed assignees may be inaccurate. Google has not performed a legal analysis and makes no representation or warranty as to the accuracy of the list.)
Nanchang OFilm Tech Co Ltd
Original Assignee
Nanchang Ofilm Display Tech Co ltd
Suzhou OFilm Tech Co Ltd
Shenzhen OFilm Tech Co Ltd
Priority date (The priority date is an assumption and is not a legal conclusion. Google has not performed a legal analysis and makes no representation as to the accuracy of the date listed.)
Filing date
Publication date
Application filed by Nanchang Ofilm Display Tech Co ltd, Suzhou OFilm Tech Co Ltd, Shenzhen OFilm Tech Co LtdfiledCriticalNanchang Ofilm Display Tech Co ltd
Priority to CN201310282600.7ApriorityCriticalpatent/CN103336623B/en
Publication of CN103336623ApublicationCriticalpatent/CN103336623A/en
Application grantedgrantedCritical
Publication of CN103336623BpublicationCriticalpatent/CN103336623B/en
Expired - Fee Relatedlegal-statusCriticalCurrent
Anticipated expirationlegal-statusCritical

Links

Images

Landscapes

Abstract

An optical filter assembly comprises a substrate, a light-filtering layer, a first conducting layer and a second conducting layer. The light-filtering layer is directly formed on the first surface of the substrate, and first electric conduction patterns and second electric conduction patterns are exposed. All projections, on the light-filtering layer, of electric conduction silk-covered wires of the first conducting layer and the second conducting layer fall on grid wires. The width of the electric conduction silk-covered wires is equal to or smaller than that of the grid wires. According to the optical filter assembly, an induction structure is formed by the first conducting layer and the second conducting layer, so that the optical filter assembly is operated in a touching mode and beside has the function of light filtering. Reduction of the thickness of an electronic product is facilitated, and material and assembly cost are further saved. The first electric conduction patterns and the second electric conduction patterns are exposed, and therefore, subsequent manufacturing of electrode leading wires and binding among a flexible printed circuit board and the electrode leading wires are facilitated. Meanwhile, the width of the electric conduction silk-covered wires can be increased, and the electric conduction capacity of the conducting layers is improved. Meanwhile, the invention provides a touch display screen.

Description

Optical filter box and use the touch display screen of this optical filter box
Technical field
The present invention relates to display technique field, plane, particularly relate to a kind of optical filter box and use the touch display screen of this optical filter box.
Background technology
Touch-screen is the inductive arrangement that can receive input signals such as touch.Touch-screen has given information interaction brand-new looks, is extremely attractive brand-new information interaction equipment.The development of touch screen technology has caused the common concern of domestic and international information medium circle, has become the Chaoyang new high-tech industry that the photoelectricity industry is a dark horse.
At present, having the electronic product that touches Presentation Function includes display screen and is positioned at touch-screen on the display screen.Yet, touch-screen as with display screen assembly independently, when being used for the electronic product that some realize man-machine interactions, all need to order according to the size of display screen, assemble afterwards, with the formation touch display screen, but touch display screen can have touch control operation and Presentation Function simultaneously again.The assembling of existing touch-screen and display screen mainly contains dual mode, and namely frame pastes and full the applying.The frame subsides are to be fitted in the edge of touch-screen and display screen, and full applying is whole the applying of upper surface with lower surface and the display screen of touch-screen.
Display screen mainly comprises polaroid, optical filter box, Liquid Crystal Module and thin film transistor (TFT) (TFT, Thin Film Transistor), when being combined into display screen by polaroid, optical filter box, Liquid Crystal Module and thin film transistor (TFT), had bigger thickness, and when continuing on the display screen applying touch-screen, will further increase its thickness, moreover, many one attaching process, just meaning has increased the bad probability of product, increases production cost of products greatly.
Summary of the invention
Based on this, be necessary to reach the cost problem of higher more greatly at thickness, a kind of touch display screen that is conducive to reduce the optical filter box of electronic product thickness and production cost and uses this optical filter box is provided.
A kind of optical filter box comprises:
Substrate comprises first surface and the second surface that is oppositely arranged with described first surface;
Filter layer, be arranged at described first surface, comprise light shielding part and a plurality of filter unit, described light shielding part is lattice-shaped, comprise cross one another gridline, the space of being cut apart by described gridline forms some grid cells, and each filter unit is contained in the corresponding grid cell, and described a plurality of filter units form optical filtering portion;
First conductive layer is located at described filter layer away from a side of described first surface, comprises first conductive pattern that a plurality of intervals arrange, and described first conductive pattern comprises conductive grid, and described conductive grid is intersected to form by conductive thread;
Second conductive layer is located at a side of described second surface, comprises second conductive pattern that a plurality of intervals arrange, and described second conductive pattern comprises conductive grid, and described conductive grid is intersected to form by conductive thread;
Wherein, the conductive thread of described first conductive layer and second conductive layer all drops on the described gridline in the projection of described filter layer.
Among embodiment, the live width of the conductive thread of described first conductive layer and second conductive layer is not more than the live width of described gridline therein.
Therein among embodiment, further comprise the first impression glue-line, the described first impression glue-line is arranged at described filter layer away from a side of described first surface, and the described first impression glue-line offers first groove, and the conductive thread of described first conductive pattern is contained in described first groove.
Therein among embodiment, further comprise the second impression glue-line, the described second impression glue-line is arranged at the second surface of described substrate, and the described second impression glue-line offers second groove, and the conductive thread of described second conductive pattern is contained in described second groove.
Among embodiment, the thickness of described first conductive layer is not more than the degree of depth of described first groove therein, and the thickness of described second conductive layer is not more than the degree of depth of described second groove.
Therein among embodiment, the thickness of described optical filtering portion is not less than the thickness of described light shielding part.
Among embodiment, the interval width of adjacent two first conductive patterns of described first conductive layer is 0.5 μ m~50 μ m therein, and the interval width of adjacent two second conductive patterns of described second conductive layer is 0.5 μ m~50 μ m.
Among embodiment, each described conductive grid projection on described filter layer of described first conductive layer and described second conductive layer is surrounded by at least one filter unit therein.
Among embodiment, the filter unit number that the described conductive grid of each of described first conductive layer surrounds in the projection on the described filter layer is inequality with the filter unit number of the projection encirclement of each described conductive grid on described filter layer of described second conductive layer therein.
Therein among embodiment, described first conductive layer and second the conductive layer wherein width of one conductive thread have filter unit number that one conductive grid of big conductive thread width surrounds in the projection of stating on the filter layer and are not less than one conductive grid with less conductive thread width and are stating the filter unit number that the projection on the filter layer is surrounded greater than the width of another person's conductive thread.
A kind of touch display screen comprises the TFT electrode, Liquid Crystal Module, optical filter box and the polaroid that stack gradually, and described optical filter box is above-described optical filter box.
Above-mentioned optical filter box and use the touch display screen of this optical filter box, optical filter box can be realized touch control operation and filtering functions simultaneously, combination as indispensable two assemblies in the display screen, when being used for display screen, can directly make display screen have touch controllable function, need not to assemble a touch-screen at display screen again, not only be conducive to reduce the thickness of electronic product, also saved material and assembly cost simultaneously greatly.
Description of drawings
Fig. 1 is the structural representation of the touch display screen of an embodiment;
Fig. 2 is the structural representation of the optical filter box of an embodiment;
Fig. 3 is the structural representation of the optical filter box of another embodiment;
Fig. 4 is the structural representation of the optical filter box of another embodiment;
Fig. 5 is again the structural representation of the optical filter box of an embodiment;
Fig. 6 is the structural representation at another visual angle of optical filter box shown in Figure 5;
Fig. 7 is the interval synoptic diagram of a plurality of conductive patterns of arbitrary conductive layer in the optical filter box;
Fig. 8 is the interval synoptic diagram of a plurality of conductive patterns of arbitrary conductive layer in the optical filter box;
Fig. 9 is the structural representation that conductive thread projects to filter layer in the embodiment;
Figure 10 projects to the structural representation of filter layer for conductive thread in another embodiment;
Figure 11 projects to the structural representation of filter layer for conductive thread in the another embodiment;
Figure 12 is again the structural representation that conductive thread projects to filter layer in the embodiment.
Embodiment
For above-mentioned purpose of the present invention, feature and advantage can be become apparent more, below in conjunction with accompanying drawing the specific embodiment of the present invention is described in detail.A lot of details have been set forth in the following description so that fully understand the present invention.But the present invention can implement much to be different from alternate manner described here, and those skilled in the art can do similar improvement under the situation of intension of the present invention, so the present invention is not subjected to the restriction of following public concrete enforcement.
Need to prove that when element is called as " being fixed in " another element, can directly can there be element placed in the middle in it on another element or also.When an element is considered to " connection " another element, it can be to be directly connected to another element or may to have element placed in the middle simultaneously.
Unless otherwise defined, the employed all technology of this paper are identical with the implication that belongs to those skilled in the art's common sense of the present invention with scientific terminology.Employed term is not intended to be restriction the present invention just in order to describe the purpose of specific embodiment in instructions of the present invention herein.Term as used herein " and/or " comprise one or more relevant Listed Items arbitrarily with all combinations.
The present invention proposes to be conducive to reduce the optical filter box of electronic product thickness and production cost and the touch display screen of this optical filter box of use.This optical filter box can be realized touch operation and filtering functions, thereby makes touch display screen have the touch Presentation Function.
Seeing also Fig. 1, is thetouch display screen 100 of an embodiment, comprises followingpolaroid 10,TFT electrode 20, Liquid CrystalModule 30,public electrode 40,diaphragm 50, theoptical filter box 200 that stacks gradually and goes up polaroid 60.In other embodiment, need not to arrangediaphragm 50 andpublic electrode 40 also can.
TFT electrode 20 comprises glass-base 24 and the show electrode 22 that is arranged on the glass-base 24.Liquid Crystal Module comprisesliquid crystal 32 and is held on thealignment film 34 ofliquid crystal 32 both sides.
Be appreciated that when using backlight as polarized light source as the OLED polarized light source, need not downpolaroid 10, only needing upward,polaroid 60 gets final product.Structure and the function of the followingpolaroid 10 of present embodiment,TFT electrode 20, Liquid CrystalModule 30,public electrode 40,diaphragm 50,last polaroid 60 can be identical with existing product, do not repeat them here.
But butoptical filter box 200 has touch control operation and filtering functions simultaneously, makestouch display screen 100 have touch display function.Touch display screen can be the LCDs of straight-down negative or side entering type light source.
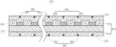
See also Fig. 2 to Fig. 5, expression be 200 4 different embodiment of optical filter box.Optical filter box 200 among above-mentioned four embodiment includessubstrate 210,filter layer 220, the first impression glue-line 230, firstconductive layer 240, second impression glue-line 250 and second conductive layer 260.Whereinsubstrate 210 comprisesfirst surface 212 andsecond surface 214, andfirst surface 212 andsecond surface 214 are oppositely arranged.Substrate 210 is the transparent insulation material, as glass, is specifically as follows sillico aluminate glass and calcium soda-lime glass, has good cohesive force through the plasma treatment rear surface.General, the thickness range ofsubstrate 210 can be 0.1mm~0.5mm.
Filter layer is arranged atfirst surface 212, compriseslight shielding part 222 and a plurality of filter unit.Light shielding part 222 is lattice-shaped, comprises some cross one another gridlines.The space of being cut apart by gridline forms some grid cells, and each filter unit is contained in the corresponding grid cell, and a plurality of filter units form optical filtering portion 224.General, the thickness range oflight shielding part 222 andoptical filtering portion 224 is 0.5 μ m~2 μ m.
The first impression glue-line 230 is arranged atfilter layer 220 away from a side offirst surface 212, and the first impression glue-line 230 offersfirst groove 232 away from a side of first surface 212.First groove 232 is the groove of mesh shape, and mesh shape can be preset to required figure as required.Firstconductive layer 240 is embedded at the first impression glue-line 230, comprises a plurality of firstconductive patterns 242, and 242 of a plurality of first conductive patterns are provided with at interval, so that 242 insulation of a plurality of first conductive pattern.Firstconductive pattern 242 comprises conductive grid, and conductive grid is intersected to form byconductive thread 270, andconductive thread 270 intersects to form grid node, and describedconductive thread 270 is contained in described first groove 232.In other embodiment, can also first side that impresses glue-line 230 closefirst surfaces 212 offer first groove 232.In other embodiments, the first impression glue-line 230 can also be set, by directly at the side coating conductive material of describedfilter layer 220 away fromfirst surface 212, form firstconductive layer 240 by etching again as Nano Silver ink or plated film, so the first impression glue-line is not necessary.
Second surface 214, the second impression glue-lines 250 that the second impression glue-line 250 is arranged atsubstrate 210 offersecond groove 252 away from a side of second surface 214.Second groove 252 is the groove of mesh shape, and mesh shape can be preset to required figure as required.Secondconductive layer 260 is embedded at the second impression glue-line 250, comprises a plurality of second conductive patterns 262.262 of a plurality of second conductive patterns are provided with at interval, so that a plurality of second conductive pattern, 262 mutually insulateds.Secondconductive pattern 262 comprises some conductive grids, and conductive grid is intersected to form byconductive thread 270, and theconductive thread 270 of secondconductive pattern 262 is identical with the material of theconductive thread 270 of first conductive pattern 242.Conductive thread 270 intersects to form grid node, andconductive thread 270 is contained in second groove 252.In other embodiment, the material of the conductive thread of firstconductive layer 240 also can be different with the material of the conductive thread of second conductive layer 260.In other embodiment, can also offersecond groove 252 in a side of the second impression glue-line, 250 close second surfaces 214.In other embodiments, can also be by plating or coating conductive material, as Nano Silver ink etched mode again, form secondconductive layer 260 at thesecond surface 214 ofsubstrate 210, so the second impression glue-line 250 is not necessary.
Wherein theconductive thread 270 of firstconductive layer 240 and secondconductive layer 260 all drops on the gridline in the projection of filter layer 220.The live width ofconductive thread 270 is not more than the width of gridline, and namely the live width ofconductive thread 270 is less than or equal to the width of gridline.As shown in Figure 2, the live width of theconductive thread 270 of firstconductive layer 240 and secondconductive layer 260 all equals the width of gridline, to reduce the manufacture difficulty of conductive thread 270.As shown in Figure 3, the live width of theconductive thread 270 of arbitrary conductive layer is less than the width of gridline in firstconductive layer 240 and secondconductive layer 260, and the live width of theconductive thread 270 of another conductive layer equals the width of gridline, is conducive to the optimization of cost of manufacture.As shown in Figure 4 and Figure 5, the live width of theconductive thread 270 of firstconductive layer 240 and secondconductive layer 260 is exposed to the risk of gridline side direction all less than the width of gridline with reductionconductive thread 270.
Above-mentionedoptical filter box 200, the firstconductive layers 240 and secondconductive layer 260 constitute the capacitive sensing structure, makeoptical filter box 200 can realize touch control operation and filtering functions simultaneously, and the design that need not to put up a bridge, and have reduced task difficulty.When above-mentionedoptical filter box 200 is applied to display screen, can directly make display screen have touch controllable function, need not to assemble a touch-screen at display screen again, not only be conducive to reduce the thickness of electronic product, also save material and assembly cost greatly.Firstconductive pattern 242 and secondconductive pattern 262 are positioned at the outside ofsubstrate 210 andfilter layer 220 simultaneously, firstconductive pattern 242 and secondconductive pattern 262 are all exposed, be convenient to the making of subsequent electrode lead-in wire and the binding (bonding) of flexible PCB and contact conductor.When theconductive thread 270 of firstconductive layer 240 and secondconductive layer 260 when the projection offilter layer 220 all falls into gridline, becauselight shielding part 222 has opaqueness, be not more than the width of gridline as long as guarantee the live width ofconductive thread 270, just can makeconductive thread 270 not exceed gridline, thereby can not blockfilter layer 220, can not reduce the transmittance offilter layer 220.
See also Fig. 5 and Fig. 6, in present embodiment,optical filtering portion 224 comprises chromatic photoresist, is formed with a chromatic photoresist in each grid cell, and chromatic photoresist forms filter unit.Chromatic photoresist is that the photoresist that has coloured dye forms, and can adopt exposure-developing manufacture process.That chromatic photoresist is generally is red (red, R) photoresistance, it is green that (green, G) (blue, B) photoresistance are used for making incident light be transformed into monochromatic light, realize filtering functions for photoresistance or indigo plant.Light shielding part is that the photoresist that has a black dyes is formed at the first impression glue-line 230, andlight shielding part 222 is lattice-shaped, has opaqueness, can adopt exposure-developing manufacture process.Grid cell is square in the lattice-shaped, makes the photoresistance ofoptical filtering portion 224 arrange compacter and even.Light shielding part 222 can effectively be avoided chromatic photoresist colour contamination each other, and can increase the contrast of R, G, B light.
In present embodiment, the material of the first impression glue-line 230 and the second impression glue-line 250 is solvent-free ultra-violet curing acrylic resin, and thickness is 2 μ m~10 μ m.The first impression glue-line 230 and the second impression glue-line 250 are transparence, do not influence whole transmitance.In other embodiments, the material of the first impression glue-line 230 and the second impression glue-line 250 can also be visible-light curing resin or heat reactive resin.
The above-mentioned optical filter box that has touch controllable function, firstconductive pattern 242 and secondconductive pattern 262 are the impression mode and form, and can make by following dual mode particularly, and method one is:
(1)first surface 212 and thesecond surface 214 atsubstrate 210 at first carries out plasma (Plasma) processing.Dirty with thefirst surface 212 of removingsubstrate 210 andsecond surface 214, and makefirst surface 212 andsecond surface 214 ionizations, increase cohesive force follow-up andfilter layer 220 and the second impression glue-line 250.
(2) 212 whole of first surfaces atsubstrate 210 arrange the photoresist that one deck has black dyes.
(3) adopt exposure-developing technique, the photoresist in filter unit zone is removed, form thelight shielding part 222 of lattice-shaped.The space of being cut apart by gridline forms some grid cells.
(4) in the grid cell gradation R/G/B chromatic photoresist is set, formsoptical filtering portion 224.
(5) be coated with impression glue atfilter layer 220 simultaneously away from a side offirst surface 212 andsecond surface 214, form the first impression glue-line 230 and the second impression glue-line 250 respectively.Present embodiment adopts solvent-free ultra-violet curing acrylic resin.And impress on the first impression glue-line 230 and the second impression glue-line, 250 surfaces respectively and solidify with nested with firstconductive pattern 242 and secondconductive pattern 262 respectively impression block, obtain required andfirst groove 232 andsecond grooves 252 firstconductive pattern 242 and second conductive pattern, 262 couplings.Wherein, impression block is transparent material, can avoid the mutual shading in two sides, can't ultraviolet ray (UV) solidify.
(6) filled conductive materials and solidifying simultaneously infirst groove 232 that mates respectively with firstconductive pattern 242 and secondconductive pattern 262 andsecond groove 252 obtain firstconductive layer 240 and second conductive layer 260.Theconductive thread 270 of firstconductive layer 240 and secondconductive layer 260 all falls in the gridline in the projection offilter layer 220, and the live width ofconductive thread 270 is not more than the live width of gridline.Conductive material comprises at least a among metal, carbon nano-tube, Graphene, organic conductive macromolecule and the ITO, forms byconductive thread 270 to intersect the conductive grid that constitutes.Be preferably metal, as nanometer silver paste.When selecting metal for use, the energy consumption that can reduce resistance and reduce touch display screen.
In the said method, the first impression glue-line 230 and the second impression glue-line 250 are coated with simultaneously, are conducive to simplify flow process, raise the efficiency.
Method two is:
(1)first surface 212 and thesecond surface 214 atsubstrate 210 at first carries out plasma (Plasma) processing.Dirty with thefirst surface 212 of removingsubstrate 210 andsecond surface 214, and makefirst surface 212 andsecond surface 214 ionizations, increase cohesive force follow-up andfilter layer 220 and the second impression glue-line 250.
(2) 212 whole of first surfaces atsubstrate 210 arrange the photoresist that one deck has black dyes.
(3) adopt exposure-developing technique, the photoresist in filter unit zone is removed, form thelight shielding part 222 of lattice-shaped.The space of being cut apart by gridline forms some grid cells.
(4) in the grid cell gradation R/G/B chromatic photoresist is set, formsoptical filtering portion 224.
(5) atfilter layer 220 surfaces whole coating impression glue, form the first impression glue-line 230.Present embodiment adopts solvent-free ultra-violet curing acrylic resin.And use the impression formboard that is nested with firstconductive pattern 242 to impress on the first impression glue-line, 230 surfaces and solidify, obtainfirst groove 232 that mates with firstconductive pattern 242.
(6) to 232 interior filled conductive materials and the curing of first groove, obtain first conductive layer 240.Theconductive thread 270 of firstconductive layer 240 all falls in the gridline in the projection offilter layer 220, and the live width ofconductive thread 270 is not more than the live width of gridline.Conductive material can be among metal, carbon nano-tube, Graphene, organic conductive macromolecule or the ITO at least a, form the conductive grid that is constituted by conductive thread 270.Be preferably metal, as nanometer silver paste.When selecting metal for use, the energy consumption that can reduce resistance and reduce touch display screen.
(7) whole of first conductive layer, 240 1 sideslayer protecting film 50 is set, to avoid when making secondconductive pattern 262, influencing the effect of filter layer 220.Can be the transparentprotective film 50 that is coated with/plates, final products keep; Also can be one deckintermediate process diaphragm 50, remove at last.
(8)second surface 214 coatings second atsubstrate 210 impress glue-line 250.Present embodiment adopts solvent-free ultra-violet curing acrylic resin.And use the impression block that is nested with secondconductive pattern 262 to impress on the second impression glue-line, 250 surfaces and solidify, obtainsecond groove 252 that mates with secondconductive pattern 262.
(9) to 252 interior filled conductive materials and the curing of second groove, obtain secondconductive layer 260, and guarantee that theconductive thread 270 of secondconductive layer 260 falls into gridline in the projection offilter layer 220, and the live width ofconductive thread 270 is not more than the live width of gridline.Conductive material can be metal, carbon nano-tube, Graphene, organic conductive macromolecule or ITO, forms the conductive grid that is made of conductive thread 270.Be preferably metal, as nanometer silver paste.When selecting metal for use, the energy consumption that can reduce resistance and reduce touch display screen.If what use in above-mentioned the 7th step is intermediateprocess usefulness diaphragm 50, after the 9th step, also need it is removed.
The conductive grid of at least one conductive layer and described filter unit similar fitgures each other in described firstconductive layer 240 and described secondconductive layer 260, the center line of theconductive thread 270 of at least one conductive layer is in the projection of describedfilter layer 220 and the central lines of described gridline in described firstconductive layer 240 and second conductive layer 260.Beconductive thread 270 positive alignment gridlines.Conductive grid is thatconductive thread 270 intersects to form, and grid cell is cut apart by gridline and formed, and filter unit is formed at grid cell.So in the present embodiment, the shape that can make conductive grid is identical with the shape of filter unit but vary in size, and namely conductive grid and filter unit similar fitgures each other guarantee that simultaneously conductive grid does not exceed gridline in the projection offilter layer 220.
See also Fig. 5, in present embodiment, the center line of theconductive thread 270 of firstconductive layer 240 and secondconductive layer 260 the projection offilter layer 220 all with the central lines of gridline.Further reduceconductive thread 270 and exposed the probability in gridline zone.Certainly, in other embodiments, theconductive thread 270 of arbitrary conductive layer is over against gridline in all right firstconductive layer 240 and secondconductive layer 260, theconductive thread 270 of an other conductive layer satisfies the scope that projection atfilter layer 220 do not exceed gridline and gets final product, because firstconductive layer 240 and secondconductive layer 260 are blocked by gridline on the backlight exit direction of display screen, the grid cycle stack of conductive grid on firstconductive layer 240 and secondconductive layer 260 and louver (-vre) can not appear, therefore, effectively avoided the Moire fringe phenomenon.
The thickness of described firstconductive layer 240 is not more than the degree of depth of describedfirst groove 232, and the thickness of described secondconductive layer 260 is not more than the degree of depth of described second groove 252.In present embodiment, the thickness of firstconductive layer 240 is less than the thickness offirst groove 232, and the degree of depth offirst groove 232 is less than the thickness of the first impression glue-line 230.Secondconductive layer 260 is less than the degree of depth ofsecond groove 252, and the degree of depth ofsecond groove 252 is less than the thickness of the second impression glue-line 250, can prevent firstconductive layer 240 and secondconductive layer 260 form the back in subsequent technique by scratch.
See also Fig. 5 and Fig. 6, in present embodiment, the thickness ofoptical filtering portion 224 is not less than the thickness of light shielding part 222.That is to say that the thickness of filter unit is greater than or equal to the thickness of gridline.When the thickness ofoptical filtering portion 224 during greater than the thickness oflight shielding part 222, from the light thatoptical filtering portion 224 appears, not only can see from the front, also can see from the side, thereby can increase the light emission rate ofoptical filtering portion 224.
In present embodiment, adjacent conductive pattern setting interval is with mutually insulated.As shown in Figure 7 and Figure 8, be the synoptic diagram of the different modes at the interval of a plurality of conductive patterns of arbitrary conductive layer in first conductive layer 240 and second conductive layer 260.In present embodiment, the interval width of adjacent two first conductive patterns is 0.5 μ m~50 μ m in first conductive layer 240, and the interval width scope of adjacent two second conductive patterns is 0.5 μ m~50 μ m in second conductive layer 260.As shown in Figure 7, expression be that the interval width of adjacent two first conductive patterns in first conductive layer 240 is the width of a filter unit, perhaps the interval width of adjacent two second conductive patterns is the width of a filter unit in second conductive layer 260, can cut off this moment by full line or permutation conductive thread 270 disappearances.The width range of one filter unit is between 0.5 μ m~50 μ m.As shown in Figure 8, in other embodiments, can also be by conductive thread 270 marginal portions disappearance be cut off.In other embodiments, also can one deck conductive layer in adjacent two conductive patterns obtain by full line or permutation conductive thread 270 disappearances, adjacent two conductive patterns are by lacking acquisition with conductive thread 270 marginal portions in another layer conductive layer.
See also Fig. 6, in present embodiment,conductive thread 270 is straight line, curve or broken line.Whenconductive thread 270 can be for difformity, reduced production requirement.
As shown in Figure 9, the projection of each conductive grid onfilter layer 220 of firstconductive layer 240 and secondconductive layer 260 is surrounded by a filter unit.Because theconductive thread 270 of firstconductive layer 240 and secondconductive layer 260 is all aimed at gridline, so the filter unit that surrounds is integer, quantity is one.Because each grid cell is to there being a conductive grid, so the density of conductive grid is bigger, electric conductivity is better.
To shown in Figure 12, the projection of each conductive grid onfilter layer 220 of firstconductive layer 240 and secondconductive layer 260 is surrounded by at least two filter units as Figure 10.Because theconductive thread 270 of firstconductive layer 240 and secondconductive layer 260 is all aimed at gridline, so it is individual that the filter unit that surrounds is integer, quantity is at least two, can be according to the resistance of conductive layer being required and the requirement of the coating weight of conductive material decides the filter unit quantity of holding.
Can be divided into three kinds of situations this moment, and laterally to be X-axis, the direction of vertical transverse is Y-axis.As shown in figure 10, only on X-direction, at least two filter units are surrounded in the projection of each conductive grid of firstconductive layer 240 and secondconductive layer 260 on filter layer 220.As shown in figure 11, only on Y direction, at least two filter units are surrounded in the projection of each conductive grid of firstconductive layer 240 and secondconductive layer 260 on filter layer 220.As shown in figure 12, on X-axis and Y direction, at least two filter units are surrounded in the projection of each conductive grid of firstconductive layer 240 and secondconductive layer 260 onfilter layer 220 simultaneously.
In present embodiment, the filter unit number that the projection of each conductive grid on filter layer of the filter unit number that the projection of each conductive grid of firstconductive layer 240 onfilter layer 220 surrounded and secondconductive layer 260 surrounded can be inequality.Can effectively reduce manufacture difficulty.Certainly, in other embodiment, the filter unit number that the projection of each conductive grid of firstconductive layer 240 onfilter layer 220 surrounded is all right identical with the filter unit number that the projection of each conductive grid on filter layer of secondconductive layer 260 surrounded.
In present embodiment, firstconductive layer 240 and second theconductive layer 260 wherein width of one conductive thread have filter unit number that one conductive grid of big conductive thread width surrounds in the projection of stating on thefilter layer 220 and are not less than one conductive grid with less conductive thread width and are stating the filter unit number that the projection on the filter layer is surrounded greater than the width of another person's conductive thread.Differ with the resistance that guarantees firstconductive layer 240 and secondconductive layer 260 and to be unlikely to too big.
The above embodiment has only expressed several embodiment of the present invention, and it describes comparatively concrete and detailed, but can not therefore be interpreted as the restriction to claim of the present invention.Should be pointed out that for the person of ordinary skill of the art without departing from the inventive concept of the premise, can also make some distortion and improvement, these all belong to protection scope of the present invention.Therefore, the protection domain of patent of the present invention should be as the criterion with claims.

Claims (11)

CN201310282600.7A2013-07-052013-07-05Optical filter box and use the touch display screen of this optical filter boxExpired - Fee RelatedCN103336623B (en)

Priority Applications (1)

Application NumberPriority DateFiling DateTitle
CN201310282600.7ACN103336623B (en)2013-07-052013-07-05Optical filter box and use the touch display screen of this optical filter box

Applications Claiming Priority (1)

Application NumberPriority DateFiling DateTitle
CN201310282600.7ACN103336623B (en)2013-07-052013-07-05Optical filter box and use the touch display screen of this optical filter box

Publications (2)

Publication NumberPublication Date
CN103336623Atrue CN103336623A (en)2013-10-02
CN103336623B CN103336623B (en)2016-12-28

Family

ID=49244810

Family Applications (1)

Application NumberTitlePriority DateFiling Date
CN201310282600.7AExpired - Fee RelatedCN103336623B (en)2013-07-052013-07-05Optical filter box and use the touch display screen of this optical filter box

Country Status (1)

CountryLink
CN (1)CN103336623B (en)

Cited By (3)

* Cited by examiner, † Cited by third party
Publication numberPriority datePublication dateAssigneeTitle
CN111427477A (en)*2020-03-302020-07-17广州奥翼材料与器件研究院有限公司Color touch screen applied to electrophoretic display, color electrophoretic display and preparation method
CN112783352A (en)*2019-11-052021-05-11江西慧光微电子有限公司Touch screen and preparation method thereof
CN117055763A (en)*2023-10-122023-11-14成都捷翼电子科技有限公司Color ink touch screen and processing technology thereof

Citations (8)

* Cited by examiner, † Cited by third party
Publication numberPriority datePublication dateAssigneeTitle
CN101467119A (en)*2006-06-092009-06-24苹果公司Touch screen liquid crystal display
US20110285640A1 (en)*2010-05-212011-11-24Park Young-BaeElectric field shielding for in-cell touch type thin-film-transistor liquid crystal displays
KR20110135131A (en)*2010-06-102011-12-16엘지디스플레이 주식회사 Touch recognition liquid crystal display device
US20120033168A1 (en)*2010-08-092012-02-09Samsung Electronics Co., Ltd.Liquid crystal display including touch sensor layer and manufacturing method thereof
CN102903423A (en)*2012-10-252013-01-30南昌欧菲光科技有限公司Conduction structure in transparent conduction film, transparent conduction film and manufacture method thereof
CN103135292A (en)*2011-11-302013-06-05乐金显示有限公司Liquid crystal display device having touch screen
CN103163676A (en)*2012-09-262013-06-19敦泰科技有限公司Liquid crystal display touch screen integrating single layer capacitance transducer and application device thereof
CN203338316U (en)*2013-07-052013-12-11南昌欧菲光显示技术有限公司Optical filter assembly and touch displaying screen with optical filter assembly

Patent Citations (8)

* Cited by examiner, † Cited by third party
Publication numberPriority datePublication dateAssigneeTitle
CN101467119A (en)*2006-06-092009-06-24苹果公司Touch screen liquid crystal display
US20110285640A1 (en)*2010-05-212011-11-24Park Young-BaeElectric field shielding for in-cell touch type thin-film-transistor liquid crystal displays
KR20110135131A (en)*2010-06-102011-12-16엘지디스플레이 주식회사 Touch recognition liquid crystal display device
US20120033168A1 (en)*2010-08-092012-02-09Samsung Electronics Co., Ltd.Liquid crystal display including touch sensor layer and manufacturing method thereof
CN103135292A (en)*2011-11-302013-06-05乐金显示有限公司Liquid crystal display device having touch screen
CN103163676A (en)*2012-09-262013-06-19敦泰科技有限公司Liquid crystal display touch screen integrating single layer capacitance transducer and application device thereof
CN102903423A (en)*2012-10-252013-01-30南昌欧菲光科技有限公司Conduction structure in transparent conduction film, transparent conduction film and manufacture method thereof
CN203338316U (en)*2013-07-052013-12-11南昌欧菲光显示技术有限公司Optical filter assembly and touch displaying screen with optical filter assembly

Cited By (5)

* Cited by examiner, † Cited by third party
Publication numberPriority datePublication dateAssigneeTitle
CN112783352A (en)*2019-11-052021-05-11江西慧光微电子有限公司Touch screen and preparation method thereof
CN112783352B (en)*2019-11-052022-10-11江西卓讯微电子有限公司Touch screen and preparation method thereof
CN111427477A (en)*2020-03-302020-07-17广州奥翼材料与器件研究院有限公司Color touch screen applied to electrophoretic display, color electrophoretic display and preparation method
CN117055763A (en)*2023-10-122023-11-14成都捷翼电子科技有限公司Color ink touch screen and processing technology thereof
CN117055763B (en)*2023-10-122023-12-19成都捷翼电子科技有限公司Color ink touch screen and processing technology thereof

Also Published As

Publication numberPublication date
CN103336623B (en)2016-12-28

Similar Documents

PublicationPublication DateTitle
CN103345335A (en)Optical filter box, optical filter box manufacturing method and touch display screen
CN203338316U (en)Optical filter assembly and touch displaying screen with optical filter assembly
CN103336623A (en)Optical filter assembly and touch display screen using same
CN103345332A (en)Optical filter box and touch display screen using optical filter box
CN103336632B (en)Optical filter box and use the touch display screen of this optical filter box
CN203338310U (en)Polarizing-filtering module and touch display screen
CN103345324A (en)Touch display screen and optical filter assembly thereof
CN203386168U (en)Touch display screen and optical filter assembly thereof
CN203338317U (en)Optical filter assembly and touch displaying screen with optical filter assembly
CN203338314U (en)Optical filter assembly and touch displaying screen with optical filter assembly
CN203338311U (en)Optical filter assembly and touch displaying screen with optical filter assembly
CN203338296U (en)Optical filter assembly and touch displaying screen with optical filter assembly
CN203366275U (en)Optical filter box and touch display screen with optical filter box
CN203338313U (en)Optical filter assembly and touch displaying screen with optical filter assembly
CN203338315U (en)Optical filter assembly and touch displaying screen with optical filter assembly
CN103365475B (en)Optical filter box and use the touch display screen of this optical filter box
CN103345336A (en)Light polarization-light filtering module and touch display screen
CN203338300U (en)Optical filter assembly and touch displaying screen
CN103336614A (en)Light polarizing-filtering module and touch display screen using same
CN203350829U (en)Polarization-filter module and touch display screen
CN103336616A (en)Light polarizing-filtering module and touch display screen using same
CN203338299U (en)Optical filter assembly and touch displaying screen with optical filter assembly
CN203338304U (en)Optical filter assembly and touch displaying screen with optical filter assembly
CN203338318U (en)Optical filter assembly and touch displaying screen with optical filter assembly
CN203338301U (en)Optical filter assembly and touch displaying screen with optical filter assembly

Legal Events

DateCodeTitleDescription
C06Publication
PB01Publication
C10Entry into substantive examination
SE01Entry into force of request for substantive examination
C14Grant of patent or utility model
GR01Patent grant
TR01Transfer of patent right

Effective date of registration:20170630

Address after:330000 Jiangxi city of Nanchang province Huangjiahu road Nanchang economic and Technological Development Zone

Patentee after:Nanchang OFilm Tech. Co.,Ltd.

Address before:North to the East, 330013 in Jiangxi province Nanchang city Nanchang economic and technological development zones clove road Longtan ditch

Co-patentee before:Shenzhen OFilm Tech Co.,Ltd.

Patentee before:Nanchang Ofilm Display Tech Co.,Ltd.

Co-patentee before:Suzhou OFilm Tech. Co.,Ltd.

CF01Termination of patent right due to non-payment of annual fee

Granted publication date:20161228

Termination date:20190705

CF01Termination of patent right due to non-payment of annual fee

[8]ページ先頭

©2009-2025 Movatter.jp