












背景技术Background technique
本公开涉及一种用于装置的容器,并且更具体地,涉及一种用于在使用中通常安装在台架或者安装固定器具上的装置的容器,这允许操作者在将装置从安装固定器具上拆除之前将装置储存在容器内,并且还允许操作者在将装置从容器中取出之前将装置安装到固定器具上。The present disclosure relates to a container for a device, and more particularly, to a container for a device that in use is typically mounted on a stand or a mounting fixture, which allows the operator to remove the device from the mounting fixture Stores the device in the container prior to removal from the container, and also allows the operator to attach the device to the fixture before removing the device from the container.
仪器和其它装置在不使用时或者在运输过程中通常储存在容器或者壳体中。容器提供保护装置以免受不经意的损坏的方式。另外,在装置不规则地成形或者体积较大的情形中,容器还可以提供更便捷的运输装置的方法而不是简单地单独搬运装置。容器通常包括硬的或者软的外层来保护装置免受冲撞,以及较软的内层或者构件来保护装置免受振动载荷。Instruments and other devices are typically stored in containers or housings when not in use or during transport. The container provides a means of protecting the device from inadvertent damage. Additionally, in cases where the device is irregularly shaped or bulky, the container may also provide a more convenient means of transporting the device rather than simply handling the device individually. Containers typically include a hard or soft outer layer to protect the device from impact, and a softer inner layer or member to protect the device from shock loads.
在一些应用中,装置在使用中可以安装至固定器具。例如,便携式望远镜或者照相机可以安装至三角架。在其它情形中,固定器具可以是固定的,例如加工中心中的固定器具或者在制造环境中的检查台。由于固定器具和装置不是单一的整体单元,因此装置在安装到使用地点处之前需要由操作者从容器上取出并且移动一段距离。在从容器中取出到安装至固定器具之间的这段时间中,装置会易于损坏以及其它不利的情况。关于不规则的或者体积较大的装置而言,装置的尺寸或者构型可使得在装置在从容器中取出之后难以安装至固定器具。In some applications, the device may be mounted to a fixture in use. For example, a portable telescope or camera may be mounted to the tripod. In other cases, the fixture may be stationary, such as a fixture in a machining center or an inspection table in a manufacturing environment. Since the fixture and device are not a single integral unit, the device needs to be removed from the container and moved some distance by the operator before being installed at the place of use. During the time between removal from the container and installation to the fixture, the device can be susceptible to damage and other disadvantages. With regard to irregular or bulky devices, the size or configuration of the device may make it difficult to mount the device to a fixture after it has been removed from the container.
因此,尽管现有的用于装置的容器适合于其所需的目的,但是仍需要改进。所需要的是具有文中所描述的特征的装置容器。Thus, while existing containers for devices are adequate for their intended purpose, improvements are still needed. What is needed is a device container having the features described herein.
发明内容Contents of the invention
根据本发明的一个实施方式,提供了一种用于构造成与安装固定器具耦接的装置的容器。容器包括第一壳体和第二壳体。第一壳体和第二壳体配合地成形为耦接在一起并且当装置耦接至安装固定器具时,第一壳体和第二壳体防止装置的第一部分。当第一壳体和第二壳体耦接时,第一壳体和第二壳体还形成开口,以露出装置的第二部分,装置的第二部分包括用于将装置附接至安装夹具的耦接硬件。第三容器可移动地耦接至开口,其中,当装置从安装固定器具上除去时,第三壳体配合地成形为接纳装置的第二部分并且封装装置。According to one embodiment of the present invention, there is provided a container for a device configured to be coupled with a mounting fixture. The container includes a first shell and a second shell. The first and second housings are matingly shaped to couple together and prevent the first portion of the device when the device is coupled to the mounting fixture. When the first and second housings are coupled, the first and second housings also form an opening to expose a second portion of the device that includes a mounting fixture for attaching the device to the mounting fixture. the coupling hardware. A third container is movably coupled to the opening, wherein the third housing is cooperatively shaped to receive the second portion of the device and enclose the device when the device is removed from the mounting fixture.
根据本发明的另一实施方式,提供了用于装置的另一容器。容器构造成当装置处于安装固定器具中时至少部分地防止装置。容器包括内容器,内容器具有旋转地耦接至第二壳体的第一壳体。内容器包括旋转地耦接至第二壳体的一个端部的第三壳体,其中,当装置耦接至安装固定器具时,第一壳体和第二壳体配合以封装装置的第一部分。当装置从安装固定器具上拆除时,第三壳体与第一壳体和第二壳体配合以封装装置的第二部分。提供具有底部构件的外容器,底部构件具有定尺寸为接纳内容器的第一开口。外容器还包括顶盖构件,顶盖构件沿底部构件的一侧旋转地耦接,其中,当顶盖构件旋转至与底部构件接触时,底部构件和顶盖构件配合以封装内容器。According to another embodiment of the present invention, another container for a device is provided. The container is configured to at least partially secure the device when the device is in the mounting fixture. The container includes an inner container having a first housing rotatably coupled to a second housing. The inner container includes a third housing rotatably coupled to one end of the second housing, wherein the first housing and the second housing cooperate to enclose the first portion of the device when the device is coupled to the mounting fixture . The third housing cooperates with the first housing and the second housing to enclose the second part of the device when the device is removed from the mounting fixture. An outer container is provided having a bottom member having a first opening sized to receive the inner container. The outer container also includes a top cover member rotationally coupled along one side of the bottom member, wherein the bottom member and top cover member cooperate to enclose the inner container when the top cover member is rotated into contact with the bottom member.
根据本发明的又一实施方式,提供了用于构造成与安装夹具耦接的装置的另一容器。容器包括具有第一外壳和第一侧的第一壳体,第一外壳具有打开端部。提供了具有第二外壳和第二侧的第二壳体,第二外壳具有打开端部。第二壳体绕第一轴线旋转地耦接至第一壳体,其中,当装置耦接至安装固定器具时,第一侧和第二侧配合以封装装置的第一部分。第三壳体可移动地耦接至第二壳体,第三壳体在第三侧上具有第三凹槽,第三凹槽定尺寸为接纳装置的第二部分。当第三侧移动至与第一壳体和第二壳体接触并且装置从安装固定器具上拆除时,第三壳体封装装置。According to yet another embodiment of the present invention, another container for a device configured to couple with a mounting fixture is provided. The container includes a first shell having a first shell and a first side, the first shell having an open end. A second housing is provided having a second housing and a second side, the second housing having an open end. The second housing is rotatably coupled to the first housing about a first axis, wherein the first side and the second side cooperate to enclose a first portion of the device when the device is coupled to the mounting fixture. A third housing is movably coupled to the second housing, the third housing having a third recess on a third side sized to receive the second portion of the device. The third housing encloses the device when the third side is moved into contact with the first and second housings and the device is removed from the mounting fixture.
根据本发明的另一实施方式,提供了一种运输装置的方法。该方法包括提供耦接至安装固定器具的装置。第一容器设置有旋转地耦接至第二壳体的第一壳体,第一壳体还具有旋转地耦接至端部的第三壳体。第一壳体绕第一轴线相对于第二壳体从第一位置旋转至第二位置。第三壳体绕基本上垂直于第一轴线的第二轴线从第三位置旋转至第四位置。装置的第一部分安置在第二壳体中。第一壳体从第二位置旋转至第一位置以封装装置的第一部分。当装置的第一部分由第一壳体和第二壳体封装时,装置从安装固定器具上拆除。According to another embodiment of the present invention, a method of transporting a device is provided. The method includes providing a device coupled to a mounting fixture. The first container is provided with a first housing rotatably coupled to the second housing, and the first housing also has a third housing rotatably coupled to the end. The first housing rotates about a first axis relative to the second housing from a first position to a second position. The third housing rotates from a third position to a fourth position about a second axis substantially perpendicular to the first axis. The first part of the device is disposed in the second housing. The first housing is rotated from the second position to the first position to enclose the first portion of the device. The device is removed from the mounting fixture when the first portion of the device is enclosed by the first housing and the second housing.
根据本发明的又一实施方式,提供了运输装置的另一方法。该方法包括提供封装在第一容器中的装置,第一容器具有旋转地耦接至第二壳体的第一壳体,第一容器还具有可移动地耦接至端部的第三壳体。移动第三壳体以露出装置的第一部分。装置的第一部分耦接至安装固定器具。第一壳体绕第一轴线相对于第二壳体从第一位置旋转至第二位置,其中,当第一壳体处于第二位置时,露出装置的第二部分。第二壳体从装置的第二部分拆除。According to yet another embodiment of the present invention, another method of transporting a device is provided. The method includes providing a device enclosed in a first container having a first housing rotatably coupled to a second housing, the first container further having a third housing movably coupled to an end . The third housing is moved to expose the first portion of the device. The first portion of the device is coupled to the mounting fixture. The first housing rotates relative to the second housing about the first axis from a first position to a second position, wherein a second portion of the device is exposed when the first housing is in the second position. The second housing is removed from the second part of the device.
附图说明Description of drawings
现参照附图,示出了示例性的实施方式,示例性的实施方式不应理解为关于本发明的整个范围的限制,并且其中,在多个附图中,元件被同样地标记:Referring now to the drawings, there are shown exemplary embodiments, which should not be construed as limitations on the full scope of the invention, and wherein, in the several drawings, elements are numbered alike:
图1——包括图1A至1D——为用于具有本发明的多个方面的实施方式的装置的容器的附图;Figure 1 - comprising Figures 1A to 1D - is a drawing of a container for a device having an embodiment of aspects of the invention;
图2——包括图2A至2C——为根据另一实施方式的用于装置的容器的附图;Figure 2 - comprising Figures 2A to 2C - is a drawing of a container for a device according to another embodiment;
图3为计量仪器的立体图;Figure 3 is a perspective view of a measuring instrument;
图4为根据本发明的实施方式的用于诸如图3的AACMM的计量仪器的容器的立体图;4 is a perspective view of a container for a metering instrument, such as the AACMM of FIG. 3 , in accordance with an embodiment of the present invention;
图5为处于打开位置的图4的容器的侧视图;Figure 5 is a side view of the container of Figure 4 in an open position;
图6为位于安装的计量仪器上方的图4的容器的侧视图;Fig. 6 is a side view of the container of Fig. 4 positioned above the meter installed;
图7为图6的容器的正视图;Figure 7 is a front view of the container of Figure 6;
图8为图6的容器的立体图;Fig. 8 is a perspective view of the container of Fig. 6;
图9为具有封装在容器中的计量仪器的一部分的图4的容器的正视图;Figure 9 is a front view of the container of Figure 4 with a portion of the meter enclosed in the container;
图10为根据本发明的另一实施方式的用于装置的容器布置的立体图;Figure 10 is a perspective view of a container arrangement for a device according to another embodiment of the present invention;
图11为图10的容器布置的俯视图。FIG. 11 is a top view of the container arrangement of FIG. 10 .
具体实施方式Detailed ways
本发明的实施方式提供在装置的保护和运输上的优势。在一个实施方式中,提供了一种容器,该容器提供允许操作者在将装置与安装夹具上分离之前将装置设置在容器中的优势。在另一实施方式中,提供了多个容器,在不同应用过程中——例如,当装置通过运输实体进行运送相比由操作者徒手搬运——多个容器配合使得装置的运输便利。Embodiments of the present invention provide advantages in protection and transport of the device. In one embodiment, a container is provided that provides the advantage of allowing an operator to place the device in the container prior to detaching the device from the mounting fixture. In another embodiment, multiple containers are provided that cooperate to facilitate transport of the device during different applications—for example, when the device is transported by a shipping entity versus when it is handled by an operator by hand.
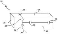
图1A至1D示出了根据本发明的多个实施方式的用于保护和运输装置的容器20。容器20可以用于安装至例如但不限于三角架或者表面安装板的固定器具的装置。容器20可以构造成封装例如但不限于望远镜、照相机、摄影机或者计量仪器的装置。容器包括第一壳体22,该第一壳体22通过一个或者更多个铰链26沿边缘旋转地耦接至第二壳体24。第三壳体28设置在容器20的一个端部处并且通过一个或者更多个铰链32沿边缘30旋转地耦接至第二壳体24。第一壳体22和第二壳体24设置成绕第一轴线34旋转,而第三壳体28设置成绕第二轴线36相对于第二壳体24旋转。在示例性的实施方式中,第二轴线36基本上垂直于第一轴线34。1A to ID illustrate a
第一壳体包括在一个端部40上基本上打开的外壳38。在示例性的实施方式中,外壳38由诸如聚氨酯织物材料的防水材料制成。外壳38限定内部区域,该内部区域定尺寸成接纳插入构件42。插入构件42基本上填满外壳38的内部并且可以由例如开孔聚氨酯泡沫材料或者闭孔聚氨酯泡沫材料制成。插入构件42形成第一壳体22的一面或者一侧,并且当容器20处于关闭位置时插入构件42设置为与第二壳体24邻近。在一个实施方式中,插入构件42可以具有由静电放电(ESD)安全材料制成的织物衬垫44(图1D)。插入物42可以包括一个或者更多个凹槽46,该一个或者更多个凹槽46定尺寸、成形并且定轮廓成接纳装置使得当容器20处于关闭位置时装置保持在凹槽46内基本上不可移动的位置。如文中将更具体地描述的,凹槽46形成与打开端部40邻近的开口48,当第一壳体22和第二壳体24处于关闭位置时,开口48允许装置的一部分延伸出第一壳体22的端部。在一个实施方式中,插入构件42可压缩使得凹槽46小于要被保持的装置并且当容器20关闭时插入构件42压缩使得插入构件42基本上符合装置的外表面。The first housing includes an
第二壳体24构造成类似于第一壳体22。第二壳体24包括具有基本上打开的端部52的外壳50。具有一个或者更多个凹槽56的插入构件54设置在外壳50内。凹槽56定尺寸、成形并且定轮廓成接纳要被保持的装置的至少一部分。凹槽56可以在打开端部52中形成开口,该开口允许装置的一部分延伸出第二壳体24的端部。插入构件54可以由例如聚氨酯的开孔泡沫材料或者闭孔泡沫材料制成,并且插入构件54还具有由ESD安全材料制成的外表面。The
应当理解,当第一壳体22和第二壳体24旋转至关闭位置时,插入物42、54的相对侧可以彼此接触使得要被保持的装置的设置在凹槽46、56中的一部分基本上被封装。当装置被第一壳体22和第二壳体24封装时,保持装置使得壳体20内的装置基本上不移动。It should be understood that when the
第一壳体22和第二壳体24可以包括一个或者更多个锁构件58。锁构件58可以是当容器20处于关闭位置时将壳体22、24牢固地、可靠地并且可松开地接合到一起的任何适当的保持装置。在一个实施方式中,锁构件58是在中心的拉式锁(over-center draw type latch)。第一壳体22和第二壳体24还可以包括有助于操作者搬运容器20的一个或者更多个把手。The
第三壳体28构造成基本上类似于第一壳体22并且第三壳体28包括外壳60和插入物62。插入构件62包括凹槽64,凹槽64定轮廓、定尺寸并且成形为接纳装置的从壳体22、24的打开端部40、52伸出的一部分。外壳60可以由诸如聚氨酯织物材料的防水材料制成,并且插入构件可以由开孔聚氨酯泡沫或者闭孔聚氨酯泡沫制成。插入构件62还可以包括由ESD安全材料制成的衬垫。第三壳体28定尺寸使得当第三壳体28旋转至关闭位置时第三壳体28封闭打开端部40、52。如下文中将更加具体地描述的,在第一壳体22、第二壳体24以及第三壳体28从打开位置(图1C)旋转至关闭位置(图1A至1B)的情况下,装置基本上被封装在容器20内。应当理解,第三壳体28可以可拆除地耦接至或者第一壳体22、或者第二壳体24、或者容器20的另一部分使得当处于关闭位置时第三壳体28封闭打开端部40、52。容器20还可以包括一个或者更多个锁构件66,当处于关闭位置时,一个或者更多个锁构件66将第三壳体28耦接至第一壳体22。The
容器20还可以包括保持装置,该保持装置包括第一构件68和第二构件70,第一构件68和第二构件70配合将第三壳体28保持在打开位置。保持装置可以是机械式或者电磁式保持装置。在一个实施方式中,第三壳体28不具有铰链32并且第三壳体28由锁构件66保持。The
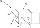
图2A至2C示出根据本发明的另一实施方式的另一容器72。在此实施方式中,容器72包括第一壳体74,第一壳体74通过铰链78绕第一轴线80旋转地耦接至第二壳体76。第一壳体74和第二壳体76以基本上类似于如上文描述的具有外壳、插入构件、以及打开端部的第一壳体22和第二壳体24的方式构造。第一壳体74和第二壳体76还包括凹槽77、79,凹槽77、79定尺寸,定轮廓并且成形为接纳要被保护和运输的装置。当容器处于闭合位置时,第一壳体74和第二壳体76由锁构件82耦接。2A to 2C show another
容器72包括由铰链86绕第二轴线88旋转地耦接至第二壳体76的第三壳体84。在此实施方式中,第二轴线88基本上平行于第一轴线80。第三壳体84构造成基本上类似于具有外壳和带有凹槽90的插入构件的第三壳体28。第三壳体84由锁构件92保持至第一壳体74。The
本领域中的普通技术人员将会理解,本发明的容器不必限制于任何特定形状——而是形状可以由要被储存在其中的装置或者诸如容器被储存和运输的环境的其它考虑所决定。同样地,壳体不需要按照所公开的实施方式进行定向,并且壳体不必以如公开的旋转方式长期不变地耦接。本领域中的普通技术人员将认识到可以使用包括可拆除的附接装置的其它附接机构和布置、来实施本发明的。用于容器的外部和内部的多种材料可以在本发明的范围内使用。Those of ordinary skill in the art will appreciate that the containers of the present invention are not necessarily limited to any particular shape - rather the shape may be dictated by the device in which they are to be stored or other considerations such as the environment in which the container is stored and transported. Likewise, the housings need not be oriented in accordance with the disclosed embodiments, and the housings need not be permanently coupled in a rotational manner as disclosed. Those of ordinary skill in the art will recognize that other attachment mechanisms and arrangements, including removable attachment means, may be used to practice the present invention. A variety of materials for the exterior and interior of the container can be used within the scope of the present invention.
可以利用该容器的一个应用是关于计量仪器。图3以立体方式示出了计量仪器、例如手提关节臂式坐标测量机(AACMM)100,关节臂是坐标测量机的一种类型。如图3中所示,示例性的AACMM100可以包括六个或者七个轴线关节测量装置,其具有测量探针壳体102,测量探针壳体102在一个端部处耦接至AACMM100的臂部104。臂部104包括第一臂段106,第一臂段106通过第一组轴承盒110(例如两个轴承盒)耦接至第二臂段108。第二组轴承盒112(例如两个轴承盒)将第二臂段108耦接至测量探针壳体102。第三组轴承盒114(例如三个轴承盒)将第一臂段106耦接至位于AACMM100的臂部104的另一端部处的底部116。每一组轴承盒110、112、114提供关节运动的多个轴。另外,测量探针壳体102可以包括AACMM100的第七轴线部的轴(例如,盒包括编码系统,编码系统确定诸如探针118的测量装置在AACMM100的第七轴线中的的运动)。在AACMM100的使用中,底部116通常附接至工作表面。One application in which the container may be utilized is in relation to metering instruments. FIG. 3 shows a metrology instrument, such as an articulated arm coordinate measuring machine (AACMM) 100 , which is a type of coordinate measuring machine, in perspective. As shown in FIG. 3 , an
底部116可以包括附接装置或者安装装置120。安装装置120允许AACMM100可拆除地安装至所需位置,例如三角架、检测台、加工中心、墙壁或者地面。在示例性的AACM100中,底部116包括把手部122,把手部122为操作者提供用于当AACMM100被移动时握住底部116的方便的位置。底部116还包括可动盖部124,可移动盖部124向下折叠以展现用户界面、例如显示屏。The base 116 may include attachment means or mounting
应当理解,当计量仪器在设施之间运输或者从一个位置运送到另一位置时,最好为例如AACMM100的计量仪器提供一定水平的保护,以防止仪器校准的不经意的损坏或者改变。还应了解,诸如AACMM100的计量仪器在未安装到工作表面的情况下由于装置的重量和轴承盒组110、112、114和臂段106、108提供的自由度而可能难以操控。It should be appreciated that when the meter is transported between facilities or from one location to another, it is desirable to provide a level of protection for a meter such as the
参照图4至5,提供了容器400的实施方式,其可以封装并且保护例如例如AACMM100的计量仪器。容器400包括第一壳体402,第一壳体402通过一个或者更多个铰链沿边缘406旋转地耦接至第二容器404。第三壳体408设置在容器400的一个端部处并且通过一个或者更多个铰链沿边缘410旋转地耦接至第二壳体404。第一壳体402和第二壳体404设置成绕第一轴线412旋转,而第三壳体408绕第二轴线414相对于第二壳体404旋转。在一个实施方式中,第一轴线412基本上垂直于第二轴线414。Referring to FIGS. 4-5 , an embodiment of a
第一壳体402包括外壳416,外壳416基本上在一个端部418上打开。外壳416限定基本上由插入物420填满的空心内部区域。插入物420的表面形成第一壳体402的一侧。在一个实施方式中,插入物420的表面包括由静电放电安全材料制成的织物衬垫。插入物420包括凹槽422。凹槽422可以定轮廓、定尺寸并且成形为接纳计量仪器的一部分。在一个实施方式中,凹槽422可以成形为接纳图3的AACMM100的一部分424(图6),其中,凹槽422包括分隔开的区域,分隔开的区域定尺寸、成形并且定轮廓为接纳例如第一臂段106、第二臂段108、测量探针壳体102以及底部116的至少一部分。The
第二壳体404构造成类似于第一壳体402并且包括具有基本上打开的端部430的外壳426。插入物428位于外壳426的内部并且包括凹槽432,凹槽432定轮廓、定尺寸并且成形为接纳计量仪器的一部分。在一个实施方式中,外壳426包括外表面442,外表面442具有设置为与端部430邻近的构件444。在示例性的实施方式中,构件444是定位成与设置在第三壳体408上的磁体446相配合的板。应当理解,当第一壳体402和第二壳体404旋转至关闭位置时,插入物420、428的相对侧可以彼此接触使得计量仪器的设置在凹槽422、432中的部分424基本上被封装。当计量仪器被第一壳体402和第二壳体404封装时,保持计量仪器使得计量仪器在容器400内基本上不动。The
第一壳体402和第二壳体404可以包括沿与铰链相对的侧部436设置的一个或者更多个锁构件434。锁构件434可以包括当处于关闭位置时将壳体402、404牢固地、可靠地和可松开地耦接在一起的任何适当的保持装置。在一个实施方式中,锁构件434是在中心的拉式锁,其具有钳或者钩构件,该钳或者钩构件被保持在设置在第二壳体404的侧部437上的狭槽435中。第一壳体402和第二壳体404还可以包括一个或者更多个把手438、440,把手438、440有助于操作者搬运容器400。在一个实施方式中,把手438从容器400的中心偏移以补偿计量仪器的重心并且与计量仪器的重心对准。The
第三壳体408构造成类似于具有外壳448和插入物450的第一壳体402。插入物450可以包括凹槽452,凹槽452定尺寸、成形并且定轮廓为接纳计量仪器的一部分。第三壳体408定尺寸使得当第三壳体408旋转至关闭位置时第三壳体408封闭打开端部418、430。如下文中更加具体地描述的,当第一壳体402、第二壳体404以及第三壳体408旋转至关闭位置时,计量仪器可以基本上被封装在容器400内。壳体400还可以包括一个或者更多个锁构件454(图9),当处于关闭位置时,一个或者更多个锁构件454将第三壳体408耦接至第一壳体402。The
在示例性的实施方式中,第三壳体408包括具有突出部458的外表面456。磁性构件446安装在突出部458上。磁性构件446与板构件444相配合以将第三壳体408保持在打开位置。应当理解,在其它实施方式中,板构件444和磁性构件446的位置可以通过将磁性构件446耦接至表面442并且将板构件444耦接至第三壳体408而进行互换。在其它实施方式中,磁性构件446和板构件444由机械锁闭装置替代。In the exemplary embodiment,
参照图6至9,将描述包装诸如AACMM100的计量仪器的方法。诸如AACMM100、激光跟踪器、三维成像仪、全站仪、经纬仪或者旋转水平仪(rotating level)的计量仪器在操作过程中通常安装至工作表面460。应当理解,工作表面460还可以包括其它支撑装置,例如但不限于三角架、自立式的固定器具、安装在壁上的固定器具或者安装在天花板上的夹固定器具。工作表面460提供牢固的并且基本上刚性的底部用于支撑计量仪器。计量仪器可以通过诸如安装装置462的固定器具附接至工作表面460。安装装置462可以是磁性安装装置,例如在题目为“具有改进的配衡的手提式坐标测量仪(Portable CoordinateMeasurement Machine with Improved Counter Balance)”的共同拥有的美国专利6,904,691中所描述的,该专利的全部内容通过参引的方式并入本文。计量仪器可以通过例如螺纹环120可拆除地耦接至安装装置462。当操作者需要拆除计量仪器时,螺纹环120旋转以将螺纹环从安装装置462上松开。Referring to FIGS. 6 to 9 , a method of packaging a meter such as the
应当理解,计量仪器通常使用在拥挤的区域或者为操作者提供利用位于安装区域的其它装置或者设备接触计量仪器的区域中。就AACMM100而言,AACMM100的操纵还由于通过轴承盒110、112、114提供的自由度而变得进一步复杂。文中提供的容器400的一个优势在于在将计量仪器从安装装置462上拆下来之前将计量仪器至少部分地封装在容器400内的能力。将计量仪器固定在容器400内的能力还提供其它优势,因为臂段106、108如果不被抑制则基本上自由地旋转或者摇摆。如果臂段106、108在被操纵时旋转远离操作者,那么质心可能快速地和不可控制地改变。因此,可能发生计量仪器昂贵地损坏和仪器会无法使用的停工期。由于在容器400中计量仪器更易于控制(例如臂被抑制),具有更大范围的身体尺寸的操作者可以处理安装和移除,节省了时间并且向计量仪器的拥有者提供了额外的劳动力的灵活性。It should be appreciated that gauges are often used in congested areas or areas that provide operators with access to the gauge with other devices or equipment located in the installation area. In the case of the
当操作者需要移动或者运输计量仪器时,操作者从第一壳体402上将第三壳体408开锁并且将第三壳体旋转至打开位置,其中,磁性锁构件446将第三壳体408保持为打开。第一壳体402和第二壳体404开锁从而允许第二壳体404旋转离开关闭位置。在容器400打开的情况下,操作者可以继而将计量仪器的部分424安置在凹槽422、432中的其中一个凹槽中。应当理解,诸如磁性锁444、446的保持装置将第三壳体408保持在打开位置(图7),从而当计量仪器仍然被安装在工作表面460时降低对计量仪器在容器400中进行放置的干扰。第一壳体402和第二壳体404继而旋转至关闭位置以将计量仪器的部分424封装并且保持在凹槽422、432内。When the operator needs to move or transport the meter, the operator unlocks the
一旦第一壳体402和第二壳体404设置在关闭位置,可以利用锁构件434将第一壳体402和第二壳体404保持在关闭位置(图9)。在计量仪器部分424被封装在第一壳体402和第二壳体404内的情况下,操作者可以使计量仪器脱离工作表面460同时保护部分424不受损坏。在使计量仪器脱离之后,操作者可以例如通过把手438使壳体和装置移动远离安装装置462。操作者可以继而将第三壳体408从磁性锁444、446上释放并且将第三壳体408旋转至关闭位置。随着第三壳体408旋转,计量仪器的剩余部分被封装在凹槽452内。在第三壳体处于关闭位置的情况下,锁构件454可以用于将第三壳体408固定至第一壳体402,从而允许操作者将计量仪器输送到容器400内。Once the
应当理解,安装储存在容器中的计量仪器的方法基本上与上述步骤相反。为了安装计量仪器,第三壳体408旋转远离计量仪器以露出计量仪器的底部。该底部可以继而被安装至工作表面460。在计量仪器被牢固地安装的情况下,第一壳体402和第二壳体404分开,从而允许容器400从计量仪器上拆除。It should be understood that the method of installing a meter stored in a container is essentially the reverse of the steps described above. To install the meter, the
还应当理解,虽然文中描述的实施方式提及计量仪器,但是这是出于示例性的目的并且所要求的发明不应该被此限制。安装例如但不限于乐器、照相机、摄像机、或者望远镜的另外的安装的装置的方法基本上是相同的。It should also be understood that while the embodiments described herein refer to metering instruments, this is for illustrative purposes and the claimed invention should not be so limited. The method of mounting additional mounted devices such as but not limited to musical instruments, cameras, video cameras, or telescopes is substantially the same.
在某些情况下,操作者可以将装置运输到更远的地方并且使用例如以第三方运输实体的服务。在这些应用中,操作者可能希望对装置的额外保护以防止在运输过程中对装置的损坏。参照图10至11,示出了装置运输罩500的另一实施方式。在该实施方式中,装置被封装在如上文中所描述的内容器400中。提供第二容器或者外容器502,其具有底部504和顶盖或者盖构件506。In some cases, the operator may ship the device further afield and use, for example, the services of a third-party shipping entity. In these applications, the operator may desire additional protection for the device to prevent damage to the device during transport. Referring to Figures 10-11, another embodiment of a
底部504具有基本上平行六面体形状并且具有外壳部508和插入构件510。外壳部508可以具有围绕其外缘设置的一个或者更多个凹槽512。一个或者更多个锁构件514可以设置在凹槽512内。锁构件514与盖506上的对应的构件518或者狭槽相配合以在运输过程中将盖506保持在关闭位置。一个或者更多个把手516还可以设置在例如在底部504的端部上的凹槽512内。在一个实施方式中,外壳部508由诸如聚氨酯材料的滚塑成型的塑料材料制成。The bottom 504 has a substantially parallelepiped shape and has a housing part 508 and an
插入构件510布置在外壳部508内。插入构件510包括一个或者更多个开口520、522。在示例性的实施方式中,插入构件510由开孔聚氨酯泡沫材料制成。开口520定尺寸为接纳并且保持容器400。应当理解,装置可以具有在操作过程中可以被操作者使用的一个或者更多个附件装置或者组件。在装置是计量仪器的实施方式中,开口522定尺寸为接纳一个或者更多个附属容器524,一个或者更多个附属容器524包含与计量仪器一起使用的装置和组件。附件可以包括但不限于激光探针、接触探针、条形码阅读器、手电筒、数码相机、摄影机、以及安装装置。
盖构件506是与底部504的类似的构型。盖构件506包括外壳部525和插入部526。在示例性的实施方式中,外壳部525由旋转模塑聚氨酯材料制成。外壳构件525可以具有与底部504中的凹槽512基本上对准的一个或者更多个凹槽528。在示例性实施方式中,插入物526由开孔聚氨酯材料制成。插入物526可以包括定尺寸为与开口520、522相配合以支撑并且保持容器400、524的一个或者更多个凹槽530。在一个实施方式中,插入物526可以包括口袋区域532,其定尺寸为接纳纸质文件、用户手册等等。The
当操作者需要运送装置时,操作者将装置插进如上文中所述的容器400中。容器400继而插进开口520中。操作者希望与装置一起的任何附件可以继而储存在容器524中并且插进开口522中。在容器400、524设置在底部504中的情况下,操作者可以关闭盖构件506并且通过锁构件514固定外容器502。一旦盖构件506被固定,装置被牢固地包裹用于运送。When the operator desires to transport the device, the operator inserts the device into the
尽管已经参照示例实施方式对本发明进行了描述,本领域的普通技术人员可以理解,在不脱离本发明的范围的情况下可以作出多种修改并且本发明的元件可以由等价物替换。另外,在不脱离本发明的基本范围的情况下可以作出多种改型以使特定情况或者材料适应于本发明的教导。因此,意在本发明不限制于作为被认为是实施本发明的最好的模式进行公开的特定实施方式,并且本发明将包括落入随附权利要求的范围内的所有实施方式。另外,术语第一、第二等的使用不表示任何顺序或者重要性,而是使用术语第一、第二等来将一个元件与另一个元件进行区分。另外,术语一(a)、一(an)等不表示数量的限制,而是表示存在至少一个所涉及的物品。While the invention has been described with reference to exemplary embodiments, it will be understood by those skilled in the art that various changes may be made and equivalents may be substituted for elements thereof without departing from the scope of the invention. In addition, many modifications may be made to adapt a particular situation or material to the teachings of the invention without departing from the essential scope thereof. Therefore, it is intended that the invention not be limited to the particular embodiment disclosed as the best mode contemplated for carrying out this invention, and that the invention will include all embodiments falling within the scope of the appended claims. Additionally, the use of the terms first, second, etc. does not denote any order or importance, but rather the terms first, second, etc. are used to distinguish one element from another. In addition, the terms a (a), an (an), etc. do not denote a limitation of quantity, but mean that there is at least one of the referred item.
权利要求书(按照条约第19条的修改)Claims (as amended under Article 19 of the Treaty)
1.一种容器(20),包括:1. A container (20) comprising:
第一壳体(22);a first housing (22);
第二壳体(24);second housing (24);
所述第一壳体(22)和所述第二壳体(24)配合地成形为耦接在一起;said first housing (22) and said second housing (24) are cooperatively shaped to be coupled together;
当所述第一壳体(22)和所述第二壳体(24)耦接在一起时,所述第一壳体(22)和所述第二壳体(24)在一个端部形成开口(48);以及When the first shell (22) and the second shell (24) are coupled together, the first shell (22) and the second shell (24) form a opening (48); and
第三壳体(28),所述第三壳体(28)可拆除地耦接至所述第一壳体和所述第二壳体的与所述开口(48)邻近的端部。A third housing (28) is removably coupled to ends of the first and second housings adjacent the opening (48).
2.根据权利要求1所述的容器(20),其中:2. The container (20) according to claim 1, wherein:
所述第二壳体(24)绕第一轴线(34)旋转地耦接至所述第一壳体(22),其中,所述第一壳体(22)和所述第二壳体(24)旋转至关闭位置;并且The second housing (24) is rotationally coupled to the first housing (22) about a first axis (34), wherein the first housing (22) and the second housing ( 24) Rotate to the closed position; and
所述第三壳体(28)可移动地耦接至所述第二壳体(22)。The third housing (28) is movably coupled to the second housing (22).
3.根据权利要求2所述的容器(20),其中,所述第三壳体(28)绕第二轴线(36)旋转地耦接至所述第二壳体(24),所述第二轴线(36)基本上垂直于所述第一轴线(34)。3. The container (20) of claim 2, wherein the third housing (28) is rotationally coupled to the second housing (24) about a second axis (36), the first The second axis (36) is substantially perpendicular to said first axis (34).
4.根据权利要求3所述的容器(20),还包括:4. The container (20) according to claim 3, further comprising:
至少一个第一锁构件(58),所述至少一个第一锁构件(58)耦接在所述第一壳体(22)与所述第二壳体(24)之间;以及at least one first lock member (58), the at least one first lock member (58) coupled between the first housing (22) and the second housing (24); and
至少一个第二锁构件(66),所述至少一个第二锁构件(66)耦接在所述第二壳体(24)与所述第三壳体(28)之间。At least one second lock member (66) coupled between the second housing (24) and the third housing (28).
5.根据权利要求4所述的容器(20),其中,所述至少一个第二锁构件(66)包括磁性耦接。5. The container (20) of claim 4, wherein the at least one second lock member (66) comprises a magnetic coupling.
6.根据权利要求1所述的容器(20),其中,所述第一壳体(22)、所述第二壳体(24)以及所述第三壳体(28)均包括基本上刚性的外壳(38)、泡沫内构件(42)以及设置在所述泡沫内构件(42)上的衬垫(44),所述衬垫由静电放电安全织物制成。6. The container (20) of claim 1 , wherein the first shell (22), the second shell (24) and the third shell (28) each comprise a substantially rigid The outer shell (38), the foam inner member (42) and the liner (44) arranged on the foam inner member (42), the liner is made of electrostatic discharge safe fabric.
7.根据权利要求6所述的容器(20),其中,所述装置(100)是计量仪器。7. Container (20) according to claim 6, wherein said device (100) is a gauge.
8.根据权利要求7所述的容器(20),其中,所述计量仪器(100)是关节臂坐标测量机、激光跟踪器、激光扫描器、或者三维成像仪。8. The container (20) according to claim 7, wherein the metrology instrument (100) is an articulated arm coordinate measuring machine, a laser tracker, a laser scanner, or a three-dimensional imager.
9.根据权利要求6所述的容器(20),其中,所述装置(100)是望远镜。9. The container (20) of claim 6, wherein the device (100) is a telescope.
10.根据权利要求6所述的容器(20),其中,所述装置(100)是照相机。10. The container (20) of claim 6, wherein the device (100) is a camera.
11.根据权利要求6所述的容器(20),其中,所述装置(100)是全站仪、经纬仪、或者旋转水平仪。11. The container (20) according to claim 6, wherein the device (100) is a total station, a theodolite, or a rotating level.
12.一种容器(500),包括:12. A container (500) comprising:
内容器(400),所述内容器(400)具有旋转地耦接至第二壳体(404)的第一壳体(402),所述内容器(400)具有旋转地耦接至所述第二壳体(404)的一个端部的第三壳体(408);以及An inner container (400) having a first housing (402) rotatably coupled to a second housing (404), the inner container (400) having a first housing (402) rotatably coupled to the a third housing (408) at one end of the second housing (404); and
外容器(502),所述外容器(502)具有底部构件(504),所述底部构件(504)具有定尺寸为接纳所述内容器(400)的第一开口(520),所述外容器(502)还具有顶盖构件(506),所述顶盖构件(506)沿所述底部构件(504)的一侧旋转地耦接,其中,当所述顶盖构件(506)旋转至与所述底部构件(504)接触时,所述底部构件(504)和所述顶盖构件(506)配合封装所述内容器(400)。an outer container (502) having a bottom member (504) having a first opening (520) dimensioned to receive the inner container (400), the outer The container (502) also has a top cover member (506) rotationally coupled along one side of the bottom member (504), wherein when the top cover member (506) is rotated to When in contact with the bottom member (504), the bottom member (504) and the top cover member (506) cooperate to encapsulate the inner container (400).
13.根据权利要求12所述的容器(500),其中,所述外容器(502)包括多个第二开口(522),所述多个第二开口(522)中的每一个定尺寸为接纳附属容器(524)。13. The container (500) according to claim 12, wherein said outer container (502) comprises a plurality of second openings (522), each of said plurality of second openings (522) being dimensioned as Accessory container (524) is received.
14.根据权利要求12中所述的容器(500),还包括锁构件(444、446),所述锁构件(444、446)可松开地设置在所述第二壳体(404)与所述第三壳体(408)之间。14. The container (500) of claim 12, further comprising a lock member (444, 446), said lock member (444, 446) being releasably disposed between said second housing (404) and between the third shells (408).
15.根据权利要求14所述的容器(500),其中,所述锁构件(444、446)包括磁性构件(446)。15. The container (500) of claim 14, wherein the lock member (444, 446) comprises a magnetic member (446).
16.根据权利要求15所述的容器(500),其中,所述第一壳体(402)、所述第二壳体(404)以及所述第三壳体(408)均包括基本上刚性的外壳(416)、泡沫内构件(420)以及设置在所述泡沫内构件(420)上的衬垫,所述衬垫由静电放电安全织物制成。16. The container (500) of claim 15, wherein the first shell (402), the second shell (404) and the third shell (408) each comprise a substantially rigid An outer shell (416), a foam inner member (420) and a liner disposed on the foam inner member (420), the liner is made of electrostatic discharge safe fabric.
17.根据权利要求16所述的容器(500),其中,所述内容器定尺寸为接纳计量仪器。17. The container (500) of claim 16, wherein the inner container is dimensioned to receive a meter.
18.根据权利要求17所述的容器(500),其中,所述计量仪器是关节臂坐标测量机、激光跟踪器、激光扫描器或者三维成像仪。18. The container (500) of claim 17, wherein the metrology instrument is an articulated arm coordinate measuring machine, a laser tracker, a laser scanner, or a three-dimensional imager.
19.根据权利要求16所述的容器(500),其中,所述内容器定尺寸为接纳望远镜。19. The container (500) of claim 16, wherein the inner container is sized to receive a telescope.
20.根据权利要求16所述的容器(500),其中,所述内容器定尺寸为接纳照相机。20. The container (500) of claim 16, wherein the inner container is sized to receive a camera.
21.根据权利要求16所述的容器(500),其中,所述内容器定尺寸为接纳全站仪、经纬仪、或者旋转水平仪。21. The container (500) of claim 16, wherein the inner container is sized to receive a total station, a theodolite, or a rotating level.
22.一种容器(400),包括:22. A container (400) comprising:
第一壳体(402),所述第一壳体(402)具有第一外壳(416)和第一侧,所述第一外壳(416)具有打开端部(418);a first housing (402), the first housing (402) having a first housing (416) and a first side, the first housing (416) having an open end (418);
第二壳体(404),所述第二壳体(404)具有第二外壳(426)和第二侧,所述第二外壳(426)具有打开端部(430),所述第二壳体(404)绕第一轴线(412)旋转地耦接至所述第一壳体(402);以及A second housing (404) having a second housing (426) and a second side, the second housing (426) having an open end (430), the second housing a body (404) rotationally coupled to said first housing (402) about a first axis (412); and
第三壳体(408),所述第三壳体(408)可移动地耦接至所述第二壳体(404),所述第三壳体(408)具有第三凹槽(452)。a third housing (408), the third housing (408) is movably coupled to the second housing (404), the third housing (408) has a third groove (452) .
23.根据权利要求22所述的容器(400),其中,所述第三壳体(408)耦接为绕第二轴线(414)在第一位置与第二位置之间旋转。23. The container (400) of
24.根据权利要求23所述的容器(400),其中:24. The container (400) of claim 23, wherein:
所述第三壳体(408)包括与所述第二轴线(414)邻近的第四侧;并且said third housing (408) includes a fourth side adjacent said second axis (414); and
所述第四侧可拆除地耦接至所述第二壳体(404)。The fourth side is removably coupled to the second housing (404).
25.根据权利要求24所述的容器(400),还包括设置在所述第四侧与所述第二壳体(404)之间的磁性锁(444、446)。25. The container (400) of
26.根据权利要求25所述的容器(400),其中,所述磁性锁(444、446)包括板构件(444)和磁性构件(446)。26. The container (400) of claim 25, wherein the magnetic lock (444, 446) comprises a plate member (444) and a magnetic member (446).
27.根据权利要求26所述的容器(400),其中,所述第二轴线(414)基本上垂直于所述第一轴线(412)。27. The container (400) of
28.根据权利要求27所述的容器(400),其中,所述第一壳体、所述第二壳体和所述第三壳体定尺寸为当处于关闭位置时接纳计量仪器。28. The container (400) of claim 27, wherein the first housing, the second housing and the third housing are dimensioned to receive a gauge when in the closed position.
29.根据权利要求28所述的容器(400),其中,所述计量仪器是关节臂坐标测量机、激光跟踪器、激光扫描器、或者三维成像仪。29. The container (400) of
30.根据权利要求27所述的容器(400),其中,所述第一壳体、所述第二壳体和所述第三壳体定尺寸为当处于关闭位置时接纳望远镜。30. The container (400) of claim 27, wherein the first housing, the second housing, and the third housing are dimensioned to receive a telescope when in the closed position.
31.根据权利要求27所述的容器(400),其中,所述第一壳体、所述第二壳体和所述第三壳体定尺寸为当处于关闭位置时接纳照相机。31. The container (400) of claim 27, wherein the first housing, the second housing, and the third housing are sized to receive a camera when in the closed position.
32.一种运输装置的方法,包括:32. A method of transporting a device, comprising:
提供耦接至安装固定器具(462)的所述装置(100);providing said device (100) coupled to a mounting fixture (462);
提供第一容器(400),所述容器具有旋转地耦接至第二壳体(404)的第一壳体(402),所述第一壳体(400)还具有旋转地耦接至端部的第三壳体(408);A first container (400) is provided having a first housing (402) rotatably coupled to a second housing (404), the first housing (400) also having a first housing (400) rotatably coupled to an end The third housing (408) of the part;
使所述第一壳体(402)绕第一轴线(412)相对于所述第二壳体(404)从第一位置旋转至第二位置;rotating the first housing (402) about a first axis (412) relative to the second housing (404) from a first position to a second position;
使所述第三壳体(408)绕基本上垂直于所述第一轴线(412)的所述第二轴线(414)从第三位置旋转至第四位置;rotating said third housing (408) about said second axis (414) substantially perpendicular to said first axis (412) from a third position to a fourth position;
将所述装置(100)的第一部分(424)安置在所述第二壳体(404)中;disposing the first portion (424) of the device (100) in the second housing (404);
将所述第一壳体(402)从所述第二位置旋转至所述第一位置以封装所述装置(100)的所述第一部分(424);并且rotating the first housing (402) from the second position to the first position to enclose the first portion (424) of the device (100); and
当所述装置(100)的所述第一部分由所述第一壳体(402)和所述第二壳体(404)封装时,将所述装置(100)从所述安装固定器具(462)上拆开。When the first part of the device (100) is enclosed by the first housing (402) and the second housing (404), the device (100) is removed from the mounting fixture (462 ) on the disassembled.
33.根据权利要求32所述的方法,还包括将所述第三壳体(408)从所述第四位置旋转至所述第三位置以将所述装置(100)封装在所述第一壳体(400)内。33. The method of
34.根据权利要求33所述的方法,还包括在所述第四位置将所述第三壳体(408)耦接至所述第二壳体(404)。34. The method of claim 33, further comprising coupling the third housing (408) to the second housing (404) at the fourth position.
35.根据权利要求34所述的方法,其还包括设置磁性锁(444、446),以在所述第四位置将所述第三壳体(408)耦接至所述第二壳体(404)。35. The method of
36.根据权利要求32所述的方法,还包括提供第二容器(502),所述第二容器(502)具有底部(504)和顶盖部(506),所述底部(504)具有定尺寸为接纳所述第一容器(400)的至少一个凹槽(512)。36. The method of
37.根据权利要求36所述的方法,还包括在将所述第三壳体(408)从所述第四位置旋转至所述第三位置之后,将所述第一壳体(400)设置在所述至少一个凹槽(512)中。37. The method of
38.一种运输装置(100)的方法,包括:38. A method of transporting a device (100), comprising:
提供封装在第一容器(400)中的装置(100),所述第一容器(400)具有旋转地耦接至第二壳体(404)的第一壳体(402),所述第一容器(400)还具有可移动地耦接至端部的第三壳体(408);A device (100) is provided enclosed in a first container (400), the first container (400) having a first housing (402) rotatably coupled to a second housing (404), the first the container (400) also has a third housing (408) movably coupled to the end;
移动所述第三壳体(408)以露出所述装置(100)的第一部分(424);moving said third housing (408) to expose a first portion (424) of said device (100);
将所述装置(100)的所述第一部分(424)耦接至安装固定器具(462);coupling said first portion (424) of said device (100) to a mounting fixture (462);
将所述第一壳体(402)绕第一轴线(412)相对于所述第二壳体(404)从第一位置旋转至第二位置,其中,当所述第一壳体(402)处于所述第二位置时,露出所述装置(100)的第二部分;并且rotating the first housing (402) about a first axis (412) relative to the second housing (404) from a first position to a second position, wherein when the first housing (402) in said second position, a second portion of said device (100) is exposed; and
将所述第二壳体(404)从所述装置(100)的所述第二部分上拆除。The second housing (404) is detached from the second portion of the device (100).
39.根据权利要求38所述的装置,其中,所述第三壳体(408)绕第二轴线(414)在第三位置与第四位置之间旋转地耦接至所述第一容器(400)的所述端部。39. The apparatus of
40.根据权利要求39所述的方法,还包括:40. The method of claim 39, further comprising:
将所述第三壳体(408)从所述第四位置旋转至所述第三位置以露出所述装置(100)的所述第一部分(424);并且rotating the third housing (408) from the fourth position to the third position to expose the first portion (424) of the device (100); and
在所述第四位置将所述第三壳体(408)耦接至所述第二壳体(404)。The third housing (408) is coupled to the second housing (404) in the fourth position.
41.根据权利要求40所述的方法,还包括:41. The method of
提供具有底部(504)和顶盖部(506)的第二容器(500),所述底部(504)具有定尺寸为接纳所述第一容器(400)的至少一个凹槽(512);并且providing a second container (500) having a bottom (504) and a top portion (506), the bottom (504) having at least one groove (512) sized to receive the first container (400); and
在将所述第三壳体(408)从所述第四位置旋转至所述第三位置之前,将所述第一容器(400)从所述至少一个凹槽(512)拆除。The first container (400) is removed from the at least one recess (512) prior to rotating the third housing (408) from the fourth position to the third position.
| Application Number | Priority Date | Filing Date | Title |
|---|---|---|---|
| PCT/US2011/021248WO2012096669A1 (en) | 2011-01-14 | 2011-01-14 | Case for a device |
| Publication Number | Publication Date |
|---|---|
| CN103313626Atrue CN103313626A (en) | 2013-09-18 |
| CN103313626B CN103313626B (en) | 2015-11-25 |
| Application Number | Title | Priority Date | Filing Date |
|---|---|---|---|
| CN201180065061.0AExpired - Fee RelatedCN103313626B (en) | 2011-01-14 | 2011-01-14 | For the container of device |
| Country | Link |
|---|---|
| JP (1) | JP5771286B2 (en) |
| CN (1) | CN103313626B (en) |
| DE (1) | DE112011104712B4 (en) |
| GB (1) | GB2501846B (en) |
| WO (1) | WO2012096669A1 (en) |
| Publication number | Priority date | Publication date | Assignee | Title |
|---|---|---|---|---|
| CN106723798B (en)* | 2016-12-13 | 2018-08-03 | 蒋钱 | A kind of portable cameras placer |
| Publication number | Priority date | Publication date | Assignee | Title |
|---|---|---|---|---|
| US1918813A (en)* | 1932-02-02 | 1933-07-18 | Kinzy Jacob | Camera case |
| JPH08164013A (en)* | 1994-12-13 | 1996-06-25 | Nikon Corp | Trunk case for lens barrel |
| JPH1116334A (en)* | 1997-06-26 | 1999-01-22 | Sony Corp | Buckle structure of cassette player |
| JP2000121954A (en)* | 1998-10-20 | 2000-04-28 | Kazuya Kitamura | Telescope stand in common use as storage box |
| DE202007018372U1 (en)* | 2007-04-02 | 2008-06-05 | Lorch Schweißtechnik GmbH | Transport device for an electric welding device |
| Publication number | Priority date | Publication date | Assignee | Title |
|---|---|---|---|---|
| JPH04208103A (en)* | 1990-11-30 | 1992-07-29 | Sony Corp | Carrying case for electronic appliance |
| JP3189843B2 (en)* | 1991-04-15 | 2001-07-16 | ソニー株式会社 | Camera case |
| JP2000206601A (en)* | 1999-01-13 | 2000-07-28 | Zeni Lite Buoy Co Ltd | Cable transmission type underwater observation apparatus carrying case |
| JP2002072348A (en)* | 2000-08-30 | 2002-03-12 | Olympus Optical Co Ltd | Case for camera |
| JP2003165578A (en)* | 2001-11-30 | 2003-06-10 | Kyoraku Co Ltd | Storage case |
| AU2003223173A1 (en) | 2002-02-14 | 2003-09-04 | Faro Technologies, Inc. | Portable coordinate measurement machine with integrated line laser scanner |
| Publication number | Priority date | Publication date | Assignee | Title |
|---|---|---|---|---|
| US1918813A (en)* | 1932-02-02 | 1933-07-18 | Kinzy Jacob | Camera case |
| JPH08164013A (en)* | 1994-12-13 | 1996-06-25 | Nikon Corp | Trunk case for lens barrel |
| JPH1116334A (en)* | 1997-06-26 | 1999-01-22 | Sony Corp | Buckle structure of cassette player |
| JP2000121954A (en)* | 1998-10-20 | 2000-04-28 | Kazuya Kitamura | Telescope stand in common use as storage box |
| DE202007018372U1 (en)* | 2007-04-02 | 2008-06-05 | Lorch Schweißtechnik GmbH | Transport device for an electric welding device |
| Publication number | Publication date |
|---|---|
| GB2501846B (en) | 2014-05-21 |
| GB201314464D0 (en) | 2013-09-25 |
| GB2501846A (en) | 2013-11-06 |
| DE112011104712B4 (en) | 2015-10-08 |
| JP2014503318A (en) | 2014-02-13 |
| JP5771286B2 (en) | 2015-08-26 |
| WO2012096669A1 (en) | 2012-07-19 |
| CN103313626B (en) | 2015-11-25 |
| DE112011104712T5 (en) | 2013-12-12 |
| Publication | Publication Date | Title |
|---|---|---|
| US8607536B2 (en) | Case for a device | |
| US8281923B2 (en) | Optical lens case | |
| CN102639959B (en) | Coordinate measurement device | |
| US5855343A (en) | Camera clip | |
| CN110366666B (en) | Vaccine carrier with passive cooling system | |
| GB2580708A (en) | Thermally insulated containers | |
| CN101259612A (en) | Carriable and wall mountable tool storage system | |
| US20050243522A1 (en) | Combined packaging and storage apparatus having added functionality | |
| US20120262854A1 (en) | Protective casing for a portable electronic apparatus | |
| US9655420B2 (en) | Inspection pouch | |
| CN103313626B (en) | For the container of device | |
| US20200121050A1 (en) | Virtual reality kit | |
| JP5778929B2 (en) | Storage case for measuring instrument | |
| WO2013188570A2 (en) | System and method for modular and interchangeable human interface solutions for portable electronic devices | |
| CN213397340U (en) | Weight calibrating device for pull-out force test tool | |
| CN213481523U (en) | Platform scale convenient to carry | |
| CN211527410U (en) | Portable surveying instrument | |
| CN217738445U (en) | Portable wireless electronic scale | |
| KR101951718B1 (en) | Equipment for leveling at night | |
| CN207622688U (en) | Reallocation of land area measuring device | |
| CN223284131U (en) | Dam inspection equipment | |
| CN211544399U (en) | A appurtenance case for building measurement | |
| CN213293147U (en) | Surveying instrument containing box | |
| CN211841926U (en) | Portable toolbox of examining room | |
| CN223291366U (en) | Material Box |
| Date | Code | Title | Description |
|---|---|---|---|
| C06 | Publication | ||
| PB01 | Publication | ||
| C10 | Entry into substantive examination | ||
| SE01 | Entry into force of request for substantive examination | ||
| C14 | Grant of patent or utility model | ||
| GR01 | Patent grant | ||
| CF01 | Termination of patent right due to non-payment of annual fee | ||
| CF01 | Termination of patent right due to non-payment of annual fee | Granted publication date:20151125 Termination date:20160114 |