Movatterモバイル変換


[0]ホーム

URL:


CN103163615A - Dual shot device - Google Patents

Dual shot device
Download PDF

Info

Publication number
CN103163615A
CN103163615ACN2011104171373ACN201110417137ACN103163615ACN 103163615 ACN103163615 ACN 103163615ACN 2011104171373 ACN2011104171373 ACN 2011104171373ACN 201110417137 ACN201110417137 ACN 201110417137ACN 103163615 ACN103163615 ACN 103163615A
Authority
CN
China
Prior art keywords
circuit board
lens
main circuit
lens module
dual
Prior art date
Legal status (The legal status is an assumption and is not a legal conclusion. Google has not performed a legal analysis and makes no representation as to the accuracy of the status listed.)
Granted
Application number
CN2011104171373A
Other languages
Chinese (zh)
Other versions
CN103163615B (en
Inventor
张仁淙
Current Assignee (The listed assignees may be inaccurate. Google has not performed a legal analysis and makes no representation or warranty as to the accuracy of the list.)
Hongfujin Precision Industry Shenzhen Co Ltd
Hon Hai Precision Industry Co Ltd
Original Assignee
Hongfujin Precision Industry Shenzhen Co Ltd
Hon Hai Precision Industry Co Ltd
Priority date (The priority date is an assumption and is not a legal conclusion. Google has not performed a legal analysis and makes no representation as to the accuracy of the date listed.)
Filing date
Publication date
Application filed by Hongfujin Precision Industry Shenzhen Co Ltd, Hon Hai Precision Industry Co LtdfiledCriticalHongfujin Precision Industry Shenzhen Co Ltd
Priority to CN201110417137.3ApriorityCriticalpatent/CN103163615B/en
Publication of CN103163615ApublicationCriticalpatent/CN103163615A/en
Application grantedgrantedCritical
Publication of CN103163615BpublicationCriticalpatent/CN103163615B/en
Expired - Fee Relatedlegal-statusCriticalCurrent
Anticipated expirationlegal-statusCritical

Links

Images

Landscapes

Abstract

Translated fromChinese

一种双镜头拍摄装置,其包括主电路板、设置于主电路板上的两个镜头模组、设置于主电路板上的控制器、设置于主电路板上且与镜头模组连接的镜头模组倾斜机构、设置于镜头模组上的位置传感器及与该位置传感器和主电路板相连的柔性电路板,控制器控制该镜头模组倾斜机构调节该镜头模组的倾斜角度,位置传感器感应该倾斜角度信息,并经该柔性电路板及主电路板传递至控制器。上述双镜头拍摄装置具有较低的制造成本及较佳的成像质量。

Figure 201110417137

A dual-lens shooting device comprising a main circuit board, two lens modules arranged on the main circuit board, a controller arranged on the main circuit board, a lens arranged on the main circuit board and connected to the lens modules The module tilt mechanism, the position sensor arranged on the lens module and the flexible circuit board connected with the position sensor and the main circuit board, the controller controls the lens module tilt mechanism to adjust the tilt angle of the lens module, and the position sensor senses The tilt angle information should be transmitted to the controller via the flexible circuit board and the main circuit board. The aforementioned dual-lens shooting device has lower manufacturing cost and better imaging quality.

Figure 201110417137

Description

The two-shot device
Technical field
The present invention relates to a kind of two-shot device, relate in particular to a kind of two-shot device of regulating the depth of field.
Background technology
See also Fig. 1, a kind of two-shot device 20 comprisescircuit board 21 and is fixedly installed on twotight shot modules 23 on circuit board.Because the angular field of view θ of eachtight shot module 23 fixes, and the distance between twotight shot modules 23 is constant, therefore, the field depth of this kind two-shot device 20 is determined, and the numerical value of minimum depth of field D is usually larger, is unfavorable for scenery is nearby taken.
For the field depth that makes two-shot device 20 can be regulated, industry is used the focus-variable lens group usually in the camera lens module, angular field of view with transformation glass head mould group, yet, the eyeglass quantity of zoom lens group is more, and need to use the distance of frequent each eyeglass of conversion of governor motion, cause the manufacturing cost of two-shot device higher, and image quality is lower.
Summary of the invention
In view of above content, be necessary to provide the two-shot that a kind of manufacturing cost is lower and image quality is higher device.
A kind of two-shot device, it comprises main circuit board, be arranged at two camera lens modules on main circuit board, be arranged at controller on main circuit board, be arranged on main circuit board and the camera lens module leaning device that is connected with the camera lens module, the flexible PCB that is arranged at the position transducer on the camera lens module and is connected with main circuit board with this position transducer, controller is controlled the angle of inclination that this camera lens module leaning device is regulated this camera lens module, position transducer is responded to this angle of inclination information, and is passed to controller through this flexible PCB and main circuit board.
Above-mentioned two-shot device is controlled camera lens module leaning device by controller, angle of inclination to the camera lens module is adjusted, with the depth of field of regulating whole two-shot device to satisfy the object of taking different distance, therefore can directly adopt general tight shot module, and need not the zoom lens module that adopts manufacturing cost higher, and do not need the lens position in the camera lens module is regulated, so this kind two-shot device has lower manufacturing cost and better image quality.
Description of drawings
Fig. 1 is a kind of schematic diagram of two-shot device.
Fig. 2 is the schematic diagram of the two-shot device of first embodiment of the invention.
Fig. 3 is the schematic diagram that two-shot device shown in Figure 2 is regulated the depth of field.
Fig. 4 is the schematic diagram of the two-shot device of second embodiment of the invention.
The main element symbol description
The two-shot device30、40
Main circuit board31、41
Controller32、42
Thecamera lens module33、43
Position transducer34、44
Camera lensmodule leaning device35、45
Flexible PCB36、46
Bracing frame351
Location-plate352
Thefirst roller353
Thesecond roller354
Firstregulates line355
Second regulatesline356
Elastic component357
Actuator451
Following embodiment further illustrates the present invention in connection with above-mentioned accompanying drawing.
Embodiment
Below in conjunction with drawings and Examples, case of electronic device of the present invention is described in further detail.
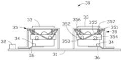
See also Fig. 2, the two-shot device 30 of first embodiment of the invention comprisesmain circuit board 31, be arranged oncontroller 32 onmain circuit board 31, be arranged at twocamera lens modules 33 onmain circuit board 31, be arranged at respectively twoposition transducers 34 on twocamera lens modules 33, be arranged onmain circuit board 31 and twoflexible PCBs 36 of two camera lensmodule leaning devices 35,link position sensor 34 andmain circuit boards 31 being connected with twocamera lens modules 33 respectively.In the present embodiment,position transducer 34 is Hall element.
These two camera lensmodule leaning devices 35 are symmetricly set in the both sides of main circuit board 31.Each camera lensmodule leaning device 35 comprises thebracing frame 351, the location-plate 352 that is connected withcamera lens module 33 that are arranged on main circuit board, be movably set in thefirst roller 353 on location-plate 352 and thesecond roller 354, winding first on thefirst roller 353regulate line 355, winding second on thesecond roller 354regulate line 356 and be connected inbracing frame 351 and location-plate 352 between elastic component 357.The first two ends ofregulating line 355 are individually fixed in the both sides of bracing frame 351.The second two ends of regulatingline 356 are individually fixed in the both sides of bracing frame 351.In the present embodiment, the first adjustingline 355 and second is regulatedline 356 and is made by marmem (SMA, Shape Memory Alloy).Therefore, when first regulateline 355 and second andregulate line 356 and be heated after, its length can be stretched, and can return to original length after cooling.Above-mentioned marmem can be Nitinol, silver-cadmium alloy, ormolu and signal bronze etc.Elastic component 357 is two, and it is arranged at respectively the two ends of location-plate 352, and is in compressive state and has a default elastic force, and in the present embodiment,elastic component 357 is spring.see also Fig. 3, when the depth of field of two-shot device 30 can't satisfy when object is nearby taken,controller 32 is controlled the heating member (not shown) according to the image that photographs the first adjustingline 355 is heated, after heating, first regulatesline 355 deliquescing, under the default elastic force effect near theelastic component 357 of thefirst roller 353, the first length of regulatingline 355 is stretched, because the first length ofregulating line 355 increases, and the second length of regulatingline 356 remains unchanged,camera lens module 33 is withrelative bracing frame 351 run-off the straights, thereby make the depth of field of two-shot device 30 change.Twocamera lens modules 33 in Fig. 3 are because the first length of regulatingline 355 increases, and all to the side run-off the straight near thefirst roller 353, the minimum depth of field H of two-shot thismoment device 30 will diminish, thereby are conducive to take object nearby.In the tilting procedure ofcamera lens module 33,position transducer 34 is passed tocontroller 32 with the real-time position information of itscamera lens module 33 of sensing byflexible PCB 36 andmain circuit board 31, whencamera lens module 33 tilts to the precalculated position,controller 32 is controlled the heating member stopped heating, and controlscamera lens module 33 and take corresponding near objects.After shooting was completed, because the first adjustingline 355 is cooling gradually, it can return to original length, andcamera lens module 33 also can be returned to original position.
Be appreciated that, the first adjustingline 355 and second is regulatedline 356 and also can be made by other metal materials such as copper,elastic component 357 also can omit, at this moment, first end of regulatingline 355 can be fixed to bracingframe 351, the other end is connected to a reel (not shown), and second end of regulatingline 356 is fixed to bracingframe 351, and the other end is connected to another reel.Control the rotation of two reels bycontroller 32,regulate line 355 and the second length of regulatingline 356 to regulate first, thus the depth of field of regulating two-shot device 30.
See also Fig. 4, the two-shot device 40 of second embodiment of the invention comprises main circuit board 41, be arranged on controller 42 on main circuit board 41, be arranged at two camera lens modules 43 on main circuit board 41, be arranged at respectively two position transducers 44 on two camera lens modules 43, be arranged on main circuit board 41 and two flexible PCBs 46 of two camera lens module leaning devices 45, link position sensor 44 and main circuit boards 41 being connected with two camera lens modules 43 respectively.
Camera lens module leaning device 45 comprises four actuators 451 that are arranged between two camera lens modules 43 and main circuit board 41, wherein two actuators 451 are arranged at respectively the two ends, bottom of a camera lens module 43, and two other actuator 451 is arranged at respectively the two ends, bottom of another camera lens module 43.In the present embodiment, actuator 451 is piezoelectric motors.Be appreciated that camera lens module leaning device 45 also can comprise the actuator 451 more than four.
When the depth of field of two-shot device 40 can't satisfy nearby or object at a distance when taking, the angle of inclination that controller 42 is controlled 451 pairs of camera lens modules 43 of actuator according to the image that photographs is regulated, thereby makes the depth of field of two-shot device 40 change.In the tilting procedure of camera lens module 43, position transducer 44 is passed to controller 42 with the real-time position information of its camera lens module 43 of sensing by flexible PCB 46 and main circuit board 41, when camera lens module 43 tilts to the precalculated position, controller 42 is controlled actuator 451 stop motions, and controls camera lens module 43 and take accordingly nearby or distant objects.After shooting was completed, controller 42 was controlled actuator 451 motions so that camera lens module 43 is returned to original position.
In addition, those skilled in the art also can do other variation in spirit of the present invention, and certainly, the variation that these are done according to spirit of the present invention all should be included in the present invention's scope required for protection.

Claims (10)

Translated fromChinese
1.一种双镜头拍摄装置,其包括主电路板及设置于该主电路板上的两个镜头模组,其特征在于:该双镜头拍摄装置还包括设置于该主电路板上的控制器、设置于该主电路板上且与该镜头模组连接的镜头模组倾斜机构、设置于镜头模组上的位置传感器,及与该位置传感器和主电路板电连接的柔性电路板,该控制器用于控制该镜头模组倾斜机构调节该镜头模组的倾斜角度,该位置传感器用于感应该倾斜角度信息,并经该柔性电路板及主电路板传递至该控制器。1. A dual-lens shooting device, comprising a main circuit board and two lens modules arranged on the main circuit board, characterized in that: the dual-lens shooting device also includes a controller arranged on the main circuit board , a lens module tilt mechanism arranged on the main circuit board and connected to the lens module, a position sensor arranged on the lens module, and a flexible circuit board electrically connected to the position sensor and the main circuit board, the control The sensor is used to control the lens module tilt mechanism to adjust the tilt angle of the lens module, and the position sensor is used to sense the tilt angle information and transmit it to the controller through the flexible circuit board and the main circuit board.2.如权利要求1所述的双镜头拍摄装置,其特征在于:所述镜头模组倾斜机构包括设置于该主电路板上的支撑架、与该镜头模组连接的定位板、活动设置于该定位板上的第一滚轮和第二滚轮、绕设在该第一滚轮上的第一调节线、绕设在该第二滚轮上的第二调节线,以及连接于该支撑架与该定位板之间且处于压缩状态的弹性件,第一调节线的两端分别固定于该支撑架的两侧,第二调节线的两端分别固定于该支撑架的两侧。2. The dual-lens shooting device according to claim 1, wherein the tilting mechanism of the lens module includes a support frame arranged on the main circuit board, a positioning plate connected with the lens module, and a positioning plate movably arranged on the main circuit board. The first roller and the second roller on the positioning plate, the first adjustment wire wound on the first roller, the second adjustment wire wound on the second roller, and the support frame connected with the positioning The two ends of the first adjustment line are respectively fixed on both sides of the support frame, and the two ends of the second adjustment line are respectively fixed on both sides of the support frame.3.如权利要求2所述的双镜头拍摄装置,其特征在于:所述第一调节线及第二调节线均由形状记忆合金制成。3. The dual-lens camera device according to claim 2, wherein the first adjustment wire and the second adjustment wire are both made of shape memory alloy.4.如权利要求3所述的双镜头拍摄装置,其特征在于:所述形状记忆合金为镍钛合金、银镉合金、铜锌合金或铜锡合金。4. The dual-lens camera device according to claim 3, wherein the shape memory alloy is nickel-titanium alloy, silver-cadmium alloy, copper-zinc alloy or copper-tin alloy.5.如权利要求2所述的双镜头拍摄装置,其特征在于:所述弹性件为两个,且分别设置于定位板两侧。5 . The dual-lens camera device according to claim 2 , wherein there are two elastic members, which are respectively arranged on two sides of the positioning plate. 6 .6.如权利要求1所述的双镜头拍摄装置,其特征在于:所述镜头模组倾斜机构包括设置于该主电路板上的支撑架、与该镜头模组连接的定位板、活动设置于该定位板上的第一滚轮和第二滚轮、绕设在该第一滚轮上的第一调节线、绕设在该第二滚轮上的第二调节线及两个卷线轮,该第一调节线的一端固定于该支撑架上,另一端连接至一个卷线轮,该第二调节线的一端固定于该支撑架上,另一端连接至另一卷线轮。6. The dual-lens shooting device according to claim 1, wherein the tilting mechanism of the lens module includes a support frame arranged on the main circuit board, a positioning plate connected with the lens module, and a movable plate arranged on the main circuit board. The first roller and the second roller on the positioning plate, the first adjustment wire wound on the first roller, the second adjustment wire wound on the second roller and two winding wheels, the first One end of the adjustment line is fixed on the support frame, and the other end is connected to a winding wheel. One end of the second adjustment line is fixed on the support frame, and the other end is connected to another winding wheel.7.如权利要求1所述的双镜头拍摄装置,其特征在于:所述镜头模组倾斜机构包括设置于镜头模组与主电路板之间的多个驱动件。7 . The dual-lens camera device according to claim 1 , wherein the tilting mechanism of the lens module comprises a plurality of driving elements disposed between the lens module and the main circuit board.8.如权利要求7所述的双镜头拍摄装置,其特征在于:所述驱动件为四个,其中两个驱动件分别设置于一个镜头模组的底部两端,另外两个驱动件分别设置于另一个镜头模组的底部两端。8. The dual-lens shooting device according to claim 7, wherein there are four driving elements, two of which are respectively arranged at both ends of the bottom of a lens module, and the other two are respectively arranged At both ends of the bottom of another lens module.9.如权利要求7所述的双镜头拍摄装置,其特征在于:所述驱动件为压电电动机。9. The dual-lens camera device according to claim 7, wherein the driving member is a piezoelectric motor.10.如权利要求1所述的双镜头拍摄装置,其特征在于:所述位置感应器为霍尔传感器。10. The dual-lens camera device according to claim 1, wherein the position sensor is a Hall sensor.
CN201110417137.3A2011-12-142011-12-14Dual shot deviceExpired - Fee RelatedCN103163615B (en)

Priority Applications (1)

Application NumberPriority DateFiling DateTitle
CN201110417137.3ACN103163615B (en)2011-12-142011-12-14Dual shot device

Applications Claiming Priority (1)

Application NumberPriority DateFiling DateTitle
CN201110417137.3ACN103163615B (en)2011-12-142011-12-14Dual shot device

Publications (2)

Publication NumberPublication Date
CN103163615Atrue CN103163615A (en)2013-06-19
CN103163615B CN103163615B (en)2016-12-21

Family

ID=48586844

Family Applications (1)

Application NumberTitlePriority DateFiling Date
CN201110417137.3AExpired - Fee RelatedCN103163615B (en)2011-12-142011-12-14Dual shot device

Country Status (1)

CountryLink
CN (1)CN103163615B (en)

Cited By (7)

* Cited by examiner, † Cited by third party
Publication numberPriority datePublication dateAssigneeTitle
CN105763771A (en)*2015-04-222016-07-13维沃移动通信有限公司Lens motor, shooting device and mobile terminal
WO2017173648A1 (en)*2016-04-082017-10-12东莞佩斯讯光电技术有限公司Three-dimensional digital photographing device based on dual voice-coil motors capable of controlling lens tilt
CN108111713A (en)*2016-11-252018-06-01塔工程有限公司Camera model housing and the apparatus and method for manufacture with its camera model
CN109416498A (en)*2016-08-082019-03-01剑桥机电有限公司 Dual camera device
CN109738729A (en)*2019-01-212019-05-10莆田学院 A wireless communication box based on smart home and its monitoring method
CN109884772A (en)*2013-07-042019-06-14核心光电有限公司 Slim Dual Aperture Zoom Digital Camera
WO2020243859A1 (en)*2019-06-012020-12-10瑞声光学解决方案私人有限公司Automatic focusing lens assembly and automatic focusing method thereof

Citations (7)

* Cited by examiner, † Cited by third party
Publication numberPriority datePublication dateAssigneeTitle
US5978015A (en)*1994-10-131999-11-02Minolta Co., Ltd.Stereoscopic system with convergence and dioptric power adjustments according to object distance
CN1584737A (en)*2003-08-192005-02-23鸿富锦精密工业(深圳)有限公司Three-dimensional viewfinder digital camera module
CN1922894A (en)*2004-02-252007-02-28诺基亚有限公司Electronic equipment and method in electronic equipment for forming image information and a program product for implementation of the method
US7190389B1 (en)*1999-07-072007-03-13Pentax CorporationStereo camera
CN101872111A (en)*2009-04-212010-10-27鸿富锦精密工业(深圳)有限公司 image capture device
CN101959012A (en)*2009-07-172011-01-26鸿富锦精密工业(深圳)有限公司 camera module
CN102103320A (en)*2009-12-222011-06-22鸿富锦精密工业(深圳)有限公司 Stereo imaging camera module

Patent Citations (7)

* Cited by examiner, † Cited by third party
Publication numberPriority datePublication dateAssigneeTitle
US5978015A (en)*1994-10-131999-11-02Minolta Co., Ltd.Stereoscopic system with convergence and dioptric power adjustments according to object distance
US7190389B1 (en)*1999-07-072007-03-13Pentax CorporationStereo camera
CN1584737A (en)*2003-08-192005-02-23鸿富锦精密工业(深圳)有限公司Three-dimensional viewfinder digital camera module
CN1922894A (en)*2004-02-252007-02-28诺基亚有限公司Electronic equipment and method in electronic equipment for forming image information and a program product for implementation of the method
CN101872111A (en)*2009-04-212010-10-27鸿富锦精密工业(深圳)有限公司 image capture device
CN101959012A (en)*2009-07-172011-01-26鸿富锦精密工业(深圳)有限公司 camera module
CN102103320A (en)*2009-12-222011-06-22鸿富锦精密工业(深圳)有限公司 Stereo imaging camera module

Cited By (8)

* Cited by examiner, † Cited by third party
Publication numberPriority datePublication dateAssigneeTitle
CN109884772A (en)*2013-07-042019-06-14核心光电有限公司 Slim Dual Aperture Zoom Digital Camera
CN105763771A (en)*2015-04-222016-07-13维沃移动通信有限公司Lens motor, shooting device and mobile terminal
WO2017173648A1 (en)*2016-04-082017-10-12东莞佩斯讯光电技术有限公司Three-dimensional digital photographing device based on dual voice-coil motors capable of controlling lens tilt
CN109416498A (en)*2016-08-082019-03-01剑桥机电有限公司 Dual camera device
CN108111713A (en)*2016-11-252018-06-01塔工程有限公司Camera model housing and the apparatus and method for manufacture with its camera model
CN108111713B (en)*2016-11-252021-05-07塔工程有限公司Camera module case, and apparatus and method for manufacturing camera module having the same
CN109738729A (en)*2019-01-212019-05-10莆田学院 A wireless communication box based on smart home and its monitoring method
WO2020243859A1 (en)*2019-06-012020-12-10瑞声光学解决方案私人有限公司Automatic focusing lens assembly and automatic focusing method thereof

Also Published As

Publication numberPublication date
CN103163615B (en)2016-12-21

Similar Documents

PublicationPublication DateTitle
TWI537670B (en)Dual lens camera
CN103163615A (en)Dual shot device
CN106464787B (en) Autofocus for Folded Optical Array Cameras
CN100556080C (en)A kind of minisize pick-up head method and minisize pick-up head thereof of focusing automatically realized
JP4952364B2 (en) Drive unit and movable module
JP2024032840A (en) The camera module
JP4957366B2 (en) Camera module and method for driving camera module
CN201514511U (en) periscope lens structure
US8421908B2 (en)Actuator, drive device, and imaging device
US20130208369A1 (en)Apparatus and actuator for controlling the inclination or rotation center of an optical system
CN104020546A (en)Focusing motor capable of achieving optical zooming and optical vibration prevention at the same time
US7388719B2 (en)Camera system
CN101872111B (en)Image capture device
CN101408655A (en)Lens module
CN112911092A (en)Camera module and electronic equipment
CN102103320A (en) Stereo imaging camera module
CN112631037B (en) Anti-shake autofocus device and camera equipment
TWI448802B (en)Image capturing device and method of backlash auto-correction
CN101750706A (en)Wafer-level lens module and array thereof
CN111963834A (en) Micro image stabilization gimbal
JP4811536B2 (en) Drive unit, movable module, and autofocus control method
JP2006323012A (en)Stereophotographing apparatus
JP2020118756A (en) Imaging device, control method thereof, and program
WO2019104658A1 (en)Head-mounted electronic device
CN116131690A (en) A camera module multi-axis control and correction system

Legal Events

DateCodeTitleDescription
C06Publication
PB01Publication
C10Entry into substantive examination
SE01Entry into force of request for substantive examination
C14Grant of patent or utility model
GR01Patent grant
CF01Termination of patent right due to non-payment of annual fee

Granted publication date:20161221

Termination date:20181214

CF01Termination of patent right due to non-payment of annual fee

[8]ページ先頭

©2009-2025 Movatter.jp