Movatterモバイル変換


[0]ホーム

URL:


CN103144294A - Triaxial hot melting mechanism - Google Patents

Triaxial hot melting mechanism
Download PDF

Info

Publication number
CN103144294A
CN103144294ACN2013100367603ACN201310036760ACN103144294ACN 103144294 ACN103144294 ACN 103144294ACN 2013100367603 ACN2013100367603 ACN 2013100367603ACN 201310036760 ACN201310036760 ACN 201310036760ACN 103144294 ACN103144294 ACN 103144294A
Authority
CN
China
Prior art keywords
axis
module
axle
connecting plate
hot melt
Prior art date
Legal status (The legal status is an assumption and is not a legal conclusion. Google has not performed a legal analysis and makes no representation as to the accuracy of the status listed.)
Granted
Application number
CN2013100367603A
Other languages
Chinese (zh)
Other versions
CN103144294B (en
Inventor
吕绍林
汪炉生
唐为付
李先奇
夏俊明
Current Assignee (The listed assignees may be inaccurate. Google has not performed a legal analysis and makes no representation or warranty as to the accuracy of the list.)
Bozhon Precision Industry Technology Co Ltd
Bozhong Suzhou Precision Industry Technology Co Ltd
Original Assignee
Bozhong Suzhou Precision Industry Technology Co Ltd
Priority date (The priority date is an assumption and is not a legal conclusion. Google has not performed a legal analysis and makes no representation as to the accuracy of the date listed.)
Filing date
Publication date
Application filed by Bozhong Suzhou Precision Industry Technology Co LtdfiledCriticalBozhong Suzhou Precision Industry Technology Co Ltd
Priority to CN201310036760.3ApriorityCriticalpatent/CN103144294B/en
Publication of CN103144294ApublicationCriticalpatent/CN103144294A/en
Application grantedgrantedCritical
Publication of CN103144294BpublicationCriticalpatent/CN103144294B/en
Activelegal-statusCriticalCurrent
Anticipated expirationlegal-statusCritical

Links

Images

Landscapes

Abstract

The invention relates to a triaxial hot melting mechanism which comprises a support base, an X-axle mechanism, an XY-axle connection angle aluminum, a Y-axle mechanism, an YZ module connection plate, a Z-axle mechanism, a calibration module and a hot melting module. The X-axle mechanism is arranged on the support base, the Y-axle mechanism is arranged on the X-axle mechanism through XY-axle connection angle aluminum, the Z-axle mechanism is arranged on the Y-axle mechanism through the YZ module, and the hot melting module and the calibration module are respectively arranged on the Z-axle mechanism. The triaxial hot melting mechanism is mainly applied to high-precision melting connection working of mechanical equipment on electronic products, and enables the hot melting module to achieve a standard working place by matching of the X-axle mechanism, the Y-axle mechanism and the Z-axle mechanism. Due to the fact that the calibration module corrects the melting connection place, a whole mechanism is high in flexibility ratio, calibration place is accurate, and working efficiency is high.

Description

A kind of three axle hot-melting mechanisms
Technical field:
The present invention relates to a kind of hot-melting mechanism, relate in particular a kind ofly use the cooperation of plant equipment three axis mechanisms to carry out the hot-melting mechanism of hot melt process to electronic product.
Background technology:
Add man-hour when carrying out hot melt to certain parts of electronic product, product need to be positioned over the line position calibration of going forward side by side of standard operation position, carry out the hot melt process after calibration.Just need a kind of three axle hot-melting mechanisms this moment.
Summary of the invention:
The purpose of this invention is to provide a kind of three axle hot-melting mechanisms, by the division of labor and the cooperation of X-axis mechanism, Y-axis mechanism, Z-axis mechanism, hot melt module and calibration module, determine displacement by photoelectric sensor, correcting mechanism is determined job position, its running is flexible, quick, and the shift position is accurate.
Technology solution of the present invention is as follows:
A kind of three axle hot-melting mechanisms, it comprises that bracket base, X-axis mechanism, XY axle connect aluminum corner brace, Y-axis mechanism, YZ module connecting plate, Z-axis mechanism, calibration module and hot melt module, described X-axis mechanism is installed on bracket base; Described Y-axis mechanism connects aluminum corner brace by the XY axle and is installed in X-axis mechanism; Described Z-axis mechanism is installed in Y-axis mechanism by YZ module connecting plate; Described hot melt module and calibrating die group are installed on Z-axis mechanism respectively.
In technique scheme, described X-axis mechanism comprises X-axis module support, X-axis servo motor, X-axis shaft coupling, the linear module of X-axis, X-axis module connecting plate, X-axis mounting bar, X-axis photoelectric sensor, X-axis sensing chip, X-axis slide rail and X-axis slide block, and described X-axis module support is arranged on bracket base; The linear module of described X-axis is installed on X-axis module support; Described X-axis servo motor is connected by the linear module of X-axis shaft coupling and X-axis; Described X-axis module connecting plate is installed on the linear module of X-axis; Described X-axis slide rail and X-axis mounting bar are individually fixed on X-axis module support, and are parallel to each other with the linear module of X-axis respectively; Described X-axis slide block is installed on the X-axis slide rail; Described X-axis photoelectric sensor is installed on the X-axis mounting bar; Described XY axle connects aluminum corner brace and is fixed in simultaneously on X-axis module connecting plate and X-axis slide block; Described X-axis sensing chip is installed on the top that the XY axle connects aluminum corner brace, and coordinates installation with the X-axis photoelectric sensor.
In technique scheme, described Y-axis mechanism comprises Y-axis servo motor, Y-axis shaft coupling, the linear module of Y-axis, Y-axis module connecting plate, Y-axis mounting bar, Y-axis photoelectric sensor and Y-axis sensing chip; The linear module of described Y-axis is installed on the XY axle and connects on aluminum corner brace; Described Y-axis servo motor is connected by the linear module of Y-axis shaft coupling and Y-axis; Described Y-axis mounting bar is installed on the XY axle and connects the aluminum corner brace upper end; Described Y-axis photoelectric sensor is installed on the Y-axis mounting bar; Described Y-axis module connecting plate is installed on the linear module of Y-axis, and the Y-axis sensing chip is installed on Y-axis module connecting plate.
In technique scheme, described Z-axis mechanism comprises Z axis servo motor, Z axis shaft coupling, z axis module, Z axis module connecting plate, Z axis mounting bar, Z axis photoelectric sensor, Z axis sensing chip and Z axis stringer board, and described z axis module is fixed in Y-axis mechanism by YZ module connecting plate; Described Z axis servo motor is installed on the z axis module by the Z axis shaft coupling; Described Z axis stringer board is installed on the back side of z axis module; Described Z axis mounting bar is installed on the side of Z axis stringer board; Described Z axis photoelectric sensor is installed on the Z axis mounting bar; Described Z axis module connecting plate is installed on the z axis module, and the Z axis sensing chip is installed on Z axis module connecting plate.
In technique scheme, described hot melt module comprises heating bar, heating block, fixed head a, fixed head b, upper thermal insulation board, hot melt head plate, left thermal insulation board, right thermal insulation board, front thermal insulation board, rear thermal insulation board, hot melt cushion plate and hot melt pin, described hot melt module is installed on the place ahead of the Z axis stringer board of Z-axis mechanism, and is loaded on the Z axis stringer board by fixed head a and fixed head b Dingan County; Described upper thermal insulation board, hot melt head plate, left thermal insulation board, right thermal insulation board, front thermal insulation board and rear thermal insulation board are installed on respectively top, below, left side, right side, front side and the rear side of heating block, in heating block is wrapped in fully; Described hot melt cushion plate is fixed on hot melt head plate, and the hot melt pin runs through and is installed in hot melt cushion plate; Described heating bar runs through thermal insulation board and is inserted in heating block.
In technique scheme, described calibration module comprises camera adjustments base and the camera adjustments plate that is fixedly mounted on the camera adjustments base, and a camera fixed head is installed on the camera adjustments plate; One camera is installed on described camera fixed head; A set screw seat is installed in the lower end of described camera adjustments base, a light source contiguous block is installed on the top of camera adjustments base, a calibration module connecting plate is installed at the back of camera adjustments base, and the calibration module is installed on the Z axis stringer board of Z-axis mechanism by calibration module connecting plate; Connect a camera adjustments knob between described camera adjustments plate and set screw seat; Be fixedly connected with a light source fixed head on described light source contiguous block, connect a light source on the light source fixed head.
Beneficial effect of the present invention is:
The present invention is a kind of hot-melting mechanism that carries out the hot melt process to electronic product, the division of labor and cooperation by X-axis mechanism, Y-axis mechanism, Z-axis mechanism, calibration module and hot melt module, by determining displacement by the X, Y, Z axis photoelectric sensor, make the hot melt module reach the standard operation position, and determine the hot melt job position by correcting mechanism, whole mechanism efficiency is high, and precision is high, and is effective.
Description of drawings:
The present invention is described further below in conjunction with accompanying drawing:
Fig. 1 is structural representation of the present invention;
Fig. 2 is the structural representation of X-axis mechanism of the present invention and Y-axis mechanism;
Fig. 3 is the structural representation of Z-axis mechanism of the present invention;
Fig. 4 is hot melt module structural representation of the present invention;
Fig. 5 does not contain the structural representation of right thermal insulation board and front thermal insulation board in Fig. 4;
Fig. 6 is the structural representation of calibration module of the present invention.
The specific embodiment:
Embodiment sees accompanyingdrawing 1, a kind of three axle hot-melting mechanisms, and it comprises thatbracket base 1,X-axis mechanism 2, XY axle connectaluminum corner brace 3, Y-axis mechanism 4, YZ module connecting plate 5, Z-axis mechanism 6,calibration module 7 andhot melt module 8, described X-axis mechanism is installed on bracket base; Described Y-axis mechanism connects aluminum corner brace by the XY axle and is installed in X-axis mechanism; Described Z-axis mechanism is installed in Y-axis mechanism by YZ module connecting plate; Described hot melt module and calibrating die group are installed on Z-axis mechanism respectively.
See accompanyingdrawing 2, described X-axis mechanism comprisesX-axis module support 9,X-axis servo motor 10,X-axis shaft coupling 11, thelinear module 12 of X-axis, X-axismodule connecting plate 13,X-axis mounting bar 14, X-axisphotoelectric sensor 15,X-axis sensing chip 16,X-axis slide rail 17 andX-axis slide block 18, and described X-axis module support is arranged on bracket base; The linear module of described X-axis is installed on X-axis module support; Described X-axis servo motor is connected by the linear module of X-axis shaft coupling and X-axis; Described X-axis module connecting plate is installed on the linear module of X-axis; Described X-axis slide rail and X-axis mounting bar are individually fixed on X-axis module support, and are parallel to each other with the linear module of X-axis respectively; Described X-axis slide block is installed on the X-axis slide rail; Described X-axis photoelectric sensor is installed on the X-axis mounting bar; Described XY axle connects aluminum corner brace and is fixed in simultaneously on X-axis module connecting plate and X-axis slide block; Described X-axis sensing chip is installed on the top that the XY axle connects aluminum corner brace, and coordinates installation with the X-axis photoelectric sensor.
X-axis mechanism is by the linear module motion of described X-axis driven by servomotor X-axis, and the XY axle connects aluminum corner brace and be fixed on X-axis module connecting plate and X-axis slide block, so just can drive whole Y-axis and Z-axis mechanism and move on X-direction; Determine move distance on X-direction by the X-axis photoelectric sensor.
Described Y-axis mechanism comprises Y-axis servo motor 19, Y-axis shaft coupling 20, thelinear module 21 of Y-axis, Y-axismodule connecting plate 22, Y-axis mounting bar 23, Y-axisphotoelectric sensor 24 and Y-axis sensing chip 25; The linear module of described Y-axis is installed on the XY axle and connects on aluminum corner brace; Described Y-axis servo motor is connected by the linear module of Y-axis shaft coupling and Y-axis; Described Y-axis mounting bar is installed on the XY axle and connects the aluminum corner brace upper end; Described Y-axis photoelectric sensor is installed on the Y-axis mounting bar; Described Y-axis module connecting plate is installed on the linear module of Y-axis, and the Y-axis sensing chip is installed on Y-axis module connecting plate.
See accompanyingdrawing 3, described Z-axis mechanism comprises Z axis servo motor 26, Z axis shaft coupling 27, z axis module 28, Z axis module connecting plate 29, Z axis mounting bar 30, Z axis photoelectric sensor 31, Z axis sensing chip 32 and Zaxis stringer board 33, and described z axis module is fixed in Y-axis mechanism by YZ module connecting plate; Described Z axis servo motor is installed on the z axis module by the Z axis shaft coupling; Described Z axis stringer board is installed on the back side of z axis module; Described Z axis mounting bar is installed on the side of Z axis stringer board; Described Z axis photoelectric sensor is installed on the Z axis mounting bar; Described Z axis module connecting plate is installed on the z axis module, and the Z axis sensing chip is installed on Z axis module connecting plate.
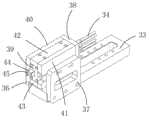
See accompanyingdrawing 4 and accompanying drawing 5, described hot melt module comprisesheating bar 34,heating block 35, fixed head a36, fixed head b37, upperthermal insulation board 38, hotmelt head plate 39, leftthermal insulation board 40, rightthermal insulation board 41, frontthermal insulation board 42, rearthermal insulation board 43, hotmelt cushion plate 44 andhot melt pin 45, described hot melt module is installed on the place ahead of the Z axis stringer board of Z-axis mechanism, and is loaded on the Z axis stringer board by fixed head a and fixed head b Dingan County; Described upper thermal insulation board, hot melt head plate, left thermal insulation board, right thermal insulation board, front thermal insulation board and rear thermal insulation board are installed on respectively top, below, left side, right side, front side and the rear side of heating block, in heating block is wrapped in fully; Described hot melt cushion plate is fixed on hot melt head plate, and the hot melt pin runs through and is installed in hot melt cushion plate; Described heating bar runs through thermal insulation board and is inserted in heating block.
See accompanyingdrawing 6, described calibration module comprisescamera adjustments base 46 and thecamera adjustments plate 47 that is fixedly mounted on the camera adjustments base, and a camera fixedhead 48 is installed on the camera adjustments plate; Onecamera 49 is installed on described camera fixed head; Aset screw seat 50 is installed in the lower end of described camera adjustments base, a light sourcecontiguous block 51 is installed on the top of camera adjustments base, a calibrationmodule connecting plate 52 is installed at the back of camera adjustments base, and the calibration module is installed on the Z axis stringer board of Z-axis mechanism by calibration module connecting plate; Connect acamera adjustments knob 53 between described camera adjustments plate and set screw seat; Be fixedly connected with a light source fixedhead 54 on described light source contiguous block, connect alight source 55 on the light source fixed head.
Above-described embodiment is the specific descriptions that the present invention is carried out; just the present invention is further illustrated; can not be interpreted as the restriction to protection domain of the present invention, those skilled in the art make some nonessential improvement according to the content of foregoing invention and adjust all fall into protection scope of the present invention within.

Claims (6)

2. a kind of three axle hot-melting mechanisms according to claim 1, it is characterized in that: described X-axis mechanism comprises X-axis module support, X-axis servo motor, X-axis shaft coupling, the linear module of X-axis, X-axis module connecting plate, X-axis mounting bar, X-axis photoelectric sensor, X-axis sensing chip, X-axis slide rail and X-axis slide block, and described X-axis module support is arranged on bracket base; The linear module of described X-axis is installed on X-axis module support; Described X-axis servo motor is connected by the linear module of X-axis shaft coupling and X-axis; Described X-axis module connecting plate is installed on the linear module of X-axis; Described X-axis slide rail and X-axis mounting bar are individually fixed on X-axis module support, and are parallel to each other with the linear module of X-axis respectively; Described X-axis slide block is installed on the X-axis slide rail; Described X-axis photoelectric sensor is installed on the X-axis mounting bar; Described XY axle connects aluminum corner brace and is fixed in simultaneously on X-axis module connecting plate and X-axis slide block; Described X-axis sensing chip is installed on the top that the XY axle connects aluminum corner brace, and coordinates installation with the X-axis photoelectric sensor.
3. a kind of three axle hot-melting mechanisms according to claim 1 is characterized in that: described Y-axis mechanism comprises Y-axis servo motor, Y-axis shaft coupling, the linear module of Y-axis, Y-axis module connecting plate, Y-axis mounting bar, Y-axis photoelectric sensor and Y-axis sensing chip; The linear module of described Y-axis is installed on the XY axle and connects on aluminum corner brace; Described Y-axis servo motor is connected by the linear module of Y-axis shaft coupling and Y-axis; Described Y-axis mounting bar is installed on the XY axle and connects the aluminum corner brace upper end; Described Y-axis photoelectric sensor is installed on the Y-axis mounting bar; Described Y-axis module connecting plate is installed on the linear module of Y-axis, and the Y-axis sensing chip is installed on Y-axis module connecting plate.
4. a kind of three axle hot-melting mechanisms according to claim 1, it is characterized in that: described Z-axis mechanism comprises Z axis servo motor, Z axis shaft coupling, z axis module, Z axis module connecting plate, Z axis mounting bar, Z axis photoelectric sensor, Z axis sensing chip and Z axis stringer board, and described z axis module is fixed in Y-axis mechanism by YZ module connecting plate; Described Z axis servo motor is installed on the z axis module by the Z axis shaft coupling; Described Z axis stringer board is installed on the back side of z axis module; Described Z axis mounting bar is installed on the side of Z axis stringer board; Described Z axis photoelectric sensor is installed on the Z axis mounting bar; Described Z axis module connecting plate is installed on the z axis module, and the Z axis sensing chip is installed on Z axis module connecting plate.
5. a kind of three axle hot-melting mechanisms according to claim 1, it is characterized in that: described hot melt module comprises heating bar, heating block, fixed head a, fixed head b, upper thermal insulation board, hot melt head plate, left thermal insulation board, right thermal insulation board, front thermal insulation board, rear thermal insulation board, hot melt cushion plate and hot melt pin, described hot melt module is installed on the place ahead of the Z axis stringer board of Z-axis mechanism, and is loaded on the Z axis stringer board by fixed head a and fixed head b Dingan County; Described upper thermal insulation board, hot melt head plate, left thermal insulation board, right thermal insulation board, front thermal insulation board and rear thermal insulation board are installed on respectively top, below, left side, right side, front side and the rear side of heating block, in heating block is wrapped in fully; Described hot melt cushion plate is fixed on hot melt head plate, and the hot melt pin runs through and is installed in hot melt cushion plate; Described heating bar runs through thermal insulation board and is inserted in heating block.
6. a kind of three axle hot-melting mechanisms according to claim 1 is characterized in that: described calibration module comprises the camera adjustments base and is fixedly mounted on camera adjustments plate on the camera adjustments base, a camera fixed head is installed on the camera adjustments plate; One camera is installed on described camera fixed head; A set screw seat is installed in the lower end of described camera adjustments base, a light source contiguous block is installed on the top of camera adjustments base, a calibration module connecting plate is installed at the back of camera adjustments base, and the calibration module is installed on the Z axis stringer board of Z-axis mechanism by calibration module connecting plate; Connect a camera adjustments knob between described camera adjustments plate and set screw seat; Be fixedly connected with a light source fixed head on described light source contiguous block, connect a light source on the light source fixed head.
CN201310036760.3A2013-01-302013-01-30Triaxial hot melting mechanismActiveCN103144294B (en)

Priority Applications (1)

Application NumberPriority DateFiling DateTitle
CN201310036760.3ACN103144294B (en)2013-01-302013-01-30Triaxial hot melting mechanism

Applications Claiming Priority (1)

Application NumberPriority DateFiling DateTitle
CN201310036760.3ACN103144294B (en)2013-01-302013-01-30Triaxial hot melting mechanism

Publications (2)

Publication NumberPublication Date
CN103144294Atrue CN103144294A (en)2013-06-12
CN103144294B CN103144294B (en)2015-06-17

Family

ID=48542749

Family Applications (1)

Application NumberTitlePriority DateFiling Date
CN201310036760.3AActiveCN103144294B (en)2013-01-302013-01-30Triaxial hot melting mechanism

Country Status (1)

CountryLink
CN (1)CN103144294B (en)

Cited By (2)

* Cited by examiner, † Cited by third party
Publication numberPriority datePublication dateAssigneeTitle
CN104493395A (en)*2014-12-222015-04-08苏州博众精工科技有限公司Automatic equipment for hot melting hardware component on product
CN108357112A (en)*2017-05-222018-08-03深圳市友通塑焊机械有限公司A kind of precise plastic welding equipment

Citations (4)

* Cited by examiner, † Cited by third party
Publication numberPriority datePublication dateAssigneeTitle
CN201645823U (en)*2010-01-122010-11-24深圳市旺鑫精密工业有限公司Dual-specification nut nose of automatic nut machine
CN201913809U (en)*2010-12-242011-08-03东莞市长江超声波机有限公司Stable universal moving mechanism of ultrasonic welding head
CN202357168U (en)*2011-12-142012-08-01吴江市博众精工科技有限公司Four-shaft mechanical arm module
CN203125945U (en)*2013-01-302013-08-14吴江市博众精工科技有限公司Three-axis hot melting mechanism

Patent Citations (4)

* Cited by examiner, † Cited by third party
Publication numberPriority datePublication dateAssigneeTitle
CN201645823U (en)*2010-01-122010-11-24深圳市旺鑫精密工业有限公司Dual-specification nut nose of automatic nut machine
CN201913809U (en)*2010-12-242011-08-03东莞市长江超声波机有限公司Stable universal moving mechanism of ultrasonic welding head
CN202357168U (en)*2011-12-142012-08-01吴江市博众精工科技有限公司Four-shaft mechanical arm module
CN203125945U (en)*2013-01-302013-08-14吴江市博众精工科技有限公司Three-axis hot melting mechanism

Cited By (3)

* Cited by examiner, † Cited by third party
Publication numberPriority datePublication dateAssigneeTitle
CN104493395A (en)*2014-12-222015-04-08苏州博众精工科技有限公司Automatic equipment for hot melting hardware component on product
CN104493395B (en)*2014-12-222016-08-24苏州博众精工科技有限公司A kind of automation equipment being heat fused on product for hardware
CN108357112A (en)*2017-05-222018-08-03深圳市友通塑焊机械有限公司A kind of precise plastic welding equipment

Also Published As

Publication numberPublication date
CN103144294B (en)2015-06-17

Similar Documents

PublicationPublication DateTitle
CN103112163B (en)Automatic aligment fuse machine
CN103465013B (en)A kind of automatic locking screw machine
CN103379820B (en)A kind of automatic aligning parts mount mechanism
CN104307699B (en)A kind of Full-automatic quantitative glue applying mechanism
CN103707297A (en)Part suction mechanism
CN103009035A (en)Button mounting mechanism for electronic product
CN103009034A (en)Fixing piece mounting mechanism for camera of electronic product
CN103586172A (en)Dispensing and curing mechanism
CN207735197U (en)CCD vision dispensing platforms
CN103496590A (en)Material sucking mechanism
CN103878775B (en)A kind of Part suction mechanism
CN203791144U (en)Automatic dispensing machine
CN103144294B (en)Triaxial hot melting mechanism
CN104168721A (en)Chip mounter and bottom lens visual system thereof
CN104324860A (en)Dispensing and pressurizing mechanism
CN103522080A (en)XY axis adjusting mechanism
CN203125945U (en)Three-axis hot melting mechanism
CN104002292B (en)A kind of complementary type robot device
CN103499976A (en)CCD (Charge Coupled Device) calibration mechanism
CN204843707U (en) Fully automatic visual positioning processing platform with CAD drawing and processing coordinate calibration
CN204338424U (en)A kind of Full-automatic quantitative glue applying mechanism
CN203399478U (en)Automatic-alignment part installation mechanism
CN202985015U (en)Mounting mechanism of camera fixing piece for electronic product
CN206818387U (en)A kind of vision inspection apparatus of fiber exit angle
CN202336982U (en)Adjustable type automatic picking clamp for production of tray of integrated circuit

Legal Events

DateCodeTitleDescription
C06Publication
PB01Publication
C10Entry into substantive examination
SE01Entry into force of request for substantive examination
C14Grant of patent or utility model
GR01Patent grant
CP01Change in the name or title of a patent holder
CP01Change in the name or title of a patent holder

Address after:The Wujiang economic and Technological Development Zone West Road Wujiang District of Suzhou City, Jiangsu Province, No. 666 215200

Patentee after:BOZHON PRECISION INDUSTRY TECHNOLOGY Co.,Ltd.

Address before:The Wujiang economic and Technological Development Zone West Road Wujiang District of Suzhou City, Jiangsu Province, No. 666 215200

Patentee before:BOZHONG (SUZHOU) PRECISION INDUSTRY TECHNOLOGY Co.,Ltd.

CP03Change of name, title or address
CP03Change of name, title or address

Address after:The Wujiang economic and Technological Development Zone West Road Wujiang District of Suzhou City, Jiangsu Province, No. 666 215200

Patentee after:BOZHONG (SUZHOU) PRECISION INDUSTRY TECHNOLOGY Co.,Ltd.

Address before:Jiangsu Province, Suzhou City Lake Road 215200 Wujiang economic and Technological Development Zone East Science Park No. 558, No. 7 standard factory

Patentee before:Wujiang BOZHON PRECISION INDUSTRY TECHNOLOGY CO.,LTD.


[8]ページ先頭

©2009-2025 Movatter.jp