Movatterモバイル変換


[0]ホーム

URL:


CN102969432A - Light-emitting diode packaging structure and manufacturing method thereof - Google Patents

Light-emitting diode packaging structure and manufacturing method thereof
Download PDF

Info

Publication number
CN102969432A
CN102969432ACN2012104140562ACN201210414056ACN102969432ACN 102969432 ACN102969432 ACN 102969432ACN 2012104140562 ACN2012104140562 ACN 2012104140562ACN 201210414056 ACN201210414056 ACN 201210414056ACN 102969432 ACN102969432 ACN 102969432A
Authority
CN
China
Prior art keywords
light
emitting diode
led
recess
encapsulation structure
Prior art date
Legal status (The legal status is an assumption and is not a legal conclusion. Google has not performed a legal analysis and makes no representation as to the accuracy of the status listed.)
Pending
Application number
CN2012104140562A
Other languages
Chinese (zh)
Inventor
张效铨
蔡宗岳
Current Assignee (The listed assignees may be inaccurate. Google has not performed a legal analysis and makes no representation or warranty as to the accuracy of the list.)
Advanced Semiconductor Engineering Inc
Original Assignee
Advanced Semiconductor Engineering Inc
Priority date (The priority date is an assumption and is not a legal conclusion. Google has not performed a legal analysis and makes no representation as to the accuracy of the date listed.)
Filing date
Publication date
Application filed by Advanced Semiconductor Engineering IncfiledCriticalAdvanced Semiconductor Engineering Inc
Priority to CN2012104140562ApriorityCriticalpatent/CN102969432A/en
Publication of CN102969432ApublicationCriticalpatent/CN102969432A/en
Pendinglegal-statusCriticalCurrent

Links

Images

Classifications

Landscapes

Abstract

The invention discloses a light emitting diode packaging structure and a manufacturing method thereof. The light emitting diode package structure comprises: the LED package structure comprises a plurality of bearing seats, a plurality of LED chips and a transparent packaging layer. An interval space is arranged between two adjacent bearing seats and comprises a first concave part and a second concave part which are communicated with each other, wherein the first concave part is filled with a reflective material. The light emitting diode chips are respectively arranged on the bearing seat and connected through a lead. The transparent packaging layer is arranged above the bearing seat and wraps the light-emitting diode chip and the light-reflecting material. The reflecting material can enhance the strength of the whole structure and improve the light emitting efficiency, and solves the technical problem of light leakage of the traditional light emitting diode substrate structure.

Description

Encapsulation structure of LED and manufacture method thereof
Technical field
The present invention relates to a kind of method for manufacturing light-emitting, but particularly relevant for a kind of encapsulation structure of LED and manufacture method thereof of improving extraction efficiency.
Background technology
At existing light-emitting diode (LED) light fixture, generally be to use a light emitting diode base plate as light emitting source, be arranged at again in the lamp housing, to consist of led lamp.
Described light emitting diode base plate mainly is to comprise a substrate and a plurality of light-emitting diode chip for backlight unit.Described light-emitting diode chip for backlight unit generally can pass through chip direct package (Chip OnBoard, COB) technique and be arranged on the described substrate.In described chip direct package technique, described light-emitting diode chip for backlight unit can stick on first on the described substrate, and by the adjacent light-emitting diode chip for backlight unit of routing (wire bonding) serial connection, then with transparent sealing covering luminousing diode chip and wire.
Aforementioned light-emitting diode chip for backlight unit generally is into matrix to be arranged, and has the interval between the metal load bearing seat of adjacent light-emitting diode chip for backlight unit, and thus, when the light-emitting diode new film was luminous, the interval between the metal load bearing seat will cause the light leak problem to occur.
So, be necessary to provide a kind of encapsulation structure of LED and manufacture method thereof, to solve the existing problem of prior art.
Summary of the invention
The object of the present invention is to provide a kind of encapsulation structure of LED and manufacture method thereof, it further arranges reflectorized material between load bearing seat, can strengthen overall construction intensity and improve light extraction efficiency, solve the technical problem of traditional light emitting diode base plate structure light leak.
For achieving the above object, one embodiment of the invention provides a kind of encapsulation structure of LED, and it comprises: a plurality of load bearing seats, a plurality of light-emitting diode chip for backlight unit and a transparent encapsulated layer.Have a clearance space between the adjacent two described load bearing seats, described clearance space comprises one first recess and one second recess that is interconnected, and wherein said the first recess is filled with reflectorized material.Described a plurality of light-emitting diode chip for backlight unit is arranged at respectively on the described load bearing seat, and connects by wire.Described transparent encapsulated layer is located at described load bearing seat top and is coated described light-emitting diode chip for backlight unit and described reflectorized material.
Another embodiment of the present invention provides a kind of manufacture method of encapsulation structure of LED, and it comprises the following step: a substrate is provided; Upper surface in described substrate etches partially technique and forms a plurality of the first recesses; Fill reflectorized material in described the first recess; One light-emitting diode chip for backlight unit is set on the upper surface of substrate, and connects adjacent described light-emitting diode chip for backlight unit with wire; One transparent encapsulated layer is set in the upper surface of described substrate, to coat described light-emitting diode chip for backlight unit and described reflectorized material; And etch partially technique in the lower surface of described substrate, to form corresponding the second recess that is communicated with described the first recess.
Owing to be filled with reflectorized material between the load bearing seat of light-emitting diode chip for backlight unit, the light reflection that scatters between the load bearing seat can be gone back, and then improve light extraction efficiency, therefore, the present invention can effectively solve the technical problem of traditional light emitting diode base plate structure light leak.
Description of drawings
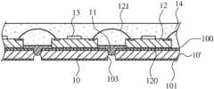
Fig. 1 is the partial sectional view of an embodiment of encapsulation structure of LED of the present invention.
Fig. 2 is the vertical view of an embodiment of encapsulation structure of LED of the present invention.
Fig. 3 A~3F is the manufacturing process schematic diagram of manufacture method one embodiment of encapsulation structure of LED of the present invention.
Embodiment
For allowing above-mentioned purpose of the present invention, feature and advantage become apparent, preferred embodiment of the present invention cited below particularly, and cooperation accompanying drawing are described in detail below.Moreover, the direction term that the present invention mentions, such as " on ", D score, 'fornt', 'back', " left side ", " right side ", " interior ", " outward ", " side " etc., only be the direction with reference to annexed drawings.Therefore, the direction term of use is in order to explanation and understands the present invention, but not in order to limit the present invention.
Please refer to Figure 1 and Figure 2, Fig. 1 is the partial sectional view of an embodiment of encapsulation structure of LED of the present invention.Fig. 2 is the vertical view of an embodiment of encapsulation structure of LED of the present invention.One embodiment of the invention provide a kind of encapsulation structure of LED, and it comprises a plurality ofload bearing seats 10, areflectorized material 11, a plurality of light-emitting diode chip forbacklight unit 12, a plurality ofphosphor powder layer 13 and a transparent encapsulatedlayer 14.
Described a plurality ofload bearing seat 10 for example is to be matrix form to arrange.Described a plurality ofload bearing seat 10 can form jointly by etching one metallic substrates, and for example is to etch partially technique by twice to form.The material of described metallic substrates for example is copper or copper alloy, and upper and lower surface is provided with (seeing through plating, coating) nickel or gold or nickel gold lamination.Therefore, the material of each describedload bearing seat 10 for example is copper or copper alloy, and its upper and lower surface respectively is provided with one second metal level 100,101, and the material of described the second metal level 100,101 for example is nickel or gold or nickel gold lamination.Have aclearance space 10a between adjacent twoload bearing seats 10, describedclearance space 10a comprises onefirst recess 102 and onesecond recess 103 that is interconnected.Described thefirst recess 102 and thesecond recess 103 for example are to etch partially technique by aforesaid twice to form respectively.Described thefirst recess 102 and thesecond recess 103 respectively have an inclined plane, and the boundary on the inclined plane of described thefirst recess 102 and thesecond recess 103 defines a tip.
It should be noted that described thefirst recess 102 is filled withreflectorized material 11, and describedreflectorized material 11 for example be by the porous printing process filling in described the first recess 102.In the present embodiment, the packed height of describedreflectorized material 11 for example is to be higher than describedload bearing seat 10 surfaces.Moreover describedreflectorized material 11 is the material of tool high reflectance, for example light-sensitive material or interpolation titanium dioxide (TiO2) the photoresist material of particle.
Described a plurality of light-emitting diode chip forbacklight unit 12 is arranged at respectively on the describedload bearing seat 10, and connects by wire 121.In the present embodiment, each described light-emitting diode chip forbacklight unit 12 for example is by a heatconductive pad 120 glutinous being located on the describedload bearing seat 10, and described a plurality of light-emitting diode chip forbacklight unit 12 is matrix form with describedload bearing seat 10 and arranges, and describedwire 121 is electrically connected adjacent described light-emitting diode chip forbacklight unit 12, forms the curved electrical series connection around shape of crawling (or in parallel) relation.In other possible embodiment, the packed height of aforesaid reflectorizedmaterial 11 is can be with the end face of described light-emitting diode chip forbacklight unit 12 contour or surpass its end face.
In the present embodiment, the light-emitting area of each described light-emitting diode chip forbacklight unit 12 further is provided withphosphor powder layer 13, to adjust the light color that of described a plurality of light-emitting diode chip for backlight unit 12.Describedphosphor powder layer 13 can carry out according to the demand that goes out light color the material selection of fluorescent material, is not therefore limited.
Described transparent encapsulatedlayer 14 is located at describedload bearing seat 10 tops and is coated described light-emitting diode chip forbacklight unit 12, describedwire 121 and described reflectorizedmaterial 11, coats in the present embodiment and further described phosphor powder layer 13.Described transparent encapsulatedlayer 14 can be a transparent resin layer.In another embodiment, described transparent encapsulatedlayer 14 is the doping fluorescent powder directly, therefore can omit describedphosphor powder layer 13.
As shown in Figure 1, owing to further be provided with describedreflectorized material 11 at thefirst recess 102 between the describedload bearing seat 10, can effectively the light reflection that scatters between theload bearing seat 10 be gone back by describedreflectorized material 11 with high reflectance, improve the light extraction efficiency of encapsulation structure of LED, describedreflectorized material 11 also can be strengthened overall construction intensity simultaneously, improves the reliability of product.
In the present embodiment, described a plurality of light-emitting diode chip forbacklight unit 12 can be the horizontal light emitting diode chip, refer to that namely two electrodes of its P utmost point and the N utmost point are left and right sides halves that level is divided into chip.Describedwire 121 is electrically connected to form in order to the end face of the phase different electrode (not illustrating) that is electrically connected at two adjacent light-emitting diode chip forbacklight unit 12, for example is connected in series relation.Last connect power supplys by the light-emitting diode chip forbacklight unit 12 of front and back end again, and then the illumination functions of an area source is provided after energising.
Yet, the present invention does not limit pattern and the series system of described a plurality of light-emitting diode chip for backlight unit 200, it can be horizontal light emitting diode chip or vertical LED chip, it can be electrical series, parallel, or series connection and combination in parallel, to be designed to meet the specification of user's demand.Above-mentioned vertical LED chip refers to that then its P utmost point and two electrodes of the N utmost point are the up and down halves that vertically vertically are divided into chip.
The making step of the encapsulation structure of LED of Fig. 1 of the present invention is described as follows with reference to Fig. 3 A to 3F:
As shown in Figure 3A, provide a substrate 10 ', wherein the upper and lower surface of substrate 10 ' can be coated with the second metal level 100,101 of a patterning.
Shown in Fig. 3 B, etch partially technique in the upper surface of described substrate 10 ' and form a plurality ofbase unit 10 ", wherein theadjacent base unit 10 " between be formed with thefirst recess 102.
Shown in Fig. 3 C, fillreflectorized material 11 in described thefirst recess 102, wherein saidreflectorized material 11 is can be by the porous printing process filling in described thefirst recess 102, and the packed height of describedreflectorized material 11 can be higher than the upper surface of described substrate 10 '.
Shown in Fig. 3 D, one light-emitting diode chip forbacklight unit 12 is set in each describedbase unit 10 " on; and with the adjacent described light-emitting diode chip forbacklight unit 12 ofwire 121 connections (electrically serial or parallel connection); wherein each described light-emitting diode chip forbacklight unit 12 can stick by a heatconductive pad 120 and be located at each describedbase unit 10 " on, and described light-emitting diode chip forbacklight unit 12 is being set in each describedbase unit 10 " on step after, aphosphor powder layer 13 can further be set on the light-emitting area of each described light-emitting diode chip forbacklight unit 12.
Shown in Fig. 3 E, a transparent encapsulatedlayer 14 is set in the upper surface of described substrate 10 ', to coat described light-emitting diode chip forbacklight unit 12, describedwire 121 and describedreflectorized material 11.
Shown in Fig. 3 F, etch partially technique in the lower surface of described substrate 10 ', to form corresponding thesecond recess 103 that is communicated with described thefirst recess 102, make eachbase unit 10 " become an independentload bearing seat 10.
At last, can make as shown in Figure 1 encapsulation structure of LED.
The manufacture method of encapsulation structure of LED of the present invention all can be continued to use the manufacturing equipment of the manufacture method of existing encapsulation structure of LED, therefore do not need to expend extra equipment cost, but just can produce the encapsulation structure of LED of improving extraction efficiency.
The present invention is described by above-mentioned related embodiment, yet above-described embodiment is only for implementing example of the present invention.Must be pointed out that published embodiment does not limit the scope of the invention.On the contrary, being contained in the spirit of claims and modification and impartial setting of scope is included in the scope of the present invention.

Claims (10)

CN2012104140562A2012-10-252012-10-25 Light-emitting diode packaging structure and manufacturing method thereofPendingCN102969432A (en)

Priority Applications (1)

Application NumberPriority DateFiling DateTitle
CN2012104140562ACN102969432A (en)2012-10-252012-10-25 Light-emitting diode packaging structure and manufacturing method thereof

Applications Claiming Priority (1)

Application NumberPriority DateFiling DateTitle
CN2012104140562ACN102969432A (en)2012-10-252012-10-25 Light-emitting diode packaging structure and manufacturing method thereof

Publications (1)

Publication NumberPublication Date
CN102969432Atrue CN102969432A (en)2013-03-13

Family

ID=47799441

Family Applications (1)

Application NumberTitlePriority DateFiling Date
CN2012104140562APendingCN102969432A (en)2012-10-252012-10-25 Light-emitting diode packaging structure and manufacturing method thereof

Country Status (1)

CountryLink
CN (1)CN102969432A (en)

Cited By (1)

* Cited by examiner, † Cited by third party
Publication numberPriority datePublication dateAssigneeTitle
CN104282817A (en)*2013-07-012015-01-14广镓光电股份有限公司Light emitting diode assembly and manufacturing method thereof

Citations (3)

* Cited by examiner, † Cited by third party
Publication numberPriority datePublication dateAssigneeTitle
US20080203420A1 (en)*2004-08-062008-08-28Kenjiro HigakiCollective Substrate, Semiconductor Element Mount, Semiconductor Device, Imaging Device, Light Emitting Diode Component and Light Emitting Diode
CN101853842A (en)*2008-12-112010-10-06精材科技股份有限公司Chip package and manufacturing method thereof
CN102147059A (en)*2010-02-052011-08-10翊展光电股份有限公司Light-emitting diode light source module

Patent Citations (3)

* Cited by examiner, † Cited by third party
Publication numberPriority datePublication dateAssigneeTitle
US20080203420A1 (en)*2004-08-062008-08-28Kenjiro HigakiCollective Substrate, Semiconductor Element Mount, Semiconductor Device, Imaging Device, Light Emitting Diode Component and Light Emitting Diode
CN101853842A (en)*2008-12-112010-10-06精材科技股份有限公司Chip package and manufacturing method thereof
CN102147059A (en)*2010-02-052011-08-10翊展光电股份有限公司Light-emitting diode light source module

Cited By (2)

* Cited by examiner, † Cited by third party
Publication numberPriority datePublication dateAssigneeTitle
CN104282817A (en)*2013-07-012015-01-14广镓光电股份有限公司Light emitting diode assembly and manufacturing method thereof
CN104282817B (en)*2013-07-012019-08-06晶元光电股份有限公司Light emitting diode assembly and manufacturing method thereof

Similar Documents

PublicationPublication DateTitle
TWI418063B (en) Light-emitting diode package structure and manufacturing method thereof
CN101728470B (en) Light emitting diode device and manufacturing method thereof
CN101452986A (en)Encapsulation structure and method for white light emitting diode device
JP2006294804A (en) Light emitting diode
CN102751274A (en)Three-dimensionally wrapped packaged LED (Light Emitting Diode) chip
US20120091487A1 (en)Light emitting diode package and method for manufacturing the same
CN101621107A (en)Light-emitting diode with high light efficiency and encapsulation method thereof
CN201868429U (en)Embedded-type encapsulating structure of luminous diode
CN202930379U (en)Light source module group for increasing light extraction efficiency
CN103822143A (en)LED (light emitting diode) street lamp light source module with silicon substrates
US9029898B2 (en)Light emitting diode and illumination device using same
CN111162157B (en) LED display module
KR20130077069A (en)Manufacturing method of led package
CN103489997B (en)Led
JP5573602B2 (en) Light emitting device
CN201017901Y (en)Packaging structure of LED
JP2009283988A (en) Light emitting diode
CN102969432A (en) Light-emitting diode packaging structure and manufacturing method thereof
CN203812902U (en) LED light emitting device
CN202817017U (en)Substrate and light source module
CN207068923U (en)A kind of novel full color LED light source encapsulating structure and application
CN105826447A (en)Package structure and method for fabricating the same
CN202049955U (en) Polycrystalline package structure for increasing the amount of current using a constant voltage power supply
CN204760426U (en)Light -emitting diode packaging structure
CN104124320B (en)Light emitting diode

Legal Events

DateCodeTitleDescription
C06Publication
PB01Publication
C10Entry into substantive examination
SE01Entry into force of request for substantive examination
C02Deemed withdrawal of patent application after publication (patent law 2001)
WD01Invention patent application deemed withdrawn after publication

Application publication date:20130313


[8]ページ先頭

©2009-2025 Movatter.jp