Movatterモバイル変換


[0]ホーム

URL:


CN102749980A - Method and system for charging external universal serial bus (USB) device when universal serial bus (USB) primary device is in a standby state - Google Patents

Method and system for charging external universal serial bus (USB) device when universal serial bus (USB) primary device is in a standby state
Download PDF

Info

Publication number
CN102749980A
CN102749980ACN2012101650671ACN201210165067ACN102749980ACN 102749980 ACN102749980 ACN 102749980ACN 2012101650671 ACN2012101650671 ACN 2012101650671ACN 201210165067 ACN201210165067 ACN 201210165067ACN 102749980 ACN102749980 ACN 102749980A
Authority
CN
China
Prior art keywords
equipment
module
usb
voltage
external usb
Prior art date
Legal status (The legal status is an assumption and is not a legal conclusion. Google has not performed a legal analysis and makes no representation as to the accuracy of the status listed.)
Granted
Application number
CN2012101650671A
Other languages
Chinese (zh)
Other versions
CN102749980B (en
Inventor
胡秋生
杨福军
文东
白宏伟
杨超
Current Assignee (The listed assignees may be inaccurate. Google has not performed a legal analysis and makes no representation or warranty as to the accuracy of the list.)
Shenzhen TCL New Technology Co Ltd
Original Assignee
Shenzhen TCL New Technology Co Ltd
Priority date (The priority date is an assumption and is not a legal conclusion. Google has not performed a legal analysis and makes no representation as to the accuracy of the date listed.)
Filing date
Publication date
Application filed by Shenzhen TCL New Technology Co LtdfiledCriticalShenzhen TCL New Technology Co Ltd
Priority to CN201210165067.1ApriorityCriticalpatent/CN102749980B/en
Publication of CN102749980ApublicationCriticalpatent/CN102749980A/en
Application grantedgrantedCritical
Publication of CN102749980BpublicationCriticalpatent/CN102749980B/en
Activelegal-statusCriticalCurrent
Anticipated expirationlegal-statusCritical

Links

Images

Landscapes

Abstract

The invention discloses a method and a system for charging an external universal serial bus (USB) device when a universal serial bus (USB) primary device is in a standby state. The method includes that step one, whether a USB primary device in a standby state is access to the external USB device or not is detected; step two, if the USB primary device in the standby state is access to the external USB device, a charging voltage of the external USB device is output to turn to step three; step three, whether the external USB device is a rechargeable device or not is detected; and step four, if the external USB device is a rechargeable device, the charging voltage of the step two can be utilized for charging the external USB device. The method and the system have the advantage that the function of charging the external USB device when the USB primary device is in the standby state is achieved.

Description

Be the method and system of external USB equipment charge during the standby of USB main equipment
Technical field
The present invention relates to the USB interface equipment technical field, is the method and system of external USB equipment charge when relating in particular to a kind of USB main equipment standby.
Background technology
Along with the function of the portable consumer (such as mobile phone, MP4 etc.) of supporting the USB interface charging from strength to strength, its power consumption is also more and more, makes the user need carry out electric power to its portable consumer every now and then and replenishes.Yet; Some USB main equipment of the prior art; Televisor etc. for example, its power under holding state very low (about 0.3W), thus make USB main equipments such as televisor under the state of standby; Its USB interface can't use, and promptly can not under the holding state of USB main equipments such as televisor, pass through its USB interface is outside USB device (mobile phone, MP4 etc.) charging.
Summary of the invention
Fundamental purpose of the present invention is the method for external USB equipment charge when providing a kind of USB main equipment standby, is the function of external USB equipment charge when being intended to realize the standby of USB main equipment.
In order to achieve the above object, the present invention is the method for external USB equipment charge when proposing a kind of USB main equipment standby, and this method may further comprise the steps:
S01: whether the USB main equipment that detects holding state inserts external USB equipment;
S02:, then export the charging voltage of external USB equipment as inserting external USB equipment; Change step S03;
S03: detect whether external USB equipment is rechargeable devices;
S04: like external USB equipment is rechargeable devices, is said external USB equipment charge with utilizing the said charging voltage among the step S02.
Preferably, said step S02 is specially:
As insert external USB equipment, then export system's principal voltage of USB main equipment, and convert said system principal voltage the charging voltage and the output of said external USB equipment into; Simultaneously, break off the output of the various WVs of USB main equipment start usefulness.
Preferably, said step S03 is specially:
Detect the supply voltage of the USB interface of USB main equipment, if the supply voltage of said USB interface is greater than the predeterminated voltage value, then said external USB equipment is rechargeable devices.
Preferably, also comprise after the said step S04:
Step S05: detect external USB equipment and whether charge full;
Step S06: if charging is full, then break off the output of system's principal voltage of USB main equipment, finish the charging process of said external USB equipment.
The present invention is the system of external USB equipment charge when also proposing a kind of USB main equipment standby, and this system comprises that power module, the first voltage changer module, equipment insert detection module, equipment charge detection module, master control IC module and USB interface, wherein:
Said power module is used for the output system principal voltage;
The said first voltage changer module is used for system's principal voltage of said power module output is converted into the charging voltage and the output of external USB equipment;
Said equipment inserts detection module, is used for detecting said USB interface and whether has access to external USB equipment, if having access to external USB equipment, then exports first detection signal and gives master control IC module;
Said equipment charge detection module, whether be rechargeable devices, if rechargeable devices is then exported second detection signal and given said master control IC module if being used to detect said external USB equipment;
Said master control IC module; Be used for according to said first detection signal; Export control signal corresponding respectively and give the power module and the first voltage changer module; Control said power module output system principal voltage, and control charging voltage and output that the said first voltage changer module converts said system principal voltage into external USB equipment; And according to said second detection signal, the said charging voltage of controlling said first voltage changer module output is said external USB equipment charge;
Said USB interface is used to insert external USB equipment.
Preferably, also comprise:
The second voltage changer module, required various WVs when being used for system's principal voltage with the output of said power module and converting said USB main equipment start into.
Preferably, said master control IC module also is used for:
According to said first detection signal, the output control signal corresponding is given the said second voltage changer module, closes the said second voltage changer module, breaks off the output of the various WVs of USB main equipment start usefulness.
Preferably, said equipment charge detection module specifically is used for:
Detect the supply voltage of said USB interface, give said master control IC module if said supply voltage, is then exported second detection signal greater than the predeterminated voltage value.
Preferably, said equipment charge detection module also is used for:
Detect said external USB equipment and whether charge fullly,, then export the 3rd detection signal and give said master control IC module if charging is full.
Preferably, said master control IC module also is used for:
According to said the 3rd detection signal, the output control signal corresponding is given said power module, breaks off the output of said power module system principal voltage.
During USB main equipment standby that the present invention proposes is the method for external USB equipment charge, at first detects the USB main equipment and whether has access to external USB equipment, if detecting the USB main equipment has access to external USB equipment, then exports the charging voltage of external USB equipment; Detect then whether the external USB equipment that the USB main equipment inserted is rechargeable devices, if the external USB equipment that the USB main equipment is inserted is rechargeable devices, the charging voltage of output is the external USB equipment charge before then utilizing.The present invention is the function of external USB equipment charge when having realized the standby of USB main equipment.
Description of drawings
Fig. 1 is the schematic flow sheet of method first embodiment of external USB equipment charge when being USB main equipment standby of the present invention;
Fig. 2 is the schematic flow sheet of method second embodiment of external USB equipment charge when being USB main equipment standby of the present invention;
Fig. 3 is the structured flowchart of system's preferred embodiment of external USB equipment charge when being USB main equipment standby of the present invention;
Fig. 4 is the circuit structure diagram that equipment inserts detection module in system's preferred embodiment of external USB equipment charge when being USB main equipment standby of the present invention;
Fig. 5 is the circuit structure diagram of equipment charge detection module in system's preferred embodiment of external USB equipment charge when being USB main equipment standby of the present invention.
The realization of the object of the invention, functional characteristics and advantage will combine embodiment, further specify with reference to accompanying drawing.
Embodiment
Further specify technical scheme of the present invention below in conjunction with Figure of description and specific embodiment.Should be appreciated that specific embodiment described herein only in order to explanation the present invention, and be not used in qualification the present invention.
Fig. 1 is the schematic flow sheet of method first embodiment of external USB equipment charge when being USB main equipment standby of the present invention.
With reference to Fig. 1, be that the method for external USB equipment charge may further comprise the steps during USB main equipment standby of the present invention:
S01: whether the USB main equipment that detects holding state inserts external USB equipment;
S02:, then export the charging voltage of external USB equipment as inserting external USB equipment; Change step S03;
Particularly,, then export system's principal voltage of USB main equipment, and convert system's principal voltage of USB main equipment the charging voltage and the output of the external USB equipment that is inserted into if step S01 detects the USB main equipment and has access to external USB equipment; Simultaneously, break off the output of the various WVs of USB main equipment start usefulness, thereby make other operational modules of USB main equipment start usefulness not work, to reduce power consumption.
Step S03: detect whether external USB equipment is rechargeable devices;
Particularly; The embodiment of the invention is through the supply voltage of the USB interface of detection USB main equipment; Whether to realize that detection USB main equipment is inserted external USB equipment is the purpose of rechargeable devices; If the supply voltage of the USB interface of USB main equipment is greater than the predeterminated voltage value, then external USB equipment is rechargeable devices.
Step S04: like external USB equipment is rechargeable devices, and then utilizing the said charging voltage among the step S02 is said external USB equipment charge.
During USB main equipment standby that the present invention proposes is the method for external USB equipment charge, at first detects the USB main equipment and whether has access to external USB equipment, if detecting the USB main equipment has access to external USB equipment, then exports the charging voltage of external USB equipment; Detect then whether the external USB equipment that the USB main equipment inserted is rechargeable devices, if the external USB equipment that the USB main equipment is inserted is rechargeable devices, the charging voltage of output is the external USB equipment charge before then utilizing.The present invention is the function of external USB equipment charge when having realized the standby of USB main equipment.
With reference to Fig. 2, the method that during USB main equipment standby of the present invention is the external USB equipment charge also comprises after step S04:
Step S05: detect external USB equipment and whether charge full;
Whether the embodiment of the invention can be passed through the detection to the supply voltage of the USB interface of USB main equipment equally, and then detect external USB equipment and charge full.If the supply voltage that detects USB interface is less than a predeterminated voltage value, then the external USB equipment charge is full.
Step S06: if charging is full, then break off the output of system's principal voltage of USB main equipment, finish the charging process of said external USB equipment.
In the present embodiment; If when detecting external USB equipment charge that the USB main equipment inserted and having expired (supply voltage that detects USB interface less than a predeterminated voltage value time); Then break off the output of system's principal voltage of USB main equipment; End is to the charging process of outside USB device, thereby guaranteed that present embodiment is is the charge function of external USB equipment when under the situation of lowest power consumption, accomplishing the standby of USB main equipment.
The present invention is the system of external USB equipment charge when also proposing a kind of USB main equipment standby, and Fig. 3 is the structured flowchart of system's preferred embodiment of external USB equipment charge when being USB main equipment standby of the present invention.
With reference to Fig. 3, be that the system of external USB equipment charge comprises thatpower module 301, the firstvoltage changer module 302, equipmentinsert detection module 303, equipmentcharge detection module 304, mastercontrol IC module 305,USB interface 306 and the secondvoltage changer module 307 during USB main equipment standby of the present invention.
Wherein, The voltage input end of the voltage input end of the firstvoltage changer module 302 and the secondvoltage changer module 307 all is connected with the principal voltage output pin V1 of system ofpower module 301; The Enable Pin EN1 of the firstvoltage changer module 302 is connected with the I/O3 mouth of master control IC module; The Enable Pin EN2 of the secondvoltage changer module 307 is connected with the I/O2 mouth of master control IC module, and the voltage output end of the firstvoltage changer module 302 is connected withUSB interface 306;
The power input that equipmentinserts detection module 303 is connected with the standby voltage output pin STB ofpower module 301; The detection input end that equipmentinserts detection module 303 is connected with the voltage output end of the firstvoltage changer module 302; And be connected withUSB interface 306, the detection output terminal that equipmentinserts detection module 303 is connected with the I/O4 mouth of mastercontrol IC module 305;
The power input of equipmentcharge detection module 304 is connected with the standby voltage output pin STB ofpower module 301, and the detection output terminal of equipmentcharge detection module 304 is connected with the I/O5 mouth of mastercontrol IC module 305;
The I/O1 mouth of mastercontrol IC module 305 is connected with the ON/OFF pin ON/OFF ofpower module 301.
Particularly,power module 301 is used for output system principal voltage U1 and standby voltage U 2.Wherein,standby voltage U 2 all exists under the open state of USB main equipment with under the holding state;
The firstvoltage changer module 302 is used for the principal voltage U1 of system ofpower module 301 outputs is converted into the charging voltage and the output of external USB equipment;
Equipmentaccess detection module 303 is used for detectingUSB interface 306 and whether has access to external USB equipment, has access to external USB equipment in theUSB interface 306 if detect, and then exports the I/O4 mouth that first detection signal is given mastercontrol IC module 305.
Whether equipmentcharge detection module 304 is used to detect external USB equipment is rechargeable devices, if detecting external USB equipment is rechargeable devices, then exports the I/O5 mouth that second detection signal is given mastercontrol IC module 304;
Mastercontrol IC module 305 is used for according to the first received detection signal of its I/O4 mouth; Export control signal corresponding respectively and give the ON/OFF pin ofpower module 301 and the Enable Pin EN1 of the firstvoltage changer module 302; With the principal voltage output pin V1 of the system output system principal voltage U1 ofcontrol power module 301, and control charging voltage and the output that the firstvoltage changer module 302 converts the principal voltage U1 of system ofpower module 301 outputs into external USB equipment; And mastercontrol IC module 305 is also according to the second received detection signal of its I/O5 mouth, and the charging voltage of controlling 302 outputs of the first voltage changer module is the external USB equipment charge in theUSB interface 306;
USB interface 306 is used to insert external USB equipment (not shown);
The secondvoltage changer module 307, the required various WVs of other operational modules when being used for the principal voltage U1 of system withpower module 301 output and converting the start of USB main equipment into.
Wherein, above-mentioned mastercontrol IC module 305 also is used for:
According to the first received detection signal of its I/O4 mouth; Give the Enable Pin EN2 of the secondvoltage changer module 307 of USB main equipment start usefulness from its I/O2 mouth output control signal corresponding; To close the secondvoltage changer module 307; Break off the output of the various WVs of USB main equipment start usefulness, thereby other operational modules of USB main equipment start usefulness are not worked, to reduce power consumption.
The said equipment chargingdetection module 304 specifically is used to detect the supply voltage ofUSB interface 306, if the supply voltage that detectsUSB interface 306 greater than the predeterminated voltage value, is then exported the I/O5 mouth that second detection signal is given mastercontrol IC module 305.
The said equipment chargingdetection module 304 also is used for:
It is full whether detection external USB equipment charges, if it is full to detect charging, then exports the I/O5 mouth that the 3rd detection signal is given mastercontrol IC module 305.
Above-mentioned mastercontrol IC module 305 also is used for:
According to the 3rd detection signal that its I/O5 mouth receives, export the ON/OFF pin that control signal corresponding is givenpower module 301 from its I/O1 mouth, with the output of thedeenergization module 301 principal voltage U1 of system.
The course of work that during USB main equipment standby of the present invention is the system of external USB equipment charge specifically describes as follows: (1) equipment inserts in the detection module 303 detection USB interfaces 306 whether have access to external USB equipment; If detect and have access to external USB equipment in the USB interface 306, then export the I/O4 that first detection signal is given master control IC module 305; (2) master control IC module 305 is according to the first received detection signal of its I/O4 mouth; Give the ON/OFF pin of power module 301 through its I/O1 mouth output control signal corresponding; With control power module 301 output system principal voltage U1; Simultaneously; Master control IC module 305 is also given the Enable Pin EN1 of the first voltage changer module 302 through its I/O3 mouth output control signal corresponding, to control the charging voltage that the first voltage changer module 302 converts the principal voltage U1 of system of power module 301 outputs into external USB equipment.And; Master control IC module 305 is also given the Enable Pin EN2 of the second voltage changer module 307 of USB main equipment start usefulness through its I/O2 mouth output control signal corresponding; To close the second voltage changer module 307 (the required various WVs of other operational modules when promptly the second voltage changer module 307 is not exported the start of USB main equipment), to reduce power consumption; (3) equipment charge detection module 304 detects whether external USB equipment is rechargeable devices; Promptly detect the supply voltage of USB interface 306; If the supply voltage that detects USB interface 306 is then exported the I/O5 mouth that second detection signal is given master control IC module 305 greater than predeterminated voltage value when being rechargeable devices (be external USB equipment); (4) master control IC module 305 is controlled the first voltage changer module, 302 output charging voltages according to the second received detection signal of its I/05 mouth, is the external USB equipment charge in the USB interface 306; (5) when external USB equipment be rechargeable devices and when being in charged state, whether equipment charge detection module 304 detects the external USB equipment and charges fullly, if it is full to detect charging, then exports the I/O5 mouth that the 3rd detection signal is given master control IC module 305; (6) master control IC module 305 is according to the 3rd received detection signal of its I/O5 mouth; The output control signal corresponding is given the ON/OFF pin of power module 301; With the output of the deenergization module 301 principal voltage U1 of system, finish the charging of 302 pairs of outside USB devices of the first voltage changer module.
During USB main equipment standby that the present invention proposes is the system of external USB equipment charge; Insert detection module through equipment and detect in the USB interface whether have access to external USB equipment; Have access to external USB equipment in the USB interface if detect; Then export first detection signal and give master control IC module, master control IC module is exported control signal corresponding respectively and is given the power module and the first voltage changer module according to first detection signal; Control power module output system principal voltage, and control charging voltage and the output that the first voltage changer module converts system's principal voltage of power module output into external USB equipment.Simultaneously; The present invention detects through the equipment charge detection module whether the external USB equipment that is inserted in the USB interface is rechargeable devices; If rechargeable devices; Then export second detection signal and give master control IC module, master control IC module is according to second detection signal, and the charging voltage of controlling the output of the first voltage changer module is the external USB equipment charge.And; When master control IC module receives the 3rd detection signal of equipment charge detection module output; Then export control signal corresponding and give power module; With the output of deenergization modular system principal voltage, thereby having guaranteed that the present invention is under the situation of lowest power consumption, is the function of external USB equipment charge when realizing the standby of USB main equipment.
Fig. 4 is the circuit structure diagram that equipment inserts detection module in system's preferred embodiment of external USB equipment charge when being USB main equipment standby of the present invention.
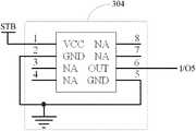
With reference to Fig. 3 and Fig. 4, it isresistance R 1 that the equipment in the embodiment of the invention inserts detection module in the lump.One end ofresistance R 1 is connected with the standby voltage output pin STB ofpower module 301, and the other end ofresistance R 1 is connected with the I/O4 mouth of mastercontrol IC module 305, and is connected with the voltage output end of the firstvoltage changer module 302 respectively and is connected with USB interface 306.The resistance thatresistance R 1 in the embodiment of the invention strengthens for resistance, its resistance is 100K ohm-1M ohm.
In the embodiment of the invention, when the firstvoltage changer module 302 was closed, its voltage output end was in high-impedance state.When not inserting external USB equipment in theUSB interface 306, the voltage of the I/O4 mouth of mastercontrol IC module 305 is approximately thestandby voltage U 2 ofpower module 301; WhenUSB interface 306 has access to external USB equipment; Because the impedance of external USB equipment is lower; Thereby the voltage ofUSB interface 306 is dragged down; Make the voltage of I/O4 mouth of mastercontrol IC module 305 be almost 0, promptly when having access to external USB equipment in theUSB interface 306, the I/O4 mouth of mastercontrol IC module 305 is a low level.When the I/O4 mouth of mastercontrol IC module 305 is low level; Mastercontrol IC module 305 will be given the ON/OFF pin ofpower module 301 from its I/O1 mouth output control signal corresponding; And give the Enable Pin EN1 of the firstvoltage changer module 302 from its I/O3 mouth output control signal corresponding; Withcontrol power module 301 output system primary powers, and control the firstvoltage changer module 302 and convert system's principal voltage ofpower module 301 outputs into external USB equipment required charging voltage.
Fig. 5 is the circuit structure diagram of equipment charge detection module in system's preferred embodiment of external USB equipment charge when being USB main equipment standby of the present invention.
In the lump with reference to Fig. 3 and Fig. 5; Equipmentcharge detection module 304 in the embodiment of the invention is a current sensor, and the current sensor that present embodiment adopted is the current sensor (this current sensor can detect the electric current of 0-500mA under lower supply voltage) of TMR SOP8.Wherein, The power supply input pin VCC (the 1st pin) of current sensor is connected with the standby voltage output pin STB ofpower module 301; Its foot of the ground wire GND (the 2nd pin and the 5th pin) ground connection, its voltage output pin OUT (the 6th pin) is connected with the I/O5 mouth of mastercontrol IC module 305.
The embodiment of the invention above-mentioned current sensor is welded in the firstvoltage changer module 302 output terminal and the PCB cabling between theUSB interface 306 directly over; Through the detection of current sensor to the electric current (being the charging current of external USB equipment) of above-mentioned PCB cabling; And then the supply voltage ofdetection USB interface 306, current sensor exports the supply voltage of detectedUSB interface 306 in the I/O5 mouth of mastercontrol IC module 305.
The embodiment of the invention is through actual measurement and with reference to relevant standard; Learn when the external USB equipment in theUSB interface 306 is rechargeable devices; Its charging current (being the electric current of above-mentioned PCB cabling) must be greater than certain certain value; Also promptly when external USB equipment is rechargeable devices; The voltage (being the supply voltage of USB interface 306) of the 6th pin (OUT) of current sensor output must be greater than certain certain value, and when this voltage during greater than the predeterminated voltage value, the external USB equipment that is then inserted in theUSB interface 306 is rechargeable devices; Otherwise then external USB equipment is not rechargeable devices.When external USB equipment is not rechargeable devices, mastercontrol IC module 305 will be exported control signal corresponding and givepower module 301, with the output ofdeenergization module 301 system's principal voltages.
Whether in like manner, the embodiment of the invention also is through the detection of above-mentioned current sensor to the supply voltage ofUSB interface 306, and then detect external USB equipment and charge full.Particularly; When the external USB equipment charge was expired, the supply voltage ofUSB interface 306 was reduced to very little amplitude, and promptly the voltage of the I/O5 mouth of mastercontrol IC module 305 is reduced to very little amplitude; At this moment; Mastercontrol IC module 305 will be exported control signal corresponding respectively and give the ON/OFF pin ofpower module 301 and the Enable Pin EN1 of the firstvoltage changer module 302, and the output ofdeenergization module 301 system's principal voltages stops the charging of 302 pairs of outside USB devices of the first voltage changer module.
In addition, need to prove, is that the foregoing description of the system of external USB equipment charge is the function of external USB equipment charge when can be applicable to USB main equipment open state equally during USB main equipment standby of the present invention.
Particularly; With reference to Fig. 3; During the start of USB main equipment; The embodiment of the invention is that the process of external USB equipment charge specifically describes as follows: (1) equipment inserts detection module 303 and detects in the USB interface 306 whether have access to external USB equipment, has access to external USB equipment in the USB interface 306 if detect, and then exports the I/O4 that first detection signal is given master control IC module 305; (2) master control IC module 305 is according to the first received detection signal of its I/O4 mouth; Give the Enable Pin EN1 of the first voltage changer module 302 through its I/O3 mouth output control signal corresponding; Control charging voltage (during the start of USB main equipment, power module 301 is output system principal voltage U1 always) and output that the first voltage changer module 302 converts the principal voltage U1 of system of power module 301 outputs into external USB equipment.Simultaneously, master control IC module 305 can also be exported the main interface of the demonstration (not shown) that corresponding shows signal is given the USB main equipment through corresponding I/O mouth, has access to external USB equipment in the main interface display user's USB interface 306 of the demonstration of USB main equipment; (3) equipment charge detection module 304 detects whether external USB equipment is rechargeable devices; Promptly detect the supply voltage of USB interface 306; If the supply voltage that detects USB interface 306 is then exported the I/O5 mouth that second detection signal is given master control IC module 305 greater than predeterminated voltage value when being rechargeable devices (be external USB equipment); (4) master control IC module 305 is according to the second received detection signal of its I/05 mouth, and the charging voltage of controlling 302 outputs of the first voltage changer module is the external USB equipment charge in the USB interface 306.Simultaneously, master control IC module 305 can also be exported the main interface of demonstration that corresponding shows signal is given the USB main equipment through corresponding I/O mouth, and the main interface display user's external USB of the demonstration of USB main equipment equipment is rechargeable devices; (5) when external USB equipment be rechargeable devices and when being in charged state, whether equipment charge detection module 304 detects the external USB equipment and charges fullly, if it is full to detect charging, then exports the I/O5 mouth that the 3rd detection signal is given master control IC module 305; (6) master control IC module 305 is according to the 3rd received detection signal of its I/O5 mouth, and the output control signal corresponding is given the Enable Pin EN1 of the first voltage changer module 302, finishes the charging process of 302 pairs of outside USB devices of the first voltage changer module.
The above is merely the preferred embodiments of the present invention; Be not so limit claim of the present invention; Every equivalent structure or equivalent flow process conversion that utilizes instructions of the present invention and accompanying drawing content to be done; Or directly or indirectly be used in other relevant technical fields, all in like manner be included in the scope of patent protection of the present invention.

Claims (10)

CN201210165067.1A2012-05-252012-05-25It is the method and system of external USB equipment charge when USB main equipment is standbyActiveCN102749980B (en)

Priority Applications (1)

Application NumberPriority DateFiling DateTitle
CN201210165067.1ACN102749980B (en)2012-05-252012-05-25It is the method and system of external USB equipment charge when USB main equipment is standby

Applications Claiming Priority (1)

Application NumberPriority DateFiling DateTitle
CN201210165067.1ACN102749980B (en)2012-05-252012-05-25It is the method and system of external USB equipment charge when USB main equipment is standby

Publications (2)

Publication NumberPublication Date
CN102749980Atrue CN102749980A (en)2012-10-24
CN102749980B CN102749980B (en)2016-12-14

Family

ID=47030245

Family Applications (1)

Application NumberTitlePriority DateFiling Date
CN201210165067.1AActiveCN102749980B (en)2012-05-252012-05-25It is the method and system of external USB equipment charge when USB main equipment is standby

Country Status (1)

CountryLink
CN (1)CN102749980B (en)

Cited By (7)

* Cited by examiner, † Cited by third party
Publication numberPriority datePublication dateAssigneeTitle
CN103780854A (en)*2014-01-062014-05-07青岛海信电器股份有限公司Display device standby realizing method, device and circuit and liquid crystal television
CN105490319A (en)*2014-09-192016-04-13联想(北京)有限公司Information processing method and electronic equipment
CN106340915A (en)*2016-08-242017-01-18青岛海信电器股份有限公司Terminal equipment
CN106602645A (en)*2016-12-132017-04-26上海创功通讯技术有限公司Charger
CN106959740A (en)*2017-03-212017-07-18联想(北京)有限公司A kind of electronic equipment control method and electronic equipment
CN108932139A (en)*2018-06-212018-12-04Tcl通力电子(惠州)有限公司Automatic boot circuit and electronic equipment
CN113852151A (en)*2021-09-092021-12-28深圳市奋达科技股份有限公司Charging port power supply control circuit of battery equipment

Citations (5)

* Cited by examiner, † Cited by third party
Publication numberPriority datePublication dateAssigneeTitle
CN1313701A (en)*2000-03-082001-09-19日本电气株式会社Method and system for connecting mobile telecommunication device with PC computer
CN2646930Y (en)*2003-09-192004-10-06逸扬科技股份有限公司 a power supply device
US20050189909A1 (en)*2004-02-172005-09-01Research In Motion LimitedMethod and apparatus for handling a charging state in a mobile electronic device
CN102033590A (en)*2009-09-272011-04-27联想(北京)有限公司Method, device and data processing equipment for supplying power to communication interface
CN102290833A (en)*2010-06-172011-12-21瀚宇彩晶股份有限公司Electronic device and charging method thereof

Patent Citations (5)

* Cited by examiner, † Cited by third party
Publication numberPriority datePublication dateAssigneeTitle
CN1313701A (en)*2000-03-082001-09-19日本电气株式会社Method and system for connecting mobile telecommunication device with PC computer
CN2646930Y (en)*2003-09-192004-10-06逸扬科技股份有限公司 a power supply device
US20050189909A1 (en)*2004-02-172005-09-01Research In Motion LimitedMethod and apparatus for handling a charging state in a mobile electronic device
CN102033590A (en)*2009-09-272011-04-27联想(北京)有限公司Method, device and data processing equipment for supplying power to communication interface
CN102290833A (en)*2010-06-172011-12-21瀚宇彩晶股份有限公司Electronic device and charging method thereof

Cited By (10)

* Cited by examiner, † Cited by third party
Publication numberPriority datePublication dateAssigneeTitle
CN103780854A (en)*2014-01-062014-05-07青岛海信电器股份有限公司Display device standby realizing method, device and circuit and liquid crystal television
CN105490319A (en)*2014-09-192016-04-13联想(北京)有限公司Information processing method and electronic equipment
CN105490319B (en)*2014-09-192018-11-09联想(北京)有限公司A kind of information processing method and electronic equipment
CN106340915A (en)*2016-08-242017-01-18青岛海信电器股份有限公司Terminal equipment
CN106340915B (en)*2016-08-242019-04-09青岛海信电器股份有限公司Terminal device
CN106602645A (en)*2016-12-132017-04-26上海创功通讯技术有限公司Charger
CN106602645B (en)*2016-12-132019-04-09上海创功通讯技术有限公司Charger
CN106959740A (en)*2017-03-212017-07-18联想(北京)有限公司A kind of electronic equipment control method and electronic equipment
CN108932139A (en)*2018-06-212018-12-04Tcl通力电子(惠州)有限公司Automatic boot circuit and electronic equipment
CN113852151A (en)*2021-09-092021-12-28深圳市奋达科技股份有限公司Charging port power supply control circuit of battery equipment

Also Published As

Publication numberPublication date
CN102749980B (en)2016-12-14

Similar Documents

PublicationPublication DateTitle
CN102749980A (en)Method and system for charging external universal serial bus (USB) device when universal serial bus (USB) primary device is in a standby state
CN105703429B (en)A kind of charging method, mobile terminal, charging equipment and system
CN104283284B (en)A kind of multi-functional data portable power source and charging method
US10116149B1 (en)Automatic control system for a rechargeable battery system
CN103887852B (en)A kind of charging method and charging equipment
CN106329689B (en)Adapter and method for realizing charging thereof
CN101814756B (en)Constant-current and constant-voltage control circuit, charging circuit and charger
EP2912746A2 (en)High voltage dedicated charging port
US10992154B2 (en)Power supplying system and method
CN104410114B (en)Mobile power supply
CN205263278U (en)Monomer internal resistance of battery and connecting wire resistance measurement device thereof
CN109428352A (en)electronic device and charging method thereof
CN106208028A (en)Apparatus for protecting power supply and its power protection method
CN107942125A (en)In-built electrical pool electronic product uses electrical test circuit and its control method
CN218383170U (en)Function verification circuit of BMS chip
CN206498462U (en)Passive accumulation of energy charge mobile phone shell and mobile phone
CN102508163A (en)Load rejection testing method, system and device for vehicle-mounted generator
CN102201697B (en)Internet device and charging inlet automatic switching method, device and circuit
KR20140079138A (en)Mobile Phone Battery Charger and Control Method Thereof
CN203502565U (en)Storage battery detector
CN101557120A (en)Circuit and method for detecting absence of battery on charger
CN204928289U (en)Novel USB charger
TWI527339B (en)Charge device
CN203965559U (en)A kind of device for preventing that the USB interface connection status of electronic equipment from judging by accident
CN203759144U (en)Charging control confirmation signal detection circuit

Legal Events

DateCodeTitleDescription
C06Publication
PB01Publication
C10Entry into substantive examination
SE01Entry into force of request for substantive examination
C14Grant of patent or utility model
GR01Patent grant

[8]ページ先頭

©2009-2025 Movatter.jp