Movatterモバイル変換


[0]ホーム

URL:


CN102694373A - Intelligent electronic device using transient fault information and relay protection method - Google Patents

Intelligent electronic device using transient fault information and relay protection method
Download PDF

Info

Publication number
CN102694373A
CN102694373ACN2012100008517ACN201210000851ACN102694373ACN 102694373 ACN102694373 ACN 102694373ACN 2012100008517 ACN2012100008517 ACN 2012100008517ACN 201210000851 ACN201210000851 ACN 201210000851ACN 102694373 ACN102694373 ACN 102694373A
Authority
CN
China
Prior art keywords
fault
module
protection
transient state
electronic device
Prior art date
Legal status (The legal status is an assumption and is not a legal conclusion. Google has not performed a legal analysis and makes no representation as to the accuracy of the status listed.)
Granted
Application number
CN2012100008517A
Other languages
Chinese (zh)
Other versions
CN102694373B (en
Inventor
罗四倍
贠保记
Current Assignee (The listed assignees may be inaccurate. Google has not performed a legal analysis and makes no representation or warranty as to the accuracy of the list.)
Henan University of Science and Technology
Original Assignee
Henan University of Science and Technology
Priority date (The priority date is an assumption and is not a legal conclusion. Google has not performed a legal analysis and makes no representation as to the accuracy of the date listed.)
Filing date
Publication date
Application filed by Henan University of Science and TechnologyfiledCriticalHenan University of Science and Technology
Priority to CN201210000851.7ApriorityCriticalpatent/CN102694373B/en
Publication of CN102694373ApublicationCriticalpatent/CN102694373A/en
Application grantedgrantedCritical
Publication of CN102694373BpublicationCriticalpatent/CN102694373B/en
Expired - Fee Relatedlegal-statusCriticalCurrent
Anticipated expirationlegal-statusCritical

Links

Images

Landscapes

Abstract

Translated fromChinese

本发明涉及利用暂态故障信息的智能电子设备及继电保护方法,智能电子设备包括通过过程层通信模块、站控层通信模块分别与过程层、站控层通信连接的测距录波模块、保护模块和测控模块,保护模块和测距录波模块分别用于根据过程层上传的暂态故障信息进行故障识别、线路保护和故障测距、录波;各模块之间及对外通信主要采用100Mbps以太网,实现了数据的高速交换和并行处理,保护模块在故障发生后的极短时间内识别故障方向、极性和距离等暂态故障信息,采用三取二逻辑,构成纵联保护,既实现了保护功能的快速动作,也提高了动作的可靠性;本发明实现了多功能一体化,适用于现有的智能变电站,提高了保护性能和测距精度,降低了设备成本和运行维护费用。

Figure 201210000851

The invention relates to an intelligent electronic device utilizing transient fault information and a relay protection method. The intelligent electronic device includes a distance measuring and wave recording module respectively connected to the process layer and the station control layer through a process layer communication module and a station control layer communication module, The protection module and the measurement and control module, the protection module and the distance measurement and wave recording module are respectively used for fault identification, line protection, fault distance measurement, and wave recording according to the transient fault information uploaded by the process layer; the communication between each module and the external communication mainly adopts 100Mbps Ethernet realizes high-speed exchange and parallel processing of data. The protection module identifies transient fault information such as fault direction, polarity, and distance within a very short time after the fault occurs, and adopts two-out-of-three logic to form a longitudinal protection. The quick action of the protection function is realized, and the reliability of the action is also improved; the invention realizes the multi-functional integration, is applicable to the existing intelligent substation, improves the protection performance and distance measurement accuracy, and reduces the equipment cost and operation and maintenance cost .

Figure 201210000851

Description

Utilize the intelligent electronic device and the relay protecting method of transient state fault message
Technical field
The invention belongs to the power system automation technology field, relate to a kind of intelligent electronic device and relay protecting method that utilizes the transient state fault message.
Background technology
Be one of effective measures that improve transmission line delivering power and enhanced system transient stability the operate time that reduces relaying protection.Accurately discern, handle and utilize the transient state fault message, just can only need the time of 1 ~ 3ms usually, therefore can realize the ultrahigh speed action of relaying protection in the correct judgement fault in the short time of the utmost point after fault takes place.But; The protection philosophy that protective relaying device adopted of present on-the-spot extensive use is to be based upon on the basis of power frequency electric parameters; Methods such as common employing filtering are eliminated the influence of transient process to protection; The transient state fault message often is regarded as harmful interference and is filtered out, and has so just prolonged the operate time of protection.And the relaying protection that only utilizes the transient state fault message still rests on principle, algorithm research stage, and the practicability difficulty is bigger.
Along with the rise and the development of intelligent grid, optical electron formula instrument transformer, fiber optic Ethernet communication, high-performance hardware platform, IEC61850 and IEEE1588 standard have obtained rapid progress in the application of intelligent substation.These not only make effective utilization of transient state fault message become possibility, and can realize the multifunctional all of intelligent electronic device, reduce equipment cost and operation and maintenance cost.Optical electron formula instrument transformer has good transient response characteristic, accurate recording transient process; Wide dynamic range can satisfy the dual requirements of high-precision measuring and protection simultaneously.Being applied as of fiber optic Ethernet communication and IEC61850 realizes that information sharing standardization, multiple function integration provide condition.The high-performance hardware platform can satisfy the fast processing transient signal, carry out the requirement of multiple function.Adopt the IEEE1588 network to the time, precision reaches 1ms.
Summary of the invention
The purpose of this invention is to provide a kind of intelligent electronic device and relay protecting method that utilizes the transient state fault message,, improve range accuracy, realize multifunctional all to reduce the operate time of relaying protection.
For realizing above-mentioned purpose; The intelligent electronic device that utilizes the transient state fault message of the present invention comprises range finding record mode piece, protection module and the control module of communicating by letter and being connected with process layer, station level respectively through process layer communication module, station level communication module, and said protection module is respectively applied for the transient state fault message of uploading according to the process layer with range finding record mode piece and carries out Fault Identification, route protection and fault localization, record ripple; Said station level communication module also serial communication is connected with human-machine interface module.
Further, be provided with FPGA between said protection module and the process layer communication module, this FPGA is connected with protection module, process layer communication module through parallel bus respectively.
Further, be equipped with in said process layer communication module and the station level communication module network to the time module and ethernet interface module.
Further, said range finding record mode piece, protection module, control module all adopt the 100Mbps Ethernet to be connected with the station level communication module, and range finding record mode piece, control module all adopt the 100Mbps Ethernet to be connected with process layer communication module.
Further; This intelligent electronic device correspondence with foreign country all adopts Ethernet; Point-to-point fiber optic Ethernet is adopted in the transmission of sampled value between the merge cells wherein and in the process layer, and host-host protocol meets IEC61850-9-2, and the point-to-point Ethernet of GOOSE is adopted in the transmission of the switching value between the intelligent terminal; And adopt GOOSE network service between other bay device; And adopt MMS network service between the station level equipment; To the time adopt the IEEE1588 network to the time.
The relay protecting method step of transient state fault message of utilizing of the present invention is following:
(1) protection module of intelligent electronic device reads three-phase voltage, the current sampling data that the process layer is uploaded;
(2) based on after the starting component action that improves gradient algorithm, extract the transient state fault component that starts moment back 1 ~ 3ms;
(3),, then send trip signal if wherein two or more criterions determine fault and occur in protected circuit according to fault direction, polarity, carry out Fault Identification apart from criterion; If do not determine the protected circuit fault, then switch the traditional protection that gets into reaction power frequency electric parameters, carry out corresponding fault distinguishing.
Further; In the said step (2) based on the starting component start-up criterion of improving gradient algorithm be: the current failure component is carried out phase-model transformation, resulting line modulus is adopted improve gradient algorithm, 3 data sums deduct preceding 3 the data sums of current point after the current point; Obtain the Grad of current point; If this value is greater than starting definite value, then the moment at current point place is and starts constantly, the starting component action.
Further, protection module and circuit offside intelligent electronic device connect and compose pilot protection through communication port in the said step (3), and to obtain the transient state fault message of circuit offside, the criterion of fault direction, polarity, distance is respectively:
A) working voltage, current temporary state fault component utilize behind medium filtering and before the modulus, instead to go the ratio of time domain energy of ripple and differentiate fault direction: if the ratio of time domain energy is the forward fault less than definite value; Otherwise, be reverse fault; Obtain the fault direction information of circuit offside through communication port,, then differentiate fault and occur in protected circuit if be the forward fault;
B) use the current temporary state fault component, if circuit two ends electric current initial row ripple same polarity then is judged to be troubles inside the sample space, heteropolarity then is judged to be external area error;
C) use the current temporary state fault component to demarcate the time that electric current initial row ripple arrives this side intelligent electronic device installation place; Obtain circuit offside recorded current initial row ripple time of advent through communication port; If the difference of both times is more than or equal to the ratio of protected circuit length and transient current velocity of wave; Then be external area error, otherwise be troubles inside the sample space.
Further, to utilize the range finding of transient state fault message be that the difference that initial row ripple through the line-internal fault generating arrives the absolute time of said intelligent electronic device installation place, circuit two ends calculates fault distance to range finding record mode piece; Range finding record mode piece adopts the interpolation fitting method to approach real due in.
Further, the record ripple of range finding record mode piece adopts that second generation Wavelet Transformation Algorithm---boosting algorithm carries out the fault recorder data lossless compress, adopts the variation overall process after mass-memory unit record electricity system receives various disturbances.
The intelligent electronic device that utilizes the transient state fault message of the present invention; Follow the IEC61850 standard; Adopt many CPU distributed frame; Comprise process layer communication module, protection module, range finding record mode piece, control module, station level communication module and human-machine interface module, multiple functions such as integrated protection, range finding, record ripple and observing and controlling.Adopt FPGA to carry out the parallel data exchange between process layer communication module and the protection module, can transmit data in enormous quantities fast, fully guarantee the real-time of protection.The correspondence with foreign country of intelligent electronic device all adopts Ethernet; Process layer communication module receives the transient signal of the optical electron formula instrument transformer progress of disease through the mode of adopting directly; The main 100Mbps Ethernet that adopts is realized the quick transmission and the parallel processing of data between inner each module.The present invention is applicable to existing intelligent substation, need not increase or transform miscellaneous equipment newly, has improved protective value and range accuracy, has realized multifunctional all, has reduced equipment cost and operation and maintenance cost.
The relay protecting method that utilizes the transient state fault message of the present invention; The utmost point after fault takes place is in the short time (1 ~ 3ms); Accurately transient state fault messages such as identification fault direction, the initial polarity of traveling wave of electric current and electric current initial row ripple time of advent adopt three to get two logics, constitute pilot protection; Both realize the quick acting of defencive function, also improved the reliability of action; If utilize the transient state fault message not determine the protected circuit fault, then switch entering traditional protection principle, carry out corresponding fault distinguishing, the utilization of transient state fault message further improves protective value.
Description of drawings
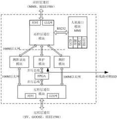
Fig. 1 is an intelligent electronic device IED structural representation of the present invention;
Fig. 2 is the application sketch map of IED in intelligent substation;
Fig. 3 is the protection module workflow diagram of IED.
Embodiment
Utilizing difficult problem to the transient state fault message is actual in relaying protection, the utilization of transient state fault message is combined with the ripe principle of existing protective relaying device, respectively get the chief, complement one another, is a kind of effective solution.
The structure of multifunctional all intelligent electronic device IED is as shown in Figure 1; This intelligent electronic device IED comprises process layer communication module, protection module, range finding record mode piece, control module, station level communication module and human-machine interface module, and multiple functions such as integrated protection, range finding, record ripple and observing and controlling are in one.
The application of intelligent electronic device IED in intelligent substation is as shown in Figure 2, and IED belongs to bay device, follows the IEC61850 standard, and correspondence with foreign country all adopts Ethernet:
A) with the employing mode of " directly adopting straight jumping " that is connected of process layer equipment (merge cells, intelligent terminal); Promptly and the sampled value between the merge cells (SV) transmission adopt point-to-point fiber optic Ethernet; Host-host protocol meets IEC61850-9-2, and the point-to-point Ethernet of GOOSE is adopted in the transmission of the switching value between the intelligent terminal.Can reduce the Network Transmission time-delay like this, accelerate the responsiveness of IED protection module.
B) adopt GOOSE network service and between other bay device.
C) adopt MMS network service and between the station level equipment (supervisory control system).
D) to the time adopt the IEEE1588 network to the time, precision reaches 1ms.
The hardware systems of intelligent electronic device IED adopts many CPU distributed frame.Process layer communication module on the one hand carries out preliminary treatment and is distributed to said protection module, range finding record mode piece and control module fast carrying out the processing of function separately to data such as the sampled value that receives from the process layer, switching value inputs, receives on the other hand from the data such as switching value output of said protection module, control module and sends to the process layer.The station level communication module converges the result of protection module, range finding record mode piece and control module and sends to station level, receives data such as control command and definite value from station level and issues; Also receive the input information of human-machine interface module (MMI), send the output information that needs demonstration to said MMI.
Data in high speed exchange is that can IED realize that the transient state fault message utilizes and one of the key technology of function integration between each module.Seeing that correspondence with foreign country is Ethernet and ethernet communication is reliable at a high speed; The data transaction that need carry out during for fear of the multiple means of communication of use; Reduce the hardware kind, simplify software design, the 100Mbps Ethernet is still mainly adopted in the data in high speed exchange between each module.Data exchange ways between each module is following:
A) adopt FPGA (including dual port RAM) to carry out the parallel data exchange between process layer communication module and the protection module, can transmit data in enormous quantities fast, fully guarantee the real-time of protection.
B) the exchanges data real-time between station level communication module and the MMI is less demanding, adopts serial RS232 communication mode.
C) between process layer communication module and the range finding record mode piece, between process layer communication module and the control module, between protection module and the station level communication module, between range finding record mode piece and the station level communication module, between control module and the station level communication module; All adopt the 100Mbps Ethernet, realize data in high speed exchange and parallel processing.
Aforesaid way has proposed very high request to the traffic handling capability of CPU.Therefore, said IED is except that MMI, and other each module adopts MPC8358 processor, this processor frequencies 400MHz, and integrated PowerPC kernel and private communication processing module can provide to reach 8 100M Ethernet interfaces.The MMI module adopts single-chip microcomputer.
In order to obtain the transient state fault message, process layer equipment need satisfy following requirement:
A) adopt optical electron formula instrument transformer, the three-phase voltage and the electric current of transmission line can be provided, frequency response range at least from direct current to 100 subharmonic.
B) merge cells output sampling rate should be weekly 400 in ripple and more than.
Utilize the step of relay protecting method of transient state fault message following:
(1) protection module of intelligent electronic device reads three-phase voltage, the current sampling data that the process layer is uploaded;
(2) based on after the starting component action that improves gradient algorithm, extract the transient state fault component that starts moment back 1 ~ 3ms;
(3) carry out Fault Identification according to fault direction, fault polarity and fault distance criterion, adopt three to get two logics, promptly two or more criterions determine fault and occur in protected circuit, then send trip signal; If do not determine the protected circuit fault, then switch the traditional protection that gets into reaction power frequency electric parameters, carry out corresponding fault distinguishing.
The transient state fault message embodies a concentrated reflection of in the fault initial row ripple, can detect fault according to the characteristic of fault initial row ripple, finds range.IED is mainly reflected in protection module and the range finding record mode piece the utilization of transient state fault message.
The protection module software flow pattern of IED is as shown in Figure 3, and the protection of claiming among this figure to utilize the transient state fault message is distinguished with traditional protection for protection fast mutually.Protection module is after moving based on the starting component that improves gradient algorithm, and the transient state fault component of back 1 ~ 3ms---data window length is relevant with protected circuit length, and fault initial row ripple promptly is included in this data window constantly to extract startup.Then, carry out Fault Identification according to following 3 criterions:
A) working voltage, current temporary state fault component utilize behind medium filtering and before the modulus, instead to go the ratio of time domain energy of ripple and differentiate fault direction: if the ratio of time domain energy is the forward fault less than definite value; Otherwise, be reverse fault.Obtain the fault direction information of circuit offside through communication port,, then differentiate fault and occur in protected circuit if be the forward fault.
B) use the current temporary state fault component, if circuit two ends electric current initial row ripple same polarity then is judged to be troubles inside the sample space, heteropolarity then is judged to be external area error.
C) use the current temporary state fault component; Accurately demarcate the time (precision reaches 1ms) that electric current initial row ripple arrives the said IED of this side installation place; Obtain circuit offside recorded current initial row ripple time of advent through communication port; If the difference of both times then is external area error, otherwise is troubles inside the sample space more than or equal to the ratio of protected circuit length and transient current velocity of wave.
In order to guarantee the reliability of said protection module action, said 3 criterions adopt three to get two logics, promptly have only two or more criterions to determine fault and occur in protected circuit, just send trip signal.Said 3 criterions all need the transient state fault message of circuit offside, so protection module and circuit offside IED connect and compose pilot protection through communication port, to obtain the transient state fault message of circuit offside.
If protection module utilizes the transient state fault message not determine the protected circuit fault, then switch the traditional protection principle that gets into reaction power frequency electric parameters, carry out corresponding fault distinguishing.Therefore, the utilization of transient state fault message only can make protective value be improved, and can't reduce the performance of original protection.
Starting component based on improving gradient algorithm is: the current failure component is carried out phase-model transformation; Resulting line modulus is adopted the improvement gradient algorithm; Be that 3 data sums deduct preceding 3 the data sums of current point after the current point, obtain the Grad of current point, if this value is greater than starting definite value; Then the moment at current point place is and starts constantly, the starting component action.
Range finding record mode piece utilizes the range measurement principle of transient state fault message to be: the difference that the initial row ripple through the line-internal fault generating arrives the absolute time of said IED installation place, circuit two ends calculates fault distance.The key that influences range accuracy is accurately to obtain the time that fault initial row ripple arrives said IED installation place.The application of gps system and IEEE1588 standard can make the time synchronization error of the said IED in circuit two ends be no more than 1ms.But; Because merge cells output sampling rate limited (more than 400 in ripple reaches weekly); Possibly can't collect the real due in of fault initial row ripple, said range finding record mode piece adopts the method for interpolation fitting to approach real due in as much as possible, improves distance measuring precision.
Range finding record mode piece also utilizes the calculating of carrying out fault distance based on the range measurement principle of power frequency amount.The range finding result of two kinds of methods can compare with the physical fault distance, with further improvement location algorithm.
Range finding record mode piece employing second generation Wavelet Transformation Algorithm---boosting algorithm carries out the fault recorder data lossless compress; Adopt the variation overall process after the electric power system of mass-memory unit (Flash) complete documentation receives various disturbances, for the analysis of system dynamic course provides basic data.
The function of control module is identical with the observing and controlling function of traditional measure and control device, repeats no more at this.
It should be noted last that: above embodiment is the non-limiting technical scheme of the present invention in order to explanation only, although with reference to the foregoing description the present invention is specified, those of ordinary skill in the art is to be understood that; Still can make amendment or be equal to replacement the present invention, and not break away from any modification or the local replacement of the spirit and scope of the present invention, it all should be encompassed in the middle of the claim scope of the present invention.

Claims (10)

1. intelligent electronic device that utilizes the transient state fault message; It is characterized in that; Comprise range finding record mode piece, protection module and the control module of communicating by letter and being connected with process layer, station level respectively through process layer communication module, station level communication module, said protection module is respectively applied for the transient state fault message of uploading according to the process layer with range finding record mode piece and carries out Fault Identification, route protection and fault localization, record ripple; Said station level communication module also serial communication is connected with human-machine interface module.
2. the intelligent electronic device that utilizes the transient state fault message according to claim 1 is characterized in that, is provided with FPGA between said protection module and the process layer communication module, and this FPGA is connected with protection module, process layer communication module through parallel bus respectively.
3. the intelligent electronic device that utilizes the transient state fault message according to claim 1 is characterized in that, be equipped with in said process layer communication module and the station level communication module network to the time module and ethernet interface module.
4. the intelligent electronic device that utilizes the transient state fault message according to claim 1; It is characterized in that; Said range finding record mode piece, protection module, control module all adopt the 100Mbps Ethernet to be connected with the station level communication module, and range finding record mode piece, control module all adopt the 100Mbps Ethernet to be connected with process layer communication module.
5. according to each described intelligent electronic device that utilizes the transient state fault message among the claim 1-4; It is characterized in that; This intelligent electronic device correspondence with foreign country all adopts Ethernet; Point-to-point fiber optic Ethernet is adopted in the transmission of sampled value between the merge cells wherein and in the process layer, and host-host protocol meets IEC61850-9-2, and the point-to-point Ethernet of GOOSE is adopted in the transmission of the switching value between the intelligent terminal; And adopt GOOSE network service between other bay device; And adopt MMS network service between the station level equipment; To the time adopt the IEEE1588 network to the time.
6. a relay protecting method that utilizes the transient state fault message is characterized in that, the step of this method is following:
(1) protection module of intelligent electronic device reads three-phase voltage, the current sampling data that the process layer is uploaded;
(2) based on after the starting component action that improves gradient algorithm, extract the transient state fault component that starts moment back 1 ~ 3ms;
(3),, then send trip signal if wherein two or more criterions determine fault and occur in protected circuit according to fault direction, polarity, carry out Fault Identification apart from criterion; If do not determine the protected circuit fault, then switch the traditional protection that gets into reaction power frequency electric parameters, carry out corresponding fault distinguishing.
7. the relay protecting method that utilizes the transient state fault message according to claim 6; It is characterized in that; In the said step (2) based on the starting component start-up criterion of improving gradient algorithm be: the current failure component is carried out phase-model transformation, resulting line modulus is adopted improve gradient algorithm, 3 data sums deduct preceding 3 the data sums of current point after the current point; Obtain the Grad of current point; If this value is greater than starting definite value, then the moment at current point place is and starts constantly, the starting component action.
8. the relay protecting method that utilizes the transient state fault message according to claim 6; It is characterized in that; Protection module and circuit offside intelligent electronic device connect and compose pilot protection through communication port in the said step (3); To obtain the transient state fault message of circuit offside, the criterion of fault direction, polarity, distance is respectively:
A) working voltage, current temporary state fault component utilize behind medium filtering and before the modulus, instead to go the ratio of time domain energy of ripple and differentiate fault direction: if the ratio of time domain energy is the forward fault less than definite value; Otherwise, be reverse fault; Obtain the fault direction information of circuit offside through communication port,, then differentiate fault and occur in protected circuit if be the forward fault;
B) use the current temporary state fault component, if circuit two ends electric current initial row ripple same polarity then is judged to be troubles inside the sample space, heteropolarity then is judged to be external area error;
C) use the current temporary state fault component to demarcate the time that electric current initial row ripple arrives this side intelligent electronic device installation place; Obtain circuit offside recorded current initial row ripple time of advent through communication port; If the difference of both times is more than or equal to the ratio of protected circuit length and transient current velocity of wave; Then be external area error, otherwise be troubles inside the sample space.
9. according to each described relay protecting method that utilizes the transient state fault message among the claim 6-8; It is characterized in that it is that the difference that initial row ripple through the line-internal fault generating arrives the absolute time of said intelligent electronic device installation place, circuit two ends calculates fault distance that range finding record mode piece utilizes the range finding of transient state fault message; Range finding record mode piece adopts the interpolation fitting method to approach real due in.
10. the relay protecting method that utilizes the transient state fault message according to claim 9; It is characterized in that; The record ripple of range finding record mode piece adopts that second generation Wavelet Transformation Algorithm---boosting algorithm carries out the fault recorder data lossless compress, adopts the variation overall process after mass-memory unit record electricity system receives various disturbances.
CN201210000851.7A2012-01-042012-01-04Intelligent electronic device using transient fault information and relay protection methodExpired - Fee RelatedCN102694373B (en)

Priority Applications (1)

Application NumberPriority DateFiling DateTitle
CN201210000851.7ACN102694373B (en)2012-01-042012-01-04Intelligent electronic device using transient fault information and relay protection method

Applications Claiming Priority (1)

Application NumberPriority DateFiling DateTitle
CN201210000851.7ACN102694373B (en)2012-01-042012-01-04Intelligent electronic device using transient fault information and relay protection method

Publications (2)

Publication NumberPublication Date
CN102694373Atrue CN102694373A (en)2012-09-26
CN102694373B CN102694373B (en)2014-12-03

Family

ID=46859690

Family Applications (1)

Application NumberTitlePriority DateFiling Date
CN201210000851.7AExpired - Fee RelatedCN102694373B (en)2012-01-042012-01-04Intelligent electronic device using transient fault information and relay protection method

Country Status (1)

CountryLink
CN (1)CN102694373B (en)

Cited By (11)

* Cited by examiner, † Cited by third party
Publication numberPriority datePublication dateAssigneeTitle
CN103051056A (en)*2012-11-292013-04-17辽宁省电力有限公司朝阳供电公司Process level equipment with longitudinal optical fiber channel receiving and transmitting functions
CN103513159A (en)*2013-09-242014-01-15中国南方电网有限责任公司超高压输电公司检修试验中心Method and device for locating fault on direct current grounding electrode circuit
CN103837795A (en)*2014-02-182014-06-04国网山东省电力公司Dispatching end grid fault diagnosis method based on wide-area fault recording information
CN106300678A (en)*2016-09-282017-01-04江苏方天电力技术有限公司A kind of digital protective relay system supporting unification of three nets network
CN106506591A (en)*2016-09-282017-03-15华北电力大学 Intelligent substation status monitoring data collection system based on multi-layer hybrid network
CN104156515B (en)*2014-07-282017-09-15湖北文理学院A kind of IED formalized description method for analyzing performance based on Markov process
CN107732882A (en)*2017-11-222018-02-23广东电网有限责任公司电力调度控制中心A kind of hvdc transmission line direction pilot protection method
CN108427089A (en)*2018-03-222018-08-21中国南方电网有限责任公司超高压输电公司检修试验中心A kind of test system and method for non-contact distributed range-measurement system
CN109713706A (en)*2018-12-212019-05-03山东大学The single-ended ultra- high speed protection method in alternating current-direct current combined hybrid system inverter side alternating current circuit
CN113484683A (en)*2021-07-142021-10-08贵州电网有限责任公司Power distribution network fault positioning system and method based on transient information
CN118739216A (en)*2024-09-042024-10-01中国电建集团西北勘测设计研究院有限公司 A transmission line traveling wave protection method and system

Citations (3)

* Cited by examiner, † Cited by third party
Publication numberPriority datePublication dateAssigneeTitle
KR20070121238A (en)*2006-06-212007-12-27한전케이디엔 주식회사 IC64-based digital substation system for partial discharge measurement in substations
US20080183406A1 (en)*2007-01-302008-07-31Myongji University Industry And Academia Cooperation FoundationOnline IED Fault Diagnosis Device and Method for Substation Automation System Based on IEC61850
CN202405773U (en)*2012-01-042012-08-29河南科技大学Intelligent electronic equipment for using transient fault information

Patent Citations (3)

* Cited by examiner, † Cited by third party
Publication numberPriority datePublication dateAssigneeTitle
KR20070121238A (en)*2006-06-212007-12-27한전케이디엔 주식회사 IC64-based digital substation system for partial discharge measurement in substations
US20080183406A1 (en)*2007-01-302008-07-31Myongji University Industry And Academia Cooperation FoundationOnline IED Fault Diagnosis Device and Method for Substation Automation System Based on IEC61850
CN202405773U (en)*2012-01-042012-08-29河南科技大学Intelligent electronic equipment for using transient fault information

Non-Patent Citations (8)

* Cited by examiner, † Cited by third party
Title
张保会等: "智能电网继电保护研究的进展(一)-故障甄别新原理", 《电力自动化设备》*
杨帅雄等: "基于故障暂态分量的高压输电线路继电保护方法研究", 《硕士学位论文》*
罗四倍等: "基于中值滤波的超高速暂态量方向元件", 《中国电机工程学报》*
罗四倍等: "基于暂态量的EHV/UHV输电线路超高速保护研究现状与展望", 《电网技术》*
赵应兵等: "基于IEC61850-9-2的电子式互感器合并单元的研制", 《电力系统保护与控制》*
陈宏辉: "基于IEC61850-9-2的数字化变电站设计方案", 《中国电力教育》*
黄天戍等: "基于第二代小波变换的电力系统故障录波数据压缩方法", 《电力自动化设备》*
黄少雄等: "智能变电站GOOSE网配置方案研究", 《东北电力技术》*

Cited By (17)

* Cited by examiner, † Cited by third party
Publication numberPriority datePublication dateAssigneeTitle
CN103051056B (en)*2012-11-292016-08-17辽宁省电力有限公司朝阳供电公司A kind of process layer devices with vertical connection optical-fibre channel transmission-receiving function
CN103051056A (en)*2012-11-292013-04-17辽宁省电力有限公司朝阳供电公司Process level equipment with longitudinal optical fiber channel receiving and transmitting functions
CN103513159A (en)*2013-09-242014-01-15中国南方电网有限责任公司超高压输电公司检修试验中心Method and device for locating fault on direct current grounding electrode circuit
CN103837795A (en)*2014-02-182014-06-04国网山东省电力公司Dispatching end grid fault diagnosis method based on wide-area fault recording information
CN103837795B (en)*2014-02-182014-12-03国网山东省电力公司Dispatching end grid fault diagnosis method based on wide-area fault recording information
CN104156515B (en)*2014-07-282017-09-15湖北文理学院A kind of IED formalized description method for analyzing performance based on Markov process
CN106300678B (en)*2016-09-282019-06-18江苏方天电力技术有限公司A kind of digital protective relay system for supporting unification of three nets network
CN106506591A (en)*2016-09-282017-03-15华北电力大学 Intelligent substation status monitoring data collection system based on multi-layer hybrid network
CN106300678A (en)*2016-09-282017-01-04江苏方天电力技术有限公司A kind of digital protective relay system supporting unification of three nets network
CN107732882A (en)*2017-11-222018-02-23广东电网有限责任公司电力调度控制中心A kind of hvdc transmission line direction pilot protection method
CN107732882B (en)*2017-11-222019-06-11广东电网有限责任公司电力调度控制中心A kind of hvdc transmission line direction pilot protection method
CN108427089A (en)*2018-03-222018-08-21中国南方电网有限责任公司超高压输电公司检修试验中心A kind of test system and method for non-contact distributed range-measurement system
CN109713706A (en)*2018-12-212019-05-03山东大学The single-ended ultra- high speed protection method in alternating current-direct current combined hybrid system inverter side alternating current circuit
CN109713706B (en)*2018-12-212020-11-17山东大学Single-end ultra-high-speed protection method for AC line on inverter side of AC-DC hybrid system
CN113484683A (en)*2021-07-142021-10-08贵州电网有限责任公司Power distribution network fault positioning system and method based on transient information
CN118739216A (en)*2024-09-042024-10-01中国电建集团西北勘测设计研究院有限公司 A transmission line traveling wave protection method and system
CN118739216B (en)*2024-09-042024-12-06中国电建集团西北勘测设计研究院有限公司 A transmission line traveling wave protection method and system

Also Published As

Publication numberPublication date
CN102694373B (en)2014-12-03

Similar Documents

PublicationPublication DateTitle
CN102694373A (en)Intelligent electronic device using transient fault information and relay protection method
RU2577245C2 (en)Merging unit and method of operating merging unit
CN203166626U (en)Intelligent traction substation
CN102937685B (en)The integrated testing platform of a kind of transformer station based on Real-time Simulation Technology
CN207638406U (en) An intelligent control system for medium-voltage switchgear with wide-area synchronous measurement function
CN102290865A (en)Integrated intelligent unit of intelligent substation
CN102624027B (en)Multi-process island effect detection device and method
CN203117313U (en)Dynamic simulation and emulation detecting platform for intelligent substation secondary system
CN203259610U (en)Merging unit accurate time testing instrument based on analog signal digital transmission
CN106505533B (en)A kind of distance protection system and its control method suitable for half-wave power transmission route
CN104701979B (en)One kind protection observing and controlling integrating device and protection investigating method
CN106646133A (en)Regional power grid T line fault range-finding system based on generalized measurement
CN102608494B (en)Monitoring method for arc light monitoring intelligent component system of medium-low voltage switch of intelligent substation
CN101710739A (en)Data processing system and method for protecting control equipment of digital substation
EP2503667B1 (en)Merging Unit and Method of Operating a Merging Unit
CN216747877U (en)Urban rail transit stray current monitoring system
CN201438645U (en)Standby-power automatic switching device for digital transformer station
CN101242093A (en) Integrated relay protection system based on multi-channel transient polarity direction comparison algorithm
CN202503362U (en)Distribution terminal unit integrating measurement, control and protection for intelligent distribution network
CN202405773U (en)Intelligent electronic equipment for using transient fault information
CN105048631B (en)A kind of multi-functional Top-down design device towards interval
CN105186699B (en)A kind of 10 kv substation complex automatic systems
CN202268901U (en)Distributed controller for simple communication
CN207853456U (en) A high voltage transmission line protection device
CN104301165A (en) Method and system for detecting message pressure of intelligent terminal

Legal Events

DateCodeTitleDescription
C06Publication
PB01Publication
C10Entry into substantive examination
SE01Entry into force of request for substantive examination
C14Grant of patent or utility model
GR01Patent grant
CF01Termination of patent right due to non-payment of annual fee

Granted publication date:20141203

Termination date:20180104

CF01Termination of patent right due to non-payment of annual fee

[8]ページ先頭

©2009-2025 Movatter.jp