




技术领域technical field
本发明属于半导体集成电路制造技术领域,具体涉及一种铜互连结构及其制备方法。The invention belongs to the technical field of semiconductor integrated circuit manufacturing, and in particular relates to a copper interconnection structure and a preparation method thereof.
背景技术Background technique
集成电路技术一直遵循摩尔定律,通过不断缩小器件尺寸和增加晶片尺寸来提高晶体管密度,从而降低成本,并使其高速发展。不过,当器件特征尺寸缩小到纳米尺度后,互连延迟逐渐取代芯片延迟成为影响芯片性能的关键因素,使得芯片性能大幅降低。为了减少互连线引起的RC延迟,Cu互连已经逐渐取代Al互连成为半导体业界的主流技术。Integrated circuit technology has always followed Moore's Law, increasing transistor density by continuously reducing device size and increasing wafer size, thereby reducing costs and making it develop at a high speed. However, when the feature size of the device is reduced to the nanometer scale, the interconnection delay gradually replaces the chip delay as the key factor affecting the chip performance, which greatly reduces the chip performance. In order to reduce the RC delay caused by interconnection, Cu interconnection has gradually replaced Al interconnection to become the mainstream technology in the semiconductor industry.
金属Cu作为集成电路的互连线材料,与传统的Al相比,主要有以下优点:(1) Cu的电阻率较小。一般体材料的Al的电阻率为2.7 μΩ.cm,而Cu的电阻率为1.7 μΩ.cm;(2) Cu互连线引起的寄生电容比铝互连线来得小;(3) Cu的抗电迁移能力比Al要好的多。在高电流密度下,Cu的抗电迁移能力比Al的可提高将近四个数量级,因此可以大大减少由于电迁移效应而产生的孔洞或缝隙,能够减少漏电流,并极大地提高器件的可靠性;(4) Cu还具有良好的抗应力导致的孔洞特性等;(5) Cu的导热性比Al好,可以使硅晶片较快的通过外面的封装结构来散热,也可以改善晶片的可靠性,延长晶片的寿命。因此,采用Cu互连技术能够满足高频、高集成度、大功率、大容量和长寿命的先进集成电路的要求,使得纳米尺寸的工艺技术节点,Al互连工艺逐渐被铜互连工艺取代。As the interconnection material of integrated circuits, metal Cu has the following advantages compared with traditional Al: (1) The resistivity of Cu is small. The resistivity of Al of the general bulk material is 2.7 μΩ.cm, while the resistivity of Cu is 1.7 μΩ.cm; (2) The parasitic capacitance caused by Cu interconnection is smaller than that of aluminum interconnection; (3) The resistivity of Cu The electromigration ability is much better than that of Al. At high current density, the anti-electromigration ability of Cu can be improved by nearly four orders of magnitude compared with that of Al, so it can greatly reduce the holes or gaps caused by the electromigration effect, reduce the leakage current, and greatly improve the reliability of the device. (4) Cu also has good anti-stress hole characteristics, etc.; (5) Cu has better thermal conductivity than Al, which can make the silicon chip dissipate heat quickly through the external packaging structure, and can also improve the reliability of the chip , to prolong the life of the chip. Therefore, the use of Cu interconnection technology can meet the requirements of advanced integrated circuits with high frequency, high integration, high power, large capacity and long life, so that the nano-sized process technology node, Al interconnection process is gradually replaced by copper interconnection process .
不过,采用Cu材料作为集成电路互连线的工艺虽然可以克服Al金属材料先天上的不足,但是也存在很多问题需要克服解决。例如,金属Cu在大气环境下很容易发生氧化并受潮而腐蚀,且Cu不像Al一样可以形成自身的保护层,因此会影响金属互连线的稳定性与寿命。再者,Cu在低温时具有一定的溶解度,且Cu与Si衬底发生反应,会形成Cu的硅化物而使得器件失效。另外,Cu原子具有快速的扩散性,当在电场的加速下,Cu将很容易穿透绝缘介质层而迅速地到达Si衬底里面进去,一旦Cu扩散到硅衬底中将会与Si作用而导致Cu穿透晶体管的界面而使得器件发生短路现象。 However, although the process of using Cu material as the interconnection line of the integrated circuit can overcome the innate deficiency of the Al metal material, there are still many problems to be overcome and solved. For example, metal Cu is easily oxidized and corroded by moisture in the atmospheric environment, and Cu does not form its own protective layer like Al, thus affecting the stability and life of the metal interconnection. Furthermore, Cu has a certain solubility at low temperature, and when Cu reacts with the Si substrate, a Cu silicide will be formed and the device will fail. In addition, Cu atoms have rapid diffusion. When accelerated by the electric field, Cu will easily penetrate the insulating dielectric layer and quickly reach the Si substrate. Once Cu diffuses into the silicon substrate, it will interact with Si and This causes Cu to penetrate the interface of the transistor and short circuit the device. the
目前,Cu与绝缘介质层或Si之间的高扩散性问题,一般采用TaN/Ta的双层结构作为扩散阻挡层加以克服。但是制备TaN/Ta双层结构的扩散阻挡层,如果晶化程度较高,会在晶界处形成Cu的扩散通道,加剧Cu的扩散效应。而且TaN/Ta双层结构的黏附性较差,易发生可靠性问题。 At present, the problem of high diffusivity between Cu and the insulating dielectric layer or Si is generally overcome by using the double-layer structure of TaN/Ta as the diffusion barrier layer. However, if the diffusion barrier layer of the TaN/Ta double-layer structure is prepared, if the degree of crystallization is high, Cu diffusion channels will be formed at the grain boundaries, which will intensify the Cu diffusion effect. Moreover, the adhesion of the TaN/Ta double-layer structure is poor, and reliability problems are prone to occur. the
此外,TaN/Ta双层结构扩散阻挡层的传统制备方法,主要采用物理气相淀积(PVD)技术。但是PVD技术由于台阶覆盖能力较差,沟槽和通孔填充能力不佳,不能满足金属氧化物半导体(MOS)晶体管个器件尺寸缩小到45/32nm工艺节点及以下的要求,容易引起可靠性变差等问题。为了降低互连电阻、减少互连之间的电容及提高可靠性,采用ALD技术来生长一层纳米级的硅酸锰,可以在沟槽和通孔的填充过程中,具有良好的保形性,提高器件的可靠性,并可以有效地降低互连RC延迟。In addition, the traditional preparation method of the TaN/Ta double-layer diffusion barrier layer mainly adopts physical vapor deposition (PVD) technology. However, PVD technology cannot meet the requirements of metal oxide semiconductor (MOS) transistor devices down to 45/32nm process nodes and below due to poor step coverage and poor filling ability of trenches and vias, which may easily lead to reliability changes. Bad question. In order to reduce interconnect resistance, reduce capacitance between interconnects and improve reliability, ALD technology is used to grow a layer of nano-manganese silicate, which can have good shape retention during the filling process of trenches and vias , improve the reliability of the device, and can effectively reduce the interconnection RC delay.
发明内容Contents of the invention
本发明的目的在于提供一种抗Cu扩散性能优异的铜互连结构及其制备方法,以改善集成电路特征尺寸不断减少导致RC延迟大的缺点,提升半导体芯片的性能。 The object of the present invention is to provide a copper interconnection structure with excellent Cu diffusion resistance and its preparation method, so as to improve the shortcoming of large RC delay caused by the continuous reduction of integrated circuit feature size, and improve the performance of semiconductor chips. the
本发明提供的铜互连结构,是以现有铜互连结构为基础,其改进之处在于采用硅酸锰薄膜作为铜互连结构的扩散阻挡层,硅酸锰薄膜的厚度为5~20 nm。 The copper interconnection structure provided by the present invention is based on the existing copper interconnection structure, and its improvement is that the manganese silicate film is used as the diffusion barrier layer of the copper interconnection structure, and the thickness of the manganese silicate film is 5-20 nm. the
通过引入上述新型扩散阻挡层比采用ALD来制作应用于纳米级沟槽和通孔互连的扩散阻挡层,不仅能提高台阶覆盖特性,而且可以增强扩散阻挡层和层间绝缘介质层的黏附性,可以形成具有较佳物理形貌、尽可能少的孔洞或缝隙缺陷,具有优异抗Cu扩散性能的阻挡层,以改善集成电路特征尺寸不断减少导致RC延迟大的缺点,提升半导体芯片的性能。 By introducing the above-mentioned new diffusion barrier layer than using ALD to fabricate the diffusion barrier layer applied to nanoscale trench and via interconnection, not only the step coverage characteristics can be improved, but also the adhesion of the diffusion barrier layer and the interlayer insulating dielectric layer can be enhanced. , can form a barrier layer with better physical appearance, as few holes or gap defects as possible, and excellent resistance to Cu diffusion, so as to improve the shortcoming of large RC delay caused by the continuous reduction of integrated circuit feature size, and improve the performance of semiconductor chips. the
本发明提供的铜互连结构的制备方法,具体步骤如下:The preparation method of the copper interconnection structure provided by the present invention, concrete steps are as follows:
化学清洗的硅基衬底; Chemically cleaned silicon-based substrates;
在硅片上依次形成一层刻蚀阻挡层、绝缘介质层;Forming a layer of etching barrier layer and insulating dielectric layer in sequence on the silicon wafer;
通过光刻、刻蚀工艺,在绝缘介质层及下面的刻蚀阻挡层处定义出互连位置,形成金属沟槽或通孔;Through photolithography and etching processes, the interconnection position is defined at the insulating dielectric layer and the underlying etching barrier layer to form metal trenches or via holes;
利用原子层淀积(ALD)方法在沟槽或通孔上生长一硅酸锰薄膜,作为抗铜扩散阻挡层; Using the atomic layer deposition (ALD) method to grow a manganese silicate film on the trench or via hole as an anti-copper diffusion barrier layer;
在扩散阻挡层上生长一层铜籽晶层;growing a copper seed layer on the diffusion barrier layer;
再直接电镀铜,获得铜互连结构;Then directly electroplate copper to obtain a copper interconnection structure;
最后用化学机械抛光工艺平整化晶片表面。Finally, the wafer surface is planarized by a chemical mechanical polishing process.
进一步地,上述方法中所述的刻蚀阻挡层材料为氮化硅。所述的绝缘介质层材料为SiO2、SiOF、SiCOH或多孔的SiCOH。 Further, the material of the etch stop layer in the above method is silicon nitride. The material of the insulating medium layer is SiO2 , SiOF, SiCOH or porous SiCOH.
所述的硅酸锰薄膜,采用ALD生长技术,使用的Mn反应前驱体为Mn(EtCp)2,使用的Si反应前驱体为三(二甲氨基硅烷) (TDMAS),使用的氧源为H2O、H2O2或O3,生长温度为200~300 oC, 反应的基压在1~4 Torr。The manganese silicate thin film adopts ALD growth technology, the Mn reaction precursor used is Mn(EtCp)2 , the Si reaction precursor used is tris(dimethylaminosilane) (TDMAS), and the oxygen source used is H2 O, H2 O2 or O3 , the growth temperature is 200~300o C, and the base pressure of the reaction is 1~4 Torr.
所述扩散阻挡层上的铜籽晶层,也采用ALD生长技术。使用的Cu反应前驱体为Cu(acac)2,或Cu(thd)2,或[Cu(sBu-amd)]2,使用的另外一种反应物为H2,生长温度为150~250 oC, 反应的基压在1~4 Torr。The copper seed layer on the diffusion barrier layer is also grown by ALD. The Cu reaction precursor used is Cu(acac)2 , or Cu(thd)2 , or [Cu(s Bu-amd)]2 , another reactant used is H2 , and the growth temperature is 150~250o C, the base pressure of the reaction is 1~4 Torr.
与传统的铜扩散阻挡层采用TaN/Ta的双层结构,及使用的PVD制备方法相比,本发明使用的硅酸锰抗铜扩散阻挡层材料,5~20 nm厚就能够很好地阻挡Cu、O和H2O的扩散,同时能保持很好的电学特性。而且利用ALD来生长硅酸锰薄膜,凭借其自限制的生长特性,较低的工艺温度,每个生长周期只形成约为0.03~0.1nm左右厚度的薄膜,可以实现在纳米级宽,高纵深比的结构中,高保形制备Cu扩散阻挡层,避免了后续工艺中孔洞或缝隙等缺陷的产生,降低沟槽或通孔中的接触电阻,从而有效地提高芯片的性能和可靠性。Compared with the traditional copper diffusion barrier layer adopting TaN/Ta double-layer structure and the PVD preparation method used, the manganese silicate anti-copper diffusion barrier material used in the present invention can well block Diffusion of Cu, O and H2 O while maintaining good electrical properties. Moreover, using ALD to grow manganese silicate film, with its self-limiting growth characteristics and low process temperature, only a film with a thickness of about 0.03~0.1nm is formed in each growth cycle, which can achieve nanoscale width and high depth. In the higher ratio structure, the high conformal preparation of the Cu diffusion barrier layer avoids the generation of defects such as holes or gaps in the subsequent process, and reduces the contact resistance in the trench or through hole, thereby effectively improving the performance and reliability of the chip.
附图说明Description of drawings
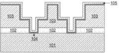
图1 –图5 为依照本发明实施的一种新型Cu扩散阻挡层与铜互连的集成工艺剖面图。Fig. 1-Fig. 5 is the sectional view of the integrated process of a kind of novel Cu diffusion barrier layer and copper interconnection implemented according to the present invention.
图中标号:101为半导体衬底晶片,102为刻蚀阻挡层,103为绝缘介质层,104为扩散阻挡层硅酸铜薄膜,105为籽晶层铜膜,106为电镀铜薄膜。Numbers in the figure: 101 is a semiconductor substrate wafer, 102 is an etching barrier layer, 103 is an insulating dielectric layer, 104 is a diffusion barrier copper silicate film, 105 is a seed layer copper film, and 106 is an electroplated copper film.
具体实施方式Detailed ways
下面参考附图描述本发明的实施方式。后面的描述中,相同的附图标记表示相同的组件,对其重复描述将省略。Embodiments of the present invention are described below with reference to the drawings. In the following description, the same reference numerals denote the same components, and repeated description thereof will be omitted.
本发明所提出的抗Cu扩散阻挡层硅酸锰及其制备方法可以适用于不同集成电路技术的后道铜互连结构中,以下所叙述的是制备铜互连线扩散阻挡层硅酸锰薄膜为实施例的工艺流程。The anti-Cu diffusion barrier layer manganese silicate and its preparation method proposed by the present invention can be applied to the subsequent copper interconnection structures of different integrated circuit technologies. The following describes the preparation of the copper interconnection diffusion barrier layer manganese silicate film Be the technological process of embodiment.
首先,在半导体晶片Si(100)衬底101上,采用标准CMOS工艺,完成硅片的清洗工作,主要包括:用含有硫酸和双氧水的混合溶液、标准清洗SC-1、SC-2溶液、稀释的氢氟酸及去离子水分别依序清洗Si衬底,去除各种杂质和自然氧化层,并用高纯N2吹干。在清洗好的Si(100)衬底101上,依序淀积一层刻蚀阻挡层氮化硅102、用于层间绝缘的介质层103(如SiO2薄膜)。接着,利用标准的光刻和刻蚀工艺形成互连结构用的沟槽或通孔201。First, on the semiconductor wafer Si (100)
然后,在沟槽或通孔201形成后,开始利用ALD来生长硅酸锰扩散阻挡层薄膜104。使用的Mn反应前驱体为Mn(EtCp)2,使用的Si反应前驱体为三(二甲氨基硅烷) (TDMAS),使用的氧源为H2O、H2O2或O3,生长温度为200~300 oC, 反应的基压在1~4 Torr。首先,在反应腔中通入Mn(EtCp)2源,时间为1~5 s;用高纯N2吹洗反应腔1~10 s;再通入氧源,时间为1~5 s;用高纯N2吹洗反应腔1~10 s,这样完成一个氧化锰的ALD生长周期。根据薄膜的性质,重复这样的周期n次(n=1~20)。接着,在反应腔中通入TDMAS源,时间为1~5 s;用高纯N2吹洗反应腔1~10 s;再通入氧源,时间为1~5 s;用高纯N2吹洗反应腔1~10 s,这样完成一个氧化硅的ALD生长周期。通过ALD生长SiO2的周期数,可以控制在整个硅酸锰薄膜中Si的含量,优化相应的工艺参数,可以使得整个互连阻挡层具有最佳的电学和机械性能。再接着分别重复ALD生长前面相同生长周期数的氧化锰、SiO2薄膜,直到获得理想的扩散阻挡层厚度5~20 nm,如图3所示为制备完成的硅酸锰扩散阻挡层103。 Then, after the trench or via
接着,在形成硅酸锰扩散阻挡层104后,再用ALD生长一层10~30 nm左右的Cu的籽晶层105。使用的Cu反应前驱体为Cu(acac)2、或Cu(thd)2、或[Cu(sBu-amd)]2,使用的另外一种反应物为H2,生长温度为150~250 oC, 反应的基压在1~4 Torr。首先,在反应腔中通入Cu反应前驱体,时间为1~10 s;用高纯N2吹洗反应腔1~10 s;再通入H2,时间为1~5 s;用高纯N2吹洗反应腔1~10 s,这样完成一个Cu籽晶层的ALD生长周期。重复上述ALD生长Cu的反应周期,即可获得一定厚度的Cu籽晶层105。Next, after the manganese silicate
然后,用化学电镀法,在沟槽或通孔结构中,电镀铜导线106,形成铜互连线结构,如图4所示。Then,
最后,用化学机械抛光(CMP)技术平整化晶片表面,完成一层的互连结构,如图5所示,为下一层互连结构作准备。Finally, chemical mechanical polishing (CMP) technology is used to planarize the wafer surface to complete the interconnection structure of one layer, as shown in FIG. 5, to prepare for the interconnection structure of the next layer.
上述实施例只是本发明的举例,尽管为说明目的公开了本发明的最佳实施例和附图,但是本领域的技术人员可以理解:在不脱离本发明及所附的权利要求的精神和范围内,各种替换、变化和修改都是可能的。因此,本发明不应局限于最佳实施例和附图所公开的内容。The foregoing embodiment is only an example of the present invention, although the best embodiment of the present invention and the accompanying drawings are disclosed for the purpose of illustration, those skilled in the art can understand that: without departing from the spirit and scope of the present invention and the appended claims Inside, various substitutions, changes and modifications are possible. Therefore, the present invention should not be limited to what is disclosed in the preferred embodiments and drawings.
| Application Number | Priority Date | Filing Date | Title |
|---|---|---|---|
| CN2012102069163ACN102693958A (en) | 2012-06-21 | 2012-06-21 | Copper interconnection structure adopting novel diffusion impervious layer and preparation method thereof |
| Application Number | Priority Date | Filing Date | Title |
|---|---|---|---|
| CN2012102069163ACN102693958A (en) | 2012-06-21 | 2012-06-21 | Copper interconnection structure adopting novel diffusion impervious layer and preparation method thereof |
| Publication Number | Publication Date |
|---|---|
| CN102693958Atrue CN102693958A (en) | 2012-09-26 |
| Application Number | Title | Priority Date | Filing Date |
|---|---|---|---|
| CN2012102069163APendingCN102693958A (en) | 2012-06-21 | 2012-06-21 | Copper interconnection structure adopting novel diffusion impervious layer and preparation method thereof |
| Country | Link |
|---|---|
| CN (1) | CN102693958A (en) |
| Publication number | Priority date | Publication date | Assignee | Title |
|---|---|---|---|---|
| WO2017001953A1 (en)* | 2015-06-30 | 2017-01-05 | International Business Machines Corporation | Structure and fabrication method for electromigration immortal nanoscale interconnects |
| CN108047274A (en)* | 2017-12-15 | 2018-05-18 | 江南大学 | A kind of copper interconnection barrier layer material pyridyl group Mn(Ⅱ)Compound |
| CN112151504A (en)* | 2020-08-17 | 2020-12-29 | 复旦大学 | Copper interconnection structure with hole sealing layer and preparation method thereof |
| CN113671625A (en)* | 2020-05-14 | 2021-11-19 | 上海新微技术研发中心有限公司 | Silicon-based optoelectronic device and preparation method based on silicon photonics transition board technology |
| Publication number | Priority date | Publication date | Assignee | Title |
|---|---|---|---|---|
| US6475913B1 (en)* | 1999-06-24 | 2002-11-05 | Hyundai Electronics Industries Co., Ltd. | Method for forming damascene type of metal wires in semiconductor devices |
| US20020192948A1 (en)* | 2001-06-15 | 2002-12-19 | Applied Materials, Inc. | Integrated barrier layer structure for copper contact level metallization |
| CN1697175A (en)* | 2004-02-27 | 2005-11-16 | 半导体理工学研究中心股份有限公司 | Semiconductor device and manufacturing method thereof |
| CN101521175A (en)* | 2008-02-29 | 2009-09-02 | 台湾积体电路制造股份有限公司 | Semiconductor device and method of forming the same |
| CN102222641A (en)* | 2010-04-16 | 2011-10-19 | 台湾积体电路制造股份有限公司 | Method for forming metal oxidation barrier layer of copper interconnection structure |
| Publication number | Priority date | Publication date | Assignee | Title |
|---|---|---|---|---|
| US6475913B1 (en)* | 1999-06-24 | 2002-11-05 | Hyundai Electronics Industries Co., Ltd. | Method for forming damascene type of metal wires in semiconductor devices |
| US20020192948A1 (en)* | 2001-06-15 | 2002-12-19 | Applied Materials, Inc. | Integrated barrier layer structure for copper contact level metallization |
| CN1697175A (en)* | 2004-02-27 | 2005-11-16 | 半导体理工学研究中心股份有限公司 | Semiconductor device and manufacturing method thereof |
| CN101521175A (en)* | 2008-02-29 | 2009-09-02 | 台湾积体电路制造股份有限公司 | Semiconductor device and method of forming the same |
| CN102222641A (en)* | 2010-04-16 | 2011-10-19 | 台湾积体电路制造股份有限公司 | Method for forming metal oxidation barrier layer of copper interconnection structure |
| Publication number | Priority date | Publication date | Assignee | Title |
|---|---|---|---|---|
| WO2017001953A1 (en)* | 2015-06-30 | 2017-01-05 | International Business Machines Corporation | Structure and fabrication method for electromigration immortal nanoscale interconnects |
| GB2555269A (en)* | 2015-06-30 | 2018-04-25 | Ibm | Structure and fabrication method for electromigration immortal nanoscale interconnects |
| GB2555269B (en)* | 2015-06-30 | 2020-10-07 | Tessera Inc | Structure and fabrication method for electromigration immortal nanoscale interconnects |
| CN108047274A (en)* | 2017-12-15 | 2018-05-18 | 江南大学 | A kind of copper interconnection barrier layer material pyridyl group Mn(Ⅱ)Compound |
| CN108047274B (en)* | 2017-12-15 | 2019-08-20 | 江南大学 | Pyridyl Mn(Ⅱ) compound for copper interconnect barrier layer material |
| CN113671625A (en)* | 2020-05-14 | 2021-11-19 | 上海新微技术研发中心有限公司 | Silicon-based optoelectronic device and preparation method based on silicon photonics transition board technology |
| CN112151504A (en)* | 2020-08-17 | 2020-12-29 | 复旦大学 | Copper interconnection structure with hole sealing layer and preparation method thereof |
| CN112151504B (en)* | 2020-08-17 | 2022-04-29 | 复旦大学 | Copper interconnection structure with hole sealing layer and preparation method thereof |
| Publication | Publication Date | Title |
|---|---|---|
| TWI402887B (en) | Structures and methods for integration of ultralow-k dielectrics with improved reliability | |
| CN104733378B (en) | Semiconductor structure and its manufacturing method | |
| TWI619171B (en) | Barrier layers | |
| CN105140172B (en) | Interconnection structure and forming method thereof | |
| CN107564888B (en) | Interconnect structure and method of making the same | |
| US20080237859A1 (en) | Diffusion barrier for integrated circuits formed from a layer of reactive metal and method of fabrication | |
| CN102832199A (en) | Mixed-media copper-diffusion-resistant blocking layer for copper interconnection and fabrication method of blocking layer | |
| US8957519B2 (en) | Structure and metallization process for advanced technology nodes | |
| TW200915485A (en) | Method of depositing tungsten using plasma-treated tungsten nitride | |
| CN107978553A (en) | A kind of semiconductor devices and its manufacture method | |
| CN102171810A (en) | Discontinuous/non-uniform metal cap structure and method for interconnect integration | |
| CN112435958B (en) | Integrated circuit structure and method for forming the same | |
| CN103474416A (en) | Interconnection structure and its formation method | |
| CN102693958A (en) | Copper interconnection structure adopting novel diffusion impervious layer and preparation method thereof | |
| CN112151440B (en) | Method for forming semiconductor structure and transistor | |
| CN102903699A (en) | Copper interconnecting structure and preparation method thereof | |
| CN119905458A (en) | Interconnect structure and method of forming semiconductor structure | |
| CN103681478B (en) | Copper-connection structure and manufacturing method of copper-connection structure | |
| TW201737343A (en) | Manufacturing method for semiconductor device | |
| CN102832198A (en) | Copper interconnection structure adopting novel alloy seed crystal layer and preparation method of structure | |
| JP2010177538A (en) | Production process of semiconductor device | |
| CN103165513A (en) | Manufacturing method of interconnected structure | |
| CN103325770A (en) | Integrated circuit copper interconnection structure and preparation method thereof | |
| CN103325729A (en) | Copper interconnection structure manufacturing method | |
| CN104299939A (en) | Forming method of interconnection structure |
| Date | Code | Title | Description |
|---|---|---|---|
| C06 | Publication | ||
| PB01 | Publication | ||
| C10 | Entry into substantive examination | ||
| SE01 | Entry into force of request for substantive examination | ||
| C02 | Deemed withdrawal of patent application after publication (patent law 2001) | ||
| WD01 | Invention patent application deemed withdrawn after publication | Application publication date:20120926 |